JP2010061386A - 紙葉類収納カセットおよび紙葉類処理装置 - Google Patents

紙葉類収納カセットおよび紙葉類処理装置 Download PDF

Info

Publication number
JP2010061386A
JP2010061386A JP2008226262A JP2008226262A JP2010061386A JP 2010061386 A JP2010061386 A JP 2010061386A JP 2008226262 A JP2008226262 A JP 2008226262A JP 2008226262 A JP2008226262 A JP 2008226262A JP 2010061386 A JP2010061386 A JP 2010061386A
Authority
JP
Japan
Prior art keywords
paper sheet
shaft
paper
storage cassette
sheet storage
Prior art date
Legal status (The legal status is an assumption and is not a legal conclusion. Google has not performed a legal analysis and makes no representation as to the accuracy of the status listed.)
Granted
Application number
JP2008226262A
Other languages
English (en)
Other versions
JP5456285B2 (ja
Inventor
Hidehiko Matsushita
下 秀 彦 松
Junichi Sekiguchi
口 順 一 関
Shinji Matsumoto
本 眞 二 松
Current Assignee (The listed assignees may be inaccurate. Google has not performed a legal analysis and makes no representation or warranty as to the accuracy of the list.)
Glory Ltd
Original Assignee
Glory Ltd
Priority date (The priority date is an assumption and is not a legal conclusion. Google has not performed a legal analysis and makes no representation as to the accuracy of the date listed.)
Filing date
Publication date
Application filed by Glory Ltd filed Critical Glory Ltd
Priority to JP2008226262A priority Critical patent/JP5456285B2/ja
Publication of JP2010061386A publication Critical patent/JP2010061386A/ja
Application granted granted Critical
Publication of JP5456285B2 publication Critical patent/JP5456285B2/ja
Active legal-status Critical Current
Anticipated expiration legal-status Critical

Links

Images

Landscapes

  • Pile Receivers (AREA)

Abstract

【課題】紙葉類収納カセットを紙葉類処理装置から取り外したときに、紙葉類収納部に収納された紙葉類が盗難者等により抜き取られることを防止することができるとともに、収納繰出機構のローラが設けられた箇所において紙葉類の詰まりが発生した場合でもこのような紙葉類の詰まりを解消することができる紙葉類収納カセットおよび紙葉類処理装置を提供する。
【解決手段】紙葉類収納カセット10には、収納繰出機構のローラ20の回転を規制するローラ回転規制機構が設けられている。ローラ回転規制機構は、紙葉類収納カセット10が紙葉類処理装置1に装着されたときにはローラ20を紙葉類の投入方向および投出方向の両方向に回転させ、一方、紙葉類収納カセット10が紙葉類処理装置1から取り外されたときにはローラ20を紙葉類の投入方向のみに回転させるようローラ20の回転を規制する。
【選択図】図2

Description

本発明は、紙幣や小切手等の紙葉類の収納を行う紙葉類収納カセットおよびこの紙葉類収納カセットを備えた紙葉類処理装置に関し、とりわけ、紙葉類収納カセットを紙葉類処理装置から取り外したときに、紙葉類収納部に収納された紙葉類が盗難者等により抜き取られることを防止することができるとともに、収納繰出機構のローラが設けられた箇所において紙葉類の詰まりが発生した場合でもこのような紙葉類の詰まりを解消することができる紙葉類収納カセットおよび紙葉類処理装置に関する。
従来より、紙幣や小切手等の紙葉類の収納や投出を行う紙葉類処理装置に、紙葉類収納カセットが着脱自在に収容されていることが知られている。このような紙葉類収納カセットは、略直方体形状の筐体と、筐体の上面に設けられ、当該筐体の外部から内部への紙葉類の投入および筐体の内部から外部への紙葉類の投出を行うための投出入口と、筐体の内部に設けられ、投出入口により筐体の外部から内部に投入された紙葉類が収納される紙葉類収納部と、を備えている。
従来の紙葉類収納カセットでは、紙葉類収納部に収納された紙葉類を投出入口に繰り出すような収納繰出機構が筐体の内部に設けられていないタイプのものがあった。このようなタイプの紙葉類収納カセットでは、収納繰出機構が設けられる代わりにシャッター機構が投出入口に設けられており、このシャッター機構により投出入口の開閉を行うようになっている。そして、紙葉類収納カセットの筐体の内部から外部へ紙葉類の投出を行う際には、紙葉類収納カセットのシャッター機構により投出入口を開いた後、紙葉類処理装置に設けられた収納繰出機構によって紙葉類収納カセットの紙葉類収納部に収納された紙葉類の繰り出しを行うようになっている。
また、従来の紙葉類収納カセットにおいて、紙葉類収納部に収納された紙葉類を投出入口に繰り出すような収納繰出機構が筐体の内部に設けられているタイプのものもある。このようなタイプの紙葉類収納カセットでは、収納繰出機構は、投出入口により筐体の外部から内部に投入された紙葉類を紙葉類収納部に送るとともにこの紙葉類収納部に収納された紙葉類を投出入口に繰り出すようになっている。ここで、収納繰出機構は、筐体の上面に設けられた投出入口の近傍に設置されている。
収納繰出機構が筐体の内部に設けられているような紙葉類収納カセットでは、例えば特許文献1等に示すように、収納繰出機構を構成するローラの近傍にこのローラの回転を規制するためのロック機構が設けられている。そして、紙葉類収納カセットが紙葉類処理装置に装着された場合は、ロック機構はローラを紙葉類の投入方向および投出方向の両方向に回転させ、一方、紙葉類収納カセットが紙葉類処理装置から取り外された場合は、ロック機構はローラを回転させないようになっている。このことにより、紙葉類収納カセットが紙葉類処理装置から取り外されたときには、この紙葉類収納カセットの紙葉類収納部に収納された紙葉類を投出入口から抜き取ることができないようになっている。
特開2006−27870号公報
しかしながら、収納繰出機構が紙葉類収納カセットの筐体の内部に設けられておらず、シャッター機構が紙葉類収納カセットの投出入口に設けられているようなタイプの紙葉類収納カセットにおいては、シャッター機構は故障しがちでありこのシャッター機構は様々なトラブルの原因になりやすいという問題がある。また、このような紙葉類収納カセットでは、紙葉類収納カセットのシャッター機構により投出入口を開いた後、紙葉類処理装置に設けられた収納繰出機構によって紙葉類収納カセットの紙葉類収納部に収納された紙葉類の繰り出しを行うようになっているが、このような収納繰出機構による紙葉類の繰り出し方法は様々なトラブルの原因になりやすいという問題がある。
また、例えば特許文献1等に示すような紙葉類収納カセットにおいては、収納繰出機構のローラが設けられた箇所において紙葉類の詰まり(ジャム)が発生した場合に、紙葉類収納カセットを紙葉類処理装置から取り外すとこのローラはロック機構により完全に固定されるため、この詰まりが発生した紙葉類を収納繰出機構から手動で取り出すことが困難であるという問題がある。このため、このタイプの紙葉類収納カセットには、収納繰出機構のローラが設けられた箇所で詰まりが発生した紙葉類を収納繰出機構から取り出すための専用の機構を別途設けなければならない。
また、上述のような紙葉類収納カセットにおいて、収納繰出機構のローラの回転を規制するためのロック機構を設けなかった場合には、紙葉類収納カセットを紙葉類処理装置から取り外した場合でもローラは紙葉類の投入方向および投出方向の両方向に自在に回転することができるようになるため、紙葉類の投出方向にローラを回転させれば誰でも紙葉類収納カセットの紙葉類収納部に収納された紙葉類を抜き取ることができるようになり、防犯上問題があった。
本発明は、このような点を考慮してなされたものであり、紙葉類収納カセットを紙葉類処理装置から取り外したときに、ローラを紙葉類の投出方向に回転させることができなくなるため紙葉類収納部に収納された紙葉類が例えば盗難者等により抜き取られることを防止することができ、また、収納繰出機構のローラが設けられた箇所において紙葉類の詰まりが発生した場合でも、紙葉類収納カセットを紙葉類処理装置から取り外した後、ローラを紙葉類の投入方向に回転させることによりこのような紙葉類の詰まりを解消することができる紙葉類収納カセットおよびこの紙葉類収納カセットを備えた紙葉類処理装置を提供することを目的とする。
本発明の紙葉類収納カセットは、紙葉類の処理を行う紙葉類処理装置に着脱自在に収容される紙葉類収納カセットであって、筐体と、前記筐体の外部から内部への紙葉類の投入および前記筐体の内部から外部への紙葉類の投出を行うための投出入口と、前記筐体の内部に設けられ、前記投出入口により前記筐体の外部から内部に投入された紙葉類が収納される紙葉類収納部と、前記筐体の内部に設けられ、前記投出入口により前記筐体の外部から内部に投入された紙葉類を前記紙葉類収納部に送るとともに前記紙葉類収納部に収納された紙葉類を前記投出入口に繰り出すローラを有する収納繰出機構と、前記収納繰出機構のローラの回転を規制するローラ回転規制機構であって、前記紙葉類収納カセットが前記紙葉類処理装置に装着されたときには前記ローラを紙葉類の投入方向および投出方向の両方向に回転させ、前記紙葉類収納カセットが前記紙葉類処理装置から取り外されたときには前記ローラを紙葉類の投入方向のみに回転させるよう前記ローラの回転を規制するようなローラ回転規制機構と、を備えたことを特徴とする。
このような紙葉類収納カセットによれば、ローラ回転規制機構は、紙葉類収納カセットが紙葉類処理装置に装着されたときにはローラを紙葉類の投入方向および投出方向の両方向に回転させ、一方、紙葉類収納カセットが紙葉類処理装置から取り外されたときにはローラを紙葉類の投入方向のみに回転させるようローラの回転を規制する。このため、紙葉類収納カセットを紙葉類処理装置から取り外したときにローラを紙葉類の投出方向に回転させることができなくなるため紙葉類収納部に収納された紙葉類が例えば盗難者等により抜き取られることを防止することができる。また、収納繰出機構のローラが設けられた箇所において紙葉類の詰まりが発生した場合でも、紙葉類収納カセットを紙葉類処理装置から取り外した後、ローラを紙葉類の投入方向に例えば手動で回転させることによりこのような紙葉類の詰まりを解消することができる。
本発明の紙葉類収納カセットにおいては、前記ローラ回転規制機構は、前記収納繰出機構の前記ローラと同期して回転する軸と、前記軸の近傍において移動自在に設けられたロック部材とを有し、前記紙葉類収納カセットが前記紙葉類処理装置に収容されたときには前記ロック部材は前記軸から離間し、前記紙葉類収納カセットが前記紙葉類処理装置から取り外されたときには前記ロック部材は前記軸に係合し、前記ロック部材は、前記軸が係合されたときにこの軸を紙葉類の投入方向には回転させるが紙葉類の投出方向には回転させないような形状となっていることが好ましい。このような紙葉類収納カセットによれば、収納繰出機構のローラの回転を規制するローラ回転規制機構の構成をシンプルなものとすることができる。
この場合、前記ロック部材は凹部を有し、前記紙葉類収納カセットが前記紙葉類処理装置から取り外されたときには前記軸は前記ロック部材の凹部に挿入されるようになっており、前記凹部は、前記軸が挿入されたときにこの軸を紙葉類の投入方向には回転させるが紙葉類の投出方向には回転させないような形状となっていることがより好ましい。
ここで、前記軸は、前記ロック部材の凹部に挿入されたときにこの凹部に接触する箇所において周方向において部分的に平面形状となっており、前記凹部は、前記軸が挿入された際にこの軸と略平行に延びる互いに対向する第1の側面部分および第2の側面部分とを有し、第1の側面部分は略平面形状となっており、第2の側面部分は前記凹部の開口部分に向かって広がるようなテーパ形状となっており、前記軸が紙葉類の投出方向に回転しようとしたときにこの軸の平面形状部分が前記凹部の第1の側面部分に当接することにより当該軸の回転が規制され、前記軸が紙葉類の投入方向に回転しようとしたときにこの軸の平面形状部分が前記凹部の第2の側面部分に当接することにより当該軸の回転が許容されるようになっていることが更に好ましい。
また、前記紙葉類収納カセットには、当該紙葉類収納カセットが前記紙葉類処理装置に収容されたときにこの紙葉類処理装置に設けられたラック部材と噛み合うようなピニオン部材が設けられており、前記ピニオン部材は前記ローラ回転規制機構のロック部材と接続されており、前記ピニオン部材が前記ラック部材と噛み合って回転することにより前記ロック部材が移動するようになっていることが好ましい。
この場合、前記ピニオン部材が前記ラック部材と噛み合っていないときには前記ロック部材は前記軸に係合しており、前記ピニオン部材が前記ラック部材と噛み合って回転したときに前記ロック部材は前記軸から離間するよう移動するようになっていることが好ましい。
本発明の紙葉類処理装置は、紙葉類の収納や投出を行う紙葉類処理装置であって、上述した紙葉類収納カセットを備えたことを特徴とする。
本発明の紙葉類収納カセットおよびこの紙葉類収納カセットを備えた紙葉類処理装置によれば、紙葉類収納カセットを紙葉類処理装置から取り外したときに、紙葉類収納部に収納された紙葉類が盗難者等により抜き取られることを防止することができるとともに、収納繰出機構のローラが設けられた箇所において紙葉類の詰まりが発生した場合でもこのような紙葉類の詰まりを解消することができる。
以下、図面を参照して本発明の一の実施の形態について説明する。図1乃至図6は、本実施の形態に係る紙葉類収納カセットおよび紙葉類処理装置を示す図である。このうち、図1は、本実施の形態における紙葉類収納カセットの外観を示す斜視図であり、図2は、図1に示す紙葉類収納カセットの内部の構成の概略を示す構成図である。また、図3は、図2の示す紙葉類収納カセットにおけるローラ回転規制機構の構成を示す構成図であり、図4は、図3に示すローラ回転規制機構におけるロック部材およびプーリの軸の構成を示す構成図である。また、図5は、図3、図4に示すローラ回転規制機構におけるプーリの軸の構成の詳細を示す構成図である。また、図6は、図1に示す紙葉類収納カセットが装填された紙葉類処理装置の構成の概略を示す構成図である。
図6に示すように、図1に示すような紙葉類収納カセット10は、概して、紙葉類の収納や投出を行うための紙葉類処理装置1に着脱自在に収容されている。そして、紙葉類収納カセット10が紙葉類処理装置1に収容されたときに、この紙葉類処理装置1の本体部分から紙葉類が1枚ずつ紙葉類収納カセット10に送られたり、この紙葉類収納カセット10から紙葉類が1枚ずつ紙葉類処理装置1の本体部分に戻されたりするようになっている。
まず、紙葉類処理装置1の構成の概略について図6を用いて簡単に説明する。図6は、図1に示す紙葉類収納カセット10が複数(具体的には例えば3つ)装填された紙葉類処理装置1の構成の概略を示す構成図である。
図6に示すように、紙葉類処理装置1は、筐体6と、操作者により紙幣や小切手等の紙葉類が投入される紙葉類投入部2と、筐体6の内部に投入された紙葉類を搬送する搬送部4と、搬送部4に介設された識別部5と、紙葉類が筐体6の内部から外部に投出される紙葉類投出部3とを備えている。また、搬送部4には、各々の紙葉類収納カセット10の投出入口16(後述)が接続されており、紙葉類処理装置1の搬送部4から紙葉類が1枚ずつ紙葉類収納カセット10に送られたり、この紙葉類収納カセット10から紙葉類が1枚ずつ紙葉類処理装置1の搬送部4に戻されたりするようになっている。
図6に示すような紙葉類処理装置1においては、操作者により紙葉類投入部2に投入された紙葉類は1枚ずつ搬送部4に繰り出される。紙葉類投入部2から搬送部4に繰り出された紙葉類は当該搬送部4で1枚ずつ搬送され、この搬送部4に介設された識別部5により金種、真偽、正損等の識別が行われる。識別部5により識別することができなかった紙葉類や、正常な紙葉類ではないと識別された紙葉類は紙葉類投出部3に搬送され、操作者によりこの紙葉類投出部3に送られた紙葉類が取り出されることとなる。一方、識別部5により正常な紙葉類であると識別された紙葉類は、金種別に各紙葉類収納カセット10に収納される。
紙葉類処理装置1から紙葉類の投出動作を行う際には、まず、各紙葉類収納カセット10に収納された紙葉類が1枚ずつ搬送部4に戻される。搬送部4に戻された紙葉類は当該搬送部4で1枚ずつ搬送され、識別部5により金種等の識別が行われる。識別部5により識別が行われた紙葉類は紙葉類投出部3に搬送され、操作者によりこの紙葉類投出部3に送られた紙葉類が取り出されることとなる。
なお、紙葉類処理装置1の構成は、図6に示すようなものに限定されることはなく、紙葉類の収納や投出等の処理を行うことができるとともに1または複数の紙葉類収納カセット10が着脱自在に収容されるものであれば、他の構成とすることができる。
次に、紙葉類収納カセット10の構成について図1乃至図5を用いて説明する。図1に示すように、紙葉類収納カセット10は、略直方体形状の筐体12を有し、紙葉類をこの筐体12の内部に収納するようになっている。図1に示すように、紙葉類収納カセット10において、投出入口16が筐体12の上面に設けられている。この投出入口16は、筐体12の外部(具体的には、紙葉類処理装置1の搬送部4)から内部への紙葉類の投入および筐体12の内部から外部への紙葉類の投出を行うために用いられるようになっている。また、紙葉類収納カセット10の上部には把持部14が設けられており、操作者はこの把持部14を持つことにより紙葉類収納カセット10の持ち運びを行うことができるようになっている。
次に、図2を用いて紙葉類収納カセット10の内部の構成の概略について説明する。図2に示すように、紙葉類収納カセット10の筐体12の内部には、投出入口16により筐体12の外部から内部に投入された紙葉類が集積されるステージ30が設けられている。このステージ30は筐体12の内部において上下方向に往復移動するよう、すなわち昇降するようになっている。また、図2に示すように、ステージ30が昇降する範囲を覆うよう、鉛直方向に延びる案内部材31、32が設けられており、ステージ30上に集積された紙葉類は案内部材31、32により当該ステージ30上に集積された状態から位置がずれないようになっている。
ステージ30には、当該ステージ30を昇降させるステージ駆動機構(図示せず)が接続されている。ステージ駆動機構は、紙葉類を筐体12の外部から内部に投入する際には、ステージ30を降下させるようになっている。一方、ステージ駆動機構は、紙葉類を筐体12の内部から外部に投出する際には、ステージ30を上昇させるようになっている。これらのステージ30、案内部材31、32およびステージ駆動機構により紙葉類収納部が構成されている。
筐体12の内部には収納繰出機構が設けられている。この収納繰出機構は、投出入口16により筐体12の外部から内部に投入された紙葉類をステージ30上に送るとともに、ステージ30上に集積された紙葉類を投出入口16に繰り出すようになっている。この収納繰出機構は、筐体12の内部における上部領域に設けられた、フィードローラ20、ゲートローラ22およびキッカローラ24から構成されている。これらのフィードローラ20、ゲートローラ22およびキッカローラ24は、図2の右方から見て左右一対のものとなっている。また、フィードローラ20およびゲートローラ22は互いに当接しており、これらのフィードローラ20とゲートローラ22との間にはニップ部が形成されている。
キッカローラ24はステージ30の真上の位置に設けられている。このキッカローラ24には軸24aが設けられており、この軸24aを中心として回転するようになっている。具体的には、キッカローラ24は、紙葉類を筐体12の内部から外部に投出する際に図2において反時計回りに回転するようになっている。そして、キッカローラ24は、紙葉類を筐体12の内部から外部に投出する際にステージ30が上昇したときに、このステージ30に集積された紙葉類のうち最も上方にある紙葉類の表面に当接し、この当接した紙葉類をフィードローラ20とゲートローラ22との間のニップ部に(すなわち、図2の右方向に向かって)蹴り出すようになっている。
フィードローラ20には軸20aが設けられており、この軸20aを中心として回転するようになっている。具体的には、フィードローラ20は、紙葉類を筐体12の外部から内部に投入する際には図2において時計回りに回転し、投出入口16から紙葉類搬送路18(後述)を経てフィードローラ20に送られた紙葉類をステージ30上に送るようになっている。一方、フィードローラ20は、紙葉類を筐体12の内部から外部に投出する際には図2において反時計回りに回転し、キッカローラ24によりフィードローラ20とゲートローラ22との間のニップ部に送られた紙葉類を紙葉類搬送路18に送るようになっている。このフィードローラ20は、図示しないフィードローラ駆動機構がプーリ44に接続されることにより図2における時計回りまたは反時計回りに連続的に回転させられるようになっている。
ゲートローラ22は、図2に示すようにフィードローラ20に対して当接するよう設けられている。このゲートローラ22には軸22aが設けられている。軸22aはその位置が固定されており、回転しないようになっている。また、ゲートローラ22と軸22aとの間にはトルクリミッタ(図示せず)が配設されている。このトルクリミッタは、ゲートローラ22に対して周方向に沿って予め設定された設定トルク以上の力が加えられたときには、軸22aに対するゲートローラ22の回転を許容するようになっている。一方、トルクリミッタは、ゲートローラ22に加えられる周方向の力が設定トルクよりも小さいときにはゲートローラ22と軸22aとを連動させるようになっている。すなわち、この場合には、軸22aが固定されているので、ゲートローラ22も回転しないようになっている。
ゲートローラ22と軸22aとの間には上述のようなトルクリミッタが設けられているので、フィードローラ20とゲートローラ22との間のニップ部に紙葉類が送られない場合には、前述のようにフィードローラ20はフィードローラ駆動機構により連続的に回転しており、フィードローラ20とゲートローラ22は当接しているのでこのゲートローラ22にもフィードローラ20による連れ回りの力がかかることになる。このようなゲートローラ22にかかる連れ回りの力はトルクリミッタにおける設定トルクよりも大きいため、軸22aに対するゲートローラ22の回転が許容され、ゲートローラ22はフィードローラ20に連れ回るようになる。
一方、1枚の紙葉類がフィードローラ20とゲートローラ22との間のニップ部に送られると、この紙葉類がフィードローラ20とゲートローラ22との間に挟まれるためゲートローラ22にはフィードローラ20による連れ回りの力がかからなくなり、このゲートローラ22に加えられる周方向の力は設定トルクよりも小さくなる。このため、トルクリミッタによりゲートローラ22と軸22aとが連動させられ、軸22aが固定されているのでゲートローラ22も回転しないようになる。このように、フィードローラ20により紙葉類を紙葉類搬送路18からステージ30上に送ったり、ステージ30上の紙葉類を紙葉類搬送路18に送ったりする際には、ゲートローラ22は回転しないこととなる。
紙葉類搬送路18は、フィードローラ20とゲートローラ22との間のニップ部から、投出入口16まで延びるよう設けられている。このような紙葉類搬送路18には複数の案内ローラ25、26、27が設けられており、筐体12の外部から投出入口16に投入された紙葉類は紙葉類搬送路18に沿って案内ローラ25、26、27によりフィードローラ20とゲートローラ22との間のニップ部に送られるようになっている。また、紙葉類を筐体12の内部から外部に投出する際に、フィードローラ20によりこのフィードローラ20とゲートローラ22との間のニップ部から繰り出された紙葉類は、紙葉類搬送路18に沿って案内ローラ25、26、27により投出入口16に送られるようになっている。
また、筐体12の内部におけるフィードローラ20やゲートローラ22の近傍には札叩き用羽根車(図示せず)が設けられている。この札叩き用羽根車は例えばゴムから形成されており、フィードローラ20からステージ30に送られる紙葉類を叩くようになっている。また、筐体12の内部におけるフィードローラ20やゲートローラ22の近傍にはコシ付け部材(図示せず)が設けられている。このコシ付け部材は例えばステンレス鋼等の金属から形成されており、フィードローラ20からステージ30に送られる紙葉類を波形状に変形させてコシを付けるようになっている。
また、紙葉類収納カセット10には、収納繰出機構のフィードローラ20の回転を規制するローラ回転規制機構が設けられている。このようなローラ回転規制機構の詳細について、図2乃至図5を用いて説明する。
図2に示すように、フィードローラ20にはプーリ42が同軸となるよう取り付けられている。すなわち、プーリ42はフィードローラ20と同期して軸20aを中心として回転するようになっている。また、図2に示すように、紙葉類収納カセット10の筐体12の底部近傍にもプーリ44が設けられている。プーリ44には軸44aが取り付けられており、プーリ44はこの軸44aを中心として図2の時計回りおよび反時計回りの両方向に回転することができるようになっている。
そして、これらのプーリ42、44には例えばゴムベルトからなる循環ベルト40が張架されている。このため、紙葉類を紙葉類収納カセット10の筐体12の外部から内部に投入する際には、フィードローラ駆動機構によってプーリ44が駆動し、それに伴ってプーリ42、フィードローラ20が循環ベルト40の動作によって図2の時計回りの方向に回転することとなる。一方、紙葉類を紙葉類収納カセット10の筐体12の内部から外部に投出する際には、フィードローラ駆動機構によってプーリ44が駆動し、それに伴ってプーリ42、フィードローラ20が循環ベルト40の動作によって図2の反時計回りの方向に回転することとなる。そして、プーリ44の回転が後述するロック部材46により規制されると、すなわちロック部材46によりプーリ44が回転しないよう固定されると、プーリ42の回転も規制され、当該プーリ42が同軸となるよう取り付けられたフィードローラ20の回転も規制されるようになっている。この場合、フィードローラ20を例えば手動により回転させようとしても、このフィードローラ20は停止したままとなる。
図3に示すように、プーリ44に取り付けられた軸44aの近傍にはロック部材46が設けられている。このロック部材46には軸46aが設けられており、ロック部材46は軸46aを中心として揺動自在となっている。ロック部材46には、プーリ44に取り付けられた軸44aを挿入することができる凹部46bが設けられている。ここで、図3(a)は、紙葉類収納カセット10が紙葉類処理装置1から取り外されたときの状態を示す図であり、図3(b)は、紙葉類処理装置1に紙葉類収納カセット10を装填し始めたときの状態を示す図であり、(c)は、紙葉類処理装置1に紙葉類収納カセット10を装填し終えたときの状態を示す図である。
図3(c)に示すように、紙葉類収納カセット10が紙葉類処理装置1に装着されたときにはロック部材46がプーリ44の軸44aから離間するようになっている。一方、図3(a)に示すように、紙葉類収納カセット10が紙葉類処理装置1から取り外されたときにはプーリ44の軸44aがロック部材46の凹部46bに挿入されるようになっている。そして、ロック部材46に設けられた凹部46bは、プーリ44の軸44aが挿入されたときにこの軸44aを紙葉類の投入方向(図2、図3における時計回りの方向)には回転させるが、紙葉類の投出方向(図2、図3における反時計回りの方向)には回転させないような形状となっている。この凹部46bの形状の詳細については後述する。
図3に示すように、ロック部材46の上部にはバネ56が取り付けられており、このバネ56は、紙葉類収納カセット10の筐体12の内壁に対して位置固定で設置された固定部材54に取り付けられている。ここで、ロック部材46と固定部材54との間に設けられたバネ56には常に圧縮しようとする力が掛けられており、このため、ロック部材46にはバネ56により常に図3の上方に向かって力が付勢されている。すなわち、ロック部材46に対して下方向の力が何ら加えられていないときには、このロック部材46はバネ56により上方向に引っ張られ、このロック部材46の凹部46bにプーリ44の軸44aが挿入されることとなる(図3(a)(b)参照)。一方、後述するカム部材50により、バネ56による上方向の引っ張り力に抗してロック部材46が下方向に引っ張られたときには、ロック部材46は軸46aを中心として図3の時計回りの方向に回転し、ロック部材46の凹部46bからプーリ44の軸44aが外れることとなる(図3(c)参照)。
ロック部材46の下部にはピン48が取り付けられている。また、ロック部材46の下方には細長いカム部材50が設けられている。このカム部材50は、紙葉類収納カセット10に設けられたピニオン部材52に接続されている。ピニオン部材52には軸52aが設けられており、この軸52aを中心として回転するようになっている。また、図3に示すように、ピニオン部材52には櫛歯部分52bが設けられている。そして、細長いカム部材50の一端には軸50aが設けられており、この軸50aによりカム部材50はピニオン部材52に枢支されている。ここで、カム部材50の軸50aは、ピニオン部材52の軸52aから外れた位置に設けられている。また、カム部材50には当該カム部材50の長手方向に沿った細長い開口部50bが設けられており、この開口部50bにロック部材46のピン48が挿入されている。このようにして、ロック部材46はカム部材50に接続されている。図3(a)〜(c)に示すように、ロック部材46に取り付けられたピン48は、カム部材50の他端に設けられた細長い開口部50bに沿って案内されるようになっている。
また、紙葉類処理装置1の筐体6の内壁にはラック部材60が設けられている。このラック部材60には櫛歯部分60aが設けられている。そして、図3(a)に示すように、紙葉類収納カセット10が紙葉類処理装置1から取り外されたときの状態においては、紙葉類収納カセット10に設けられたピニオン部材52は紙葉類処理装置1に設けられたラック部材60から離間しているが、図3(b)に示すように、紙葉類処理装置1に紙葉類収納カセット10を装填し始めたときにこの紙葉類収納カセット10に設けられたピニオン部材52の櫛歯部分52bが紙葉類処理装置1に設けられたラック部材60の櫛歯部分60aと噛み合い、紙葉類収納カセット10を紙葉類処理装置1に装着するにつれて、すなわち図3(b)に示す状態から図3(c)に示す状態となるにつれて、ピニオン部材52が軸52aを中心として図3の反時計回りに回転することとなる。
ピニオン部材52が軸52aを中心として図3の反時計回りに回転すると、カム部材50の軸50aもピニオン部材52の軸52aを中心として図3の反時計回りに回転し、このカム部材50は下方に移動させられることとなる。このことにより、ピン48によりカム部材50に接続されたロック部材46が下方に引っ張られることとなり、図3(c)に示すようにこのロック部材46は軸46aを中心として図3の時計回りに回転させられる。このようにして、ロック部材46の凹部46bからプーリ44の軸44aが外れることとなる。
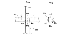
次に、図3に示すローラ回転規制機構におけるロック部材46およびプーリ44の軸44aの構成の詳細について図4および図5を用いて説明する。ここで、図4(a)は、プーリ44の軸44aがロック部材46の凹部46bに挿入されたときの状態を示す図であり、(b)は、(a)に示す状態からプーリ44の軸44aを紙葉類の投入方向(図4における時計回りの方向)に回転させたときの状態を示す図であり、(c)は、(b)に示す状態からプーリ44の軸44aを紙葉類の投入方向に更に回転させたときの状態を示す図である。また、図5は、図4に示すローラ回転規制機構におけるプーリ44の軸44aの構成の詳細を示す構成図であって、図5(a)は、プーリ44の軸44aを上方から見たときの上面図であり、図5(b)は、図5(a)に示すプーリ44の軸44aのA−A矢視断面図である。なお、図5(a)において、参考のためロック部材46を二点鎖線で示している。
図4および図5、とりわけ図5(b)に示すように、プーリ44の軸44aは、ロック部材46の凹部46bに挿入されたときのこの凹部46bに接触する箇所において軸44aの周方向に沿って部分的に平面形状となっている。具体的には、図5(a)(b)に示すように、プーリ44の軸44aには、当該軸44aの中心に対して対称の位置に設けられる一対の平面形状部分44cと、図5(b)に示すような軸44aの断面において一対の平面形状部分44cの間にそれぞれ設けられる一対の周形状部分44bとが設けられている。
また、図4に示すように、ロック部材46の凹部46bは、プーリ44の軸44aが挿入された際にこの軸44aと略平行に延びる互いに対向する第1の側面部分46cおよび第2の側面部分46e、ならびに底面部分46dを有している。ここで、図4に示すように、第1の側面部分46cおよび底面部分46dは略平面形状となっており、これらの第1の側面部分46cおよび底面部分46dはほぼ直交している。第1の側面部分46cの高さは、軸44aの直径と略同一の大きさとなっており、一方、底面部分46dの幅の大きさは、軸44aの直径よりもわずかに小さくなっている。
また、第2の側面部分46eは、凹部46bの開口部分に向かって、すなわち上方に向かって広がるようなテーパ形状となっている。より具体的には、第2の側面部分46eには、底面部分46dとほぼ直交するような平面形状部分と、第1の側面部分46cから遠ざかるようこの平面形状部分の途中箇所から傾斜した傾斜部分とが設けられている。第2の側面部分46eの高さは、軸44aの直径よりも小さくなっている。
そして、図4(a)に示すような、プーリ44の軸44aがロック部材46の凹部46bに挿入されたときの状態において、プーリ44の軸44aを紙葉類の投出方向、すなわち図4(a)の矢印Pの方向に回転させた場合には、プーリ44の軸44aに設けられた平面形状部分44cがロック部材46の凹部46bの第1の側面部分46cに当接することにより、このプーリ44の軸44aの回転が規制され、軸44aは図4(a)に示すような状態からこれ以上回転しなくなる。
一方、図4(a)に示すような、プーリ44の軸44aがロック部材46の凹部46bに挿入されたときの状態において、プーリ44の軸44aを紙葉類の投入方向、すなわち図4(a)の矢印Qの方向に回転させた場合には、このプーリ44の軸44aに設けられた平面形状部分44cがロック部材46の凹部46bの第2の側面部分46eに当接する。ここで、第2の側面部分46eは、凹部46bの開口部分に向かって、すなわち上方に向かって広がるようなテーパ形状となっているので、軸44aの平面形状部分44cが凹部46bの第2の側面部分46eに当接した場合であっても、この軸44aの回転が凹部46bにより規制されることはなく、軸44aの回転が許容されることとなる。このため、プーリ44の軸44aは図4(a)に示す状態から矢印Qの方向に回転し、図4(b)に示すような状態となり、図4(b)に示すような状態から軸44aが更に図4(b)の時計回りに回転すると図4(c)に示すような状態となる。このようにして、プーリ44の軸44aを紙葉類の投入方向、すなわち図4(a)の矢印Qの方向に回転させた場合には、この軸44aの回転はロック部材46の凹部46bにより規制されることはなく、軸44aの回転が許容される。
このようにして、ロック部材46は、プーリ44の軸44aが凹部46bに挿入されたときにこのプーリ44の軸44aを紙葉類の投入方向には回転させるが紙葉類の投出方向には回転させないようになっている。
上述のように、ローラ回転規制機構は、紙葉類収納カセット10の循環ベルト40、プーリ42、44、ロック部材46、カム部材50、ピニオン部材52等から構成されている。
次に、このような構成からなる紙葉類収納カセット10の動作について以下に説明する。具体的には、紙葉類収納カセット10を紙葉類処理装置1に装着したときの状態における動作、および紙葉類収納カセット10を紙葉類処理装置1から取り外したときの状態における動作についてそれぞれ説明する。
まず、紙葉類収納カセット10を紙葉類処理装置1に装着したときの状態における動作について説明する。
紙葉類を筐体12の外部から内部に投入する際に、まず、ステージ駆動機構(図示せず)によりステージ30を下降させる。このことにより、ステージ30の上方に紙葉類の収納スペースが設けられることとなる。
その後、投出入口16により紙葉類が1枚ずつ筐体12の内部に投入されると、この紙葉類は紙葉類搬送路18を経てフィードローラ20とゲートローラ22との間のニップ部に送られ、このニップ部に送られた紙葉類はフィードローラ20によりステージ30上に送られる。この際に、フィードローラ20からステージ30に送られる紙葉類は札叩き用羽根車(図示せず)により叩かれることとなる。このため、紙葉類を迅速にステージ30上に落下させることができるとともに、ステージ30上で紙葉類が縦向きになることはなく横向きの積層状態で集積されることとなる。また、フィードローラ20とゲートローラ22との間のニップ部に送られた紙葉類は、コシ付け部材(図示せず)により波形状に変形させられる。このことにより、紙葉類にコシを付けることができる。
一方、紙葉類を筐体12の内部から外部に投出する際には、まず、ステージ駆動機構(図示せず)によりステージ30を上昇させる。このことにより、ステージ30上に集積された紙葉類を収納繰出機構のキッカローラ24に当接させることができる。また、ステージ30を上昇させると、札叩き用羽根車(図示せず)およびコシ付け部材(図示せず)は収納繰出機構から退避し、紙葉類の投出が行われる間に紙葉類がこれらの札叩き用羽根車およびコシ付け部材に当接することはなくなる。
そして、ステージ30が上昇することによりこのステージ30上に集積された紙葉類がキッカローラ24に当接した後、キッカローラ24により、ステージ30に集積された紙葉類のうち最も上方にある紙葉類をフィードローラ20とゲートローラ22との間のニップ部に蹴り出す。ニップ部に送られた紙葉類は、フィードローラ20により紙葉類搬送路18に送られ、この紙葉類は最終的には投出入口16まで搬送されることとなる。このことにより、紙葉類収納カセット10の筐体12の外部へ紙葉類が投出される。
なお、上述のような、筐体12の外部から内部に紙葉類を投入する場合や、筐体12の内部から外部に紙葉類を投出する場合において、紙葉類収納カセット10が紙葉類処理装置1に装着されているので、紙葉類収納カセット10に設けられたピニオン部材52および紙葉類処理装置1に設けられたラック部材60は図3(c)に示すような位置関係となる。このため、プーリ44の軸44aはロック部材46の凹部46bから完全に外れた位置にあり、この軸44aは図3の時計回りおよび反時計回りの両方向に自在に回転させることができるようになる。このため、プーリ44に張架された循環ベルト40も自在に循環移動させることができるようになり、プーリ42も図2の時計回りおよび反時計回りの両方向に自在に回転させることができるようになるので、フィードローラ20を紙葉類の投入方向および投出方向の両方向に回転させることができるようになる。
一方、紙葉類収納カセット10の紙葉類収納部に収納された紙葉類を回収する際に、この紙葉類収納カセット10を紙葉類処理装置1から取り外した場合には、紙葉類収納カセット10に設けられたピニオン部材52および紙葉類処理装置1に設けられたラック部材60は図3(a)に示すような位置関係となる。この場合、ロック部材46はバネ56により上方向の力が加えられ、このロック部材46にはバネ56による引っ張り力に抗する力は加えられることがないので、ロック部材46はバネ56により上方向に引っ張られ、このロック部材46の凹部46bにプーリ44の軸44aが挿入されることとなる。
ロック部材46の凹部46bにプーリ44の軸44aが挿入された場合、前述のように、このプーリ44の軸44aは紙葉類の投出方向、すなわち図4(a)の矢印Pの方向には回転させることができなくなる。このため、フィードローラ20を紙葉類の投出方向に回転させることができなくなる。一方、ロック部材46の凹部46bにプーリ44の軸44aが挿入された場合であって、このプーリ44の軸44aは紙葉類の投入方向、すなわち図4(a)の矢印Qの方向には回転させることができる。このため、フィードローラ20を紙葉類の投入方向に回転させることができる。
ここで、前述のような筐体12の外部から内部に紙葉類を投入する際に、この紙葉類がフィードローラ20において詰まった場合であっても(すなわち、フィードローラ20において紙葉類にジャムが発生した場合であっても)、紙葉類収納カセット10を紙葉類処理装置1から取り外した後、この紙葉類収納カセット10の扉を開け、紙葉類収納カセット10の筐体12の内部から、フィードローラ20で詰まった紙葉類を手で引っ張ることにより、このフィードローラ20が紙葉類の投入方向に回転し、紙葉類の詰まりを解消することができる。
そして、図3(a)に示すような、紙葉類収納カセット10が紙葉類処理装置1から取り外されたような状態から、紙葉類収納カセット10を紙葉類処理装置1に装着させはじめると、図3(b)に示すように紙葉類収納カセット10のピニオン部材52が紙葉類処理装置1のラック部材60に噛み合い、このピニオン部材52が回転することにより、バネ56による上方向の力に抗してロック部材46がカム部材50によって下方に引っ張られることとなる。そして、図3(c)に示すように紙葉類収納カセット10を紙葉類処理装置1に完全に装着させると、カム部材50によりロック部材46は大きく下方に引っ張られた状態となり、このロック部材46の凹部46bからプーリ44の軸44aが完全に外れることとなる。
以上のように本実施の形態の紙葉類収納カセット10およびこの紙葉類収納カセット10を備えた紙葉類処理装置1によれば、紙葉類収納カセット10の循環ベルト40、プーリ42、44、ロック部材46、カム部材50、ピニオン部材52等から構成されるローラ回転規制機構は、紙葉類収納カセット10が紙葉類処理装置1に装着されたときにはフィードローラ20を紙葉類の投入方向および投出方向の両方向に回転させ、一方、紙葉類収納カセット10が紙葉類処理装置1から取り外されたときにはフィードローラ20を紙葉類の投入方向のみに回転させるようフィードローラ20の回転を規制する。このため、紙葉類収納カセット10を紙葉類処理装置1から取り外したときにフィードローラ20を紙葉類の投出方向に回転させることができなくなるため紙葉類収納部に収納された紙葉類が例えば盗難者等により抜き取られることを防止することができる。また、フィードローラ20が設けられた箇所において紙葉類の詰まりが発生した場合でも、紙葉類収納カセット10を紙葉類処理装置1から取り外した後、フィードローラ20を紙葉類の投入方向に例えば手動で回転させることによりこのような紙葉類の詰まりを解消することができる。
また、ローラ回転規制機構は、フィードローラ20と同期して回転するプーリ44の軸44aと、プーリ44の軸44aの近傍において移動自在に設けられたロック部材46とを有し、紙葉類収納カセット10が紙葉類処理装置1に収容されたときにはロック部材46はプーリ44の軸44aから離間し、紙葉類収納カセット10が紙葉類処理装置1から取り外されたときにはロック部材46はプーリ44の軸44aに係合するようになっている。また、ロック部材46は、プーリ44の軸44aが係合されたときにこのプーリ44の軸44aを紙葉類の投入方向には回転させるが紙葉類の投出方向には回転させないような形状となっている。このような紙葉類収納カセット10によれば、収納繰出機構のフィードローラ20の回転を規制するローラ回転規制機構の構成をシンプルなものとすることができる。
なお、本発明による紙葉類収納カセットおよび紙葉類処理装置は、上記の態様に限定されるものではなく、様々の変更を加えることができる。例えば、収納繰出機構のフィードローラの回転を規制するローラ回転規制機構としては、図2乃至図5に示すような循環ベルト40、プーリ42、44、ロック部材46、カム部材50、ピニオン部材52等から構成されるものに限定されることはない。収納繰出機構のフィードローラの回転を規制するローラ回転規制機構として、紙葉類収納カセットが紙葉類処理装置に装着されたときにはフィードローラを紙葉類の投入方向および投出方向の両方向に回転させ、紙葉類収納カセットが紙葉類処理装置から取り外されたときにはフィードローラを紙葉類の投入方向のみに回転させるようフィードローラの回転を規制するものであれば、他の構成のものを用いることもできる。
本発明の一の実施の形態における紙葉類収納カセットの外観を示す斜視図である。 図1に示す紙葉類収納カセットの内部の構成の概略を示す構成図である。 図2の示す紙葉類収納カセットにおけるローラ回転規制機構の構成を示す構成図であって、(a)は、紙葉類収納カセットが紙葉類処理装置から取り外されたときの状態を示す図であり、(b)は、紙葉類処理装置に紙葉類収納カセットを装填し始めたときの状態を示す図であり、(c)は、紙葉類処理装置に紙葉類収納カセットを装填し終えたときの状態を示す図である。 図3に示すローラ回転規制機構におけるロック部材およびプーリの軸の構成を示す構成図であって、(a)は、プーリの軸がロック部材の凹部に挿入されたときの状態を示す図であり、(b)は、(a)に示す状態からプーリの軸を紙葉類の投入方向に回転させたときの状態を示す図であり、(c)は、(b)に示す状態からプーリの軸を紙葉類の投入方向に更に回転させたときの状態を示す図である。 図3、図4に示すローラ回転規制機構におけるプーリの軸の構成の詳細を示す構成図であって、(a)は、プーリの軸を上方から見たときの上面図であり、(b)は、(a)に示すプーリの軸のA−A矢視断面図である。 図1に示す紙葉類収納カセットが装填された紙葉類処理装置の構成の概略を示す構成図である。
符号の説明
1 紙葉類処理装置
2 紙葉類投入部
3 紙葉類投出部
4 搬送部
5 識別部
6 筐体
10 紙葉類収納カセット
12 筐体
14 把持部
16 投出入口
18 紙葉類搬送路
20 フィードローラ
20a 軸
22 ゲートローラ
22a 軸
24 キッカローラ
24a 軸
25、26、27 案内ローラ
30 ステージ
31 案内部材
32 案内部材
40 循環ベルト
42 プーリ
44 プーリ
44a 軸
44b 周形状部分
44c 平面形状部分
46 ロック部材
46a 軸
46b 凹部
46c 第1の側面部分
46d 底面部分
46e 第2の側面部分
48 ピン
50 カム部材
50a 軸
50b 開口部
52 ピニオン部材
52a 軸
52b 櫛歯部分
54 固定部材
56 バネ
60 ラック部材
60a 櫛歯部分

Claims (7)

  1. 紙葉類の処理を行う紙葉類処理装置に着脱自在に収容される紙葉類収納カセットであって、
    筐体と、
    前記筐体の外部から内部への紙葉類の投入および前記筐体の内部から外部への紙葉類の投出を行うための投出入口と、
    前記筐体の内部に設けられ、前記投出入口により前記筐体の外部から内部に投入された紙葉類が収納される紙葉類収納部と、
    前記筐体の内部に設けられ、前記投出入口により前記筐体の外部から内部に投入された紙葉類を前記紙葉類収納部に送るとともに前記紙葉類収納部に収納された紙葉類を前記投出入口に繰り出すローラを有する収納繰出機構と、
    前記収納繰出機構のローラの回転を規制するローラ回転規制機構であって、前記紙葉類収納カセットが前記紙葉類処理装置に装着されたときには前記ローラを紙葉類の投入方向および投出方向の両方向に回転させ、前記紙葉類収納カセットが前記紙葉類処理装置から取り外されたときには前記ローラを紙葉類の投入方向のみに回転させるよう前記ローラの回転を規制するようなローラ回転規制機構と、
    を備えたことを特徴とする紙葉類収納カセット。
  2. 前記ローラ回転規制機構は、前記収納繰出機構の前記ローラと同期して回転する軸と、前記軸の近傍において移動自在に設けられたロック部材とを有し、
    前記紙葉類収納カセットが前記紙葉類処理装置に収容されたときには前記ロック部材は前記軸から離間し、前記紙葉類収納カセットが前記紙葉類処理装置から取り外されたときには前記ロック部材は前記軸に係合し、前記ロック部材は、前記軸が係合されたときにこの軸を紙葉類の投入方向には回転させるが紙葉類の投出方向には回転させないような形状となっていることを特徴とする請求項1記載の紙葉類収納カセット。
  3. 前記ロック部材は凹部を有し、前記紙葉類収納カセットが前記紙葉類処理装置から取り外されたときには前記軸は前記ロック部材の凹部に挿入されるようになっており、前記凹部は、前記軸が挿入されたときにこの軸を紙葉類の投入方向には回転させるが紙葉類の投出方向には回転させないような形状となっていることを特徴とする請求項2記載の紙葉類収納カセット。
  4. 前記軸は、前記ロック部材の凹部に挿入されたときにこの凹部に接触する箇所において周方向において部分的に平面形状となっており、前記凹部は、前記軸が挿入された際にこの軸と略平行に延びる互いに対向する第1の側面部分および第2の側面部分とを有し、第1の側面部分は略平面形状となっており、第2の側面部分は前記凹部の開口部分に向かって広がるようなテーパ形状となっており、前記軸が紙葉類の投出方向に回転しようとしたときにこの軸の平面形状部分が前記凹部の第1の側面部分に当接することにより当該軸の回転が規制され、前記軸が紙葉類の投入方向に回転しようとしたときにこの軸の平面形状部分が前記凹部の第2の側面部分に当接することにより当該軸の回転が許容されるようになっていることを特徴とする請求項3記載の紙葉類収納カセット。
  5. 前記紙葉類収納カセットには、当該紙葉類収納カセットが前記紙葉類処理装置に収容されたときにこの紙葉類処理装置に設けられたラック部材と噛み合うようなピニオン部材が設けられており、
    前記ピニオン部材は前記ローラ回転規制機構のロック部材と接続されており、前記ピニオン部材が前記ラック部材と噛み合って回転することにより前記ロック部材が移動するようになっていることを特徴とする請求項2記載の紙葉類収納カセット。
  6. 前記ピニオン部材が前記ラック部材と噛み合っていないときには前記ロック部材は前記軸に係合しており、前記ピニオン部材が前記ラック部材と噛み合って回転したときに前記ロック部材は前記軸から離間するよう移動するようになっていることを特徴とする請求項5記載の紙葉類収納カセット。
  7. 紙葉類の収納や投出を行う紙葉類処理装置であって、
    請求項1乃至6のいずれか一項に記載の紙葉類収納カセットを備えたことを特徴とする紙葉類処理装置。
JP2008226262A 2008-09-03 2008-09-03 紙葉類収納カセットおよび紙葉類処理装置 Active JP5456285B2 (ja)

Priority Applications (1)

Application Number Priority Date Filing Date Title
JP2008226262A JP5456285B2 (ja) 2008-09-03 2008-09-03 紙葉類収納カセットおよび紙葉類処理装置

Applications Claiming Priority (1)

Application Number Priority Date Filing Date Title
JP2008226262A JP5456285B2 (ja) 2008-09-03 2008-09-03 紙葉類収納カセットおよび紙葉類処理装置

Publications (2)

Publication Number Publication Date
JP2010061386A true JP2010061386A (ja) 2010-03-18
JP5456285B2 JP5456285B2 (ja) 2014-03-26

Family

ID=42188122

Family Applications (1)

Application Number Title Priority Date Filing Date
JP2008226262A Active JP5456285B2 (ja) 2008-09-03 2008-09-03 紙葉類収納カセットおよび紙葉類処理装置

Country Status (1)

Country Link
JP (1) JP5456285B2 (ja)

Cited By (3)

* Cited by examiner, † Cited by third party
Publication number Priority date Publication date Assignee Title
KR101468290B1 (ko) * 2013-03-05 2014-12-03 주식회사 엘지씨엔에스 매체보관함, 매체처리장치 및 금융기기
JP2016143390A (ja) * 2015-02-05 2016-08-08 沖電気工業株式会社 媒体収納庫及び媒体取引装置
CN110562773A (zh) * 2019-09-19 2019-12-13 中北大学 一种纸质档案数据采集装置

Citations (2)

* Cited by examiner, † Cited by third party
Publication number Priority date Publication date Assignee Title
JPS60187978U (ja) * 1984-05-23 1985-12-12 オムロン株式会社 紙幣類収納装置
JPS6453941A (en) * 1987-08-25 1989-03-01 Nec Corp Housing device for sheet

Patent Citations (2)

* Cited by examiner, † Cited by third party
Publication number Priority date Publication date Assignee Title
JPS60187978U (ja) * 1984-05-23 1985-12-12 オムロン株式会社 紙幣類収納装置
JPS6453941A (en) * 1987-08-25 1989-03-01 Nec Corp Housing device for sheet

Cited By (4)

* Cited by examiner, † Cited by third party
Publication number Priority date Publication date Assignee Title
KR101468290B1 (ko) * 2013-03-05 2014-12-03 주식회사 엘지씨엔에스 매체보관함, 매체처리장치 및 금융기기
JP2016143390A (ja) * 2015-02-05 2016-08-08 沖電気工業株式会社 媒体収納庫及び媒体取引装置
CN110562773A (zh) * 2019-09-19 2019-12-13 中北大学 一种纸质档案数据采集装置
CN110562773B (zh) * 2019-09-19 2024-05-24 中北大学 一种纸质档案数据采集装置

Also Published As

Publication number Publication date
JP5456285B2 (ja) 2014-03-26

Similar Documents

Publication Publication Date Title
JP5342530B2 (ja) 現金自動取引装置
JP4381960B2 (ja) 給紙装置およびこれを備えた画像形成装置
JP5014419B2 (ja) 硬貨投出装置および硬貨処理機
JP5456285B2 (ja) 紙葉類収納カセットおよび紙葉類処理装置
JPWO2009095995A1 (ja) 硬貨繰出装置
JP2007290850A (ja) 紙葉類集積繰出装置
US9965916B2 (en) Medium bundle storage device and medium processing device
CN1881266A (zh) 纸币处理装置
JP5493247B2 (ja) 細断処理装置
JP5262200B2 (ja) 紙葉類取扱装置
JP5144764B2 (ja) 紙葉類収納カセット
JP2011154654A (ja) 紙葉類処理装置
US11900752B2 (en) Medium processing device and medium transaction device
KR102148924B1 (ko) 유지보수가 용이한 구조를 갖는 금융자동화기기
US20190206197A1 (en) Protector, medium storage device, and medium processing device
JP5602350B2 (ja) 紙葉類収納カセット
JP2010113533A (ja) 硬貨処理装置
JP2017174082A (ja) 自動釣銭入出金機
JP2010280493A (ja) 紙葉類処理装置
JP4598546B2 (ja) 循環式硬貨入出金機
JP7427117B2 (ja) 紙葉類搬送装置および紙葉類取扱装置
KR101419427B1 (ko) 매체입금장치
JP7402678B2 (ja) 紙葉類収納装置及び紙葉類処理装置
JP4287483B2 (ja) 用紙処理装置及び画像形成システム
JP6832178B2 (ja) 紙葉類処理装置

Legal Events

Date Code Title Description
A621 Written request for application examination

Free format text: JAPANESE INTERMEDIATE CODE: A621

Effective date: 20110802

A977 Report on retrieval

Free format text: JAPANESE INTERMEDIATE CODE: A971007

Effective date: 20130218

A131 Notification of reasons for refusal

Free format text: JAPANESE INTERMEDIATE CODE: A131

Effective date: 20130329

A521 Written amendment

Free format text: JAPANESE INTERMEDIATE CODE: A523

Effective date: 20130528

TRDD Decision of grant or rejection written
A01 Written decision to grant a patent or to grant a registration (utility model)

Free format text: JAPANESE INTERMEDIATE CODE: A01

Effective date: 20131210

A61 First payment of annual fees (during grant procedure)

Free format text: JAPANESE INTERMEDIATE CODE: A61

Effective date: 20140108

R150 Certificate of patent or registration of utility model

Ref document number: 5456285

Country of ref document: JP

Free format text: JAPANESE INTERMEDIATE CODE: R150

Free format text: JAPANESE INTERMEDIATE CODE: R150