JP2010060133A - バタフライ式圧力制御バルブ - Google Patents

バタフライ式圧力制御バルブ Download PDF

Info

Publication number
JP2010060133A
JP2010060133A JP2009182556A JP2009182556A JP2010060133A JP 2010060133 A JP2010060133 A JP 2010060133A JP 2009182556 A JP2009182556 A JP 2009182556A JP 2009182556 A JP2009182556 A JP 2009182556A JP 2010060133 A JP2010060133 A JP 2010060133A
Authority
JP
Japan
Prior art keywords
valve
valve body
flow path
seat ring
air
Prior art date
Legal status (The legal status is an assumption and is not a legal conclusion. Google has not performed a legal analysis and makes no representation as to the accuracy of the status listed.)
Granted
Application number
JP2009182556A
Other languages
English (en)
Other versions
JP5271191B2 (ja
Inventor
Toshiaki Iwabuchi
俊昭 岩渕
Current Assignee (The listed assignees may be inaccurate. Google has not performed a legal analysis and makes no representation or warranty as to the accuracy of the list.)
Kitz SCT Corp
Original Assignee
Kitz SCT Corp
Priority date (The priority date is an assumption and is not a legal conclusion. Google has not performed a legal analysis and makes no representation as to the accuracy of the date listed.)
Filing date
Publication date
Application filed by Kitz SCT Corp filed Critical Kitz SCT Corp
Priority to JP2009182556A priority Critical patent/JP5271191B2/ja
Publication of JP2010060133A publication Critical patent/JP2010060133A/ja
Application granted granted Critical
Publication of JP5271191B2 publication Critical patent/JP5271191B2/ja
Active legal-status Critical Current
Anticipated expiration legal-status Critical

Links

Images

Classifications

    • FMECHANICAL ENGINEERING; LIGHTING; HEATING; WEAPONS; BLASTING
    • F16ENGINEERING ELEMENTS AND UNITS; GENERAL MEASURES FOR PRODUCING AND MAINTAINING EFFECTIVE FUNCTIONING OF MACHINES OR INSTALLATIONS; THERMAL INSULATION IN GENERAL
    • F16KVALVES; TAPS; COCKS; ACTUATING-FLOATS; DEVICES FOR VENTING OR AERATING
    • F16K51/00Other details not peculiar to particular types of valves or cut-off apparatus
    • F16K51/02Other details not peculiar to particular types of valves or cut-off apparatus specially adapted for high-vacuum installations
    • FMECHANICAL ENGINEERING; LIGHTING; HEATING; WEAPONS; BLASTING
    • F16ENGINEERING ELEMENTS AND UNITS; GENERAL MEASURES FOR PRODUCING AND MAINTAINING EFFECTIVE FUNCTIONING OF MACHINES OR INSTALLATIONS; THERMAL INSULATION IN GENERAL
    • F16KVALVES; TAPS; COCKS; ACTUATING-FLOATS; DEVICES FOR VENTING OR AERATING
    • F16K1/00Lift valves or globe valves, i.e. cut-off apparatus with closure members having at least a component of their opening and closing motion perpendicular to the closing faces
    • F16K1/16Lift valves or globe valves, i.e. cut-off apparatus with closure members having at least a component of their opening and closing motion perpendicular to the closing faces with pivoted closure-members
    • F16K1/18Lift valves or globe valves, i.e. cut-off apparatus with closure members having at least a component of their opening and closing motion perpendicular to the closing faces with pivoted closure-members with pivoted discs or flaps
    • F16K1/22Lift valves or globe valves, i.e. cut-off apparatus with closure members having at least a component of their opening and closing motion perpendicular to the closing faces with pivoted closure-members with pivoted discs or flaps with axis of rotation crossing the valve member, e.g. butterfly valves
    • F16K1/226Shaping or arrangements of the sealing
    • F16K1/2263Shaping or arrangements of the sealing the sealing being arranged on the valve seat
    • F16K1/2266Shaping or arrangements of the sealing the sealing being arranged on the valve seat and being forced into sealing contact with the valve member by a spring or a spring-like member
    • FMECHANICAL ENGINEERING; LIGHTING; HEATING; WEAPONS; BLASTING
    • F16ENGINEERING ELEMENTS AND UNITS; GENERAL MEASURES FOR PRODUCING AND MAINTAINING EFFECTIVE FUNCTIONING OF MACHINES OR INSTALLATIONS; THERMAL INSULATION IN GENERAL
    • F16KVALVES; TAPS; COCKS; ACTUATING-FLOATS; DEVICES FOR VENTING OR AERATING
    • F16K1/00Lift valves or globe valves, i.e. cut-off apparatus with closure members having at least a component of their opening and closing motion perpendicular to the closing faces
    • F16K1/32Details
    • F16K1/34Cutting-off parts, e.g. valve members, seats
    • F16K1/42Valve seats
    • FMECHANICAL ENGINEERING; LIGHTING; HEATING; WEAPONS; BLASTING
    • F16ENGINEERING ELEMENTS AND UNITS; GENERAL MEASURES FOR PRODUCING AND MAINTAINING EFFECTIVE FUNCTIONING OF MACHINES OR INSTALLATIONS; THERMAL INSULATION IN GENERAL
    • F16KVALVES; TAPS; COCKS; ACTUATING-FLOATS; DEVICES FOR VENTING OR AERATING
    • F16K1/00Lift valves or globe valves, i.e. cut-off apparatus with closure members having at least a component of their opening and closing motion perpendicular to the closing faces
    • F16K1/32Details
    • F16K1/34Cutting-off parts, e.g. valve members, seats
    • F16K1/46Attachment of sealing rings
    • FMECHANICAL ENGINEERING; LIGHTING; HEATING; WEAPONS; BLASTING
    • F16ENGINEERING ELEMENTS AND UNITS; GENERAL MEASURES FOR PRODUCING AND MAINTAINING EFFECTIVE FUNCTIONING OF MACHINES OR INSTALLATIONS; THERMAL INSULATION IN GENERAL
    • F16KVALVES; TAPS; COCKS; ACTUATING-FLOATS; DEVICES FOR VENTING OR AERATING
    • F16K27/00Construction of housing; Use of materials therefor
    • F16K27/02Construction of housing; Use of materials therefor of lift valves
    • F16K27/0209Check valves or pivoted valves
    • F16K27/0218Butterfly valves
    • FMECHANICAL ENGINEERING; LIGHTING; HEATING; WEAPONS; BLASTING
    • F16ENGINEERING ELEMENTS AND UNITS; GENERAL MEASURES FOR PRODUCING AND MAINTAINING EFFECTIVE FUNCTIONING OF MACHINES OR INSTALLATIONS; THERMAL INSULATION IN GENERAL
    • F16KVALVES; TAPS; COCKS; ACTUATING-FLOATS; DEVICES FOR VENTING OR AERATING
    • F16K39/00Devices for relieving the pressure on the sealing faces
    • F16K39/02Devices for relieving the pressure on the sealing faces for lift valves
    • F16K39/026Devices for relieving the pressure on the sealing faces for lift valves using an external auxiliary valve
    • FMECHANICAL ENGINEERING; LIGHTING; HEATING; WEAPONS; BLASTING
    • F16ENGINEERING ELEMENTS AND UNITS; GENERAL MEASURES FOR PRODUCING AND MAINTAINING EFFECTIVE FUNCTIONING OF MACHINES OR INSTALLATIONS; THERMAL INSULATION IN GENERAL
    • F16KVALVES; TAPS; COCKS; ACTUATING-FLOATS; DEVICES FOR VENTING OR AERATING
    • F16K39/00Devices for relieving the pressure on the sealing faces
    • F16K39/02Devices for relieving the pressure on the sealing faces for lift valves
    • F16K39/028Devices for relieving the pressure on the sealing faces for lift valves with pivoted closure members, e.g. butterfly valves
    • H10P95/00

Landscapes

  • Engineering & Computer Science (AREA)
  • General Engineering & Computer Science (AREA)
  • Mechanical Engineering (AREA)
  • Lift Valve (AREA)
  • Details Of Valves (AREA)
  • Electrically Driven Valve-Operating Means (AREA)

Abstract

【課題】真空領域内を圧力制御することに好適なバタフライ式圧力制御バルブであり、設置スペースが小さく、小さい操作力により高速制御して、弁閉時には弁閉状態を維持して高シール性を発揮し、流量制御時には微小流量から大流量まで正確に制御でき、一般的なバタフライバルブと同等の耐久性を発揮しつつ、単体でアイソレーション機能を発揮して大気圧から低真空までのソフト排気の排気時間を制御できるバタフライ式圧力制御バルブを提供する。
【解決手段】バタフライ式圧力制御バルブは、バルブ開閉機構22を有する。バルブ開閉機構22は、エア流路25へのエアの供給によりシートリング24を弁体23から離間させた状態でこの弁体23を無摺動で回転させ、弁体23を弁閉状態に回転したときにエア流路25へのエアの供給とスプリング26の付勢力とにより弁体23にシートリング24を接離させて流路21内の圧力を制御する。
【選択図】 図1

Description

本発明は、例えば、半導体製造工程において高シール性を確保しつつ微小流量の排気を制御するために用いられるバタフライ式圧力制御バルブであり、特に、大気圧から低真空までのソフト排気制御と真空状態からプロセスガス圧力を高速に安定制御する圧力制御に好適な高耐久性のアイソレーション機能付バタフライ式圧力制御バルブに関する。
従来より、例えば、半導体製造工程において、真空容器である真空チェンバと真空ポンプとの間には、アイソレーション機能付きの圧力制御バルブを設けた構造が提案されている。真空用アイソレーションバルブ(以下、アイソレーションバルブ)は、真空チェンバからの排気や排気の停止をおこない、真空チェンバ内を所定の真空圧力に近づけるように圧力制御するものである。アイソレーションバルブを用いて圧力制御を行なう場合、ソフト排気制御と、プロセスガス制御との2つの制御を実施できることが要求される。
アイソレーションバルブにより圧力制御する場合、大気圧からの真空排気においては弁開度が急に大きくなると、真空チェンバ内の圧力が急激に変化し、乱流が発生することでパーティクルが飛散するおそれがある。
これを防ぐため、従来は、メインバルブと並列に設けた小口径のバイパスバルブでソフト排気を行っていたが、アイソレーション機能付きの圧力制御バルブによると、大口径の弁閉付近の開度において流路を僅かずつ変化させて流体をリークさせることが可能になり、この場合、微小開度により圧力制御することが必要になっている。
アイソレーションバルブとしては、例えば、振り子式ゲートバルブや直動式ゲートバルブ、およびL型バルブやバタフライバルブ等がある。
振り子式ゲートバルブや直動式ゲートバルブは、弁閉位置における隙間が大きくなる構造であるため、大口径の高真空排気系の圧力制御に用いられることが多くなっている。
また、L型バルブとして、例えば、特許文献1における真空圧力制御システムの真空比例制御弁がある。同文献1の真空圧力制御システムは、L型ポペット弁である真空比例制御弁と、真空圧力センサと、コントローラとを有している。真空比例制御弁は、弁座シール機能と、ソフト排気機能と、圧力制御機能とを有しており、これらの機能により、1台で真空圧力制御をおこなうようになっている。
一方、アイソレーション機能を有するバタフライバルブとして、シートリングの開閉によりアイソレーションできるバタフライバルブがある(例えば、特許文献2参照。)。同文献2のバタフライ弁は、弁本体内部の弁体回動空間内に弁体退避空間が設けられ、弁体が回動するときに弁体回動空間の内面との接触を防ぎつつ回動する構造である。そして、弁座は、圧力空間内への圧力の供給により弁体回動空間内を前進し、弁体に圧接して流路を封止する。これにより、このバタフライ弁は、弁体が回転時に弁本体及び弁座に接触することを防いで弁体の摩耗や損傷を防止し、シール性を向上させようとしている。
この場合、一般に、バタフライバルブは、同じ口径の他の構造のバルブと比較して面間寸法が小さく、ポペット型の流量制御弁よりも配管への取付け幅が小さくなっている。このため、バタフライバルブをアイソレーションバルブとして用いると、フットプリント性が高まり、特に、半導体製造分野に用いた場合、排気システム全体を小型化することが可能になる。更に、バタフライバルブは、軽量化を図ることもできることから、材料の削減にも繋げることが可能になる。
また、他のバタフライバルブとして、特許文献3のバタフライ弁の弁体開閉機構がある。このバタフライバルブの弁体開閉機構においては、弁座シール部が、弁体の外周面に密接するシール位置と弁体の外周面から離れる退避位置との間をスライド自在であり、弁座シール部と弁本体との隙間に洗浄用流体が噴射されるようになっている。これにより、このバタフライ弁は、弁座シール部と弁本体との間に侵入しようとする個体物を除去し、弁座シール部や弁本体の摩耗、損傷を防いでシール性を高めようとしている。
ところで、バタフライバルブは、弁軸が弁座に対して回転して流路を開閉する構造であるため、フラッパー(弁体)にシール材が無くアイソレーション機能を有していない場合には、高速に動作させて流量制御をおこなうことが可能になる。ここで、例えば、フラッパーにシール材を有しアイソレーション機能を具備するバタフライバルブは、シール材の回転摩擦が大きくなり、仮に、真空グリスを塗布したとしても、シール面が摺動摩耗して耐久性が悪くなる。例えば、このバラフタイバルブは、数万回の回転動作により使用限界に達し、更に、加熱タイプにおいてはより耐久性が劣る。しかし、アイソレーション機能が無いバタフライバルブは、回転動作する部位のシール性のみを高めればよく、シール面の耐久性を特に必要としないため、およそ100万回程度の回転動作にも耐え得ることが可能になっている。
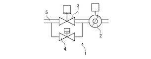
アイソレーション機能の無いバタフライバルブを用いて真空圧を制御する場合、このバタフライバルブと他のバルブとを組み合わせてバルブシステムを設け、このバルブシステムにより真空圧力を制御することがある。この種のバルブシステムとして、例えば、図20に示すバルブシステムがある。このバルブシステム1は、アイソレーション機能が無い圧力制御用バタフライ弁2と、流路開閉用の真空弁3と、小口径の流量調整バルブ4とを有している。バタフライ弁2と真空弁3は、真空流路5に対して直列に接続され、流量調整バルブ4は、真空流路5に対して真空弁3と並列に接続されてこの真空弁3をバイパスできるようになっており、流量調整バルブ4により流量調整することでソフト排気の排気時間調整を行っている。
このバルブシステム1は、真空弁3により流路を開閉操作し、更に、真空弁3の弁開時においてバタフライ弁2を開閉制御して圧力制御するようになっている。また、ソフト排気する場合には、真空弁3を閉状態にした状態で、小口径の流量調整バルブ4を開けて大気圧から低真空までのソフト排気を行うようになっている。この構成により、バルブシステム1は、バタフライバルブ単体では難しいソフト排気の排気時間を調整できるようにするものである。
特開2006−18767号公報 実用新案登録第2516307号公報 特許第3826114号公報
しかしながら、振り子式や直動式のゲートバルブは、大口径の高真空排気系の圧力制御に適した構造であり、これらのゲートバルブのボデー構造は、バタフライバルブのボデー構造に比較して複雑になり、中小型の圧力制御用であって一体型によってソフト排気機能を発揮できる構造ではない。
また、L型のポペット弁は、弁体が流路方向に往復するように可動するため、弁体の可動域と、この弁体上昇時の流路を広く確保するためにバルブ全体が大型になる。このため、フットプリント性が悪く、排気システム全体が大型化する傾向にあった。
更に、ポペット弁は、大口径のエアーシリンダーの開閉動作を電空ポジショナで制御する方式のため高速に制御することができなかった。
例えば、特許文献1の真空圧力制御システムにおいては、真空比例制御弁の弁開閉ストロークが大きくなり、しかも、弁シールとしてベローズを使用しているため、動作させるためには高推力が必要になる。これにより、この真空比例制御弁を動作させるためには、空気圧シリンダの推力を大きくする必要があった。
また、同真空圧力制御システムは、真空比例制御弁が平面でシールする弁座構造のため、ソフト排気の微少制御に使用する場合に空気圧制御では制御性が悪く、また、弁座の粘着によるハンチング等の問題も起こる。このため、モータの機械的駆動による制御を採用する場合もあったが、この場合にはより大型化し、構造も複雑化していた。
一方、バタフライバルブを真空制御用として用いる場合において、このバタフライバルブをアイソレーションバルブとして機能させるためには、弁体にシール材を設け、かつ、弁座シール性を向上させるために弁体と弁座シール部との締付け圧力を向上させ、密着性を高めることが必要になる。しかし、この場合には弁座を締め切るときの摩擦トルクが大きくなる。
そのため、この高い弁座シール機能を有するバタフライバルブを用いて圧力制御をおこなう場合には、モータ出力やギアの減速比を大きく設定して出力トルクを増大させる必要がある。しかし、出力トルクを増加させると動作速度が遅くなって高速制御ができなくなり、また、モータの大型化やギア数を増加させるとバルブ全体が大型化する。更に、弁体と弁座が摩耗しやすくなり、リーク性能が悪くなっていた。よって、アイソレーション機能を有するバタフライバルブは、弁体の回転動作の限界がおよそ10万回程度になり、更に、加熱タイプではより限界の動作回数が低下して耐久性が低くなるという問題がある。
このことから、特許文献2のバタフライ弁は、弁体回動空間に弁体退避空間を設けて弁体の摩耗等を防いでシール性能を向上させようとしているが、弁本体を拡径方向に大きく形成して弁体退避空間を設けていることによりボデー全体が大型化し、取付け幅も増加していた。従って、同文献2のバタフライ弁は、バタフライバルブとしてのメリットである小型化を維持することができなかった。
また、特許文献3のバタフライ弁の弁体開閉機構は、弁座シール部を弁体から退避させるようにしているが、弁体回転時にこの弁体と弁座シール部との干渉を防ぐためには、弁座シール部を弁体から大きく離間させる必要があり、その結果、小流量時におけるコンダクタンスが大きくなっていた。よって、このバタフライ弁は、微小流量時の圧力制御が難しく、真空圧力制御には適していない。
一方、弁体にシール材が無くアイソレーション機能の無いバタフライバルブは、ボデーと弁座のシール部の摩耗を防ぐことが主な目的になっている。これにより、仮に、100Aのメイン配管に取り付けられたON−OFF制御のポペットバルブと並列にアイソレーション機能を有する流量調節用バルブを設けた場合に、例えば、1/4インチサイズの流量調節用バルブでソフト排気を行う場合、1/4インチサイズの面積を100Aサイズのバタフライ弁で制御するためは、弁体とシール部の隙間を0.1mm程度に設定する必要が有る。しかし、開閉機能のみを有するバタフライバルブは、設計上必要な隙間が大きくなり、Min制御性が悪くなっている。従って、この開閉用バタフライバルブを用いて、ソフト排気の時間調整をすることはできない。
サイズ100Aなどの大口径バタフライバルブを利用してソフト排気をおこなうためには、シール面が接離する位置での開閉制御を行う必要があり、前記のように、弁体と弁座との隙間を、0.1mm以下に抑えることができない場合には微小流量時のコンダクタンスが大きくなる。この場合、制御可能な圧力の範囲が狭くなって、十分な範囲の圧力制御ができなくなる。しかし、このバルブのように、回転動作部位付近のみのシール性を高めた場合には、主に摩耗したりリークが生じる部分はこのシール部付近となり、耐久性が向上し、また、摩耗抵抗も小さくなるため高速制御できるメリットがある。
また、図20におけるバルブシステム1は、ソフト排気の排気時間の調整とプロセスガスの圧力制御を行なうことはできるものの、構造が複雑になり、真空配管5に対する取付けスペースが大きくなるという問題が生じる。
本発明は、上記の課題点に鑑みて鋭意研究の結果開発に至ったものであり、その目的とするところは、真空領域内を圧力制御することに好適なバタフライ式圧力制御バルブであって、優れた耐久性を発揮しつつ単体でアイソレーション機能を発揮して大気圧から低真空までのソフト排気の排気時間の制御とプロセスガスの圧力制御とを行なうことができ、設置スペースが小さく、小さい操作力により高速制御して、弁閉時には弁閉状態を維持して高シール性を発揮し、流量制御時には微小流量から大流量までを正確に制御できるバタフライ式圧力制御バルブを提供することにある。
前記目的を達成するため、請求項1に係る発明は、ボデー内の流路に対して垂直方向に回転可能な弁体と、流路の方向に往復動して弁体に弁座シール部を接離可能なシートリングと、シートリングを弁体から離間する方向にエアが供給されるエア流路と、シートリングを弁体方向に付勢するスプリングとを有するバルブ開閉機構を有し、このバルブ開閉機構は、エア流路へのエアの供給によりシートリングを弁体から離間させた状態でこの弁体を無摺動で回転させ、弁体を弁閉状態に回転したときにエア流路へのエアの供給とスプリングの付勢力とにより弁体にシートリングを接離させて流路内の圧力を制御する開閉機構であるバタフライ式圧力制御バルブである。
請求項2に係る発明は、シートリングを複数のシャフトを介してピストンと連結し、エア流路をこのピストン側に設け、エア供給時にピストンとシャフトとによりシートリングを弁体から離間させたバタフライ式圧力制御バルブである。
請求項3に係る発明は、エア流路に供給するエア圧力は、エアの供給量を調節する電空レギュレータにより制御されシートリングの開閉量を制御できるようにしたバタフライ式圧力制御バルブである。
請求項4に係る発明は、弁体を回転させる弁軸の内部に、弁体加熱用のヒーターを着脱自在に取付け、弁軸と弁体とを着脱自在に取り付けたである。
請求項5に係る発明は、弁体に回転伝達用のステッピングモータを接続し、このステッピングモータと電空レギュレータとにコントローラを接続し、このコントローラは、ステッピングモータの回転を制御して弁体の回転量を制御する弁体制御部と、電空レギュレータによりエア流路に供給する出力圧力を制御してシートリングの開度を制御するエア制御部とを有するバタフライ式圧力制御バルブである。
請求項6に係る発明は、弁体の弁座シール部との当接側にOリングを装着すると共に、弁座シール部をシートリングの内周面側に内径側から外径側に向けて緩やかに拡径してテーパ状又は円弧状に形成したバタフライ式圧力制御バルブである。
請求項7に係る発明は、ボデーに、エア流路にエアを供給してシートリングが移動したときにこのシートリングの移動を所定の位置に規制するストッパを装着したバタフライ式圧力制御バルブである。
請求項1に係る発明によると、真空領域内を圧力制御することに好適なバタフライ式圧力制御バルブであり、配管への取付け幅を小さくして設置スペースを小さくでき、小さい操作力により高速制御して、弁閉時には弁閉状態を維持して高シール性を発揮し、弁開時には微小流量から大流量まで正確に流量制御でき、特に、微小流量時において優れたリーク性能を発揮して高精度に圧力制御できるバタフライ式圧力制御バルブである。これにより、真空領域内の圧力制御を正確におこなうことができる。
請求項2に係る発明によると、シートリングがシャフトの長い摺動面でガイドされることでシャフトとシートリングの傾動を防ぎ、シートリングの開閉時にはシャフトの外周側シール部位及びシートリングの裏漏れシール部位の軸方向のブレが抑えられるため、弁閉時においてシール部分の弾性変形量を小さく抑えて漏れを防止できる。また、シャフトの外周側にシール用Oリングを設けた場合にこのOリングのシール径を小さくでき、しかも、多重シール構造に設けることができるため外部リーク性能を向上させて優れた漏れ防止機能を発揮できる。
請求項3に係る発明によると、電空レギュレータにより弁体とシートリングとの間の距離を制御して、外部から弁体を高速かつ高精度に開閉制御して圧力制御でき、全体が大型化したり複雑になったりすることを防ぎつつ、優れたリーク性能を発揮できるバタフライ式圧力制御バルブである。
請求項4に係る発明によると、ヒータによりバルブ内への生成物の付着を防ぐことができ、しかも、バルブのボデーを分解することなくこのヒータや弁体部分等のメンテナンスを実施することができる。
請求項5に係る発明によると、バルブ本体のコンパクト性を維持しながら、弁体の開閉動作とシートリングの移動による微小流量の制御を別々におこなって高速かつ高精度な圧力制御を実施可能なバタフライ式圧力制御バルブである。
請求項6に係る発明によると、シートリングを流路方向に移動させたときにこの移動量を極僅かなバルブ開度として変換し、微小な弁開度の制御が可能なバタフライ式圧力制御バルブである。
更に、請求項7に係る発明によると、バルブ全開状態におけるシートリングの位置を調節してシートリングと弁体との隙間を最小に設定することができ、極微小な流量であっても高精度に圧力制御できるバタフライ式圧力制御バルブである。
本発明のバタフライ式圧力制御バルブの第1実施形態を示した概略断面図である。 本発明のバラフライ式圧力制御バルブにエアを供給した状態を示す要部拡大断面図である。 図2のバタフライ式圧力制御バルブからエアを排出した状態を示す要部拡大断面図である。 バルブ本体の部分拡大図である。(a)は、バルブ本体の部分拡大断面図である。(b)は、(a)の要部拡大断面図である。(c)は、偏心カムの拡大平面図である。 図4の弁体が回転した状態を示す部分拡大図である。 図5のシートリングが移動した状態を示す部分拡大図である。 図5の偏心カムを回転させた状態を示す部分拡大図である。 本発明におけるソフト排気時間と真空チェンバ内の圧力との関係を示したグラフである。 Oリングとシートリングとの位置関係を示した模式図である。 真空流路を示した概略模式図である。 高速エア制御回路を示した模式図である。 本発明のバタフライ式圧力制御バルブの第2実施形態を示した概略断面図である。 本発明のバラフライ式圧力制御バルブにエアを供給した状態を示す要部拡大断面図である。 図13の弁体が回転した状態を示す横断面図である。 弁体を取外した状態を示す断面図である。 弁体の概略図である。(a)は、弁体の概略側面図である。(b)は、弁体の概略背面図である。(c)は、弁体の概略平面図である。 弁軸の一部切欠き側面図である。 (a)は、主ボデーの一部切欠き正面図である。(b)は、主ボデーの縦断面図である。(c)は、(a)のA−A線断面図である 本発明のバタフライ式圧力制御バルブの第3実施形態を示した概略断面図である。 従来のバルブシステムを示す模式図である。
以下、本発明におけるバタフライ式圧力制御バルブの実施形態を図面に基づいて詳細に説明する。図10に示すように、本発明のバタフライ式圧力制御バルブは、例えば、半導体製造工程における管路10において真空チェンバ11と真空ポンプ12との間に接続され、バルブ本体15と、このバルブ本体15に接続された電磁弁16と、電空レギュレータ17と、アクチュエータ18と、コントローラ19とを備えている。
図1においては、本発明のバタフライ式圧力制御バルブの第1実施形態を示している。バルブ本体15のボデー20内には流路21が形成され、この流路21を開閉するバルブ開閉機構22が設けられている。バルブ開閉機構22は、弁体23と、シートリング24と、エア流路25と、スプリング26とを有している。
バルブ開閉機構22において、弁体23は、略円板状に形成され、固着ボルト27によって回転軸である弁軸28に取付けられ、この弁軸28により流路21に対して垂直方向に回転可能になっている。更に、弁体23の外周側には装着溝29が形成され、この装着溝29にOリング30が装着されている。Oリング30は、後述するシートリング24の弁座シール部31と当接する側に配設され、このOリング30により、弁座シール部31と弁体23との間がシールされる。
図5、図6に示すように、弁軸28は、弁体23の中心Oから偏心しており、かつ、流路の中心Oから偏心しており、これにより、バルブ本体15が2重偏心弁の構造を呈している。この場合、流路の中心Oに対する弁軸28の偏心量Dは、約1〜2mm程度になっている。また、弁軸28は、上部側にステッピングモータ32が接続されている。ステッピングモータ32は、弁軸28の回転誤差を抑えつつ所望の回転角度に高精度に回転できるようになっている。
また、シートリング24は、図4(a)に示すように略リング状に形成され、弁座シール部31と摺動部36とが設けられている。弁座シール部31は、Oリング30が当接してシールする部分であり、シートリング24の内周面側に形成され、内径側から外径側に緩やかに拡径するテーパ状に形成されている。図4(b)において、弁座シール部31のテーパ角度θは、バルブのサイズにより異なるが、弁体が旋回時に干渉しない角度に設定し、本実施形態においては、このテーパ角度θを10〜15°に設定している。また、弁座シール部31は、テーパ状以外の形状であってもよく、例えば、円弧状であってもよい。
一方、摺動部36は、シートリング24がボデー20内を摺動するために形成され、この摺動部36には外径側に突出して規制部37が設けられている。更に、この規制部37が移動する側には、弁閉側規制面38と弁開側規制面39とがそれぞれ形成されている。
シートリング24は、ボデー20に形成された装着凹部40に対して摺動部36が装着されるようにして取付けられ、摺動部36と装着凹部40との間に設けられた間隙Gにより流路21に対して垂直方向に往復動自在に移動し、弁座シール部31がOリング30に接離できるようになっている。このとき、弁閉側規制面38が装着凹部40に形成された環状突部41、また、弁開側規制面39がストッパ45にそれぞれ当接することで、シートリング24の往復時の移動量がそれぞれ規制されている。また、シートリング24と装着凹部40にはそれぞれシールリング42、43、44が設けられ、このシールリング42、43、44により、ボデー20とシートリング24とからの流体漏れが防がれている。
図4(b)、図4(c)に示すように、ストッパ45は、円柱状のピン46と、このピン46に対して偏心した偏心カム47とを有している。更に、ピン46の先端側には、溝部48が形成されている。一方、ボデー20内にはこのストッパ45を収容する収容部50が設けられ、この収容部50は、ピン46が収容される装着部51と、偏心カム47が収容される拡径部52とを有している。ストッパ45は、収容部50に装着されたときに、この収容部50に対して回転可能になっており、このとき、偏心カム47のカム面49がシートリング24と当接する位置に配設されてこのシートリング24との当接面となる。
この取付け構造により、ストッパ45は、図7に示す状態のように回転させることができ、これにより、カム面49の位置を調節でき、シートリング24が移動するときの移動量を規制するようになっている。ストッパ45を回転する場合には、溝部48に図示しないドライバ等の工具の先端を差込み、ピン46に刻印形成された視認部53の位置を確認しながらこのドライバを回転することにより、任意の状態まで回転できる。この場合、ストッパ45を0〜180°までの範囲で回転させてカム面49の状態を調節できる。ストッパ45は、本実施形態においては、バルブ本体15の上下の2箇所に設けている。
図2、3に示すように、エア流路25は、ボデー20内の装着凹部40から外部に続けて形成され、このエア流路25を介して装着凹部40にエアが供給される。このエア流路25は、エアを供給したときにシートリング24が弁体23から離間する位置に形成され、更に、バルブ本体23に搭載されるアクチュエータ18の内部に設けられたエア流路55に接続されている。このアクチュエータのエア流路55は、その途中から図1に示すように、第1分岐流路56と第2分岐流路57とに分岐されている。
スプリング26は、シートリング24に形成された取付部60とボデー20に形成された凹状溝61との間に、シートリング24を弁体23の方向に付勢する方向に弾発した状態で装着されている。これにより、通常時においては、シートリング24がこのスプリング26の弾発により弁体23方向に移動して弁閉状態に回転したときの弁体23にシール可能であり、一方、エアをエア流路25から供給した時には、シートリング24がスプリング26の付勢力に抗して移動して流路21を開放するようになっている。このように、バルブ本体15は、いわゆる、NC(ノーマリークローズ)の形態を呈している。本実施形態においては、スプリング26は、シートリング24の円周方向に等間隔に8個装着されているが、必要に応じて増減させるようにしてもよい。
更に、シートリング24のスプリング26の取付け面側のスプリング26と干渉しない位置に、図示しない係止部材を取付けるようにしてもよい。係止部材は、ボデー20に形成された図示しない係止穴とシートリング24に形成された図示しない係止穴との間に挿入され、この係止部材を設けた場合には、シートリング24がボデー20に対して回転することが防がれる。そのため、シートリング24が装着凹部40に対して往復動するときの動作が安定し、弁座シール部31が弁体23に対して略垂直方向から当接できるようになっている。
以上の構成により、シートリング24を弁体23のOリング30から離間させた状態でこの弁体23を無摺動で回転させ、また、弁体23を弁閉状態に回転したときにエア流路25へのエアの供給とスプリング26の付勢力とにより弁体23にシートリング24を接離させて、流路21内の流量(圧力)を制御する開閉機構になっている。このバルブ開閉機構22により流量制御することで、バタフライ式圧力制御バルブは、真空チェンバ11内をソフト排気しながら高精度に圧力制御できるようになっている。
シートリング24の弁体23への接離は、電磁弁16と電空レギュレータ17とによるエアの供給・停止、又はエア供給量の調整によりおこなわれる。
電磁弁16と電空レギュレータ17は、図1の第1分岐流路56と第2分岐流路57に対して並列した状態で接続されている。更に、電磁弁16と電空レギュレータ17にはポンプ62が接続され、このポンプ62から操作用のエアが供給されたときに、電磁弁16と電空レギュレータ17とがそれぞれ操作されて流路が制御される。
電磁弁16は、弁開又は弁閉の状態に操作可能であり、各状態においてポンプ62からのエアをエア流路25に供給又は停止できるようになっている。一方、電空レギュレータ17は、バルブ開度を調節することで、ポンプ62からのエアの供給圧力を調整することができるようになっている。この電空レギュレータ17は、例えば、図示しない内部のピストンにより圧力を0〜0.5MPaまでの範囲内に圧力制御するようにバルブ本体15へのエアの供給量を制御するものであればよい。または、供給圧力のON−OFF制御によりシートリング24の位置制御をできるものであれば良い。
電磁弁16と電空レギュレータ17の内部構造は省略するが、電磁弁16はオンオフ用の開閉弁、電空レギュレータ17は流量調節可能な流量調節弁であれば、その構造に拘ることはなく適宜の形態のバルブを用いるようにしてもよい。また、これらは、第1・第2分岐流路56、57にそれぞれ所定量のエアを供給可能であれば、バルブ本体15と一体又は近接して設ける必要はなく、管路10の任意の位置に設けることが可能になっている。
一方、アクチュエータ18は、前記したステッピングモータ32を内部に搭載し、このステッピングモータ32により弁軸28を介して弁体23を所定角度に回転制御できるようになっている。
図1に示すように、ステッピングモータ32に対してコントローラ19が接続され、また、このコントローラ19は、電空レギュレータ17に接続されている。このコントローラ19は、弁体制御部65と、エア制御部66とを有している。弁体制御部65とエア制御部66は、図示しない基板等を有している。
弁体制御部65は、ステッピングモータ32の回転方向や回転速度等を制御し、弁体23の回転量を制御する。一方、エア制御部66は、電空レギュレータ17内部の図示しない弁体の弁開度を制御し、この電空レギュレータ17にポンプ62からエアが供給されたときにエア流路25に供給するエアの量(圧力)を制御するようになっている。これにより、エア制御部66は、電空レギュレータによりエア流路25に供給する出力圧力を制御してシートリング24の開度を制御している。
なお、上記の実施形態において、電空レギュレータ17の位置に、この電空レギュレータ17と同一の機能を有するバルブを設けてもよい。このバルブとしては、例えば、図示しないが、オリフィス流路を有する流量制御弁がある。
次に、本発明のバタフライ式圧力制御バルブの上記実施形態における動作並びに作用を説明する。
先ず、弁開状態から弁閉状態にする場合には、図4の状態において、電磁弁16と電空レギュレータ17は開の状態であり、この状態でポンプ62からエア流路25にエアが供給されている。これにより、エア流路25から装着凹部40にエアが供給され、シートリング24がスプリング26の付勢力に抗して図に示すように左側に移動する。その際、図4(c)に示したストッパ45の回転を調節し、カム面49を適宜の状態に設定してシートリング24の移動量を規制しておく。図においては、カム面49の偏心量の少ない面側をシートリング24との当接側に配設するように調節し、これにより、シートリング24の移動量が大きくなるようにしている。
続いて、この状態で弁体制御部65を制御してステッピングモータ32を所定量回転させ、図5に示すように、バルブ本体15の弁体23を閉状態の位置まで回転させる。このとき、シートリング24を弁体23から離間させた状態に維持されていることにより、弁体23がこのシートリング24に対して無摺動で回転する。また、弁体23の中心Oから流路の方向に偏心し、かつ、流路の中心Oから偏心しているため、弁体23における弁軸付近がシートリング24に接触することがない。このため、弁体23が回転することを原因とするシール性の悪化が防がれ、後述する弁閉時におけるシール性を維持できる。
次いで、図3、図6に示すように、電磁弁16を閉状態にしてエア流路25へのエアの供給を停止し、装着凹部40からエアを排気する。これにより、スプリング26が弾発付勢してシートリング24を弁体23方向に押圧し、シートリング24の弁座シール部31が弁体23のOリング30にシールする。その際、Oリング30はテーパ状の弁座シール部31の内周面側に当接しているため、図6(b)において、シートリング24がスプリング26の付勢力によりOリング30方向に移動したときに、このOリング30が弁座シール部31の面に沿って縮径しながら変形することにより高シール性が発揮される。
以上のバルブ本体15の弁閉動作により、真空チェンバ11と真空ポンプ12との間の管路10が閉状態となる。
次に、この弁閉状態からソフト排気制御する場合と、ソフト排気制御後のプロセスガス圧力制御する場合を述べる。先ず、徐々に弁開状態に動作させて真空チェンバ11内をソフト排気する場合、すなわち、大気圧の状態で締め切られた真空チェンバ11内の圧力を、この大気圧から徐々に排気して減圧時の値(真空状態)に減圧する場合を説明する。
上記の状態からソフト排気する場合には、最初に、電磁弁16の閉状態を維持した状態でエア制御部66により電空レギュレータ17の弁開度を制御してエア流路25に供給する圧力を制御してシートリング24の開度を制御する。
このとき、電空レギュレータ17の弁開度は、図8のグラフに示すように、真空チェンバ11内の圧力が大気圧(760Torr)から所定のソフト排気時間が経過したときに0気圧になるように制御する。すなわち、真空チェンバ11内を大気圧から0気圧まで減圧するときに、この真空チェンバ11内にパーティクルの発生等の問題が生じることのない減圧速度によるソフト排気時間Tを予め設定しておき、このソフト設定時間Tにおいて真空チェンバ11内の圧力を比例させるように排気して電空レギュレータ17の開度を制御する。この開度制御により、エア流路25へのエア供給圧力を調節して弁体23に対するシートリング24の移動量を細かく制御して、シートリング24と弁体23との間の隙間量を制御する。
このようにエア制御部66によって電空レギュレータ17を開度制御することにより、大気圧付近ではリーク量を微量に制御し低真空になるにつれて開度を大きく制御することで、真空チェンバ11内の真空圧力は、排気時間T以内で大気圧から1Torr以下になりやすくなる。
このとき、設定時間内に真空圧力が1Torr以下に達するように排気された場合には、電空レギュレータ17が閉状態になると同時に電磁弁16が開状態に制御され、電磁弁16を介してエア流路25にエアが供給されてシートリング24がストッパ45の位置まで移動する。また、弁体制御部65によりステッピングモータ32の回転が制御され、バルブ本体15の弁体23が全開状態になり制御が終了する。
一方、真空圧力が時間内に1Torr以下に達するように排気できない場合には、電空レギュレータによりシートリングの全開状態の出力圧力が検出され、この検出結果によりステッピングモータによる弁体制御に切り替わり、弁体23が徐々に開かれて設定時間以内でのソフト排気が行なわれる。このソフト排気により設定真空圧力に達した後には、弁体23が全開状態になって制御が終了する。
これらのソフト排気後には、真空ポンプ12の能力により、真空チェンバ11内は高真空まで排気される。
上記の制御時には、弁体23とシートリング24とが、Oリング30とテーパ状の弁座シール部31とによりシールするシール構造であるため、特に、大気圧付近での微小流量の制御が可能になっている。
即ち、図9において、弁座シール部31(シートリング24)がOリング30から離れているときの流路方向における距離をLとすると、この距離Lによってシートリング24とOリング30との間に生じる径方向の隙間Sは、隙間S=距離L×tanθ(θ:テーパ角度)によって表される。
仮に、θ=10°の場合には、隙間Sを0.1mm以下で制御するためのシートリング24の移動距離Lが約0.6mmになり、このように移動距離Lを大きなストロークでラフに制御しながら、隙間Sの量を精密に制御することが可能になる。
更に、移動距離Lをストッパ45により調整することで、全開時の隙間Sを0.1〜0.2mm程度に設定でき、コンダクタンスを小さくできる。このように、Oリング30とテーパ角度θを設けたシートリング24との流量調節により、シートリング24の弁体方向への移動距離Lを隙間Sによって小さく変換して微小制御をおこなえる。このため、ソフト排気時の制御を高精度に実施できる。
このようなシートリング24の内周面側に、内径側から外形側に向けて緩やかに拡径してテーパ状(或は円弧状)に形成したシール構造により、シートリング24の移動による漏れが開始するまでにはこのシートリング24のある程度の移動量が必要になる。上記のテーパ接触により、Oリング30と弁座シール部31との間に粘着による貼り付きが発生しようとしても、これらが滑り動作しながら剥離してリークがおこなわれるため、粘着の影響を受け難くなる。更に、本実施形態におけるバタフライ式圧力制御バルブでは、前記シール構造によるソフト排気(スロー排気)を最も効果的に機能させるために、スロー排気制御をコントローラ19によっておこなっている。
上記のコントローラ19は、真空チェンバ11内の圧力低下を誘導するための到達関数f(x)を算出する演算機能(以下、到達関数演算機能という)と、バルブ本体15を任意の時間幅でオープンクローズする図示しないタイマーと、バルブ本体15が開閉動作するときのオープン開度値とクローズ開度値とを真空チェンバ11内の圧力と到達関数f(x)とから演算する機能(以下、弁開度演算機能という)とを有している。そして、このバルブ本体15は、図示しないパソコン等の入力手段から圧力を低下させる所要時間と、この所要時間で到達させる圧力をコマンド入力することで圧力をステップごとにバルブ本体15の開閉動作により制御して大気圧(又は、任意の圧力)から目標とする任意の圧力まで低下させるようにした。
この場合、到達関数f(x)を、例えば、任意の1次、2次或は3次関数として到達関数演算機能より求め、各ステップごとにこの到達関数f(x)と測定した真空チェンバ11内の圧力とを比較して、弁閉状態の弁体23に対してシートリング24をシール方向に往復動させてオープン開度とクローズ開度とを制御する。
その結果、スロー排気のスタート時には緩やかな排気特性により排気でき、優れたリーク特性を発揮して微小流量時の圧力制御を高精度に行なうことが可能となる。このため、例えば、圧力制御をしながら目標圧力を変えて段階的に圧力を下げるようにした制御の場合のように、フラットなシール面の弁座を制御する際に、弁座が離れる寸前の制御が難しくなって弁座に粘着による貼り付きがあるときにこの貼り付きが剥がれた瞬間にオーバーシュートして設定した排気特性より急激に排気されることがない。
しかも、バルブ本体15は、2重偏心弁の構造を呈しているので、弁体23の幅が小さい場合であっても、弁座シール部31とOリング30との隙間が最小の状態で開閉し、微小流量時におけるコンダクタンスが最小となる。このため、弁体23の回転時には、弁体23と弁座シール部31との干渉が抑えられ、スムーズな弁体23の回転が可能である。
ソフト排気後には、プロセスガスを流して目標圧力制御が行われる。プロセスガス圧力制御は、弁体23が全開で高真空に排気された状態からガス導入と圧力制御がスタートし、設定圧力に調圧するPID動作が行なわれる。その際、ガス導入のスタートは、圧力制御のスタートに対して前後する場合があるが、圧力制御がスタートするときには、高速で弁閉動作と安定制御とが行なわれる。
弁体23は、ステッピングモータ32のモータ制御により弁閉状態まで回転する。回転後には、弁座シール部31がOリング30から離間しているため、弁体23はほとんど摺動抵抗の無い状態で回転して低トルクで高速の圧力制御が可能になり、また、弁座シール部31とOリング30との関係がMinコンダクタンスに設定されているため、広範囲の圧力制御が可能になっている。
この弁閉状態において、電空レギュレータ17によりエア流路25に供給する圧力をPID制御してシートリング24の移動によるプロセスガス圧力制御を行う。その際、プロセスガス流量が少ない状態、または、設定圧力が高く弁体開度が0%でも設定圧力まで上昇しない場合は、弁体開度を0%にした状態で電空レギュレータ17によりエア流路25に供給する圧力をPID制御してシートリング24を閉方向に制御することで、大気圧に近い高い圧力でも制御できる。
ここで、PID制御は、フィードバック制御の一種であり、入力値の制御を、出力値と目標値との偏差、積分、微分からなる要素により実施する制御である。このPID制御は、一般的に広く実施されている制御方法であるため、その詳しい説明を省略する。
弁閉状態におけるプロセスガス圧力制御は、電空レギュレータ17によるエア流路25への圧力のPID制御により、シートリング24を開閉方向に移動させて行なう。この場合、設定圧力が低真空領域でシートリング24だけの圧力制御では圧力が下がらない場合には、この圧力を下げるために、エア流路25のシートリング24が全開状態になる圧力を電空レギュレータ17の出力圧力で検出し、この検出結果に応じてステッピングモータ32のPID制御に切り替わり、弁体23の開閉制御により目標圧力まで排気調圧される。このように、電空レギュレータ17によるリークゼロからの制御範囲と、モータ駆動によるMinコンダクタンスからの制御範囲とを切り替えて制御することで、広い制御範囲を確保し、プロセスガス圧力制御と、前記したソフト排気制御とが可能になっている。
上記において、ソフト排気制御やガス圧力制御について、弁開側への圧力制御時には、シートリング24が全開になる圧力を電空レギュレータ17により検出してステッピングモータ32の制御に切り替え、弁閉側への制御時には、ステッピングモータ32の制御の開度が0%の条件時にエア流路25の圧力を排気制御することで、シートリング24の弁閉状態からバルブ本体15のMinコンダクタンスまでと、バルブ本体15の弁体制御によるMinコンダクタンスからMaxコンダクタンスまでの2つの制御系統を連続して制御可能としている。その際、プロセスガスを高速で安定させるには、バルブ本体15の弁体23の制御のみで行うのが良く、プロセスガスの調圧範囲を広くするには、Minコンダクタンスを小さくするために、シートリング24と弁体23との隙間Sを弁体23が無摺動で回動できる最少の間隙に設定するのが良い。
また、2つの制御系統による連続した切り替え制御を行なわない場合には、プロセスガス圧力制御を弁体23の回動によってのみで行い、一方、クリーニング等の大気圧に近い高い圧力制御を行う場合には、シートリング24の制御によってのみで行うのが良い。
上記において、弁体23の回動のみによるプロセスガス圧力制御時おける圧力は、例えば、0.5〜5Torr程度であり、一方、クリーニング時の圧力は、例えば、700Torr程度である。また、前述したソフト排気制御は、大気圧から100Torr程度になるまでの時間が、およそ10〜20分程度の時間により排気する。
なお、モータ制御状態から再度バルブ本体15を全閉状態にする場合には、弁体23を全閉位置まで回転させ、電磁弁16をOFFにしてのエア流路25のエアを排気すると、スプリング26がシートリング24をOリング30に押し付けてシールさせ、流路21が閉状態となる。
また、電空レギュレータ17の位置に、この電空レギュレータ17と同一の機能を有するオリフィス流路を有する流量制御弁を設けた場合には、この流量制御弁を高速で開閉制御することにより、オリフィスを介して微小流量のエアが装着凹部40に供給され、シートリング24を減速させながら動作させることが可能になる。これにより、シートリング24を徐々に移動させてソフト排気を実施できる。この場合、電空レギュレータ17を用いた場合と比較して安価にソフト排気をおこなうことができる。
更に、図11に示したエア制御流路70を利用することで、バルブ本体15を弁閉状態に高速遮断することもできる。図において、エア遮断流路70には、電空レギュレータ71、3方電磁弁72、圧力スイッチ73、2方エアバルブ74が設けられ、このエア制御流路70は、図1におけるボデー20のシリンダである装着凹部40から続くエア流路25に接続されている。
エア制御流路70は、エア供給側流路75とエア排気側流路76とにより並列に設けられ、このエア供給側流路75とエア排気側流路76との間には、第1バイパス流路77、第2バイパス流路78が設けられている。そして、エア供給側流路75に、シリンダ40側から順に、電空レギュレータ71、3方電磁弁72、圧力スイッチ73が直列に配設され、一方、エア排気側流路76に、2方エアバルブ74が設けられている。
電空レギュレータ71は、エア供給側流路75と第1バイパス流路77とを接続する位置に設けられ、エア供給側流路75からシリンダ40内に供給するエアの流量を調節可能で、かつ、シリンダ40からの排気エアを、第1バイパス流路77を介してエア排気側流路76に流すことが可能になっている。3方電磁弁72は、エア供給側流路75と第1パイパス流路77とを接続する位置に設けられ、供給エアをシリンダ40側に供給するか、又は、シリンダ40からの排気エアを、第2バイパス流路78を介してエア排気側流路76に流すように切り換え可能になっている。圧力スイッチ73は、エア供給側流路75内の圧力を感知するために設けられている。
2方エアバルブ74は、エア排気側流路76に設けられ、この2方エアバルブ74には、エア供給側流路75から第3バイパス流路79が接続されている。この2方エアバルブ74は、ノーマリーオープンタイプのバルブであり、通常時にはシリンダ40からのエアを排気できるようになっており、一方、エア供給側流路75からエアが供給されたときには第3バイパス流路79を介してエアが供給されて弁閉状態となる構造になっている。
エア制御流路70において、3方電磁弁72を開状態にしてエアを供給すると、第3バイパス流路79を介して2方エアバルブ74内にエアが流れ、2方エアバルブ74は、閉状態になってシリンダ40からの排気が防がれた状態になる。この状態で電空レギュレータ71に、例えば、0〜5Vの入力信号を入力すると、この入力信号に比例して供給側からの操作圧力が0〜0.5MPaの大きさで出力される。この操作圧力により、シリンダ40内の図示しないシートリングが電空レギュレータ71の出力圧力に比例して、例えば、0〜2.5mmのストロークにより往復動してバルブ本体15を開閉する。
バルブ本体15を閉止状態に遮断するときには、3方電磁弁72を切り換えることでシリンダ40からの排気エアが第2バイパス流路78に流れて排気され、かつ、エア供給側流路75へのエア供給も停止する。このとき、電空レギュレータ71への入力信号を0Vにして排気した際に、通常の回路ではシリンダ40が弁閉動作するまでに1.5秒程度掛かることになるが、このエア遮断回路70では、エア供給側流路75に並列に配管されたエア排気側流路76の2方エアバルブ74が開状態となることで、排気エアが2方エアバルブ74と電空レギュレータ71・3方電磁弁72とを介してエア排気側流路76から排気されるため、1秒以下の高速で遮断することができ、遮断時間を大幅に短縮することが可能になる。
上述したように、本発明のバタフライ式圧力制御バルブは、弁体23と、シートリング24と、エア流路25と、スプリング26とを有するバルブ開閉機構22をバルブ本体15内に設け、バルブ開閉機構22により高シール性を確保しながら流路21を開閉制御するようにしているので、バタフライバルブ構造によって全体のコンパクト性を維持して省フットプリント性を確保し、高速制御によるアイソレーション機能を発揮できる。このため、半導体製造工程における真空流路5に対して本発明のバタフライ式圧力制御バルブを用いた場合には、全体の省スペース化が可能となり、大流量の流路であってもその真空圧力を高精度に制御することが可能になっている。しかも、高価な部品等を使用することが無いため安価に設けることができる。
更に、バルブ開閉機構22は、エア流路25へのエアの供給により弁体23がシートリング24から離間した状態で回転するので、弁体23がシートリング24に対して摺動することなく弁座シール部31によるシール性を確保しながら小さい出力トルクのステッピングモータ32を利用して高速作動させることができる。これにより、小出力のアクチュエータ18を用いた場合にも、例えば、小口径の40Aから口径の大きい150Aまでのバルブ本体15の弁体の高速作動が可能になる。
また、弁体23やシートリング24の摩耗が防がれ、真空圧力制御時のリーク性能が高められる。更に、Oリング30の寿命が延びるため耐久性が高まり、弁体23の回転動作の限界をおよそ100万回まで向上させることも可能である。
また、エア流路25に電磁弁16と電空レギュレータ17を並列に接続した状態でバルブ開閉機構22により制御しているので、構造が複雑化したり全体が大型化することなく、1つのエア流路25を介して電磁弁16と電空レギュレータ17とにより弁開状態から弁閉時までの圧力を容易に制御できるバタフライ式圧力制御バルブである。
次に、本発明のバタフライ式圧力制御バルブの第2実施形態を説明する。なお、この実施形態以降において、それ以前の実施形態と同一箇所は同一符号によってあらわし、その説明を省略する。
図12、図13においては、本発明のバタフライ式圧力制御バルブの第2実施形態を示している。図において、バルブ本体80は、ボデー81内部にバルブ開閉機構82を有し、このバルブ開閉機構82は、弁体83と、シートリング84と、エア流路85と、スプリング86とに加えて、ピストン87とシャフト88とを有している。バルブ本体80のボデー81は、中央の主ボデー81aと、一側に設けられた接続ボデー81bと、他側に設けられた接続ボデー81cとが一体に組み合わさって形成されている。各接続ボデー81b、81cには、図示しない他の配管との接続部位が形成されている。
バルブ開閉機構82のうち、弁体83は、前記実施形態と略同一の取付構造によりボデー81に回動自在に取付けられ、この弁体83を回動させる弁軸89内部には弁体加熱用のヒータ90が取り付けられている。図17に示すように、ヒータ90は、カートリッジ形態に形成され、弁軸89の内側に形成された取付穴91に着脱自在に取付けられる。更に、このヒータ90には配線92が接続されており、ヒータ90は、配線92を介して外部より電流が流されて発熱可能になっている。ヒータ90が発熱すると、この熱は弁軸89を伝わって弁体83まで伝導される。
弁体83は、図16に示すように、Oリング30が装着されたフラッパ部95と保持部材96とを有し、保持部材96は、固定ボルト97により連通穴98を介してフラッパ部95に形成されためねじ99に着脱自在に設けられている。一方、図14に示すように、フラッパ部95にはキー溝100が形成され、このキー溝100にキー101が嵌め込み可能になっている。キー101は、フラッパ部のキー溝100と弁軸89に形成されたキー溝102に嵌め込まれ、この状態でフラッパ部95と保持部材96とを固定ボルト97で固定することにより、弁軸89とフラッパ部95とが一体に回転する。
上記の構成により、弁軸89と弁体83とは着脱自在に取り付けられることから、図15に示すように、弁軸89からフラッパ部95と保持部材96とを外した状態にし、続いて、弁軸89をボデー90から抜くことで弁軸89内のヒータ90を取外すことが可能になる。このため、図示しないが、弁体と弁軸とが一体構造である場合のように内部ヒータやバルブボデーを分解する必要がなく、この実施形態では、弁軸89の内部にヒータ90を挿入し、フラッパ部95と弁軸89とを分割構造にすることでボデー81を分解することなくフラッパ部95のメンテナンス等を実施することが可能になっている。
一方、シートリング84は、略環状に設けられ、弁座シール部105と鍔状取付部106とが形成されている。弁座シール部105は、前記実施形態と同様に形成され、鍔状取付部106は、ボデー81内に形成されたシリンダ107の内径と略同径に設けられ、この鍔状取付部106には、ボルト装着孔108が2ヶ所の同心円上に形成されている。
ピストン87は、略環状に形成され、このピストン87にはシートリング84と同様にボルト装着穴109が2ヶ所に形成されている。ピストン87の内外周側にはボデー81とのシール用Oリング110、110が装着されている。ピストン87とシートリング84との間には、2本のシャフト88が配設され、このシャフト88は、両端面において取付ボルト111によりピストン87とシートリング84とに固着されている。シャフト88は、ボデー81に形成された挿通孔112に装着され、このシャフト88の外周側には3つのOリング113、113、113が装着されている。このため、シャフト88は、ボデー81との間が3重シールされた状態で挿通孔112を往復動する。
上記の構造により、ボデー81のシリンダ107内には、分割されたシートリング84とピストン87とが複数のシャフト88により連結され、シートリング84とピストン87とシャフト88とが一体化した状態で主ボデー81aに対して図12において左右に往復動作できるようになっている。エア流路85は、ボデー81のシリンダ107内のピストン87装着側の一次側に外部と連通して形成され、このエア流路85を介してシリンダ107内にエアが供給される。このように、エア流路85は、エア供給時にピストン87とシャフト88とによりシートリング84を弁体83から離間させる方向に移動させる側に形成されている。このエア流路85は、図示しないアクチュエータ内部のエア流路に接続されている。
図14において、主ボデー81aの流路一方向に開口して、例えば、8ヶ所に均等に凹状溝114が設けられ、各凹状溝114にはスプリング86がピストン87をエア流路85の側に弾発付勢するように装着されている。この装着構造により、通常時においては、ピストン87がスプリング86によりエア流路85の入口側、すなわち、図において右方向に移動し、シャフト88によりこのピストン87と一体化されたシートリング84は弁閉方向にシールするように移動する。
一方、エア流路85からエアを供給すると、ピストン87がスプリング86の弾発力に抗して図において左方向に移動するときにシートリング84も同方向に移動して弁体83から離間して流路を開状態にできるようになっている。続いて、このソフト排気制御後に、図14に示すように、弁体83を回転してプロセスガス圧力制御することができる。
なお、この実施形態では、シャフト88を2本としているが、このシャフト88は3本以上であってもよい。この場合、ピストン87とシャフト88との接続強度が増加する。
上述した構成により、この実施形態におけるバルブ本体80は、ボデー81内部のピストン87とシャフト88との連結部位が大気に開放しているものの、仮に、ピストンシール用のOリング110が破損してこの部位から漏れが生じたとしても、3重シール構造によりシートリング84側への漏れを防いでバルブ本体80内部への操作エアの漏れを防止している。
また、このシャフト88の3重シールによりシールされた内部流路側とエア供給側との間には差圧があり、内部流路側の圧力がエア供給側の圧力よりも低くなっており、しかも、シール用Oリング113の径がシャフト径とほぼ同径であって摺動時のシリンダ107との接触面積が小さくなるため、流路内の内部圧力が外部へ漏れることを防ぐことができる。
更に、主ボデー81aと接続ボデー81cは、主ボデー81aに形成された環状突起部93が接続ボデー81cの当該位置に装着されたOリング94に密着シールするように一体化しているため、この固定シール構造によりバルブ本体80内にエア流路85からのエア漏れが防がれ、バルブ本体80内への漏れは、シャフト88からの大気圧の浸入のみに限られる。このため、バルブ本体80における漏れ量を極小に抑えつつ、シール性と耐久性の向上を図ることができる。
図18においては、上記実施形態の一部の形状を変更した主ボデーを示したものである。この主ボデー115は、前記主ボデー81aと同様に、シャフト88の挿通孔112が均等に2ヶ所に形成され、かつ、スプリング収納空間である凹状溝114が略均等に8ヶ所に設けられている。更に、この主ボデー115では、各凹状溝114にはリークポート116が形成され、このリークポート116は、大気に開放されている。これにより、図12において、エア流路85からのエア供給時にピストン87の摺動部位(Oリング110とシリンダ107との隙間)からエア漏れした場合、このエアがリークポート116を介して大気側に放出される。
図19においては、本発明のバタフライ式圧力制御バルブの第3実施形態を示したものであり、このバルブ本体120は、シャフトの外周側にOリングを設ける代わりに、シートリング121とボデー122とをベローズ123で接続したベローズシール構造に設けたものである。この場合、小径に設けたベローズ123によりシートリング121とボデー122との間をシールすることができ、バルブ本体120のコンパクト化を図りながらエア供給側と内部流路側とをシールして外部漏れを防ぐことが可能となる。
15 バルブ本体
16 電磁弁
17 電空レギュレータ
19 コントローラ
20 ボデー
21 流路
22 バルブ開閉機構
23 弁体
24 シートリング
25 エア流路
26 スプリング
30 Oリング
31 弁座シール部
32 ステッピングモータ
35 弁座シール部
45 ストッパ
46 ピン
47 偏心カム
49 カム面
62 ポンプ
65 弁体制御部
66 エア制御部

Claims (7)

  1. ボデー内の流路に対して垂直方向に回転可能な弁体と、前記流路の方向に往復動して前記弁体に弁座シール部を接離可能なシートリングと、前記シートリングを前記弁体から離間する方向にエアが供給されるエア流路と、前記シートリングを前記弁体方向に付勢するスプリングとを有するバルブ開閉機構を有し、このバルブ開閉機構は、前記エア流路へのエアの供給により前記シートリングを前記弁体から離間させた状態でこの弁体を無摺動で回転させ、前記弁体を弁閉状態に回転したときに前記エア流路へのエアの供給と前記スプリングの付勢力とにより前記弁体に前記シートリングを接離させて前記流路内の圧力を制御する開閉機構であることを特徴とするバタフライ式圧力制御バルブ。
  2. 前記シートリングを複数のシャフトを介してピストンと連結し、前記エア流路をこのピストン側に設け、エア供給時に前記ピストンとシャフトとにより前記シートリングを弁体から離間させた請求項1に記載のバタフライ式圧力制御バルブ。
  3. 前記エア流路に供給するエア圧力は、エアの供給量を調節する電空レギュレータにより制御され前記シートリングの開閉量を制御できるようにした請求項1又は2に記載のバタフライ式圧力制御バルブ。
  4. 請求項1乃至3の何れか1項に記載のバタフライ式圧力制御バルブにおいて、前記弁体を回転させる弁軸の内部に、弁体加熱用のヒーターを着脱自在に取付け、前記弁軸と弁体とを着脱自在に取り付けたバタフライ式圧力制御バルブ。
  5. 前記弁体に回転伝達用のステッピングモータを接続し、このステッピングモータと前記電空レギュレータとにコントローラを接続し、このコントローラは、前記ステッピングモータの回転を制御して前記弁体の回転量を制御する弁体制御部と、前記電空レギュレータにより前記エア流路に供給する出力圧力を制御して前記シートリングの開度を制御するエア制御部とを有する請求項3又は4に記載のバタフライ式圧力制御バルブ。
  6. 前記弁体の前記弁座シール部との当接側にOリングを装着すると共に、前記弁座シール部を前記シートリングの内周面側に内径側から外径側に向けて緩やかに拡径してテーパ状又は円弧状に形成した請求項1乃至5の何れか1項に記載のバタフライ式圧力制御バルブ。
  7. 前記ボデーに、前記エア流路にエアを供給して前記シートリングが移動したときにこのシートリングの移動を所定の位置に規制するストッパを装着した請求項1乃至6の何れか1項に記載のバタフライ式圧力制御バルブ。
JP2009182556A 2008-08-06 2009-08-05 バタフライバルブ Active JP5271191B2 (ja)

Priority Applications (1)

Application Number Priority Date Filing Date Title
JP2009182556A JP5271191B2 (ja) 2008-08-06 2009-08-05 バタフライバルブ

Applications Claiming Priority (3)

Application Number Priority Date Filing Date Title
JP2008202792 2008-08-06
JP2008202792 2008-08-06
JP2009182556A JP5271191B2 (ja) 2008-08-06 2009-08-05 バタフライバルブ

Related Child Applications (1)

Application Number Title Priority Date Filing Date
JP2011089319A Division JP5342595B2 (ja) 2008-08-06 2011-04-13 バタフライ式圧力制御バルブ

Publications (2)

Publication Number Publication Date
JP2010060133A true JP2010060133A (ja) 2010-03-18
JP5271191B2 JP5271191B2 (ja) 2013-08-21

Family

ID=41652022

Family Applications (2)

Application Number Title Priority Date Filing Date
JP2009182556A Active JP5271191B2 (ja) 2008-08-06 2009-08-05 バタフライバルブ
JP2011089319A Active JP5342595B2 (ja) 2008-08-06 2011-04-13 バタフライ式圧力制御バルブ

Family Applications After (1)

Application Number Title Priority Date Filing Date
JP2011089319A Active JP5342595B2 (ja) 2008-08-06 2011-04-13 バタフライ式圧力制御バルブ

Country Status (5)

Country Link
US (1) US8123195B2 (ja)
JP (2) JP5271191B2 (ja)
KR (1) KR20100018442A (ja)
CN (1) CN101644338B (ja)
TW (1) TWI431213B (ja)

Cited By (6)

* Cited by examiner, † Cited by third party
Publication number Priority date Publication date Assignee Title
JP2011247324A (ja) * 2010-05-25 2011-12-08 Smc Corp 真空用バルブ
KR101207855B1 (ko) * 2010-07-02 2012-12-04 프리시스 주식회사 나비밸브 개폐장치
CN102996894A (zh) * 2012-10-29 2013-03-27 南通原亚精密机械有限公司 一种具有报警功能的蝶阀
KR20150090144A (ko) 2012-12-04 2015-08-05 가부시키가이샤 깃츠 에스시티 버터플라이식 압력 제어 밸브
JP2017141954A (ja) * 2016-02-11 2017-08-17 Ckd株式会社 真空圧力制御装置
JP2019019851A (ja) * 2017-07-13 2019-02-07 Ckd株式会社 バタフライバルブおよび真空圧力制御装置

Families Citing this family (36)

* Cited by examiner, † Cited by third party
Publication number Priority date Publication date Assignee Title
DE102008057683B3 (de) * 2008-11-17 2010-07-29 Marinus Cornelis Adrianus Heij Rohrschließvorrichtung einer Maschine
US8526745B2 (en) * 2009-12-03 2013-09-03 Sony Corporation Embedded graphics coding: reordered bitstream for parallel decoding
US20130269599A1 (en) * 2012-04-13 2013-10-17 Taiwan Semiconductor Manufacturing Company, Ltd. Methods and Apparatus for Continuous Pressure Control Processing
CN103511643B (zh) * 2012-12-05 2016-04-27 宁津美华工业有限公司 一种双偏心全金属密封蝶阀
KR101493934B1 (ko) * 2013-03-06 2015-02-16 (주)와이케이티 진공 밸브
US9228661B2 (en) * 2013-04-03 2016-01-05 Dynamic Air Inc Butterfly valve
TW201636525A (zh) * 2015-01-16 2016-10-16 Mks儀器公司 徑向密封蝶形閥
US10100934B2 (en) 2015-02-25 2018-10-16 Elkhart Brass Manufacturing Company, Inc. Valve with movable valve seat
US9903395B2 (en) * 2016-02-24 2018-02-27 Mac Valves, Inc. Proportional pressure controller with isolation valve assembly
US10197166B2 (en) * 2016-12-12 2019-02-05 Sumitomo Heavy Industries, Ltd. Vacuum gate valve
US10559451B2 (en) * 2017-02-15 2020-02-11 Applied Materials, Inc. Apparatus with concentric pumping for multiple pressure regimes
EP3372881A1 (de) * 2017-03-07 2018-09-12 VAT Holding AG Optimierte druckregelung für und mit einem vakuumventil
US20180266567A1 (en) * 2017-03-14 2018-09-20 Nor-Cal Products, Inc. Energized ptfe seal for butterfly valve
CN106641381B (zh) * 2017-03-17 2019-05-21 安徽江淮汽车集团股份有限公司 一种试验用水门控制装置
RU174830U1 (ru) * 2017-03-21 2017-11-03 Общество с ограниченной ответственностью "Завод нефтегазового оборудования "ТЕХНОВЕК" Клапан перепускной
DE102017119833B4 (de) * 2017-08-29 2025-02-06 Hengst Filter Systems (Kunshan) Co. Ltd. Druckbegrenzungsventil
KR101864553B1 (ko) * 2017-11-08 2018-06-04 정현철 댐퍼의 기밀 방법
KR102044025B1 (ko) * 2018-02-13 2019-11-12 주식회사 디에이치콘트롤스 유량제어 특성이 우수한 쓰리웨이 전자밸브
KR102044091B1 (ko) * 2018-03-14 2019-11-12 진종근 유량제어 특성이 우수한 쓰리웨이 전자밸브
JP7036756B2 (ja) * 2019-02-04 2022-03-15 Ckd株式会社 真空圧力比例制御弁
JP7164491B2 (ja) * 2019-06-12 2022-11-01 住友重機械工業株式会社 真空バルブ及び真空バルブに用いられるアクチュエータ
CN110725959B (zh) * 2019-11-12 2025-02-11 双泰阀门有限公司 汽轮机用多功能蝶阀
CN111140912B (zh) * 2020-01-19 2024-01-16 珠海格力电器股份有限公司 一种多联机系统及其控制方法
JP7141418B2 (ja) * 2020-02-03 2022-09-22 Ckd株式会社 非密閉式バタフライバルブおよびその製造方法
CN113741168B (zh) * 2020-05-29 2024-06-04 上海梅山钢铁股份有限公司 一种双调节装置并联控制系统的控制方法
CN111911669A (zh) * 2020-09-18 2020-11-10 华北电力大学 一种复合轴向及旋转动作的阀门
US20220163128A1 (en) * 2020-11-20 2022-05-26 Bray International, Inc. Butterfly valve seat and valve seat cavity
KR20220123801A (ko) * 2021-03-02 2022-09-13 현대자동차주식회사 결빙 방지를 위한 egr 시스템의 스로틀 밸브 발열 제어 장치 및 방법
MX2023013636A (es) * 2021-05-19 2023-11-30 Vitesco Tech Gmbh Disposicion de valvula.
CN114371741B (zh) * 2021-12-13 2023-08-08 湖南红太阳光电科技有限公司 一种串联真空腔体内气流场的控制方法及控制系统
CN114369869B (zh) * 2021-12-17 2022-12-16 赛姆柯(苏州)智能科技有限公司 一种晶体硅反应炉真空控制系统及控制方法
CN114811071B (zh) * 2022-04-28 2024-12-27 江苏远洋阀门智控股份有限公司 一种工业蒸汽智能化控制的电动蝶阀
CN117052918B (zh) * 2023-09-19 2024-11-12 上海特一阀门制造有限公司 一种具有多重密封缓冲结构的蝶阀
CN117231797B (zh) * 2023-11-02 2024-01-30 新乡市振航机电有限公司 一种两位两通双向流通微型快响应常闭电磁阀
US12535148B2 (en) 2024-03-27 2026-01-27 Emerson Process Management Regulator Technologies, Inc Pressure regulators with self-aligning valve disk assemblies
CN119084594B (zh) * 2024-11-04 2025-11-21 北泽阀门集团有限公司 一种五偏心超低温双向压蝶阀

Citations (5)

* Cited by examiner, † Cited by third party
Publication number Priority date Publication date Assignee Title
JPS4852027A (ja) * 1971-11-02 1973-07-21
JPH05263950A (ja) * 1992-03-19 1993-10-12 Kubota Corp バタフライ弁
JPH10502995A (ja) * 1994-07-18 1998-03-17 エムケイエス・インストゥルメンツ・インコーポレーテッド 熱流体制御バルブ
JP2005009562A (ja) * 2003-06-18 2005-01-13 Tomoe Tech Res Co バタフライ弁の弁体開閉機構
JP2007046662A (ja) * 2005-08-09 2007-02-22 Toyota Motor Corp バタフライ弁、調圧弁、及び、それらの制御装置

Family Cites Families (20)

* Cited by examiner, † Cited by third party
Publication number Priority date Publication date Assignee Title
US2673708A (en) * 1950-09-28 1954-03-30 Alfred C Danks Fluid pressure sealed butterfly valve
US3306316A (en) * 1964-07-20 1967-02-28 Keystone Valve Corp Disc valve and fitting
US3684239A (en) * 1970-11-30 1972-08-15 Rockwell Mfg Co Butterfly type valve with stress seal
US3840208A (en) * 1973-05-10 1974-10-08 A Schudel Bubble-tight inflatable seal for butterfly valve with offset disc
US4138090A (en) * 1977-03-04 1979-02-06 Sumner Joe D Butterfly valve with two-way pressure enhanced sealing
US4165859A (en) * 1977-05-18 1979-08-28 Crane Co. Seal assembly
JPS5968868U (ja) * 1982-10-30 1984-05-10 株式会社島津製作所 バタフライバルブ
US4540457A (en) * 1983-03-09 1985-09-10 Lavalley Industrial Plastics, Inc. Butterfly valve with pressurized O-ring sale
JPH0234526Y2 (ja) * 1985-03-22 1990-09-17
US4836499A (en) * 1987-09-14 1989-06-06 Dynamic Air Inc. Butterfly valves
JP2516307Y2 (ja) 1988-03-09 1996-11-06 株式会社 巴技術研究所 バタフライ弁
JP3274895B2 (ja) * 1992-12-02 2002-04-15 ミリポア・コーポレイション スロットルバルブ
US5700323A (en) * 1995-11-06 1997-12-23 Nordson Corporation Anti-contamination valve for powder delivery system
US5947445A (en) * 1996-08-30 1999-09-07 Bs&B Safety Systems, Inc. Rotatable valve assembly
JP4084861B2 (ja) * 1997-03-19 2008-04-30 アドバンスド エナジー ジャパン株式会社 ヒータを具えた制御弁
JP2001004064A (ja) * 1999-06-24 2001-01-09 Mitsubishi Electric Corp 圧力調整弁およびこれを備えた半導体製造装置
DE10060004B4 (de) * 2000-12-02 2005-08-25 Warex Valve Gmbh Absperrorgan mit einer verschwenkbaren Drehklappe und einer an einem Stützring gehaltenen, entropieelastischen Ringdichtung
PL197063B1 (pl) * 2001-04-23 2008-02-29 Zaklad Urzadzen Gazowniczych G Sposób wymiany uszczelnień głównych w kurku kulowym i kurek kulowy
JP3826114B2 (ja) 2003-06-18 2006-09-27 株式会社巴技術研究所 バタフライ弁の弁体開閉機構
JP4335085B2 (ja) 2004-07-05 2009-09-30 シーケーディ株式会社 真空圧力制御システム

Patent Citations (5)

* Cited by examiner, † Cited by third party
Publication number Priority date Publication date Assignee Title
JPS4852027A (ja) * 1971-11-02 1973-07-21
JPH05263950A (ja) * 1992-03-19 1993-10-12 Kubota Corp バタフライ弁
JPH10502995A (ja) * 1994-07-18 1998-03-17 エムケイエス・インストゥルメンツ・インコーポレーテッド 熱流体制御バルブ
JP2005009562A (ja) * 2003-06-18 2005-01-13 Tomoe Tech Res Co バタフライ弁の弁体開閉機構
JP2007046662A (ja) * 2005-08-09 2007-02-22 Toyota Motor Corp バタフライ弁、調圧弁、及び、それらの制御装置

Cited By (9)

* Cited by examiner, † Cited by third party
Publication number Priority date Publication date Assignee Title
JP2011247324A (ja) * 2010-05-25 2011-12-08 Smc Corp 真空用バルブ
KR101207855B1 (ko) * 2010-07-02 2012-12-04 프리시스 주식회사 나비밸브 개폐장치
CN102996894A (zh) * 2012-10-29 2013-03-27 南通原亚精密机械有限公司 一种具有报警功能的蝶阀
KR20150090144A (ko) 2012-12-04 2015-08-05 가부시키가이샤 깃츠 에스시티 버터플라이식 압력 제어 밸브
TWI577909B (zh) * 2012-12-04 2017-04-11 Kitz Sct Corp Butterfly pressure control valve
US9739380B2 (en) 2012-12-04 2017-08-22 Kitz Sct Corporation Butterfly pressure control valve
JP2017141954A (ja) * 2016-02-11 2017-08-17 Ckd株式会社 真空圧力制御装置
JP2019019851A (ja) * 2017-07-13 2019-02-07 Ckd株式会社 バタフライバルブおよび真空圧力制御装置
JP7013152B2 (ja) 2017-07-13 2022-01-31 Ckd株式会社 バタフライバルブおよび真空圧力制御装置

Also Published As

Publication number Publication date
CN101644338B (zh) 2013-09-18
US20100032598A1 (en) 2010-02-11
TW201007033A (en) 2010-02-16
JP5271191B2 (ja) 2013-08-21
JP2011158096A (ja) 2011-08-18
KR20100018442A (ko) 2010-02-17
TWI431213B (zh) 2014-03-21
JP5342595B2 (ja) 2013-11-13
US8123195B2 (en) 2012-02-28
CN101644338A (zh) 2010-02-10

Similar Documents

Publication Publication Date Title
JP5342595B2 (ja) バタフライ式圧力制御バルブ
JP4871129B2 (ja) コンダクタンスの制御が改良された弁組立体
KR101224852B1 (ko) 밸브 조립체
CA2749127C (en) Actuator having an override apparatus
JP4042507B2 (ja) 流量制御機構付きゲートバルブ
AU2008265997B2 (en) 3-way high-pressure air operated valve
JP4426136B2 (ja) 流量制御弁
KR20240151167A (ko) 압력 센서를 갖는 진공 앵글 밸브
JP5237220B2 (ja) 真空圧力制御システム
US20020056819A1 (en) High-vacuum sealing gate valve with a single moving component
WO2012118071A1 (ja) 流体制御弁
JP4657531B2 (ja) 空気圧作動式開閉弁
JP2011243217A (ja) 真空制御バルブ及び真空制御システム
JP4828642B1 (ja) 真空制御バルブ及び真空制御システム
JPH068380Y2 (ja) 真空ポンプ用バルブ
CN120466426A (zh) 超高压先导压力平衡联动开关阀
KR20060133413A (ko) 반도체 제조설비의 압력 조절용 스로틀 밸브

Legal Events

Date Code Title Description
A621 Written request for application examination

Free format text: JAPANESE INTERMEDIATE CODE: A621

Effective date: 20120207

A977 Report on retrieval

Free format text: JAPANESE INTERMEDIATE CODE: A971007

Effective date: 20121214

A131 Notification of reasons for refusal

Free format text: JAPANESE INTERMEDIATE CODE: A131

Effective date: 20121218

A521 Request for written amendment filed

Free format text: JAPANESE INTERMEDIATE CODE: A523

Effective date: 20130218

TRDD Decision of grant or rejection written
A01 Written decision to grant a patent or to grant a registration (utility model)

Free format text: JAPANESE INTERMEDIATE CODE: A01

Effective date: 20130430

A61 First payment of annual fees (during grant procedure)

Free format text: JAPANESE INTERMEDIATE CODE: A61

Effective date: 20130510

R150 Certificate of patent or registration of utility model

Ref document number: 5271191

Country of ref document: JP

Free format text: JAPANESE INTERMEDIATE CODE: R150

Free format text: JAPANESE INTERMEDIATE CODE: R150

R250 Receipt of annual fees

Free format text: JAPANESE INTERMEDIATE CODE: R250

R250 Receipt of annual fees

Free format text: JAPANESE INTERMEDIATE CODE: R250

R250 Receipt of annual fees

Free format text: JAPANESE INTERMEDIATE CODE: R250

R250 Receipt of annual fees

Free format text: JAPANESE INTERMEDIATE CODE: R250

R250 Receipt of annual fees

Free format text: JAPANESE INTERMEDIATE CODE: R250

R250 Receipt of annual fees

Free format text: JAPANESE INTERMEDIATE CODE: R250

R250 Receipt of annual fees

Free format text: JAPANESE INTERMEDIATE CODE: R250

R250 Receipt of annual fees

Free format text: JAPANESE INTERMEDIATE CODE: R250

R250 Receipt of annual fees

Free format text: JAPANESE INTERMEDIATE CODE: R250

R250 Receipt of annual fees

Free format text: JAPANESE INTERMEDIATE CODE: R250

S531 Written request for registration of change of domicile

Free format text: JAPANESE INTERMEDIATE CODE: R313531

R350 Written notification of registration of transfer

Free format text: JAPANESE INTERMEDIATE CODE: R350