JP2010060049A - 傘歯車を用いた歯車セット及び傘歯車 - Google Patents

傘歯車を用いた歯車セット及び傘歯車 Download PDF

Info

Publication number
JP2010060049A
JP2010060049A JP2008226367A JP2008226367A JP2010060049A JP 2010060049 A JP2010060049 A JP 2010060049A JP 2008226367 A JP2008226367 A JP 2008226367A JP 2008226367 A JP2008226367 A JP 2008226367A JP 2010060049 A JP2010060049 A JP 2010060049A
Authority
JP
Japan
Prior art keywords
gear
contact line
meshing
tooth
hypoid
Prior art date
Legal status (The legal status is an assumption and is not a legal conclusion. Google has not performed a legal analysis and makes no representation as to the accuracy of the status listed.)
Granted
Application number
JP2008226367A
Other languages
English (en)
Other versions
JP2010060049A5 (ja
JP5388510B2 (ja
Inventor
Takao Shigemi
貴夫 重見
Akira Yamamoto
章 山本
Mitsuru Maki
充 牧
Current Assignee (The listed assignees may be inaccurate. Google has not performed a legal analysis and makes no representation or warranty as to the accuracy of the list.)
Sumitomo Heavy Industries Ltd
Original Assignee
Sumitomo Heavy Industries Ltd
Priority date (The priority date is an assumption and is not a legal conclusion. Google has not performed a legal analysis and makes no representation as to the accuracy of the date listed.)
Filing date
Publication date
Application filed by Sumitomo Heavy Industries Ltd filed Critical Sumitomo Heavy Industries Ltd
Priority to JP2008226367A priority Critical patent/JP5388510B2/ja
Publication of JP2010060049A publication Critical patent/JP2010060049A/ja
Publication of JP2010060049A5 publication Critical patent/JP2010060049A5/ja
Application granted granted Critical
Publication of JP5388510B2 publication Critical patent/JP5388510B2/ja
Expired - Fee Related legal-status Critical Current
Anticipated expiration legal-status Critical

Links

Images

Landscapes

  • Gears, Cams (AREA)

Abstract

【課題】より発熱が小さく、より効率の高意(面圧の低い)食い違い軸歯車(傘歯車を用いた歯車セット)を得る。
【解決手段】互いの回転軸が非平行であって、且つ交わらない一対の歯車からなり、それぞれの歯面が円錐面に沿って形成されているハイポイドギヤセット(傘歯車を用いた歯車セット)であって、前記各歯車(ハイポイドピニオン、またはハイポイドギヤHG1)の噛合面102の少なくとも一部が、噛み合い進行方向Xに対して全体として凸状の接触線(第1接触線F(F1、F2、F3)及び第2接触線G(G1、G2、G3)で構成される接触線)を呈するような形状に形成されている。
【選択図】図2

Description

本発明は、一般に食い違い軸歯車と称されている、互いの回転軸が非平行であって、且つ交わらない一対の歯車からなり、それぞれの歯形外形が円錐面または円筒面として形成されている傘歯車を用いた歯車セットに関する。
ハイポイドピニオンとハイポイドギヤが噛合する際には、噛み合う歯面間に油膜を形成するべく潤滑油が供給される。従来、ハイポイドピニオンとハイポイドギヤの噛合にあっては、接触線と相対速度の方向が垂直に近い程、潤滑性能が向上することが知られている。このことは、非特許文献1に示されている。
また、特許文献1においては、この非特許文献1での示唆に鑑み、接触線と相対速度の方向が垂直となる条件式を求め、この条件式に基づいて設計基準点Psにおいて接触線と相対速度の方向がほぼ垂直となるように2つの歯車のうちの一方の歯車の歯面を与え、更にこの一方の歯車の歯面、またはこの歯面と等価な創成歯車により他方の歯車の歯面を創成するという技術を開示している。
143巻373号(1977年)の日本機械学会論文集掲載の論文「軸角が90°でないインボリュートウオームギヤに関する研究」(広川純夫・酒井高男・牧充,共著) 特開2003−56675号公報
しかしながら、この特許文献1に係る技術は、歯面上の1点(設計基準点Ps)においてのみ上記関係が成立するものであり、基本的には、当該歯面上の1点における点接触設計をベースとするもので、それ以外の箇所では必ずしも良好な接触状況にはなってはいなかったというのが実情である(後に詳述)。
本発明は、このような実情に鑑み、ハイポイドギヤセットを抜本的に検証し直すことにより、より発熱が小さく、より噛合効率が高い(面圧が低い)食い違い軸歯車(傘歯車を用いた歯車セット)を提供することをその課題としている。
本発明は、互いの回転軸が非平行であって、且つ交わらない一対の歯車からなり、それぞれの歯形外形が円錐面または円筒面に形成されている傘歯車を用いた歯車セットであって、前記各歯車の噛合面が、噛み合い進行方向に対して凸状の接触線を呈する形状に形成されていることにより、上記課題を解決したものである。
本発明は、歯面上の「接触線全体の形状」に着目し、各傘歯車の噛合面を、該各歯車の接触線が噛み合いの進行方向に対して凸状の形状を呈する構成とした。このため時間と共に歯面上でずれてゆく接触線が当該歯面の歯元側から歯先側まで広い範囲に亘って滑り方向に対してより90度に近い角度を維持できるようになり、潤滑性能が向上することにより、油膜形成状態が改善され、それだけ低発熱、高効率の動力伝達が可能となる。
なお、本発明は、見方を変えるならば、歯面の法線ベクトルをn、一方の歯車の軸まわりの角速度をωp1、他方の歯車の軸まわりの角速度をωg2、一方の歯車の軸まわりの速度をvp1、他方の歯車の軸まわりの速度をvg2、各歯車の共通垂線まわりの位置ベクトルをq、各歯車の相対速度をωs、で表したときに、n・q=0、且つ、n・ωs=0を同時に満足する歯面法線を限界法線と定義したときに、各歯車の噛合面が、噛み合い進行方向に対して、前記限界法線を有する点において凸状の頂点を備える接触線を呈する形状に形成されていることを特徴とする傘歯車を用いた歯車セットと捉えることもできる。因みに、前記各歯車の共通垂線まわりの位置ベクトルqは、ωg2・vp1−ωp1・vg2、前記各歯車の相対速度ωsは、vg2−vp1に相当している。
本発明によれば、より発熱が小さく、より噛合効率が高い(面圧が低い)食い違い軸歯車(傘歯車を用いた歯車セット)を得ることができる。
以下、図面に基づいて本発明の実施形態の一例を詳細に説明する。
本発明に係る食い違い歯車(傘歯車を用いた歯車セット)は、実際にどのような形で減速機等に組み込まれるかについては、特に限定されないが、例えば、図3に示すようなハイポイド減速装置GM1に適用することが可能である。
このハイポイド減速装置GM1は、モータ2とハイポイド減速機3とが連結された構成とされている。モータ2のモータ軸20の先端部には、ヘリカル状の外歯22が形成されている。
ハイポイド減速機3は、ケーシング32の内部に、継軸24と、該継軸24に形成されたハイポイドピニオンHP1及びこのハイポイドピニオンHP1が噛合するハイポイドギヤHG1からなるハイポイドギヤセットHGS1とを備え、更に、第1、第2の減速機構28、29を介して出力軸50へと動力が伝達される構成とされている。
ケーシング32には、二重の円筒部32A、32Bがモータ軸20方向へと延在されており、外側の円筒部32Aが、モータ2のケーシングと連結されている。一方、内側の円筒部32Bの更にその内側には、2つの軸受34、35が組み込まれている。この2つの軸受34、35によって、継軸24が、ケーシング32に対して回転可能に支持されている。
継軸24の第1、第2の減速機構28、29側に、前記ハイポイドピニオンHP1が形成されている。又、継軸24のモータ2側には、モータ軸20の先端部、即ち、ヘリカル形状の外歯22が挿入可能な凹部24Hが形成されている。又、当該凹部24Hの内側から外側へと貫通する態様で軸方向に沿ってスリット(図示略)が形成されており、当該スリットが形成された部分の継軸24を覆うようにクランプリング50が設置されている。即ち、当該クランプリング50及びスリットによって、凹部24Hに挿入されるモータ軸20の先端部(ヘリカル状の外歯22が形成されている部分)が摩擦締結により継軸24と摩擦締結され、これにより、モータ軸20の動力をハイポイドギヤHG1へと伝達することが可能となっている。
図4に模式的に図示するように、ハイポイドピニオンHP1とハイポイドギヤHG1は、互いの回転軸O1、O2が非平行であって、且つ交わっていない。それぞれの歯面100、102は円錐面に沿って形成されており、該円錐面に沿って形成された歯面100、102同士が噛合することによって動力が伝達される構成とされている。
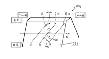
図1、図2は、本発明の実施形態に係る代表的な接触線例を模式的に示すもので、図1はハイポイドギヤセットHGS1のハイポイドギヤHG1の概略図斜視図、図2はその歯面拡大図である。また、図7、図8は、本発明の理解を容易にするために、図1、図2と比較して示した、従来のハイポイドギヤセット(全体は図示略)のハイポイドギヤHGjの概略図斜視図及びその歯面拡大図である。なお、図1、図2の接触線はそれぞれハイポイドギヤHG1の歯面102を、図4(B)の紙面表側(ドライブ側)から観察したものである。図7、図8も同様の方向から観察したものである。
便宜上、図7、図8の従来の接触線図から説明する。
図7は、先の特許文献1を含めた従来のハイポイドギヤセットのハイポイドギヤHGjとハイポイドピニオン(図示略)とが噛合したときのある瞬間(t1、t2、t3)におけるハイポイドギヤHGj上の接触線Ej(図ではEj1、Ej2、Ej3のみが表示されている)の態様を示している。なお、ハイポイドピニオン側でも定性的傾向は同一である。時刻t1においては接触線Ej1が1本のみ現れ、噛合がX方向に進行して行くに従って、時刻t2では接触線Ej2の部分で、時刻t3では、接触線Ej3の部分でそれぞれハイポイドピニオンとハイポイドギヤHGjが噛合している。
図8は、図7のハイポイドギヤHGjの歯面102jの接触線Ejをより詳細に示したものである。図中の上側が歯先、下側が歯元、左側がトウ、右側がヒールの側にそれぞれ相当している。図8においては、3本の接触線Ej(Ej1〜Ej3)が描写されているが、前述したように、それぞれ時刻t1、t2、t3のときのものであり、噛合がX方向に進行してゆくに従って、接触線EjがEj1→Ej2→Ej3と連続的に動いていくと理解し得るものである。即ち、ある瞬間において歯面102j上に現れる接触線Ejは1本のみであり、且つその形状は、噛み合い進行方向Xに対して(直線に近い)単調にカーブする曲線(以下単調な形状と称す)である。各時刻t1、t2、t3における各接触線Ej1、Ej2、Ej3は、当該単調な形状を維持したまま、噛合の進行方向Xに移動している。即ち歯先側ほど噛み合い進行方向Xのより前側で噛合しながらトウ側からヒール側へと噛み合いが進行している。
図8の滑りベクトル(相対速度)ωsj(ωsj1、ωsj2、… ωsjn、…)は、各歯車(ハイポイドピニオンとハイポイドギヤHGj)の滑りの方向と大きさを示している。図8から明らかなように、滑りベクトルωsj1、ωsj2、… ωsjn、…は、歯面中央において小さく且つ歯面中央での方向は、進行方向Xにほぼ一致している。しかし、歯元側及び歯先側では、より大きく且つより拡散する方向に生じている。したがって、ある時刻、例えば時刻t2付近において、滑りベクトルωsj(ωsj1、ωsj2、… ωsjn、…)は歯元側においては接触線Ej2とのなす角γj1が比較的大きく(90度に近く)なっているが、歯先側に向かうに従って滑りベクトルωsjと接触線Ej2とのなす角γjは、急激に小さくなっている(γjn<γj1)。そのため、全体としては摩擦が大きく、発熱の増大や効率の低下をもたらす原因となっている。
従来は、ハイポイドギヤセットHGSjの接触線Ejは、前述の特許文献1で開示されたものを含め、全てこのような単調な形状となっており、且つ、業界では「ハイポイドギヤセットHGSjの接触線Ejは噛み合い進行方向Xに対してこのような形状となる」という程度の認識しかなかった。
一方、図1は、本発明の実施形態の一例に係るハイポイドギヤセット(傘歯車を用いた歯車セット)HGS1のハイポイドギヤHG1の歯面(噛合面)102上に現れる接触線形状を示している。このハイポイドギヤセットHGS1では、限界法線点P(後述:図ではP1、P2、P3のみが表示されている)が集合した限界法線点曲線PL1(後述)が歯面102のほぼ中央に存在している。
限界法線点曲線PL1の歯元側には、第1接触線F(図ではF1、F2、F3のみ表示)が現れている。第1接触線F1、F2、F3は、それぞれ限界法線点曲線PL1上の限界法線点P1、P2、P3と交わっており、歯面中央から歯元側に離れるほど、進行方向Xのより後方側で接触する形状の接触線である。また、限界法線点曲線PL1の歯先側には、第2接触線G(図ではG1、G2、G3のみ表示)が現れている。第2接触線G1、G2、G3は、それぞれ限界法線点曲線PL1上の前記限界法線点P1、P2、P3と交わっており、歯面中央から歯先側に離れるほど、進行方向Xのより後方側で接触する形状の接触線である。結局、これら第1、第2接触線F(F1、F2、F3)、G(G1、G2、G3)を有する本実施形態に係る接触線は、噛み合いの進行方向Xに対して限界法線点P(P1、P2、P3)を頂点とする凸状の形状を呈しているのが大きな特徴となっている。
ここで、限界法線点Pとは、歯面102の法線ベクトルをn、一方の歯車(例えばハイポイドピニオンHP1)の軸O1まわりの角速度をωp1、他方の歯車(この場合はハイポイドギヤHG1)の軸O2まわりの角速度をωg2、一方の歯車(ハイポイドピニオンHP1)の軸O1まわりの速度をvp1、他方の歯車(ハイポイドギヤ125)の軸O2まわりの速度をvg2、各歯車HP1、HG1の共通垂線まわりの位置ベクトルをq、各歯車の滑りベクトル(相対速度)をωs、で表したときに、n・q=0、且つ、n・ω=0を同時に満足する歯面法線を限界法線と定義したときに、歯面102上でこのような限界法線を有する点のことを言う。前述したように、各歯車の共通垂線まわりの位置ベクトルqは、ωg2×vp1−ωp1×vg2、各歯車の相対速度ωsは、vg2−vp1にてそれぞれ演算できる。
ここで、n・q及びn・ωは、各ベクトルの内積である。また、限界法線点曲線PL1とは、時々刻々と移動する限界法線点Pを結んで得られる曲線(限界法線点Pの集合)を意味している。
なお、この例では、限界法線点曲線PL1の延在方向が噛み合い進行方向Xと一致しているが、必ずしも完全に一致させる必要はなく、傾いていても構わない。
この実施形態に係る接触線形状は、滑りベクトルωs(ωs1、ωs2、…ωsn、…)と定性的傾向が一致しており、歯元から歯先に至るまで、第1、第2接触線F、Gと、滑りベクトルωsとの角度γ(γ1、γ2、…γn、…)は、歯元から歯先までいずれの部分においてもそれぞれ90度に近い角度が維持されている。そのため、歯元側から歯先側まで広範囲の歯面において極めて良好な潤滑性能が得られ、発熱が小さく、噛合効率の高い(面圧の低い)噛合特性を得ることができる。
なお、図1、図2は、それぞれ、本発明の実施形態の接触線の特徴を模式的に示したものであるが、実際のコンピュータでのシミュレーション解析結果によるプロット例を示したのが図5(A)である。また、この実際のシミュレーション解析結果に沿う態様で模式化したものが図5(B)である。便宜上符号は図2と同様に付してある。このように、図1、図2はあくまで本発明に係る「噛み合い進行方向に対して凸状の形状を呈する接触線」の定性的傾向を模式化したものであり、具体的な形状は、必ずしもそのまま図1、図2のそれと類似している必要はない。
ただし、図5(B)に示されるように、歯元側の第1接触線Fが限界法線点Pの集合である限界法線点曲線PL1と交わる鋭角側角度ε(図ではε1、ε2、ε3のみ表示)は、歯先側の第2接触線G(図ではG1、G2、G3のみ表示)が該限界法線点曲線PL1と交わる鋭角側角度δ(図ではδ1、δ2、δ3のみ表示)よりも小さい(δ>ε)方が好ましい。これは、そのような傾向の接触線とした方が、より効率的な噛合ができるためである。
ところで、本発明では、このような接触線を有するハイポイドギヤセットをどのような製造方法(あるいは加工方法)で製造するかについては、特に(特定の製造方法に)限定されるものではないが、例えば、以下のような手法で製造することができる。
ハイポイドギヤセットの現物(例えば歯切り盤を用いてFormate法によって設計・加工されたハイポイドピニオンとハイポイドギヤのセット)の歯面のデータを、歯切り盤の機構を忠実にベクトル解析の手法で表現することにより数値情報として得、この数値情報に基づいて同形状のハイポイドギヤセットのための加工用金型電極(マスタ)をマシニングセンタにより加工する技術が開発されている(例えば、特開2005−103555公報等)。また、この数値情報を基に歯当たり解析を行うプログラムも既に開発されており、該プログラムによるシミュレーション解析結果と実際の歯当たりマークの検証結果とが良好に一致することも確認されている(例えば、日本機械学会第6回機素潤滑設計部門講演会講演論文集「ハイポイドギヤの設計・解析システム(2212)」「グリーソン方式ハイポイドギヤの歯切り解析(2215)」等)。これらの技術を利用すれば、本発明に係る歯当たり解析(接触線解析)も比較的容易にできるようになる。
具体的には以下のような工程を踏むことになる。
(a)各歯車(ハイポイドピニオンHP及びハイポイドギヤHG)の諸元(歯数、外径、歯幅、ピニオンオフセット、アウターモジュール等)を設定し、且つこれらの諸元における限界圧力角を算出する。
(b)各歯車の圧力角(例えば20度)を限界値圧力角より小さく設定する。
(c)前記技術を利用し、Formate法によってハイポイドギヤの加工用金型電極(マスタ)をマシニングセンタにより加工する。
(d)該ハイポイドギヤの加工用金型電極(マスタ)と全く同一形状の歯形を有する第1歯切り工具をコピー製造する。
(e)該第1歯切り工具によりハイポイドピニオンHPを創成する。
(f)該ハイポイドピニオンHPと全く同一形状の歯形を有する第2歯切り工具(ピニオンマスタ)をコピー製造する。
(g)該第2歯切り工具によりハイポイドギヤHGを創成する。
接触線は、ハイポイドピニオン及びハイポイドギヤの双方の歯形の相対的関係で現れるものであるから、個々の歯形の絶対的指標というものは存在しないが、この一連の工程により、例えば、限界法線点曲線を歯面の中央に位置させるように設計することで、結果として上記図1、図2(或いは図5)に示したような第1、第2接触線が噛み合い進行方向に対して凸状を呈して同時に現れるようなハイポイドピニオン及びハイポイドギヤ(ハイポイドギヤセット)を製造することができる。
なお、図6(A)は、前記(g)の工程において第2歯切り工具140によりハイポイドギヤ150を創成する様子を模式的に示している。図6(B)はその要部拡大図である。第2歯切り工具140は、創成しようとするハイポイドギヤ150に対して3次元的に位置及び角度を自在に調整することができ、第2歯切り工具140自身の歯面(歯)140A自体によって当該歯面140Aの形状を転写する態様でハイポイドギヤ150の創成が行われる。
但し、本発明では、具体的な製造方法は、上記方法に限定されない。また、具体的な接触線形状も、図1、図2(図5)の形状に限定されない。要は、定性的傾向として、各歯車の噛合面が、噛み合い進行方向に対して凸状の接触線を呈する形状に形成されていれば、滑りベクトルとの関係で従来よりも明らかに潤滑性能に優れた噛合を行わせることができ、より発熱が小さく、より噛合効率の高い(面圧の低い)食い違い軸歯車(傘歯車を用いた歯車セット)を得ることができる。
従来、食い違い軸歯車(傘歯車を用いた歯車セット)が使用されていた装置あるいは分野にそのまま置換・適用できるだけでなく、従来に比してより低発熱、より高効率の効果を活用して、これまでハイポイドギヤセットを適用できなかったような分野においても適用の裾野が広がると推察される。
本発明の実施形態の一例に係るハイポイドギヤセットの接触線を模式的に表したものであって、ハイポイドギヤの歯面をドライブ側から見た斜視図 図1の要部拡大図 本発明に係るハイポイドギヤセットの組み込みの例を示す、ハイポイド減速装置の断面図 上記組み込み例におけるハイポイドピニオンとハイポイドギヤを模式的に示したもので(A)は正面図、(B)は底面図 (A)は図2の接触線例に係る、コンピュータによるシミュレーション解析結果の一例(プロット例)を示す歯面図、(B)は(A)でのシミュレーション解析結果に沿って接触線を模式的に表現した図2相当の接触線図 本発明に係るハイポイドギヤセットのハイポイドギヤを創成する様子を模式的に示すもので(A)は斜視図、(B)はその部分拡大図 従来のハイポイドギヤセットの接触線を模式的に示した図1相当の斜視図 図7の要部拡大に係る図2相当の接触線図
符号の説明
2…モータ
3…ハイポイド減速機
24…継軸
HP1…ハイポイドピニオン
HG1…ハイポイドギヤ
HGS1…ハイポイドギヤセット(傘歯車を用いた歯車セット)
32…ケーシング
F、G…第1、第2接触線
P…限界法線点
PL1…限界法線点曲線

Claims (5)

  1. 互いの回転軸が非平行であって、且つ交わらない一対の歯車からなり、それぞれの歯形外形が円錐面または円筒面に形成されている傘歯車を用いた歯車セットであって、
    前記各歯車の噛合面が、噛み合い進行方向に対して凸状の接触線を呈する形状に形成されている
    ことを特徴とする傘歯車を用いた歯車セット。
  2. 請求項1において、
    歯面の法線ベクトルをn、
    一方の歯車の軸まわりの角速度をωp1、
    他方の歯車の軸まわりの角速度をωg2、
    一方の歯車の軸まわりの速度をvp1、
    他方の歯車の軸まわりの速度をvg2、
    各歯車の共通垂線まわりの位置ベクトルをq、
    各歯車の相対速度をωs、で表したときに、
    n・q=0、且つ、n・ωs=0を同時に満足する歯面法線を限界法線と定義したときに、
    各歯車の噛合面が、噛み合い進行方向に対して、前記限界法線を有する点において凸状の頂点を備える接触線を呈する形状に形成されている
    ことを特徴とする傘歯車を用いた歯車セット。
  3. 請求項2において、
    前記限界法線点の集合である限界法線点曲線よりも歯元側の第1接触線が該限界法線点曲線と交わる鋭角側の角度が、前記限界法線点曲線よりも歯先側の第2接触線が該限界法線点曲線と交わる鋭角側の角度よりも小さい
    ことを特徴とする傘歯車を用いた歯車セット。
  4. 請求項2または3において、
    前記第1接触線が、限界法線点付近において噛み合い進行方向Xに対してその鋭角側角度がより小さくなる方向に変化する曲線形状とされ、前記第2接触線が、噛み合い進行方向Xに対してその鋭角側角度がより大きくなる方向に変化する曲線形状とされている
    ことを特徴とする傘歯車を用いた歯車セット。
  5. 請求項1〜4のいずれかに記載の傘歯車セットを構成するための傘歯車。
JP2008226367A 2008-09-03 2008-09-03 傘歯車を用いた歯車セット及び傘歯車 Expired - Fee Related JP5388510B2 (ja)

Priority Applications (1)

Application Number Priority Date Filing Date Title
JP2008226367A JP5388510B2 (ja) 2008-09-03 2008-09-03 傘歯車を用いた歯車セット及び傘歯車

Applications Claiming Priority (1)

Application Number Priority Date Filing Date Title
JP2008226367A JP5388510B2 (ja) 2008-09-03 2008-09-03 傘歯車を用いた歯車セット及び傘歯車

Publications (3)

Publication Number Publication Date
JP2010060049A true JP2010060049A (ja) 2010-03-18
JP2010060049A5 JP2010060049A5 (ja) 2011-09-15
JP5388510B2 JP5388510B2 (ja) 2014-01-15

Family

ID=42187070

Family Applications (1)

Application Number Title Priority Date Filing Date
JP2008226367A Expired - Fee Related JP5388510B2 (ja) 2008-09-03 2008-09-03 傘歯車を用いた歯車セット及び傘歯車

Country Status (1)

Country Link
JP (1) JP5388510B2 (ja)

Cited By (1)

* Cited by examiner, † Cited by third party
Publication number Priority date Publication date Assignee Title
JP2023048830A (ja) * 2021-09-28 2023-04-07 株式会社Subaru ギヤの潤滑油量算出方法

Families Citing this family (1)

* Cited by examiner, † Cited by third party
Publication number Priority date Publication date Assignee Title
CN107917176B (zh) * 2017-10-20 2020-06-12 淮阴工学院 一种球面渐开线弧齿锥齿轮的修形方法

Citations (5)

* Cited by examiner, † Cited by third party
Publication number Priority date Publication date Assignee Title
JPS63180766A (ja) * 1987-01-23 1988-07-25 Toyota Motor Corp 歯形修正歯車
JPH0324350A (ja) * 1989-06-19 1991-02-01 Niigata Converter Kk コンケーブ円すい形歯車
JP2003322245A (ja) * 2002-05-02 2003-11-14 Victor Co Of Japan Ltd 食い違い軸歯車の製造方法
JP2004150480A (ja) * 2002-10-29 2004-05-27 Nissan Motor Co Ltd ハイポイド歯車および歯切り装置
JP2007085401A (ja) * 2005-09-20 2007-04-05 Sumitomo Heavy Ind Ltd ハイポイド減速装置及びそのハイポイドピニオンの位置決め方法

Patent Citations (5)

* Cited by examiner, † Cited by third party
Publication number Priority date Publication date Assignee Title
JPS63180766A (ja) * 1987-01-23 1988-07-25 Toyota Motor Corp 歯形修正歯車
JPH0324350A (ja) * 1989-06-19 1991-02-01 Niigata Converter Kk コンケーブ円すい形歯車
JP2003322245A (ja) * 2002-05-02 2003-11-14 Victor Co Of Japan Ltd 食い違い軸歯車の製造方法
JP2004150480A (ja) * 2002-10-29 2004-05-27 Nissan Motor Co Ltd ハイポイド歯車および歯切り装置
JP2007085401A (ja) * 2005-09-20 2007-04-05 Sumitomo Heavy Ind Ltd ハイポイド減速装置及びそのハイポイドピニオンの位置決め方法

Cited By (2)

* Cited by examiner, † Cited by third party
Publication number Priority date Publication date Assignee Title
JP2023048830A (ja) * 2021-09-28 2023-04-07 株式会社Subaru ギヤの潤滑油量算出方法
JP7685918B2 (ja) 2021-09-28 2025-05-30 株式会社Subaru ギヤの潤滑油量算出方法

Also Published As

Publication number Publication date
JP5388510B2 (ja) 2014-01-15

Similar Documents

Publication Publication Date Title
JP6099649B2 (ja) ギア変速システム
Maiti A novel harmonic drive with pure involute tooth gear pair
JP5331872B2 (ja) ハイポイドギアの設計方法およびハイポイドギア
JP2007211907A (ja) 連続噛み合い高ラチェティングトルク歯形を有する波動歯車装置
JP5388510B2 (ja) 傘歯車を用いた歯車セット及び傘歯車
JP6101766B2 (ja) 複数ローラー式波動ドライバのソケット輪郭、ソケットホイール輪郭及びカム輪郭の設計方法
JP2007528966A (ja) 歯付き部品および対応するギア
JP2015166235A (ja) 電動パワーステアリング装置
JP2009162292A (ja) 円弧歯形を使用した歯車及び歯車伝達装置
JP6162020B2 (ja) モータシャフトの製造方法
CN108561531A (zh) 带有球面渐开线构形的直齿伞齿轮
JP6591077B2 (ja) Rov推進器の歯形修整歯車の加工に用いられる切削工具
CN109690130B (zh) 包括具有表面结构的齿轮的齿轮对、具有齿轮对的传动装置以及用于制造齿轮的方法
JP7425230B2 (ja) ベベルギヤ対
JP2019108958A (ja) スパイラル歯形歯車の構造
JPWO2001065148A1 (ja) ハイポイドギアの設計方法
JPWO2007013373A1 (ja) Cadシステムを用いた歯車の設計方法
WO2013114990A1 (ja) フェースギヤ及びギヤ装置
CN107709754B (zh) 具有修正的齿轮几何形状的小齿轮起动器传动装置
TWI878576B (zh) 具備三維齒形的諧波齒輪裝置
JP4773869B2 (ja) ウォーム、減速機及び電動パワーステアリング装置
JP6963481B2 (ja) 歯車構造および歯車構造の製造方法
TWI460365B (zh) Rigid Ring Gear and Flexible Planetary Wheel of Harmonic Reducer and Its Method
JP2018105468A (ja) 歯車形軸継手
JP4400882B2 (ja) 歯車状部材の転造方法

Legal Events

Date Code Title Description
A521 Request for written amendment filed

Free format text: JAPANESE INTERMEDIATE CODE: A523

Effective date: 20110729

A621 Written request for application examination

Free format text: JAPANESE INTERMEDIATE CODE: A621

Effective date: 20110801

A977 Report on retrieval

Free format text: JAPANESE INTERMEDIATE CODE: A971007

Effective date: 20120719

A131 Notification of reasons for refusal

Free format text: JAPANESE INTERMEDIATE CODE: A131

Effective date: 20120821

A521 Request for written amendment filed

Free format text: JAPANESE INTERMEDIATE CODE: A523

Effective date: 20121019

A131 Notification of reasons for refusal

Free format text: JAPANESE INTERMEDIATE CODE: A131

Effective date: 20130402

TRDD Decision of grant or rejection written
A01 Written decision to grant a patent or to grant a registration (utility model)

Free format text: JAPANESE INTERMEDIATE CODE: A01

Effective date: 20131001

A61 First payment of annual fees (during grant procedure)

Free format text: JAPANESE INTERMEDIATE CODE: A61

Effective date: 20131008

R150 Certificate of patent or registration of utility model

Ref document number: 5388510

Country of ref document: JP

Free format text: JAPANESE INTERMEDIATE CODE: R150

Free format text: JAPANESE INTERMEDIATE CODE: R150

LAPS Cancellation because of no payment of annual fees