JP2010060001A - 転がり軸受用保持器 - Google Patents

転がり軸受用保持器 Download PDF

Info

Publication number
JP2010060001A
JP2010060001A JP2008224235A JP2008224235A JP2010060001A JP 2010060001 A JP2010060001 A JP 2010060001A JP 2008224235 A JP2008224235 A JP 2008224235A JP 2008224235 A JP2008224235 A JP 2008224235A JP 2010060001 A JP2010060001 A JP 2010060001A
Authority
JP
Japan
Prior art keywords
pocket
cage
lubricant
rolling bearing
annular body
Prior art date
Legal status (The legal status is an assumption and is not a legal conclusion. Google has not performed a legal analysis and makes no representation as to the accuracy of the status listed.)
Granted
Application number
JP2008224235A
Other languages
English (en)
Other versions
JP5343457B2 (ja
Inventor
Hironori Hiraoka
寛規 平岡
Current Assignee (The listed assignees may be inaccurate. Google has not performed a legal analysis and makes no representation or warranty as to the accuracy of the list.)
JTEKT Corp
Original Assignee
JTEKT Corp
Priority date (The priority date is an assumption and is not a legal conclusion. Google has not performed a legal analysis and makes no representation as to the accuracy of the date listed.)
Filing date
Publication date
Application filed by JTEKT Corp filed Critical JTEKT Corp
Priority to JP2008224235A priority Critical patent/JP5343457B2/ja
Publication of JP2010060001A publication Critical patent/JP2010060001A/ja
Application granted granted Critical
Publication of JP5343457B2 publication Critical patent/JP5343457B2/ja
Expired - Fee Related legal-status Critical Current
Anticipated expiration legal-status Critical

Links

Images

Classifications

    • FMECHANICAL ENGINEERING; LIGHTING; HEATING; WEAPONS; BLASTING
    • F16ENGINEERING ELEMENTS AND UNITS; GENERAL MEASURES FOR PRODUCING AND MAINTAINING EFFECTIVE FUNCTIONING OF MACHINES OR INSTALLATIONS; THERMAL INSULATION IN GENERAL
    • F16CSHAFTS; FLEXIBLE SHAFTS; ELEMENTS OR CRANKSHAFT MECHANISMS; ROTARY BODIES OTHER THAN GEARING ELEMENTS; BEARINGS
    • F16C33/00Parts of bearings; Special methods for making bearings or parts thereof
    • F16C33/30Parts of ball or roller bearings
    • F16C33/38Ball cages
    • F16C33/41Ball cages comb-shaped
    • F16C33/412Massive or moulded comb cages, e.g. snap ball cages
    • F16C33/414Massive or moulded comb cages, e.g. snap ball cages formed as one-piece cages, i.e. monoblock comb cages
    • F16C33/416Massive or moulded comb cages, e.g. snap ball cages formed as one-piece cages, i.e. monoblock comb cages made from plastic, e.g. injection moulded comb cages
    • FMECHANICAL ENGINEERING; LIGHTING; HEATING; WEAPONS; BLASTING
    • F16ENGINEERING ELEMENTS AND UNITS; GENERAL MEASURES FOR PRODUCING AND MAINTAINING EFFECTIVE FUNCTIONING OF MACHINES OR INSTALLATIONS; THERMAL INSULATION IN GENERAL
    • F16CSHAFTS; FLEXIBLE SHAFTS; ELEMENTS OR CRANKSHAFT MECHANISMS; ROTARY BODIES OTHER THAN GEARING ELEMENTS; BEARINGS
    • F16C33/00Parts of bearings; Special methods for making bearings or parts thereof
    • F16C33/30Parts of ball or roller bearings
    • F16C33/66Special parts or details in view of lubrication
    • F16C33/6603Special parts or details in view of lubrication with grease as lubricant
    • F16C33/6607Retaining the grease in or near the bearing
    • F16C33/6614Retaining the grease in or near the bearing in recesses or cavities provided in retainers, races or rolling elements
    • FMECHANICAL ENGINEERING; LIGHTING; HEATING; WEAPONS; BLASTING
    • F16ENGINEERING ELEMENTS AND UNITS; GENERAL MEASURES FOR PRODUCING AND MAINTAINING EFFECTIVE FUNCTIONING OF MACHINES OR INSTALLATIONS; THERMAL INSULATION IN GENERAL
    • F16CSHAFTS; FLEXIBLE SHAFTS; ELEMENTS OR CRANKSHAFT MECHANISMS; ROTARY BODIES OTHER THAN GEARING ELEMENTS; BEARINGS
    • F16C33/00Parts of bearings; Special methods for making bearings or parts thereof
    • F16C33/30Parts of ball or roller bearings
    • F16C33/66Special parts or details in view of lubrication
    • F16C33/6603Special parts or details in view of lubrication with grease as lubricant
    • F16C33/6629Details of distribution or circulation inside the bearing, e.g. grooves on the cage or passages in the rolling elements
    • FMECHANICAL ENGINEERING; LIGHTING; HEATING; WEAPONS; BLASTING
    • F16ENGINEERING ELEMENTS AND UNITS; GENERAL MEASURES FOR PRODUCING AND MAINTAINING EFFECTIVE FUNCTIONING OF MACHINES OR INSTALLATIONS; THERMAL INSULATION IN GENERAL
    • F16CSHAFTS; FLEXIBLE SHAFTS; ELEMENTS OR CRANKSHAFT MECHANISMS; ROTARY BODIES OTHER THAN GEARING ELEMENTS; BEARINGS
    • F16C19/00Bearings with rolling contact, for exclusively rotary movement
    • F16C19/02Bearings with rolling contact, for exclusively rotary movement with bearing balls essentially of the same size in one or more circular rows
    • F16C19/04Bearings with rolling contact, for exclusively rotary movement with bearing balls essentially of the same size in one or more circular rows for radial load mainly
    • F16C19/06Bearings with rolling contact, for exclusively rotary movement with bearing balls essentially of the same size in one or more circular rows for radial load mainly with a single row or balls

Landscapes

  • Engineering & Computer Science (AREA)
  • General Engineering & Computer Science (AREA)
  • Mechanical Engineering (AREA)
  • Rolling Contact Bearings (AREA)

Abstract

【課題】 保持器の変形特にポケット開口部の変位に着目し、かつ、潤滑剤の流れも考慮することで、潤滑性能を大幅に向上させた転がり軸受用保持器を提供する。
【解決手段】 環状体11の外径11aが、ポケット12の開口に向かって径が小さくなるテーパ状に形成されている。環状体外径11aの背面側端部にリブ15が形成されている。隣り合うポケット12間に形成された柱部13の背面に、径方向内方に開口した潤滑剤溜まり16が設けられている。潤滑剤溜まり16とポケット面12aとを連通する貫通孔20が設けられている。
【選択図】 図1

Description

この発明は、冠型の転がり軸受用保持器に関する。
転がり軸受用保持器として、特許文献1には、転動体を収容するポケットが環状体の一側面に所定間隔で複数設けられている冠型の転がり軸受用保持器において、周方向に隣り合うポケットの間にある柱部に、ポケットの開口と反対の背面側に開口する背抜きが設けられるとともに、背抜きとポケットとを連通する潤滑剤の通孔が設けられているものが開示されている。
特開平7−217659号公報
上記特許文献1の転がり軸受用保持器によると、背抜きとポケットとを連通する潤滑剤の通孔を設けることによって、潤滑性能を向上させようとするものであるが、この種の保持器において、潤滑性能の向上は、依然として重要な課題となっている。潤滑性能が欠乏すると、保持器音が発生し、軸受振動が増大するという問題もある。
また、従来の樹脂保持器では、高速回転時に遠心力により形状が大きく変形することで、保持器ポケットのすきまが変化し、グリース確保が困難になるという問題もある。
この発明の目的の一つは、潤滑剤の流れを考慮することで、潤滑性能を大幅に向上させた転がり軸受用保持器を提供することにある。
また、この発明の他の目的は、従来の爪先端形状の質量に着目し、見直すことにより、遠心力による変位を低減した転がり軸受用保持器を提供することにある。
この発明による転がり軸受用保持器は、転動体を収容するポケットが環状体の一側面に所定間隔で複数設けられている冠型の転がり軸受用保持器において、環状体外径が、ポケットの開口に向かって径が小さくなるテーパ状に形成されており、隣り合うポケット間に形成された柱部の背面に、径方向内方に開口した潤滑剤溜まりが設けられるとともに、潤滑剤溜まりとポケット面とを連通する貫通孔が設けられていることを特徴とするものである。
従来、環状体外径は、円周面とされており、これをポケットの開口に向かって径が小さくなるテーパ状にすることで、ポケットを構成する爪部の質量が低減する。これにより、高速回転時の遠心力による爪部の変形および変位が低減する。
潤滑剤(例えばグリース)は、初期状態で、潤滑剤溜まりに封入される。潤滑剤溜まりにある潤滑剤は、径方向外方への移動が柱部の外径側の面によって防止される。潤滑剤溜まりが径方向内方に開口していることで、遠心力によるグリースの飛散が抑制され、かつ、潤滑剤が移動しやすいものとなる。また、潤滑剤溜まりとポケット面とを連通する貫通孔が設けられていることにより、潤滑剤は、ポケット内に径方向内方から移動して、転走部に供給されやすいものとなっている。
潤滑剤は、潤滑剤溜まりに封入されるのに加えて、従来と同じ場所例えば隣り合うポケットの各爪部間に封入されてもよく、この部分には封入されなくてもよい。従来と同じ場所にも潤滑剤を封入することで、保持器の背面側および正面側(ポケットが開口している側)からの両側封入となり、潤滑性能がより高められる。
保持器を構成する合成樹脂材料としては、ナイロン66やナイロン46などのポリアミド樹脂の他、ポリテトラフルオロエチレン(PTFE)、エチレンテトラフルオロエチレン(ETFE)などのふっ素系樹脂やポリエーテルエーテルケトン(PEEK)、ポリフェニレンサルファイド(PPS)、ポリエーテルサルフォン(PES)などが挙げられる。これらの樹脂にはガラス繊維などの強化繊維が添加されている。また、上記合成樹脂材料の他、JIS規格SUS304や黄銅などの金属材料などの使用も可能である。
内・外輪および転動体は、JIS規格SUJ−2やSUS440C、SUS630あるいはSAE規格5120材などで適宜作成される。
この発明による転がり軸受用保持器において、環状体外径の背面(ポケットの開口面と反対側の面)側端部にリブが形成されていることが好ましい。遠心力を受けた潤滑剤は、環状体外径に案内される形で、保持器の背面側(径方向外方)へと移動するが、ここにリブが形成されていることで、それ以上の移動が防止される。
この発明による転がり軸受用保持器においては、さらに、ポケットの内径部に突起が形成されていることが好ましい。ポケットの内径面に突起形状を形成することで、玉と内径面との接触状態が線接触から点接触になり、玉の案内面にすきまが形成され、ポケット面への潤滑剤の流れがよくなる。
さらにまた、環状体内径に、ポケットの開口から潤滑剤溜まり内にのびる切欠き部が設けられているようにしてもよい。このようにすると、潤滑剤は、貫通孔を通るルートに加えて、環状体表面に沿っても径方向内方からポケット内に移動しやすくなり、潤滑油の転走部への径方向内方からの供給をより多いものとすることができる。
この発明の転がり軸受用保持器によると、環状体外径が、ポケットの開口に向かって径が小さくなるテーパ状に形成されていることにより、爪部の質量が低減する。これにより、高速回転時の遠心力による爪部の変形および変位が低減する。また、グリースを背側封入することにより、回転によるグリースの飛散が抑制され、さらに、潤滑剤溜まりから貫通孔を介してポケット内に移動する潤滑剤の流れを作ることにより、保持器−転動体間の潤滑状態がよくなる。
この発明の実施の形態を、以下図面を参照して説明する。
図1は、この発明による転がり軸受用保持器を用いた転がり軸受を示し、図2から図4までは、この発明による転がり軸受用保持器の第1実施形態を示し、図5から図7までは、この発明による転がり軸受用保持器の第2実施形態を示し、図8は、従来の転がり軸受用保持器を示している。以下の説明において、左右は、図1の左右をいうものとする。左がポケットの開口面側、右がその反対側(背面側と称す)となっている。
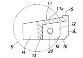
転がり軸受(1)は、玉軸受で、図1に示すように、外輪(2)と、内輪(3)と、内外両輪(3)(2)間に配置された、たとえばナイロン66などからなる冠型保持器(4)と、保持器(4)に保持されて、内外両輪(3)(2)間に配置された複数の玉(転動体)(5)と、内外両輪(3)(2)の各端部間にそれぞれ配置されたシール(6)とよりなる。
保持器(4)は、環状をなす合成樹脂の射出成形品であり、環状体(11)の一側面に所定間隔で複数設けられ一方に開口して玉(5)を収容するポケット(12)と、隣り合うポケット(12)間に形成された柱部(13)と、各ポケット(12)の円周方向両縁において環状体の軸方向に突出してポケット(12)を構成している1対の爪部(14)とを備えている。
各ポケット(12)は、玉(5)と相似形状でかつ玉(5)の曲率半径よりも若干大きな曲率半径を有する凹球面状ポケット面を有している。
環状体(11)の外径(11a)は、ポケット(12)の開口に向かって径が小さくなるテーパ状に形成されている。この外径(11a)の右端部(背面側端部)には、径方向外方に突出するリブ(15)が形成されている。
各柱部(13)の背面には、径方向内方に開口しグリースなどの潤滑剤を封入するための潤滑剤溜まり(16)が設けられている。この潤滑剤溜まり(16)は、従来のものでは、柱部において背抜きとして使用されていた部分の内径側の壁を削除することで形成されている。外径側の壁は残されており、潤滑剤は、外径側には移動しにくいものとなっている。潤滑剤溜まり(16)とポケット(12)のポケット面とは、貫通孔(20)によって連通されている。
また、各ポケット(12)のポケット面における内径部(内輪(3)側の縁部の最奥部)には、ポケット(12)内方に突出した1つの突起(18)が一体に形成されている。突起(18)はポケット(12)の開口側から見て内輪(3)側を底辺とする三角形状であり、突起(18)の高さは内輪(3)側から外輪(2)側に向かって徐々に低くなっている。また、突起(18)の表面は円錐面状となっている。
図8は、現在一般的に使用されている保持器(60)を示している。この保持器(60)は、環状をなす合成樹脂の射出成形品であり、環状体(61)の一側面に所定間隔で複数設けられ一方に開口して玉を収容するポケット(62)と、隣り合うポケット(62)間に形成された柱部(63)と、各ポケット(62)の円周方向両縁において環状体の軸方向に突出してポケット(62)を構成している1対の爪部(64)と、右方に開口するように柱部(63)に形成された背抜き(65)とを備えている。
この発明による保持器(4)は、形状を最適化するに際し、遠心力による変形を防止することに着目し、保持器(4)の先端形状を見直してその形状を変更することで、変位を低減するとともに、潤滑剤の保持および流れにも着目し、それに伴い潤滑剤封入位置を変更することで、潤滑性能を向上したものとなっている。第1実施形態の保持器(4)は、上記従来の保持器(60)に対して、次のような改良が施されている。
1.遠心力による変位低減を図るため、従来円筒面であった環状体(11)の外径(11a)をテーパ状にカットし、爪部(14)質量を小さくした。
2.従来、ポケット(62)の開口側からしか封入できなかった(片側封入)潤滑剤を背面側からも封入(両側封入)できるように、各柱部(13)の背面に潤滑剤溜まり(16)を設けた。
3.潤滑剤が遠心力によって径方向外方へ飛散しないように、従来スムーズな面であった保持器(4)の外径(11a)の一部にリブ(15)を設けた。
4.潤滑剤が玉(5)の表面に供給されやすくするために、潤滑剤溜まりとポケット面とを連通する貫通孔(20)を設けた。
5.玉(5)の案内面を内径側として、ポケット(12)の外径側のすきまを抑制するために、ポケット(12)の内径部に突起(18)を設けた。
こうして得られた保持器(4)を使用した場合の潤滑剤の流れを図4に示している。
同図において、潤滑剤としてのグリースは、背面側の潤滑剤溜まり(16)に封入されている。潤滑剤溜まり(16)に封入されたグリースは、外径側への移動が阻止されており、また、ポケット(12)のポケット面と潤滑剤溜まり(16)とが貫通孔(20)によって連通されているので、まず、矢印Aで示すように、潤滑剤溜まり(16)から貫通孔(20)内に流入して、この貫通孔(20)を介してポケット(12)のポケット面に至り、玉(5)に供給される。次いで、矢印Cで示すように、ポケット(12)内において、環状体(11)のテーパ状の外径(11a)に案内されて、これに沿って軸方向外方(テーパ状のため径方向外方)に移動する。外径(11a)の背面側端部には、リブ(15)が形成されているので、グリースは、矢印Dで示すように、このリブ15)により軸方向外方への移動が止められて、転走部の潤滑に寄与し続けることができる。
こうして、潤滑剤封入方法に関しては、初期封入位置が潤滑剤溜まり(16)に変更され、潤滑剤が径方向内方から供給されやすくするとともに、ポケット(12)内に保持されやすいものとされていることで、また、保持器(4)形状として、リブ(15)、貫通孔(20)などによって、潤滑剤が飛散しにくくかつ玉(5)と保持器(4)との間に潤滑剤が潤滑しやすい形状となっていることから、潤滑剤の流れの適正化が図られる。なお、潤滑剤溜まり(16)に加えて、柱部(13)正面側の爪部(14)と爪部(14)との間にも潤滑剤が封入されるようにしてもよいことはもちろんである。
ポケット(12)の内径部に設けられた突起(18)によると、この玉軸受(1)の内輪(3)が回転した場合、内輪(3)の回転方向前側の部分において、ポケット(12)の外輪(2)側の縁部が玉(5)に接触するとともに、ポケット(12)と玉(5)との間の隙間は外輪(2)側から内輪(3)側に向かって徐々に大きくなる。したがって、玉(5)に付着している潤滑剤は、隙間内に入り込んで、隙間内に保持される。こうして、ポケット(12)内径部の突起(18)によっても、潤滑剤の飛散が抑制される。
この発明による第1実施形態の保持器(4)と図8に示した保持器(60)について、FEM解析を行ったところ、図8に示した保持器(60)では、高速回転時の遠心力により、爪部(64)が径方向外方へかつポケット(62)の開口が大きくなる方向に大きく変形し、遠心力での変位は保持器(60)の先端形状(爪部)(64)において大きく、これにより、潤滑剤飛散による潤滑性能の低下も大きいことが確認された。これに対し、この発明の保持器(4)によると、高速回転時の遠心力による変位が大幅に低減し、転がり軸受(1)内部の潤滑性能が向上することが確認された。具体的には、例えば、回転速度15000r/min、温度150℃での変位を比較してみると、この発明による保持器(4)は現行の保持器(60)に比べて27%低減し、同じ条件で応力を比較してみると、この発明による保持器(4)は現行の保持器(60)に比べて33%低減することが確認された。
図5から図7までは、この発明によるこの発明による転がり軸受用保持器の第2実施形態を示しており、図5が図2に、図6が図3に、図7が図4にそれぞれ対応している。以下の説明においては、第1実施形態と同じ構成には同じ符号を付してその説明を省略する。
この実施形態の保持器(4)は、第1実施形態のものに、環状体(11)の内径の開口面側の切欠き部(17)が追加されたものとなっている。
切欠き部(17)は、従来スムーズな円筒面であった保持器(4)の内径が一部カットされたもので、潤滑剤溜まり(16)内に入り込んでいる。
したがって、この実施形態の保持器(4)では、図7に示すように、潤滑剤溜まり(16)に封入されたグリースは、外径側への移動が阻止されており、また、ポケット(12)のポケット面と潤滑剤溜まり(16)とが貫通孔(20)によって連通されているので、まず、矢印Aで示すように、潤滑剤溜まり(16)から貫通孔(20)内に流入して、この貫通孔(20)を介してポケット(12)のポケット面に至り、玉(5)に供給される(第1実施形態のものと同じ)。一方、潤滑剤溜まり(16)に封入されたグリースは、矢印Bで示すように、潤滑剤溜まり(16)から内径側に流出して、柱部(13)の切欠き(17)においても玉(5)に供給される(第1実施形態との相違点)。これらの2つのルートで玉(5)に供給されたグリースは、次いで、矢印Cで示すように、ポケット(12)内において、環状体(11)のテーパ状の外径(11a)に案内されて、これに沿って軸方向外方(テーパ状のため径方向外方)に移動する。外径(11a)の背面側端部には、リブ(15)が形成されているので、グリースは、矢印Dで示すように、このリブ15)により軸方向外方への移動が止められて、転走部の潤滑に寄与し続けることができる。
第2実施形態の保持器(4)によると、第1実施形態のものが有している改良点を全て有しているとともに、切欠き部(17)により、第1実施形態のものに比べて、遠心力による変位低減がさらに図られるとともに、潤滑剤が玉(5)の表面にさらに供給されやすくなっている。
図1は、この発明による転がり軸受用保持器を用いた転がり軸受の部分縦断面図である。 図2は、この発明による転がり軸受用保持器の第1実施形態を示す斜視図である。 図3は、同部分縦断面図である。 図4は、第1実施形態の転がり軸受用保持器における潤滑剤の流れを示す部分横断面図である。 図5は、この発明による転がり軸受用保持器の第2実施形態を示す斜視図である。 図6は、同部分縦断面図である。 図7は、第2実施形態の転がり軸受用保持器における潤滑剤の流れを示す部分横断面図である。 図8は、従来の転がり軸受用保持器を示す部分縦断面図である。
符号の説明
(1) 玉軸受(転がり軸受)
(4) 保持器
(5) 玉(転動体)
(11) 環状体
(11a) テーパ状外径
(12) ポケット
(13) 柱部
(15) リブ
(16) 潤滑剤溜まり
(17) 切欠き
(20) 貫通孔

Claims (3)

  1. 転動体を収容するポケットが環状体の一側面に所定間隔で複数設けられている冠型の転がり軸受用保持器において、
    環状体外径が、ポケットの開口に向かって径が小さくなるテーパ状に形成されており、隣り合うポケット間に形成された柱部の背面に、径方向内方に開口した潤滑剤溜まりが設けられるとともに、潤滑剤溜まりとポケット面とを連通する貫通孔が設けられていることを特徴とする転がり軸受用保持器。
  2. 環状体外径の背面側端部にリブが形成されている請求項1の転がり軸受用保持器。
  3. ポケットの内径部に突起が形成されている請求項1または2の転がり軸受用保持器。
JP2008224235A 2008-09-02 2008-09-02 転がり軸受用保持器 Expired - Fee Related JP5343457B2 (ja)

Priority Applications (1)

Application Number Priority Date Filing Date Title
JP2008224235A JP5343457B2 (ja) 2008-09-02 2008-09-02 転がり軸受用保持器

Applications Claiming Priority (1)

Application Number Priority Date Filing Date Title
JP2008224235A JP5343457B2 (ja) 2008-09-02 2008-09-02 転がり軸受用保持器

Publications (2)

Publication Number Publication Date
JP2010060001A true JP2010060001A (ja) 2010-03-18
JP5343457B2 JP5343457B2 (ja) 2013-11-13

Family

ID=42187031

Family Applications (1)

Application Number Title Priority Date Filing Date
JP2008224235A Expired - Fee Related JP5343457B2 (ja) 2008-09-02 2008-09-02 転がり軸受用保持器

Country Status (1)

Country Link
JP (1) JP5343457B2 (ja)

Cited By (11)

* Cited by examiner, † Cited by third party
Publication number Priority date Publication date Assignee Title
JP2011226635A (ja) * 2010-03-29 2011-11-10 Ntn Corp 転がり軸受および冠形保持器
JP2013200006A (ja) * 2012-03-26 2013-10-03 Ntn Corp 玉軸受およびその保持器
DE102015207660A1 (de) * 2015-04-27 2016-10-27 Schaeffler Technologies AG & Co. KG Kugelschnappkäfig für ein Wälzlager
JP2017075695A (ja) * 2015-10-13 2017-04-20 株式会社島津製作所 油潤滑軸受装置および真空ポンプ
JP2017194141A (ja) * 2016-04-22 2017-10-26 株式会社ジェイテクト 玉軸受
EP3267059A1 (en) * 2016-07-06 2018-01-10 Regal Beloit America, Inc. Bearing retainer, bearing and associated method
CN112780666A (zh) * 2019-11-08 2021-05-11 株式会社捷太格特 滚动轴承和保持架
IT202000021943A1 (it) * 2020-09-18 2022-03-18 Skf Ab Gabbia per cuscinetto e cuscinetto
JPWO2022154124A1 (ja) * 2021-01-18 2022-07-21
US11649857B2 (en) 2018-02-01 2023-05-16 Gebr. Reinfurt Gmbh & Co. Kg Ball bearing cage and ball bearing
US12180998B2 (en) 2020-09-18 2024-12-31 Aktiebolaget Skf Bearing cage and ball bearing

Citations (6)

* Cited by examiner, † Cited by third party
Publication number Priority date Publication date Assignee Title
JPS5775227U (ja) * 1980-10-24 1982-05-10
JPH06165790A (ja) * 1992-11-30 1994-06-14 Koyo Seiko Co Ltd 歯科用ハンドピースの軸受装置
JPH0656519U (ja) * 1993-01-20 1994-08-05 光洋精工株式会社 玉軸受
JPH07217659A (ja) * 1994-02-04 1995-08-15 Koyo Seiko Co Ltd 転がり軸受用保持器
JP2002349579A (ja) * 2001-05-22 2002-12-04 Nsk Ltd 玉軸受
JP2003239984A (ja) * 2002-02-19 2003-08-27 Koyo Seiko Co Ltd 玉軸受

Patent Citations (6)

* Cited by examiner, † Cited by third party
Publication number Priority date Publication date Assignee Title
JPS5775227U (ja) * 1980-10-24 1982-05-10
JPH06165790A (ja) * 1992-11-30 1994-06-14 Koyo Seiko Co Ltd 歯科用ハンドピースの軸受装置
JPH0656519U (ja) * 1993-01-20 1994-08-05 光洋精工株式会社 玉軸受
JPH07217659A (ja) * 1994-02-04 1995-08-15 Koyo Seiko Co Ltd 転がり軸受用保持器
JP2002349579A (ja) * 2001-05-22 2002-12-04 Nsk Ltd 玉軸受
JP2003239984A (ja) * 2002-02-19 2003-08-27 Koyo Seiko Co Ltd 玉軸受

Cited By (13)

* Cited by examiner, † Cited by third party
Publication number Priority date Publication date Assignee Title
JP2011226635A (ja) * 2010-03-29 2011-11-10 Ntn Corp 転がり軸受および冠形保持器
JP2013200006A (ja) * 2012-03-26 2013-10-03 Ntn Corp 玉軸受およびその保持器
DE102015207660A1 (de) * 2015-04-27 2016-10-27 Schaeffler Technologies AG & Co. KG Kugelschnappkäfig für ein Wälzlager
JP2017075695A (ja) * 2015-10-13 2017-04-20 株式会社島津製作所 油潤滑軸受装置および真空ポンプ
JP2017194141A (ja) * 2016-04-22 2017-10-26 株式会社ジェイテクト 玉軸受
EP3267059A1 (en) * 2016-07-06 2018-01-10 Regal Beloit America, Inc. Bearing retainer, bearing and associated method
US11649857B2 (en) 2018-02-01 2023-05-16 Gebr. Reinfurt Gmbh & Co. Kg Ball bearing cage and ball bearing
CN112780666A (zh) * 2019-11-08 2021-05-11 株式会社捷太格特 滚动轴承和保持架
IT202000021943A1 (it) * 2020-09-18 2022-03-18 Skf Ab Gabbia per cuscinetto e cuscinetto
US11655853B2 (en) 2020-09-18 2023-05-23 Aktiebolaget Skf Bearing cage and bearing
US12180998B2 (en) 2020-09-18 2024-12-31 Aktiebolaget Skf Bearing cage and ball bearing
JPWO2022154124A1 (ja) * 2021-01-18 2022-07-21
WO2022154124A1 (ja) * 2021-01-18 2022-07-21 日本精工株式会社 玉軸受用冠型保持器、及び玉軸受

Also Published As

Publication number Publication date
JP5343457B2 (ja) 2013-11-13

Similar Documents

Publication Publication Date Title
JP5343457B2 (ja) 転がり軸受用保持器
JP5429166B2 (ja) 円すいころ軸受用樹脂製保持器及び円すいころ軸受
JP7415456B2 (ja) 転がり軸受及び保持器
JP5528964B2 (ja) 転がり軸受
JP5012498B2 (ja) 深溝玉軸受
JP4930142B2 (ja) 転がり軸受用保持器
US20110299805A1 (en) Prong Cage for an Angular Contact Ball Bearing and Method for Assembling an Angular Contact Ball Bearing
US11236782B2 (en) Rolling bearing
JP2021139410A (ja) 玉軸受用冠型保持器、及び玉軸受
JP2009281399A (ja) 深溝玉軸受用保持器及び深溝玉軸受
JP6672059B2 (ja) 冠型保持器及び玉軸受
JP2009209952A (ja) 円すいころ軸受
JP2007113592A (ja) 合成樹脂製転がり軸受用保持器及び転がり軸受
JP2008286319A (ja) クリーナモータ軸受用合成樹脂製冠型保持器、クリーナモータ用転がり軸受
JP2009275759A (ja) 深溝玉軸受
JP2021179236A (ja) 転がり軸受
JP2009275799A (ja) 深溝玉軸受
JP2007032821A (ja) 転がり軸受用樹脂製保持器及び転がり軸受
JP4601451B2 (ja) 合成樹脂製保持器および玉軸受
JP4424092B2 (ja) 合成樹脂製の冠形保持器
JP2008190663A (ja) 玉軸受
JP2017190849A (ja) 円すいころ軸受
JP2020063839A (ja) 直動軸受用止め輪及び直動軸受
JP6505446B2 (ja) 玉軸受用波形保持器およびその玉軸受用波形保持器を用いた玉軸受
JP2008064280A (ja) 転がり軸受

Legal Events

Date Code Title Description
A621 Written request for application examination

Free format text: JAPANESE INTERMEDIATE CODE: A621

Effective date: 20110829

A521 Written amendment

Free format text: JAPANESE INTERMEDIATE CODE: A523

Effective date: 20120801

A977 Report on retrieval

Free format text: JAPANESE INTERMEDIATE CODE: A971007

Effective date: 20130125

A131 Notification of reasons for refusal

Free format text: JAPANESE INTERMEDIATE CODE: A131

Effective date: 20130205

A521 Written amendment

Free format text: JAPANESE INTERMEDIATE CODE: A523

Effective date: 20130403

TRDD Decision of grant or rejection written
A01 Written decision to grant a patent or to grant a registration (utility model)

Free format text: JAPANESE INTERMEDIATE CODE: A01

Effective date: 20130716

A61 First payment of annual fees (during grant procedure)

Free format text: JAPANESE INTERMEDIATE CODE: A61

Effective date: 20130729

R150 Certificate of patent or registration of utility model

Free format text: JAPANESE INTERMEDIATE CODE: R150

LAPS Cancellation because of no payment of annual fees