JP2010059926A - クリップ - Google Patents

クリップ Download PDF

Info

Publication number
JP2010059926A
JP2010059926A JP2008229107A JP2008229107A JP2010059926A JP 2010059926 A JP2010059926 A JP 2010059926A JP 2008229107 A JP2008229107 A JP 2008229107A JP 2008229107 A JP2008229107 A JP 2008229107A JP 2010059926 A JP2010059926 A JP 2010059926A
Authority
JP
Japan
Prior art keywords
clip
head
rocker arm
support member
assembled
Prior art date
Legal status (The legal status is an assumption and is not a legal conclusion. Google has not performed a legal analysis and makes no representation as to the accuracy of the status listed.)
Granted
Application number
JP2008229107A
Other languages
English (en)
Other versions
JP5197251B2 (ja
Inventor
Seishi Sakugi
清史 柵木
Shizuo Ishikawa
鎮夫 石川
Current Assignee (The listed assignees may be inaccurate. Google has not performed a legal analysis and makes no representation or warranty as to the accuracy of the list.)
Otics Corp
Original Assignee
Otics Corp
Priority date (The priority date is an assumption and is not a legal conclusion. Google has not performed a legal analysis and makes no representation as to the accuracy of the date listed.)
Filing date
Publication date
Application filed by Otics Corp filed Critical Otics Corp
Priority to JP2008229107A priority Critical patent/JP5197251B2/ja
Publication of JP2010059926A publication Critical patent/JP2010059926A/ja
Application granted granted Critical
Publication of JP5197251B2 publication Critical patent/JP5197251B2/ja
Expired - Fee Related legal-status Critical Current
Anticipated expiration legal-status Critical

Links

Images

Classifications

    • FMECHANICAL ENGINEERING; LIGHTING; HEATING; WEAPONS; BLASTING
    • F01MACHINES OR ENGINES IN GENERAL; ENGINE PLANTS IN GENERAL; STEAM ENGINES
    • F01LCYCLICALLY OPERATING VALVES FOR MACHINES OR ENGINES
    • F01L1/00Valve-gear or valve arrangements, e.g. lift-valve gear
    • F01L1/12Transmitting gear between valve drive and valve
    • F01L1/18Rocking arms or levers
    • F01L2001/187Clips, e.g. for retaining rocker arm on pivot

Landscapes

  • Valve-Gear Or Valve Arrangements (AREA)

Abstract

【課題】ロッカアームと支持部材との間隔を調節できるようにした動弁装置において、ロッカアームと支持部材とを連結できるようにする。
【解決手段】ロッカアーム20は、進退可能なアジャストスクリュ27を有し、シリンダヘッド10に取り付けられるピボット13(支持部材)に対しアジャストスクリュ27を当接させた状態で組み付けられる。クリップ30は、ピボット13とロッカアーム20とを連結するためのものであり、アジャストスクリュ27に対して離脱規制状態に組み付けられる組付部31と、ピボット13に対して離脱規制状態に嵌合される嵌合部32とを備えている。
【選択図】図2

Description

本発明は、クリップに関するものである。
特許文献1には、シリンダヘッドに支持部材を取り付け、この支持部材に進退可能に設けたプランジャに対しロッカアームの支点側端部を当接させ、カムによりロッカアームを揺動させてバルブを開閉するようにしたエンジンの動弁装置が開示されている。
このような形態の動弁装置では、ロッカアームの支点側端部がプランジャに対して摺接可能に当接しているだけなので、駆動中にロッカアームがプランジャから外れる虞がある。また、ロッカアームをシリンダヘッドに組み付ける際に、ロッカアームがプランジャから外れ易く、組付け作業に手間取る虞もある。
その対策として、特許文献1には、ロッカアームの支点側端部にクリップを取り付け、このクリップにプランジャを係合する技術、即ちクリップによってロッカアームと支持部材とを連結する技術が開示されている。
一方、特許文献2には、ロッカアームに螺合したアジャストスクリュを、支持部材に当接させ、アジャストスクリュを回転させることにより、アジャストスクリュの支持部材側への突出寸法を変化させ、ロッカアームとカムとの隙間を調節するようにした動弁装置が開示されている。この動弁装置では、ロッカアームの寸法公差等により、支持部材とロッカアームとの間隔にバラツキが生じる場合がある。
特開2002−155710公報 特開2003−155903公報
特許文献1に記載されているクリップによる連結構造は、ロッカアームの揺動動作を許容するために、ロッカアームに取り付けたクリップが支持部材のプランジャに対して首振り状に相対変位できるようになっており、首振り状に相対変位する際には、ロッカアームと支持部材はクリップによって密着した状態に保たれている。
そのため、この特許文献1のクリップによる連結構造は、特許文献2のようにロッカアームと支持部材との間隔にバラツキが生じ得る動弁装置には適用できないという問題がある。
本発明は上記のような事情に基づいて完成されたものであって、ロッカアームと支持部材との間隔にバラツキが生じ得る動弁装置において、ロッカアームと支持部材とを連結できるようにすることを目的とする。
上記の目的を達成するための手段として、請求項1の発明は、シリンダヘッドに取り付けられる支持部材と、進退可能なアジャストスクリュを有し、前記支持部材に対し前記アジャストスクリュを当接させた状態で組み付けられるロッカアームとを連結するためのクリップであって、前記アジャストスクリュに対して離脱規制状態に組み付けられる組付部と、前記支持部材に対して離脱規制状態に嵌合される嵌合部とを備えているところに特徴を有する。
請求項2の発明は、請求項1に記載のものにおいて、前記組付部が、前記ロッカアームに螺合される雄ネジ部と、前記雄ネジ部よりも大径であって前記支持部材に当接される頭部とを備えた前記アジャストスクリュに対して組み付けられるようになっていて、前記雄ネジ部よりも大径であり且つ前記頭部よりも小径の係止孔を備えており、前記係止孔の孔縁を前記雄ネジ部側から前記頭部に係止させた形態で前記アジャストスクリュに組み付け可能とされているところに特徴を有する。
請求項3の発明は、請求項1の記載のものにおいて、前記組付部が、前記ロッカアームに螺合される雄ネジ部と、前記雄ネジ部よりも大径であって前記支持部材に当接される頭部とを備えた前記アジャストスクリュに対して組み付けられるようになっていて、内径が前記頭部の最大外径よりも小さくて周方向における一部が切欠された円弧形をなす二股状係止部を有しており、前記二股状係止部を、弾性的に拡開変形させて前記雄ネジ部に外嵌させることにより、前記二股状係止部の内周縁部を前記雄ネジ部側から前記頭部に係止させた状態で前記アジャストスクリュに組み付けられるようになっているところに特徴を有する。
請求項4は、請求項2又は請求項3に記載のものにおいて、前記嵌合部は、前記組付部が前記アジャストスクリュに組み付けられている状態において、前記頭部を包囲する形態となっているところに特徴を有する。
請求項5の発明は、請求項1ないし請求項4のいずれかに記載のものにおいて、前記嵌合部は、前記支持部材の外周に形成した嵌合溝に対して弾性的に係止可能な弾性係止片を備えているところに特徴を有する。
請求項6の発明は、請求項5に記載のものにおいて、前記嵌合部は、前記弾性係止片に対して周方向に離間した位置に配されて、前記支持部材の外周に当接可能な保持片を備えており、前記弾性係止片と前記保持片が、周方向において180°よりも小さい角度のピッチで配置されているとともに、併せて3片以上設けられているところに特徴を有する。
請求項7の発明は、請求項5又は請求項6に記載のものにおいて、前記弾性係止片は、前記支持部材の外周に沿った周方向において、前記嵌合溝と略同曲率の円弧形をなしているところに特徴を有する。
<請求項1の発明>
ロッカアームと支持部材の間隔はアジャストスクリュの進退動作に伴って変化するのであるが、ロッカアームと支持部材とを連結する手段として、アジャストスクリュに組み付けたクリップを支持部材に嵌合させるようにしたので、ロッカアームと支持部材との間隔にバラツキがあっても、ロッカアームと支持部材とを連結状態に保持することができる。
<請求項2の発明>
係止孔の孔縁を雄ネジ部側から頭部に係止させるための組付け手段としては、係止孔の孔縁にスリット状の切欠部を形成し、クリップを変形させることにより係止孔を拡開させて頭部を通過させ、通過後にクリップを原形状に復元させる方法が考えられるが、クリップを変形させる方法は、作業性が悪い。その点、本発明では、アジャストスクリュを雌ネジ孔から外して、係止孔を雄ネジ部側から外嵌させることができるので、クリップを変形させる必要がなく、作業性に優れる。
<請求項3の発明>
クリップの組付部は、弾性的に拡開変形可能な二股状係止部を有しているので、アジャストスクリュに対し、その進退方向と交差する方向に組み付けることができる。したがって、クリップの組付けに際しては、アジャストスクリュをロッカアームから外す必要がなく、作業性に優れている。
<請求項4の発明>
組付部がアジャストスクリュに組み付けられた状態では、嵌合部が頭部を包囲するので、頭部を異物の干渉から保護することができる。
<請求項5の発明>
クリップを支持部材に嵌合する際には、弾性係止片を弾性変形させながら嵌合溝に係止させればよいので、嵌合時の作業性がよい。
<請求項6の発明>
併せて3片以上の弾性係止片と保持片が、周方向において180°よりも小さい角度のピッチで配置されているので、支持部材に対してクリップを安定して嵌合させることができる。また、安定した嵌合状態を得るための3片のうち少なくとも1片は、弾性変形しない保持片となっているので、全てを弾性変形可能な弾性係止片とする場合に比べると、嵌合作業時には弾性係止片の弾性変形に起因する嵌合抵抗が低減され、作業性がよい。
<請求項7の発明>
弾性係止片は、支持部材の外周に沿った周方向において、嵌合溝と略同曲率の円弧形をなしているので、弾性係止片の数は2片だけで済む。
<実施形態1>
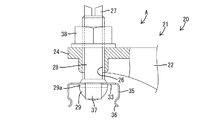
以下、本発明を具体化した実施形態1を図1乃至図6を参照して説明する。本実施形態における内燃機関の動弁装置を図1を参照して説明すると、シリンダヘッド10には、バルブ11が、開弁位置と閉弁位置との間で往復移動を可能に、且つバルブスプリング12によって閉弁方向(図1における上方)へ付勢された状態で設けられ、バルブ11の上端部がシリンダヘッド10の上面から上方へ突出している。シリンダヘッド10におけるバルブ11の近傍位置(図1における左方位置)には、ピボット13(本発明の構成要件である支持部材)が取り付けられている。ピボット13は全体として円柱形をなし、円柱の軸線はバルブ11の移動方向と概ね平行な方向(略上下方向)を向いている。ピボット13の上面には、球面状に凹んだ形態の支持凹部14が形成されている。また、ピボット13の外周には、その上端部を全周に亘って連続して切欠した形態の嵌合溝15が形成されている。
シリンダヘッド10の上方、即ちバルブ11の上端及びピボット13の上端よりも更に上方の位置には、概ね卵形をなして回転駆動されるカム16が設けられている。カム16の回転軸は、バルブ11とピボット13とを結ぶ方向と交差する方向となっている。さらに、カム16よりも下方であって、バルブ11及びピボット13よりも上方の位置には、ロッカアームユニットAが取り付けられている。
ロッカアームユニットAは、ロッカアーム20とクリップ30とを一体的に組み付けて構成されている。ロッカアーム20は、金属製であり、アーム本体21と、アーム本体21に取り付けたローラ25と、アーム本体21に取り付けたアジャストスクリュ27とを備えて構成されている。アーム本体21は、略水平方向(バルブ11とピボット13とを結ぶ方向)に長い一対のアーム部22と、両アーム部22の一方の端部同士を連結する揺動端部23と、両アーム部22の他方の端部同士を連結する揺動支点部24とを一体に形成した形態である。
両アーム部22の間には、揺動端部23と揺動支点部24のほぼ中間位置に配置されたローラ25が、カム16の回動中心軸と平行な支持軸を中心として回転可能に支持されている。ローラ25は、その上端部をアーム部22よりも上方へ突出させた状態となっている。
揺動支点部24には、概ね上下方向に貫通する雌ネジ孔26が形成されている。雌ネジ孔26には、金属製のアジャストスクリュ27が取り付けられている。アジャストスクリュ27は、雄ネジ部28と、雄ネジ部28の下端部に形成した頭部29とを一体に形成したものである。頭部29は、その上端部(雄ネジ部28側の端部)が雄ネジ部28と同心の円形をなす最大外径部29aとなっており、この最大外径部29aの外径寸法は雄ネジ部28の外径よりも大きい寸法となっている。また、頭部29のうち最大外径部29aよりも下方の領域は、下方に向かって次第に外径寸法が小さくなる略半球状をなし、この略半球状部分の外面は、ピボット13の支持凹部14に対して摺接可能な摺接面となっている。
かかるアジャストスクリュ27は、雄ネジ部28を雌ネジ孔26に貫通状態で螺合させるとともに、頭部29を揺動支点部24よりも下方に位置させた状態で揺動支点部24に取り付けられている。取り付けられたアジャストスクリュ27は、揺動支点部24に対して相対回転させることにより、揺動支点部24に対して相対的に上下方向に螺進し、このアジャストスクリュ27の螺進に伴って、頭部29の高さ(揺動支点部24からの頭部29の突出寸法)を調節できるようになっている。
かかるロッカアームユニットAは、揺動端部23をバルブ11の上端面に対して上から当接させるとともに、アジャストスクリュ27の頭部29をピボット13の支持凹部14に対して上から嵌合させるとによってシリンダヘッド10に取り付けられる。このシリンダヘッド10に対するロッカアームユニットAの組付けは、ロッカアームユニットAを構成しているクリップ30を用いなくても行うことが可能であるが、クリップ30を用いることによって、組付の作業性が大幅に向上する。
次に、クリップ30について説明する。
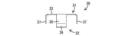
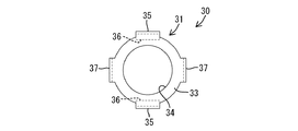
クリップ30は、所定形状に打ち抜いた金属製の板材に曲げ加工を施して成形されている。クリップ30は、アジャストスクリュ27にクリップ30を組み付けるための組付部31と、ピボット13にクリップ30を嵌合させるための嵌合部32とを一体に形成したものである。
組付部31は、円環状をなす板状本体部33と、板状本体部33の中心を同心の円形に貫通させた形態の係止孔34とから構成される。係止孔34の内径(直径)寸法は、雄ネジ部28の外径よりも僅かに大きく、且つ頭部29の最大外径部29aの外径よりも小さい寸法とされている。
嵌合部32は、板状本体部33の外周からその板厚方向と平行に下方へ片持ち状に延出した形態の一対の弾性係止片35を有する。一対の弾性係止片35は、係止孔34を中心とする周方向において180°のピッチで配置されている。各弾性係止片35は、全体として方形の板状をなし、したがって、一対の弾性係止片35は互いに平行に対向している。弾性係止片35の下端部(延出端部)には、内側が突出するように略半円形に湾曲させた形態の係止部36が、弾性係止片35の全幅に亘って直線状に形成されている。弾性係止片35は、ピボット13の外周(嵌合溝15)に対して概ね接線状に当接する形態となっている。
嵌合部32は、弾性係止片35の他に、板状本体部33の外周からその板厚方向と平行に下方へ片持ち状に延出した形態の一対の保持片37を有する。一対の保持片37は、係止孔34を中心とする周方向において180°のピッチで配置され、弾性係止片35に対しては周方向において90°ずれた配置となっている。つまり、一対の弾性係止片35と一対の保持片37が90°の等角度ピッチで配置されている。各保持片37は、方形の板状をなし、したがって、一対の保持片37は互いに平行に対向している。また、板状本体部33からの保持片37の延出寸法は、板状本体部33からの弾性係止片35の突出寸法よりも小さい。
かかるクリップ30は、ロッカアーム20をシリンダヘッド10に組み付けるのに先立ち、予め、ロッカアーム20に組み付けられている。組付けに際しては、アジャストスクリュ27をロッカアーム20から外した状態で、係止孔34に対して下から雄ネジ部28を貫通させ、係止孔34の孔縁を頭部29の最大外径部29aに対して上から係止させる。これにより、クリップ30が頭部29に引っ掛かった状態で仮組みされる。
この後、アジャストスクリュ27を下方から雌ネジ孔26に螺合し、揺動支点部24に対して頭部29の下方への突出寸法が、正規の寸法よりも小さくなるように、アジャストスクリュ27のねじ込み量を調整する。調整後は、揺動支点部24の上方からロックナット38を雄ネジ部28にねじ込んで、アジャストスクリュ27を回転規制状態にロックする。以上により、ロッカアーム20に対するクリップ30の組付けが完了し、ロッカアームユニットAが構成される。
クリップ30をロッカアーム20に組み付けた状態では、一対の弾性係止片35と一対の保持片37が、揺動支点部24の下方において吊り下がった状態となり、四方から頭部29を包囲するように配置される。この弾性係止片35と保持片37により、頭部29は、異物の干渉から保護される。
次に、ロッカアームユニットAをシリンダヘッド10に取り付ける手順を説明する。予め、シリンダヘッド10にはバルブ11とピボット13を取り付けておくが、カム16はシリンダヘッド10から外されている。この状態で、クリップ30をピボット13に係止させることにより、ロッカアーム20の揺動支点部24をピボット13に組み付ける。この組付けに際しては、ピボット13に対し、アジャストスクリュ27の頭部29をピボット13の支持凹部14に接近させながら、一対の保持片37でピボット13を挟むとともに、一対の弾性係止片35を僅かに拡開するように弾性変形させて、係止部36を嵌合溝15に嵌合させる。この係止部36(弾性係止片35)と嵌合溝15との嵌合により、ピボット13とロッカアーム20の揺動支点部24とがクリップ30を介して一体化される。
一体化された状態では、一対の弾性係止片35と一対の保持片37が、周方向において90°間隔を空けた四方からピボット13の外周に当接するので、クリップ30がピボット13に対し、その軸線方向(上下方向)と交差する方向へ外れる虞はない。また、弾性係止片35と嵌合溝15との係止作用により、クリップ30は、ピボット13に対して軸線方向(略上下方向)への相対移動を規制されるが、係止部36が嵌合溝15に沿って摺動しながらクリップ30がピボット13に対して周方向(軸線回り)に相対回転することができる。
また、アジャストスクリュ27の頭部29が支持凹部14内に嵌合され、頭部29の摺接面が支持凹部14の内面に当接する。この状態では、クリップ30の板状本体部33が頭部29から僅かに上方に浮いた高さとなる。この板状本体部33と頭部29との間のクリアランス(高低差)は、ロッカアーム20が支持凹部14と頭部29との嵌合部分を支点として揺動するときに、板状本体部33と頭部29とが干渉することを回避するために確保されたものである。
上記のようにしてロッカアーム20の揺動支点部24をピボット13に組み付けた後、ロッカアーム20の揺動端部23をバルブ11に載置する。この後、シリンダヘッド10に対し、ロッカアーム20の上方からカム16を組み付ける。このとき、カム16の下面とロッカアーム20のローラ25の上端との間には、動弁装置が作動するときに必要される僅かな隙間よりも、大きい間隔が空いている。そこで、カム16とローラ25との隙間を適正な寸法に調整するために、ロックナット38を緩めてアジャストスクリュ27を回転させ、頭部29を揺動支点部24に対して相対的に下方(ピボット13側)へ突出させる。
ここで頭部29はピボット13の支持凹部14内に当接しているので、揺動支点部24がピボット13に対して上方へ離間するように相対変位することになり、これに伴ってロッカアーム20が上方へ変位するとともに、ローラ25がカム16に接近する。カム16とローラ25との隙間が適正に調整されたら、ロックナット38を締め付けてアジャストスクリュ27を回転不能状態にロックする。以上により、シリンダヘッド10に対するロッカアームユニットAの組付作業が完了する。
ロッカアーム20の揺動支点部24とピボット13との間隔は、ロッカアーム20の寸法公差等が原因となってバラツキが生じ得るのであるが、ロッカアーム20の揺動支点部24とピボット13とを連結する手段として、ピボット13に嵌合されるクリップ30を、揺動支点部24に直接係止するのではなく、揺動支点部24に取り付けられているアジャストスクリュ27に組み付けるようにしているので、揺動支点部24とピボット13との間隔にバラツキがあっても、そのバラツキを吸収してロッカアーム20とピボット13とを連結状態に保持することができる。
また、アジャストスクリュ27は、ロッカアーム20に貫通して形成した雌ネジ孔26に螺合される雄ネジ部28と、雄ネジ部28よりも径が大きくて雄ネジ部28におけるピボット13側の端部に形成した頭部29とを備えた形態である。このような形態のアジャストスクリュ27に対し、係止孔34の孔縁を雄ネジ部28側から頭部29に係止させた状態となるようにクリップ30を組み付ける手段としては、係止孔の孔縁にスリット状の切欠部を形成し、クリップを弾性変形させることにより係止孔を拡開させてその上から頭部29を通過させ、通過後にクリップを原形状に復元させる方法が考えられる。しかし、クリップを弾性変形させる方法は、作業性が悪い。その点、本実施形態では、アジャストスクリュ27を雌ネジ孔26から外して、係止孔34を雄ネジ部28側から外嵌させることができるので、クリップ30を変形させる必要がなく、作業性に優れる。
また、クリップ30には、ピボット13の外周に形成した嵌合溝15に対して弾性的に係止可能な弾性係止片35が形成されているので、クリップ30をピボット13に嵌合する際には、弾性係止片35を弾性変形させながら嵌合溝15に係止させればよく、嵌合時の作業性がよい。
また、クリップ30には、弾性係止片35に対して周方向に離間した位置に配されて、ピボット13の外周に当接可能な保持片37が形成され、弾性係止片35と保持片37が、周方向において180°よりも小さい角度(90°)のピッチで配置されているとともに、併せて4片(つまり、3片以上)設けられている。このように、併せて3片以上の弾性係止片35と保持片37が、周方向において180°よりも小さい角度のピッチで配置されているので、ピボット13に対してクリップ30を安定して嵌合させることができる。しかも、安定した嵌合状態を得るための3片のうち少なくとも1片は、弾性変形しない保持片37となっているので、全てを弾性変形可能な弾性係止片35とする場合に比べると、嵌合作業時には弾性係止片35の弾性変形に起因する嵌合抵抗が低減され、作業性がよい。
<実施形態2>
次に、本発明を具体化した実施形態2を図7及び図8を参照して説明する。本実施形態2は、ロッカアーム20に組み付けられることでロッカアームユニットBを構成するクリップ40を、上記実施形態1とは異なる形態としたものである。その他の構成については上記実施形態1と同じであるため、同じ構成については、同一符号を付し、構造、作用及び効果の説明は省略する。
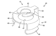
本実施形態2のクリップ40は、所定形状に打ち抜いた金属製の板材に曲げ加工を施して成形されている。クリップ40は、アジャストスクリュ27にクリップ40を組み付けるための組付部41と、ピボット13にクリップ40を嵌合させるための嵌合部42とを一体に形成したものである。
組付部41は、周方向における一部が切欠された円弧形をなす二股状係止部43を有する。二股状係止部43の中心孔は二股状係止部43と同心の円形をなす係止孔44となっていて、係止孔44は、切欠部45において二股状係止部43の外周側に開放されている。係止孔44の内径は、雄ネジ部28の外径よりも僅かに大きく、且つ頭部29の最大外径部29aの外径よりも小さい寸法とされている。また、切欠部45の開口幅は、係止孔44の内径及び雄ネジ部28の外径よりも小さい寸法とされている。かかる二股状係止部43は、切欠部45の開口幅を拡大するように弾性的に拡開変形することが可能となっている。
嵌合部42は、円環状をなす板状本体部46と、板状本体部46の中心を同心の円形に貫通させた形態の逃がし孔47とを備えて構成される。逃がし孔47の内径(直径)寸法は、頭部29の最大外径よりも大きく、ピボット13の外径よりも小さい寸法とされている。
嵌合部42は、板状本体部46の外周からその板厚方向と平行に下方へ片持ち状に延出した形態の一対の弾性係止片48を有する。一対の弾性係止片48は、係止孔44を中心とする周方向において180°のピッチで配置されている。各弾性係止片48は、板状本体部46と同心の円弧形に湾曲した板状をなしていている。弾性係止片48の下端部(延出端部)には、内側が突出するように略半円形に湾曲させた形態の係止用弧状部49が、弾性係止片48の周方向における全幅領域に亘って形成されている。
この嵌合部42と上記組付部41とは、連結部50を介して一体化されている。連結部50の下端は板状本体部46の外周縁に対して略直角に連なり、連結部50の上端は二股状係止部43の外周縁に対して略直角に連なっている。この連結部50により、二股状係止部43と板状本体部46とは、互いに平行をなし、且つ係止孔44と逃がし孔47とを同心状に配置して上下に間隔を空けた位置関係に保たれている。
かかるクリップ40は、ロッカアームユニットBをシリンダヘッド10に組み付けるのに先立ち、予め、ロッカアーム20に組み付けられているアジャストスクリュ27に対して取り付けられる。
取付けに際しては、連結部50を弾性変形させながら板状本体部46と二股状係止部43とを離間させながら、アジャストスクリュ27に対しその軸線と交差する方向からクリップ40を接近させる。そして、切欠部45を雄ネジ部28に押し付けて二股状係止部43を拡開状に弾性変形させながら切欠部45を拡幅させ、この拡げた切欠部45に雄ネジ部28を通すとともに、板状本体部46を頭部29の下方に潜り込ませる。雄ネジ部28が切欠部45を通過すると、二股状係止部43は、その弾性復元力により自由状態に復帰する。また、これに伴い、連結部50の弾性変形を解除し、逃がし孔47に頭部29を貫通させた状態とする。これにより、クリップ40が、その二股状係止部43の係止孔44の孔縁(二股状係止部43の内周縁部)を頭部29の最大外径部29aに対して上から(雄ネジ部28側から)係止させて吊り下がった状態で仮組みされる。
クリップ40をロッカアーム20に組み付けた状態では、一対の弾性係止片48が、揺動支点部24の下方において吊り下がった状態となり、二方向から頭部29を挟むように包囲した形態となる。この弾性係止片48により、頭部29は、異物の干渉から保護される。
ロッカアーム20とピボット13を組み付ける際には、アジャストスクリュ27の頭部29をピボット13の支持凹部14に接近させながら、一対の弾性係止片48を僅かに拡開するように弾性変形させて、係止用弧状部49を嵌合溝に嵌合させる。この係止用弧状部49(弾性係止片48)と嵌合溝との嵌合により、ピボット13とロッカアーム20の揺動支点部24がクリップ40を介して一体化される。
一体化された状態では、一対の係止用弧状部49と嵌合溝15とが、周方向に沿った細長い円弧状の領域に亘り線接触状又は面接触状に係止するので、クリップ40がピボット13に対し、その軸線方向(上下方向)と交差する方向へ外れる虞はない。また、係止用弧状部49弾性係止片48と嵌合溝との係止作用により、クリップ40は、ピボット13に対して軸線方向(略上下方向)への相対移動を規制されるが、係止用弧状部49が嵌合溝に沿って摺動しながらクリップ40がピボット13に対して周方向に相対回転することができるようになっている。また、板状本体部46はピボット13の上端面に当接した状態となる。
また、アジャストスクリュ27の頭部29が支持凹部14内に嵌合され、頭部29の摺接面が支持凹部14の内面に当接する。この状態では、クリップ40の二股状係止部43が頭部29よりも上方に浮いた高さに保たれる。この二股状係止部43と頭部29との間のクリアランス(高低差)は、ロッカアーム20が支持凹部14と頭部29との嵌合部42分を支点として揺動するときに、二股状係止部43と頭部29とが干渉することを回避するために確保されている。
上記のようにしてロッカアーム20の揺動支点部24をピボット13に組み付けた後、ロッカアーム20の揺動端部23をバルブ11に載置する。この後、シリンダヘッド10に対し、ロッカアーム20の上方からカム16を組み付ける。このとき、カム16の下面とロッカアーム20のローラ25の上端との間には、動弁装置が作動するときに必要される僅かな隙間よりも、大きい間隔が空いている。そこで、カム16とローラ25との隙間を適正な寸法に調整するために、ロックナット38を緩めてアジャストスクリュ27を回転させ、頭部29を揺動支点部24に対して相対的に下方(ピボット13側)へ突出させる。
ここで頭部29はピボット13の支持凹部14内に当接しているので、揺動支点部24がピボット13に対して上方へ離間するように相対変位することになり、これに伴ってロッカアーム20が上方へ変位するとともに、ローラ25がカム16に接近する。カム16とローラ25との隙間が適正に調整されたら、ロックナット38を締め付けてアジャストスクリュ27を回転不能状態にロックする。以上により、シリンダヘッド10に対するロッカアームユニットBの組付作業が完了する。
ロッカアーム20の揺動支点部24とピボット13との間隔は、ロッカアーム20の寸法公差等が原因となってバラツキが生じ得るのであるが、ロッカアーム20の揺動支点部24とピボット13とを連結する手段として、ピボット13に嵌合されるクリップ40を、揺動支点部24に直接係止するのではなく、揺動支点部24に取り付けられているアジャストスクリュ27に組み付けるようにしているので、揺動支点部24とピボット13との間隔にバラツキがあっても、そのバラツキを吸収してロッカアーム20とピボット13とを連結状態に保持することができる。
また、クリップ40には、ピボット13の外周に形成した嵌合溝15に対して弾性的に係止可能な弾性係止片48が形成されているので、クリップ40をピボット13に嵌合する際には、弾性係止片48を弾性変形させながら嵌合溝15に係止させればよく、嵌合時の作業性がよい。
また、クリップ40の組付部41は、弾性的に拡開変形可能な二股状係止部43を有しているので、アジャストスクリュ27に対し、その進退方向と交差する方向に組み付けることができる。したがって、クリップ40の組付けに際しては、アジャストスクリュ27をロッカアーム20から外す必要がなく、作業性に優れている。
また、弾性係止片48は、ピボット13の外周に沿った周方向において、嵌合溝15と略同曲率の円弧形をなしているので、弾性係止片48がピボット13に対して軸線方向と直交する方向へ相対的に平行移動する虞がない。これにより、弾性係止片48の数が2片だけで済んでいる。
<他の実施形態>
本発明は上記記述及び図面によって説明した実施形態に限定されるものではなく、例えば次のような実施態様も本発明の技術的範囲に含まれる。
(1)上記実施形態ではクリップをアジャストスクリュの頭部に係止させるようにしたが、クリップをアジャストスクリュにおける頭部以外の部位に係止させるようにしたもよい。
(2)上記実施形態では支持部材が、アジャストスクリュとの当接位置を変動させないピボットである場合について説明したが、本発明は、支持部材が、ロッカアームに対して接近・離間するように変位するプランジャを備えたラッシュアジャスタである場合にも適用できる。
(3)上記実施形態では支持部材の嵌合溝を全周に亘って連続して延びる形態としたが、複数の嵌合溝を、周方向において分断して形成してもよい。
(4)上記実施形態では支持部材におけるクリップの嵌合部分を溝状(嵌合溝)としたが、支持部材におけるクリップの嵌合部分を突起状とし、この突起状部分にクリップの溝部又は凹部を嵌合させてもよい。また、支持部材とクリップの双方に形成したネジ部同士を係合させてもよい。
(5)上記実施形態ではクリップとして金属を用いたが、クリップの材質としては、合成樹脂であってもよい。この場合、動弁装置の使用環境を考慮して、耐熱性及び耐油性に優れた合成樹脂とすることが望ましい。
(6)上記実施形態1では周方向に間隔を空けて配置した弾性係止片と保持片の数を2つずつとしたが、弾性係止片と保持片の数については、少なくとも1つの弾性係止片を含み、その弾性係止片と保持片との合計数が3以上であればよい。この場合、周方向における弾性係止片と保持片の並び順については、任意に設定することができる。
(7)上記実施形態1では支持部材を挟むことよって位置決めするための一対の保持片を設けたが、弾性係止片が周方向に間隔を空けて3片以上形成されている場合には、このような一対の保持片を設けない形態としてもよい。
(8)上記実施形態1では弾性係止片を一対形成したが、弾性係止片の数は、3以上であってもよい。
(9)上記実施形態1では弾性係止片を支持部材の外周に対して概ね接線状に当接する形態としたが、弾性係止片は、支持部材の外周形状に合わせた弧状としてもよい。
(10)上記実施形態1では弾性係止片を全体として平板状としたが、弾性係止片は、湾曲した形状であってもよい。
(11)上記実施形態1では保持片を全体として平板状としたが、保持片は、湾曲した形状であってもよい。
(12)上記実施形態2では弾性係止片を支持部材の外周形状に合わせた弧状としたが、弾性係止片は、支持部材の外周に対して概ね接線状に当接する形態としてもよい。
(13)上記実施形態においてシリンダヘッドに対してピボットを取付ける形態としては、ピボットをシリンダヘッドに圧入によって固定する形態や、ピボットの外周に形成した雄ネジ部をシリンダヘッドの取付け凹部の内周に形成した雌ネジ部に螺合する形態としてもよく、隙間嵌めとしてもよい。
(14)上記実施形態ではロッカアームユニットをシリンダヘッドに組み付ける際には、予めピボットをシリンダヘッドに取り付けておくようにしたが、これに限らず、シリンダヘッドから外されているピボットとロッカアームユニットとをクリップによって一体化させておき、その後で、ロッカアームユニットとピボットをシリンダヘッドに組み付けるようにしてもよい。
(15)上記実施形態ではピボットに対してロッカアームが上方から当接するように組み付けられるようにしたが、本発明は、ピボットに対してロッカアームが水平に当接するように組み付けられる動弁装置、つまり、水平対向型のエンジンにも適用することができる。
実施形態1においてクリップが組み付けられたロッカアームユニットをシリンダヘッドに取り付けた状態をあらわす一部切欠側面図 ロッカアームからクリップとピボットを外した状態をあらわす一部切欠部分拡大側面図 ロッカアームにクリップを組み付けた状態をあらわす一部切欠部分拡大側面図 ロッカアームとクリップをピボットに組み付けた状態をあらわす一部切欠部分拡大側面図 クリップの正面図 クリップの平面図 実施形態2の一部切欠部分拡大側面図 実施形態2のクリップの斜視図
符号の説明
10…シリンダヘッド
13…ピボット(支持部材)
15…嵌合溝
20…ロッカアーム
27…アジャストスクリュ
28…雄ネジ部
29…頭部
30…クリップ
31…組付部
32…嵌合部
34…係止孔
35…弾性係止片
37…保持片
40…クリップ
41…組付部
42…嵌合部
43…二股状係止部
48…弾性係止片

Claims (7)

  1. シリンダヘッドに取り付けられる支持部材と、
    進退可能なアジャストスクリュを有し、前記支持部材に対し前記アジャストスクリュを当接させた状態で組み付けられるロッカアームとを連結するためのクリップであって、
    前記アジャストスクリュに対して離脱規制状態に組み付けられる組付部と、前記支持部材に対して離脱規制状態に嵌合される嵌合部とを備えていることを特徴とするクリップ。
  2. 前記組付部が、前記ロッカアームに螺合される雄ネジ部と、前記雄ネジ部よりも大径であって前記支持部材に当接される頭部とを備えた前記アジャストスクリュに対して組み付けられるようになっていて、前記雄ネジ部よりも大径であり且つ前記頭部よりも小径の係止孔を備えており、
    前記係止孔の孔縁を前記雄ネジ部側から前記頭部に係止させた形態で前記アジャストスクリュに組み付け可能とされていることを特徴とする請求項1記載のクリップ。
  3. 前記組付部が、前記ロッカアームに螺合される雄ネジ部と、前記雄ネジ部よりも大径であって前記支持部材に当接される頭部とを備えた前記アジャストスクリュに対して組み付けられるようになっていて、内径が前記頭部の最大外径よりも小さくて周方向における一部が切欠された円弧形をなす二股状係止部を有しており、
    前記二股状係止部を、弾性的に拡開変形させて前記雄ネジ部に外嵌させることにより、前記二股状係止部の内周縁部を前記雄ネジ部側から前記頭部に係止させた状態で前記アジャストスクリュに組み付けられるようになっていることを特徴とする請求項1記載のクリップ。
  4. 前記嵌合部は、前記組付部が前記アジャストスクリュに組み付けられている状態において、前記頭部を包囲する形態となっていることを特徴とする請求項2又は請求項3に記載のクリップ。
  5. 前記嵌合部は、前記支持部材の外周に形成した嵌合溝に対して弾性的に係止可能な弾性係止片を備えていることを特徴とする請求項1ないし請求項4のいずれか1項に記載のクリップ。
  6. 前記嵌合部は、前記弾性係止片に対して周方向に離間した位置に配されて、前記支持部材の外周に当接可能な保持片を備えており、
    前記弾性係止片と前記保持片が、周方向において180°よりも小さい角度のピッチで配置されているとともに、併せて3片以上設けられていることを特徴とする請求項5記載のクリップ。
  7. 前記弾性係止片は、前記支持部材の外周に沿った周方向において、前記嵌合溝と略同曲率の円弧形をなしていることを特徴とする請求項5又は請求項6に記載のクリップ。
JP2008229107A 2008-09-05 2008-09-05 クリップ Expired - Fee Related JP5197251B2 (ja)

Priority Applications (1)

Application Number Priority Date Filing Date Title
JP2008229107A JP5197251B2 (ja) 2008-09-05 2008-09-05 クリップ

Applications Claiming Priority (1)

Application Number Priority Date Filing Date Title
JP2008229107A JP5197251B2 (ja) 2008-09-05 2008-09-05 クリップ

Related Child Applications (1)

Application Number Title Priority Date Filing Date
JP2012210076A Division JP5456864B2 (ja) 2012-09-24 2012-09-24 クリップ

Publications (2)

Publication Number Publication Date
JP2010059926A true JP2010059926A (ja) 2010-03-18
JP5197251B2 JP5197251B2 (ja) 2013-05-15

Family

ID=42186983

Family Applications (1)

Application Number Title Priority Date Filing Date
JP2008229107A Expired - Fee Related JP5197251B2 (ja) 2008-09-05 2008-09-05 クリップ

Country Status (1)

Country Link
JP (1) JP5197251B2 (ja)

Cited By (4)

* Cited by examiner, † Cited by third party
Publication number Priority date Publication date Assignee Title
JP2012140871A (ja) * 2010-12-28 2012-07-26 Otics Corp ロッカアームユニット
EP2873815A1 (en) * 2013-06-18 2015-05-20 GT Technologies Retention device for valve actuating mechanism
JP2015183577A (ja) * 2014-03-24 2015-10-22 富士重工業株式会社 ロッカアーム脱落防止機構
US9863291B2 (en) 2015-05-14 2018-01-09 GT Technologies Locator for use in a valvetrain of a cylinder head of an internal combustion engine

Citations (9)

* Cited by examiner, † Cited by third party
Publication number Priority date Publication date Assignee Title
JPS57191805U (ja) * 1981-05-29 1982-12-04
JPS6345406A (ja) * 1986-08-08 1988-02-26 Mazda Motor Corp スイングア−ム式動弁装置
JPH01141307U (ja) * 1988-03-22 1989-09-28
JPH0276101U (ja) * 1988-11-29 1990-06-11
JPH02141606U (ja) * 1989-04-28 1990-11-29
JPH0342002U (ja) * 1989-08-31 1991-04-22
JPH0457605U (ja) * 1990-09-27 1992-05-18
JP2001271615A (ja) * 2000-03-27 2001-10-05 Toyota Motor Corp ロッカアーム及びその製造方法
JP2002195011A (ja) * 2000-12-27 2002-07-10 Otics Corp ロッカアーム

Patent Citations (9)

* Cited by examiner, † Cited by third party
Publication number Priority date Publication date Assignee Title
JPS57191805U (ja) * 1981-05-29 1982-12-04
JPS6345406A (ja) * 1986-08-08 1988-02-26 Mazda Motor Corp スイングア−ム式動弁装置
JPH01141307U (ja) * 1988-03-22 1989-09-28
JPH0276101U (ja) * 1988-11-29 1990-06-11
JPH02141606U (ja) * 1989-04-28 1990-11-29
JPH0342002U (ja) * 1989-08-31 1991-04-22
JPH0457605U (ja) * 1990-09-27 1992-05-18
JP2001271615A (ja) * 2000-03-27 2001-10-05 Toyota Motor Corp ロッカアーム及びその製造方法
JP2002195011A (ja) * 2000-12-27 2002-07-10 Otics Corp ロッカアーム

Cited By (4)

* Cited by examiner, † Cited by third party
Publication number Priority date Publication date Assignee Title
JP2012140871A (ja) * 2010-12-28 2012-07-26 Otics Corp ロッカアームユニット
EP2873815A1 (en) * 2013-06-18 2015-05-20 GT Technologies Retention device for valve actuating mechanism
JP2015183577A (ja) * 2014-03-24 2015-10-22 富士重工業株式会社 ロッカアーム脱落防止機構
US9863291B2 (en) 2015-05-14 2018-01-09 GT Technologies Locator for use in a valvetrain of a cylinder head of an internal combustion engine

Also Published As

Publication number Publication date
JP5197251B2 (ja) 2013-05-15

Similar Documents

Publication Publication Date Title
CN103492679B (zh) 用于可停用摇臂的枢转支脚
JP4541792B2 (ja) ロッカーアームアセンブリ用バルブガイド
RU2661118C2 (ru) Устройство для коррекции вросших ногтей
JP5197251B2 (ja) クリップ
WO2012048934A1 (en) A bolt retention clip
JP5456864B2 (ja) クリップ
JP5215091B2 (ja) ロッカアームユニット
JP5201037B2 (ja) ロボットのシャフトに対するフランジ取付構造
US20110226206A1 (en) Engine having variable lift valvetrain
CN101258306A (zh) 用于可靠地固定杆式凸轮随动件的连接件
EP2638317B1 (fr) Dispositif de raccordement securise de deux embouts, notamment d'une canalisation
JP6397495B2 (ja) ローラリフタ
US20100126453A1 (en) Lash adjuster for swing arm type valve gear
KR102082436B1 (ko) 토크 조절이 가능한 비대칭 토크 힌지
US20150377088A1 (en) Camshaft bearing structure
US7134410B2 (en) Detachable connection for coupling a gas exchange valve of an internal combustion engine to an actuator
JP2009270565A (ja) ラッシュアジャスタ
US10428699B2 (en) Pivot bearing of a hydraulic clearance compensation element
US20040151411A1 (en) Swivel bearing
BR102014014905A2 (pt) dispositivo de retenção para mecanismo de atuação de válvula
KR101683528B1 (ko) 로커암과 로커샤프트의 결합 구조
US20100288219A1 (en) Lash adjuster
CN215927498U (zh) 滚轮挺柱导向结构及发动机
JP2008190540A (ja) 内燃機関の動弁系のタペット機構
JP4143031B2 (ja) 内燃機関の動弁系のタペット機構

Legal Events

Date Code Title Description
A621 Written request for application examination

Free format text: JAPANESE INTERMEDIATE CODE: A621

Effective date: 20110304

A977 Report on retrieval

Free format text: JAPANESE INTERMEDIATE CODE: A971007

Effective date: 20120718

A131 Notification of reasons for refusal

Free format text: JAPANESE INTERMEDIATE CODE: A131

Effective date: 20120724

A521 Request for written amendment filed

Free format text: JAPANESE INTERMEDIATE CODE: A523

Effective date: 20120924

TRDD Decision of grant or rejection written
A01 Written decision to grant a patent or to grant a registration (utility model)

Free format text: JAPANESE INTERMEDIATE CODE: A01

Effective date: 20130205

A61 First payment of annual fees (during grant procedure)

Free format text: JAPANESE INTERMEDIATE CODE: A61

Effective date: 20130205

FPAY Renewal fee payment (event date is renewal date of database)

Free format text: PAYMENT UNTIL: 20160215

Year of fee payment: 3

R150 Certificate of patent or registration of utility model

Ref document number: 5197251

Country of ref document: JP

Free format text: JAPANESE INTERMEDIATE CODE: R150

Free format text: JAPANESE INTERMEDIATE CODE: R150

R250 Receipt of annual fees

Free format text: JAPANESE INTERMEDIATE CODE: R250

R250 Receipt of annual fees

Free format text: JAPANESE INTERMEDIATE CODE: R250

R250 Receipt of annual fees

Free format text: JAPANESE INTERMEDIATE CODE: R250

R250 Receipt of annual fees

Free format text: JAPANESE INTERMEDIATE CODE: R250

R250 Receipt of annual fees

Free format text: JAPANESE INTERMEDIATE CODE: R250

R250 Receipt of annual fees

Free format text: JAPANESE INTERMEDIATE CODE: R250

LAPS Cancellation because of no payment of annual fees