JP2010059633A - 足場布板 - Google Patents

足場布板 Download PDF

Info

Publication number
JP2010059633A
JP2010059633A JP2008224389A JP2008224389A JP2010059633A JP 2010059633 A JP2010059633 A JP 2010059633A JP 2008224389 A JP2008224389 A JP 2008224389A JP 2008224389 A JP2008224389 A JP 2008224389A JP 2010059633 A JP2010059633 A JP 2010059633A
Authority
JP
Japan
Prior art keywords
upper flange
tread plate
board
expanded metal
tread
Prior art date
Legal status (The legal status is an assumption and is not a legal conclusion. Google has not performed a legal analysis and makes no representation as to the accuracy of the status listed.)
Granted
Application number
JP2008224389A
Other languages
English (en)
Other versions
JP5376871B2 (ja
Inventor
Takashi Nagumo
隆司 南雲
Masahiko Takakusaki
正彦 高草木
Current Assignee (The listed assignees may be inaccurate. Google has not performed a legal analysis and makes no representation or warranty as to the accuracy of the list.)
Hory Corp
Original Assignee
Hory Corp
Priority date (The priority date is an assumption and is not a legal conclusion. Google has not performed a legal analysis and makes no representation as to the accuracy of the date listed.)
Filing date
Publication date
Application filed by Hory Corp filed Critical Hory Corp
Priority to JP2008224389A priority Critical patent/JP5376871B2/ja
Publication of JP2010059633A publication Critical patent/JP2010059633A/ja
Application granted granted Critical
Publication of JP5376871B2 publication Critical patent/JP5376871B2/ja
Active legal-status Critical Current
Anticipated expiration legal-status Critical

Links

Images

Landscapes

  • Bridges Or Land Bridges (AREA)

Abstract

【課題】 踏面板と桁材との間に生ずる段差を少なくし通路側端部の認識がし易く使用中にエキスパンドメタルが跳ね上がる恐れのない足場布板を提供する。
【解決手段】 足場布板1はエキスパンドメタルよりなる矩形の踏面板2とその長辺に設ける梁材3と短辺に設ける桁材4を有する。梁材3の上部フランジ3bには内方に開口部を形成する折曲部を有しこれに踏面板2の端部を載置収納する。桁材4は梁材3の折曲部を収納する上部フランジ端部4aとこの上部フランジ端部4aから曲折して踏面板2の短辺上面にその内面を当接する上部フランジ凹部4bを有する。上部フランジ端部4aと上部フランジ凹部4bとの段差dは梁材3の板厚と同等とする。エキスパンドメタルのボンド部と上部フランジ凹部4bは下方からの溶接により固着する。この溶接箇所は両鋼材間に隙間が生じていないため溶着が完全となり使用中に溶接が切れてエキスパンドメタルが撓む恐れはない。
【選択図】 図2

Description

この発明は、建築工事現場等で構築する仮設足場の通路面として用いる足場布板に関するものである。
足場布板には、その軽量化と通路面の滑り止めを考慮して、踏面板としてエキスパンドメタルを利用するものがある。このような足場布板としては、例えば下記に示すような従来技術があった。
特開2002−13291号公報 足場布板は、矩形の枠体と、その内部に収納する踏面板と、枠体の外周に突設する複数の掛止手段を設け、踏面板は、溶接等の手段により枠体に固定されていた。
この従来の足場布板の詳細を図4及び図5に基づき説明する。図4は従来の足場布板の平面図、図5は図4のV−V断面を示す拡大断面図である。足場布板101は、エキスパンドメタルよりなる矩形の踏面板102と、この踏面板102の長辺に設ける一対の梁材103,103と、この踏面板102の短辺に設ける一対の桁材104,104と、各桁材104より突設する掛止手段105を備えていた。
又踏面板102を支えるため長辺方向にハット型の補強材106を適宜本数並設すると共にその下面を複数本の横桟107で支持していた。
梁材103は、垂直方向のリブ103aと、その上下両端設ける上部フランジ103bと下部フランジ103cとからなっており、上部フランジ103bには内方に開口部を形成する折曲部を有し、これに踏面板102の端部を載置収納していた。
踏面板102として用いるエキスパンドメタルは、梁材103の折曲部に収納保持すると共に桁材104の上部フランジ104aの下面に差し込まれ、図5の黒丸箇所が示すように下方から溶接することでエキスパンドメタルを桁材104に固定していた。
しかし、従来の足場布板101は、梁材103の端部を桁材104の内部に収納し、かつ踏面板102の端部を梁材103の内部に収納する構成であったため、踏面板102の上面と桁材104の上部フランジ104a下面との間には隙間tが生じていた。この隙間tは梁材103の板厚分に相当し、約1.5mm〜2.5mm程度になっていた。
このため、エキスパンドメタルを下方から溶接する際には、網体を押し上げて隙間を無くしながら溶接したり、あるいは隙間分を埋めるように厚めに溶接していたが、もともと密着していない鋼材同士であるため十分な溶着ができない恐れがあった。
踏面板102と桁材104の溶着が不十分な場合には、使用中にエキスパンドメタルが撓んでしまい、踏面板102と桁材104との間には許容できない段差が生ずる恐れがあった。通行時に躓く危険性を無くすためには、段差を3mm以内とすることが望ましいが、エキスパンドメタルが撓んでしまうと、5mm以上の段差が生じ易かった。
このような段差を生じさせないため、踏面板と桁材下面との隙間を無くす構成の足場布板も提供されていた。この従来の足場布板を図6に示す。図6は別の足場布板の断面図である。この足場布板201の場合、梁材203は、上部フランジ203bに段差を設けて内方に張出しており、この下段にエキスパンドメタルよりなる踏面板202を載置していた。
この時、踏面板202の上面と梁材203の上部フランジ203b上段とは同一高さになるよう段差を設定していた。又踏面板202は桁材204の上部フランジの下面に差し込まれており、梁材203及び桁材204とは共に溶接で固定されていた。
このような梁材203を用いると溶接時に踏面板202と桁材204との間には隙間が生じないため溶着が完全となり、使用中にエキスパンドメタルが撓む心配はなかった。ところが、踏面板202と梁材203が同一高さに形成されていると通路側端部の段差がなくなることで端部の認識が薄れ、踏み外す危険性が指摘されていた。
又、踏面板202の梁材203に対する固定は溶接のみであったため、使用中に溶接箇所が切れるとエキスパンドメタルが跳ね上がってしまう危険性もあった。
この発明は、従来の足場布板が有する上記の問題点を解消すべくなされたものであり、踏面板と桁材との間に生ずる段差をできるだけ少なくすると共に、通路側端部の認識がし易く、かつ使用中にエキスパンドメタルが跳ね上がる恐れのない足場布板を提供することを目的としている。
上記課題を解決するため、この発明の足場布板は、エキスパンドメタルよりなる矩形の踏面板と、この踏面板の長辺に設ける一対の梁材と、前記踏面板の短辺及び梁材端部を夫々の上部フランジの下方に収納する一対の桁材と、各桁材より突設する掛止手段を備える足場布板において、前記梁材は、リブ上方に踏面板の端部を載置収納する折曲部を有し、前記桁材は、この折曲部を収納する上部フランジ端部と、この上部フランジ端部から曲折して前記踏面板の短辺上面にその内面を当接する上部フランジ凹部を有し、前記踏面板の短辺とこの上部フランジ凹部を下方からの溶接により固着することを特徴とするものである。
桁材は断面コの字形の鋼材等を用い、その上部フランジを押圧加工等により段差を形成する。段差は梁材の板厚と同等とする。
この発明の足場布板は、桁材の上部フランジ凹部下面に踏面板の短辺上面を当接して溶着するので、使用中に溶接箇所が切れる恐れがなくなり、エキスパンドメタルが撓むことでの段差は発生しない。このため踏面板と桁材との間に生ずる段差をできるだけ少なくすることが可能となる。
一方、梁材の上部フランジに形成する折曲部内に踏面板の端部を載置収納するため、通路側端部の認識がし易くなり、かつ使用中にエキスパンドメタルが跳ね上がる恐れもない。
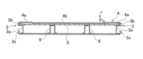
次にこの発明の実施の形態を添付図面に基づき詳細に説明する。図1は踏面板の一部を省略した足場布板の平面図、図2は図1のII−II断面を示す拡大断面図、図3は図1のa部を拡大した平面図である。
足場布板1は、エキスパンドメタルよりなる矩形の踏面板2と、この踏面板2の長辺に設ける一対の梁材3,3と、踏面板2の短辺に設ける一対の桁材4,4を有する。各桁材4には掛止手段5を突設する。
梁材3の間には桁材4の奥行長さに応じて補強材6を適宜本数並設すると共にその下面を複数本の横桟7で支持している。
図2の断面図にも示すように梁材3は、垂直方向のリブ3aと、その上下両端設ける上部フランジ3bと下部フランジ3cとからなっており、上部フランジ3bには内方に開口部を形成する折曲部を有し、これに踏面板2の端部を載置収納している。
桁材4は、梁材3の折曲部を収納する上部フランジ端部4aと、この上部フランジ端部4aから曲折して踏面板2の短辺上面にその内面を当接する上部フランジ凹部4bを有する。
この上部フランジ端部4aと上部フランジ凹部4bとの段差dは梁材3の板厚と同等とする。図3に示すように、踏面板2であるエキスパンドメタルのボンド部と上部フランジ凹部4bは下方からの溶接により固着する。溶接箇所は梁材3と補強材6の間、補強材6,6の間に夫々1箇所ずつ計3箇所とする。
この溶接箇所は両鋼材間に隙間が生じていないため溶着が完全となり、使用中に溶接が切れてエキスパンドメタルが撓む恐れはない。
踏面板の一部を省略した足場布板の平面図である。 図1のII−II断面を示す拡大断面図である。 図1のa部を拡大した平面図である。 従来の足場布板の平面図である。 図4のV−V断面を示す拡大断面図である。 従来の別の足場布板の断面図である。
符号の説明
1 足場布板
2 踏面板
3 梁材
4 桁材
4a 上部フランジ端部
4b 上部フランジ凹部
5 係止手段

Claims (1)

  1. エキスパンドメタルよりなる矩形の踏面板と、この踏面板の長辺に設ける一対の梁材と、前記踏面板の短辺及び梁材端部を夫々の上部フランジの下方に収納する一対の桁材と、各桁材より突設する掛止手段を備える足場布板において、前記梁材は、リブ上方に踏面板の端部を載置収納する折曲部を有し、前記桁材は、この折曲部を収納する上部フランジ端部と、この上部フランジ端部から曲折して前記踏面板の短辺上面にその内面を当接する上部フランジ凹部を有し、前記踏面板の短辺とこの上部フランジ凹部を下方からの溶接により固着することを特徴とする足場布板。
JP2008224389A 2008-09-02 2008-09-02 足場布板 Active JP5376871B2 (ja)

Priority Applications (1)

Application Number Priority Date Filing Date Title
JP2008224389A JP5376871B2 (ja) 2008-09-02 2008-09-02 足場布板

Applications Claiming Priority (1)

Application Number Priority Date Filing Date Title
JP2008224389A JP5376871B2 (ja) 2008-09-02 2008-09-02 足場布板

Publications (2)

Publication Number Publication Date
JP2010059633A true JP2010059633A (ja) 2010-03-18
JP5376871B2 JP5376871B2 (ja) 2013-12-25

Family

ID=42186723

Family Applications (1)

Application Number Title Priority Date Filing Date
JP2008224389A Active JP5376871B2 (ja) 2008-09-02 2008-09-02 足場布板

Country Status (1)

Country Link
JP (1) JP5376871B2 (ja)

Cited By (1)

* Cited by examiner, † Cited by third party
Publication number Priority date Publication date Assignee Title
KR101486539B1 (ko) * 2013-05-09 2015-01-26 서일공영 주식회사 플랜트에 적합한 그레이팅

Citations (3)

* Cited by examiner, † Cited by third party
Publication number Priority date Publication date Assignee Title
JPH11280200A (ja) * 1998-03-27 1999-10-12 Nanbu Plastics Co Ltd 合成樹脂製補強パネル
JP2002013291A (ja) * 2000-06-29 2002-01-18 Fumio Fujiki 足場布板
JP2007130115A (ja) * 2005-11-09 2007-05-31 Kyoei Ind Co Ltd 金属製筐体を有する家具

Patent Citations (3)

* Cited by examiner, † Cited by third party
Publication number Priority date Publication date Assignee Title
JPH11280200A (ja) * 1998-03-27 1999-10-12 Nanbu Plastics Co Ltd 合成樹脂製補強パネル
JP2002013291A (ja) * 2000-06-29 2002-01-18 Fumio Fujiki 足場布板
JP2007130115A (ja) * 2005-11-09 2007-05-31 Kyoei Ind Co Ltd 金属製筐体を有する家具

Cited By (1)

* Cited by examiner, † Cited by third party
Publication number Priority date Publication date Assignee Title
KR101486539B1 (ko) * 2013-05-09 2015-01-26 서일공영 주식회사 플랜트에 적합한 그레이팅

Also Published As

Publication number Publication date
JP5376871B2 (ja) 2013-12-25

Similar Documents

Publication Publication Date Title
KR20190000847U (ko) 2개의 평면 엘리먼트들을 유지하기 위한 클립
JP5376871B2 (ja) 足場布板
JP6341715B2 (ja) 折板葺きの屋根構造
JP5374178B2 (ja) 床付き布枠
JP2019183434A (ja) 仮設足場用足場板
JP5236567B2 (ja) 仮設足場の幅木材
JP6628594B2 (ja) 折板屋根改修用金具
US10508396B2 (en) Water barrier element
JP4247563B1 (ja) 足場板
JP2013036257A (ja) 仮設用手摺り
JP7523790B2 (ja) 仮設足場用足場板
JP4918521B2 (ja) 仮設用支柱及びその製造方法
JP2007159947A (ja) ラックの支柱と梁材との連結構造
JP2016216902A (ja) 仮設足場用作業布板の端部材
JP2015172315A (ja) スタンションポール及びその取付構造
JP6926741B2 (ja) 足場板
JP4667398B2 (ja) 足場等の支柱と横ステーの連結装置
CN113279529B (zh) 基于钢筋桁架楼承板的大跨度免拆阶梯结构及其施工方法
JP2010070982A (ja) 屋根葺き構造
JP6357303B2 (ja) 鉄筋コンクリート造の方立壁
JP4990528B2 (ja) 建築物内面への断熱材取付工法
JP4791150B2 (ja) 床付き布枠並びに枠組足場
JP4052985B2 (ja) ユニット建物の再築方法
JP4177827B2 (ja) 足場用階段
JP2007284916A (ja) 階段手摺構造

Legal Events

Date Code Title Description
A621 Written request for application examination

Free format text: JAPANESE INTERMEDIATE CODE: A621

Effective date: 20110830

A977 Report on retrieval

Free format text: JAPANESE INTERMEDIATE CODE: A971007

Effective date: 20121207

A131 Notification of reasons for refusal

Free format text: JAPANESE INTERMEDIATE CODE: A131

Effective date: 20121219

A521 Request for written amendment filed

Free format text: JAPANESE INTERMEDIATE CODE: A523

Effective date: 20130215

TRDD Decision of grant or rejection written
A01 Written decision to grant a patent or to grant a registration (utility model)

Free format text: JAPANESE INTERMEDIATE CODE: A01

Effective date: 20130920

A61 First payment of annual fees (during grant procedure)

Free format text: JAPANESE INTERMEDIATE CODE: A61

Effective date: 20130924

R150 Certificate of patent or registration of utility model

Ref document number: 5376871

Country of ref document: JP

Free format text: JAPANESE INTERMEDIATE CODE: R150

Free format text: JAPANESE INTERMEDIATE CODE: R150

R250 Receipt of annual fees

Free format text: JAPANESE INTERMEDIATE CODE: R250

R250 Receipt of annual fees

Free format text: JAPANESE INTERMEDIATE CODE: R250

S111 Request for change of ownership or part of ownership

Free format text: JAPANESE INTERMEDIATE CODE: R313111

R350 Written notification of registration of transfer

Free format text: JAPANESE INTERMEDIATE CODE: R350

R250 Receipt of annual fees

Free format text: JAPANESE INTERMEDIATE CODE: R250

S533 Written request for registration of change of name

Free format text: JAPANESE INTERMEDIATE CODE: R313533

R350 Written notification of registration of transfer

Free format text: JAPANESE INTERMEDIATE CODE: R350

R250 Receipt of annual fees

Free format text: JAPANESE INTERMEDIATE CODE: R250

R250 Receipt of annual fees

Free format text: JAPANESE INTERMEDIATE CODE: R250

R250 Receipt of annual fees

Free format text: JAPANESE INTERMEDIATE CODE: R250

R250 Receipt of annual fees

Free format text: JAPANESE INTERMEDIATE CODE: R250

R250 Receipt of annual fees

Free format text: JAPANESE INTERMEDIATE CODE: R250

R250 Receipt of annual fees

Free format text: JAPANESE INTERMEDIATE CODE: R250

R250 Receipt of annual fees

Free format text: JAPANESE INTERMEDIATE CODE: R250