JP2010058799A - コイル状重量物保持器 - Google Patents

コイル状重量物保持器 Download PDF

Info

Publication number
JP2010058799A
JP2010058799A JP2008224826A JP2008224826A JP2010058799A JP 2010058799 A JP2010058799 A JP 2010058799A JP 2008224826 A JP2008224826 A JP 2008224826A JP 2008224826 A JP2008224826 A JP 2008224826A JP 2010058799 A JP2010058799 A JP 2010058799A
Authority
JP
Japan
Prior art keywords
main body
coiled heavy
coiled
heavy article
leg
Prior art date
Legal status (The legal status is an assumption and is not a legal conclusion. Google has not performed a legal analysis and makes no representation as to the accuracy of the status listed.)
Granted
Application number
JP2008224826A
Other languages
English (en)
Other versions
JP5332415B2 (ja
Inventor
Shinji Nanba
真二 難波
Current Assignee (The listed assignees may be inaccurate. Google has not performed a legal analysis and makes no representation or warranty as to the accuracy of the list.)
JFE Steel Corp
Original Assignee
JFE Steel Corp
Priority date (The priority date is an assumption and is not a legal conclusion. Google has not performed a legal analysis and makes no representation as to the accuracy of the date listed.)
Filing date
Publication date
Application filed by JFE Steel Corp filed Critical JFE Steel Corp
Priority to JP2008224826A priority Critical patent/JP5332415B2/ja
Publication of JP2010058799A publication Critical patent/JP2010058799A/ja
Application granted granted Critical
Publication of JP5332415B2 publication Critical patent/JP5332415B2/ja
Active legal-status Critical Current
Anticipated expiration legal-status Critical

Links

Images

Landscapes

  • Stackable Containers (AREA)
  • Pallets (AREA)

Abstract

【課題】コイル状重量物を保持したときの所要床面積が小さく、且つ空状態で積み重ねたときの安定性に優れるコイル状重量物保持器を提供する。
【解決手段】コイル状重量物Cの外周面に当接して楔状に保持する一対の斜面体2を本体1の上方に設け、その本体1の四隅から下方に下方脚部3を突設すると共に、当該下方脚部3の上方に本体1から上方に上方脚部4を突設し、下方脚部3の下端部に先広がりのテーパ状又は球状の受け部5を形成し、上方脚部4の上端部に先細りのテーパ状又は球状のガイド6を形成したことにより、本体1の大きさをコイル状重量物Cの最大直径に可及的に近づけて所要床面積を小さくすることができ、空状態の保持器を積み重ねたときの作業性と安定性に優れる。
【選択図】図1

Description

本発明は、コイル状の重量物を保持するコイル状重量物保持器に関し、特に鋼板のコイルを横向きに保持するのに好適なものである。
従来、コイル状に巻かれた鋼板製品は、巻きほぐれないようにバンドで拘束され、必要に応じて防錆紙などで梱包された後、クレーンやフォークリフトによりトラックや船舶などに積み込まれる。その際、コイルを横向き(コイルの軸線が横向きになる姿勢)とし、これをパレットと呼ばれる保持器上に載置して、保持器ごとクレーンなどで搬送する場合がある。このようにコイル状の重量物を横向きに保持したまま搬送する保持器としては、例えば下記特許文献1に記載されるものがある。このコイル状重量物保持器は、中央部が窪んで、コイル状重量物の外周面に楔状に当接する横材をコイル状重量物の軸線方向に2本並べ、それら横材の長手方向両端部に、コイル状重量物の軸線方向に長手な断面コ字状のフォーク挿入部を脚代わりに取付けたものである。ちなみに、コイル状重量物を保持していない、所謂空の保持器は、例えばトラックのコンテナなどの収納部内に積み重ねて収納されている。
特開2004−83101号公報
しかしながら、前記特許文献1に記載されるコイル状重量物保持器は、コイル状重量物の外周面が当接するように中央部を窪ませた横材の両端部に、脚代わりのフォーク挿入部を取付けたものであるため、保持しているコイル状重量物の最大直径よりも全体が大きくはみ出し、結果的に、コイル状重量物を保持したときの所用床面積が大きくなってしまう。また、コイル状重量物の搬送完了後は、このコイル状重量物保持器を回収する必要があるが、空状態で積み重ねたときの安定性に欠けるため、コンテナなどの収納部内に積み重ねて収納しなければならず、作業性もよくない。
本発明は、上記のような問題点に着目してなされたものであり、コイル状重量物を保持したときの所要床面積が小さく、且つ空状態で積み重ねたときの作業性と安定性に優れるコイル状重量物保持器を提供することを目的とするものである。
上記課題を解決するために、本発明のコイル状重量物保持器は、本体の上方に設けられ且つコイル状重量物の外周面に当接して楔状に支持する一対の斜面体と、前記本体の四隅から下方に突設された下方脚部と、前記脚部の上方で且つ本体から上方に突設された上方脚部とを備え、前記下方脚部の下端部には先広がりのテーパ状又は球状の受け部を形成し、前記上方脚部の上端部には先細りのテーパ状又は球状のガイドを形成したことを特徴とするものである。
また、前記一対の斜面体の上方にコイル状重量物の外周面を当接した場合の当該コイル状重量物の軸線方向を前記本体の短辺方向とし、当該本体の短辺方向と交差する本体の方向を本体の長辺方向とした場合、前記斜面体の下方部分に、前記本体の短辺方向に長手なフォークガイドを設けたことを特徴とするものである。
また、前記斜面体が設けられている本体部分に、本体全体を吊るための吊りバンドの吊りバンド係止部を設けたことを特徴とするものである。
また、前記本体の長辺方向の大きさを、前記コイル状重量物の最大直径の110%以内としたことを特徴とするものである。
而して、本発明のコイル状重量物保持器によれば、コイル状重量物の外周面に当接して楔状に保持する一対の斜面体を本体の上方に設け、その本体の四隅から下方に下方脚部を突設すると共に、当該下方脚部の上方に本体から上方に上方脚部を突設し、下方脚部の下端部には先広がりのテーパ状又は球状の受け部を形成し、上方脚部の上端部には先細りのテーパ状又は球状のガイドを形成したことにより、本体の大きさをコイル状重量物の最大直径に近づけることが可能となり、そのようにすることでコイル状重量物を保持したときの所要床面積を小さくすることができ、下方の本体の上方脚部の上方に上方の本体の下方脚部を重ねるようにすることで、空状態で積み重ねたときの作業性と安定性に優れる。
次に、本発明のコイル状重量物保持器の一実施形態について図面を参照しながら説明する。
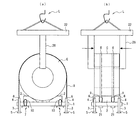
図1、図2は、本実施形態のコイル状重量物保持器の一実施形態として、鋼板コイルを保持した状態を示している。図中の符号1は、コイル状重量物保持器の本体である。この本体1は、図では、長方形の板材で構成されているが、強度や重量面から、実際には、例えば鉄製のパイプ材やチャンネル材、アングル材などを井桁状に組合せて構成するなどしてよい。
本体1の上方には、コイル状重量物Cの外周面下部に当接して、それを楔状に保持する一対の斜面体2が設けられている。本実施形態の斜面体2は、コイル状重量物Cの外周面下部に当接した際、当該コイル状重量物Cの外周面にキズがつかないように、例えば木製としたが、本体1と個別の部材である必要はなく、本体1の上方でコイル状重量物Cの外周面下部を楔状に保持するものであればよい。なお、本実施形態では、一対の斜面体2で、コイル状重量物Cの外周面下部を楔状に保持することから、コイル状重量物Cは、所謂横向きに保持される。この横向きの保持されるコイル状重量物Cの軸線方向を本体の短辺方向、これに交差(直交)する本体の方向、つまり水平面上での直交方向を本体の長辺方向と定義する。また、本実施形態の本体1の大きさは、このように横向きに保持されるコイル状重量物Cの最大直径にできるだけ近づけるようにしてあるが、その理由については後段に説明する。
本体1の四隅には、本体1から下方に向けて突設された下方脚部3及びその上方で本体1から上方に向けて突設された上方脚部4が設けられている。また、下方脚部3の下端部には下方広がり、つまり先広がりのテーパ状又は球状の受け部5が形成され、上方脚部4の上端部には上方が細い、つまり先細リのテーパ状又は球状のガイド6が形成されている。これら下方脚部3及び上方脚部4並びに受け部5及びガイド6は、後述するように、下方の本体1の上方に個別の本体1をセットし、下方の本体1の上方脚部4の上に、上方の本体1の下方脚部3を載せた際、下方の本体1の上方脚部4のガイド6が上方の本体1の下方脚部3の受け部5を案内して、上方の本体1の下方脚部3が下方の本体1の上方脚部4に安定して搭載され、且つ下方の本体1の斜面体2が上方の本体1に干渉しないように構成されている。その詳細については、後段に図面を用いて説明する。
前記下方脚部3より本体長辺方向内側で、前記斜面体2の下方には、本体短辺方向に長手なフォークガイド7が設けられている。このフォークガイド7は、例えば断面コ字状のチャンネル材を、開口側が下方になるようにして、本体短辺方向に長手に取付けたものであり、この開口部内にフォークリフトのフォークが挿入され、横ズレが規制される。また、フォークガイド7を斜面体2の下方に設けたことにより、コイル状重量物Cの重量を効率的にフォークで支持することができ、安定性にも優れる。
本体1の長辺方向両端部には、コイル状重量物Cの外周面を拘束する拘束バンド8の拘束バンド係止部9が設けられている。この拘束バンド係止部9に拘束バンド8を係止しながら、当該拘束バンド8でコイル状重量物Cの外周面を拘束することにより、コイル状重量物Cを堅固に保持器に固定することができる。なお、図2に示すように、拘束バンド係止部9の本体下方に、本体長辺方向に長手な補強材21を取付けてもよく、そのようにすることで拘束バンド8でコイル状重量物Cを拘束した際の本体1の強度が確保される。
本体1の短辺方向両端部のうち、前記斜面体2或いはフォークガイド7に相当する部分には、本体1自体を吊り下げる吊りバンドのための吊りバンド係止部10が設けられている。この吊りバンド係止部10は、例えばクレーンなどを用いて、コイル状重量物Cを保持している本体1を吊り下げる際、そのクレーンと本体とを連結する吊りバンドを係止するためのものであり、その詳細については後段に説明する。
図3は、トラックの荷台の平面図である。図は、本実施形態のコイル状重量物保持器にコイル状重量物Cが保持されている状態での積み荷姿を示しているが、コイル状重量物Cそのものは一つだけ代表して記した。同図から明らかなように、例えばトラックの荷台に効率よくコイル状重量物Cを積み込むには、それを保持している保持器の所要床面積が小さいことが望まれる。一方、保持器が必要ない場合を考えると、保持器、具体的には本体1の大きさは、横向きにしたコイル状重量物Cの最大直径に可及的に近づけるのが望ましい。本実施形態のコイル状重量物保持器は、本体1の上方に、コイル状重量物Cの外周面下部に当接して楔状に保持する斜面体2を設け、本体1の四隅から下方に向けて下方脚部3を突設したため、コイル状重量物Cを横向きに保持したときの本体1の大きさを当該コイル状重量物Cの最大直径に可及的に近づけることが可能となり、これによりコイル状重量物Cを保持したときの所要床面積を小さくすることができる。勿論、このようにコイル状重量物Cを保持したときの所要床面積を小さくすることができれば、例えばトラックの荷台への積み込み効率を向上することが可能となる。そして、本実施形態では、本体1の長辺方向の大きさを、具体的に、横向きに保持したコイル状重量物Cの最大直径の110%以下とした。本体1の長辺方向の大きさがコイル状重量物Cの最大直径の110%以下であれば、所要床面積は十分に小さい。一方、最大径のコイル状重量物Cを保持した際の安定性の観点からは、本体1の長辺方向の大きさを、横向きのコイル状重量物Cの最大直径に対して100%以上とすることが望ましい。
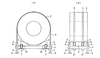
図4は、コイル状重量物を保持していない、所謂空の保持器を積み重ねた状態を示している。同図から明らかなように、本実施形態のコイル状重量物保持器では、下方の本体1から上方に突設されている上方脚部4の上方に、上方の本体1から下方に突設されている下方脚部3を載せることにより、複数の保持器を効率よく且つ安定して積み重ねることができる。また、その際、下方の本体1の上方脚部4のガイド6が上方の本体1の下方脚部3の受け部5を案内するので、それらの保持器を円滑に且つより一層安定して積み重ねることができる。また、本体1から下方に下方脚部3を突設し、本体1から上方に上方脚部4を突設しているので、積み重ねられる保持器の本体1同士の空間を確保することができ、例えば本体1の上方に設けられた斜面体2が上方の本体1に干渉したり、本体1の下方に設けられたフォークガイド7が下方の本体の斜面体2に干渉したりするのを防止することができる。そして、これらの構成により、空状態の保持器の積み重ね作業を、フォークリフトによって容易に行うことができる。
図5は、船舶の倉庫、所謂船倉の平面図である。図は、本実施形態のコイル状重量物保持器にコイル状重量物Cが保持されている状態での積み荷姿を示しているが、コイル状重量物Cそのものは一つだけ代表して記した。例えば、前述した図3のトラックの荷台などに、例えばストックヤードからコイル状重量物Cが保持された保持器を移載する際には、前述したフォークガイドにフォークリフトのフォークを差し込んで、そのままトラックの荷台に積み込めばよい。しかしながら、船倉は、船舶の壁に覆われているので、クレーンなどで吊り上げて後、船倉内に吊り下ろすしかない。
図6は、本実施形態のコイル状重量物保持器をクレーンLで吊り下げるときの一般的な実施例である。この実施例では、本体1とよりも一回り大きい大きさの方形のジグ22をクレーンLに取付け、このジグ22から短い一対の爪26をジグ22から吊り下げている。この爪26をコイル状重量物Cの内穴に差し込んで当該コイル状重量物Cを一対の爪26で挟むと、コイル状重量物Cが爪26で固定され、これによりコイル状重量物Cを本体1ごと吊り下げ可能となる。このクレーンによる吊り下げ方法は簡便であるが、コイル状重量物Cを傷つけたり梱包紙を破る場合があるので、後述する図7〜図9の吊り下げ形態が好ましい。
図7は、本体1と同等の大きさの方形のジグ22をクレーンLに取付け、このジグ22に掛け回した吊りバンド11を本体1の吊りバンド係止部10に係止して、本体1及び本体1に拘束バンド8で拘束されたコイル状重量物Cを吊り下げた状態を示している。このとき、本実施形態のコイル状重量物保持器では、本体1の短辺方向両端部のうち、斜面体2或いはフォークガイド7の部位に吊りバンド係止部10を設けたことにより、重量物を効率よく吊り下げることができると共に、本体1を吊りバンド11で吊り下げたときの重量バランスがよい。
図8は、本実施形態のコイル状重量物保持器をクレーンLで吊り下げるときの他の実施例である。この実施例では、吊りバンド11を吊りバンド係止部10に係止せず、本体1の下方に巻回して当該本体1を吊り下げている。このとき、吊りバンド11が本体1から外れないように、本体1の長辺方向端部に外れ防止つめ27を設けている。
図9は、本実施形態のコイル状重量物保持器をクレーンLで吊り下げるときの更に他の実施例である。この実施例では、図6と同様に、吊りバンドの代わりに、コイル状重量物Cの最大直径よりも長い一対の爪23をジグ22から吊り下げると共に、当該ジグ22の下面に押さえスプリング24を設けている。また、本体1下面の長辺方向中央部には、本体短辺方向に長手な爪ガイド25を取付けている。そして、この爪ガイド25で爪23をガイドしながら本体1を爪23で挟むと、コイル状重量物Cが押さえスプリング24で押さえ付けられ、これにより本体1及びコイル状重量物Cが固定され、吊り下げ可能となる。
このように、本実施形態のコイル状重量物保持器によれば、コイル状重量物Cの外周面に当接して楔状に保持する一対の斜面体2を本体1の上方に設け、その本体1の四隅から下方に下方脚部3を突設すると共に、当該下方脚部3の上方に本体1から上方に上方脚部4を突設し、下方脚部3の下端部に先広がりのテーパ状又は球状の受け部5を形成し、上方脚部4の上端部に先細りのテーパ状又は球状のガイド6を形成したことにより、本体1の大きさをコイル状重量物Cの最大直径に可及的に近づけることが可能となり、そのようにすることでコイル状重量物Cを保持したときの所要床面積を小さくすることができ、また空の下方の本体1の上方脚部4の上方に空の上方の本体1の下方脚部3を重ねるようにすることで、空状態で積み重ねたときの作業性と安定性に優れる。
また、斜面体2の下方部分に、本体短辺方向に長手なフォークガイド7を設けたことにより、コイル状重量物Cの重量を効率的にフォークで支持することができ、安定性に優れる。
また、斜面体2が設けられている本体1の部分に、本体1全体を吊るための吊りバンド11の吊りバンド係止部10を設けたことにより、コイル状重量物Cを効率よく吊り下げることができると共に、本体1を吊りバンド11で吊り下げたときの重量バランスがよい。
そして、これらの構成を有する本実施形態のコイル状重量物保持器によれば、作業性、操作性に優れ、これにより省力化が可能となると共に、フォークリフト、クレーンの何れによっても容易に搬送することができる。
なお、コイル状重量物には、鋼板の他に、種々のコイル状重量物を適用することができる。
本発明のコイル状重量物保持器の一実施形態を示す斜視図である。 (a)は図1のコイル状重量物保持器の正面図、(b)は側面図である。 トラックの荷台の平面図である。 空の状態の図1のコイル状重量物保持器を積み上げた状態の説明図であり、(a)は正面図、(b)は側面図である 船倉の平面図である。 図1のコイル状重量物保持器をクレーンで吊り下げた状態の説明図であり、(a)は正面図、(b)は側面図である。 図1のコイル状重量物保持器をクレーンで吊り下げた状態の説明図であり、(a)は正面図、(b)は側面図である。 図1のコイル状重量物保持器をクレーンで吊り下げた状態の説明図であり、(a)は正面図、(b)は側面図である。 図1のコイル状重量物保持器をクレーンで吊り下げた状態の説明図であり、(a)は正面図、(b)は側面図である。
符号の説明
1は本体、2は斜面体、3は下方脚部、4は上方脚部、5は受け部、6はガイド、7はフォークガイド、8は拘束バンド、9は拘束バンド係止部、10は吊りバンド係止部、11は吊りバンド

Claims (4)

  1. 本体の上方に設けられ且つコイル状重量物の外周面に当接して楔状に支持する一対の斜面体と、前記本体の四隅から下方に突設された下方脚部と、前記脚部の上方で且つ本体から上方に突設された上方脚部とを備え、前記下方脚部の下端部には先広がりのテーパ状又は球状の受け部を形成し、前記上方脚部の上端部には先細りのテーパ状又は球状のガイドを形成したことを特徴とするコイル状重量物保持器。
  2. 前記一対の斜面体の上方にコイル状重量物の外周面を当接した場合の当該コイル状重量物の軸線方向を前記本体の短辺方向とし、当該本体の短辺方向と交差する本体の方向を本体の長辺方向とした場合、前記斜面体の下方部分に、前記本体の短辺方向に長手なフォークガイドを設けたことを特徴とする請求項1に記載のコイル状重量物保持器。
  3. 前記斜面体が設けられている本体部分に、本体全体を吊るための吊りバンドの吊りバンド係止部を設けたことを特徴とする請求項1又は2に記載のコイル状重量物保持器。
  4. 前記本体の長辺方向大きさを、前記コイル状重量物の最大直径の110%以内としたことを特徴とする請求項2に記載のコイル状重量物保持器。
JP2008224826A 2008-09-02 2008-09-02 コイル状重量物保持器 Active JP5332415B2 (ja)

Priority Applications (1)

Application Number Priority Date Filing Date Title
JP2008224826A JP5332415B2 (ja) 2008-09-02 2008-09-02 コイル状重量物保持器

Applications Claiming Priority (1)

Application Number Priority Date Filing Date Title
JP2008224826A JP5332415B2 (ja) 2008-09-02 2008-09-02 コイル状重量物保持器

Publications (2)

Publication Number Publication Date
JP2010058799A true JP2010058799A (ja) 2010-03-18
JP5332415B2 JP5332415B2 (ja) 2013-11-06

Family

ID=42186092

Family Applications (1)

Application Number Title Priority Date Filing Date
JP2008224826A Active JP5332415B2 (ja) 2008-09-02 2008-09-02 コイル状重量物保持器

Country Status (1)

Country Link
JP (1) JP5332415B2 (ja)

Cited By (5)

* Cited by examiner, † Cited by third party
Publication number Priority date Publication date Assignee Title
KR101178188B1 (ko) 2010-12-21 2012-08-29 연세대학교 산학협력단 코일 거치장치
KR101258656B1 (ko) * 2011-03-08 2013-04-26 주식회사 평산 풍력 발전용 샤프트 고정구
CN105000284A (zh) * 2015-06-12 2015-10-28 万嘉集装箱服务(上海)有限公司 可用在iso集装箱内的钢卷运输专用托架
WO2020151182A1 (zh) * 2019-01-21 2020-07-30 北京睿力恒一物流技术股份公司 一种用于承接货物的托盘装置及具有其的集装箱
JP2022525673A (ja) * 2019-03-27 2022-05-18 サン-ゴバン グラス フランス アダプティブ格納ラック

Families Citing this family (1)

* Cited by examiner, † Cited by third party
Publication number Priority date Publication date Assignee Title
CN103264976B (zh) * 2013-04-15 2015-09-30 浙江康威胜高温线缆有限公司 液压搬运车

Citations (5)

* Cited by examiner, † Cited by third party
Publication number Priority date Publication date Assignee Title
JPS5898327U (ja) * 1981-12-25 1983-07-04 住友軽金属工業株式会社 パレツト
JPH08337245A (ja) * 1995-06-08 1996-12-24 Daido Steel Co Ltd 重量物吊り上げ搬送用パレット
JP2003526579A (ja) * 2000-03-10 2003-09-09 ブッシュ、ジェフリー 折り畳み可能なパレットラック
JP3130745U (ja) * 2007-01-26 2007-04-05 株式会社フジモリテック コイル架台
JP3131587U (ja) * 2007-02-13 2007-05-17 株式会社フジモリテック コイル架台

Patent Citations (5)

* Cited by examiner, † Cited by third party
Publication number Priority date Publication date Assignee Title
JPS5898327U (ja) * 1981-12-25 1983-07-04 住友軽金属工業株式会社 パレツト
JPH08337245A (ja) * 1995-06-08 1996-12-24 Daido Steel Co Ltd 重量物吊り上げ搬送用パレット
JP2003526579A (ja) * 2000-03-10 2003-09-09 ブッシュ、ジェフリー 折り畳み可能なパレットラック
JP3130745U (ja) * 2007-01-26 2007-04-05 株式会社フジモリテック コイル架台
JP3131587U (ja) * 2007-02-13 2007-05-17 株式会社フジモリテック コイル架台

Cited By (6)

* Cited by examiner, † Cited by third party
Publication number Priority date Publication date Assignee Title
KR101178188B1 (ko) 2010-12-21 2012-08-29 연세대학교 산학협력단 코일 거치장치
KR101258656B1 (ko) * 2011-03-08 2013-04-26 주식회사 평산 풍력 발전용 샤프트 고정구
CN105000284A (zh) * 2015-06-12 2015-10-28 万嘉集装箱服务(上海)有限公司 可用在iso集装箱内的钢卷运输专用托架
WO2020151182A1 (zh) * 2019-01-21 2020-07-30 北京睿力恒一物流技术股份公司 一种用于承接货物的托盘装置及具有其的集装箱
JP2022525673A (ja) * 2019-03-27 2022-05-18 サン-ゴバン グラス フランス アダプティブ格納ラック
US12234056B2 (en) 2019-03-27 2025-02-25 Saint-Gobain Glass France Adaptive storage rack

Also Published As

Publication number Publication date
JP5332415B2 (ja) 2013-11-06

Similar Documents

Publication Publication Date Title
JP5332415B2 (ja) コイル状重量物保持器
US5833289A (en) Modular storage system for stacking cylindrical loads
US6550741B1 (en) High load capacity cradle particularly for rolls and coils
EP1415927B1 (en) Pallet for coil-like transferred object, structural body for loading coil-like transferred object on pallet, structural body for storing coil-like transferred object loading pallet in container,and transferring method
KR101609780B1 (ko) 화물 운송용 컨테이너에 사용 가능한 코일형 중량물 지지대
RU2562789C2 (ru) Вспомогательное транспортировочное устройство и способ его использования
KR101659978B1 (ko) 코일형 중량물을 수납할 수 있는 화물 운송용 컨테이너
US7267060B1 (en) Stackable cargo bin
JP5721091B1 (ja) パレット及び組立式コンテナ
JP2005041523A (ja) ロール体の保持運搬具
EP1595809B1 (en) Coil-like transport subject pallet, structure for loading coil-like transport subject onto pallet, and method for transporting coil-like transport subject
JP5363768B2 (ja) 荷役用パレットの収容方法と収容装置およびこれに用いる荷役用パレットの保持部材
CN213862013U (zh) 一种物品运输用工业制造agv机器人
CN210162438U (zh) 一种便于拆装摆放的管路托盘
US20030202863A1 (en) Lifting system
JP2021020701A (ja) 重量物用パレット
CN216270439U (zh) 便于搬运的托盘
JP6007452B2 (ja) パレット及び組立式コンテナ
JP3067105B1 (ja) 段積み、段吊りできる搬送具
KR20110011633U (ko) 팔레트 이송장치
KR101289010B1 (ko) 운송용 팔레트
JP3107131U (ja) ジャッキアップ用治具およびジャッキアップ装置
JPH066371U (ja) クレードル
JP2025128671A (ja) 吊り具、保持具、および吊持搬送ユニット
JP4121519B2 (ja) 重量物用パレット

Legal Events

Date Code Title Description
A621 Written request for application examination

Free format text: JAPANESE INTERMEDIATE CODE: A621

Effective date: 20110823

A977 Report on retrieval

Free format text: JAPANESE INTERMEDIATE CODE: A971007

Effective date: 20121211

A131 Notification of reasons for refusal

Free format text: JAPANESE INTERMEDIATE CODE: A131

Effective date: 20130122

A521 Request for written amendment filed

Free format text: JAPANESE INTERMEDIATE CODE: A523

Effective date: 20130213

TRDD Decision of grant or rejection written
A01 Written decision to grant a patent or to grant a registration (utility model)

Free format text: JAPANESE INTERMEDIATE CODE: A01

Effective date: 20130702

A61 First payment of annual fees (during grant procedure)

Free format text: JAPANESE INTERMEDIATE CODE: A61

Effective date: 20130715

R150 Certificate of patent or registration of utility model

Ref document number: 5332415

Country of ref document: JP

Free format text: JAPANESE INTERMEDIATE CODE: R150

Free format text: JAPANESE INTERMEDIATE CODE: R150

R250 Receipt of annual fees

Free format text: JAPANESE INTERMEDIATE CODE: R250

R250 Receipt of annual fees

Free format text: JAPANESE INTERMEDIATE CODE: R250

R250 Receipt of annual fees

Free format text: JAPANESE INTERMEDIATE CODE: R250

R250 Receipt of annual fees

Free format text: JAPANESE INTERMEDIATE CODE: R250

R250 Receipt of annual fees

Free format text: JAPANESE INTERMEDIATE CODE: R250