JP2010058062A - フッ素樹脂多孔膜、その製造方法及びフィルター - Google Patents
フッ素樹脂多孔膜、その製造方法及びフィルター Download PDFInfo
- Publication number
- JP2010058062A JP2010058062A JP2008227108A JP2008227108A JP2010058062A JP 2010058062 A JP2010058062 A JP 2010058062A JP 2008227108 A JP2008227108 A JP 2008227108A JP 2008227108 A JP2008227108 A JP 2008227108A JP 2010058062 A JP2010058062 A JP 2010058062A
- Authority
- JP
- Japan
- Prior art keywords
- solvent
- fluororesin
- dispersion
- soluble resin
- film
- Prior art date
- Legal status (The legal status is an assumption and is not a legal conclusion. Google has not performed a legal analysis and makes no representation as to the accuracy of the status listed.)
- Granted
Links
- 239000012528 membrane Substances 0.000 title claims abstract description 43
- 238000004519 manufacturing process Methods 0.000 title claims abstract description 18
- 229920005989 resin Polymers 0.000 claims abstract description 62
- 239000011347 resin Substances 0.000 claims abstract description 62
- 229920001187 thermosetting polymer Polymers 0.000 claims abstract description 46
- 239000006185 dispersion Substances 0.000 claims abstract description 38
- 239000002904 solvent Substances 0.000 claims abstract description 20
- 238000010828 elution Methods 0.000 claims abstract description 19
- 238000000034 method Methods 0.000 claims abstract description 16
- 238000010438 heat treatment Methods 0.000 claims abstract description 9
- 239000007788 liquid Substances 0.000 claims description 17
- 229920000728 polyester Polymers 0.000 claims description 11
- 229930182556 Polyacetal Natural products 0.000 claims description 2
- 239000004952 Polyamide Substances 0.000 claims description 2
- 239000002202 Polyethylene glycol Substances 0.000 claims description 2
- 239000004372 Polyvinyl alcohol Substances 0.000 claims description 2
- 229920002647 polyamide Polymers 0.000 claims description 2
- 229920001223 polyethylene glycol Polymers 0.000 claims description 2
- 229920006324 polyoxymethylene Polymers 0.000 claims description 2
- 229920002451 polyvinyl alcohol Polymers 0.000 claims description 2
- 239000000126 substance Substances 0.000 abstract description 22
- 239000011148 porous material Substances 0.000 abstract description 16
- 239000010408 film Substances 0.000 description 45
- 150000001875 compounds Chemical class 0.000 description 10
- 239000004593 Epoxy Substances 0.000 description 7
- 229920001343 polytetrafluoroethylene Polymers 0.000 description 6
- 239000004810 polytetrafluoroethylene Substances 0.000 description 6
- RTZKZFJDLAIYFH-UHFFFAOYSA-N Diethyl ether Chemical compound CCOCC RTZKZFJDLAIYFH-UHFFFAOYSA-N 0.000 description 5
- 230000015572 biosynthetic process Effects 0.000 description 5
- -1 for example Polymers 0.000 description 5
- 238000003756 stirring Methods 0.000 description 5
- PXGOKWXKJXAPGV-UHFFFAOYSA-N Fluorine Chemical compound FF PXGOKWXKJXAPGV-UHFFFAOYSA-N 0.000 description 4
- 239000002253 acid Substances 0.000 description 4
- 229910052731 fluorine Inorganic materials 0.000 description 4
- 239000011737 fluorine Substances 0.000 description 4
- 238000012643 polycondensation polymerization Methods 0.000 description 4
- 239000002033 PVDF binder Substances 0.000 description 3
- BLRPTPMANUNPDV-UHFFFAOYSA-N Silane Chemical group [SiH4] BLRPTPMANUNPDV-UHFFFAOYSA-N 0.000 description 3
- 238000004090 dissolution Methods 0.000 description 3
- 239000002245 particle Substances 0.000 description 3
- 229920002981 polyvinylidene fluoride Polymers 0.000 description 3
- 238000000926 separation method Methods 0.000 description 3
- 238000013019 agitation Methods 0.000 description 2
- 125000003342 alkenyl group Chemical group 0.000 description 2
- 125000000217 alkyl group Chemical group 0.000 description 2
- IISBACLAFKSPIT-UHFFFAOYSA-N bisphenol A Chemical compound C=1C=C(O)C=CC=1C(C)(C)C1=CC=C(O)C=C1 IISBACLAFKSPIT-UHFFFAOYSA-N 0.000 description 2
- PXKLMJQFEQBVLD-UHFFFAOYSA-N bisphenol F Chemical compound C1=CC(O)=CC=C1CC1=CC=C(O)C=C1 PXKLMJQFEQBVLD-UHFFFAOYSA-N 0.000 description 2
- 238000006243 chemical reaction Methods 0.000 description 2
- 239000002270 dispersing agent Substances 0.000 description 2
- 239000003995 emulsifying agent Substances 0.000 description 2
- 239000003822 epoxy resin Substances 0.000 description 2
- 239000000203 mixture Substances 0.000 description 2
- 229920000647 polyepoxide Polymers 0.000 description 2
- 239000004065 semiconductor Substances 0.000 description 2
- 239000007787 solid Substances 0.000 description 2
- 239000010409 thin film Substances 0.000 description 2
- KGRVJHAUYBGFFP-UHFFFAOYSA-N 2,2'-Methylenebis(4-methyl-6-tert-butylphenol) Chemical compound CC(C)(C)C1=CC(C)=CC(CC=2C(=C(C=C(C)C=2)C(C)(C)C)O)=C1O KGRVJHAUYBGFFP-UHFFFAOYSA-N 0.000 description 1
- FUIQBJHUESBZNU-UHFFFAOYSA-N 2-[(dimethylazaniumyl)methyl]phenolate Chemical compound CN(C)CC1=CC=CC=C1O FUIQBJHUESBZNU-UHFFFAOYSA-N 0.000 description 1
- AOBIOSPNXBMOAT-UHFFFAOYSA-N 2-[2-(oxiran-2-ylmethoxy)ethoxymethyl]oxirane Chemical compound C1OC1COCCOCC1CO1 AOBIOSPNXBMOAT-UHFFFAOYSA-N 0.000 description 1
- 150000007513 acids Chemical class 0.000 description 1
- IMUDHTPIFIBORV-UHFFFAOYSA-N aminoethylpiperazine Chemical compound NCCN1CCNCC1 IMUDHTPIFIBORV-UHFFFAOYSA-N 0.000 description 1
- 238000006482 condensation reaction Methods 0.000 description 1
- 229920001577 copolymer Polymers 0.000 description 1
- 238000000354 decomposition reaction Methods 0.000 description 1
- 230000006866 deterioration Effects 0.000 description 1
- GYZLOYUZLJXAJU-UHFFFAOYSA-N diglycidyl ether Chemical compound C1OC1COCC1CO1 GYZLOYUZLJXAJU-UHFFFAOYSA-N 0.000 description 1
- 125000005442 diisocyanate group Chemical group 0.000 description 1
- 125000002573 ethenylidene group Chemical group [*]=C=C([H])[H] 0.000 description 1
- 238000001125 extrusion Methods 0.000 description 1
- 238000001914 filtration Methods 0.000 description 1
- 238000007654 immersion Methods 0.000 description 1
- 239000012535 impurity Substances 0.000 description 1
- 239000012948 isocyanate Substances 0.000 description 1
- 238000002156 mixing Methods 0.000 description 1
- 238000012986 modification Methods 0.000 description 1
- 230000004048 modification Effects 0.000 description 1
- 125000000896 monocarboxylic acid group Chemical group 0.000 description 1
- 239000000178 monomer Substances 0.000 description 1
- 229920003986 novolac Polymers 0.000 description 1
- 125000005010 perfluoroalkyl group Chemical group 0.000 description 1
- 150000002989 phenols Chemical class 0.000 description 1
- 229920001451 polypropylene glycol Polymers 0.000 description 1
- 229920001296 polysiloxane Polymers 0.000 description 1
- 150000003512 tertiary amines Chemical class 0.000 description 1
- BFKJFAAPBSQJPD-UHFFFAOYSA-N tetrafluoroethene Chemical group FC(F)=C(F)F BFKJFAAPBSQJPD-UHFFFAOYSA-N 0.000 description 1
- 229920001169 thermoplastic Polymers 0.000 description 1
- 229920002803 thermoplastic polyurethane Polymers 0.000 description 1
- 239000004416 thermosoftening plastic Substances 0.000 description 1
- 238000005406 washing Methods 0.000 description 1
- XLYOFNOQVPJJNP-UHFFFAOYSA-N water Substances O XLYOFNOQVPJJNP-UHFFFAOYSA-N 0.000 description 1
Images
Landscapes
- Separation Using Semi-Permeable Membranes (AREA)
- Processes Of Treating Macromolecular Substances (AREA)
- Manufacture Of Porous Articles, And Recovery And Treatment Of Waste Products (AREA)
Abstract
【解決手段】溶剤可溶型樹脂を熱硬化性フッ素樹脂中に分散して分散液を作成する分散工程、前記分散液を製膜する製膜工程、前記熱硬化性フッ素樹脂を加熱して硬化する硬化工程、及び硬化した前記硬化した製膜から、溶剤可溶型樹脂を溶剤により溶出する溶出工程、を有する方法により製造されることを特徴とするフッ素樹脂多孔膜、及びその製造方法。
【選択図】 図4
Description
溶剤可溶型樹脂を熱硬化性フッ素樹脂中に分散して分散液を作成する分散工程、
前記分散液を製膜する製膜工程、
製膜された前記分散液を加熱して前記熱硬化性フッ素樹脂を硬化する硬化工程、及び
硬化した分散液の製膜から、溶剤可溶型樹脂を、溶剤により溶出する溶出工程、を有する方法により製造されることを特徴とするフッ素樹脂多孔膜である。
溶剤可溶型樹脂を熱硬化性フッ素樹脂中に分散して分散液を作成する分散工程、
前記分散液を製膜する製膜工程、
製膜された前記分散液を加熱して前記熱硬化性フッ素樹脂を硬化する硬化工程、及び
硬化した分散液の製膜から、前記溶剤可溶型樹脂を、溶剤により溶出する溶出工程、を有することを特徴とするフッ素樹脂多孔膜の製造方法を提供するものである。
[式中、n=2〜50であり、R1、R2、R3、R4、R5及びR6はアルキル基又はアルケニル基であり、但し、R1、R2及びR3の中の少なくとも1の基、並びに、R4、R5及びR6の中の少なくとも1の基は、アルケニル基である。]で表されるパーフルオロアルキルエーテルを有するシリコーン化合物。
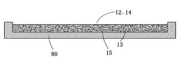
本発明のフッ素樹脂多孔膜の各製造工程を、図1に基づき説明する。
11 分散液
12 液状の膜
13 熱硬化性フッ素樹脂
14 硬化膜
15 溶剤可溶型樹脂
17 空孔
70 撹拌槽
71 撹拌用回転腕
80 製膜用型
90 溶出槽
91 溶剤
Claims (5)
- 溶剤可溶型樹脂を熱硬化性フッ素樹脂中に分散して分散液を作成する分散工程、
前記分散液を製膜する製膜工程、
製膜された前記分散液を加熱して前記熱硬化性フッ素樹脂を硬化する硬化工程、及び
硬化した分散液の製膜から、溶剤可溶型樹脂を、溶剤により溶出する溶出工程、を有する方法により製造されることを特徴とするフッ素樹脂多孔膜。 - 溶剤可溶型樹脂が、ポリビニルアルコール、ポリアセタール、ポリアミド、ポリエチレングリコール、ポリエステル及びポリアクリルからなる群より選ばれる樹脂であることを特徴とする請求項1に記載のフッ素樹脂多孔膜。
- 前記溶剤可溶型樹脂の量が、前記熱硬化性フッ素樹脂の20〜90重量%であることを特徴とする請求項1又は請求項2に記載のフッ素樹脂多孔膜。
- 溶剤可溶型樹脂を熱硬化性フッ素樹脂中に分散して分散液を作成する分散工程、
前記分散液を製膜する製膜工程、
製膜された前記分散液を加熱して前記熱硬化性フッ素樹脂を硬化する硬化工程、及び
硬化した分散液の製膜から、前記溶剤可溶型樹脂を、溶剤により溶出する溶出工程、を有することを特徴とするフッ素樹脂多孔膜の製造方法。 - 請求項1ないし請求項3のいずれか1項に記載のフッ素樹脂多孔膜からなることを特徴とするフィルター。
Priority Applications (1)
| Application Number | Priority Date | Filing Date | Title |
|---|---|---|---|
| JP2008227108A JP4998858B2 (ja) | 2008-09-04 | 2008-09-04 | フッ素樹脂多孔膜、その製造方法及びフィルター |
Applications Claiming Priority (1)
| Application Number | Priority Date | Filing Date | Title |
|---|---|---|---|
| JP2008227108A JP4998858B2 (ja) | 2008-09-04 | 2008-09-04 | フッ素樹脂多孔膜、その製造方法及びフィルター |
Publications (2)
| Publication Number | Publication Date |
|---|---|
| JP2010058062A true JP2010058062A (ja) | 2010-03-18 |
| JP4998858B2 JP4998858B2 (ja) | 2012-08-15 |
Family
ID=42185477
Family Applications (1)
| Application Number | Title | Priority Date | Filing Date |
|---|---|---|---|
| JP2008227108A Active JP4998858B2 (ja) | 2008-09-04 | 2008-09-04 | フッ素樹脂多孔膜、その製造方法及びフィルター |
Country Status (1)
| Country | Link |
|---|---|
| JP (1) | JP4998858B2 (ja) |
Cited By (4)
| Publication number | Priority date | Publication date | Assignee | Title |
|---|---|---|---|---|
| GB2520631A (en) * | 2013-11-25 | 2015-05-27 | Esp Technology Ltd | Polymer process |
| JP2015112601A (ja) * | 2013-12-10 | 2015-06-22 | アンドレーアス,マソルト | フィルター |
| WO2020009207A1 (ja) * | 2018-07-06 | 2020-01-09 | 富士フイルム株式会社 | フィルタ、フィルタの製造方法、ろ過装置、薬液の製造方法 |
| JP2022103063A (ja) * | 2020-12-25 | 2022-07-07 | キヤノン株式会社 | 樹脂膜及び耐水透湿膜 |
Citations (7)
| Publication number | Priority date | Publication date | Assignee | Title |
|---|---|---|---|---|
| JPS60132621A (ja) * | 1983-12-21 | 1985-07-15 | Daikin Ind Ltd | 気体分離膜 |
| JPS62177039A (ja) * | 1986-01-30 | 1987-08-03 | Sunstar Giken Kk | 熱硬化性樹脂による多孔質膜の製造法 |
| JPH02261837A (ja) * | 1989-03-31 | 1990-10-24 | Shiraishi Chuo Kenkyusho:Kk | 多孔質膜の製造方法 |
| JPH0995553A (ja) * | 1995-09-29 | 1997-04-08 | Zeon Raizu Kk | 多孔質表面形成用熱硬化性樹脂組成物 |
| JP2005029779A (ja) * | 1999-06-07 | 2005-02-03 | Toshiba Corp | パターン形成材料、パターン形成方法、多孔質構造体の製造方法、電気化学セル、多孔質カーボン構造体の製造方法、および多孔質カーボン構造体 |
| JP2007014854A (ja) * | 2005-07-06 | 2007-01-25 | Kawamura Inst Of Chem Res | 濾過フィルター、濾過フィルターの製造方法および血液濾過方法 |
| JP2010042337A (ja) * | 2008-08-11 | 2010-02-25 | Sumitomo Electric Ind Ltd | フッ素樹脂多孔膜、その製造方法及びフィルター |
-
2008
- 2008-09-04 JP JP2008227108A patent/JP4998858B2/ja active Active
Patent Citations (7)
| Publication number | Priority date | Publication date | Assignee | Title |
|---|---|---|---|---|
| JPS60132621A (ja) * | 1983-12-21 | 1985-07-15 | Daikin Ind Ltd | 気体分離膜 |
| JPS62177039A (ja) * | 1986-01-30 | 1987-08-03 | Sunstar Giken Kk | 熱硬化性樹脂による多孔質膜の製造法 |
| JPH02261837A (ja) * | 1989-03-31 | 1990-10-24 | Shiraishi Chuo Kenkyusho:Kk | 多孔質膜の製造方法 |
| JPH0995553A (ja) * | 1995-09-29 | 1997-04-08 | Zeon Raizu Kk | 多孔質表面形成用熱硬化性樹脂組成物 |
| JP2005029779A (ja) * | 1999-06-07 | 2005-02-03 | Toshiba Corp | パターン形成材料、パターン形成方法、多孔質構造体の製造方法、電気化学セル、多孔質カーボン構造体の製造方法、および多孔質カーボン構造体 |
| JP2007014854A (ja) * | 2005-07-06 | 2007-01-25 | Kawamura Inst Of Chem Res | 濾過フィルター、濾過フィルターの製造方法および血液濾過方法 |
| JP2010042337A (ja) * | 2008-08-11 | 2010-02-25 | Sumitomo Electric Ind Ltd | フッ素樹脂多孔膜、その製造方法及びフィルター |
Cited By (9)
| Publication number | Priority date | Publication date | Assignee | Title |
|---|---|---|---|---|
| GB2520631A (en) * | 2013-11-25 | 2015-05-27 | Esp Technology Ltd | Polymer process |
| GB2520546A (en) * | 2013-11-25 | 2015-05-27 | Esp Technology Ltd | Polymer process |
| GB2520631B (en) * | 2013-11-25 | 2016-10-26 | Esp Tech Ltd | Perfluoropolymer processing with perfluorinated solvents |
| JP2015112601A (ja) * | 2013-12-10 | 2015-06-22 | アンドレーアス,マソルト | フィルター |
| WO2020009207A1 (ja) * | 2018-07-06 | 2020-01-09 | 富士フイルム株式会社 | フィルタ、フィルタの製造方法、ろ過装置、薬液の製造方法 |
| JPWO2020009207A1 (ja) * | 2018-07-06 | 2021-07-15 | 富士フイルム株式会社 | フィルタ、フィルタの製造方法、ろ過装置、薬液の製造方法 |
| JP2023174700A (ja) * | 2018-07-06 | 2023-12-08 | 富士フイルム株式会社 | フィルタ、フィルタの製造方法、ろ過装置、薬液の製造方法 |
| JP7629066B2 (ja) | 2018-07-06 | 2025-02-12 | 富士フイルム株式会社 | フィルタ、フィルタの製造方法、ろ過装置、薬液の製造方法 |
| JP2022103063A (ja) * | 2020-12-25 | 2022-07-07 | キヤノン株式会社 | 樹脂膜及び耐水透湿膜 |
Also Published As
| Publication number | Publication date |
|---|---|
| JP4998858B2 (ja) | 2012-08-15 |
Similar Documents
| Publication | Publication Date | Title |
|---|---|---|
| Guan et al. | Superwetting polymeric three dimensional (3d) porous materials for oil/water separation: A review | |
| Zhang et al. | Enhanced anti‐wetting methods of hydrophobic membrane for membrane distillation | |
| JP2010042337A (ja) | フッ素樹脂多孔膜、その製造方法及びフィルター | |
| Quevedo et al. | Interfacial polymerization within a simplified microfluidic device: capturing capsules | |
| JP4662900B2 (ja) | 多孔性アガロースビーズを製造するための方法及び装置 | |
| JP4998858B2 (ja) | フッ素樹脂多孔膜、その製造方法及びフィルター | |
| JP2010099654A (ja) | 複合半透膜及びその製造方法 | |
| JP5134480B2 (ja) | エポキシ樹脂多孔質膜及びその製造方法 | |
| JP2010121122A (ja) | 熱硬化性樹脂多孔シートの製造方法、熱硬化性樹脂多孔シート、及びそれを用いた複合半透膜 | |
| US11312066B2 (en) | Method of making three-dimensional objects by additive manufacturing | |
| CN101481081A (zh) | 复合结构超疏水膜的制备方法 | |
| WO2006073173A1 (ja) | エポキシ樹脂硬化物多孔体 | |
| Zhang et al. | Swelling poly (ionic liquid) supported by three-dimensional wire mesh for oil/water separation | |
| Zheng et al. | Reticulated polyamide thin-film nanocomposite membranes incorporated with 2D boron nitride nanosheets for high-performance nanofiltration | |
| US11104768B2 (en) | Process for the processing of a perfluoropolymer material | |
| JP2009269948A (ja) | 多孔体及びその製造方法 | |
| Yang et al. | Comprehensive exploration of polyvinyl alcohol-tannic acid self-assembled hydrogel-coated PVDF membranes for efficient oil-water emulsion separation | |
| JP2009269161A (ja) | 三次元網目構造多孔体からなるスラリー分離材及びその製造方法 | |
| JP2010207777A (ja) | カラムリアクター及びその製造方法 | |
| Uricchio et al. | Atmospheric pressure plasma-treated polyurethane foam as reusable absorbent for removal of oils and Organic Solvents from Water | |
| US20210107211A1 (en) | Lip supports useful for making objects by additive manufacturing | |
| JP2009109079A (ja) | ループヒートパイプ型伝熱装置 | |
| CN1624026A (zh) | 由树状支化分子制备交联聚合物膜的方法 | |
| WO2000049068A1 (en) | Fluoropolymer finishing process | |
| JP2011056417A (ja) | 分離膜及び分離膜複合体並びに前記分離膜の製造方法 |
Legal Events
| Date | Code | Title | Description |
|---|---|---|---|
| A621 | Written request for application examination |
Free format text: JAPANESE INTERMEDIATE CODE: A621 Effective date: 20110822 |
|
| A977 | Report on retrieval |
Free format text: JAPANESE INTERMEDIATE CODE: A971007 Effective date: 20120315 |
|
| TRDD | Decision of grant or rejection written | ||
| A01 | Written decision to grant a patent or to grant a registration (utility model) |
Free format text: JAPANESE INTERMEDIATE CODE: A01 Effective date: 20120423 |
|
| A01 | Written decision to grant a patent or to grant a registration (utility model) |
Free format text: JAPANESE INTERMEDIATE CODE: A01 |
|
| R150 | Certificate of patent or registration of utility model |
Ref document number: 4998858 Country of ref document: JP Free format text: JAPANESE INTERMEDIATE CODE: R150 Free format text: JAPANESE INTERMEDIATE CODE: R150 |
|
| A61 | First payment of annual fees (during grant procedure) |
Free format text: JAPANESE INTERMEDIATE CODE: A61 Effective date: 20120506 |
|
| FPAY | Renewal fee payment (event date is renewal date of database) |
Free format text: PAYMENT UNTIL: 20150525 Year of fee payment: 3 |
|
| R250 | Receipt of annual fees |
Free format text: JAPANESE INTERMEDIATE CODE: R250 |
|
| R250 | Receipt of annual fees |
Free format text: JAPANESE INTERMEDIATE CODE: R250 |
|
| R250 | Receipt of annual fees |
Free format text: JAPANESE INTERMEDIATE CODE: R250 |
|
| R250 | Receipt of annual fees |
Free format text: JAPANESE INTERMEDIATE CODE: R250 |
|
| R250 | Receipt of annual fees |
Free format text: JAPANESE INTERMEDIATE CODE: R250 |
|
| R250 | Receipt of annual fees |
Free format text: JAPANESE INTERMEDIATE CODE: R250 |
|
| R250 | Receipt of annual fees |
Free format text: JAPANESE INTERMEDIATE CODE: R250 |
|
| R250 | Receipt of annual fees |
Free format text: JAPANESE INTERMEDIATE CODE: R250 |
|
| R250 | Receipt of annual fees |
Free format text: JAPANESE INTERMEDIATE CODE: R250 |
|
| R250 | Receipt of annual fees |
Free format text: JAPANESE INTERMEDIATE CODE: R250 |
|
| R250 | Receipt of annual fees |
Free format text: JAPANESE INTERMEDIATE CODE: R250 |
