JP2010057047A - 管理用センサシステム及びセンサ棚 - Google Patents

管理用センサシステム及びセンサ棚 Download PDF

Info

Publication number
JP2010057047A
JP2010057047A JP2008221587A JP2008221587A JP2010057047A JP 2010057047 A JP2010057047 A JP 2010057047A JP 2008221587 A JP2008221587 A JP 2008221587A JP 2008221587 A JP2008221587 A JP 2008221587A JP 2010057047 A JP2010057047 A JP 2010057047A
Authority
JP
Japan
Prior art keywords
sensor
coil
magnetic field
shelf
management
Prior art date
Legal status (The legal status is an assumption and is not a legal conclusion. Google has not performed a legal analysis and makes no representation as to the accuracy of the status listed.)
Granted
Application number
JP2008221587A
Other languages
English (en)
Other versions
JP5329874B2 (ja
Inventor
Kunitaka Arimura
國孝 有村
Current Assignee (The listed assignees may be inaccurate. Google has not performed a legal analysis and makes no representation or warranty as to the accuracy of the list.)
Smart Co Ltd Japan
Original Assignee
Smart Co Ltd Japan
Priority date (The priority date is an assumption and is not a legal conclusion. Google has not performed a legal analysis and makes no representation as to the accuracy of the date listed.)
Filing date
Publication date
Application filed by Smart Co Ltd Japan filed Critical Smart Co Ltd Japan
Priority to JP2008221587A priority Critical patent/JP5329874B2/ja
Publication of JP2010057047A publication Critical patent/JP2010057047A/ja
Application granted granted Critical
Publication of JP5329874B2 publication Critical patent/JP5329874B2/ja
Expired - Fee Related legal-status Critical Current
Anticipated expiration legal-status Critical

Links

Images

Landscapes

  • Near-Field Transmission Systems (AREA)

Abstract

【課題】情報記録媒体が貼り付けられた物品を収容する棚の金属板や金属側板からの影響を軽減でき、金属棚に戴置された物品の情報記録媒体の情報を読み取り管理することができる管理用センサシステム及びセンサ棚の提供。
【解決手段】コイルCtと、コイルCtに接続され物品に関するID等の情報を記憶するICとを有し、物品に貼付されるタグTと、磁性体6と、磁性体6に間隔Pで巻回されたコイル2とを有し、コイル2に流れる電流Iにより磁界を発生させコイルCtと電磁結合することにより、タグTのICに記憶されたID等の物品に関する情報の送受信を行うセンサ#1,#2と、コイル2の軸方向と平行な面を有し、コイル2が巻回された磁性体6の一面に接し、センサ#1,#2の感度を向上させるためのセンサホルダMCとを備え、センサ#1,#2は、コイル2の軸方向に平行な磁界Hhによって、タグTと物品に関する情報の送受信を行う。
【選択図】図3

Description

本発明は、管理用センサシステム及びセンサ棚に関するものである。詳しくは、RFID(Radio Frequency IDentification)のセンサを用いて、図書やファイル、書類、記録媒体、銃器等、管理する対象物(ターゲット)となる物品にRFIDのタグを取付け、図書やファイル、書類、記録媒体、銃器等のターゲットをセンサやリーダライタ装置(R/W)を介してPC(パーソナルコンピュータ)で管理する管理用センサシステム及びセンサ棚に関するものである。
RFIDのセンサやタグが金属面の近くにあるときは、金属面に誘導電流を発生させ、センサやタグの磁界や電流を打ち消す方向に働くため、これらの通信感度が著しく低下する。
例えば、図書館の図書等の管理を行う場合、図書の表紙または裏表紙にあるいはファイルや記録媒体に直かにあるいはケース等の物品(これらを総称して管理するターゲット(対象物)とする)に、平面コイルと平面コイルに接続されたIC(Integrated Circuit)とからなるICタグ(情報記録媒体)を貼りつけ、このコイルを通過する磁界を作るためのセンサを構成するようにしている。しかしながら、センサアンテナ自体であるセンサのコイルの近傍に金属面が存在することにより、センサアンテナから発生する磁界の一部が打ち消されたり、妨害を受けたりしてタグを励振するための充分な磁界が届かなくなる。このため、金属棚上の図書やファイル、記録媒体等のターゲットに貼られたタグの情報が読めなくなる。また、センサとセンサの継ぎ目では水平磁界(後述する実施例において詳しく説明する)が無くなったり、乱れたりして、この部分でも図書等のターゲットに貼り付けたタグの情報が読めない。
金属棚の影響のみでなく、金属棚を支える両側の側板の金属板によっても図書やファイルや記録媒体等のターゲットに貼られているタグのコイル(以下、タグコイル)の磁界が打ち消されたり、コイルが金属面により遮蔽されたりして、近傍にある図書等のターゲットに貼り付けたタグの情報を読むことができなくなる。
また前後(前後の位置関係については実施例で説明する図9を参照)に置かれた書棚や管理棚の場合、このセンサ同士の磁界が結合し、干渉を起こすため、ターゲットのタグの情報を読まなくなる。
このような問題は、上述のように図書等を管理する場合だけでなく、例えば銃器類を管理する場合等、さまざまな物品にタグを取付けて管理する場合に起こり得る。
また、多数のタグが向き合って取付けられる場合、タグ間の相互インダクタンスが増加し、タグ間の干渉が発生するため共振周波数がずれ、タグとセンサ間の通信が行われ難くなり感度が著しく低下する。現在これを避けるため書類等の厚みが20〜25mm以上でないと読めず、この厚さ以上の管理を行うことに限定した使用目的となっている。これらを解決する発明もいくつかなされている(例えば、特許文献1乃至3参照)。
特開2003−317052号公報 特開2008−129850号公報 特開2008−131344号公報
図書棚等の場合、金属棚の上に本が縦に置かれて横並びに重畳される。そして、並べられた本の上側面には鉄やアルミ板等の金属板が用いられ、この上面にセンサアンテナが載せられプラスチック板等によりカバーされ、更にその上にタグを貼りつけた図書やファイル、記録媒体等のターゲットが棚の上に数十冊載せられる構造となる。棚の各段に設置されたセンサは、これらのターゲットに貼り付けられたタグの情報を総て読む必要がある。しかしながらこのような場合には、金属棚の影響により、センサの磁界がターゲットに貼られたタグに充分に届かない。
そこで、周囲の金属板、特に棚の金属板と両サイドの側板からの影響等をなくし、金属棚に収容された全数の図書や書類、ファイル、プラスチック板等のターゲットに貼られたタグの情報を読み取るようにすることが本発明の目的である。また、CD,DVD等が重ねて戴置されている場合には、これらに貼り付けられたタグの情報を読むことを要求されているが、これもCDやDVD等に貼られたタグのコイルにセンサの磁界が金属面等の影響もあって充分に届かない。また銃器等を管理する場合には、センサにより銃器等の隙間に取付けられた特殊タグの情報を読むことも要求される。
また、上下段の棚のセンサの干渉、前後の棚の干渉をなくさねばならない。更に、棚の金属支柱や仕切り板の影響をなくさねばならない。
本発明は、このような点に着目してなされたものであり、情報記録媒体が貼り付けられた物品を収容する棚の金属板や金属側板からの影響を軽減でき、金属棚に戴置された物品の情報記録媒体の情報を読み取り管理することができる管理用センサシステム及びセンサ棚を提供することを課題とする。
本発明は下記の構成を備えることにより、上記課題を解決できるものである。
金属面上に置かれた、
1.断面が四角形状の細長い棒状の磁性体に短辺に沿って(粗巻の状態で)ある程度間隔をおいてコイルを巻き、コイルの軸方向に発生する磁界と平行なコイルの外側や磁性体の外側に発生する横方向の磁界を用いて、このセンサ面と直角な方向でコイルの断面とほぼ平行な方向に置かれた非接触ICカードまたはICタグが貼り付けられた図書や書類やボックスやファイル、記録媒体等の紙やプラスチックに貼り付けたICタグを読み取ったり(書き込んだり)することを特徴とする図書、ファイル、プラスチック板、媒体等のターゲットの管理用センサシステム。
2.細長い棒状の磁性体に棒状のほぼ中心部あるいは片端より両側に向って平列に1本ないしは2本のコイルをほぼ等間隔に短辺に沿って2〜30mmの間隔をおき、粗巻の状態でコイルを巻き、コイルの軸方向に沿って発生するコイルの外側や磁性体の外側で金属面を反対側の磁界を用いて、このセンサ面と直角な方向でコイルの断面とほぼ平行な方向に置かれた非接触式ICカードまたはICタグが貼りつけられた図書や書類やボックスやファイル等の紙やプラスチック板やフィルム媒体等のターゲットが磁界の方向に沿って並べられ、これを読み取ったり書き込んだりすることを特徴とする図書、ファイル媒体等のターゲット管理用センサシステム。
3.棚の長さが90cmのとき、センサを収納するケースを45cmの長さに分割し、この分割されたケースの中に1個のセンサを収納する場合と、2個のセンサを収納する場合と、4個のセンサを収納する場合と、8個のセンサを収納する場合とに分け、本や書類等のターゲットが薄くなるに従ってタグの間隔が近づき、従って収容するセンサの数を増することにより、給電電力密度を上昇させることにより感度を増し、タグ間の相互インダクタンスの影響で共振周波数がずれて読み難くなるのを改善することを特徴とする図書、ファイルや媒体等のターゲット管理用センサシステム。
4.棚の長さが90cmのとき、センサとこれを収納するケースを45cmの長さに2分割し、この分割されたケースの中に1個のセンサを収納するときは本の厚みが25mm以上のときに用い、本の厚みが25mm以下で10mm前後のときは2個のセンサを収納し、10mm以下で5mm前後の厚みが重なる場合には4個や6個のセンサを収納するようにし電力密度を更に上昇させ、更に薄い場合には6個や8個のセンサ数としセンサ感度を増し、タグとの通信感度を改善することを特徴とする図書、ファイルや媒体等のターゲットの管理用センサシステム。
5.センサコイルは直列であったり、並列であったり、中央給電であったり、片端給電であり、図書やファイル、記録媒体ターゲットの厚みがある程度あり、貼りつけられるタグ間の間隔が25mm以上とれるときは1つのセンサ長が45cm前後でコイルのピッチ間隔が25〜50mmで構成し、上記ターゲットの厚みが10mm前後の薄くタグ間の間隔が10mm前後となる時は単位のセンサ長が22cm前後でコイルのピッチ間隔が10〜30mmで構成し、上記ターゲットの厚みが5mm前後の場合の更に薄くなる場合は、単位の長さが11cm前後でコイルのピッチ間隔が4〜10mmで構成し、上記ターゲットの厚みが2.5mm前後の場合の更に薄いタグ間の干渉が更に大きくなる場合には単位のセンサ長が5.5cm前後でコイルのピッチ間隔が2〜5mmで構成し、更に上記ターゲットの厚みが1〜2mm前後の場合には単位のセンサ長が2〜3cm前後でコイルのピッチ間隔が1〜3mmで構成することを特徴とする図書、ファイル、媒体等のターゲット管理用センサシステム。
6.断面が楕円のような曲線の描く偏平の板あるいは4角状の細長い棒状の磁性体において、幅が15〜100mmで高さが0.5〜30mmの大きさであり、この磁性体に直接あるいはプラスチックシートを介して線状あるいは帯状のコイルを間隔を1mm〜30mmあけて巻くことを特徴とする図書、ファイル、媒体等のターゲットの管理用センサシステム。
7.二個以上並ぶセンサにおいて、隣のセンサの磁界で感度が零となる地点のタグを読めるように隣のセンサで補うことを特徴とする図書、ファイル、媒体等のターゲットの管理用センサシステム。
8.二個以上並ぶセンサにおいて、隣とのセンサ間に間隔を置き、ほぼ同一の幅の長さ方向に1〜4cmの長さが短い磁性体にコイルを巻き、このインダクタンスLと共振がとれるコンデンサCを備えることにより、水平の外部磁界が弱くなったり逆相となったりしないように補助センサを設け、磁界が同相あるいは90°位相となり強くなるようにしたことを特徴とする図書、ファイル、媒体等のターゲットの管理用センサシステム。
9.コイルを巻かれた0.5mm〜30mmの厚みの四角の棒状の磁性体に発生する磁界並びにこれにより励磁される外部の磁界が直接側板の金属面により発生する誘導電流により打ち消されないように側面等の金属面に沿って磁性体板を沿わせて磁路を作り、コイル電流により発生するコイルの軸方向の磁界が金属面と平行な磁路を通りUターンし、本や紙、プラスチックに取付けられたタグを励振できるようにしたことを特徴とする図書、ファイル、媒体等のターゲットの管理用センサシステム。
10.上記9において、金属面に沿う磁性体板や磁性体ブロックにLCによる共振器を取付け、タグを励振する磁界を強くし、読み取りが改善されることを特徴とする図書、ファイル、媒体、銃器等に取付けられたターゲット管理用センサシステム。
11.同一平面内に前後に備えられた棚において、前と後の棚に納められたセンサ同士の磁界による結合により発生する干渉を押えるため、棚を支える支柱を利用して前後のセンサの間に鉄板やアルミ板やステンレス板等の金属板を遮蔽板として用いることを特徴とする図書、ファイル、媒体等のターゲット管理用センサシステム。
12.金属棚の側板の一部をプラスチックとすることにより連続して棚をつなげられるようにしたことを特徴とする図書、ファイル管理用センサシステム。
13.棚を支える支柱に側板を支える金具の穴以外にケーブルの通る穴を設け、支柱の中にケーブルを通すことにより、ケーブルの束が棚上の媒体の邪魔にならないようにすることを特徴とする図書、ファイル、媒体等のターゲット管理用センサシステム。
14.CD,DVD等のケースに磁界の磁路となる磁性体片を取付けることを特徴とする管理用センサシステム。
15.CD,DVD等のスタンドに磁界の磁路となる磁性体片を取付ける管理用センサシステム。
16.銃器等にタグを取付け、金属面に強いセンサで管理するターゲット管理用センサシステム。
すなわち、本発明の技術内容は以下の構成を備えることにより前記課題を解決できた。
(1)コイルと、前記コイルに接続され物品に関する情報を記憶するICと、を有し、前記物品に貼付される情報記録媒体と、磁性体と、前記磁性体に所定の間隔で巻回されたコイルと、を有し、前記コイルに電流を流して磁界を発生させ前記情報記録媒体のコイルと電磁結合することにより、前記情報記録媒体のICに記憶された前記物品に関する情報の送受信を行う少なくとも1以上のセンサと、前記センサのコイルの軸方向と平行な面を有し、前記センサのコイルが巻回された前記磁性体の一面に接し、前記センサの感度を向上させるための金属部と、を備え、前記センサは、前記センサの磁性体と前記金属部が接する面と反対側の面の外側に発生する該センサのコイルの軸方向に平行な磁界によって、前記情報記録媒体と前記物品に関する情報の送受信を行うことを特徴とする管理用センサシステム。
(2)前記(1)に記載の管理用センサシステムにおいて、前記センサのコイルは、該センサのコイルの軸方向に物品を並べる場合の前記情報記録媒体が貼付される物品の厚みが厚い場合は、巻回する間隔を広くし、前記物品の厚みが薄い場合は巻回する間隔を狭くすることを特徴とする管理用センサシステム。
(3)前記(2)に記載の管理用センサシステムにおいて、前記情報記録媒体が貼付される物品の厚みが薄い場合には、前記情報記録媒体間の間隔も近づくのでそれに合せて前記センサのコイルの間隔も狭くし、一個一個の前記情報記録媒体のコイルとの結合がとれ、全部の前記情報記録媒体との交信が可能となるように前記センサのコイルの間隔も狭くし、前記情報記録媒体との交信を強くするようにすることを特徴とする管理用センサシステム。
(4)前記(1)乃至(3)のいずれかに記載の管理用センサシステムにおいて、2以上の前記センサを並べる場合には、前記2以上のセンサのコイルの軸方向が一致するように配置し、前記情報記録媒体が貼付される物品の厚みが厚い場合には、前記センサのコイルの軸方向の長さを長くしかつ該センサの数を減らし、前記情報記録媒体が貼付される物品の厚みが薄い場合には、前記センサのコイルの軸方向の長さを短くしかつ該センサの数を増やすことを特徴とする管理用センサシステム。
(5)前記(1)乃至(4)のいずれか1項に記載の管理用センサシステムにおいて、2以上の前記センサを並べる場合に前記センサと前記センサとの間に配置され、磁性体と、前記磁性体に所定の間隔で巻回された第一のコイルと、前記第一のコイルに接続され前記センサにより発生する磁界を励振するための第一の共振器と、を有する補助手段を備えることを特徴とする管理用センサシステム。
(6)前記(1)乃至(4)のいずれか1項に記載の管理用センサシステムにおいて、2以上の前記センサを並べる場合に前記センサと前記センサとの間に配置され、磁性体と、前記磁性体に所定の間隔で巻回された第一のコイルと、前記第一のコイルに接続され前記センサにより発生する磁界を励振するための第一の共振器と、前記第一のコイルに直交するように前記磁性体に巻回された第二のコイルと、前記第二のコイルに接続される第二の共振器と、を有する補助手段を備えることを特徴とする管理用センサシステム。
(7)前記(1)乃至(6)のいずれか1項に記載の管理用センサシステムにおいて、端部に配置される前記センサは、前記センサの磁性体が発生する磁界の磁路を前記センサのコイルの軸方向に平行な磁界へと導くための誘導手段を有することを特徴とする管理用センサシステム。
(8)前記(7)に記載の管理用センサシステムにおいて、前記誘導手段は、前記センサの磁性体の端部を逆L字形に形成したものであることを特徴とする管理用センサシステム。
(9)前記(1)乃至(8)のいずれか1項に記載の管理用センサシステムにおいて、前記センサのコイルは、前記センサの磁性体の端部から他方の端部に向かって巻回されることを特徴とする管理用センサシステム。
(10)前記(1)乃至(8)のいずれか1項に記載の管理用センサシステムにおいて、前記センサのコイルは、前記センサの磁性体の中央部から両端部に向かって巻回されることを特徴とする管理用センサシステム。
(11)前記(1)乃至(10)のいずれか1項に記載の管理用センサシステムにおいて、前記センサのコイルは、線状又は帯状であることを特徴とする管理用センサシステム。
(12)前記(1)乃至(11)のいずれか1項に記載の管理用センサシステムにおいて、前記センサの磁性体は、断面が平たい矩形又は楕円形であることを特徴とする管理用センサシステム。
(13)前記(1)乃至(12)のいずれか1項に記載の管理用センサシステムにおいて、前記センサで送受信した前記物品に関する情報を読み取り又は書き込む読取書込装置と、前記センサと前記読取書込装置との整合をとるための整合装置と、前記センサと前記整合装置とを接続する同軸ケーブルと、前記読取書込装置によって読み取り又は書き込んだ前記物品に関する情報を管理するためのコンピュータと、を備えることを特徴とする管理用センサシステム。
(14)前記(1)乃至(13)のいずれか1項に記載の管理用センサシステムを備え、前記金属部は、前記少なくとも1以上のセンサを収容するセンサ収容部であり、前記センサ収容部を収納する棚と、前記棚の両端に配置される側板と、前記側板が設置され、前記棚及び該側板を支える2つの支柱と、を備えることを特徴とするセンサ棚。
(15)前記(14)に記載のセンサ棚において、前記2つの支柱の間に設置される遮蔽手段を備えることを特徴とするセンサ棚。
(16)前記(14)又は(15)に記載のセンサ棚において、前記側板は、金属又はプラスチックにより形成されることを特徴とするセンサ棚。
(17)前記(14)乃至(16)のいずれか1項に記載のセンサ棚において、前記支柱は、前記同軸ケーブルが収容される穴部を有することを特徴とするセンサ棚。
(18)前記(15)乃至(17)のいずれか1項に記載のセンサ棚において、前記支柱は、長穴を有し、前記遮蔽手段は、前記長穴に取付けるための爪部を有し、前記側板は、支持部材を有することを特徴とするセンサ棚。
(19)前記(14)乃至(18)のいずれか1項に記載のセンサ棚において、前記情報記録媒体を貼付する物品は、CD又はDVDを含む記録媒体であり、前記CD又は前記DVDのプラスチックケースに貼り付けて磁路を作り、前記センサと前記情報記録媒体との結合を強くするための磁性体片を備えることを特徴とするセンサ棚。
(20)前記(14)乃至(18)のいずれか1項に記載のセンサ棚において、前記情報記録媒体を貼付する物品は、CD又はDVDを含む記録媒体であり、前記CD又は前記DVDを収納するためのホルダに貼り付けて磁路を作り、前記センサと前記情報記録媒体との結合を強くするための磁性体片を備えることを特徴とするセンサ棚。
(21)前記(14)乃至(18)のいずれか1項に記載のセンサ棚において、前記情報記録媒体を貼付する物品は、銃器であり、前記情報記録媒体は、前記銃器の台尻に貼付されることを特徴とするセンサ棚。
本発明によれば、情報記録媒体が貼り付けられた物品を収容する棚の金属板や金属側板からの影響を軽減でき、金属棚に戴置された物品の情報記録媒体の情報を読み取り管理することができる。
すなわち、金属面や金属棚上に存在する磁性体板に巻かれたコイルセンサにより発生する磁界が、金属面と平行であるため通信に悪い影響を与えるエディカレント(eddy current:渦電流)やサーキュラーカレント(circular current:環電流)を発生させず、金属板によるイメージ効果により磁束が2倍となり、感度が上昇する磁界が得られる。このため、このセンサ上に置かれたタグとの交信(通信)が効率よく行われ、例えば、図書の場合では1cm厚以下、ファイルの場合には5mm厚以下の厚みの書類にタグが取付けられたものをよく読み取ることが可能となる。なお、同一のセンサを用いれば図書の厚みは5mmのものでも読み取ることができる。
また、従来ソレノイド形コイルと云うと密巻と云うことが常識であったが、2mm〜30mm間隔の粗巻のコイルとすることにより、巻数の増大によるインダクタンスの上昇を押えることができる。またコイルを巻く磁性体の透磁率が高いために、それ程厚くしなくても外部に強い磁界を発生させることができ、コイルや磁性体の断面が大きくなってもコイルを粗巻とすることにより、インダクタンスの増大を制御することができる。また、並列にコイルを巻くことにより、インダクタンスの増大を押える適当な大きさのインダクタンスとすることができる。
センサの中心部より対称にコイルを巻くことにより、中心が最大となり、ほぼ均一な台形状の磁界分布を実現できる。
センサとセンサとの間のセンサ感度零の地点(零点)に、補助コイルや補助センサ(補助手段)を設けたり、零点に共振器を設けたりして感度が一様になるようにすることができ、かつ、センサの継ぎ目で感度が零となることを改善することができる。
金属棚の側板が金属板で構成されていても金属側板や金属体によりタグ(情報記録媒体)の情報が読めなくなることを防止する磁路やLCによる共振器等による構成と改善を行うことができる。
金属棚が前後にあったりした場合にセンサ同士が干渉し、リーダが読みづらくなるのを、センサ同士の中間(前後の間)に遮蔽金属板(遮蔽手段)を備えることにより容易に読めるようにすることができる。
連続した棚で構成する場合、側板の一部をプラスチックにすることにより、側板の近くのタグで読めるように改善した。CD,DVDのケースやラック等の一部に薄い磁性体(磁性体片)による磁路を設け、センサの磁界を媒体に取付けられたタグコイルに誘導し、タグのコイルを励振できるようにし、CD,DVDを重ねた状態でもタグの情報の読み取りが可能となる。
このように本発明により、図書や紙ファイル、プラスチック板、記録媒体等や銃器等の管理する対象物(ターゲット)となる物品が並べられている環境において、ターゲットに貼り付けられたタグ間の干渉があってもセンサとタグ間の通信が確保され、従来では難しいとされる金属棚上、金属面上のセンサでも、連続して、かつ、薄本やファイルに貼られたタグの情報を容易に読み取ること(リード)ができ、画期的なセンサを提供でき、したがって画期的な管理用センサシステム及びセンサ棚を提供できる。
以下本発明を実施するための最良の形態を実施例により詳しく説明する。
金属棚の上に本発明のセンサアンテナを載せて、更にその上に置かれたタグ付きの図書、紙やプラスチックファイル、CD,DVD等の薄いメディア等、更には銃器等の管理する対象物(ターゲット)となる物品を、如何にしてそれらのID(identification)(識別情報)やデータを読み、識別するかを、図面を参照して説明する。
[基本的な原理]
図1は、本発明の管理用センサシステム、すなわち、図書、ファイル、記録媒体等、銃器等のターゲット管理用センサシステムの基本的な原理を説明する図である。
図1(a)は、本発明に係る金属対応センサであるセンサSを示す図であり、コイル2の軸方向と平行な面を有し磁性体6の一面に接する金属板M(金属部)の上にy方向に長い磁性体6の周囲にz,x面内に平行に巻くようにコイル2が巻回されて(以下、単に、「巻かれて」等とする)おり、ピッチP(所定の間隔)だけy方向に進むように巻かれている。ここで、このコイル2(センサコイルともいう)には、矢印のような向きに電流Iが流れているとする。このとき、磁界Hは大まかに図の磁性体6の左の端部から右の端部に進むようにセンサS上部に水平磁界Hhを作る。なお、金属板Mは、金属でできた板に限られるものではなく、ある面が金属でできた物であればよく、以降、金属面Mと表記する場合もある。
この水平磁界Hhが存在するコイル2の軸方向と同一の方向、即ちセンサSの長手方向(y方向)の磁界を切るように、ICタグT(情報記録媒体)のコイルCt(タグコイルともいう)がセンサコイルと平行となるように設置された場合は、図に示すようにセンサSの磁界(特に水平磁界Hh)とタグコイルとが結合(電磁結合)し、誘起電圧Vを発生させる。そして、タグコイルがICのコンデンサにより共振状態にあるときは、タグコイルに大きな共振電流が流れ、ICタグTのICに電力を供給すると共に、ICの信号電流もコイルCtに流れることにより、ICタグTによる磁界が新たに発生する。そして、これが信号となって再びセンサSで受信され、センサS上部のICタグT即ちタグが取付けられたターゲットに関する情報の信号を読み取り(すなわち、情報の送受信を行う)、センサSの先に取付けられたリーダライタ(R/W)を介してPC等のコンピュータで、ICタグTが貼り付けられた対象物(ターゲット)の管理を行うことができる(図10参照)。
図1(a)はセンサSの斜視図で、図1(b)はセンサSのy軸に垂直な方向に切断した場合の断面図であり、この図はセンサSを横から(y方向から)見た場合であるともいえる。
金属面Mの上に載せられているセンサSは、コイル2と磁性体6の影像(イメージ)が下方(図ではz軸マイナス側:図中破線で示す)に発生し、センサSの断面積Sは下方の断面積と加えて2倍(=2S)となり、感度が2倍となることが知られている。すなわち、金属板Mは、センサSの感度を向上させる。それ程向上しないこともあるが、負(マイナス)効果とはならない。
図1(c)の場合には磁性体6の厚さThが、図1(a)の場合の厚さThと比べて厚くなりTh>Thであるので、断面積Sは断面積Sより大きくS>Sとなる(あるいは、S=nS(n>1))。このため磁束密度、即ちセンサSに流れる電流Iが同じ場合には、磁束は断面積Sに比例するので、断面積Sが大きい程磁束が増え、センサSの上部に励振される磁束は多くなり、従ってICタグTとセンサSとの通信距離dは、図1(a)に示す厚さThの場合(断面積Sの場合)の通信距離dに比べて大きくなることが分かる(d>d)(図1(d)参照)。磁性体6は角形の偏平な棒で示しているが、断面が楕円でもよく、例えば、楕円の短軸(bとする)の2倍が厚さTh、長軸(aとする)の2倍が幅Wとして類似させてもよい。なお、図1(b)、図1(d)のコイル2中の矢印は電流Iを示す。
従って、センサタグ間の通信距離dを大きくしたいときは、厚さTh即ち断面積S、コイル電流I、磁性体6の透磁率μを上昇させる必要がある。ターゲットに取付けるICタグTのコイルCtの大きさについても同様であり、取付けるターゲットが金属の場合には金属親和性タグを取付けることにより、よりよい結果が得られる。なお、金属親和性タグとは、金属に阻害されることなく反対に金属面電流や磁流を利用し感度が向上する金属対応タグのことであり、金属面による影像を利用して感度を上昇させる金属面に親和性を有するタグをいう。
センサS上でコイルCtに誘導される磁束φは次のように現されるので、この式からも上記を説明することがよく理解される。よくいわれているκI/dはコイルの軸方向に限った磁界の強さである。
Figure 2010057047
ここで、μは実効的な比透磁率であり、κは係数、dは通信距離である。また、iは電流(電流Iと同じ)であり、Lはセンサコイルのインダクタンスである。
[給電部が中心にある場合のセンサについて]
図2には、本発明の管理用センサシステムのコイル2(アンテナコイル)(後述する2R,2L)と、磁性体6と、この下方に置かれた金属板Mおよびコイル2の給電部FPを示している。ここでは、センサSの中心部の給電部FPよりも図中左に巻かれているコイル2Lと、右に巻かれているコイル2Rの並列給電により、それぞれが5〜6巻されている。最初の並列部の間隔をPとし、コイルのピッチ間隔をPとしており、Pは1〜10mmの比較的近接する間隔としている。次にコイルが進む角度ピッチ角により、次のコイルが来る間隔Pが定まる。ここで、コイルが進む角度ピッチ角とは、磁性体6が金属板Mに接する面に巻かれたコイル2(図中、磁性体6と金属板Mの両方に接するように描かれた斜めの破線部分)が、x軸(図1参照)に対してなす角度のことである。すなわち、y軸からみると、コイル2が一巻きごとに進むことにより発生する間隔Pの原因となるもので、x軸からの角度である。このコイル間の間隔Pは一定でもよいし、端部では電流が弱くなるので、磁束密度を上げるためのピッチ間隔を狭くしてもよい(例えば、ピッチ間隔P)。この例では、両側に並列に2巻巻く構造を示しているが、並列に2巻あるいは3巻左右に巻くこともできるし、片端からコイルを巻くこともできる。
コイル間のピッチ間隔Pは20mm前後であるが、1〜50mmと感度に合せてピッチを決めることができる。
例えば、本やファイルの厚みが20mm以上のときはICタグT(以下、単にタグTとする)間の干渉も少なく、従って共振のずれもあまり発生しないので、センサ長lmは45cmのものでも充分な感度が得られる。センサ長lm≒45cmは、本発明の管理用センサシステムをセンサ棚として用いる場合の棚幅90cmの半分の構成寸法より、実用的に定められる。
本やファイルの厚みが10mmとなった場合には、本等に貼り付けられたタグT間の干渉が大きくなり共振周波数も1〜2MHz程度もずれるので、センサ感度を上げないとタグTとの通信が難しくなる。従ってセンサ長lmを、ターゲットの厚みが20mm以上の場合の約半分(1/2)とし、センサ長lm≒22.5cmとし、電力を半分のセンサに集中することにより感度を上げることができる。この場合にはピッチ間隔Pは10mm程度となるが、1〜50mmと感度に合せて決めることができる。
更に薄いファイルや紙束、プラスチックケース等の5mm程度の厚みを有するものにタグTを貼り付けて管理する場合には、センサ長lmを更に半分(1/4)とし、センサ長lm≒11.25cmとする。これにより、電力を小形に分けたセンサに集中することができ、感度を更に上げ干渉が発生しているタグTにおいても通信することが可能となる。この場合にはピッチ間隔Pはほぼ5mmで2〜20mm程度となる。絶縁コイルであるコイル2は、中心部の給電部FPより両側に分けて同方向に間隔Pで巻いている。更に薄いファイルや紙束、プラスチックケース等のターゲットや読み難い場合にはセンサ長lm≒55.2mm程度とし、この場合にはピッチP≒2.5mm(1〜5mm)程度となる。更に薄いターゲットや読み難い場合にはセンサ長lm≒25.1mm程度とし、この場合にはP≒1.25(1〜3mm)とすることができる。
図2によると磁性体6の上部の面のコイルは、コイル軸と直角即ち磁性体6の長さ方向(図1(a)でのy方向)に直角になるように巻いており、下方(裏側;金属面Mと接する側)でコイルのピッチを進めるようにしている(図中、コイル2の破線参照)。コイル2の巻き方としては、上面,下面共にピッチ角をもたせ、上面や下面から見るとコイルが両面とも傾くような巻き方をしても良い。
図2(a)はセンサコイルの斜視図を示したもので、磁性体6の幅W、長さlm、高さ(或いは厚さ)Thのコア(磁性体6)に絶縁線であるコイル2を左右に対称に巻いている。ここで、磁性体6の幅とはコイル軸方向に垂直でかつ金属板Mの面に平行な辺の長さで(図1(a)のx方向の長さ)、磁性体6の長さとはコイル軸方向に平行な方向の長さ(図1(a)のy方向の長さ)、磁性体6の高さ(厚さ)とはコイル軸方向に垂直でかつ金属板Mの面に垂直な辺の長さ(図1(a)のz方向の長さ)のことである。センサSの長さlmは自由に構成できるが、棚の長さ90cmの約1/2の約45cmか、1/4の約22〜22.5cmか、1/8の約11〜11.2cmと構成するのが都合がよい。センサSの長さlmは、棚の長さや箱の長さ、大きさ、引き出しの長さや大きさにより合せて構成する。要はタグ間の間隔が狭くなればセンサコイルも密巻として、タグコイルとの結合をタグコイル直下でとれるようにする。従ってタグ間の間隔に近いコイルのピッチ間隔とすることにより、感度を上昇させている。
一方、磁性体6の幅Wは3〜10cm程度で標準的に7cm程度のものを使用している。本や書類のずれあるいはこれに取付けられるタグTの大きさや媒体のズレ等をカバーするため等により、多少幅を調整しなければならないことがある。一般に磁性体6の高さThを増した方が磁束は増え、従って外部の磁界も強くなるが、透磁率の大きさにもより、ゴムフェライトによる場合には、床厚はあまり厚くない方が好ましいので、高さThを1〜15mm程度にしており、中間の7〜10mm程度の磁性体を用いている。
コイル2は、ピッチP(0〜10mm)をあけて端部に向けてPのピッチで5〜6巻磁性体6の周囲に巻き、終端は接地側とし中心部までケーブルで接続する。同時に下方の金属板Mに接地を行っても良い。接地側は給電用同軸ケーブルの外部導体側とすることができる。コイル2のピッチP 5〜30mmはほぼ同じでよいが、上述したように端部の方ではややピッチPを短くし、端部の磁束が落ちるのを防ぎ、センサSの長さlmに渡って磁束を均一化することができる。
センサ上部にタグTが縦に置かれ、センサSより発生した磁束がこのタグTのコイルCtと鎖交する。タグコイルにはICが接続され、ICの容量が約22pF程度であり、コイルCtのインダクタンスは6μH程度で、周波数13.56MHzでほぼ共振するように作られている。このようなタグTが図書、ファイル、プラスチック板や箱に貼られてセンサSの上に並べられており、このタグTとセンサコイルから発生する磁界との通信を行っている。図2(a)中タグTは、n番目に並べられたターゲットに貼付されたタグを表している。センサコイルのインダクタンスはコイル2を多数巻き過ぎると大きくなり過ぎ、また少な過ぎると小さくなり過ぎる。このインダクタンスに合ったコンデンサを直列や並列に接続し、共振周波数を合せると共に、インピーダンスの整合も行っている。
使用周波数が13.56MHzである場合は、インダクタンスの値が約0.5μH〜9μH程度であるので、直列に等価なコンデンサの値は約10〜250pF程度となる。またコイルの巻数が粗となり過ぎると、インダクタンスの値は小さくなるだけでなく磁界分布にむらが生じ、従ってタグTと通信ができない場所が発生する。
また、コイル2の巻数を密にし過ぎるとインダクタンスはかなり高くなり、磁界のムラも発生し共振や整合がとれ難くなり、先端に行くに従って減衰も多くなる。また給電部FPで整合器によりインピーダンスを50Ωに整合させるときはスミスチャートの上半分、即ちインダクティブにしておいた方が直並列のコンデンサのみで整合がとれるので調整し易い。
コイル2を並列に2本巻くようにすると、巻数を少なくすることができるし、コイルのピッチも密にすることもでき、かつインダクタンスもそれ程上がらない。並列のコイルを何本巻くかはターゲットによっても異なる。
コイルの端部はそのまま接地してもよいし、1000pF〜2000pF程度のコンデンサを介して下の金属面Mに接地してもよい。
図2(b)は図2(a)のセンサSを横(図1(a)のy方向)から見た場合で、断面図とも考えられる。中心には磁性体6による磁芯があり、この周囲にコイル2が巻かれており、更に保護と絶縁の目的の絶縁プラスチックシートPSが巻かれ、鉄板(センサホルダ)(センサ収容部)MCで枠を作り、磁性体コイルセンサであるセンサSを収納し、この上にカバーとしてプラスチック板PP(以下、センサカバーPPとする)が載っている構造となっている。このように、センサSはユニット化され、以降、これをセンサユニットと記すこともある。コイルはプラスチックシートなしに直接磁性体に巻くこともできるが、密着度によってインダクタンスの変化が大きくなり不安定となるので、プラスチックシートPSを巻いている。
図2(b)で、金属板Mとしての役割を果たすセンサホルダMCによる影像(イメージ)が金属板M(この場合はセンサホルダMC)の金属面の下方に生じ、コイル2による影像(イメージ)がコイル2i、磁性体6の影像(イメージ)が磁性体6iとなり現れている。なお、Iiは電流Iの影像(イメージ)、Hhiは水平磁界Hhの影像(イメージ)である。
下方の影像(イメージ)効果により、コイル2とコイル2iにより、コイルの断面と磁性体が2倍となり磁束が2倍となる。
即ち、金属面M(又はセンサホルダMC)により上方のみに磁界が集められ、下方の磁界が上方に加算されることにより、上部空間USの磁束密度が約2倍となり感度が上昇する(すなわち、感度を向上させる)。金属面の大きさが小さくイメージ効果が少ない場合は、感度の上昇は2倍とはならない。
図2(c)はコイル2の巻き方を示すものでセンサSの中心部で給電して左右にコイル2を巻き、右に巻くコイルを2Rとし、左に巻くコイルを2Lとしており、コイル2により生ずる磁界が同一方向を向くように巻いている。図によりコイルの中心部を通る磁界は左へ向って流れているが、コイルの外の上を通る磁界(水平磁界Hh)は全体として右へ向って流れている。
図2(d)はコイル2の巻き方を反対(例えば左回り)とした場合を示す。図2(c)の右回りの場合も図2(d)の左回りの場合も一定方向の巻きであれば交番磁界であるので、同じ結果となる。図2(c)のセンサの向きを180°回転させると図2(d)のセンサと同一となることからも同一であることが分かる。
[センサを並べたセンサユニットについて]
図3にはセンサ長lmを約1/2とし、同一電力を加えることによりセンサに加わる電力を2倍とし、磁界を強め通信感度を上昇させる方法を示したものである。センサを小形にすることにより電力を集中し、感度を上昇させる効果があるが、一方センサアンテナとしては小形となるため、磁束密度が減少する方向となるため多少の欠点は伴う。しかし、タグコイルとセンサコイルとの結合が密となるため、期待するよい結果が得られている。
磁性体6にコイル2を同様に巻いているが、磁性体長が約半分lm(=lm×1/2)になるため、コイル2のピッチは半分となりPの値も約半分、Pの値も約半分となってコイル間の幅すなわちコイル間隔は狭くなる。lmは45/2≒22.5cmとし、センサを2ケ用いて45cmとするため22.5cmより少し短めで2個のセンサ間には5〜10mmの間隙lgを設けている。この間隙lgにはセンサが存在しないので、磁界の強度が落ち込むが、この落ち込みを改善する方法を述べる。なお、2個のセンサをそれぞれセンサ#1、センサ#2とし、センサ#1のコイルに流れる電流をI、センサ#2のコイルに流れる電流をIとする。このように、2以上のセンサを並べる場合には、それぞれのセンサのコイルの軸方向が揃うように(一致するように)する。
センサ間の間隙lgをもたせず磁性体を連続させると、第1コイル(センサ#1のコイル)と第2コイル(センサ#2のコイル)あるいはセンサ#1とセンサ#2との結合が大きくなり調整が難しくなるので、それぞれのセンサを分離するには間隙lgを設けた方がよい。この間隙lgは0mm〜15mm前後で3〜5mm程度がよい。
センサ#1とセンサ#2は同一のリーダで分岐端子(チャンネル)の切換により給電および励振することができる。
センサの給電部FPとリーダとセンサを接続する同軸ケーブル(CCやCC)の間に整合するためのコンデンサやインダクタンス(整合器Mat)を載せるための基板PCBが存在する。
図3(b)はセンサ上面で約2mm〜10mm上の磁界分布を示している。
実線による磁界強度の分布は左のセンサ#1によるもので、ほぼ磁性体の端部に近い所あるいは一番端部のコイルに近い所で、水平に一定方向の磁界(水平磁界Hh)は零となる。この部分で磁界が垂直に立ち上がり(垂直磁界Hv)、右側に向う反対向きの磁界となるため水平磁界Hhが零となる。
端部においては、水平磁界Hhは弱いが、センサの中心部に行くにつれ強くなり、また右側の端部で同様のことが起こり、水平磁界Hhは零となる。この点で磁界の方向が変わり、また右側に行く間に隣のセンサ#2を励振し、少し磁界強度が増すが、再び下がって来る。そしてセンサ#2の端部でまた磁界強度を増すような形状となる(実線)。
一方、センサ#2による磁界強度を一点鎖線で示す。センサ#2の磁界強度はセンサ#1の磁界強度分布と、センサ#1とセンサ#2の間隙を中心として対称的になる。
図3(b)を見ても分かる通り、センサ#1の感度が零となる所はセンサ#2の感度の山があるので、センサ#1でこの上のタグTが読めない場合もセンサ#2でセンサ#1の上のタグTを読むことが可能となる。センサ#1とセンサ#2の継ぎ目の磁界強度の低下を補うだけでなく、一番左のセンサ#1の端部においてもセンサ#2の磁界があり、これで読むこともできる場合がある。
一方、センサ#2の一点鎖線による磁界の分布においてもセンサ#2の端部において磁界が零になる所でもセンサ#1の磁界が強くなっているためセンサ#2の上のタグTを読むことができる。
このように、センサの端部で水平磁界Hhが零となる所はセンサ端部に近い最終コイルの電流から発生する磁界と他のコイルから発生する磁界の合成により端部で磁界が上方に折り曲り、再びセンサ上部で水平磁界Hhになる部分とその部分では曲らないで広がって行く磁界に分かれるために、一部の磁界が垂直磁界Hvのように見える。従ってセンサ端部のこの部分は垂直磁界Hvが強く現れる。
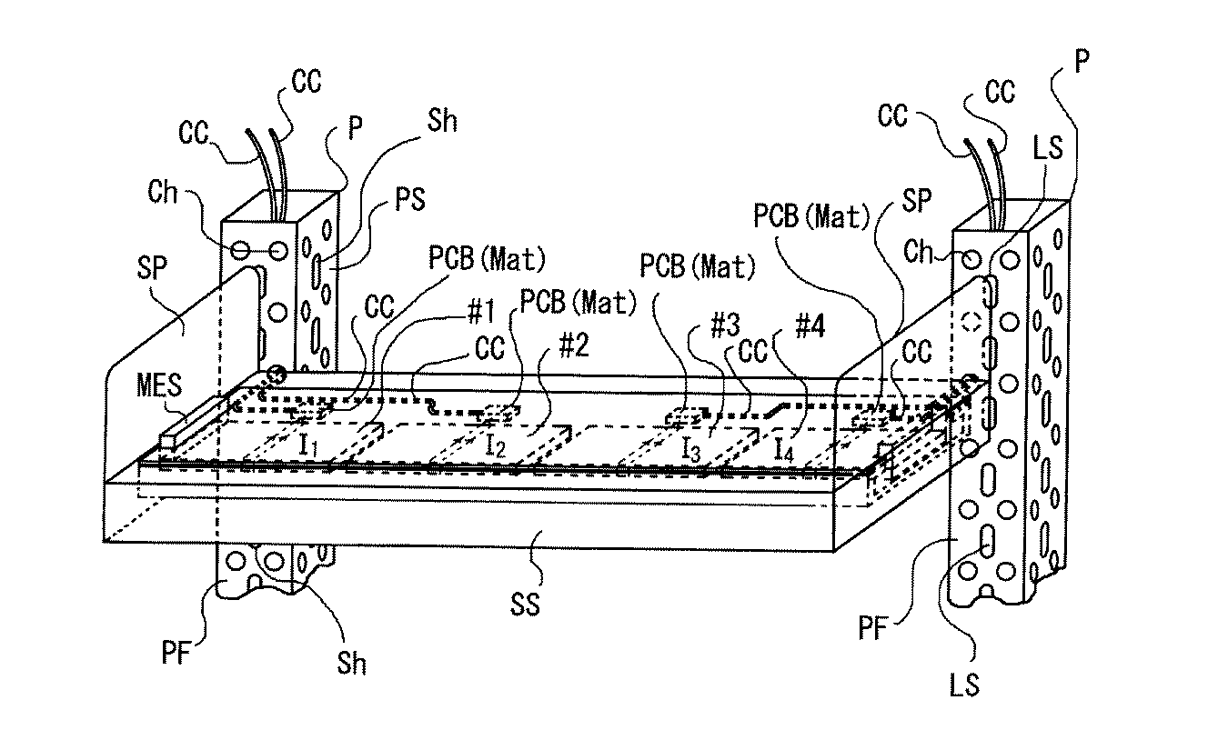
[図書用金属棚へのセンサの設置(センサ棚としての使用)]
図4はこのようなセンサをアルミまたは鉄板により構成された図書用金属棚SSに取付け、本発明のセンサ棚とした場合の説明図である。一般に図書棚の幅は90cmか180cmであり、どちらかといえば90cm幅が多い。図4には棚を1段のみしか示していないが、一般的にはこのような棚が上下に5〜6段並んでいる。図書棚の場合、一棚が50〜60kgの重さに耐えられるように作られている。従って板を折り曲げたり、中空状の構造を作ったりして、強度が得られるように工夫されている。
本発明に係るセンサ棚としての図書棚は、図2または図3で説明したセンサを収容できるようにチャンネル構造で幅広の溝のように構成され、これに図2(b)のような断面を有する下方および側方が、金属面(図2(b)ではセンサホルダMC)で構成されるセンサが嵌合するように構成されている。更にこの上に棚面と同一平面となるようにポリカーボネイトやABS等で作られたプラスチックカバーが載せられ、この上に本や書類や媒体等にタグTが貼り付けられた管理するターゲットとなる物品が載せられるようになっている。
図4ではセンサ(又はセンサユニット)が#1,#2,#3,#4と4つ並べられている様子を示す。
それぞれのセンサユニットは整合部PCB(Mat)基板を介して給電され1.5D等の同軸ケーブルCCで給電されている。給電用の同軸ケーブルCCはセンサ脇のスペースを通って板金(センサホルダ)MCの一部を欠いた隙間より、角パイプP(支柱)の前面PFや側面PSに開けてある穴Ch(穴部)を通って角パイプPの中を通り配線され、不図示のリーダライタR/Wの置かれている所あるいは分岐給電部まで配線される。
角パイプP(以降、角柱Pともいう)の前面PFには側板SPを止めるための長穴(溝)LSが開けられ、また同軸ケーブルCCを通す穴Chが開けられている。
角柱Pの側面PSには前後の遮蔽板SMP(遮蔽手段)(図9(a)参照)を止めるための長穴(溝)Shが開けられている。同軸ケーブルCCを通す穴Chをこの側面に開けてもよい。
側板SPが金属板の場合(この場合を金属側板MSPという)には後に説明する磁界の誘導路となる磁性体MES(誘導手段)が置かれており、金属面による磁界のブロックが発生しないようにしている。
もし、側板SPがFRP等のようにプラスチックで構成されている場合には、磁界は端部でブロックされずに隣のセンサまで連続し、磁性体MESは不要となる。なお、センサ#1〜センサ#4のコイルに流れる電流を電流I〜Iとしており、センサの詳細は省略して図示している。
[図書棚に並べられた図書に貼り付けられたタグの読み取り]
図5には図4の図書用金属棚SS(以下、図書棚SSとする)を正面から見た図を示す。
図書棚SSの上には図書Bが一部並べられている。図書Bの表紙あるいは裏表紙の下方にはタグTが取付けられ、センサから発生する水平磁界Hhと結合するようになっている。実際には下方(センサ)のコイル電流とタグTの電流が結合しているのであるが、一方ではコイル電流による磁界とタグTの電流による磁界が結合をしていると見てもよい。従って、タグTが近接するように並べられている場合にはセンサコイルも密巻にしてそれぞれのタグTのコイルとの結合を容易にする方がより確実にタグTを捕捉できる。
図書棚SSは両側の角柱Pの溝LSに嵌め込まれた側板SPにより支えられている。ここで、側板SPが金属板の場合は、金属側板MSPにより支えられることとなる(図5では金属側板MSPを使用した例を示している)。
図書棚SSは図4でも述べたように金属板を加工したセンサの土台となる金属棚と、この上に収まるセンサホルダMCとセンサ#1,#2,#3,#4から成り立っており、これらのセンサ#1〜#4が同軸ケーブルCCで給電されている。
側板SPが鉄板、すなわち金属側板MSPである場合には金属側板MSPに誘導される電流により磁界が打ち消されて、センサ上部の磁界が弱くなったり、コイルの中心の磁性体6に流れる磁界を弱めたりしないように、磁界のガイドとなる磁性体MES(コーナ磁性体MES)を備え、一番端部の図書Beに貼り付けられたタグTでも読めるようにしている。
もし磁界が通る磁性体コア部の先にプラスチック側板が存在するようであれば、このようなコーナ磁性体MESは不要となる。なお、タグTは、図書棚SS上に並べられたn番目の図書Bに貼付されたタグを表す。
[センサのコイルの巻き方について]
図6にはコイル2を磁性体6の中心部より巻いた場合、インダクタンスが大きくなり過ぎないように並列に2本ずつ巻いて行く場合を図6(a)(2R,2L)に、並列に4本ずつ巻いて行く場合を図6(b)(2R,2R,2L,2L等)に示す。もちろん奇数本並列にしてもよい。
図2,図3,図6ともに中心よりコイルを左右に巻いているが(2L,2R等)、片側からコイルを巻いても良い。この場合には並列とならず直列となるためコイルのインダクタンスは増え過ぎないようにしなければならないし、コイルに流れる電流も減衰等によりバラつかないように気をつけなければならない。
このような磁性体センサでは磁性体の比透磁率μの影響を大きく受け、電磁波のケーブルに沿う遅波率(短縮率)は、比誘電率をεとすると、
Figure 2010057047
となり、μ=10,ε=2とすると、
Figure 2010057047
で、22%近くの短縮を受ける。ここで、幅(=W)70mm、厚み(=Th)10mmの角磁性体捧の場合、2×(70+10)=160mmであるので、1巻のコイルの長さが160〜170mmとなる。今、f=13.56MHzの場合、波長λ=22.12mとなるので、1波長に対してどの位の長さに相当するかを求める。仮に磁性体6に巻いたコイル2の短縮率を22%とすると、1波長λの実効上の波長λはλ=22.12×0.22=4.9mとなる。即ち、磁性体上のコイルの1波長相当の長さは4.9mであり、約1波長でこの半分の2分の1波長λ/2は2.43mとなる。従ってコイル1巻の長さ0.16m〜0.17mは1波長換算をすると(0.16〜0.17)/4.9=0.033〜0.035波長となる。もし5巻のコイルの場合、この約5倍となるので0.165〜0.175波長の実効的長さのコイルとなることが分かる。
このようなコイルの巻線においては、一般のソレノイド形のコイルの特性の他に、コイルに沿って流れる電流が遅波率の影響を受け、位相が徐々に遅れて行くことになり、微小コイルのように同相の電流のみで扱うことができなくなる。またコイルも粗巻となるため、コイルの軸方向に沿う磁界と平行な外部の水平磁界Hhのみならず垂直磁界Hvも発生する。従ってタグTが多少傾いたり横になったりした場合でも多少条件がよく通信が可能となる。
図6にはコイルを磁性体6センサの中心より左右に並列に巻いた場合を示す。
図6(a)は左右に1本ずつ磁性体6の上にコイルを巻き、並列にした場合を示す。右側に巻くコイルは2Rで示し、左側に巻くコイルは2Lで示してある。左右合せて2巻で示してあり、上部に現れるコイルは直角に下部でピッチ分の進みを持たせている。ピッチは上下平等に1/2ずつ持たせることもできる。
図6(b)は左右並列に2本ずつ巻いた場合を示す。この場合には給電部FPより見ると並列に4本巻いていることになる。
磁性体のほぼ中心より左右に対称になるようにコイルを巻いているが、片側から巻き始め、直列にコイルを他の端部に向って向くこともできる。この場合コイルの巻数が多くなり過ぎ、インダクタンスが大きくなり過ぎたり、電流の振幅が落ちたり、長く巻き過ぎた場合に電流の位相が変化し、磁界が必要な方向に加算されないようなことも発生するので気をつけなければいけない。
[補助アンテナ(補助センサ)について]
図7には補助アンテナ(補助センサ)(補助手段)の効果について実施例をもとに説明する。
図7(a)はセンサ#1(センサアンテナ#1)とセンサ#2(センサアンテナ#2)の間に補助センサSub(補助アンテナSub)を置いた場合を示す。
図3で説明したように、センサ#1とセンサ#2はある程度結合しており、それぞれが補うようにして磁界の感度が零となる所を補っているが、図7(a)の場合にはセンサ#1とセンサ#2はもっと離れていても補助センサSubが存在しているため、この間を埋める役割を果たしてくれる。なお、センサ#1、#2は、補助センサSubに対して主センサということもできる。
センサ#1(またはセンサ#2)と補助センサSubの間隙をlgmgとする。補助センサSubの長さをlssとし、幅をWとする。ここで、センサ#1とセンサ#2の長さはlms、幅はWである。補助センサSubの磁性体6は主センサ#1,#2と同じ物でよいが、長さlssはあまり長くしない方がよい。長さlssは1〜3cm程度でよい。補助センサSubに巻かれたコイル2−1(第一のコイル)とコンデンサC(第一の共振器)により共振をとり、センサ#1あるいはセンサ#2により励振される磁界をこの共振器で励振し、補助センサ上部に強い磁界Hhssを発生させることができる。共振器の電流は、同相でも進み90°位相でもよい。なお、簡単のためセンサ#1、センサ#2のコイル2は省略している。また、補助センサSubをセンサ#1とセンサ#2の間に配置する場合は、コイル2−1のコイル軸方向がセンサ#1やセンサ#2のコイル軸方向と揃うようにする。
図7(b)には補助センサSubにより発生する磁界によりセンサ#1、センサ#2の磁界の落ち込みを補足し、水平磁界Hhが連続し落ち込みがなくなることを示している。
センサ#1による磁界を破線で示し、センサ#2による磁界を一点鎖線で示し、補助センサSubによる磁界を点線で示し、補助センサSubにより落ち込みのなくなった連続磁界の強さを実線で示している。図7(b)では、見易くするために各線を少しずらして示している。
図7(c)には直交する磁界を作る必要がある場合のセンサに用いる補助センサSubの例で、センサ#1とセンサ#2のつなぎの落ち込みを同じように補うことができることを示す。この場合には直交するコイル2−1(第一のコイル),コイル2−2(第二のコイル)を巻き、それぞれが別々にコンデンサC(第一の共振器),コンデンサC(第二の共振器)を接続し、共振回路として構成している。
[誘導装置について(磁性体による誘導路)]
図8には金属棚である図書棚SSの端部で、金属側板MSPにより支えられている時に、金属側板MSPによりセンサ磁界が打ち消されるのを防ぐ場合の磁路の誘導装置MES(図4における磁性体MES)(誘導手段)を示している。
図書棚SSとその窪みに収容されている金属親和性センサMISS(Metal Intimate Smart Sensor)とそのケースMC(センサホルダMC)および、棚カバーSCの断面を右側に示しており、磁性体6とケースMCとその空間SPC、棚カバーSCの構成を示している。ここで、金属親和性センサMISSとは、図2(b)、図3、図4で説明したような、本願発明に係る金属対応センサ(又は金属対応センサユニット)のことをいう。
磁性体6にコイル2が巻かれ、このコイル2に電流Iにより発生する磁界Hがセンサの左端で金属製の図書棚SSを支える金属側板MSPに妨がれるような状態となる。この磁界Hを金属側板MSPに沿って誘導するための磁性体による磁路MGを設け、水平磁性体(すなわち磁性体6)に誘導されている磁界Hを垂直方向に導き、更に上方に逆L字形誘導路ML(図8(b)参照)により垂直磁界Hを更に水平磁界Hhとし、端部で減少する水平磁界Hhを補足する役割を持つ。そして、金属側板MSPの悪い影響を改善しながら端部で落ちる水平磁界Hhが増強され、図5にも示した端部に並べられる図書Beの2,3冊分の図書に取付けられたタグTとセンサとの通信を改善することができる。図8(a)、図8(b)に示すようにセンサコイルの電流Iとタグコイルの電流iとが磁界Hによって結合していると考えても良い。
図8(b)にはコイル2が巻かれたセンサの端部のみ拡大した図で、電流Iにより励振された内部磁界Hが誘導磁路MGに沿って上方に導かれ、更に逆L字形誘導路MLに沿って一部が右へ水平磁界Hhとなって誘導される様子を示す。
誘導磁路MGの厚みdsは5mm〜10mm程度でよいが、透磁率の高いよい磁性体であるならば1〜2mm程度の厚みで満足な結果を得ることもできる。上部の逆L字形誘導路MLの磁性体は図書等に貼りつけられたタグTの大きさ、位置に合わせ、かつ図3や図7で説明した水平磁界Hhと連続し、タグTとの通信が行われ易い位置と大きさに合せればよい。誘導路MLの戻り部分dmの厚みは約5mm〜15mmでよいが、この厚みは図書や媒体が積まれるスペースファクターにもより、できるだけ薄くする方が望ましいので、透磁率が高い磁性体の場合、誘導磁路MGの厚みdsが0.3〜2mmにでき逆L字の戻り部分dmの長さは3〜7mm程度でもよい場合がある。
誘導装置MESがセンサの上に突起となって現れるので、これをカバーするためにプラスチックカバーMESCを取付け、センサカバーPPや棚カバーSCと連続させ、強度や外見を整える必要がある。この戻りの部分、あるいは垂直誘導部MGあるいは逆L字形誘導路MLの部分に共振コイル2dとコンデンサCdを巻き、端部の磁界を強くすることもできる。端部の磁性体の厚みdsやdmを小さくしながら、強い磁界を発生させるには共振コイル2dとコンデンサCdを加えることは有効である。
図8(c)は金属側板MSPが何故通信を害するかを説明する図である。
同図を見て分かるように、磁性体内部の磁界Hは金属側板MSPに衝突すると誘導電流Iicを誘起する。この誘導電流Iicにより発生する磁界Hrはセンサ電流Iにより造られた磁界Hとは逆相で打ち消す方向の磁界Hrである。このため、磁性体6の中を進んで来た磁界Hは端部で打ち消され弱くなってしまい、結果タグTと通信を行うための磁界Hも弱まり、通信ができなくなる。すなわち、金属側板MSPの傍に置かれた図書等の媒体(例えば、図5の図書B)に貼り付けたタグT(例えば、図5のタグT)との通信ができなくなり、棚による媒体の管理ができなくなるか、不完全なものとなる。
しかるに本発明の誘導磁路MESを用いることにより端部磁界を増強し、かつ金属側板MSPの影響も改善する一石二鳥の効果が得られる。
[インテリジェントシェルフについて]
図9には本発明の金属対応の媒体管理用センサである金属親和性センサMISS(Metal Intimate Smart Sensor)が、本発明のセンサ棚としての図書棚SSに応用された場合の説明図である。本発明の金属対応センサである金属親和性センサMISSを備えるセンサ棚である図書棚SSを、インテリジェントシェルフISという。
図書館等の図書棚は実用上前後に5〜6段ずつ並べられることが一般的である(図9(a)参照)。
このような場合、前後に感度のよいセンサが並べられるので、隣同士のセンサが近くなるため同時にリーダを動作させると磁界によるセンサ同士の磁気結合が発生し、それぞれのセンサが妨害を起こし、リーダがタグTの情報を読めなくなる。但し、同一リーダで読む場合には分岐器でスイッチングしており、オンオフが同期する状態となるので妨害は発生しない。
これを防止、改善する本発明を実施例で示す。
図9(a)はインテリジェントシェルフISである図書棚の斜視図で前後に2段(又は2列)上下に2段並べ、これを角柱Pで支えている例である。
センサの機能についはこれまで詳しく述べているので省略してある。上下のセンサについては棚が金属で構成されているのと、上下の間隔があるため殆んどセンサ同士の結合はなく無視できる。しかるに前後のセンサとの距離は角柱Pであるポールを挟むのみで短く(近く)、脇に漏れる磁界が結合を起こす。コイル2や磁性体6の上部に強い磁界を発生しているが、脇の方にも弱い磁界が広がっている。従って隣にある前後のセンサ同士は結合し易い状態にある。
例えば図9(a)での手前(前)のセンサ#1aと奥(後)のセンサ#1bは隣同士で磁界の方向も同じでコイルも隣り合っている。従ってコイル同士は結合し易い状態である。センサ#2aとセンサ#2bも同様である。センサ#3aとセンサ#3bも同様である。センサ#4aとセンサ#4bも同様の状態である。このような場合には、今迄のように左右のセンサのみの結合や妨害を考えるのみでなく、前後のセンサの結合も考慮しなればならない。
しかし、この隣同士のセンサの間に遮蔽する金属板の遮蔽板SMP(遮蔽手段)を設置することにより、前後の隣同士のセンサの結合を抑えることができた。遮蔽板SMPは鉄板、アルミ板、ステンレス板等の金属板でよい。金属板につめ(爪部)をつけ、棚の角柱Pの長穴Sh嵌め込むようにして固定することができる。このような遮蔽板SMPは、図9(a)、図9(b)に示すようにセンサ部を中心にある上下に幅を持たせて取付けてもよいし、上から下まで一枚の板で遮蔽を行ってもよい。重量や材料の経費を節約するため帯状板を、センサ部を中心に取付ければ、充分に遮蔽の効果が得られることが分かった。
同一のリーダライタR/Wで読むときは、センサのチャンネル切換が同時に行われ、同期しているので、このような遮蔽の心配はない。リーダライタR/Wを並列に運転するときはこのような干渉や妨害が発生するので気をつけなければならない。センサの効力が多く従って切換チャンネル数も多く使用するリーダライタR/Wも多くなる図書館等では特に注意を要する。但し、並列運転をせねばならずセンサ間も干渉の発生のある所は同期切換を行えば干渉の問題は解消する。
図9(b)には前後2段(2列)、上下3段の金属棚が構成されている場合の横から見たインテリジェントシェルフISの説明図である。
図9(b)にはセンサの上に広がっている磁界を示しており、磁性体6のセンサ内部では紙面に向う矢印の方向の磁界を、磁性体センサ上部では紙面の向う側から手前に向う矢印の方向の磁界を示している。この脇に広がる磁界が前後のセンサ(例えばセンサ#1aとセンサ#1b)が結合することを示し、かつ遮蔽板SMPにより遮蔽されることを示している。完全にこのような磁界を遮断するには遮蔽板SMPは上下に連続させれば漏洩磁界による結合はなくなる。
[センサとリーダライタ、PCとの接続]
図10には棚センサが前後に8個並べられた場合を上から見た状態で(すなわち、図9のインテリジェントシェルフISを上から見た状態)、このようなセンサがリーダライタR/W(読取書込装置)にどのように接続され、またコンピュータPCで制御、表示、管理されるかを説明する図である。
それぞれのセンサには基板PCBが取付けられ、基板PCB上にはコンデンサやインダクタンスによる整合回路Mat(整合装置)が構成され、同軸ケーブルCCで給電されている。整合回路Matは一般にはコンデンサのみで整合をとることができるが、コイルの巻数や磁性体のインダクタンスの影響等で給電部のインピーダンスが容量性となり、コンデンサのみでは整合できなくインダクタンスを用いる場合もある。しかし、巻線コイルの巻数や長さを調整したり、並列回路を作ったり給電部に給電線を追加すること等により給電部のインピーダンスを誘導性にすることができ、この場合にはほぼコンデンサのみで整合を取ることができる。このように一棚分のセンサは4つのセンサ(例えば、センサ#1a〜#4a、又は、センサ#1b〜#4b)から構成されるセンサユニット(例えば、金属親和性センサMISS1a、又は、MISS1b)の場合、一棚から4本の同軸ケーブルCCが出て来るので、前後2つのセンサユニットからは8本の同軸ケーブルCCが必要となり、リーダライタR/W 8ch(8チャンネル)を前後の棚で使用することになる。また、センサとセンサの間には補助センサSub(Sub1a,Sub2a,Sub3a,Sub1b,Sub2b,Sub3b)を備える構成である。
従って上下に5段の棚が設置されるときはこの5倍の40chの給電部が必要となり、これをリーダライタR/Wと結ぶチャンネル切換器(や分岐器)が必要となる。切換器や分岐器がリーダライタR/Wと一体となっているものもある(図10のリーダライタR/Wは一体型を示している)。また、6段の棚の場合には48chの給電部を備える分岐器またはリーダライタR/Wが必要となる。
リーダライタR/Wで読まれた信号は、LAN(Local Area Network)の出力あるいはRS−232C等の出力でパーソナルコンピュータPCと接続されパーソナルコンピュータPCで記録、表示、制御される。図10は、ハブHUB等を介してLANによりパーソナルコンピュータPCと接続されている様子を示す。
LAN出力の場合には、LANケーブルで配線するか無線LANのような機器を用いて無線伝送することもできる。
リーダライタR/Wはチャンネル数(分岐数)が多い程リーダライタR/Wの設置数が少なくなり、経済的になるが、その分多数の図書や図書棚を一つのリーダで管理することになり、識別するスピードは遅くなる。図書館の図書や保管状況を見るような場合には、パーソナルコンピュータPCの処理能力やメモリ容量もあり、使用目的に合せて分岐数を選べばよい。
[補助センサや誘導装置を用いる場合のセンサケース]
図11には図7等に説明した補助センサSubを用いる場合、また、図8等で説明した金属側板MSPに対応するセンサである誘導装置MES(コーナ磁性体MES)を用いる場合に、センサとセンサケースMCの形状を定める場合の条件を示している。
図11(a)は一棚に載せられるセンサが#1,#2,#3,#4と4個あり、センサ#1,#2は一つのセンサの収容ケースMCに収容されており、センサ#3,#4はもう一つのセンサ収容ケースMCに収容されている場合を示す。
左の収容ケースMCにセンサ#1,#2が収容され、センサ#1,#2を補う補助センサSub1と、センサ#2と隣のケースMCに収容されたセンサ#3との間を埋める補助センサSub2が、左の収容ケースMCに収容されている。補助センサSub2は2つの収容ケースMC,MCの中間にあるので、収容ケースMCの方に載せてしまう。すると収容ケースMCはその分少し突起を持つことになり、一方収容ケースMCはその分少し窪みを持つことになる。このように突起や窪みを持つ形状とするのは金属の収容ケースMC(MC又はMC)のみでよく、上部に覆さるプラスチックのセンサカバーPPは同一形状で2等分されていて、このような複雑な形状(突起や窪みを持つ形状)である必要がない。
棚の両側は側板SP(例えば金属側板MSP)により支えられているので、側板SPが鉄板の場合には両側に誘導磁路MGを形成する磁性体である誘導装置MESを設置しなければならない。従って、センサを収容するケースMCは2種類必要となる。
図11(b)には側板SPがプラスチックであり、磁性体の部分のみが通過できるように窓が開けられているような特殊な側板(プラスチック側板PSP)(図11(c)参照)を用いる時は、連続してセンサを並べて行くことができる場合を示す。側板SPがプラスチック板であるときは補助センサを2つに分け、特に窓を開ける必要がない場合もある。
このような場合は、棚が左右に連続して並べて行けるので、スペースファクターもよく、かつ金属側板MSPによる妨害を考慮する必要がなくなる。センサ収容ケースとしては2種類となるが、左側に設置してある金属側板用のセンサ収容ケースは端部のみに使用するので少なくてよい。
図11(c)にはFRP等の強度のあるプラスチック側板PSPを鉄のフレームStで支えている場合を示す。鉄のフレームは強度を保つように作らなければならないが、点線で示すようにセンサ下方に鉄板をつき出すような支持部材を設ける等の支持方法を用いて、強度を保つこともできる。
[補助センサの役割]
図12には図3や図7で述べたコイル端部や磁性体端部で、何故、水平磁界の切れ目(零点)が発生するかを説明し、補助センサSubの役割を説明する。
図12(a)は磁性体6とこれに巻かれているコイル2の電流Iと、この電流Iにより発生する磁界を示している。
磁性体6の中と、この延長線上では磁界の方向が一定していることは図より見て分かる。磁性体6の切断面の右側で磁界は上方に向って広がっている。
一方磁性体6の上方でコイルの上側では磁界の方向は右側を向いている(図12(a)参照)。しかるに電流Iを挟んで下方の磁界即ち磁性体6を励振する磁界Hは左側を向いている。
磁性体センサ外側の磁界の水平成分のみをとって考えると、上方に矢印で示すようにターニングポイントTPを境に左側では磁界のベクトルは右側を向き、ターニングポイントTPを堺に右側では磁界のベクトルは左側を向いていることになる。また、ターニングポイントTPに近づくにつれ、左右とも矢印の長さが短くなっているが、これは、ターニングポイントTPに近いほど磁界Hの垂直成分が大きくなり、その分水平成分が小さくなるからである。
磁性体表面から距離δの上の部分でこのような現象が発生している。図12(b)に示すように更に表面からの距離δが大きくなると、このベクトルの方向が反転する位置はずれるが大きくは変わらない。
即ち、磁性体6の終端部やコイル2の終端部では磁界のベクトルが変わり、水平磁界Hhが零となったり、打ち消されたりする現象が発生する。従ってセンサの継ぎ目では先に説明したようにどうしても零点が発生する。
2つのセンサ#1、#2で離して零点の位置の違いを利用する方法が図3で述べた場合である。センサを連続した磁性体で構成する場合は結合が大きすぎて調整が難しくなる。
図12(c)に示す補助センサSubは、左右の主センサ(#1、#2)により励振され、磁界を周辺に発生させ、同相あるいは90°位相で励振させ、図12(a),図12(b)で示したような逆相の磁界は少なくともそれぞれのセンサ端部で発生することがなく、かつ共振器による大きな励振磁界が図7に示すようにセンサ#1やセンサ#2の磁界に加算される。
更に図8(c)による補助センサSubによる場合は、補助センサSubに共振器を利用する方法でセンサ#1とセンサ#2が交互に無給電補助センサの共振器を励振するので、独立してかつ大きな磁界を発生している。図12(c)の補助センサSubの共振コイルの電流により、磁界はこの磁性体に誘導されて上に昇り、タグTの中心部までたどりつき、タグTのコイルCtと結合し、コイルCtを励振する。補助センサの上にあるタグコイルの一部を励振するだけでよいので、磁性体は大きなものでなくてよい。
[ファイル、CD、DVD、磁気テープ等の管理]
図13にはファイル,CD,DVD,磁気テープ等がセンサの上に直角に並べられている場合を示す。
ファイル,CD,DVD等は図書より一般に薄い。従って図書棚のセンサより感度を上げなければならないので90cmの幅の棚の場合には8センサを、45cmの幅の棚の場合には4センサを収納しなければならない。ファイルやCD,DVDの収納庫の場合には金属の保管庫となる場合が多い。従って床が金属板であるため金属板収容ケースMC(センサホルダMC)を備えた本発明の金属対応のセンサ、すなわち金属親和性センサMISSが有効に利用できる。
図13(a)はディスクDのケースDCの内側に紙あるいはプラスチックタグ(以下、単にタグTとする)を貼り、その上にタグTの中心部より下方に向ってケースのはじまで高透磁率の厚み0.1〜0.7mm(100〜700μ)程度の幅10〜20mm程度の磁性体板MS(磁性体片)を貼り付ける。このような薄い磁性体板MSはグリーンシートを焼いた板で薄いプラスチックフィルムを当てがったもので接着剤が塗ってある。タグTの側面にコイルの下方半分に接するように貼ってもよい。また、薄い磁性体板MSは、ケースDCの内又は外側にタグのコイルに合せてケースDCのはじでセンサの磁界を拾い易いようにケースのはじからコイルの少し内側までコイルに磁界が結合する長さ、即ち、この誘導磁路を通った磁界がコイルの中心より下方のコイルに結合するようにする。
図13(b)にはディスクDが収容されているケースDCにタグTのみを貼った場合をA、更に薄い磁性体板MSを貼った場合をBに示す。ディスクDを収めたケースDCが密に並べられている場合はディスク面にほどこされている金属面の影響やタグT間の影響により、センサ感度が高いものでも完全に全数のタグTと通信を行うことができない。タグTはディスクDの中心よりずらして描いているが、そのようにしなくてもよい。磁界が通り易い方が有利であるが、タグは中心部に取付け、これに合せて磁性体板MSをタグTと結合し易いように取付ければよい。
しかし、ディスクDが収容されているケースDCにタグTと磁性体板MSを貼ったBの場合には、ケースDCが密に並べられている場合でも磁性体板MSに磁界が誘導されて全数のタグTと通信ができるようになる。すなわち、Bは図13(a)に例示した場合と同じものである。
次に図13(c)には、スタンドStdに共振器RCを内蔵させ、更にセンサ上部の磁界を強くする方法で磁界が弱くタグTが取れ難い所にスタンドStdによりタグTとの通信感度を上げることができることを示す。このような方式は、図書やファイル等にも応用することができる。
[タグの他の実施例]
次に図14を用いて説明する。図14(a)にはディスク用タグTを、図14(b)にディスク用タグTと磁性体MSを示す。図14(c)にはディスクホルダ(ホルダ)に磁性体MSを取付けた場合を示す。図14に示すセンサアンテナの基本は、図1に示すセンサアンテナと同じでセンサアンテナの上方の水平磁界Hhをタグの位置に合せて強くする方式を取っている。
図14にはケースDC上ではなくディスクDにディスク用の円形タグ(以下、単にタグTとする)が直接貼られている。
図14の場合、タグTはディスクDに直接取付けられており、薄い磁性体板MSはディスクDでなくケースDCに取付けられているので、ディスクDがあるかないかはディスクDがケースDCから取出されればセンサが感知するし、ケースDCごと取出されればこの場合もセンサで検知することができ、かつディスクDにバランスをくずすような磁性体を貼り付けるわけでもないので理想的な方法といえる。
図14(a),(b)の場合はディスクケースDCに磁性体片を貼るのであるが、図14(c)に示す例は、金属親和性センサMISSを用いたディスクホルダ(ラック)DHに磁性体片を貼るので更に一般性が高く、どのようなディスクケースDCを持って来ても当該IDを知るための対象物となるディスクDの情報をセンサで認識することができる。
図14(b)に示すように、金属親和性センサMISSを用いた棚の上に重ねて並べられていると、ディスクDの金属の影響とタグコイルがディスクの円周に近いため、金属面によりタグ磁界がふさがれ読み取ることができなくなる。このような場合にも図13で説明した場合と同じようにケースDCに100〜700μ程度の高透磁率の磁性体板MSを貼ることにより磁路を作り、ディスクDに直接貼られている外側のコイルと磁界が結合し、重ねた場合でも全数読めるようにすることができる。
図14(a)にはディスクDの収容ケースDCに貼られた磁性体板MSを示す。
図14(b)にはこれらのディスクDが入ったディスクケースDCが重ねて並べられている場合を示す。それぞれのケースには磁性板MSが貼られているので、この磁性体板MSに磁界は誘導されて金属箔でふさがれた空間を昇り、ディスクDに貼られたタグコイルと結合することができ、タグ全数を読むことができる。
図14(c)は図に示すようなディスクホルダ(ラック)DHの下部の中心部がセンサ部と面一で接しているので、この部分に先に説明した100〜700μの厚みの薄い磁性体板MSを貼ることによってケースDCを少し離すことにより隙間を得られることと、磁性体による磁界の誘導路を確保することによって全数のタグを読むことができる。
図13と図14の例の違いは図13の場合はタグTはケースDCに取付けられディスクDが取出されると分からなくなる心配が残るという点である。しかるに図14の例はディスクDにタグTがついているので、このような心配は起こらない。
[銃器類の管理]
図15は、本発明の管理用センサシステム及びセンサ棚を用いて拳銃の管理を行う場合の実施例を示している。
ターゲットが金属であり、金属物体がセンサ上部に現れることは磁界を乱すことになるが、本発明のセンサ方式は金属面の影響を受け難い方式であり、また磁界の方向も銃器や金属面の空間や孔に合う磁界を利用しなければならない。銃器にタグTを取付ける場所に制限があり、かつ銃器は殆んど鉄でできているので、金属親和性タグが望ましい。かつ取付ける場所のみでなく大きさの制限もあるので、タグTは小形であることが望ましい。
拳銃であれば握りの部分には空間があり、プラスチック等の金属でない部分があるので、この空間にタグTを取付け、かつ握りのプラスチック部分は取外せるので、タグTを鉄枠の空洞部や鉄枠(フレーム)に取付けた後、プラスチックの覆いをタグ取付け後に覆せて外部から分からないようにすることができる。
銃器に取付けるタグTには、このような特徴と取付けるための工夫が必要であり、センサアンテナとしても銃器の金属体の影響をできるだけ受けないようにしながらタグTの位置に届く磁界を作らなければならない。
従って、タグTを下方に取付けた方が有利であるが、或る程度上方の磁界も強くしなければならない。
このためには上方に磁界を導く方法を取る必要があり、磁性体による誘導路を作る方法と共振器や励振コイルによる磁界の発生や増強等による方法がある。
拳銃保管庫の場合、1個1個を納める個別の収容庫となっているため、左右に金属板があり(すなわち金属側板MSPがあり)、一個一個拳銃が保管されているので側面の金属影響も考慮しなければならない。
下方の金属面は全て同一の条件となるが、側面の金属板、即ち側板については図書棚等の金属側板と同様に考慮する必要がある。
また上方にも金属面があるが、これは上の保管庫の棚の床となっており、上下の磁界の分離(セパレーション)ともなっている。従って、金属側板MSPの影響、上下面の金属面の影響全てを考慮しなければならない。
図15(a)にはセンサ長さ約8cm、厚さ約7mm(5〜10mm)、幅(奥行)約5cm(3〜10cm)の磁性体6にコイル2を巻き、これにプラスチックカバーをかけたセンサアンテナMISS(図8で説明した金属親和性センサMISS)を示す。この場合、最初から下方に金属板Mを当て、金属親和性センサとし、センサを納め、プラスチックカバーをかけたものを収容するようにしてもよい。いわば図5、図9のミニアチャー形といえる。
拳銃HGの収容口の間口は8cmで、金属側板MSPで支切られている。金属親和性センサMISS(単に、センサMISSともいう)はコイル2により励振され、磁性体6内部に発生する磁界はセンサ上方にも同じように発生する。
この磁界を結合するように、拳銃HGの握り部の金属枠GRに、図15(b)に示すような金属親和性タグTa(単に、タグTaともいう)を取付ける。図15(b)に示す角形(又は立方体形)のタグTaは金属体の影響を受け難く、感度が上昇する金属親和性の特徴を持っているので、直接金属枠GRに取付けることができる。タグTaを取付けた後、握り部はプラスチックや絶縁物でできた手に当たる二枚の板で両側から封印され、外側から見えないようにすることができる。拳銃HGを収容する側板は鉄板である(すなわち金属側板MSP)ので、この側板がセンサMISSから発生した磁界を打ち消す誘導電流を発生させる。このため、金属側板MSPに沿って0.2〜7mm程度の磁界の誘導磁路MGを設けることにより、磁界を上方に導き、渦電流(円形電流)を押えることができる。
更に上方に誘導された磁界をコイルとコンデンサによる共振器CRにより励振し、横向きの磁界Hhを強く励振することができる。
誘導磁路MGや共振器CR等がないと、下方のセンサMISSのみではタグTaを励振するに充分な磁界強度を得られない場合もある。
磁界誘導路である誘導磁路MGは厚い方がよいが、ケース付拳銃の厚さや間口8cmを考慮するとあまり厚くできない。
従って、透磁率μの高い磁性体を用いることにより、0.3〜2mm程度の厚みのものを使用でき、かつコイル径が2〜3cmの四角または円形等の共振器CRを用いることにより、薄くても性能のよい導磁路を作ることができ、水平磁界Hhを励振し、拳銃HGの鉄枠GRの空洞部に磁界を送ることができ、鉄枠GRに取付けたタグTaと通信を行うことができる。
図15(c)には図15(d)に示すような通常の安価な偏平コイルCtによるタグTbを拳銃HGの握りの鉄枠GRにより作られる空洞部に納める場合の実施例の説明図である。握り部には先にも述べたように両側からプラスチックや絶縁体による2枚の厚手の板で構成される握り部で封印される構造であるので、このプラスチックや絶縁体の内側に金属枠を避けて偏平コイルCtによるタグTbを取付けてもよい。水平磁界Hhの供給が充分であり、空洞の大きさが充分であれば、このような小形の通常のタグTbも充分に用いることができる。空間は限られているので、あまり大きな径のタグを用いることできない。せいぜい直径2cm前後、角形タグの場合は1〜1.5cm×2〜2.5cm程度のタグを用いるとよい。この場合も、導磁路を作るために共振器CRを用いている。偏平タグTbを用いるか、金属親和性タグTaを用いるかは図15(a)、図15(c)ともにどちらでもよい。
図15(e)には図15(f),図15(g),図15(h)に示すタグTc(Ta),Tdを、拳銃HGの台尻の鎖を取付ける金具にぶらさげる方式を示す。
拳銃HGの台尻部は一番下方にあり、センサMISSとの距離が一番近いので、拳銃HGを含む周囲の影響を受け難くすることができるので、タグTc(Ta),Tdとの通信が一番行われ易い所となる。
タグTc(Ta),Tdはひもや鎖が通る穴のついたプラスチックケースPhの中に納められている。タグTcの形は円形,円筒形,角形,立方体形,棒状に巻かれた、例えば図15(f),図15(g)に示すようなタグであったりしてもよい。また、図15(h)に示すようなx,y,z3方向に突起のある磁性体にそれぞれ3方向の磁界を励振するコイルCtx,Cty,Ctzが巻かれており、このコイルCtx,Cty,CtzにICが取付けられている3方向対応のタグであったりしてもよく、このようなタグTdを取付けてもよい。なお、3方向の突起の形状は、図15(h)に示すように円筒形であってもよいし、円形,角形,立方体形,棒状等の形状であってもよい。また、台尻の空間でなく、台尻の下方に直接タグTaを接着剤等で貼り付けることもできる。
安全のために、タグTa,Tb,Tc,Td等を複数個取付け、取外された場合や万一捕捉できなかった場合に拳銃HG〜HGの存在やIDを正確に記録できるようにシステムを構築することも必要となる。
[結論]
以上のような本発明の図書、ファイル、記録媒体、銃器等の管理するターゲットとなる物品の管理用センサシステム及びセンサ棚は詳細な説明でも説明したように、図書、ファイル、記録媒体、銃器等に取付けられたタグのIDや記録といった情報を読み取るためのセンサ感度を特別な方向で上昇させ、金属面上でセンサ感度を上昇させ、センサの継ぎ目の問題、金属側板の問題、センサ同士の結合の問題、金属面を持つディスクに貼られたタグを読み取る方法、銃器に取付けられたタグを読み取る方法等多くの問題を解決し、センサ上部に並べられた物品(対象物)に貼られたタグ全数を読めるようにすることができる。
(a)本実施例に係るセンサを示す斜視図、(b)(a)に示すセンサをy方向から見た場合を示す図、(c)(a)に示すセンサに比べて磁性体の厚さが厚い場合を示す図、(d)(c)に示すセンサをy方向から見た場合の図 (a)本実施例に係るセンサを示す斜視図、(b)センサホルダに収納した(a)に示すセンサをy方向から見た場合を示す図で図3(a)に示す図の断面図、(c)コイルの巻き方(右回り)を示す図、(d)コイルの巻き方(左回り)を示す図 (a)図2に示すセンサに比べてセンサ長を約1/2とした場合のセンサユニットを示す斜視図、(b)(a)に示すセンサユニットの上面での磁界分布を示す図 図3に示すセンサを図書用金属棚に取付けた場合の説明図 図4に示す図書用金属棚を正面から見た図 (a)コイルを磁性体の中心部より並列に2本ずつ巻いて行く場合を示す図、(b)コイルを磁性体の中心部より並列に4本ずつ巻いて行く場合を示す図 (a)センサとセンサの間に補助センサを置いた場合のセンサユニットを示す図、(b)(a)に示すセンサユニットの上面での磁界分布を示す図、(c)直交する磁界を作る必要がある場合のセンサユニットに用いる補助センサ例を示す図 (a)金属棚の端部における磁路の誘導装置を示す図、(b)コイルが巻かれたセンサの端部のみ拡大した図、(c)金属側板が何故通信を害するかを説明する図 (a)図書棚の斜視図で前後に2段上下に2段並べ、これを角柱Pで支えている例を示す図、(b)前後2段、上下3段の金属棚が構成されている場合の横から見た図書棚の説明図 センサが前後に8個並べられた場合を上から見た図 (a),(b)補助センサを用いる場合、また誘導装置を用いる場合に、センサとセンサケースの形状を定める場合の条件を示す図、(c)プラスチック側板を鉄のフレームで支え、センサ下方に支持部材を設けた場合の図 (a)磁性体とこれに巻かれているコイルの電流と、この電流により発生する磁界を示す図、(b)逆相の磁界を示す図、(c)補助センサにより発生する磁界を示す図 (a)ディスクケースの内側にタグを貼り、その上に薄い磁性体板を貼り付ける場合を示す図、(b)ケースにタグのみを貼った場合(A)と、タグに薄い磁性体板を貼った場合(B)を示す図、(c)スタンドに共振器を内蔵させた場合を示す図 (a)ディスク用タグを示す図、(b)ディスク用タグと磁性体MSを示す図、(c)ディスクホルダに磁性体MSを取付けた場合を示す図 本実施例の管理用センサシステム及びセンサ棚を用いて拳銃の管理を行う場合を示す図で、(a)拳銃の握り部の金属枠にタグを取り付ける場合を示す図、(b)金属親和性タグを示す図、(c)タグを拳銃の握りの鉄枠により作られる空洞部に納める場合を説明する図、(d)通常の安価な偏平コイルによるタグを示す図、(e)タグを拳銃の台尻の鎖を取付ける金具にぶらさげる方式を示す図、(f)円筒形のタグを示す図、(g)角形(立方体形)のタグを示す図、(h)3方向に突起のある磁性体にそれぞれ3方向の磁界を発生させるタグを示す図
符号の説明
2 コイル(センサのコイル)
6 磁性体
CC,CC,CC 同軸ケーブル
Ct コイル(情報記録媒体のコイル)
FP 給電部
IC タグのIC
IS インテリジェントシェルフ(センサ棚)
M 金属板(又は金属面)(金属部)
Mat 整合器(整合装置)
MC センサホルダ(センサ収容部)
MESS 誘導装置(誘導手段)
MISS 金属親和性センサ(センサ)
MSP 金属側板(側板)
P 角柱(支柱)
PCB 基板
S センサ
SP 側板
SMP 遮蔽板(遮蔽手段)
Sub 補助センサ(補助手段)
SS 図書用金属棚(センサ棚)
T タグ(情報記録媒体)
Ta,Tb,Tc,Td タグ(情報記録媒体)
#1,#2,#3,#4 センサ

Claims (21)

  1. コイルと、前記コイルに接続され物品に関する情報を記憶するICと、を有し、前記物品に貼付される情報記録媒体と、
    磁性体と、前記磁性体に所定の間隔で巻回されたコイルと、を有し、前記コイルに電流を流して磁界を発生させ前記情報記録媒体のコイルと電磁結合することにより、前記情報記録媒体のICに記憶された前記物品に関する情報の送受信を行う少なくとも1以上のセンサと、
    前記センサのコイルの軸方向と平行な面を有し、前記センサのコイルが巻回された前記磁性体の一面に接し、前記センサの感度を向上させるための金属部と、
    を備え、
    前記センサは、前記センサの磁性体と前記金属部が接する面と反対側の面の外側に発生する該センサのコイルの軸方向に平行な磁界によって、前記情報記録媒体と前記物品に関する情報の送受信を行うことを特徴とする管理用センサシステム。
  2. 請求項1に記載の管理用センサシステムにおいて、
    前記センサのコイルは、該センサのコイルの軸方向に物品を並べる場合の前記情報記録媒体が貼付される物品の厚みが厚い場合は、巻回する間隔を広くし、前記物品の厚みが薄い場合は巻回する間隔を狭くすることを特徴とする管理用センサシステム。
  3. 請求項2に記載の管理用センサシステムにおいて、
    前記情報記録媒体が貼付される物品の厚みが薄い場合には、前記情報記録媒体間の間隔も近づくのでそれに合せて前記センサのコイルの間隔も狭くし、一個一個の前記情報記録媒体のコイルとの結合がとれ、全部の前記情報記録媒体との交信が可能となるように前記センサのコイルの間隔も狭くし、前記情報記録媒体との交信を強くするようにすることを特徴とする管理用センサシステム。
  4. 請求項1乃至3のいずれかに記載の管理用センサシステムにおいて、
    2以上の前記センサを並べる場合には、前記2以上のセンサのコイルの軸方向が一致するように配置し、
    前記情報記録媒体が貼付される物品の厚みが厚い場合には、前記センサのコイルの軸方向の長さを長くしかつ該センサの数を減らし、
    前記情報記録媒体が貼付される物品の厚みが薄い場合には、前記センサのコイルの軸方向の長さを短くしかつ該センサの数を増やすことを特徴とする管理用センサシステム。
  5. 請求項1乃至4のいずれか1項に記載の管理用センサシステムにおいて、
    2以上の前記センサを並べる場合に前記センサと前記センサとの間に配置され、磁性体と、前記磁性体に所定の間隔で巻回された第一のコイルと、前記第一のコイルに接続され前記センサにより発生する磁界を励振するための第一の共振器と、を有する補助手段を備えることを特徴とする管理用センサシステム。
  6. 請求項1乃至4のいずれか1項に記載の管理用センサシステムにおいて、
    2以上の前記センサを並べる場合に前記センサと前記センサとの間に配置され、磁性体と、前記磁性体に所定の間隔で巻回された第一のコイルと、前記第一のコイルに接続され前記センサにより発生する磁界を励振するための第一の共振器と、前記第一のコイルに直交するように前記磁性体に巻回された第二のコイルと、前記第二のコイルに接続される第二の共振器と、を有する補助手段を備えることを特徴とする管理用センサシステム。
  7. 請求項1乃至6のいずれか1項に記載の管理用センサシステムにおいて、
    端部に配置される前記センサは、前記センサの磁性体が発生する磁界の磁路を前記センサのコイルの軸方向に平行な磁界へと導くための誘導手段を有することを特徴とする管理用センサシステム。
  8. 請求項7に記載の管理用センサシステムにおいて、
    前記誘導手段は、前記センサの磁性体の端部を逆L字形に形成したものであることを特徴とする管理用センサシステム。
  9. 請求項1乃至8のいずれか1項に記載の管理用センサシステムにおいて、
    前記センサのコイルは、前記センサの磁性体の端部から他方の端部に向かって巻回されることを特徴とする管理用センサシステム。
  10. 請求項1乃至8のいずれか1項に記載の管理用センサシステムにおいて、
    前記センサのコイルは、前記センサの磁性体の中央部から両端部に向かって巻回されることを特徴とする管理用センサシステム。
  11. 請求項1乃至10のいずれか1項に記載の管理用センサシステムにおいて、
    前記センサのコイルは、線状又は帯状であることを特徴とする管理用センサシステム。
  12. 請求項1乃至11のいずれか1項に記載の管理用センサシステムにおいて、
    前記センサの磁性体は、断面が平たい矩形又は楕円形であることを特徴とする管理用センサシステム。
  13. 請求項1乃至12のいずれか1項に記載の管理用センサシステムにおいて、
    前記センサで送受信した前記物品に関する情報を読み取り又は書き込む読取書込装置と、
    前記センサと前記読取書込装置との整合をとるための整合装置と、
    前記センサと前記整合装置とを接続する同軸ケーブルと、
    前記読取書込装置によって読み取り又は書き込んだ前記物品に関する情報を管理するためのコンピュータと、
    を備えることを特徴とする管理用センサシステム。
  14. 請求項1乃至13のいずれか1項に記載の管理用センサシステムを備え、
    前記金属部は、前記少なくとも1以上のセンサを収容するセンサ収容部であり、
    前記センサ収容部を収納する棚と、
    前記棚の両端に配置される側板と、
    前記側板が設置され、前記棚及び該側板を支える2つの支柱と、
    を備えることを特徴とするセンサ棚。
  15. 請求項14に記載のセンサ棚において、
    前記2つの支柱の間に設置される遮蔽手段を備えることを特徴とするセンサ棚。
  16. 請求項14又は15に記載のセンサ棚において、
    前記側板は、金属又はプラスチックにより形成されることを特徴とするセンサ棚。
  17. 請求項14乃至16のいずれか1項に記載のセンサ棚において、
    前記支柱は、前記同軸ケーブルが収容される穴部を有することを特徴とするセンサ棚。
  18. 請求項15乃至17のいずれか1項に記載のセンサ棚において、
    前記支柱は、長穴を有し、
    前記遮蔽手段は、前記長穴に取付けるための爪部を有し、
    前記側板は、支持部材を有することを特徴とするセンサ棚。
  19. 請求項14乃至18のいずれか1項に記載のセンサ棚において、
    前記情報記録媒体を貼付する物品は、CD又はDVDを含む記録媒体であり、
    前記CD又は前記DVDのプラスチックケースに貼り付けて磁路を作り、前記センサと前記情報記録媒体との結合を強くするための磁性体片を備えることを特徴とするセンサ棚。
  20. 請求項14乃至18のいずれか1項に記載のセンサ棚において、
    前記情報記録媒体を貼付する物品は、CD又はDVDを含む記録媒体であり、
    前記CD又は前記DVDを収納するためのホルダに貼り付けて磁路を作り、前記センサと前記情報記録媒体との結合を強くするための磁性体片を備えることを特徴とするセンサ棚。
  21. 請求項14乃至18のいずれか1項に記載のセンサ棚において、
    前記情報記録媒体を貼付する物品は、銃器であり、
    前記情報記録媒体は、前記銃器の台尻に貼付されることを特徴とするセンサ棚。
JP2008221587A 2008-08-29 2008-08-29 センサ棚 Expired - Fee Related JP5329874B2 (ja)

Priority Applications (1)

Application Number Priority Date Filing Date Title
JP2008221587A JP5329874B2 (ja) 2008-08-29 2008-08-29 センサ棚

Applications Claiming Priority (1)

Application Number Priority Date Filing Date Title
JP2008221587A JP5329874B2 (ja) 2008-08-29 2008-08-29 センサ棚

Publications (2)

Publication Number Publication Date
JP2010057047A true JP2010057047A (ja) 2010-03-11
JP5329874B2 JP5329874B2 (ja) 2013-10-30

Family

ID=42072459

Family Applications (1)

Application Number Title Priority Date Filing Date
JP2008221587A Expired - Fee Related JP5329874B2 (ja) 2008-08-29 2008-08-29 センサ棚

Country Status (1)

Country Link
JP (1) JP5329874B2 (ja)

Cited By (1)

* Cited by examiner, † Cited by third party
Publication number Priority date Publication date Assignee Title
CN110584342A (zh) * 2019-10-18 2019-12-20 北京印刷学院 一种便于rfid标签读取的倾斜式智慧书架

Citations (5)

* Cited by examiner, † Cited by third party
Publication number Priority date Publication date Assignee Title
JP2001225921A (ja) * 2000-02-14 2001-08-21 Hitachi Kokusai Electric Inc 物品管理用収納棚
JP2005070855A (ja) * 2003-08-27 2005-03-17 Mitsubishi Materials Corp Rfid用タグ及びその製造方法
JP2006295981A (ja) * 2002-01-17 2006-10-26 Mitsubishi Materials Corp リーダ/ライタ用アンテナ及び該アンテナを備えたリーダ/ライタ
JP2008131344A (ja) * 2006-11-21 2008-06-05 Smart:Kk センサ・タグの多面影像方式
JP2008129850A (ja) * 2006-11-21 2008-06-05 Smart:Kk 共振器付フィールド改善システム

Patent Citations (5)

* Cited by examiner, † Cited by third party
Publication number Priority date Publication date Assignee Title
JP2001225921A (ja) * 2000-02-14 2001-08-21 Hitachi Kokusai Electric Inc 物品管理用収納棚
JP2006295981A (ja) * 2002-01-17 2006-10-26 Mitsubishi Materials Corp リーダ/ライタ用アンテナ及び該アンテナを備えたリーダ/ライタ
JP2005070855A (ja) * 2003-08-27 2005-03-17 Mitsubishi Materials Corp Rfid用タグ及びその製造方法
JP2008131344A (ja) * 2006-11-21 2008-06-05 Smart:Kk センサ・タグの多面影像方式
JP2008129850A (ja) * 2006-11-21 2008-06-05 Smart:Kk 共振器付フィールド改善システム

Cited By (1)

* Cited by examiner, † Cited by third party
Publication number Priority date Publication date Assignee Title
CN110584342A (zh) * 2019-10-18 2019-12-20 北京印刷学院 一种便于rfid标签读取的倾斜式智慧书架

Also Published As

Publication number Publication date
JP5329874B2 (ja) 2013-10-30

Similar Documents

Publication Publication Date Title
US8305217B2 (en) Field improving system provided with resonator
JP2011165133A (ja) 物品載置棚、棚板および調整板
JP5195263B2 (ja) 情報伝達媒体管理システム
JP2010154012A (ja) Rfidタグ用識別システム
RU2655250C1 (ru) Кардридер
JP2009259273A (ja) 共振器付フィールド改善システム
JP4093771B2 (ja) Rf−idを用いた書類管理装置
JP5329874B2 (ja) センサ棚
JP5248274B2 (ja) 金属対応センサ及び管理システム
JP2011029814A (ja) リーダ用アンテナならびにアンテナ付き物品載置棚およびアンテナ付き物品載置台
JP5639684B2 (ja) 金属面用多極磁界センサ、センサシステム及び金属面用多極磁界センサの製造方法
JP3956215B2 (ja) Rfidシステム並びにrfidタグの相互干渉抑制方法
WO2004114241A2 (en) Apparatus for and method of tracking stored objects
US8511568B2 (en) Sensor tag multiplane imaging system
JP4842712B2 (ja) 管理システムおよび収納容器
JP2005339663A (ja) 情報記憶媒体ケース
JP2005339170A (ja) 非接触通信システム
WO2007099723A1 (ja) リーダ用アンテナならびにアンテナ付き物品載置棚およびアンテナ付き物品載置台
JP5152843B2 (ja) 情報読み取り装置およびこの情報読み取り装置を用いた電子タグ付き物品の管理システム
JP4688167B2 (ja) リーダ用アンテナならびにアンテナ付き物品載置棚およびアンテナ付き物品載置台
JP5639330B2 (ja) 金属面用多極磁界センサ、センサシステム及び金属面用多極磁界センサの製造方法
JP4756648B2 (ja) リーダ用アンテナならびにアンテナ付き物品載置棚およびアンテナ付き物品載置台
JP2024541970A (ja) Rfidアンテナ
JP4644501B2 (ja) 物品情報を読出可能な引き出しを備える什器
WO2020026481A1 (ja) リーダライタ装置

Legal Events

Date Code Title Description
A621 Written request for application examination

Free format text: JAPANESE INTERMEDIATE CODE: A621

Effective date: 20110819

A131 Notification of reasons for refusal

Free format text: JAPANESE INTERMEDIATE CODE: A131

Effective date: 20130129

A521 Request for written amendment filed

Free format text: JAPANESE INTERMEDIATE CODE: A523

Effective date: 20130327

TRDD Decision of grant or rejection written
A01 Written decision to grant a patent or to grant a registration (utility model)

Free format text: JAPANESE INTERMEDIATE CODE: A01

Effective date: 20130625

A61 First payment of annual fees (during grant procedure)

Free format text: JAPANESE INTERMEDIATE CODE: A61

Effective date: 20130725

R150 Certificate of patent or registration of utility model

Free format text: JAPANESE INTERMEDIATE CODE: R150

R350 Written notification of registration of transfer

Free format text: JAPANESE INTERMEDIATE CODE: R350

LAPS Cancellation because of no payment of annual fees