JP2010056982A - 磁性体アンテナ及びアンテナ装置 - Google Patents

磁性体アンテナ及びアンテナ装置 Download PDF

Info

Publication number
JP2010056982A
JP2010056982A JP2008220739A JP2008220739A JP2010056982A JP 2010056982 A JP2010056982 A JP 2010056982A JP 2008220739 A JP2008220739 A JP 2008220739A JP 2008220739 A JP2008220739 A JP 2008220739A JP 2010056982 A JP2010056982 A JP 2010056982A
Authority
JP
Japan
Prior art keywords
magnetic
antenna
flexible substrate
coil conductor
conductor
Prior art date
Legal status (The legal status is an assumption and is not a legal conclusion. Google has not performed a legal analysis and makes no representation as to the accuracy of the status listed.)
Granted
Application number
JP2008220739A
Other languages
English (en)
Other versions
JP4957683B2 (ja
Inventor
Kuniaki Yosui
邦明 用水
Hiroyuki Kubo
浩行 久保
Hiromitsu Ito
宏充 伊藤
Current Assignee (The listed assignees may be inaccurate. Google has not performed a legal analysis and makes no representation or warranty as to the accuracy of the list.)
Murata Manufacturing Co Ltd
Original Assignee
Murata Manufacturing Co Ltd
Priority date (The priority date is an assumption and is not a legal conclusion. Google has not performed a legal analysis and makes no representation as to the accuracy of the date listed.)
Filing date
Publication date
Application filed by Murata Manufacturing Co Ltd filed Critical Murata Manufacturing Co Ltd
Priority to JP2008220739A priority Critical patent/JP4957683B2/ja
Priority to US12/507,272 priority patent/US8294629B2/en
Priority to DE102009038824A priority patent/DE102009038824A1/de
Publication of JP2010056982A publication Critical patent/JP2010056982A/ja
Application granted granted Critical
Publication of JP4957683B2 publication Critical patent/JP4957683B2/ja
Active legal-status Critical Current
Anticipated expiration legal-status Critical

Links

Images

Classifications

    • HELECTRICITY
    • H01ELECTRIC ELEMENTS
    • H01QANTENNAS, i.e. RADIO AERIALS
    • H01Q1/00Details of, or arrangements associated with, antennas
    • H01Q1/12Supports; Mounting means
    • H01Q1/20Resilient mountings
    • HELECTRICITY
    • H01ELECTRIC ELEMENTS
    • H01QANTENNAS, i.e. RADIO AERIALS
    • H01Q1/00Details of, or arrangements associated with, antennas
    • H01Q1/12Supports; Mounting means
    • H01Q1/22Supports; Mounting means by structural association with other equipment or articles
    • H01Q1/2208Supports; Mounting means by structural association with other equipment or articles associated with components used in interrogation type services, i.e. in systems for information exchange between an interrogator/reader and a tag/transponder, e.g. in Radio Frequency Identification [RFID] systems
    • HELECTRICITY
    • H01ELECTRIC ELEMENTS
    • H01QANTENNAS, i.e. RADIO AERIALS
    • H01Q1/00Details of, or arrangements associated with, antennas
    • H01Q1/36Structural form of radiating elements, e.g. cone, spiral, umbrella; Particular materials used therewith
    • H01Q1/38Structural form of radiating elements, e.g. cone, spiral, umbrella; Particular materials used therewith formed by a conductive layer on an insulating support
    • HELECTRICITY
    • H01ELECTRIC ELEMENTS
    • H01QANTENNAS, i.e. RADIO AERIALS
    • H01Q7/00Loop antennas with a substantially uniform current distribution around the loop and having a directional radiation pattern in a plane perpendicular to the plane of the loop

Landscapes

  • Details Of Aerials (AREA)
  • Support Of Aerials (AREA)

Abstract

【課題】磁性体コアの面に垂直な向きの磁束に対して強く結合でき、アンテナ開口を広くとれるようにし、磁束の放射効率を高めた、高感度な磁性体アンテナおよびアンテナ装置を得る。
【解決手段】磁性体アンテナ101はフレキシブル基板23と矩形板状の磁性体コア22とを備えている。フレキシブル基板23には矩形渦巻状のコイル導体24が形成されていて、コイル導体24の巻回中心部を導体開口部CWとしている。フレキシブル基板23は、導体開口部CWの中心から離れたコイル導体24の2辺に沿って且つ磁性体コア22の2辺に沿って折り曲げられ、このフレキシブル基板23で磁性体コア22の上面、左右の側面、及び下面の一部を包まれる。
【選択図】図2

Description

この発明は、外部機器と電磁界信号を介して通信するRFID(Radio Frequency Identification)システム等に用いられる磁性体アンテナおよびアンテナ装置に関するものである。
近年、利用が拡大しているRFIDシステムにおいては、携帯電話等の携帯電子機器とリーダ・ライタの各々に情報通信用のアンテナを搭載し、互いにデータを交信している。このうち携帯電子機器に搭載されるアンテナには特に、高性能、低価格、小型化の要請が強く、これらを実現しようとするものとして、磁性体コアを備えた磁性体アンテナが特許文献1に開示されている。
図1は特許文献1に示されている磁性体アンテナの斜視図である。このアンテナ10は、磁芯部材(磁性体コア)12と、一連の第1導体(コイル導体)13により渦巻き部13aが一方の主面に形成された単一の電気絶縁フィルム(フレキシブル基板)14とを備える。電気絶縁フィルム14の他方の主面には第2導体15が形成されていて、この第2導体15の端部と第1導体13の端部とがICチップ16に接続されている。
特許第3772778号公報
ところが、特許文献1の構成では、フレキシブル基板を中央で折り曲げて磁性体を挟み込む構造であるので、基本的に、磁性体コアの面に対して平行な方向からの磁束に対して結合させるものである。そのため、磁性体コアの面に垂直な方向からの磁束はコイル導体のループ面を一方から他方へ貫通することにならず、非常に弱い結合しか得られない。
また、コイル導体の一部が磁性体コアの磁束透過面の一部を塞いでアンテナの開口が小さくなるため、やはり結合が弱くなる、という問題があった。
そこで、この発明の目的は、磁性体コアの面に垂直な向きの磁束に対して強く結合でき、アンテナ開口を広くとれるようにし、磁束の放射効率を高めた、高感度な磁性体アンテナおよびアンテナ装置を提供することにある。
前記課題を解決するために、この発明の磁性体アンテナは次のように構成する。
(1)コイル導体が形成されたフレキシブル基板が磁性体コアの表面に沿って巻き付けられた磁性体アンテナにおいて、
前記磁性体コアは平行な少なくとも2辺を備えた板状を成し、
前記コイル導体は、巻回中心部を導体開口部とする、平行な少なくとも2辺を備える矩形渦巻き状を成し、
前記フレキシブル基板は、前記導体開口部の中心から離れた前記コイル導体の2辺に沿って且つ前記磁性体コアの前記2辺に沿って折り曲げられたことを特徴とする。
この構成により、磁性体コアの主面に対して垂直に透過する磁束が渦巻き状を成すコイル導体のループ内を過ぎることになり、強く結合する。また、コイル導体の2辺が磁性体コアの2辺の近傍に位置することになるので、コイル導体が磁性体コアの磁束透過面の一部を大きく塞ぐことがなく、アンテナの開口が広く確保できる。
そのため、磁束の放射効率が高まり、アンテナの感度が高まって、通信可能な距離が延びる。
(2)前記コイル導体は、接続された2つの矩形渦巻き状のコイル導体とする。
これにより、2つのコイル導体の接続方法(直列/並列)を適宜選ぶことにより、アンテナのインピータンスを広範囲に亘って設計できるようになる。
(3)前記2つの矩形渦巻き状のコイル導体は互いに巻回方向が逆であり、直列に接続されたものとする。
これにより、2つのコイル導体の接続パターンが簡素なものとなり、配線同士の絶縁が不要となり、実装先の回路基板上で直列接続する必要もなくなる。
(4)また、この発明のアンテナ装置は、以上のいずれかに記載の磁性体アンテナと、当該磁性体アンテナに近接する、面状に広がる導体を有する板材(例えば基板・LCDシールド板)と、を備えて構成する。
これにより、磁性体コアの或る側面から他の側面へ透過する磁束が生じて、コイル導体のループ内をこの磁束も過ぎることになるので、実効的なアンテナの開口が広がり、高感度なアンテナ装置が構成できる。
この発明によれば、磁性体コアの面に対して垂直な磁束に対して強く結合でき、またアンテナの開口が実質的に大きくなり、磁束の放射効率が高まって、RFIDシステムに適用した際に通信可能な距離が延びる。
《第1の実施形態》
図2は第1の実施形態に係る磁性体アンテナ101の構成を示す図であり、(A)は磁性体アンテナ101で用いられるフレキシブル基板の展開状態の斜視図、(B)は磁性体アンテナ101で用いられる磁性体コア及びフレキシブル基板の折り曲げた状態での斜視図、(C)は磁性体アンテナ101の斜視図である。
図2に示すように、磁性体アンテナ101は、コイル導体24を形成したフレキシブル基板23と磁性体コア22とを備えている。フレキシブル基板23には矩形渦巻状のコイル導体24が形成されていて、コイル導体24の巻回中心部を導体開口部CWとして形成されている。すなわち、この導体開口部CWを取り囲むように渦巻状のコイル導体24が形成されている。
図2(A)中の4本の二点鎖線は、このフレキシブル基板23の折り曲げ箇所を示している。図2に示すように、磁性体コア22に対して、フレキシブル基板23を二点鎖線に沿って折り曲げるとともに、このフレキシブル基板23で磁性体コア22の上面、左右の側面、及び下面の一部を包むように、フレキシブル基板23が配置される。
磁性体コア22は矩形板状を成している。すなわち、磁性体コア22は平行な少なくとも2辺を備えた板状を成している。そして、フレキシブル基板23は、導体開口部CWの中心から離れたコイル導体24の2辺に沿って且つ磁性体コア22の2辺に沿って折り曲げられる。
このような構成により、磁性体コア22の主面に対して垂直に透過する磁束がコイル導体24のループ内を過ぎることになり、磁束の放射効率が高まる。また、コイル導体24の2辺が磁性体コア22の2辺の近傍に位置することになるので、コイル導体24が磁性体コア22の磁束透過面の一部を大きく塞ぐことがなく、アンテナの開口が広く確保できる。そのため、磁束の放射効率が高まり、アンテナの感度が高まって、通信可能な距離が延びる。
図2(A)に示したコイル導体24の両端部はコイル導体接続部であり、このコイル導体接続部が実装先の回路基板上の電極に導通するように磁性体アンテナ101が実装される。このようにして磁性体アンテナ101が回路基板に実装された状態で、上記回路基板に形成された導体(グランドパターン)と磁性体アンテナ101とによってアンテナ装置が構成されることになる。
《第2の実施形態》
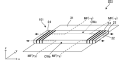
図3は第2の実施形態に係る磁性体アンテナ及びアンテナ装置の構成を示す図であり(A)はアンテナ装置の斜視図、(B)はその磁性体アンテナのコイル導体に流れる電流及び磁性体コアを透過する磁束について示している。
図3(A)に示すように、金属板31に磁性体アンテナ101を実装することによってアンテナ装置201が構成される。金属板31は、例えば回路基板に形成された導体(グランドパターン)である。この金属板31が、本発明に係る「面状に広がる導体を有する板材」に相当する。
図3(A)において破線は主な磁束を表している。磁束を通さない金属板31の上に、磁性体アンテナ101が配置されることにより、金属板31に対して垂直方向からの磁束MFaがコイル導体の開口部CWaより入射して磁性体コア22の左右の端部から抜ける磁路が形成される。また、金属板31に対して垂直方向からの磁束MFbがコイル導体の開口部CWbより入射して磁性体コア22の左右の端部から抜ける磁路が形成される。同様に、金属板31に対して垂直方向からの磁束MFcがコイル導体の開口部CWcより入射して磁性体コア22の左右の端部から抜ける磁路が形成される。
図3(B)は、磁性体コア22を透過する磁束とコイル導体24に流れる電流との関係を表している。但し、図の煩雑化を避けるためにコイル導体24はワンターンとして表している。この図に示すように、磁性体コア22を中央から両端面方向に磁束が透過すると、この磁束がコイル導体24のループ内を過ぎるため、起電力が発生する。したがって、図3(A)に示したように、磁束MFa,MFb,MFcが磁性体コア22を透過する際に、コイル導体24に起電力が発生する。
図4は、アンテナ装置201に対して、金属板の面に平行な向きに磁束が向く場合について、形成される磁路の様子を示している。金属板31の面に対して平行な+y方向に磁束MF(+y)が向く場合、図4中に破線で示すように、コイル導体24の開口部CWbより入射して磁性体コア22の左右の端部から抜ける磁路が形成される。同様に、−y方向に磁束MF(-y)が向く場合、図4中に破線で示すように、コイル導体24の開口部CWcより入射して磁性体コア22の左右の端部から抜ける磁路が形成される。
この磁路には方向性がないので、磁束がx方向に向く場合には、磁束は磁性体コア22の右又は左の端部から入射し、コイル導体24の開口部CWb,CWcより抜ける。
なお、磁性体アンテナ101をy方向に直進する磁束やx方向に直進する磁束もあるが、コイル導体への起電力の誘起には寄与しない。
このようにして、磁束の向きは図3(A)に示したz方向だけでなく、x方向、y方向についても高い感度を有するアンテナ装置が得られる。
なお、上記回路基板以外にも、例えば液晶表示パネルの裏面に配置されるシールド板に磁性体アンテナを配置して、このシール板と磁性体アンテナとによってアンテナ装置を構成してもよい。
《第3の実施形態》
図5は第3の実施形態に係る磁性体アンテナ102の構成を示す図であり、(A)は磁性体アンテナ102で用いるフレキシブル基板の展開図、(B)は磁性体アンテナ102で用いる磁性体コア22の斜視図、(C)は磁性体アンテナ102の斜視図である。
この第3の実施形態に係る磁性体アンテナ102では、フレキシブル基板23に2つの矩形渦巻き状のコイル導体24a,24bが形成されている。両者の巻回方向は互いに逆であり、フレキシブル基板23上で直列接続されている。矩形渦巻き状を成すコイル導体24a,24bのそれぞれの内終端にはコイル導体の接続部25a,25bが形成されている。
図5(A)中の4本の二点鎖線は、このフレキシブル基板23の折り曲げ箇所を示している。フレキシブル基板23は、導体開口部CWa,CWbの中心から離れたコイル導体24a,24bの2辺に沿って、且つ磁性体コア22の2辺に沿って折り曲げられる。
このような構成により、磁性体コア22の主面に対して垂直に透過する磁束がコイル導体24のループ内を過ぎることになり、磁束の放射効率が高まる。また、コイル導体24の2辺が磁性体コア22の2辺の近傍に位置することになるので、コイル導体24が磁性体コア22の磁束透過面の一部を大きく塞ぐことがなく、アンテナの開口が広く確保できる。そのため、磁束の放射効率が高まり、アンテナの感度が高まって、通信可能な距離が延びる。
また、この磁性体アンテナ102を第2の実施形態で図3に示したように金属板に近接させた場合にも、図3(A)や図4に示した磁路が形成され、第2の実施形態の場合と同様の効果を奏する。
図5に示した例では、2つのコイル導体24a,24bの接続パターンが簡素なものとなり、配線同士の絶縁が不要であるので、実装先の回路基板上で直列接続する必要もなくなる。2つのコイル導体を並列接続する場合や実装先の回路基板上で直列接続または並列接続する場合には、2つのコイル導体のループを過ぎる磁束によってそれぞれ生じる起電力の向きが加算される方向に接続すればよいので、2つのコイル導体の巻回方向は同方向・逆方向のいずれでも構成できる。
このように2つのコイル導体を用いれば、2つのコイル導体の接続方法(直列/並列)を適宜選ぶことにより、アンテナのインピータンスを広範囲に亘って設計できるようになる。
なお、各実施形態では、フレキシブル基板を4本のラインで90度に折り曲げて磁性体コアの三面を包むように配置したが、フレキシブル基板は90度に折り曲げる必要はなく、湾曲させて磁性体コアに巻き付けるように配置してもよい。
《第4の実施形態》
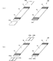
図6は第4の実施形態に係る磁性体アンテナ103,104の構成を示す図であり、(A)は磁性体アンテナ103の斜視図及びその分解斜視図である。また、(A)は磁性体アンテナ103の斜視図及びその分解斜視図である。
図6(A)に示すように、磁性体アンテナ103は、コイル導体24が形成されたフレキシブル基板23と2つの磁性体コア22A,22Bとを備えている。この2つのコア22A,22Bはフレキシブル基板23のコイル導体24の巻回位置に配置される。フレキシブル基板23及びそれに対するコイル導体24の形成パターンは図2に示したものと同様である。
このように磁性体コアを2つに分割するとともに、それぞれを必要な位置にのみ配置することにより、磁性体コア22A,22Bは、磁路としての作用を保ったまま、その耐衝撃性が高まる。また、磁性体コアの占有体積が削減され軽量化が図れる。
図6(B)に示す例は、フレキシブル基板23の両端部に配置する磁性体コアが更に2分割されたものである。ここで、一方端の磁性体コア22Aa,22Abは一定の微小間隙を設けて並設される。他方端の磁性体コア22Ba,22Bbも一定の微小間隙を設けて並設される。
このように磁性体コアを全体で4つに分割することにより、各磁性体コア22Aa,22Ab,22Ba,22Bbの耐衝撃性がさらに高まる。
なお、機器の落下等に起因する衝撃によって、並設されている磁性体コア22Aa,22Ab同士、及び磁性体コア22Ba,22Bb同士が当接しないように、磁性体コア22Aa−22Ab間、及び22Ba−22Bb間にそれぞれ軟質のスペーサを介在させてもよい。また、各磁性体コア22Aa,22Ab,22Ba,22Bbをフレキシブル基板23または実装先の回路基板に接着してもよい。
《第5の実施形態》
図7は第5の実施形態に係る磁性体アンテナ105の構成を示す図であり、(A)は磁性体アンテナ105で用いるフレキシブル基板の展開状態の斜視図、(B)は磁性体アンテナ105の斜視図である。
図7に示すように、磁性体アンテナ105は、コイル導体24を形成したフレキシブル基板23と磁性体コア22とを備えている。フレキシブル基板23には全体的には矩形渦巻状のコイル導体24が形成されていて、その一部にインダクタンス調整用のコイル導体パターン24Aa,24Ab,24Ac,24Ba,24Bb,24Bcが形成されている。
図7(A)中の4本の二点鎖線は、このフレキシブル基板23の折り曲げ箇所を示している。図7に示すように、磁性体コア22に対して、フレキシブル基板23を二点鎖線に沿って折り曲げるとともに、このフレキシブル基板23で磁性体コア22の上面、左右の側面、及び下面の一部を包むように、フレキシブル基板23が配置される。
このような構成により、インダクタンス調整用のコイル導体パターン24Aa,24Ab,24Ac,24Ba,24Bb,24Bcのうち所定の一つまたは複数のコイル導体パターンをレーザトリミングすることにより、磁性体アンテナ105のインダクタンスを所定値に定めることが可能となる。
特許文献1に示されている磁性体アンテナの斜視図である。 第1の実施形態に係る磁性体アンテナ101の構成を示す図であり、(A)は磁性体アンテナ101で用いるフレキシブル基板の展開状態の斜視図、(B)は磁性体アンテナ101で用いる磁性体コア及びフレキシブル基板の折り曲げた状態での斜視図、(C)は磁性体アンテナ101の斜視図である。 第2の実施形態に係る磁性体アンテナ及びアンテナ装置の構成を示す図であり(A)はアンテナ装置の斜視図、(B)はその磁性体アンテナのコイル導体に流れる電流及び磁性体コアを透過する磁束について示す図である。 アンテナ装置201に対して、金属板の面に平行な向きに磁束が向く場合について、形成される磁路の様子を示す図である。 第3の実施形態に係る磁性体アンテナ102の構成を示す図であり、(A)は磁性体アンテナ102で用いるフレキシブル基板の展開図、(B)は磁性体アンテナ102で用いる磁性体コア22の斜視図、(C)は磁性体アンテナで102の斜視図である。 第4の実施形態に係る2つの磁性体アンテナの構成を示す図であり、(A)は磁性体アンテナ103の斜視図及びその分解斜視図である。また、(A)は磁性体アンテナ103の斜視図及びその分解斜視図である。 第5の実施形態に係る磁性体アンテナ105の構成を示す図であり、(A)は磁性体アンテナ105で用いるフレキシブル基板の展開状態の斜視図、(B)は磁性体アンテナ105の斜視図である。
符号の説明
22…磁性体コア
23…フレキシブル基板
24…コイル導体
24a,24b…コイル導体
25a,25b…接続部
31…金属板
101〜105…磁性体アンテナ
201…アンテナ装置
CW…導体開口部
MFa…磁束
MF(+y),MF(-y)…磁束

Claims (4)

  1. コイル導体が形成されたフレキシブル基板が磁性体コアの表面に沿って巻き付けられた磁性体アンテナにおいて、
    前記磁性体コアは平行な少なくとも2辺を備えた板状を成し、
    前記コイル導体は、巻回中心部を導体開口部とする、平行な少なくとも2辺を備える矩形渦巻き状を成し、
    前記フレキシブル基板は、前記導体開口部の中心から離れた前記コイル導体の2辺に沿って且つ前記磁性体コアの前記2辺に沿って折り曲げられたことを特徴とする磁性体アンテナ。
  2. 前記コイル導体は、接続された2つの矩形渦巻き状のコイル導体である、請求項1に記載の磁性体アンテナ。
  3. 前記2つの矩形渦巻き状のコイル導体は互いに巻回方向が逆であり、直列に接続された、請求項2に記載の磁性体アンテナ。
  4. 請求項1〜3のいずれかに記載の磁性体アンテナと、当該磁性体アンテナに近接する、面状に広がる導体を有する板材と、を備えるアンテナ装置。
JP2008220739A 2008-08-29 2008-08-29 アンテナ装置 Active JP4957683B2 (ja)

Priority Applications (3)

Application Number Priority Date Filing Date Title
JP2008220739A JP4957683B2 (ja) 2008-08-29 2008-08-29 アンテナ装置
US12/507,272 US8294629B2 (en) 2008-08-29 2009-07-22 Magnetic antenna and antenna device
DE102009038824A DE102009038824A1 (de) 2008-08-29 2009-08-25 Magnetantenne und Antennenvorrichtung

Applications Claiming Priority (1)

Application Number Priority Date Filing Date Title
JP2008220739A JP4957683B2 (ja) 2008-08-29 2008-08-29 アンテナ装置

Publications (2)

Publication Number Publication Date
JP2010056982A true JP2010056982A (ja) 2010-03-11
JP4957683B2 JP4957683B2 (ja) 2012-06-20

Family

ID=41606380

Family Applications (1)

Application Number Title Priority Date Filing Date
JP2008220739A Active JP4957683B2 (ja) 2008-08-29 2008-08-29 アンテナ装置

Country Status (3)

Country Link
US (1) US8294629B2 (ja)
JP (1) JP4957683B2 (ja)
DE (1) DE102009038824A1 (ja)

Cited By (4)

* Cited by examiner, † Cited by third party
Publication number Priority date Publication date Assignee Title
JP2014103749A (ja) * 2012-11-19 2014-06-05 Toshiba Corp 無線電力伝送装置
WO2014142345A1 (en) 2013-03-15 2014-09-18 Ricoh Company, Ltd. Antenna device
US10396463B2 (en) 2015-11-19 2019-08-27 Ricoh Company, Ltd. Antenna device
US10522910B2 (en) 2017-01-10 2019-12-31 Ricoh Company, Ltd. Antenna device, communication device, and method for producing antenna device

Families Citing this family (22)

* Cited by examiner, † Cited by third party
Publication number Priority date Publication date Assignee Title
US9190711B2 (en) * 2010-07-28 2015-11-17 Panasonic Intellectual Property Management Co., Ltd. Antenna device and communication apparatus including the same
JP5780298B2 (ja) * 2011-04-18 2015-09-16 株式会社村田製作所 アンテナ装置および通信端末装置
US9478863B2 (en) 2011-06-20 2016-10-25 Blackberry Limited Near field communication antenna
WO2013027788A1 (ja) * 2011-08-25 2013-02-28 株式会社村田製作所 アンテナ装置
US8669909B2 (en) 2011-11-30 2014-03-11 Panasonic Corporation Antenna, antenna apparatus, and communication apparatus
US9520917B2 (en) 2012-02-13 2016-12-13 Intel Corporation Antenna configuration to facilitate near field coupling
JP5639606B2 (ja) * 2012-02-27 2014-12-10 三智商事株式会社 無線icタグ
US9627747B2 (en) 2012-11-28 2017-04-18 The Board Of Trustees Of The University Of Alabama For And On Behalf Of The University Of Alabama Dual-polarized magnetic antennas
US10505269B2 (en) 2013-04-28 2019-12-10 The Board Of Trustees Of The University Of Alabama For And On Behalf Of The University Of Alabama Magnetic antenna structures
WO2015098795A1 (ja) * 2013-12-26 2015-07-02 株式会社村田製作所 アンテナ装置および電子機器
US10027020B2 (en) 2014-10-10 2018-07-17 AQ Corporation Near field communication antenna and smartphone having antenna
CN104485509A (zh) * 2014-12-19 2015-04-01 周祥 一种面向超市和仓储rfid系统的空分天线
US10461398B2 (en) * 2015-04-03 2019-10-29 Fit Pay, Inc. Accordion antenna structure with simplified construction
JP6627252B2 (ja) * 2015-04-28 2020-01-08 Tdk株式会社 アンテナ装置
US10522912B2 (en) * 2016-05-12 2019-12-31 Tdk Corporation Antenna device and mobile wireless device provided with the same
US10074891B2 (en) 2016-09-02 2018-09-11 AQ Corporation Smartphone antenna in flexible PCB
US10003120B2 (en) 2016-09-02 2018-06-19 AQ Corporation Smartphone antenna in flexible PCB
USD850424S1 (en) 2016-12-14 2019-06-04 AQ Corporation Flexible PCB dual antenna module for use in smartphone
US10547112B2 (en) 2016-09-02 2020-01-28 AQ Corporation Smartphone antenna in flexible PCB
US10601468B2 (en) 2016-09-06 2020-03-24 Apple Inc. Wirelessly charged devices
KR102662853B1 (ko) * 2019-09-30 2024-05-03 삼성전기주식회사 인쇄회로기판
US11303011B2 (en) 2019-11-27 2022-04-12 AQ Corporation Smartphone antenna in flexible PCB

Citations (6)

* Cited by examiner, † Cited by third party
Publication number Priority date Publication date Assignee Title
JP2003022912A (ja) * 2001-03-30 2003-01-24 Mitsubishi Materials Corp アンテナコイル及びそれを用いた識別タグ、リーダライタ装置、リーダ装置及びライタ装置
JP2005318329A (ja) * 2004-04-28 2005-11-10 Sharp Corp アンテナ取り付け部材、および通信端末
JP2005333244A (ja) * 2004-05-18 2005-12-02 Mitsubishi Electric Corp 携帯電話機
JP2008035459A (ja) * 2006-07-07 2008-02-14 Murata Mfg Co Ltd アンテナ装置
JP2008035464A (ja) * 2006-03-13 2008-02-14 Murata Mfg Co Ltd 携帯電子機器
JP2008048376A (ja) * 2006-07-07 2008-02-28 Murata Mfg Co Ltd 基板実装用アンテナコイル及びアンテナ装置

Family Cites Families (1)

* Cited by examiner, † Cited by third party
Publication number Priority date Publication date Assignee Title
JP4893135B2 (ja) * 2006-07-20 2012-03-07 株式会社村田製作所 磁性体アンテナおよびアンテナ装置

Patent Citations (6)

* Cited by examiner, † Cited by third party
Publication number Priority date Publication date Assignee Title
JP2003022912A (ja) * 2001-03-30 2003-01-24 Mitsubishi Materials Corp アンテナコイル及びそれを用いた識別タグ、リーダライタ装置、リーダ装置及びライタ装置
JP2005318329A (ja) * 2004-04-28 2005-11-10 Sharp Corp アンテナ取り付け部材、および通信端末
JP2005333244A (ja) * 2004-05-18 2005-12-02 Mitsubishi Electric Corp 携帯電話機
JP2008035464A (ja) * 2006-03-13 2008-02-14 Murata Mfg Co Ltd 携帯電子機器
JP2008035459A (ja) * 2006-07-07 2008-02-14 Murata Mfg Co Ltd アンテナ装置
JP2008048376A (ja) * 2006-07-07 2008-02-28 Murata Mfg Co Ltd 基板実装用アンテナコイル及びアンテナ装置

Cited By (5)

* Cited by examiner, † Cited by third party
Publication number Priority date Publication date Assignee Title
JP2014103749A (ja) * 2012-11-19 2014-06-05 Toshiba Corp 無線電力伝送装置
WO2014142345A1 (en) 2013-03-15 2014-09-18 Ricoh Company, Ltd. Antenna device
US10164337B2 (en) 2013-03-15 2018-12-25 Ricoh Company, Ltd. Antenna device
US10396463B2 (en) 2015-11-19 2019-08-27 Ricoh Company, Ltd. Antenna device
US10522910B2 (en) 2017-01-10 2019-12-31 Ricoh Company, Ltd. Antenna device, communication device, and method for producing antenna device

Also Published As

Publication number Publication date
DE102009038824A1 (de) 2010-03-04
US20100053014A1 (en) 2010-03-04
JP4957683B2 (ja) 2012-06-20
US8294629B2 (en) 2012-10-23

Similar Documents

Publication Publication Date Title
JP4957683B2 (ja) アンテナ装置
JP4905506B2 (ja) アンテナ装置
JP4131294B2 (ja) アンテナコイル及びアンテナ装置
US8354971B2 (en) Antenna device
JP5510443B2 (ja) アンテナ装置及び携帯端末
JP4893631B2 (ja) アンテナ装置
EP2296228B1 (en) Antenna, antenna unit, and communication device using them
JP5287289B2 (ja) アンテナ装置
JP2016174417A (ja) アンテナ装置および通信端末装置
JP2010245776A (ja) アンテナ
JP5510547B2 (ja) アンテナ装置及び通信端末装置
JP6589403B2 (ja) アンテナ装置及びこれに用いるコイル部品
JP5321236B2 (ja) 磁性体アンテナ及びアンテナ装置
JP4807464B1 (ja) アンテナ装置
JP5093412B2 (ja) アンテナコイル及びアンテナ装置
JP4711010B2 (ja) アンテナ装置
JP5293369B2 (ja) 磁性体アンテナ及びアンテナ装置
JP4807463B2 (ja) アンテナ装置
JP2009206975A (ja) 磁性体アンテナ及びアンテナ装置
JP5077477B2 (ja) アンテナおよび携帯電話端末

Legal Events

Date Code Title Description
A621 Written request for application examination

Free format text: JAPANESE INTERMEDIATE CODE: A621

Effective date: 20101117

A977 Report on retrieval

Free format text: JAPANESE INTERMEDIATE CODE: A971007

Effective date: 20110804

A131 Notification of reasons for refusal

Free format text: JAPANESE INTERMEDIATE CODE: A131

Effective date: 20111129

A521 Request for written amendment filed

Free format text: JAPANESE INTERMEDIATE CODE: A523

Effective date: 20120130

RD02 Notification of acceptance of power of attorney

Free format text: JAPANESE INTERMEDIATE CODE: A7422

Effective date: 20120130

TRDD Decision of grant or rejection written
A01 Written decision to grant a patent or to grant a registration (utility model)

Free format text: JAPANESE INTERMEDIATE CODE: A01

Effective date: 20120221

A01 Written decision to grant a patent or to grant a registration (utility model)

Free format text: JAPANESE INTERMEDIATE CODE: A01

A61 First payment of annual fees (during grant procedure)

Free format text: JAPANESE INTERMEDIATE CODE: A61

Effective date: 20120305

FPAY Renewal fee payment (event date is renewal date of database)

Free format text: PAYMENT UNTIL: 20150330

Year of fee payment: 3

R150 Certificate of patent or registration of utility model

Ref document number: 4957683

Country of ref document: JP

Free format text: JAPANESE INTERMEDIATE CODE: R150

Free format text: JAPANESE INTERMEDIATE CODE: R150