JP2010054919A - レリーフ型回折格子又はホログラム - Google Patents

レリーフ型回折格子又はホログラム Download PDF

Info

Publication number
JP2010054919A
JP2010054919A JP2008221177A JP2008221177A JP2010054919A JP 2010054919 A JP2010054919 A JP 2010054919A JP 2008221177 A JP2008221177 A JP 2008221177A JP 2008221177 A JP2008221177 A JP 2008221177A JP 2010054919 A JP2010054919 A JP 2010054919A
Authority
JP
Japan
Prior art keywords
diffraction grating
hologram
information
relief
relief type
Prior art date
Legal status (The legal status is an assumption and is not a legal conclusion. Google has not performed a legal analysis and makes no representation as to the accuracy of the status listed.)
Granted
Application number
JP2008221177A
Other languages
English (en)
Other versions
JP5589268B2 (ja
Inventor
Shinichiro Suzuki
慎一郎 鈴木
Current Assignee (The listed assignees may be inaccurate. Google has not performed a legal analysis and makes no representation or warranty as to the accuracy of the list.)
Dai Nippon Printing Co Ltd
Original Assignee
Dai Nippon Printing Co Ltd
Priority date (The priority date is an assumption and is not a legal conclusion. Google has not performed a legal analysis and makes no representation as to the accuracy of the date listed.)
Filing date
Publication date
Application filed by Dai Nippon Printing Co Ltd filed Critical Dai Nippon Printing Co Ltd
Priority to JP2008221177A priority Critical patent/JP5589268B2/ja
Publication of JP2010054919A publication Critical patent/JP2010054919A/ja
Application granted granted Critical
Publication of JP5589268B2 publication Critical patent/JP5589268B2/ja
Active legal-status Critical Current
Anticipated expiration legal-status Critical

Links

Images

Landscapes

  • Diffracting Gratings Or Hologram Optical Elements (AREA)

Abstract

【課題】 レリーフ型回折格子やホログラムなど、セキュリティ用途で使用される各種絵柄の中に、目視では確認困難な情報として組み込まれた凹凸構造による隠し情報を有するレリーフ型回折格子又はホログラムに関し、その隠し情報を有する回折格子線によりその回折画像やホログラム画像の明るさや色合いに大きなバラツキ・ムラが発生するというという欠点があった。
【解決手段】
隠し情報である所定の情報を一列の凹凸形状としてなる少なくとも一本の特定回折格子線を、他の回折格子線群と同一のL/Sとすることで、そのバラツキやムラのない回折画像を得る。
【選択図】 図1

Description

本発明は、主にセキュリティ用途に使用される凹凸構造に関し、詳しくは、回折格子やホログラムなど、セキュリティ用途で使用される各種絵柄の中に、目視では確認困難な情報として組み込まれた凹凸構造による隠し情報を有するレリーフ型回折格子又はホログラムに関する。
(主なる用途)本発明のレリーフ型回折格子又はホログラムの主なる用途としては、偽造防止分野に使用される回折格子又はホログラムであって、具体的には、クレジットカード等の偽造されて使用されると、カード保持者やカード会社等に損害を与え得るもの、運転免許証、社員証、会員証等の身分証明書、入学試験用の受験票、パスポート等、紙幣、商品券、ポイントカード、株券、証券、抽選券、馬券、預金通帳、乗車券、通行券、航空券、種々の催事の入場券、遊戯券、交通機関や公衆電話用のプリペイドカード等がある。
これらはいずれも、経済的、もしくは社会的な価値を有する情報を保持した情報記録体であり、偽造による損害を防止する目的で、記録体そのものの真正性を識別できる機能を有することが望まれる。
また、これら情報記録体以外であっても、高額商品、例えば、高級腕時計、高級皮革製品、貴金属製品、もしくは宝飾品等の、しばしば、高級ブランド品と言われるもの、または、それら高額商品の収納箱やケース等も偽造され得るものである。また、量産品でも有名ブランドのもの、例えば、オーディオ製品、電化製品等、または、それらに吊り下げられるタグも、偽造の対象となりやすい。
さらに、著作物である音楽ソフト、映像ソフト、コンピュータソフト、もしくはゲームソフト等が記録された記憶体、またはそれらのケース等も、やはり偽造の対象となり得る。また、プリンター用のトナー、用紙など、交換する備品を純正材料に限定している製品などにも、偽造による損害を防止する目的で、そのものの真正性を識別できる機能を有することが望まれる。
特に、本発明のレリーフ型回折格子又はホログラムは、同一のものを作成することが物理的にも経済的にも不可能なものが望まれる分野、すなわち、芸術品や、骨董品等の鑑定しなければその価値を証明できない分野、もしくは、非常に貴重なものであって模造品でないことを所有者や関係者のみ知り得る方法により確認する必要がある分野等に最適である。
高額な金券類に着目すると、近年、カラーコピー機による偽造事件が頻発している。
そのために、高額紙幣や商品券等の金券類は、デザインの一部にカラーコピー機のセンサーでは読み取ることができない小さな網点や細線を、同じ反射濃度でデザインされた絵柄の中に組み込んでいる。その結果、これらの高額紙幣や商品券をカラーコピー機によって複写しようとすると、コピー機のスキャナーが小さな網点や細線を読み落とし、その部分が白く抜けることでコピー品であると判別している。
(背景技術)
また、高度な複製技術を必要とするホログラムが、一部の高額紙幣や、その他の金券類に採用されている。
ホログラムは、また、その凹凸面に金属の反射層を形成することにより、ホログラムをコピーした時にホログラム形成部を黒に再現するため、コピー牽制手段として利用されている。
しかしながら、技術の進歩によって、ホログラムに近似の偽造品が出現するようになってきた。そして、このような偽造品をチェックするために、ホログラムの光回折構造即ち回折格子の中に判別困難な隠し情報を組み込んで真偽判別の手段として使用する技術が開示されている。
ところがこれらの技術を使用した製品も、見る角度によって隠し情報が微かに判別されてしまうという課題があった。
このような課題に対して、目視手段による判別が極めて困難な隠し情報を含む回折格子により構成された真贋識別構造及びその作製方法が提供されている(例えば、特許文献1参照)。特許文献1で開示されている技術は、回折格子で構成されたデザインの中に、第一の隠し情報を有し、その第一の隠し情報の中にさらに文字・記号又はこれらの組み合わせによる第ニの隠し情報を凹凸によって形成するものである。この第ニの隠し情報のサイズは、0.5μm〜50μmであり、簡易な顕微鏡を用いても判読が困難である。
また、例え第ニの隠し情報として形成されている凹凸の情報を精密な顕微鏡で判読したとしても、その情報は無秩序(ランダムな)情報であり、且つ、そのサイズも無秩序に形成されているため、偽造を試みる場合は、回折格子デザインの全ての部分の情報及びサイズを判読し尽くして再現しなければ真正なものを作ることは不可能であるため、高い偽造防止効果を有する。
特開2007−292899号公報
特許文献1に開示されている技術は、その無秩序性によって偽造防止効果を高めたものであるが、「無秩序」であることと、凹凸の「周期性」により透過光若しくは反射光の干渉を発生させて光を「強く」回折させるという「回折の原理・原則」とは、相反し、この技術により作成された回折格子又はホログラム全体を目視にて観察した場合、その回折画像やホログラム画像の明るさや色合いに大きなバラツキ・ムラが発生していた。
前記課題を解決するために、本発明のレリーフ型回折格子又はホログラムの第1の態様は、回折格子線群の断面形状が、凸部(ライン部:L部)と凹部(スペース部:S部)からなるレリーフ型回折格子又はホログラムにおいて、当該回折格子線群に、少なくとも1本の「特定回折格子線」が混在しているものであって、且つ、当該回折格子線群の凹凸比(L/S比)と、前記特定回折格子線の凹凸比(凸部:所定情報表示面積と、凹部:非表示部面積との比)が同一であることを特徴とするものである。
「特定回折格子線」とは、所定の文字、記号、図柄の何れか、または、これらの組み合わせ情報(以下所定情報という)を表示する一列の凹凸構造で構成された回折格子線であり、この所定情報を「隠し情報」と位置づける。
回折格子線群は、基本構造として、回折格子線が平行に複数並んでおり、この複数の線群の並びに垂直な方向での断面をみると、周期性を有する「回折格子線群のレリーフ形状(凹凸形状)」を観察できる。
このレリーフ形状は、「完全な周期性」(曲線が、その一周期分を、全く同一形状で繰り返して形成されている。)を有する。
すなわち、回折格子線群の中の一本の回折格子線に垂直な方向での断面は、その格子線のところが、例えば一つの凸(凸部;ライン部又はL部)で構成され、それに続く格子線間の溝の部分が、一つの凹(凹部;スペース部又はS部)で構成されている形状となる(この一つずつの凹凸が一周期となる。この一周期分を「一本の格子線」という。)。この凹凸形状(一周期分)が、並んでいる他の回折格子線の垂直方向の断面と全て同一となっていることを意味する。
この回折格子線群の中に、少なくとも1本の特定回折格子線を混在させ、凹凸形状そのものは他と異なる形状としながらも、L/S比を同一とすることで、回折光の乱れを最小限に留めるものである。
ある光源(観察する光ともいう。)で、この回折格子線群を照明した場合、その光源の光の波長と、この凹凸形状及び、その周期の大きさ、凹凸の数との関係から、この回折格子線群の回折光 [ 回折格子線群を透過もしくは反射するときに、この回折格子線群によって回折した光。再生画像もしくは回折画像ともいう。種々の回折格子線群の集合体(その周期や、平行に並べる角度を種々変えた回折格子線群の集まり)である場合は、個々の回折格子線群の再生画像が合わさり、より複雑な再生画像さらにはホログラム画像となる。 ] の回折強度及び回折角度(回折方向)等が決定される。
観察する光を可視光、赤外光若しくは紫外光とした場合、その波長は、ほぼ200nm〜4μmとなることから、上記した周期は、その2倍すなわち、400nm〜8μmとなる。もちろん、2次回折光まで考慮すると、400nm以下の周期のものも同様の効果を持つ。この範囲の中でどの数値を採用するかは、実際に使用する観察する光の波長もしくは波長域や、回折光により再現する再生画像、すなわち、回折画像やホログラム画像のデザインにより決定される。
本発明のレリーフ型回折格子又はホログラムは、当該回折格子線群に、少なくとも1本の特定回折格子線、すなわち、所定の文字、記号、図柄の何れか、または、これらの組み合わせ情報(以下所定情報という)を表示する一列の凹凸構造からなる回折格子線が混在していて、且つ、当該回折格子線群の凹凸比(L/S比)と、その特定回折格子線の凹凸比(凸部:所定情報表示面積と、凹部:非表示部面積との比)を同一としている。
上記したように、観察する光を回折格子線群に当てたとき、回折格子線群の表面でその光が反射又は透過するが、この反射光又は透過光の強度分布は、電磁波の反射、すなわち、フラウンフォーファーの2次波の回折理論により説明され、その矩形状回折格子の凸部と凹部の比、深さ及びその間隔に依存する。
本発明はこの理論から、特定回折格子線の凹凸比及びその間隔を回折格子線群のものと同一とすることで、回折光分布を均一なものとし、あたかも、特定回折格子が存在しなかったときと同一の回折効果、すなわち回折画像又はホログラム画像を得るものである。
従って、目視若しくは、赤外線カメラや紫外線カメラにて上記画像を観察したとき、その特定回折格子線の存在に気づかせず、偽造防止性の高い回折格子又はホログラムを実現することができる。
さらに、その特定回折格子線には、所定情報を隠し情報として形成しており、別途、以下に説明する所定の確認方法によりその所定情報を判読して、その回折格子又はホログラムの真正性を判定することができる。
もちろん、その特定回折格子線は、離散的に複数存在してもよく、且つ、別々の所定情報を有していても良い。このことにより、偽造防止性がさらに高まる。
本発明において、単純な具体例を示すと、一本の特定回折格子線に沿って、隠し情報としての所定情報(例えば“H“という文字)が、活版印刷における「”H“文字の凸版」のように、凹凸形状で形成されている。これが、その特定回折格子線に沿って「HHHHHHH・・」と形成されている。この特定回折格子線と回折格子線群は平行に形成されていて、それらの格子線の間隔は一つの回折格子線群の中では同一となっている。
凹凸形状は、例えば、可視光に対応したものである場合、可視光波長程度の大きさ、すなわち、0.4μm〜0.8μmの大きさで所定情報を表わすが、さらに凹凸形状を複雑なものとすることができ、0.01μm以下のサイズでの微細な凹凸変化や、凹部から凸部へ変化していく曲線をも所定情報として取り入れることができるため、これらの微細な変化をも真正性判定の要素とでき、「偽造」することをさらに困難にすることができる。
凹凸形状の高さ、すなわちレリーフ形状深さの最大値は、回折光強度等の設計や、上記した形成方法により決定されるが、4.0μm以下、望ましくは、0.01μm〜2.0μmが好適である。
この凹凸部を形成するため、種々の方法が用いられる。特に電子線リソグラフィーやX線リソグラフィーを用いることにより、高解像度であって、且つ、形成面全体の凹凸形状の安定性(回折格子やホログラムの全面に渡ってその所定の凹凸形状が各々同一の形状であること。凹凸形状再現性、すなわち歪みの無い周期性、歪みの無い画像再現性を実現することに寄与する。)、及び、回折格子線の平行度(10mmで0.01μm以内)、間隔精度(10mm内で、各線のズレが0.05μm以内)に優れるレリーフ、すなわちレリーフ原盤を得ることができる。
また、これらリソグラフィー手法は、回折格子線の所定情報の位置精度が非常に高く、解像度も高いという特性があり、好適だが、さらに、現像処理において、露光/非露光部が単純な回折格子線群と、露光/非露光部が複雑に入り組んでいる特定回折格子線との現像特性の差(現像の回り込み、残存高さ等)が出にくい感光材料を使用することが好ましい。電子線レジスト用化合物には、ポジ型として、ポリメチルメタクリレート、ポリオレフィンスルフォン等、ネガ型電子線レジストとして、不飽和系高分子、エポキシ樹脂、シリコーン樹脂等が用いられるが、カリックスアレーン系レジスト等は特に高解像度である。また、電子線描画装置としては、加速電圧が高い(50kV以上)ものが好ましく、電子ビーム系をnmオーダーまで絞ることができる装置がより好ましい。
X線レジスト用化合物としては、ポリメチルメタクリレート等が用いられる。
このレリーフ原盤を用いて、レリーフ型回折格子又はホログラムの各種製造方法を採用することにより、高度な偽造防止性を有し、且つ、意匠性に優れる回折格子又はホログラムシートや、ラベル、転写箔を製造し、セキュリティー性を付与すべき各種媒体へ形成して、各種媒体の真正性の証明に使用する。
また、リソグラフィーを用いて凹凸形状を作成する場合は、そのリソグラフィー用の感光材料を均一に塗布し、露光・現像により所定パターンを形成するため、感光材料をほぼ全て残す部分と、感光材料を全て除去する部分とに分ける方法が、最も再現性高く、安定した凹凸形成方法であるため、「矩形の凹凸形状」とすることが、高い再現性・安定性を得る点で好適である。
矩形には、ブレーズド形状を含む。ブレーズドとした場合は、所定情報が斜面に形成されることから、情報の真上からの観察に対して、判読を困難とすることができる。
この凹凸形成には、感光材料として有機材料のみならず、シリコン基板そのものや、金属薄膜等の無機材料をエッチングする等を使用することもできる。金属薄膜の厚さ精度は、有機材料のそれよりも遥かに高く、安定性に優れた凹凸形状を得ることができる。
前記特定回折格子線の所定情報を、「白抜き表示」とし、回折格子線群の凸部の上面に、その画線部と非画線部の面積比が1/10以下として表示することも好適である。
この場合は、回折格子線群の断面が、矩形形状を基本形状とする回折格子線群であって、凸部のごく一部がへこんでいるように見える。
本発明のレリーフ型回折格子又はホログラムの第2の態様は、前記第1の態様において、前記凹凸比が1/1であることを特徴とするものである。
矩形回折格子においては、L/S比が1/1の時が最も回折効率が大きいため、回折格子線群の凹凸比(L/S比)を1/1とし、且つ、特定回折格子線における凹部と凸部の面積比を1/1とすることにより、本発明のレリーフ型回折格子又はホログラムの回折効率を最大とすることができる。
本発明のレリーフ型回折格子又はホログラムの第1の態様によれば、回折格子線群の断面形状が、凸部(ライン部:L部)と凹部(スペース部:S部)からなるレリーフ型回折格子又はホログラムにおいて、当該回折格子線群に、少なくとも1本の特定回折格子線、すなわち、所定の文字、記号、図柄の何れか、または、これらの組み合わせ情報(以下所定情報という)を表示する一列の凹凸構造からなる回折格子線が混在しているものであって、且つ、当該回折格子線群の凹凸比(L/S比)と、前記特定回折格子線の凹凸比(凸部:所定情報表示面積と、凹部:非表示部面積との比)が同一であることを特徴とするレリーフ型回折格子又はホログラムを提供できる。
本発明のレリーフ型回折格子又はホログラムの第2の態様によれば、前記凹凸比が1/1である第1の態様のレリーフ型回折格子又はホログラムを提供できる。
特定回折格子線が、レリーフ型回折格子又はホログラムのどの位置にあるか探し出すことは容易でなく、また、その端から端まで全ての情報を読み出さなければならない(繰り返し情報であったとしても、途中から別の情報に変わっていることもあり得るため)。さらには、特定回折格子線が全体で何本あるかを知るために、結局、全ての回折格子線の端から端まで確認する作業を要することから、偽造することが非常に困難なレリーフ型回折格子又はホログラムを提供することができる。且つ、隠し情報を有することによるバラツキ・ムラのないレリーフ型回折格子又はホログラムを提供できる。
以下、本発明の実施形態について、図面を参照しながら、詳細に説明する。
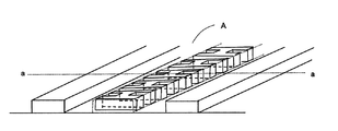
図1を参照して、本発明の所定情報を表わすレリーフ型回折格子の一例について説明する。
図1の回折格子線は、所定の文字、記号、図柄の何れか、または、これらの組み合わせ情報(以下所定情報という)を表示する一列の凹凸構造からなる所定情報を表わす、一列の凹凸構造からなる。この所定情報は、任意の文字、記号、図柄の何れか、または、これらの組み合わせ情報とすることができる。凹凸構造形成方法もサブミクロン加工(1μm以下のパターン加工)が可能な微細加工方法のいずれをも採用することができる。
図1の例(レリーフ型回折格子A)では、の回折格子線群のL/Sを6/4(周期1.0μm(L:0.6μm、S:0.4μm)とし、特定回折格子線の所定情報として「HHH・・」という文字が設定されている。文字の高さ・幅は、0.6μm×0.5μm(周期1.0μm)であり、これは、電子線リソグラフィーにより形成できる。電子線レジストの厚さを0.3μmとし、現像処理をすることで、凹凸を有するレリーフ原盤を形成することができる。
このレリーフ原盤のa―a断面をみると、図2のように回折格子線群の断面は単純な矩形となっており、一本形成した特定回折格子線の断面は凸部が所定情報により複雑な矩形を呈している。この凸部面積と凹部面積の比がどちらも6/4となっている。
図3は、レリーフ型回折格子Aを上から見た図である。
これと同様に、同一所定情報の配列にて、周期、L/S比及び文字高さ・幅が、周期1.25μm、6/4、0.75μm×0.6μm、及び周期1.5μm、6/4、0.90μm×0.7μmの回折格子線群及び特定回折格子線を形成し、それぞれを図4の3つのエリア(B1、B2、B3)に配置して円形のレリーフ型回折格子体Bの原盤を作成できる。
これら回折格子線群のレリーフ周期や、レリーフ深さ(図2における高さ)を調節することにより、観察したときの色調や明るさ(光の強度)を制御することができ、また、各回折格子線群の配置方法等(回折格子線群の占有する形、面積及び点在させる方法等)を工夫することにより、複雑なデザインの回折格子や、カラーホログラムを形成することができる。すなわち、所定のエリアに、同一のピッチ、同一の角度を持つ回折格子線群を埋めてエリア毎の回折格子線群を形成し、個々のエリアには、所定の面積、所定のピッチ、角度が割り当てられていて、全エリアを白色光で観察すると、カラーホログラムを観察することができる。
次に、上記した回折格子原盤を用いて、シート状のレリーフ型回折格子又はホログラムを作成する方法を述べる。
透明基材として、厚みを薄くすることが可能であって、機械的強度や、レリーフ型回折格子又はホログラムシート、ラベル、及び転写シートを製造する際の加工に耐える耐溶剤性および耐熱性を有するものを使用する。使用目的にもよるので、限定されるものではないが、フィルム状もしくはシート状のプラスチックが好ましい。
例えば、ポリエチレンテレフタレート(PET)、ポリカーボネート、ポリビニルアルコール、ポリスルホン、ポリエチレン、ポリプロピレン、ポリスチレン、ポリアリレート、トリアセチルセルロース(TAC)、ジアセチルセルロース、ポリエチレン/ビニルアルコール等の各種のプラスチックフィルムを例示することができる。
透明基材の厚さは、同様の配慮から、5〜50μm、特に5〜15μmとすることが望ましい。転写シートを形成する際、透明基材1に、通常用いられる酢酸セルロース樹脂やメタクリル樹脂等からなる剥離層を設けても良い。
レリーフ型回折格子やホログラムを形成する層(以下ホログラム形成層という。)を構成するための透明な樹脂材料としては、各種の熱可塑性樹脂、熱硬化性樹脂、もしくは電離放射線硬化性樹脂を用いることができる。熱可塑性樹脂としてはアクリル酸エステル樹脂、アクリルアミド樹脂、ニトロセルロース樹脂、もしくはポリスチレン樹脂等が、また、熱硬化性樹脂としては、不飽和ポリエステル樹脂、アクリルウレタン樹脂、エポキシ変性アクリル樹脂、エポキシ変性不飽和ポリエステル樹脂、アルキッド樹脂、もしくはフェノール樹脂等が挙げられる。
これらの熱可塑性樹脂および熱硬化性樹脂は、1種もしくは2種以上を使用することができる。これらの樹脂の1種もしくは2種以上は、各種イソシアネート樹脂を用いて架橋させてもよいし、あるいは、各種の硬化触媒、例えば、ナフテン酸コバルト、もしくはナフテン酸亜鉛等の金属石鹸を配合するか、または、熱もしくは紫外線で重合を開始させるためのベンゾイルパーオキサイド、メチルエチルケトンパーオキサイド等の過酸化物、ベンゾフェノン、アセトフェノン、アントラキノン、ナフトキノン、アゾビスイソブチロニトリル、もしくはジフェニルスルフィド等を配合しても良い。
また、電離放射線硬化性樹脂としては、エポキシアクリレート、ウレタンアクリレート、アクリル変性ポリエステル等を挙げることができ、このような電離放射線硬化性樹脂に架橋構造を導入するか、もしくは粘度を調整する目的で、単官能モノマーもしくは多官能モノマー、またはオリゴマー等を配合して用いてもよい。微細な凹凸を精密に複製するためには、この粘度を0.001〜0.1パスカル秒とすると好適である。
熱硬化性樹脂や電離放射線硬化性樹脂を用いる場合には、型面に未硬化の樹脂を密着させたまま、加熱もしくは電離放射線照射により、硬化を行わせ、硬化後に剥離することによって、硬化した透明な樹脂材料からなる層の片面にレリーフホログラムの微細凹凸を形成することができる。この方法によれば、0.01μm程度の微細な凹凸変化も精密に複製することができる。なお、同様な方法によりパターン状に形成して模様状としたレリーフ型回折格子を有するレリーフ型回折格子形成層も光回折構造として使用できる。
このような微細な形状を精密に再現するため、また、複製後の熱収縮などの歪みや変形を最小とするため、低温・高圧下で複製を行うこともできる。
この場合、複製方式は、平板式もしくは、回転式を用い、線圧0.1トン/m〜10トン/m、複製温度は、通常60℃〜200℃とすることが好適である。
さらに、ホログラム形成層のホログラムレリーフ面に、一部または全面に反射性薄膜層を形成する。この薄膜は、入射した光を反射する必要があるため、ホログラム形成層よりも高い屈折率を有する薄膜であれば、特に限定されない。
反射性薄膜としては、真空薄膜法などにより形成される金属薄膜などの金属光沢反射層、又は透明反射層のいずれでもよいが、金属光沢反射層を部分的に設けたり、透明反射層を設けた場合は、その反射層に接して設けたセキュリティ対象物をこの透明反射層を通して確認できるので好ましい。
透明反射層としては、ほぼ無色透明な色相で、その光学的な屈折率がホログラム形成層のそれとは異なることにより、金属光沢が無いにもかかわらず、ホログラムなどの光輝性を視認できることから、透明なホログラムを作製することができる。例えば、ホログラム形成層よりも光屈折率の高い薄膜、例として、ZnS、TiO2、Al23、Sb23、SiO、SnO2、ITOなどがある。
好ましくは、金属酸化物又は窒化物であり、具体的には、Be、Mg、Ca、Cr、Mn、Cu、Ag、Al、Sn、In、Te、Ti、Fe、Co、Zn、Ge、Pb、Cd、Bi、Se、Ga、Rb、Sb、Pb、Ni、Sr、Ba、La、Ce、Auなどの酸化物又は窒化物他はそれらを2種以上を混合したものなどが例示できる。またアルミニウムなどの一般的な光反射性の金属薄膜も、厚みが20nm以下になると、透明性が出てきて透明反射層として使用できる。
透明金属化合物の形成は、金属の薄膜と同様、ホログラム形成層のホログラムレリーフ面に、10〜2000nm程度、好ましくは20〜1000nmの厚さになるよう、蒸着、スパッタリング、イオンプレーティング、CVD(化学蒸着法)などの真空薄膜法などにより設ければよい。微細な凹凸を忠実に覆うには、特にCVDが好適である。但し、レリーフホログラムに接している面からの反射光だけでなく、反対面での反射光で同様の再生画像を得るためには、薄膜の凹凸をレリーフホログラムと同様の形状にする必要があり、上記薄膜の厚さを10nm程度とする。
レリーフ型回折格子又はホログラムは、転写形態で使用する場合は、上記反射層の上に、感熱接着剤層を形成して転写用フィルムと成し、熱せられた金属の型等によって、接着剤層を含めた極めて薄い樹脂層をセキュリティ対象物上に転写して使用する。
レリーフ型回折格子又はホログラムをラベル形態で使用する場合は、上記反射層の上に粘着剤層を形成し、粘着剤面を剥離紙で被覆して、基材フィルムを剥離紙と一緒に所定の大きさに打ち抜いてラベルとし、剥離紙を剥がしてセキュリティ対象物に貼付して使用する。
もちろん、本発明のレリーフ型回折格子又はホログラムが、その意匠性や、偽造防止性だけでなく、セキュリティ対象物の唯一の真正性証明手段ということであれば、セキュリティ対象物から容易に剥離可能であってはならず、セキュリティ対象物を成形加工する際に本発明のレリーフ型回折格子又はホログラムを一体成形として埋め込んだり、本発明の格子又はホログラムを剥離しようとした時、セキュリティ対象物もしくは、本発明のレリーフ型回折格子又はホログラムそのものが破壊される等、セキュリティ対象物と一体不可分として、さらに偽造防止性を高めることが望ましい。
所定情報は、任意でよく、ランダムなものであっても(ランダム数字発生器により発生したランダム数字など)、同一文字・記号・図柄の繰り返しとしてもよく、(その場合は回折効率の計算が容易となる)、目視では確認困難な情報として組み込む情報であるため、セキュリティ用途として採用された上記カラーホログラム画像としての各種絵柄に関連する情報や、このカラーホログラム画像が転写もしくは貼付されるセキュリティ対象物に関連する情報もしくは、関連する商品や、その商品を提供する会社の名称、マーク等、本発明のレリーフ型回折格子又はホログラムの真正性を証明できる情報を盛り込むこともできる。
上記例では、所定情報幅を0.5μm〜0.7μmとしたが、この幅に制限はなく任意に設定できる。例えば、回折格子線の端から橋まで一つの文字・記号・図柄であってもよく、例えばカラーホログラム画像の端から端まで、途中の回折格子線の途切れに関係なく、情報として、つながっているものであっても良い。
この所定情報は、目視や簡易顕微鏡では判別できないため、真正性を確認するためには
倍率の高い精密顕微鏡を用いてその情報を読み出し、「正規な情報」(所定情報を実際に物理的形状として形成した時の、真正であると判定するための情報。所定情報そのものだけでなく、形状等の情報を含めても良い。また、所定情報でなく、その形状を測定したデータ等や、部分的に変形した情報等を用いても良い。)か否かを判定する必要がある。
真正性の判定者は、判定を行う時には、「正規な情報」に関する正確な知識を有する必要があるが、上記したようにカラーホログラム画像としての各種絵柄やセキュリティ対象物等に関する情報であれば、特段の照会等を必要とせず、判定者へ「関連情報が隠し文字として入っている。」程度の申し送りを事前にしておくことで、簡易に真正と類推することができる。もしくは、隠し文字の特徴の一部のみを申し送りして置く方法も使用できる。
もちろん、「真正性を鑑定する場合」(偽造品が真正品かの判定を何らかの証拠に用いる場合等、より信頼性の高い判定をする場合。)には、「正規な情報」として、例えば、文字、記号、図柄の情報だけでなく、そのサイズ、画線部の太さ、凹凸の高さ等、より多くの情報を設定し、その全てを確認することが好適である。
所定情報の「正規な情報」をデータで残す方法として、高解像度のレーザー顕微鏡による3次元形状情報を取得しておき、このデータと、鑑定のために測定した「真正性を確認するもの」のデータを照合し、「50%以上の一致」あるいは照合項目によっては「100%の一致」等のある程度の一致をもって「真正」と判断する方法を使用することも好適である。
これらの「正規な情報」は、真正性を鑑定する鍵となる情報であるため、物理的もしくは電子的に、セキュリティレベルの高い場所(物理的もしくは電子的)に保存、保管することが望ましい。もちろん、DES(Data Encryption Standard。暗号化方式の規格)やAES(Advanced Encryption Standard。同左。)等による暗号化を施してもよい。その場合は、共通鍵方式や、さらに秘匿性の高い公開鍵方式等の種々の鍵管理方式を併用し、複数の鑑定者へ鍵情報を秘匿性を維持しつつ提供することも好適である。
単純な例では、所定の用紙に書いて、金庫等に保管してもよいし、電子データとして、アクセス制限(パスワード設定等)されたサーバーの所定のホルダに記録しておき、数人程度に限定した人のみが読み出しできるように、ホルダを読み出す際にも、パスワード入力を要求するシステムとしても良い。いずれにしても、正規な情報の秘匿性のレベルに対応し、且つ、可用性(使いやすさ)を考慮して管理方式を定めることが求められる。
また、所定情報を回折格子線の途中で変更したり、回折格子線群のピッチ(周期)、角度を変えた時に変更することも偽造防止性を高めるために好適である。さらには、回折格子線群のピッチ、角度が同一のエリアにある回折格子線は、エリアとエリアの間のブランクに無関係に、「一続き」(ブランクがなく続いていると想定したときの並びを意味する)の所定情報を形成したものであってもよい。
こうすることで、全く「同一のもの」を偽造しようとする者が、本発明のレリーフ型回折格子又はホログラムの全ての回折格子線の全ての所定情報を解読しない限り、「同一のもの」を偽造することができない状況とすることができる。
もちろん、回折格子線群毎に、所定情報を変更してもよいが、この場合は、所定情報毎の回折効率を考慮した配置とする必要がある。
所定情報や、その凹凸形状に関する情報は、実際の絵柄としての情報や、凹凸設計情報、さらには各リソグラフィー形成情報(電子線リソグラフィーでは、電子線描画プログラム等)により真正性証明情報として保有できる。もちろん、回折格子線のピッチ、角度等の情報も同様である。
凹凸構造形成方法としては、上記した電子線リソグラフィー、X線リソグラフィー等の高精度なパターンを形成することができるリソグラフィー法のみならず、金属薄膜形成法等の高精度な均一膜厚さを形成することができる各種薄膜形成方法とそのパターン化方法を組み合わせる方法等を用いることができる。
レリーフ型回折格子Aの回折効率は、図3のレリーフ型回折格子体Bのそれぞれのエリア(B1、B2、B3)を、それぞれの光源、周期1.0μmのエリア、周期1.25μmのエリア、周期1.5μmのエリアを、対応する半導体レーザーで測定したところ、それぞれ、14%、15%、15%であった。レリーフ型回折格子体B全体を、全光源で照明したところ、それぞれのエリアが、それぞれの画像に分かれて鮮やかに観察された。
また、隠し文字としての「HHH・・」は、目視ではもちろんのこと、簡易顕微鏡(倍率200倍、400倍)で判読しようとしたが、文字・記号まで読み取ることは出来なかった。しかし、所定の設定調整を施した高解像度レーザー顕微鏡では明確に判読できた。
もちろん、これより解像度の高い顕微鏡、例えば、共焦点レーザー顕微鏡 、電子顕微鏡
透過型電子顕微鏡 、走査型電子顕微鏡、走査型プローブ顕微鏡 、原子間力顕微鏡、走査型トンネル顕微鏡 、走査型近接場光顕微鏡 、X線顕微鏡等、物理的に測定が可能なように対応できる範囲で利用できる。さらに、共焦点法や、位相シフト干渉法等の解像度を向上する手法も利用できる。これらの顕微鏡映像を高解像度CCDカメラ等を用いた画像処理方法により、画像を精密につなぎ合わせて、広範囲のエリアに対する情報とすることもできる。
但し、「真正性」判定(もしくは鑑定)をする手法は、上記した「多くの所定情報を読み出す方法」にこだわらず、一つの文字、記号や図柄もしくはさらにその一部に注目し、この一つの文字、記号や図柄もしくはさらにその一部を「精密に測定」して、その立体形状のみを「真正性」判定に使用する方法も用いることができる。
この場合、注目した部分を全て同一のものとせず、少し変形(太さを2倍としたり、欠陥を付加したりする。)しておき、それらの情報を、「真正性」判定用に使用することができる。すなわち、「真正性」判定に使用する情報は、セキュリティ管理をする側が定めることができ(その任意性がさらに偽造防止性を高める。)、偽造者からは到底類推できないものとすることが可能となる。
本発明の所定情報を表わすレリーフ型回折格子の別の例について説明する。
上記した例のレリーフ回折格子のL/S比を1/1として以下全て同様に作製し、レリーフ型回折格子A、及びレリーフ型回折格子体Bを得ることができる。
上記レリーフ型回折格子Aの回折効率は、上記レリーフ型回折格子体Bのそれぞれのエリア(B1、B2、B3)を、それぞれの光源、周期1.0μmのエリア、周期1.25μmのエリア、周期1.5μmのエリアを、対応する半導体レーザーで測定したところ、それぞれ、18%、19%、19%であった。上記レリーフ型回折格子体B全体を、全光源で照明したところ、それぞれのエリアが、それぞれの画像に分かれて鮮やかに観察された。
(実施例1)
電子線レジストを0.3μm形成したパターン形成基盤に、予め用意した制御データにより、電子ビームの強度を変化させながら所定のレリーフ型回折格子パターンに沿って電子ビームを照射した。回折格子線群は、周期1.0μm、L/Sが6/4とし、特定回折格子線は、0.6μm幅の線上に、所定情報「HHH・・」、及びその繰り返し」を各文字サイズが、0.6μm×0.5μmとなるように照射した。
これと同様に、同一所定情報の配列にて、周期、L/S比及び文字高さ・幅が、周期1.25μm、6/4、0.75μm×0.6μm、及び周期1.5μm、6/4、0.90μm×0.7μmの回折格子線群及び特定回折格子線を形成すべく、それぞれを図3の3つのエリア(B1、B2、B3)が埋まるまで実施した。
この基盤を現像処理して、所望の凹凸レリーフ原盤を得た。
この原盤と、16μm厚さのポリエチレンテレフタレート(東レ製「ルミラー」)との間に、電離放射線硬化性樹脂として、
・<電離放射線硬化組成物A>
2−ヒドロキシエチルアクリレート 100重量部
ジブチルチンジラウリレート 0.1重量部
イソシアン酸メチル 50重量部
を反応させて得られた電離放射線硬化組成物Aを用いて、
・<電離放射線硬化組成物B>
電離放射線硬化組成物A 80重量部
ポリウレタン樹脂(デスモコール130、住友バイエルウレタン社製) 20重量部
上記、電離放射線硬化組成物Bを作製し、この電離放射線硬化組成物Bを10μm導入して、フィルムを送り出しながら電子線照射装置「エレクトロカーテン」(アメリカのESI社製)を用い、150KeV、15mAの条件で3Mradの線量を照射して、硬化させた。
この後、原盤と電子線レジストを剥離、除去し、硬化した透明な樹脂材料からなる層の片面にレリーフホログラムの微細凹凸を形成することができた。
この透明樹脂の表面に真空蒸着法によりアルミニウム薄膜100nmを形成し、ホログラムシートとした。このホログラムシートに接着剤を塗工し、パスポートの顔写真を一部覆うように接着した。
このパスポートのホログラム部分をハロゲンランプで照明し、目視で観察すると、円形ホログラムが3色に分かれて鮮明に見えた。さらに、倍率20倍と400倍の顕微鏡で拡大して確認したところ、所定情報を判読することは出来なかった。
このホログラム部分を高解像度レーザー顕微鏡で観察することで、各レリーフ型回折格子の所定情報を判読することができ、予め極秘情報として入手した(パスポートを管理する関係者のみが所定情報のサイズ、並び等の情報(以下、所定情報関連情報という。)を知らされるという意味。)所定情報関連情報と、判読した情報を比較し、パスポートの真正性を確認した。
別途、このホログラムの回折効率を対応する半導体レーザーを用いて測定したところ、それぞれ、14%、15%、15%であり、高い回折効率を得た。
(実施例2)
電子線レジストを0.3μm形成したパターン形成基盤に、予め用意した制御データにより、電子ビームの強度を変化させながら所定のレリーフ型回折格子パターンに沿って電子ビームを照射した。
L/S比を1/1とした以外は全て実施例1と同様とし、レリーフ型回折格子体B及びそれを適用したパスポートを得た。
このパスポートのホログラム部分をハロゲンランプで照明し、目視で観察すると、円形ホログラムが3色に分かれて鮮明に見えた。さらに、倍率20倍と400倍の顕微鏡で拡大して確認したところ、所定情報を判読することは出来なかった。
このホログラム部分を高解像度レーザー顕微鏡で観察することで、各レリーフ型回折格子の所定情報を判読することができ、予め極秘情報として入手した(パスポートを管理する関係者のみが所定情報のサイズ、並び等の情報(以下、所定情報関連情報という。)を知らされるという意味。)所定情報関連情報と、判読した情報を比較し、パスポートの真正性を確認した。
別途、このホログラムの回折効率を対応する半導体レーザーを用いて測定したところ、それぞれ、18%、19%、19%であり、高い回折効率を得た。
(比較例)
所定情報として、「HHH・・」としたが、その文字のサイズを、文字高さ、文字幅とも0.3μm〜6.0μmの間でランダムに選択したサイズとしたことと、図3の円形エリアを全てこの条件で埋めた意外は、すべて実施例1と同様として、比較例を得た。
このパスポートのホログラム部分をハロゲンランプで照明し、目視で観察すると、円形ホログラムが3パターンに分かれておらず、少し虹色を呈しているだけであった。さらに、倍率20倍と400倍の顕微鏡で拡大して確認したところ、ところどころ所定情報を判読することができた。
このホログラム部分を高解像度レーザー顕微鏡で観察することで、各レリーフ型回折格子の所定情報を全て判読することができ、予め極秘情報として入手した所定情報関連情報と、判読した情報を比較し、パスポートの真正性を確認することはできた。
別途、このホログラムの回折効率を各半導体レーザーを用いて測定したところ、2〜3%と低い回折効率を得た。これは、光が種々の方向へ回折しており、一方向へ集中していないためと推察された。
(評価試験)ホログラムの再現性の評価は、意匠性については、ハロゲンランプ光原下にて目視判定した。ホログラムの明るさについては、回折格子の回折効率で評価した。
ハロゲンランプ:ローボルトハロゲンランプ35mm径ミラー付き
:電圧12V・光度2300cd(キャンデラ)
目視判定基準 :○ 再生画像が鮮やかにムラなく見える。隠し情報は見えない。
:× 隠し情報は見えないが、再生画像が暗く、ムラが見える。。
回折効率測定:光源:各色半導体レーザー:キコー技研MLXコリメートレーザー
:電圧DC4.8〜6.5V・平行光時ビーム径拡大6mm
:回折効率:反射光強度/入射光強度*100(%)
:判定基準:◎:回折効率が高い 回折効率 15%以上
:○:回折効率がやや高い 〃 5%〜15%
:×:回折効率が低い 〃 5%未満
は、本発明の実施形態の一例を示すレリーフ型回折格子Aの俯瞰図である。 は、レリーフ型回折格子Aのa−a線断面について説明するための図である。 は、本発明の実施形態の一例を示すレリーフ型回折格子体Bの図である。 は、レリーフ型回折格子Aを上からみた図である。
符号の説明
A レリーフ型回折格子(回折格子線群)
B レリーフ型回折格子体
B1、B2、B3 各回折格子線群

Claims (2)

  1. 回折格子線群の断面形状が、凸部(ライン部:L部)と凹部(スペース部:S部)からなるレリーフ型回折格子又はホログラムにおいて、当該回折格子線群に、少なくとも1本の特定回折格子線が混在しているものであって、且つ、当該回折格子線群の凹凸比(L/S比)と、前記特定回折格子線の凹凸比(凸部:所定情報表示面積と、凹部:非表示部面積との比)が同一であることを特徴とするレリーフ型回折格子又はホログラム。
  2. 前記凹凸比が1/1である請求項1のレリーフ型回折格子又はホログラム。
JP2008221177A 2008-08-29 2008-08-29 レリーフ型回折格子又はホログラム Active JP5589268B2 (ja)

Priority Applications (1)

Application Number Priority Date Filing Date Title
JP2008221177A JP5589268B2 (ja) 2008-08-29 2008-08-29 レリーフ型回折格子又はホログラム

Applications Claiming Priority (1)

Application Number Priority Date Filing Date Title
JP2008221177A JP5589268B2 (ja) 2008-08-29 2008-08-29 レリーフ型回折格子又はホログラム

Publications (2)

Publication Number Publication Date
JP2010054919A true JP2010054919A (ja) 2010-03-11
JP5589268B2 JP5589268B2 (ja) 2014-09-17

Family

ID=42070897

Family Applications (1)

Application Number Title Priority Date Filing Date
JP2008221177A Active JP5589268B2 (ja) 2008-08-29 2008-08-29 レリーフ型回折格子又はホログラム

Country Status (1)

Country Link
JP (1) JP5589268B2 (ja)

Cited By (1)

* Cited by examiner, † Cited by third party
Publication number Priority date Publication date Assignee Title
CN113146056A (zh) * 2021-02-26 2021-07-23 中国金币总公司 一种实现贵金属产品表面光变鳞彩效果的方法

Citations (6)

* Cited by examiner, † Cited by third party
Publication number Priority date Publication date Assignee Title
JP2003015510A (ja) * 2001-06-29 2003-01-17 Toppan Printing Co Ltd 計算機ホログラムから成る表示体
JP2005215569A (ja) * 2004-02-02 2005-08-11 Dainippon Printing Co Ltd 計算機ホログラムおよびその作成方法
JP2007507021A (ja) * 2003-06-25 2007-03-22 オーファオデー キネグラム アーゲー 光学的セキュリティ素子
JP2007292899A (ja) * 2006-04-24 2007-11-08 Dainippon Printing Co Ltd 真贋識別構造
JP2007290181A (ja) * 2006-04-24 2007-11-08 Dainippon Printing Co Ltd 真贋識別構造
JP2008039889A (ja) * 2006-08-02 2008-02-21 Dainippon Printing Co Ltd 微細な凹凸構造による隠し画像

Patent Citations (6)

* Cited by examiner, † Cited by third party
Publication number Priority date Publication date Assignee Title
JP2003015510A (ja) * 2001-06-29 2003-01-17 Toppan Printing Co Ltd 計算機ホログラムから成る表示体
JP2007507021A (ja) * 2003-06-25 2007-03-22 オーファオデー キネグラム アーゲー 光学的セキュリティ素子
JP2005215569A (ja) * 2004-02-02 2005-08-11 Dainippon Printing Co Ltd 計算機ホログラムおよびその作成方法
JP2007292899A (ja) * 2006-04-24 2007-11-08 Dainippon Printing Co Ltd 真贋識別構造
JP2007290181A (ja) * 2006-04-24 2007-11-08 Dainippon Printing Co Ltd 真贋識別構造
JP2008039889A (ja) * 2006-08-02 2008-02-21 Dainippon Printing Co Ltd 微細な凹凸構造による隠し画像

Cited By (1)

* Cited by examiner, † Cited by third party
Publication number Priority date Publication date Assignee Title
CN113146056A (zh) * 2021-02-26 2021-07-23 中国金币总公司 一种实现贵金属产品表面光变鳞彩效果的方法

Also Published As

Publication number Publication date
JP5589268B2 (ja) 2014-09-17

Similar Documents

Publication Publication Date Title
US12397576B2 (en) Optical products, masters for fabricating optical products, and methods for manufacturing masters and optical products
US9234992B2 (en) Optically variable device with diffraction-based micro-optics, method of creating the same, and article employing the same
US6975765B2 (en) Optically variable form birefringent structure and method and system and method for reading same
EP2152526B1 (en) Holographic security device
TW294636B (ja)
JP2010072382A (ja) 回折格子記録媒体
JP5321804B2 (ja) 回折格子
JP2003122233A (ja) 真正性証明用の光学構造体、真正性証明用記録体、および確認方法
JP2011081165A (ja) 画像形成体の製造方法及び画像形成体、並びに個人認証媒体の製造方法及び個人認証媒体
JP5332441B2 (ja) 回折格子記録媒体
JP5412773B2 (ja) 回折格子又はホログラム
JP5589268B2 (ja) レリーフ型回折格子又はホログラム
JP4831321B2 (ja) 凹凸構造による隠し情報
JP5359123B2 (ja) 回折格子又はホログラム
JP5609070B2 (ja) 画像形成体の製造方法及び画像形成体、並びに個人認証媒体の製造方法及び個人認証媒体
JP5282514B2 (ja) 真正性識別体
JP4940858B2 (ja) ディスプレイ
RU2642535C1 (ru) Многослойный защитный элемент и способ его получения
JP4788910B2 (ja) ホログラム異方性反射複合媒体
JP5447819B2 (ja) 真正性識別体
JP2019049620A (ja) 光変調素子および真贋判定装置
KR100817375B1 (ko) 요판 인쇄 공정에 의해 광가변 요소가 부가된 보안도큐먼트 및 이의 제조방법
JP5381411B2 (ja) 立体表示画像、および回折格子記録媒体

Legal Events

Date Code Title Description
A621 Written request for application examination

Free format text: JAPANESE INTERMEDIATE CODE: A621

Effective date: 20110614

A977 Report on retrieval

Free format text: JAPANESE INTERMEDIATE CODE: A971007

Effective date: 20130221

A131 Notification of reasons for refusal

Free format text: JAPANESE INTERMEDIATE CODE: A131

Effective date: 20130509

A521 Written amendment

Free format text: JAPANESE INTERMEDIATE CODE: A523

Effective date: 20130704

RD01 Notification of change of attorney

Free format text: JAPANESE INTERMEDIATE CODE: A7421

Effective date: 20130826

A131 Notification of reasons for refusal

Free format text: JAPANESE INTERMEDIATE CODE: A131

Effective date: 20131029

A521 Written amendment

Free format text: JAPANESE INTERMEDIATE CODE: A523

Effective date: 20131203

TRDD Decision of grant or rejection written
A01 Written decision to grant a patent or to grant a registration (utility model)

Free format text: JAPANESE INTERMEDIATE CODE: A01

Effective date: 20140701

A61 First payment of annual fees (during grant procedure)

Free format text: JAPANESE INTERMEDIATE CODE: A61

Effective date: 20140714

R150 Certificate of patent or registration of utility model

Ref document number: 5589268

Country of ref document: JP

Free format text: JAPANESE INTERMEDIATE CODE: R150