JP2010054738A - 眼鏡 - Google Patents

眼鏡 Download PDF

Info

Publication number
JP2010054738A
JP2010054738A JP2008218780A JP2008218780A JP2010054738A JP 2010054738 A JP2010054738 A JP 2010054738A JP 2008218780 A JP2008218780 A JP 2008218780A JP 2008218780 A JP2008218780 A JP 2008218780A JP 2010054738 A JP2010054738 A JP 2010054738A
Authority
JP
Japan
Prior art keywords
fitting
frame
temple
fitting portion
lens
Prior art date
Legal status (The legal status is an assumption and is not a legal conclusion. Google has not performed a legal analysis and makes no representation as to the accuracy of the status listed.)
Granted
Application number
JP2008218780A
Other languages
English (en)
Other versions
JP5071907B2 (ja
Inventor
Katsuya Bushi
克也 武士
Current Assignee (The listed assignees may be inaccurate. Google has not performed a legal analysis and makes no representation or warranty as to the accuracy of the list.)
Yamamoto Kogaku Co Ltd
Original Assignee
Yamamoto Kogaku Co Ltd
Priority date (The priority date is an assumption and is not a legal conclusion. Google has not performed a legal analysis and makes no representation as to the accuracy of the date listed.)
Filing date
Publication date
Application filed by Yamamoto Kogaku Co Ltd filed Critical Yamamoto Kogaku Co Ltd
Priority to JP2008218780A priority Critical patent/JP5071907B2/ja
Priority to KR1020090078567A priority patent/KR101529326B1/ko
Priority to EP09168691.5A priority patent/EP2159623B1/en
Priority to US12/548,669 priority patent/US8292425B2/en
Priority to CN2009101683620A priority patent/CN101661165B/zh
Publication of JP2010054738A publication Critical patent/JP2010054738A/ja
Application granted granted Critical
Publication of JP5071907B2 publication Critical patent/JP5071907B2/ja
Active legal-status Critical Current
Anticipated expiration legal-status Critical

Links

Images

Classifications

    • GPHYSICS
    • G02OPTICS
    • G02CSPECTACLES; SUNGLASSES OR GOGGLES INSOFAR AS THEY HAVE THE SAME FEATURES AS SPECTACLES; CONTACT LENSES
    • G02C1/00Assemblies of lenses with bridges or browbars
    • G02C1/02Bridge or browbar secured to lenses without the use of rims
    • G02C1/023Bridge or browbar secured to lenses without the use of rims with lenses secured to the fixing parts by clamping, luting, soldering, gluing without holes or recesses in the lenses
    • GPHYSICS
    • G02OPTICS
    • G02CSPECTACLES; SUNGLASSES OR GOGGLES INSOFAR AS THEY HAVE THE SAME FEATURES AS SPECTACLES; CONTACT LENSES
    • G02C5/00Constructions of non-optical parts
    • G02C5/14Side-members
    • GPHYSICS
    • G02OPTICS
    • G02CSPECTACLES; SUNGLASSES OR GOGGLES INSOFAR AS THEY HAVE THE SAME FEATURES AS SPECTACLES; CONTACT LENSES
    • G02C11/00Non-optical adjuncts; Attachment thereof
    • GPHYSICS
    • G02OPTICS
    • G02CSPECTACLES; SUNGLASSES OR GOGGLES INSOFAR AS THEY HAVE THE SAME FEATURES AS SPECTACLES; CONTACT LENSES
    • G02C5/00Constructions of non-optical parts
    • G02C5/02Bridges; Browbars; Intermediate bars
    • G02C5/10Intermediate bars or bars between bridge and side-members
    • GPHYSICS
    • G02OPTICS
    • G02CSPECTACLES; SUNGLASSES OR GOGGLES INSOFAR AS THEY HAVE THE SAME FEATURES AS SPECTACLES; CONTACT LENSES
    • G02C5/00Constructions of non-optical parts
    • G02C5/14Side-members
    • G02C5/146Side-members having special front end
    • GPHYSICS
    • G02OPTICS
    • G02CSPECTACLES; SUNGLASSES OR GOGGLES INSOFAR AS THEY HAVE THE SAME FEATURES AS SPECTACLES; CONTACT LENSES
    • G02C5/00Constructions of non-optical parts
    • G02C5/22Hinges
    • GPHYSICS
    • G02OPTICS
    • G02CSPECTACLES; SUNGLASSES OR GOGGLES INSOFAR AS THEY HAVE THE SAME FEATURES AS SPECTACLES; CONTACT LENSES
    • G02C5/00Constructions of non-optical parts
    • G02C5/22Hinges
    • G02C5/2209Pivot bearings and hinge bolts other than screws
    • GPHYSICS
    • G02OPTICS
    • G02CSPECTACLES; SUNGLASSES OR GOGGLES INSOFAR AS THEY HAVE THE SAME FEATURES AS SPECTACLES; CONTACT LENSES
    • G02C2200/00Generic mechanical aspects applicable to one or more of the groups G02C1/00 - G02C5/00 and G02C9/00 - G02C13/00 and their subgroups
    • G02C2200/08Modular frames, easily exchangeable frame parts and lenses

Landscapes

  • Physics & Mathematics (AREA)
  • Health & Medical Sciences (AREA)
  • General Physics & Mathematics (AREA)
  • Ophthalmology & Optometry (AREA)
  • Optics & Photonics (AREA)
  • Eyeglasses (AREA)
  • Mirrors, Picture Frames, Photograph Stands, And Related Fastening Devices (AREA)

Abstract

【課題】フレームの体積を減らし、軽量化を図ると共に、前傾姿勢の場合にも有効な前方視界を確保し、しかもフレームからレンズの着脱を容易に行えるようにし、レンズ交換が非常に簡単に行えるようにした眼鏡を提供する。
【解決手段】レンズ1と、このレンズ1の側方端部に取り付けた左右一対の弾性変形可能なフレーム2と、これらフレーム2のそれぞれに取り付けた左右一対のテンプル3を備え、前記レンズ1の側方端部にフレーム嵌合部4を設け、前記フレーム2の前部にレンズ嵌合穴5を設け、前記フレーム嵌合部4をレンズ嵌合穴5に嵌脱することによって、前記レンズ1に前記フレーム2を着脱自在として取り付けたものとした。
【選択図】 図7

Description

この発明は、レンズが交換可能な眼鏡に関するものである。
従来、この種の眼鏡としては、例えば図11、12に示したようなものが存在する。この眼鏡はサングラスとしており、曲面の透明な板状のレンズ21と、このレンズ21の上端縁の全幅にわたる長さとして、このレンズ21に嵌合固着されたフレーム22と、このフレーム22の左右両外端に折り畳み自在に取り付けられたテンプル23とからなるものとしている(特許文献1)。
さらに、この種の眼鏡としては、例えば図13、14に示したようなものが存在する。この眼鏡はサングラスとしており、適正な曲面を有した可撓性および弾性を有する一眼式のレンズ31を備えており、このレンズ31の両側方端部上縁には左右一対のフレーム32を固着し、それぞれのフレーム32にはテンプル33を取り付けたものとしている。そして、前記レンズ31の両側方端部上縁には、ねじ孔(図示省略)が設けられ、前記フレーム32がビス34により着脱可能に固着されている(特許文献2)。
米国特許第4824233号明細書(図2、図6) 特開平6−175085号公報(図1、図2)
しかしながら、上記特許文献1に記載された眼鏡は、レンズ21の上端縁の全幅にわたる長さとしたフレーム22を備えているので、このフレーム22によって、眼鏡の体積が大きくなると共に、眼鏡が重くなるという問題点を有していた。
また、この特許文献1に記載された眼鏡は、前記フレーム22が着用者の前方視野を狭くし、特に自転車に乗ったときなどの前傾姿勢の場合には、前方が見にくいという問題点を有していた。
さらに、上記特許文献2に記載された眼鏡は、レンズ31の両側方端部上縁にフレーム32がビス34により着脱可能に固着されているため、固着強度は充分なものとなっているが、組み立てに手間がかかり、着脱可能といってもその着脱が容易に行えず、レンズ交換が面倒であるという問題点を有していた。
そこで、この発明は、上記従来の問題点を解決することをその課題としており、フレームの体積を減らし、軽量化を図ると共に、前傾姿勢の場合にも有効な前方視界を確保し、しかもフレームからレンズの着脱を容易に行えるようにし、レンズ交換が非常に簡単に行えるようにした眼鏡を提供することを目的としてなされたものである。
そのため、この発明の眼鏡は、レンズ1と、このレンズ1の側方端部に取り付けた左右一対の弾性変形可能なフレーム2と、これらフレーム2のそれぞれに取り付けた左右一対のテンプル3を備え、前記レンズ1の側方端部にフレーム嵌合部4を設け、前記フレーム2の前部にレンズ嵌合穴5を設け、前記フレーム嵌合部4をレンズ嵌合穴5に嵌脱することによって、前記レンズ1に前記フレーム2を着脱自在として取り付けている。
そして、この発明の眼鏡は、前記フレーム嵌合部4には、上部に嵌合部4aを設けると共に、下部に嵌合部4bを設け、前記レンズ嵌合穴5には、上面に嵌合部5aを設けると共に、下面に嵌合部5bを設け、嵌合部4aと嵌合部5a、嵌合部4bと嵌合部5bとをそれぞれ凹凸嵌合自在としている。
さらに、この発明の眼鏡は、前記レンズ嵌合穴5を、上壁2a、下壁2b、内壁2c、外壁2dで囲まれた形状にしている。
また、この発明の眼鏡は、前記内壁2cと外壁2dの少なくとも何れか一方に、中央を横切る切欠部13を形成して、これら内壁2cと外壁2dの少なくとも何れか一方を上下に分断している。
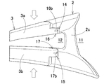
さらに、この発明の眼鏡は、前記フレーム2の後部には、上端にテンプル嵌合凹部14を設けると共に、下端にテンプル嵌合凹部15を設け、前記テンプル3の前部には、フレーム嵌合凸部16、17を設け、前記テンプル嵌合凹部14にフレーム嵌合凸部16を嵌脱すると共に、前記テンプル嵌合凹部15にフレーム嵌合凸部17を嵌脱することによって、前記フレーム2に前記テンプル3を着脱自在として取り付けている。
また、この発明の眼鏡は、前記テンプル嵌合凹部14に嵌合部14aを設けると共に、前記テンプル嵌合凹部15に嵌合部15aを設け、前記フレーム嵌合凸部16に嵌合部16aを設けると共に、前記フレーム嵌合凸部17に嵌合部17aを設け、嵌合部14aと嵌合部16a、嵌合部15aと嵌合部17aとをそれぞれ凹凸嵌合自在としている。
さらに、この発明の眼鏡は、前記テンプル3の前部を、上下方向に弾性変形可能とした二股部3a、3bとしており、一方の二股部3aの先端に前記フレーム嵌合凸部16が設けられ、他方の二股部3bの先端に前記フレーム嵌合凸部17が設けられている。
また、この発明の眼鏡は、前記テンプル嵌合凹部14に、水平方向に嵌合部14bを設け、前記フレーム嵌合凸部16の前端に、水平方向に前記嵌合部14bに対応する嵌合部16bを設け、前記嵌合部14bと嵌合部16bを凹凸嵌合自在としている。
さらに、この発明の眼鏡は、前記テンプル嵌合凹部15に、水平方向に嵌合部15bを設け、前記フレーム嵌合凸部17の前端に、水平方向に前記嵌合部15bに対応する嵌合部17bを設け、前記嵌合部15bと嵌合部17bを凹凸嵌合自在としている。
また、この発明の眼鏡は、前記テンプル嵌合凹部14に、水平方向に嵌合部14bを設けると共に、前記テンプル嵌合凹部15に、水平方向に嵌合部15bを設け、前記フレーム嵌合凸部16の前端に、水平方向に前記嵌合部14bに対応する嵌合部16bを設けると共に、前記フレーム嵌合凸部17の前端に、水平方向に前記嵌合部15bに対応する嵌合部17bを設け、前記嵌合部14bと嵌合部16b、前記嵌合部15bと嵌合部17bをそれぞれ凹凸嵌合自在としている。
この発明の眼鏡は、以上に述べたように構成されているので、フレームの体積を減らすことができ、軽量化が図れると共に、前傾姿勢の場合にも有効な前方視界を確保することができ、しかもフレームからレンズの着脱を容易に行え、レンズ交換が非常に簡単に行えるものとなった。
以下、この発明の眼鏡を実施するための最良の形態を、図面に基づいて詳細に説明する。
この発明の眼鏡は、レンズ1と、このレンズ1の側方端部に取り付けた左右一対の弾性変形可能なフレーム2と、これらフレーム2のそれぞれに取り付けた左右一対のテンプル3を備えている。そして、前記レンズ1の側方端部にはフレーム嵌合部4を設け、前記フレーム2の前部にはレンズ嵌合穴5を設け、前記フレーム嵌合部4をレンズ嵌合穴5に嵌脱することによって、前記レンズ1の側方端部に前記フレーム2の前部を着脱自在として取り付けている。
前記レンズ1は、ポリカーボネート等の耐衝撃性プラスチックからなる一眼式または二眼式のレンズ、硬質ガラスからなる一眼式レンズなどとすることができる。一眼式の場合は、レンズ1の中央の下部に略V字形状の切欠き部1aが形成され、この切欠き部1aに鼻当て部材6を着脱自在に嵌着したものとしている。また、二眼式の場合は、それぞれのレンズ1の内側方端部の略中央に一対となる鼻当て部材(図示せず)を固着したものとしている。
前記レンズ1の側方端部のフレーム嵌合部4には、このレンズ1を切り欠いたり出っ張らせたりして、上部に嵌合部4aを設けると共に、このレンズ1を切り欠いたり出っ張らせたりして、下部に嵌合部4bを設けている。この嵌合部4aは、後に述べるフレーム2のレンズ嵌合穴5に設けられた嵌合部5aと、嵌合部4bは、後に述べるフレーム2のレンズ嵌合穴5に設けられた嵌合部5bと、それぞれ凹凸嵌合自在としたものとしている。なお、嵌合部4a、4bを凹部した場合には嵌合部5a、5bを凸部とし、嵌合部4a、4bを凸部した場合には嵌合部5a、5bを凹部とするなどしている。
前記フレーム2は、ナイロン、その他の合成樹脂などからなり、前記したように弾性変形可能なものとしている。
前記フレーム2の前部には、上壁2a、下壁2b、内壁2c、外壁2dで囲まれた形状にした前記レンズ嵌合穴5を設けている。このレンズ嵌合穴5の上面には、この上面を隆起させたり陥没させたりして、前記嵌合部4aと嵌脱自在とした前記嵌合部5aを設けると共に、レンズ嵌合穴5の下面には、この下面を隆起させたり陥没させたりして、前記嵌合部4bと嵌脱自在とした前記嵌合部5bを設けている。なお、前記レンズ嵌合穴5は、縦長形状の前記フレーム嵌合部4に合わせて縦長形状にしているが、縦長形状に限られることなく、前記フレーム嵌合部4の形状に応じた任意の形状にすることができる。
さらに、図示したように、前記フレーム2の内壁2cには、前部に切欠部11を形成すると共に、後部に切欠部12を形成して、この内壁2cを細くすると共に、前記フレーム2の外壁2dには、中央を横切る切欠部13を形成して、この外壁2dを上下に分断している。前記内壁2cは、細くすることにより、弾性変形し易いものとなる。さらに、前記内壁2cは、細くすると共に、または細くしないでも、肉薄にすることにより、弾性変形し易いものとなる。なお、前記切欠部13は、ゴム弾性を有するような伸縮自在の部材で塞いでおくことができる。また、前記切欠部13を形成することなく、この部分をゴム弾性を有するような伸縮自在の部材で構成しておくことができる。
また、図示していないが、前記フレーム2の内壁2cには、中央を横切る切欠部13を形成して、この内壁2cを上下に分断すると共に、前記フレーム2の外壁2dには、前部に切欠部11を形成すると共に、後部に切欠部12を形成して、この外壁2dを細くしてもよい。前記外壁2dは、細くすることにより、弾性変形し易いものとなる。さらに、前記外壁2dは、細くすると共に、または細くしないでも、肉薄にすることにより、弾性変形し易いものとなる。なお、この場合も、前記切欠部13は、ゴム弾性を有するような伸縮自在の部材で塞いでおくことができる。また、前記切欠部13を形成することなく、この部分をゴム弾性を有するような伸縮自在の部材で構成しておくことができる。
さらに、図示していないが、前記フレーム2の内壁2cには、中央を横切る切欠部13を形成して、この内壁2cを上下に分断すると共に、前記フレーム2の外壁2dにも、中央を横切る切欠部13を形成して、この外壁2dを上下に分断してもよい。なお、この場合も、前記両切欠部13は、ゴム弾性を有するような伸縮自在の部材で塞いでおくことができる。また、前記両切欠部13を形成することなく、この部分をゴム弾性を有するような伸縮自在の部材で構成しておくことができる。
また、前記フレーム2の後部には、上端に、この上端内側を窪ませて、テンプル嵌合凹部14を設けると共に、下端に、この下端内側を窪ませて、テンプル嵌合凹部15を設けている。前記テンプル3の前部には、この前部を突出させて、フレーム嵌合凸部16、17を設けている。そして、前記テンプル嵌合凹部14にフレーム嵌合凸部16を嵌脱すると共に、前記テンプル嵌合凹部15にフレーム嵌合凸部17を嵌脱することによって、前記フレーム2の後部に前記テンプル3の前部を着脱自在として取り付けている。
前記テンプル嵌合凹部14には、垂直方向に嵌合部14aを設けると共に、前記テンプル嵌合凹部15には、垂直方向に嵌合部15aを設けている。この嵌合部14aは、後に述べるテンプル3のフレーム嵌合凸部16に設けられた嵌合部16aと、嵌合部15aは、後に述べるテンプル3のフレーム嵌合凸部17に設けられた嵌合部17aと、それぞれ凹凸嵌合自在としたものとしている。なお、嵌合部14a、15aを凹部した場合には嵌合部16a、17aを凸部とし、嵌合部14a、15aを凸部した場合には嵌合部16a、17aを凹部とするなどしている。
前記フレーム2の後部上端には、直角状に隣り合った前壁2eと側壁2fおよび上壁2gで囲まれた前記テンプル嵌合凹部14を設け、フレーム2の後部下端には、直角状に隣り合った前壁2eと側壁2fおよび下壁2hで囲まれた前記テンプル嵌合凹部15を設けている。そして、このテンプル嵌合凹部14の上壁2gには前記嵌合部14aが設けられ、テンプル嵌合凹部15の下壁2hには前記嵌合部15aが設けられている。
前記テンプル3の前部は、上下方向に弾性変形可能とした二股部3a、3bとしており、一方の二股部3aの先端に前記フレーム嵌合凸部16が設けられ、他方の二股部3bの先端に前記フレーム嵌合凸部17が設けられている。そして、前記フレーム嵌合凸部16の上部には、垂直方向に前記嵌合部16aが設けられ、前記フレーム嵌合凸部17の下部には、垂直方向に前記嵌合部17aが設けられている。
さらに、前記テンプル嵌合凹部14、15のそれぞれの前壁2eは、曲面状にしたものとすると共に、前記フレーム嵌合凸部16、17のそれぞれの前端を、前記前壁2eに沿う曲面状にしたものとしている。そして、前記テンプル嵌合凹部14の嵌合部14aと、前記フレーム嵌合凸部16の嵌合部16aとが凹凸嵌合し、前記テンプル嵌合凹部15の嵌合部15aと、前記フレーム嵌合凸部17の嵌合部17aとが凹凸嵌合し、さらに前記テンプル嵌合凹部14の前壁2eと前記フレーム嵌合凸部16の前端とが摺接し、前記テンプル嵌合凹部15の前壁2eと前記フレーム嵌合凸部17の前端とが摺接して、前記フレーム2に対して前記テンプル3を水平方向に約90度、回動可能にしている。
また、前記テンプル嵌合凹部14の前壁2eには、水平方向に嵌合部14bを設けると共に、前記テンプル嵌合凹部15の前壁2eには、水平方向に嵌合部14bを設け、前記フレーム嵌合凸部16の前端には、水平方向に前記嵌合部14bに対応する嵌合部16bを設けると共に、前記フレーム嵌合凸部17の前端には、水平方向に前記嵌合部15bに対応する嵌合部17bを設け、前記嵌合部14bと前記嵌合部16b、前記嵌合部15bと前記嵌合部17bとをそれぞれ凹凸嵌合自在としている。さらに、図示していないが、前記テンプル嵌合凹部14の前壁2eにのみ、水平方向に嵌合部14bを設け、前記フレーム嵌合凸部16の前端にのみ、水平方向に前記嵌合部14bに対応する嵌合部16bを設け、前記嵌合部14bと嵌合部16bを凹凸嵌合自在としてもよい。また、図示していないが、前記テンプル嵌合凹部15の前壁2eにのみ、水平方向に嵌合部15bを設け、前記フレーム嵌合凸部17の前端にのみ、水平方向に前記嵌合部15bに対応する嵌合部17bを設け、前記嵌合部15bと嵌合部17bを凹凸嵌合自在としてもよい。さらにまた、前記テンプル3の前部を二股部3a、3bとしていない場合には、図10に示したように、そのテンプル3の前部に設けられた前記フレーム嵌合凸部16、17の何れかに相当するフレーム嵌合凸部18の前端に、前記嵌合部16b、17bの何れかに相当する嵌合部18bを設け、前記テンプル嵌合凹部14、15を互いに連結してテンプル嵌合凹部19とし、このテンプル嵌合凹部19の前壁2eに、前記嵌合部14b、15bの何れかに相当する嵌合部19bを設け、前記嵌合部18bと嵌合部19bを凹凸嵌合自在としてもよい。この場合、前記フレーム嵌合凸部18の上部には、前記嵌合部16aに相当する嵌合部18aが設けられると共に、フレーム嵌合凸部18の下部には、前記嵌合部17aに相当する嵌合部18aが設けられている。さらに、前記テンプル嵌合凹部19は、直角状に隣り合った前壁2eと側壁2f、上壁2gおよび下壁2hで囲まれたものとしている。また、前記テンプル嵌合凹部19の上壁2gには、前記嵌合部14aに相当する嵌合部19aが設けられると共に、テンプル嵌合凹部19の下壁2hには、前記嵌合部15aに相当する嵌合部19aが設けられている。なお、前記嵌合部14b、15b、19bを凸部した場合には嵌合部16b、17b、18bを凹部とし、嵌合部14b、15b、19bを凹部した場合には嵌合部16b、17b、18bを凸部とするなどしている。
そして、前記フレーム2に対してテンプル3を水平方向に回動するときに、前記テンプル嵌合凹部14の前壁2eの嵌合部14bと前記フレーム嵌合凸部16の前端の嵌合部16bと、前記テンプル嵌合凹部15の前壁2eの嵌合部15bと前記フレーム嵌合凸部17の前端の嵌合部17bとをそれぞれ凹凸嵌合させ、嵌合部14bと嵌合部16b、嵌合部15bと嵌合部17bがそれぞれ摺接するようにして、フレーム2に対してテンプル3が振れないようにしている。なお、前記フレーム2に対してテンプル3を水平方向に約90度、回動した状態では、前記嵌合部14bと嵌合部16b、嵌合部15bと嵌合部17bとの凹凸嵌合がそれぞれ解除されるようにしている。このようにすると、後に述べるようにフレーム2からテンプル3を外す場合に、テンプル3を約90度、回動した状態にしてから後に述べるような操作を行うと、前記嵌合部14bと嵌合部16b、嵌合部15bと嵌合部17bのそれぞれの間の抵抗がなくなり、フレーム2からテンプル3をより容易に外すことができる。
以上のように構成されたこの発明の眼鏡は、レンズ1の側方端部に左右一対のフレーム2を着脱自在としているので、フレーム2の体積を減らすことができ、軽量化が図られるので、眼鏡が重くなるようなことはなく、またフレーム2が着用者の前方視野を狭くすることもなく、前傾姿勢の場合にも有効な前方視界を確保することができるものとなる。
さらに、この発明の眼鏡は、フレーム2からレンズ1を外す場合には、図5に示した状態から、片方の手の指でフレーム2の内外壁2c、2dを摘まみ、もう片方の手の指でレンズ1の側方端部を摘まみ、フレーム2からレンズ1を引き抜こうとして力を入れると、フレーム2の内壁2cが図6の(b)に示したように弾性変形する。すると、フレーム2の嵌合部5a、5bの間が広がるので、嵌合部5aに嵌合したレンズ1の嵌合部4a、嵌合部5bに嵌合したレンズ1の嵌合部4bがそれぞれ抜け易くなり、図7に示したように、フレーム2からレンズ1を簡単に外すことができる。
また、この発明の眼鏡は、フレーム2にレンズ1を取り付ける場合には、図7に示した状態から、片方の手の指でフレーム2の内外壁2c、2dを摘まみ、もう片方の手の指でレンズ1の側方端部を摘まみ、フレーム2のレンズ嵌合穴5にレンズ1のフレーム嵌合部4を押し込もうとして力を入れると、レンズ1の嵌合部4aがフレーム2の嵌合部5aを、レンズ1の嵌合部4bがフレーム2の嵌合部5bをそれぞれ押圧し、フレーム2の内壁2cが図6の(b)に示したように弾性変形する。すると、フレーム2の嵌合部5a、5bの間が広がるので、この嵌合部5aにレンズ1の嵌合部4aが、嵌合部5bにレンズ1の嵌合部4bがそれぞれ嵌め易くなり、図5に示したように、フレーム2にレンズ1を簡単に取り付けることができる。
さらに、この発明の眼鏡では、前記フレーム2からレンズ1を外す場合やフレーム2にレンズ1を取り付ける場合においても、前記嵌合部4aと嵌合部5a、嵌合部4bと嵌合部5bのそれぞれの間に働く摩擦抵抗が小さくなるので、これらの部分の磨耗や変形を防止することができ、耐久性に優れたものとなる。
なお、この発明の眼鏡では、前記フレーム2からレンズ1を外す場合やフレーム2にレンズ1を取り付ける場合において、フレーム2の内壁2cの細さ加減や薄さ加減によって、フレーム2の内壁2cの弾性変形のし易さを調節することができるので、眼鏡の用途などに応じて、フレーム2の内壁2cを適当な細さにすればよい。
次に、この発明の眼鏡は、フレーム2からテンプル3を外す場合には、図8に示した状態から、片方の手の指でフレーム2を摘まみ、もう片方の手の指でテンプル3の二股部3a、3bを上下から摘んで力を入れて押さえる。すると、二股部3a、3bの間が狭まり、前記テンプル嵌合凹部14の嵌合部14aから前記フレーム嵌合凸部16の嵌合部16aが外れると共に、前記テンプル嵌合凹部15の嵌合部15aから前記フレーム嵌合凸部17の嵌合部17aが外れるので、この状態でテンプル3をフレーム2から引き離せば、図9に示したように、フレーム2からテンプル3を容易に外すことができる。
また、この発明の眼鏡は、フレーム2にテンプル3を取り付ける場合には、図9に示した状態から、片方の手の指でフレーム2を摘まみ、もう片方の手の指でテンプル3の二股部3a、3bを上下から摘んで力を入れて押さえる。すると、二股部3a、3b間が狭まるので、この状態で前記テンプル嵌合凹部14の嵌合部14aに前記フレーム嵌合凸部16の嵌合部16aを合わせると共に、前記テンプル嵌合凹部15の嵌合部15aに前記フレーム嵌合凸部17の嵌合部17aを合わせて指の力を抜けば、二股部3a、3bの間が元の状態に広がり、嵌合部14aと嵌合部16a、嵌合部15aと嵌合部17aとがそれぞれ凹凸嵌合する。さらに、テンプル嵌合凹部14の前壁2eの嵌合部14bと、フレーム嵌合凸部16の前端の嵌合部16bとが凹凸嵌合し、テンプル嵌合凹部15の前壁2eの嵌合部15bと、フレーム嵌合凸部17の前端の嵌合部17bとが凹凸嵌合するので、図8に示したように、フレーム2にテンプル3を容易に取り付けることができる。
そして、この発明の眼鏡では、フレーム2に取り付けたテンプル3は、前記したようにフレーム2に対して振れないようにして、水平方向に回動可能なものとなる。また、前記嵌合部14aと嵌合部16a、前記嵌合部15aと嵌合部17aとがそれぞれ凹凸嵌合した部分や、前記嵌合部14bと嵌合部16b、前記嵌合部15bと嵌合部17bとがそれぞれ凹凸嵌合した部分は、表面には露出していないので、塗装などの表面処理を行う場合にも影響を受け難く、良好な凹凸嵌合状態を保っておくことができる。
この発明の眼鏡の正面図である。 この発明の眼鏡の後方斜視図である。 この発明の眼鏡のテンプルを開いた状態の平面図である。 この発明の眼鏡のテンプルを折り畳んだ状態の平面図である。 この発明の眼鏡のレンズにフレ−ムを取り付けた後、またはレンズからフレ−ムを外す前の状態を示す図であり、(a)はその斜視図であり、(b)はその端面図である。 この発明の眼鏡のレンズにフレ−ムを取り付ける途中、またはレンズからフレ−ムを外す途中の状態を示す図であり、(a)はその斜視図であり、(b)はその端面図である。 この発明の眼鏡のレンズにフレ−ムを取り付ける前、またはレンズからフレ−ムを外した後の状態を示す図であり、(a)はその斜視図であり、(b)はその端面図である。 この発明の眼鏡のフレ−ムにテンプルを取り付けた後、またはフレームからテンプルを外す前の状態を示す斜視図である。 この発明の眼鏡のフレ−ムにテンプルを取り付ける前、またはフレームからテンプルを外した後の状態を示す斜視図である。 この発明の眼鏡のテンプルの前部を二股部としていない場合の実施例において、フレ−ムにテンプルを取り付ける前、またはフレームからテンプルを外した後の状態を示す斜視図である。 従来の眼鏡の一例を示す正面図である。 図11に示す眼鏡の側面図である。 従来の眼鏡の他の例を示す正面図である。 図13に示す眼鏡の平面図である。
符号の説明
1 レンズ
2 フレーム
2a 上壁
2b 下壁
2c 内壁
2d 外壁
3 テンプル
3a 二股部
3b 二股部
4 フレーム嵌合部
4a 嵌合部
4b 嵌合部
5 レンズ嵌合穴
5a 嵌合部
5b 嵌合部
13 切欠部
14 テンプル嵌合凹部
14a 嵌合部
14b 嵌合部
15 テンプル嵌合凹部
15a 嵌合部
15b 嵌合部
16 フレーム嵌合凸部
16a 嵌合部
16b 嵌合部
17 フレーム嵌合凸部
17a 嵌合部
17b 嵌合部

Claims (10)

  1. レンズ(1)と、このレンズ(1)の側方端部に取り付けた左右一対の弾性変形可能なフレーム(2)と、これらフレーム(2)のそれぞれに取り付けた左右一対のテンプル(3)を備え、前記レンズ(1)の側方端部にフレーム嵌合部(4)を設け、前記フレーム(2)の前部にレンズ嵌合穴(5)を設け、前記フレーム嵌合部(4)をレンズ嵌合穴(5)に嵌脱することによって、前記レンズ(1)に前記フレーム(2)を着脱自在として取り付けたことを特徴とする眼鏡。
  2. 前記フレーム嵌合部(4)には、上部に嵌合部(4a)を設けると共に、下部に嵌合部(4b)を設け、前記レンズ嵌合穴(5)には、上面に嵌合部(5a)を設けると共に、下面に嵌合部(5b)を設け、嵌合部(4a)と嵌合部(5a)、嵌合部(4b)と嵌合部(5b)とをそれぞれ凹凸嵌合自在としたことを特徴とする請求項1記載の眼鏡。
  3. 前記レンズ嵌合穴(5)を、上壁(2a)、下壁(2b)、内壁(2c)、外壁(2d)で囲まれた形状にしたことを特徴とする請求項1または2記載の眼鏡。
  4. 前記内壁(2c)と外壁(2d)の少なくとも何れか一方に、中央を横切る切欠部(13)を形成して、これら内壁(2c)と外壁(2d)の少なくとも何れか一方を上下に分断していることを特徴とする請求項3記載の眼鏡。
  5. 前記フレーム(2)の後部には、上端にテンプル嵌合凹部(14)を設けると共に、下端にテンプル嵌合凹部(15)を設け、前記テンプル(3)の前部には、フレーム嵌合凸部(16、17)を設け、前記テンプル嵌合凹部(14)にフレーム嵌合凸部(16)を嵌脱すると共に、前記テンプル嵌合凹部(15)にフレーム嵌合凸部(17)を嵌脱することによって、前記フレーム(2)に前記テンプル(3)を着脱自在として取り付けたことを特徴とする請求項1〜4の何れかに記載の眼鏡。
  6. 前記テンプル嵌合凹部(14)に嵌合部(14a)を設けると共に、前記テンプル嵌合凹部(15)に嵌合部(15a)を設け、前記フレーム嵌合凸部(16)に嵌合部(16a)を設けると共に、前記フレーム嵌合凸部(17)に嵌合部(17a)を設け、嵌合部(14a)と嵌合部(16a)、嵌合部(15a)と嵌合部(17a)とをそれぞれ凹凸嵌合自在としたことを特徴とする請求項5記載の眼鏡。
  7. 前記テンプル(3)の前部を、上下方向に弾性変形可能とした二股部(3a、3b)としており、一方の二股部(3a)の先端に前記フレーム嵌合凸部(16)が設けられ、他方の二股部(3b)の先端に前記フレーム嵌合凸部(17)が設けられていることを特徴とする請求項5または6記載の眼鏡。
  8. 前記テンプル嵌合凹部(14)に、水平方向に嵌合部(14b)を設け、前記フレーム嵌合凸部(16)の前端に、水平方向に前記嵌合部(14b)に対応する嵌合部(16b)を設け、前記嵌合部(14b)と嵌合部(16b)を凹凸嵌合自在としたことを特徴とする請求項6または7記載の眼鏡。
  9. 前記テンプル嵌合凹部(15)に、水平方向に嵌合部(15b)を設け、前記フレーム嵌合凸部(17)の前端に、水平方向に前記嵌合部(15b)に対応する嵌合部(17b)を設け、前記嵌合部(15b)と嵌合部(17b)を凹凸嵌合自在としたことを特徴とする請求項6または7記載の眼鏡。
  10. 前記テンプル嵌合凹部(14)に、水平方向に嵌合部(14b)を設けると共に、前記テンプル嵌合凹部(15)に、水平方向に嵌合部(15b)を設け、前記フレーム嵌合凸部(16)の前端に、水平方向に前記嵌合部(14b)に対応する嵌合部(16b)を設けると共に、前記フレーム嵌合凸部(17)の前端に、水平方向に前記嵌合部(15b)に対応する嵌合部(17b)を設け、前記嵌合部(14b)と嵌合部(16b)、前記嵌合部(15b)と嵌合部(17b)をそれぞれ凹凸嵌合自在としたことを特徴とする請求項6または7記載の眼鏡。
JP2008218780A 2008-08-27 2008-08-27 眼鏡 Active JP5071907B2 (ja)

Priority Applications (5)

Application Number Priority Date Filing Date Title
JP2008218780A JP5071907B2 (ja) 2008-08-27 2008-08-27 眼鏡
KR1020090078567A KR101529326B1 (ko) 2008-08-27 2009-08-25 안경
EP09168691.5A EP2159623B1 (en) 2008-08-27 2009-08-26 Eyeglasses
US12/548,669 US8292425B2 (en) 2008-08-27 2009-08-27 Eyeglasses
CN2009101683620A CN101661165B (zh) 2008-08-27 2009-08-27 眼镜

Applications Claiming Priority (1)

Application Number Priority Date Filing Date Title
JP2008218780A JP5071907B2 (ja) 2008-08-27 2008-08-27 眼鏡

Publications (2)

Publication Number Publication Date
JP2010054738A true JP2010054738A (ja) 2010-03-11
JP5071907B2 JP5071907B2 (ja) 2012-11-14

Family

ID=41119545

Family Applications (1)

Application Number Title Priority Date Filing Date
JP2008218780A Active JP5071907B2 (ja) 2008-08-27 2008-08-27 眼鏡

Country Status (5)

Country Link
US (1) US8292425B2 (ja)
EP (1) EP2159623B1 (ja)
JP (1) JP5071907B2 (ja)
KR (1) KR101529326B1 (ja)
CN (1) CN101661165B (ja)

Cited By (2)

* Cited by examiner, † Cited by third party
Publication number Priority date Publication date Assignee Title
US8246165B2 (en) 2009-04-24 2012-08-21 Yamamoto Kogaku Co., Ltd. Eyeglasses
JP2014052396A (ja) * 2012-09-05 2014-03-20 Nakanishi Opt:Kk 眼鏡フレームのテンプル連結構造

Families Citing this family (18)

* Cited by examiner, † Cited by third party
Publication number Priority date Publication date Assignee Title
US8894200B2 (en) 2010-06-30 2014-11-25 Addo Industries, Llc Innovative and aesthetic alternative to traditional spectacle correction
KR20120048784A (ko) * 2010-11-08 2012-05-16 기 연 김 모자부착 겸용 선글라스
JP5690357B2 (ja) * 2011-01-27 2015-03-25 ミドリ安全株式会社 眼鏡
ITPD20110225A1 (it) * 2011-07-05 2013-01-06 Rudy Project S R L Dispositivo per il fissaggio rimovibile di elementi di montatura a lenti di occhiali ed occhiali a lenti intercambiabili includenti detto dispositivo di fissaggio
US9256080B2 (en) * 2011-11-08 2016-02-09 Tifosi Optics Inc. Receptor and lock for glasses with removable lenses
US8613515B2 (en) * 2011-11-08 2013-12-24 Tifosi Optics Inc. Lens receptor lock for glasses
CN102591034B (zh) * 2012-03-04 2013-11-27 深圳市欧帝光学有限公司 一种眼镜
FR3013464A1 (fr) * 2013-11-18 2015-05-22 Cfdg Ensemble articule de deux pieces
USD735800S1 (en) * 2013-11-19 2015-08-04 Tifosi Optics, Inc. Temple for glasses
USD735796S1 (en) * 2013-11-19 2015-08-04 Tifosi Optics, Inc. Configurable glasses
KR102258256B1 (ko) * 2014-01-31 2021-05-28 야마모토 고가쿠 가부시키가이샤 고글
US10261338B2 (en) 2015-01-15 2019-04-16 Addo Industries, Llc Eyewear comprising suspension system for nose and ears
CN106154578A (zh) * 2015-04-01 2016-11-23 江苏洪旭光电科技有限公司 一种易拆卸太阳眼镜
CN106019623A (zh) * 2016-07-29 2016-10-12 吕栋 多功能眼镜
USD802651S1 (en) * 2016-09-01 2017-11-14 Oakley, Inc. Eyeglass component
AT519724B1 (de) * 2017-03-09 2021-09-15 Pocket Sky Og Brille
DE202019104575U1 (de) 2019-08-20 2019-10-30 Michael Pachleitner Group GmbH Brille
EP3783419B1 (de) 2019-08-20 2022-06-08 MPG GmbH Brille

Citations (2)

* Cited by examiner, † Cited by third party
Publication number Priority date Publication date Assignee Title
JPH0314209U (ja) * 1989-06-27 1991-02-13
US5661536A (en) * 1994-10-28 1997-08-26 Bausch & Lomb Incorporated Connecting device for attaching a temple to an eyewear lens

Family Cites Families (17)

* Cited by examiner, † Cited by third party
Publication number Priority date Publication date Assignee Title
FR954467A (ja) * 1950-01-03
US4824233A (en) 1985-01-11 1989-04-25 Jannard James H Multi-component sunglasses
JPH0542419Y2 (ja) * 1988-04-27 1993-10-26
JPH0314209A (ja) 1989-06-13 1991-01-22 Murata Mfg Co Ltd 積層型電子部品
US4998815A (en) * 1989-09-27 1991-03-12 Lin David J T Sunglass frame structure
US5387949A (en) * 1992-01-29 1995-02-07 Oakley, Inc. Eyeglass connection device
JP3014209B2 (ja) 1992-04-07 2000-02-28 三菱電機株式会社 画像情報提示装置
JP2986314B2 (ja) 1992-09-14 1999-12-06 山本光学株式会社 眼 鏡
US5592242A (en) * 1993-10-29 1997-01-07 O.G.K. Hanbai Co., Ltd. Eyeglass connection device
TW347876U (en) 1996-05-17 1998-12-11 Persaf Corp Angle adjusting structure for spectacles lenses
TW348859U (en) 1996-09-13 1998-12-21 Jin-Lung Chen Improvement for spectacles structure
TW341335U (en) 1996-10-03 1998-09-21 A&V Mede Group Co Ltd A glasses lens angle regulation structure
TW335908U (en) 1997-07-09 1998-07-01 Gazelle Corp The structure of a turntable and retractable glasses hinge
TW333341U (en) 1997-10-15 1998-06-01 Win Win Spectacles Co Ltd Improved eyeglasses
DE20207180U1 (de) * 2002-05-07 2002-07-25 Uvex Arbeitsschutz GmbH, 90766 Fürth Brille, insbesondere Schutzbrille
US7029115B2 (en) * 2004-03-19 2006-04-18 Michael Toulch Rimless eyeglasses
KR100613409B1 (ko) * 2004-07-23 2006-08-17 백상현 프레임을 갖는 모자 부착 겸용 안경

Patent Citations (2)

* Cited by examiner, † Cited by third party
Publication number Priority date Publication date Assignee Title
JPH0314209U (ja) * 1989-06-27 1991-02-13
US5661536A (en) * 1994-10-28 1997-08-26 Bausch & Lomb Incorporated Connecting device for attaching a temple to an eyewear lens

Cited By (2)

* Cited by examiner, † Cited by third party
Publication number Priority date Publication date Assignee Title
US8246165B2 (en) 2009-04-24 2012-08-21 Yamamoto Kogaku Co., Ltd. Eyeglasses
JP2014052396A (ja) * 2012-09-05 2014-03-20 Nakanishi Opt:Kk 眼鏡フレームのテンプル連結構造

Also Published As

Publication number Publication date
KR20100025481A (ko) 2010-03-09
EP2159623A1 (en) 2010-03-03
KR101529326B1 (ko) 2015-06-16
US20100053545A1 (en) 2010-03-04
US8292425B2 (en) 2012-10-23
CN101661165B (zh) 2012-12-26
EP2159623B1 (en) 2014-10-08
JP5071907B2 (ja) 2012-11-14
CN101661165A (zh) 2010-03-03

Similar Documents

Publication Publication Date Title
JP5071907B2 (ja) 眼鏡
JP4840928B2 (ja) 交換可能レンズを有するアイウェア
EP1960823B1 (en) Eyewear with clip-on frame and lens
JP4310649B2 (ja) 複合用途対応型眼鏡
US6959988B1 (en) Eyewear having detachable lens retaining member
US8414119B2 (en) Eyeglass frame assembly adaptable to lenses of different curvatures
RU2521750C2 (ru) Дужка для очков и очки, содержащие такую дужку
TW201721236A (zh) 可交換的眼鏡元件
EP1730578B1 (en) Eyeglasses
JP5212948B2 (ja) 眼鏡
US20120169991A1 (en) Eyeglass temple having an auxiliary cushion frame
US20180120593A1 (en) Mounting fixture for wearable device
JP5143296B2 (ja) 眼鏡用のレンズ連結具及びレンズ交換可能の眼鏡並びにレンズ形成基材
KR101212274B1 (ko) 자석을 이용한 착탈식 보조 안경테, 이를 구비한 보조 안경, 및 안경 세트
KR200473157Y1 (ko) 안경 세트
KR102068289B1 (ko) 렌즈 교환형 안경
JP2011053627A (ja) 撥ね上げ式眼鏡
JP4413200B2 (ja) 眼鏡フレーム
JP3216991U (ja) レンズ交換式眼鏡
JP6320194B2 (ja) 眼鏡
JP3956374B2 (ja) 眼鏡
JP3124890U (ja) 眼鏡セット
JP3133206U (ja) 眼鏡セット
JP3122149U (ja) 眼鏡フレーム
JP6637138B2 (ja) ウエアラブル機器のための装着具

Legal Events

Date Code Title Description
A621 Written request for application examination

Free format text: JAPANESE INTERMEDIATE CODE: A621

Effective date: 20110502

A131 Notification of reasons for refusal

Free format text: JAPANESE INTERMEDIATE CODE: A131

Effective date: 20111221

A977 Report on retrieval

Free format text: JAPANESE INTERMEDIATE CODE: A971007

Effective date: 20111221

A521 Written amendment

Free format text: JAPANESE INTERMEDIATE CODE: A523

Effective date: 20120216

TRDD Decision of grant or rejection written
A01 Written decision to grant a patent or to grant a registration (utility model)

Free format text: JAPANESE INTERMEDIATE CODE: A01

Effective date: 20120802

A01 Written decision to grant a patent or to grant a registration (utility model)

Free format text: JAPANESE INTERMEDIATE CODE: A01

A61 First payment of annual fees (during grant procedure)

Free format text: JAPANESE INTERMEDIATE CODE: A61

Effective date: 20120813

R150 Certificate of patent or registration of utility model

Ref document number: 5071907

Country of ref document: JP

Free format text: JAPANESE INTERMEDIATE CODE: R150

Free format text: JAPANESE INTERMEDIATE CODE: R150

FPAY Renewal fee payment (event date is renewal date of database)

Free format text: PAYMENT UNTIL: 20150831

Year of fee payment: 3