JP2010054352A - 渦電流探傷方法、渦電流探傷プローブ、及び渦電流探傷装置 - Google Patents

渦電流探傷方法、渦電流探傷プローブ、及び渦電流探傷装置 Download PDF

Info

Publication number
JP2010054352A
JP2010054352A JP2008219808A JP2008219808A JP2010054352A JP 2010054352 A JP2010054352 A JP 2010054352A JP 2008219808 A JP2008219808 A JP 2008219808A JP 2008219808 A JP2008219808 A JP 2008219808A JP 2010054352 A JP2010054352 A JP 2010054352A
Authority
JP
Japan
Prior art keywords
eddy current
friction stir
current flaw
flaw detection
coil
Prior art date
Legal status (The legal status is an assumption and is not a legal conclusion. Google has not performed a legal analysis and makes no representation as to the accuracy of the status listed.)
Granted
Application number
JP2008219808A
Other languages
English (en)
Other versions
JP5173680B2 (ja
Inventor
Masahiro Koike
正浩 小池
Masashi Narushige
将史 成重
Akira Nishimizu
亮 西水
Yutaka Suzuki
豐 鈴木
Masakuni Esumi
昌邦 江角
Current Assignee (The listed assignees may be inaccurate. Google has not performed a legal analysis and makes no representation or warranty as to the accuracy of the list.)
Hitachi Ltd
Original Assignee
Hitachi Ltd
Priority date (The priority date is an assumption and is not a legal conclusion. Google has not performed a legal analysis and makes no representation as to the accuracy of the date listed.)
Filing date
Publication date
Application filed by Hitachi Ltd filed Critical Hitachi Ltd
Priority to JP2008219808A priority Critical patent/JP5173680B2/ja
Publication of JP2010054352A publication Critical patent/JP2010054352A/ja
Application granted granted Critical
Publication of JP5173680B2 publication Critical patent/JP5173680B2/ja
Expired - Fee Related legal-status Critical Current
Anticipated expiration legal-status Critical

Links

Images

Landscapes

  • Investigating Or Analyzing Materials By The Use Of Magnetic Means (AREA)

Abstract

【課題】摩擦撹拌接合部の内部キズの検出能を高めることができる渦電流探傷方法、渦電流探傷プローブ、及び渦電流探傷装置を提供する。
【解決手段】渦電流探傷プローブ3を用いて被検体の摩擦撹拌接合部2を検査する渦電流探傷方法であって、渦電流探傷プローブ3は、互いに逆向きの電流が流れる対の励磁コイル10A,10Bと、これら励磁コイル10A,10Bの間に配置された検出コイル11とを有し、励磁コイル10A,10bは、コイル軸方向が被検体の検査面に対し略垂直となるように、且つ互いに摩擦撹拌接合部2の接合線長さ方向に離間するように配置し、検出コイル11は、コイル軸方向が被検体の検査面に対し略平行となるように且つ摩擦撹拌接合部2の接合線長さ方向に対し略垂直となるように配置する。
【選択図】図4

Description

本発明は、被検体の摩擦撹拌接合部を検査する渦電流探傷方法、渦電流探傷プローブ、及び渦電流探傷装置に関する。
例えば鉄道車両や建築物等に使用されるアルミニウム合金製部材の接合部として、摩擦撹拌接合方法で接合した摩擦撹拌接合部が知られている(例えば特許文献1参照)。摩擦撹拌接合方法は、2つの部材の端部同士を突き合わせた接合部に丸棒(以下、回転工具と称す)を挿入し、この回転工具を回転させながら接合線に沿って移動させて、接合部を発熱、軟化させて塑性流動を生じさせ、固相接合する方法である。そのため、摩擦撹拌接合部の表面には略半円状の(言い換えれば、接合線に直交する方向に連続した)キズやウネリが生じやすい。また、摩擦撹拌接合部の内部にキズが生じた場合、接合線方向に連続したキズとなりやすい。この摩擦撹拌接合部の内部キズを検出する非破壊検査方法として、従来、超音波検査方法が開示されている(例えば、特許文献2参照)。
特開2007−263946号公報 特許第3753641号公報
ところで、他の非破壊検査方法として渦電流探傷方法が知られている。渦電流探傷方法は、例えば、交流信号(励磁電流)を流した励磁コイルを金属などの導電性被検体に近づけ、電磁誘導によって被検体に渦電流を誘起し、その渦電流の乱れ(若しくはそれに伴う磁界の乱れ)を検出コイルで検出することで、被検体に存在するキズなどを検出する方法である。超音波検査方法では、接触媒質(水、油、又はグリセリン等)を使用するために接触媒質の供給や検査後の拭き取りなどの処理が必要であるのに対し、渦電流探傷方法では、接触媒質を使用しないので前述の処理が不要である。しかし、渦電流探傷方法は、一般に、被検体の表面(検査面)での検出感度が良いものの、表皮効果のために裏面側に向かって渦電流が減少し、被検体の内部や裏面での検出感度が低下するという課題がある。そこで、このような課題を解決するため、従来、互いに逆向きの電流が流れる対の励磁コイルと、これら対の励磁コイルの間に配置された検出コイルとを有する渦電流探傷プローブを用いた渦電流探傷方法が提唱されている(例えば、特許第3796570号公報参照)。この渦電流探傷プローブでは、各励磁コイルによって生じる渦電流を重ね合わせて渦電流を強めるため、検出感度を向上させるようになっている。
ここで、上記渦電流探傷プローブを用いて被検体の摩擦撹拌接合部を検査する場合を想定すると、以下のような課題が存在する。上記特許第3796570号公報に記載の渦電流探傷プローブにおいては、検出コイルは、コイル軸方向が検査面に対し略垂直となるように配置されており、様々な方向の渦電流の変化を検出するようになっている。そのため、例えば摩擦撹拌接合部の表面にキズやウネリが生じていれば、それら表面のキズやウネリを起因としたノイズ信号も検出される。そのため、内部キズの検出信号とノイズ信号との識別が困難となって、内部キズの検出能が低下する。
本発明は、上記の事柄に鑑みてなされたものであり、その目的は、摩擦撹拌接合部の内部キズの検出能を高めることができる渦電流探傷方法、渦電流探傷プローブ、及び渦電流探傷装置を提供することにある。
(1)上記目的を達成するために、本発明は、渦電流探傷プローブを用いて被検体の摩擦撹拌接合部を検査する渦電流探傷方法であって、前記渦電流探傷プローブは、互いに逆向きの電流が流れる対の励磁コイルと、前記対の励磁コイルの間に配置された検出コイルとを有し、前記対の励磁コイルは、コイル軸方向が前記被検体の検査面に対し略垂直となるように、且つ互いに前記摩擦撹拌接合部の接合線長さ方向に離間するように配置し、前記検出コイルは、コイル軸方向が前記被検体の検査面に対し略平行となるように且つ前記摩擦撹拌接合部の接合線長さ方向に対し略垂直となるように配置する。
本発明においては、対の励磁コイルは、コイル軸方向が被検体の検査面に対し略垂直となるように、且つ互いに摩擦撹拌接合部の接合線長さ方向(言い換えれば、接合線方向)に離間するように配置されており、互いに逆向きの電流が流れる。これにより、励磁コイルの間の領域(言い換えれば、検出コイルが配置される領域)にて、各励磁コイルによって生じる渦電流を重ね合わせて、接合線幅方向(言い換えれば、接合線に直交する方向)の渦電流を強めることができる。したがって、検出感度を向上させることができる。また、検出コイルは、コイル軸方向が被検体の検査面に対し略平行となるように且つ摩擦撹拌接合部の接合線長さ方向に対し略垂直となるように配置される。これにより、接合線幅方向の渦電流をほとんど検出せず、接合線長さ方向の渦電流を検出する。そのため、例えば摩擦撹拌接合の表面にて接合線幅方向に連続したキズやウネリが生じていても、接合線長さ方向の渦電流が表面のキズやウネリを迂回するような変化(言い換えれば、接合線幅方向の渦電流)は検出されないし、接合線幅方向の渦電流が表面のキズやウネリを迂回するような変化(言い換えれば、接合線長さ方向の渦電流)も僅かであることから、表面のキズやウネリを起因としたノイズ信号を低減することができる。一方、摩擦撹拌接合部の内部にキズが生じた場合は接合線長さ方向に連続したキズとなりやすく、接合線幅方向の渦電流が内部のキズを迂回するような変化(言い換えれば、接合線長さ方向の渦電流)は顕著に現れる。したがって、内部キズの検出能を高めることができる。
(2)上記(1)において、好ましくは、前記渦電流探傷プローブは、前記摩擦撹拌接合部の内部キズの発生が予想される接合線幅方向位置と前記検出コイルの軸方向中心位置とを一致させる場合より検出信号が大きくなるように、前記摩擦撹拌接合部の内部キズの発生が予想される接合線幅方向位置と前記検出コイルの軸方向中心位置とを予め設定された所定の距離だけずらすように配置した状態で、前記摩擦撹拌接合部の接合線長さ方向に走査する。
(3)上記目的を達成するために、本発明は、被検体の摩擦撹拌接合部を検査する渦電流探傷プローブであって、コイル軸方向が前記被検体の検査面に対し略垂直となるように、且つ互いに前記摩擦撹拌接合部の接合線長さ方向に離間するように配置され、互いに逆向きの電流が流れる対の励磁コイルと、コイル軸方向が前記被検体の検査面に対し略平行となるように且つ前記摩擦撹拌接合部の接合線長さ方向に対し略垂直となるように、前記対の励磁コイルの間に配置される検出コイルとを有する。
(4)上記目的を達成するために、本発明は、被検体の摩擦撹拌接合部を検査する渦電流探傷装置であって、コイル軸方向が前記被検体の検査面に対し略垂直となるように、且つ互いに前記摩擦撹拌接合部の接合線長さ方向に離間するように配置され、互いに逆向きの電流が流れる対の励磁コイル、及びコイル軸方向が前記被検体の検査面に対し略平行となるように且つ前記摩擦撹拌接合部の接合線長さ方向に対し略垂直となるように、前記対の励磁コイルの間に配置される検出コイルを有する渦電流探傷プローブと、前記摩擦撹拌接合部の接合条件に基づき、前記摩擦撹拌接合部の内部キズの発生が予想される接合線幅方向位置を演算するキズ予想位置演算手段と、前記摩擦撹拌接合部の内部キズの発生が予想される接合線幅方向位置と前記検出コイルの軸方向中心位置とを一致させる場合より検出信号が大きくなるように、前記摩擦撹拌接合部の内部キズの発生が予想される接合線幅方向位置と前記検出コイルの軸方向中心位置とを予め設定された所定の距離だけずらすような前記渦電流探傷プローブの設定位置を演算するプローブ設定位置演算手段と、前記プローブ設定位置演算手段の演算結果に基づき前記摩擦撹拌接合部の接合線幅方向における前記渦電流探傷プローブの位置を固定しつつ、前記渦電流プローブを前記摩擦撹拌接合部の接合線長さ方向に走査する走査機構とを備える。
本発明によれば、摩擦撹拌接合部の内部キズの検出能を高めることができる。
以下、本発明の実施形態を、図面を参照しつつ説明する。
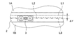
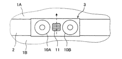
本発明の第1の実施形態を説明する。図1は、本発明の第1の実施形態における渦電流探傷装置の構成を表すブロック図である。また、図2は、本実施形態の要部である渦電流探傷プローブの構造及び配置を表す平面図であり、図3は断面図であり、図4は斜視図である。
これら図1〜図4において、渦電流探傷装置は、例えば部材1A,1Bの端部どうしを接合した摩擦撹拌接合部2の検査を目的とするものであり、渦電流探傷プローブ3と、この渦電流探傷プローブ3を保持するプローブ保持器4と、このプローブ保持器4を介して渦電流探傷プローブ3を摩擦撹拌接合部2上で走査する走査機構5と、この走査機構5を駆動制御して渦電流探傷プローブ3の位置を制御する走査機構制御器6と、信号増幅機能を有し、渦電流探傷プローブ3に交流信号(励磁電流)を出力するとともに、渦電流探傷プローブ3から検出信号(誘起電圧)を入力する渦電流探傷器7と、走査機構制御器6からのプローブ位置信号や渦電流探傷器7からの検出信号を取り込んで演算処理を行う信号採取・処理器8と、前述した各機器の動作状態や検出信号を表示する表示器(モニタ)9とを備えている。
渦電流探傷プローブ3は、互いに逆向き(逆回り)の電流が流れる1対の励磁コイル10A,10Bと、これら励磁コイル10A,10Bの間に配置された検出コイル11とを有している。励磁コイル10A,10Bは、例えば円筒状に巻線されて構成されており、コイル軸方向(図中一点鎖線の矢印で示す)が摩擦撹拌接合部2の表面(検査面)に対し略垂直となるように、且つ互いに摩擦撹拌接合部2の接合線長さ方向(図2及び図3中左右方向)に離間するように配置される。検出コイル11は、例えば長方形筒状(若しくは、円筒形状としてもよい)に巻線されて構成されており、コイル軸方向(図中一点鎖線の矢印で示す)が摩擦撹拌接合部2の表面に対し略平行となるように且つ摩擦撹拌接合部2の接合線長さ方向に対し略垂直となるように配置される。
本実施形態の渦電流検査装置の動作を、図5を用いて説明する。図5は、本実施形態の渦電流検査装置の動作を説明するためのフローチャートである。
まず、渦電流探傷器7の電源をONとし、渦電流探傷プローブ3の励磁コイル10A,10Bに励磁電流を印加する(ステップ101)。その後、試験周波数や信号増幅率(ゲイン)などの探傷条件を入力する(ステップ102)。そして、摩擦撹拌接合部2の接合線幅方向(前述の図2中上下方向)における渦電流探傷プローブ3の設定位置(走査位置)に基づき、走査機構5を駆動して渦電流探傷プローブ3を走査開始位置に設置する(ステップ103)。その後、走査機構5及び走査機構制御器6によって渦電流探傷プローブ3を接合線長さ方向に走査する(ステップ104)。渦電流探傷プローブ3の走査中、信号採取・処理器8は予め設定されたピッチでプローブ位置信号と検出信号とを採取し(ステップ105)、その結果を表示器9に表示する(ステップ106)。そして、摩擦撹拌接合部2に検査すべき他の走査位置があれば、ステップ107の判定が満たされずに前述のステップ103に移り、渦電流探傷プローブ3を次の走査開始位置に設置する。その後、上述したステップ104〜106の手順を繰り返す。一方、検査すべき他の走査位置がなければ、ステップ107の判定が満たされて、検査終了となる。
以上のような本実施形態においては、励磁コイル10A,10Bは、コイル軸方向が摩擦撹拌接合部2の表面に対し略垂直となるように、且つ互いに摩擦撹拌接合部2の接合線長さ方向に離間するように配置され、互いに逆向きの電流が流れる。これにより、励磁コイル10A,10Bの間の領域(言い換えれば、検出コイル11が配置される領域)にて、励磁コイル10A,10Bのそれぞれによって生じる渦電流が重ね合わせられ、接合線幅方向の渦電流を強めることができる。したがって、検出感度を向上させることができる。また、検出コイル11は、コイル軸方向が摩擦撹拌接合部2の表面に対し略平行となるように且つ摩擦撹拌接合部2の接合線長さ方向に対し略垂直となるように配置される。これにより、接合線幅方向の渦電流をほとんど検出せず、接合線長さ方向の渦電流を検出する。そのため、例えば図6に示すように摩擦撹拌接合2の表面にて接合線幅方向に連続したキズ12が生じていても、接合線長さ方向の渦電流がキズ12を迂回するような変化(言い換えれば、接合線幅方向の渦電流)は検出されないし、図6中矢印で示すように接合線幅方向の渦電流がキズ12を迂回するような変化(言い換えれば、接合線長さ方向の渦電流)も僅かであることから、表面のキズ12を起因としたノイズ信号を低減することができる。一方、例えば図6に示すように摩擦撹拌接合部2の内部に生じたキズ13は接合線長さ方向に連続したキズとなりやすく、図6中矢印で示すように接合線幅方向の渦電流が内部のキズ13を迂回するような変化(言い換えれば、接合線長さ方向の渦電流)は顕著に現れる。したがって、内部キズの検出能を高めることができる。
なお、図示しないが、例えば摩擦撹拌接合部2を表面側に突出する段差部とした場合でも、接合線幅方向の渦電流が段差部を迂回しようとする接合線長さ方向一方側及び他方側の渦電流は互いに相殺されるので、段差部を起因としたノイズ信号も低減することができる。
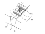
上述した本実施形態の作用効果を、さらに比較例を用いて説明する。図7は、比較例における渦電流探傷プローブの構造を表す斜視図である。なお、この図7において、上記第1の実施形態と同等の部分は同一の符号を付し、適宜説明を省略する。
比較例の渦電流探傷プローブ14は、互いに逆向き(逆回り)の電流が流れる一対の励磁コイル10A,10Bと、これら励磁コイル10A,10Bの間に配置された検出コイル15とを有している。検出コイル15は、コイル軸方向が検査面に対し略垂直となるように配置されており、様々な方向の渦電流の変化を検出する。そのため、接合線長さ方向の渦電流が表面のキズ12(前述の図6参照)を迂回するような変化(言い換えれば、接合線幅方向の渦電流)も検出するので、表面のキズ12を起因としたノイズ信号が大きくなる。実際に、本願発明者らが図8に示すような試験片の探傷試験を行ったところ、図9に示すような結果が得られている。試験片の摩擦撹拌接合部2には、接合線幅方向の表面キズ12A〜12Eが人工的に形成されており,それら表面キズ12A〜12Eの深さを互いに異ならせている(詳細には、表面キズ12Aの深さを0.1mm、表面キズ12Bの深さを0.3mm、表面キズ12Cの深さを0.5mm、表面キズ12Dの深さを0.7mm、表面キズ12Eの深さを0.9mmとしている)。そして、表面キズ12A〜12Eのいずれの探傷結果においても、比較例の渦電流探傷プローブ14を用いた場合より、本発明の第1の実施形態の渦電流探傷プローブ3を用いた場合のほうがその検出信号(ノイズ信号)を大幅に低減することが確認された。
本発明の第2の実施形態を説明する。本実施形態は、摩擦撹拌接合部2の接合線幅方向における渦電流探傷プローブ3の設定位置に特徴を有する実施形態である。なお、上記一実施形態と同等の部分は同一の符号を付し、適宜説明を省略する。
本実施形態では、信号採取・処理器8は、キズ予想位置演算機能を有しており、検査開始前に(言い換えれば、前述の図5のステップ101の前段階で)、摩擦撹拌接合部2の接合条件(詳細には、回転工具の仕様や回転方向など)を入力し、これに基づき摩擦撹拌接合部2の内部キズの発生が予想される接合線幅方向位置を演算する。なお、図10に示すように、摩擦撹拌接合部2の内部キズの発生が予想される接合線幅方向位置L1は、摩擦撹拌接合部2の接合線幅方向中心位置L2からずれることが知られている。
また、信号・採取処理器8には、摩擦撹拌接合部2の内部キズの発生が予想される接合線幅方向位置L1と検出コイル11の軸方向中心位置L3とのずらし距離ΔYが予め設定記憶されている。このずらし距離ΔYについて詳細を説明する。図11は、摩擦撹拌接合部2の接合線幅方向における内部キズと検出コイル3との相対位置関係による検出信号の大きさ(振幅)を表す特性図である。例えば摩擦撹拌接合部2の内部キズの接合線幅方向位置と検出コイル3の軸方向中心位置とを一致させる場合は検出信号が小さくなり、一方、例えば摩擦撹拌接合部2の内部キズの接合線幅方向位置と検出コイル3の軸方向中心位置とを所定の距離ΔYだけずらした場合は検出信号を大きくすることができる。
そして、信号採取・処理器8は、プローブ設定位置演算機能として、渦電流探傷プローブ3の構造寸法に基づき、摩擦撹拌接合部2の内部キズの発生が予想される接合線幅方向位置と検出コイル3の軸方向中心位置とを所定の距離ΔYだけずらすための渦電流探傷プローブ3の設置位置を演算し、これに基づいて渦電流探傷プローブ3を走査開始位置に設置させる(前述の図5のステップ103)。
以上のような本実施形態においても、上記第1の実施形態同様、摩擦撹拌接合部の内部キズの検出能を高めることができる。また、本実施形態では、渦電流探傷センサ3は摩擦撹拌接合部の内部キズが検出されやすい走査位置に自動設定される。したがって、作業者の技倆にかかわらず、検査作業を効率よく実施することができる。
なお、上記第2の実施形態においては、信号採取・処理器8は、ずらし距離ΔYを記憶するともに摩擦撹拌接合部2の接合条件や渦電流探傷プローブ3の構造寸法などを入力して、渦電流探傷プローブ3の設定位置を演算し、これに基づいて渦電流探傷プローブ3を走査開始位置に設置させる場合を例にとって説明したが、これに限られない。すなわち、例えば予め演算された渦電流探傷プローブ3の設定位置を入力し、これに基づいて渦電流探傷プローブ3を走査開始位置に設置させるようにしてもよい。この場合も、上記同様の効果を得ることができる。
なお、上記第1及び第2の実施形態においては、渦電流探傷プローブ3は、1つの検出コイル11を有する場合を例にとって説明したが、これに限られず、複数の検出コイルを有してもよい。このような変形例を以下説明する。
例えば図12に示す第1の変形例の渦電流探傷プローブ3Aは、励磁コイル10A,10Bの間に、励磁コイル10A,10Bの配列方向(言い換えれば、接合線長さ方向)に配置された2つの検出コイル11A,11Bを有し、検出コイル11A,11Bは、互いに巻線方向が逆向きとなるように構成されている。そのため、検出コイル11A,11Bは、接合線長さ方向の内部キズを迂回する左右の渦電流(言い換えれば、接合線長さ方向一方側及び反対側の渦電流)をそれぞれ検出する。これにより、内部キズの検出能をさらに高めることができる。
例えば図13に示す第2の変形例の渦電流探傷プローブ3Bは、励磁コイル10A,10Bの配列方向に直交する方向(言い換えれば、接合線幅方向)に配置された2つの検出コイル11C,11Dを有し、検出コイル11C,11Dは、互いに巻線方向が逆向きとなるように構成されている。そのため、検出コイル11C,11Dは、接合線長さ方向の内部キズを迂回する前後の渦電流(言い換えれば、接合線長さ方向一方側及び反対側の渦電流)をそれぞれ検出する。これにより、内部キズの検出能をさらに高めることができる。
また、上記第1及び第2の実施形態においては、渦電流探傷プローブ3は、互いに逆向きの電流が流れる1対の励磁コイル10A,10Bを有する場合を例にとって説明したが、これに限られず、互いに逆向きの電流が流れる複数対の励磁コイルを有してもよい。例えば図14に示す第3の変形例の渦電流探傷プローブ3Cは、格子配列された3対の励磁コイル10A〜10Fを有している。励磁コイル10Aと10Bが対をなして互いに逆向きの電流が流れ、励磁コイル10Cと10Dが対をなして互いに逆向きの電流が流れ、励磁コイル10Eと10Fがそれぞれ対をなして互いに逆向きの電流が流れるようになっている。ただし、接合線幅方向一方側の励磁コイル10A,10C,10Eは、互いに同じ向きの電流が流れ、反対方側の励磁コイル10B,10D,10Fは、互いに同じ向きの電流が流れるようになっている。これにより、接合線幅方向の渦電流をさらに強めることができ、検出感度をさらに向上させることができる。
また、上記実施形態及び上記変形例においては、渦電流探傷プローブは、円筒状の励磁コイルを有する場合を例にとって説明したが、これに限られない。例えば図15に示す第4の変形例の渦電流探傷プローブ3Dは、長方形筒状の励磁コイル16A,16Bを有している。長方形筒状の励磁コイルは、2つの励磁コイルの間隔が同じ条件下にある円筒状の励磁コイルと比べて巻線数を多くすることができる。したがって、渦電流をさらに高めることができ、検出感度を向上させることができる。
本発明の第1の実施形態における渦電流探傷装置の構成を表すブロック図である。 本発明の第1の実施形態における渦電流探傷プローブの構造及び配置を表す平面図である。 本発明の第1の実施形態における渦電流探傷プローブの構造及び配置を表す断面図である。 本発明の第1の実施形態における渦電流探傷プローブの構造及び配置を表す斜視図である。 本発明の第1の実施形態における渦電流探傷装置の動作を説明するためのフローチャートである。 本発明の第1の実施形態における作用効果を説明するための摩擦撹拌接合部の平面図である。 比較例における渦電流探傷プローブの構造を表す斜視図である。 試験片の平面図である。 比較例の渦電流探傷プローブを用いた場合及び本発明の第1の実施形態の渦電流探傷プローブを用いた場合における試験片の探傷結果を表す図である。 本発明の第2の実施形態における渦電流探傷プローブの配置を説明するための平面図である。 摩擦撹拌接合部の接合線幅方向における内部キズと検出コイルとの相対位置関係による検出信号の大きさを表す特性図である。 本発明の第1の変形例における渦電流探傷プローブの構造を表す平面図である。 本発明の第2の変形例における渦電流探傷プローブの構造を表す平面図である。 本発明の第3の変形例における渦電流探傷プローブの構造を表す斜視図である。 本発明の第4の変形例における渦電流探傷プローブの構造を表す平面図である。
符号の説明
1A,1B 部材
2 摩擦撹拌接合部
3,3A〜3D 渦電流探傷プローブ
4 プローブ保持器
5 走査機構
6 走査機構制御器
7 渦電流探傷器
8 信号・採取処理器
9 表示器
10A〜10F 励磁コイル
11,11A〜11D 検出コイル
12,12A〜12D 表面キズ
13 内部キズ
16A,16B 励磁コイル

Claims (4)

  1. 渦電流探傷プローブを用いて被検体の摩擦撹拌接合部を検査する渦電流探傷方法であって、
    前記渦電流探傷プローブは、互いに逆向きの電流が流れる対の励磁コイルと、前記対の励磁コイルの間に配置された検出コイルとを有し、
    前記対の励磁コイルは、コイル軸方向が前記被検体の検査面に対し略垂直となるように、且つ互いに前記摩擦撹拌接合部の接合線長さ方向に離間するように配置し、
    前記検出コイルは、コイル軸方向が前記被検体の検査面に対し略平行となるように且つ前記摩擦撹拌接合部の接合線長さ方向に対し略垂直となるように配置することを特徴とする渦電流探傷方法。
  2. 請求項1記載の渦電流探傷方法において、前記渦電流探傷プローブは、前記摩擦撹拌接合部の内部キズの発生が予想される接合線幅方向位置と前記検出コイルの軸方向中心位置とを一致させる場合より検出信号が大きくなるように、前記摩擦撹拌接合部の内部キズの発生が予想される接合線幅方向位置と前記検出コイルの軸方向中心位置とを予め設定された所定の距離だけずらすように配置した状態で、前記摩擦撹拌接合部の接合線長さ方向に走査することを特徴とする渦電流探傷方法。
  3. 被検体の摩擦撹拌接合部を検査する渦電流探傷プローブであって、
    コイル軸方向が前記被検体の検査面に対し略垂直となるように、且つ互いに前記摩擦撹拌接合部の接合線長さ方向に離間するように配置され、互いに逆向きの電流が流れる対の励磁コイルと、コイル軸方向が前記被検体の検査面に対し略平行となるように且つ前記摩擦撹拌接合部の接合線長さ方向に対し略垂直となるように、前記対の励磁コイルの間に配置される検出コイルとを有することを特徴とする渦電流探傷プローブ。
  4. 被検体の摩擦撹拌接合部を検査する渦電流探傷装置であって、
    コイル軸方向が前記被検体の検査面に対し略垂直となるように、且つ互いに前記摩擦撹拌接合部の接合線長さ方向に離間するように配置され、互いに逆向きの電流が流れる対の励磁コイル、及びコイル軸方向が前記被検体の検査面に対し略平行となるように且つ前記摩擦撹拌接合部の接合線長さ方向に対し略垂直となるように、前記対の励磁コイルの間に配置される検出コイルを有する渦電流探傷プローブと、
    前記摩擦撹拌接合部の接合条件に基づき、前記摩擦撹拌接合部の内部キズの発生が予想される接合線幅方向位置を演算するキズ予想位置演算手段と、
    前記摩擦撹拌接合部の内部キズの発生が予想される接合線幅方向位置と前記検出コイルの軸方向中心位置とを一致させる場合より検出信号が大きくなるように、前記摩擦撹拌接合部の内部キズの発生が予想される接合線幅方向位置と前記検出コイルの軸方向中心位置とを予め設定された所定の距離だけずらすような前記渦電流探傷プローブの設定位置を演算するプローブ設定位置演算手段と、
    前記プローブ設定位置演算手段の演算結果に基づき前記摩擦撹拌接合部の接合線幅方向における前記渦電流探傷プローブの位置を固定しつつ、前記渦電流プローブを前記摩擦撹拌接合部の接合線長さ方向に走査する走査機構とを備えたことを特徴とする渦電流探傷装置。
JP2008219808A 2008-08-28 2008-08-28 渦電流探傷方法及び渦電流探傷装置 Expired - Fee Related JP5173680B2 (ja)

Priority Applications (1)

Application Number Priority Date Filing Date Title
JP2008219808A JP5173680B2 (ja) 2008-08-28 2008-08-28 渦電流探傷方法及び渦電流探傷装置

Applications Claiming Priority (1)

Application Number Priority Date Filing Date Title
JP2008219808A JP5173680B2 (ja) 2008-08-28 2008-08-28 渦電流探傷方法及び渦電流探傷装置

Publications (2)

Publication Number Publication Date
JP2010054352A true JP2010054352A (ja) 2010-03-11
JP5173680B2 JP5173680B2 (ja) 2013-04-03

Family

ID=42070442

Family Applications (1)

Application Number Title Priority Date Filing Date
JP2008219808A Expired - Fee Related JP5173680B2 (ja) 2008-08-28 2008-08-28 渦電流探傷方法及び渦電流探傷装置

Country Status (1)

Country Link
JP (1) JP5173680B2 (ja)

Cited By (5)

* Cited by examiner, † Cited by third party
Publication number Priority date Publication date Assignee Title
JP2013160579A (ja) * 2012-02-03 2013-08-19 Hitachi Ltd 渦電流探傷プローブ
JP2014066688A (ja) * 2012-09-27 2014-04-17 Hosei Univ 渦流探傷プローブ、渦流探傷装置
US10578584B2 (en) 2016-10-05 2020-03-03 DAINICHI Machine and Engineering Co., Ltd. Calibration device for non-destructive inspection/measurement system and non-destructive inspection/measurement method
JP2022112065A (ja) * 2021-01-21 2022-08-02 株式会社Ihi検査計測 渦電流探傷プローブと渦電流探傷方法
WO2025027359A1 (en) * 2023-08-03 2025-02-06 Liburdi Engineering Limited In-process weld inspection

Families Citing this family (2)

* Cited by examiner, † Cited by third party
Publication number Priority date Publication date Assignee Title
KR102816445B1 (ko) * 2020-12-23 2025-06-09 주식회사 엘지화학 와전류를 이용한 전지 셀의 균열 검사 장치 및 방법
KR102900762B1 (ko) * 2020-12-30 2025-12-16 주식회사 엘지화학 와전류 센서를 이용한 전지 셀의 균열 검사 시스템

Citations (6)

* Cited by examiner, † Cited by third party
Publication number Priority date Publication date Assignee Title
JP2000111530A (ja) * 1998-10-02 2000-04-21 Technological Res Assoc Of Mega-Float 溶接部亀裂探傷方法および装置
JP2004136305A (ja) * 2002-10-16 2004-05-13 Mitsubishi Heavy Ind Ltd 摩擦攪拌接合方法とその装置
JP2005164442A (ja) * 2003-12-03 2005-06-23 Marktec Corp 探傷方法
JP2007248169A (ja) * 2006-03-15 2007-09-27 Marktec Corp 渦電流探傷プローブ
JP2007263946A (ja) * 2006-03-03 2007-10-11 Hitachi Ltd 渦電流探傷センサ及び渦電流探傷方法
JP2008032570A (ja) * 2006-07-28 2008-02-14 Toyota Motor Corp 検査装置および検査方法

Patent Citations (6)

* Cited by examiner, † Cited by third party
Publication number Priority date Publication date Assignee Title
JP2000111530A (ja) * 1998-10-02 2000-04-21 Technological Res Assoc Of Mega-Float 溶接部亀裂探傷方法および装置
JP2004136305A (ja) * 2002-10-16 2004-05-13 Mitsubishi Heavy Ind Ltd 摩擦攪拌接合方法とその装置
JP2005164442A (ja) * 2003-12-03 2005-06-23 Marktec Corp 探傷方法
JP2007263946A (ja) * 2006-03-03 2007-10-11 Hitachi Ltd 渦電流探傷センサ及び渦電流探傷方法
JP2007248169A (ja) * 2006-03-15 2007-09-27 Marktec Corp 渦電流探傷プローブ
JP2008032570A (ja) * 2006-07-28 2008-02-14 Toyota Motor Corp 検査装置および検査方法

Cited By (6)

* Cited by examiner, † Cited by third party
Publication number Priority date Publication date Assignee Title
JP2013160579A (ja) * 2012-02-03 2013-08-19 Hitachi Ltd 渦電流探傷プローブ
JP2014066688A (ja) * 2012-09-27 2014-04-17 Hosei Univ 渦流探傷プローブ、渦流探傷装置
US10578584B2 (en) 2016-10-05 2020-03-03 DAINICHI Machine and Engineering Co., Ltd. Calibration device for non-destructive inspection/measurement system and non-destructive inspection/measurement method
JP2022112065A (ja) * 2021-01-21 2022-08-02 株式会社Ihi検査計測 渦電流探傷プローブと渦電流探傷方法
JP7434194B2 (ja) 2021-01-21 2024-02-20 株式会社Ihi検査計測 渦電流探傷プローブと渦電流探傷方法
WO2025027359A1 (en) * 2023-08-03 2025-02-06 Liburdi Engineering Limited In-process weld inspection

Also Published As

Publication number Publication date
JP5173680B2 (ja) 2013-04-03

Similar Documents

Publication Publication Date Title
JP5173680B2 (ja) 渦電流探傷方法及び渦電流探傷装置
JP3572460B2 (ja) 渦流探傷用プローブ
JP2009085894A (ja) 溶接部欠陥検出方法及び装置
US20160178581A1 (en) System for evaluating weld quality using eddy currents
JP3276295B2 (ja) 渦電流探傷装置
JP4998821B2 (ja) 渦流検査方法及び該渦流検査方法を実施するための渦流検査装置
JPH02147950A (ja) 平面探傷用交流漏洩磁束探傷装置
JP4756409B1 (ja) 交番磁場を利用した非破壊検査装置および非破壊検査方法
JP4766472B1 (ja) 非破壊検査装置及び非破壊検査方法
JP2008032575A (ja) 渦電流測定用プローブ及びそれを用いた探傷装置
JP2006177952A (ja) 渦電流プローブ、検査システム及び検査方法
JP2018124154A (ja) 鋼橋溶接止端部の疲労き裂に対する渦流探傷結果のc−スコープ画像化システム
JP5893889B2 (ja) ガイド波のlモード・tモード併用検査方法
JP3979606B2 (ja) 渦電流探傷用プローブとそのプローブを用いた渦電流探傷装置
JP2004205212A (ja) 磁性材料の渦電流探傷プローブと渦電流探傷装置
JP4619092B2 (ja) レーザ溶接継手の検査方法及び検査装置
JP2004251839A (ja) 管内表面傷検査装置
JP2005164516A (ja) 欠陥検知方法
KR101988887B1 (ko) 자기 센서 배열을 이용한 리사주선도 도시 장치
JP2002214202A (ja) 渦流探傷用プローブ
JP2005164442A (ja) 探傷方法
JP3981965B2 (ja) 渦電流探傷用プローブとそのプローブを用いた渦電流探傷装置
CN103115958B (zh) 一种异种钢闪光焊焊缝缺陷的检测方法及装置
JP2012145394A (ja) スポット溶接の検査装置
JP4614219B2 (ja) レーザ溶接継手の検査方法及び検査装置

Legal Events

Date Code Title Description
A621 Written request for application examination

Free format text: JAPANESE INTERMEDIATE CODE: A621

Effective date: 20100519

A977 Report on retrieval

Free format text: JAPANESE INTERMEDIATE CODE: A971007

Effective date: 20120207

A131 Notification of reasons for refusal

Free format text: JAPANESE INTERMEDIATE CODE: A131

Effective date: 20120515

A521 Request for written amendment filed

Free format text: JAPANESE INTERMEDIATE CODE: A523

Effective date: 20120713

A131 Notification of reasons for refusal

Free format text: JAPANESE INTERMEDIATE CODE: A131

Effective date: 20121113

A521 Request for written amendment filed

Free format text: JAPANESE INTERMEDIATE CODE: A523

Effective date: 20121130

TRDD Decision of grant or rejection written
A01 Written decision to grant a patent or to grant a registration (utility model)

Free format text: JAPANESE INTERMEDIATE CODE: A01

Effective date: 20121225

A61 First payment of annual fees (during grant procedure)

Free format text: JAPANESE INTERMEDIATE CODE: A61

Effective date: 20121227

R150 Certificate of patent or registration of utility model

Ref document number: 5173680

Country of ref document: JP

Free format text: JAPANESE INTERMEDIATE CODE: R150

LAPS Cancellation because of no payment of annual fees