JP2010052827A - バリア性を有する蓋 - Google Patents
バリア性を有する蓋 Download PDFInfo
- Publication number
- JP2010052827A JP2010052827A JP2008222919A JP2008222919A JP2010052827A JP 2010052827 A JP2010052827 A JP 2010052827A JP 2008222919 A JP2008222919 A JP 2008222919A JP 2008222919 A JP2008222919 A JP 2008222919A JP 2010052827 A JP2010052827 A JP 2010052827A
- Authority
- JP
- Japan
- Prior art keywords
- layer
- lid
- container
- barrier property
- strength weak
- Prior art date
- Legal status (The legal status is an assumption and is not a legal conclusion. Google has not performed a legal analysis and makes no representation as to the accuracy of the status listed.)
- Granted
Links
Images
Landscapes
- Packages (AREA)
- Closures For Containers (AREA)
- Wrappers (AREA)
Abstract
【解決手段】最内層8はポリエチレンのシーラント層9を含む樹脂層で、この最内層8の樹脂層ま外側に接着剤層10を介して金属箔層11が貼着され、前記最内層8には中央から放射状に複数本の強度弱点部12が設けられていて、この強度弱点部12によって前記最内層8を含み金属箔層11も破れて開封し易くしたバリア性を有する蓋であって、蓋3にエンボス14を施して伸縮性を具備させた。
【選択図】図1
Description
本発明のバリア性を有する蓋は、エンボス加工が施されているために、容器が落下した時の衝撃によって張力が負荷されても、これをその伸縮作用によって上手く吸収できるので、蓋は容易には破断されず、結果として落下強度が向上する。
尚、この発明は、基本的には、紙カップや紙管にシールされるバリア性を有する蓋で、蓋を破ることによって開封する態様のもの全般に適用できる。したがって、以下の実施例に記載の構造に限定されるものではないことは改めて言うまでもない。
このバリア性を有する蓋3は、図1に示すように、最内層8はポリエチレンのシーラント層9を含む樹脂層で、この最内層8の樹脂層の外側に接着剤層10を介して金属箔層11が貼着された複合シートが採用され、更に前記最内層8にはその中央から放射状に複数本の強度弱点部12が設けられていて、この強度弱点部12によって前記最内層8を含み金属箔層11も容易に破れて、開封し易くしてある。
最内層8は最下層が30〜200μmの範囲から適宜に選択された厚みを備えたポリエチレン(低密度ポリエチレン:LDPE)のシーラント層9で、このポリエチレンのシーラント層9の上面に5〜50μmの範囲から適宜に選択された厚みを備えた前記接着剤層10として機能を奏するポリエチレンテレフタレート(PET)の押出し樹脂フィルムがラミネートされている。また、金属箔層11は6〜50μmの範囲から適宜に選択された厚みを備えたアルミニウム箔が採用されていて、このアルミニウム箔の下面に7〜100μmの範囲から適宜に選択された厚みを備えたポリエチレン(低密度ポリエチレン:LDPE)の押出し樹脂フィルム13がラミネートされている。そして、前記最下層のポリエチレンのシーラント層9と金属箔層11としてのアルミニウム箔の下の前記ポリエチレン(低密度ポリエチレン:LDPE)の押出し樹脂フィルム13とが前記接着剤層10としてのポリエチレンテレフタレート(PET)の押出し樹脂フィルムを介して互いに接着されて、複合シートに形成されている。この複合シートの処理の手段は、上記以外にも公知の技術が採用され、ラミネートや塗着などの一般的な手法である。
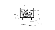
先ず、オーバーキャップ4を取り外し、次いで図6並びに図7に示すように、容器本体2を逆さにし、ホッパ7の漏斗7Bを補充用の容器の一例であるジャー17の円筒状の口部17Aに内嵌合出来る位置に宛がう。容器本体2内のインスタントコーヒーPはホッパ7から漏斗7B内にも流下してきているが、蓋3によって保持されている。次いで、図8並びに図9に示すように、容器本体2に、その漏斗7Bをジャー17の口部17Aへ向かって押し込むように押圧力を負荷する。この押圧力は、ジャー17の口部17A、一般的には本体から円筒状に立ち上がる筒上部分が蓋3を押し破るための力として働く。すなわち、このジャー17の口部17Aが蓋3を押し上げて、これをホッパ7の立ち上がり壁7Aと漏斗7Bとの間の断面三角形状の空間S内に押し込む力として機能する。この押圧力が付加された蓋3は、強度弱点部12であるミシン目が放射状に設けられているために、たちまちの内に極めて容易にこのミシン目に沿って複数の分割片に破断分割される。同時にこの漏斗7Bはジャー17の口部17A内に入り込む。その結果、前記ホッパ7の漏斗7Bの開口7B1が開放され、容器本体2内のインスタントコーヒーPが、ホッパ7の漏斗7Bによって、センターへと案内されつつ、一挙にジャー17内へ案内流下される。ジャー17へ補充を終えたこの詰め替え用容器1は破棄される。図中2Bは容器本体2の底部である。
まず、ラミネート加工法によって、容器本体用として、〔容器外側〕紙層(坪量350g/m2 )/接着剤層/アルミニウム箔層(7.0μm)/ポリエチレンテレフタレート層(12μm)/低密度ポリエチレン層(60μm)〔容器内側〕構成の積層材料を作製した。また、ボトム部材として、〔容器外側〕低密度ポリエチレン層(20μm)/紙層(坪量230g/m2 )/低密度ポリエチレン層(20μm)/アルミニウム箔層(7.0μm)/接着剤層/ポリエチレンテレフタレート層(12μm)/接着剤層/低密度ポリエチレン層(50μm)〔容器内側〕構成の積層材料を作製した。これらの積層材料を用い、PMC社製カップ成形機で、胴部上端の外周にカール部をもつカップ状容器本体を作製した。次に、高密度ポリエチレン(三井化学 2100K)を用いて射出成形により、漏斗7Bを備え、周囲にリングを備えたホッパを作製した。漏斗7B並びにリングは共にほぼ0.8mm厚となるよう成形した。更に、〔上側〕アルミニウム箔層(7μm)/低密度ポリエチレン層(15μm)/ポリエチレンテレフタレート層(12μm)/低密度ポリエチレン層(100μm)〔下側〕構成の積層材料を作製し、この積層材料を用いて蓋材を作製した。
先ず、夫々内容物を120g入れ、夫々の容器2の開口部2Aには本発明によるエンボス14を施した蓋3とエンボス14を施していない扁平な蓋3を夫々貼り付け、その後オーバーキャップ4を被せて試験用の容器を夫々5つ作った。この試験体を、容器2の開口部2Aが斜め45度下向となる姿勢で、地上高60cmから落下させた。
結果を表1に示す。
2…容器本体
2A…開口部
3…蓋
4…オーバーキャップ
5…カール
6…段差
7…ホッパ
8…最内層
9…シーラント層
10…接着剤層
11…金属箔層
12…強度弱点部
13…押出し樹脂層
14…エンボス
15…頂部
16…谷底
17…ジャー
Claims (1)
- 最内層はポリエチレンのシーラント層を含む樹脂層で、この最内層の樹脂層の外側に接着層を介して金属箔層が貼着され、前記最内層には中央から放射状に複数本の強度弱点部が設けられていて、この強度弱点部によって前記最内層を含み金属箔層も破れて開封し易くしたバリア性を有する蓋であって、蓋にはエンボス加工が施されて伸縮性を備えさせてあることを特徴とするバリア性を有する蓋。
Priority Applications (1)
| Application Number | Priority Date | Filing Date | Title |
|---|---|---|---|
| JP2008222919A JP5229465B2 (ja) | 2008-08-29 | 2008-08-29 | バリア性を有する蓋 |
Applications Claiming Priority (1)
| Application Number | Priority Date | Filing Date | Title |
|---|---|---|---|
| JP2008222919A JP5229465B2 (ja) | 2008-08-29 | 2008-08-29 | バリア性を有する蓋 |
Publications (2)
| Publication Number | Publication Date |
|---|---|
| JP2010052827A true JP2010052827A (ja) | 2010-03-11 |
| JP5229465B2 JP5229465B2 (ja) | 2013-07-03 |
Family
ID=42069171
Family Applications (1)
| Application Number | Title | Priority Date | Filing Date |
|---|---|---|---|
| JP2008222919A Expired - Fee Related JP5229465B2 (ja) | 2008-08-29 | 2008-08-29 | バリア性を有する蓋 |
Country Status (1)
| Country | Link |
|---|---|
| JP (1) | JP5229465B2 (ja) |
Citations (3)
| Publication number | Priority date | Publication date | Assignee | Title |
|---|---|---|---|---|
| JPS5925644A (ja) * | 1982-08-04 | 1984-02-09 | Kao Corp | 乳化油脂組成物 |
| JPH01283139A (ja) * | 1988-05-10 | 1989-11-14 | Showa Alum Corp | 熱封緘蓋材 |
| JP2004210298A (ja) * | 2002-12-27 | 2004-07-29 | Nihon Tetra Pak Kk | 閉止可能な開口装置の取付け方法及び包装容器 |
-
2008
- 2008-08-29 JP JP2008222919A patent/JP5229465B2/ja not_active Expired - Fee Related
Patent Citations (3)
| Publication number | Priority date | Publication date | Assignee | Title |
|---|---|---|---|---|
| JPS5925644A (ja) * | 1982-08-04 | 1984-02-09 | Kao Corp | 乳化油脂組成物 |
| JPH01283139A (ja) * | 1988-05-10 | 1989-11-14 | Showa Alum Corp | 熱封緘蓋材 |
| JP2004210298A (ja) * | 2002-12-27 | 2004-07-29 | Nihon Tetra Pak Kk | 閉止可能な開口装置の取付け方法及び包装容器 |
Also Published As
| Publication number | Publication date |
|---|---|
| JP5229465B2 (ja) | 2013-07-03 |
Similar Documents
| Publication | Publication Date | Title |
|---|---|---|
| CN102083702B (zh) | 包装容器及使用该包装容器的包装 | |
| JP4885905B2 (ja) | 詰め替え用紙容器 | |
| JP4981739B2 (ja) | バリア性を有する蓋 | |
| MX2014009167A (es) | Componente de embudo y metodo de fabricacion para la fabricacion de un recipiente de empaque que utiliza el componente de embudo. | |
| JP5487693B2 (ja) | バリア性を有する蓋 | |
| JP5304990B2 (ja) | バリア性を備えた詰め替え用容器 | |
| JP5354329B2 (ja) | 詰め替え用紙容器 | |
| JP5262453B2 (ja) | オーバーキャップ付容器 | |
| JP5229465B2 (ja) | バリア性を有する蓋 | |
| JP5131015B2 (ja) | パーツ付紙容器 | |
| JP5659653B2 (ja) | 包装済食品の製造方法 | |
| JP5417466B2 (ja) | バリア性を有する蓋 | |
| JP5262472B2 (ja) | パーツ付詰め替え用容器 | |
| JP2010254337A (ja) | 易開封性及びバリア性を有する蓋 | |
| JP6604123B2 (ja) | 密封容器 | |
| JP5962037B2 (ja) | 包装容器 | |
| JP2007137447A (ja) | 断熱複合容器 | |
| JP2007168819A (ja) | 断熱複合容器 | |
| HK1152514B (en) | Lid with barrier property | |
| JP2011189957A (ja) | 容器 |
Legal Events
| Date | Code | Title | Description |
|---|---|---|---|
| A621 | Written request for application examination |
Free format text: JAPANESE INTERMEDIATE CODE: A621 Effective date: 20110804 |
|
| RD02 | Notification of acceptance of power of attorney |
Free format text: JAPANESE INTERMEDIATE CODE: A7422 Effective date: 20110902 |
|
| A977 | Report on retrieval |
Free format text: JAPANESE INTERMEDIATE CODE: A971007 Effective date: 20121029 |
|
| TRDD | Decision of grant or rejection written | ||
| A01 | Written decision to grant a patent or to grant a registration (utility model) |
Free format text: JAPANESE INTERMEDIATE CODE: A01 Effective date: 20130220 |
|
| A61 | First payment of annual fees (during grant procedure) |
Free format text: JAPANESE INTERMEDIATE CODE: A61 Effective date: 20130305 |
|
| FPAY | Renewal fee payment (event date is renewal date of database) |
Free format text: PAYMENT UNTIL: 20160329 Year of fee payment: 3 |
|
| R150 | Certificate of patent or registration of utility model |
Ref document number: 5229465 Country of ref document: JP Free format text: JAPANESE INTERMEDIATE CODE: R150 Free format text: JAPANESE INTERMEDIATE CODE: R150 |
|
| R250 | Receipt of annual fees |
Free format text: JAPANESE INTERMEDIATE CODE: R250 |
|
| R250 | Receipt of annual fees |
Free format text: JAPANESE INTERMEDIATE CODE: R250 |
|
| LAPS | Cancellation because of no payment of annual fees |
