JP2010052668A - 小型車両用荷掛け構造 - Google Patents

小型車両用荷掛け構造 Download PDF

Info

Publication number
JP2010052668A
JP2010052668A JP2008222270A JP2008222270A JP2010052668A JP 2010052668 A JP2010052668 A JP 2010052668A JP 2008222270 A JP2008222270 A JP 2008222270A JP 2008222270 A JP2008222270 A JP 2008222270A JP 2010052668 A JP2010052668 A JP 2010052668A
Authority
JP
Japan
Prior art keywords
hook member
movable hook
base
attached
base body
Prior art date
Legal status (The legal status is an assumption and is not a legal conclusion. Google has not performed a legal analysis and makes no representation as to the accuracy of the status listed.)
Granted
Application number
JP2008222270A
Other languages
English (en)
Other versions
JP5030900B2 (ja
Inventor
Taiki Ho
太樹 捧
Tetsuaki Maeda
哲明 前田
Current Assignee (The listed assignees may be inaccurate. Google has not performed a legal analysis and makes no representation or warranty as to the accuracy of the list.)
Honda Motor Co Ltd
Original Assignee
Honda Motor Co Ltd
Priority date (The priority date is an assumption and is not a legal conclusion. Google has not performed a legal analysis and makes no representation as to the accuracy of the date listed.)
Filing date
Publication date
Application filed by Honda Motor Co Ltd filed Critical Honda Motor Co Ltd
Priority to JP2008222270A priority Critical patent/JP5030900B2/ja
Publication of JP2010052668A publication Critical patent/JP2010052668A/ja
Application granted granted Critical
Publication of JP5030900B2 publication Critical patent/JP5030900B2/ja
Expired - Fee Related legal-status Critical Current
Anticipated expiration legal-status Critical

Links

Images

Landscapes

  • Vehicle Step Arrangements And Article Storage (AREA)

Abstract

【課題】乗車用シートに座った運転者の脚部を前方から覆うレッグシールドの後面よりも後方に一部を突出させる荷掛けフックが、車体フレームの前部に取付けられる小型車両用荷掛け構造において、様々な荷物形態に対応可能とする。
【解決手段】荷掛けフック28が、車体フレームの前部に取付けられる被取付け部32を一端側に有する基体33と、該基体33を嵌合せしめる嵌合部34aならびに該嵌合部34aから上方に突出する腕部34bを一体に有するとともにレッグシールド24の後面24aに対して近接、離反する方向にスライドすることを可能として基体33に支承される可動フック部材34とを備える。
【選択図】 図3

Description

本発明は、乗車用シートに座った運転者の脚部を前方から覆うレッグシールドの後面よりも後方に一部を突出させる荷掛けフックが、車体フレームの前部に取付けられる小型車両用荷掛け構造に関する。
スクータ型自動二輪車のレッグシールドに、ヘルメットを保持するための荷掛けフックが回動可能に取付けられ、その荷掛けフックのロック状態およびロック解除状態を操向ハンドルの回動操作によって切換えるようにしたものが、特許文献1で知られている。
特開昭62−110584号公報
ところで、自動二輪車等の小型車両で買い物袋を荷掛けフックに掛けることができれば便利であるが、買い物袋等の荷物は一定の大きさではなく、上記特許文献1で開示されるもののように、荷掛けフックのうち荷物を掛ける部分の大きさが一定であるものでは、様々な荷物形態に対応することができない。
本発明は、かかる事情に鑑みてなされたものであり、様々な荷物形態に対応し得るようにした小型車両用荷掛け構造を提供することを目的とする。
上記目的を達成するために、請求項1記載の発明は、乗車用シートに座った運転者の脚部を前方から覆うレッグシールドの後面よりも後方に一部を突出させる荷掛けフックが、車体フレームの前部に取付けられる小型車両用荷掛け構造において、前記荷掛けフックが、前記車体フレームの前部に取付けられる被取付け部を一端側に有する基体と、該基体を嵌合せしめる嵌合部ならびに該嵌合部から上方に突出する腕部を一体に有するとともに前記レッグシールドの後面に対して近接、離反する方向にスライドすることを可能として前記基体に支承される可動フック部材とを備えることを特徴とする。
また請求項2記載の発明は、請求項1記載の発明の構成に加えて、前記嵌合部が、前記基体を囲繞するようにして環状に形成されることを特徴とする。
請求項3記載の発明は、請求項1または2記載の発明の構成に加えて、前記被取付け部を有する一端側から前記嵌合部に嵌合される前記基体の他端側に、前記嵌合部に当接して前記可動フック部材の前記基体からの離脱を阻止するストッパが設けられることを特徴とする。
請求項4記載の発明は、請求項1〜3のいずれかに記載の発明の構成に加えて、前記基体および前記可動フック部材の嵌合部間に、可動フック部材をそのスライド方向と直交する方向に付勢する弾発部材が介装されることを特徴とする。
さらに請求項5記載の発明は、請求項4記載の発明の構成に加えて、前記弾発部材が、前記基体および前記可動フック部材の一方側に突出して前記可動フック部材のスライド方向に間隔をあけた複数の山部を有して前記基体および前記可動フック部材の他方に取付けられる板ばねであり、前記基体および前記可動フック部材の一方に、前記弾発部材に当接する突部が突設されることを特徴とする。
請求項1記載の発明によれば、荷掛けフックの可動フック部材がレッグシールドの後面に対して近接、離反するように移動することができ、レッグシールドの後面および腕部間の間隔を変化させることができるので、様々な形態の荷物を掛けることが可能となる。しかも荷物を掛けない状態では、可動フック部材をレッグシールドの後面に近接させることにより、レッグシールドの後面からの荷掛けフックの突出量を小さくして、乗員の膝まわりの空間をより広く確保することができ、外観性も向上する。
また請求項2記載の発明によれば、可動フック部材の嵌合部が基体を囲繞するようにして環状に形成されるので、嵌合部の強度剛性を確保し易く、基体による可動フック部材の支持剛性を高めることができる。
請求項3記載の発明によれば、可動フック部材の嵌合部に嵌合した状態で基体を車体フレームの前部に取付けることで、可動フック部材の基体への確実な組付けが行われ、組付け作業が容易となる。
請求項4記載の発明によれば、基体および可動フック部材の嵌合部間に弾発部材を介装することで、可動フック部材のスライド動作にフリクションを与えることができ、基体上での可動フック部材の位置を安定化することができる。
さらに請求項5記載の発明によれば、弾発部材は、基体および可動フック部材の一方側に突出して可動フック部材のスライド方向に間隔をあけた複数の山部を有して、基体および可動フック部材の他方に取付けられる板ばねであり、基体および可動フック部材の一方に突設された突部を弾発部材に当接させるので、弾発部材の山部の側面に突部を当接させることで可動フック部材のスライド位置を安定的に保持することができ、前記突部が前記山部を乗り越えるように可動フック部材をスライド操作することで操作者にクリック感を感じさせることができる。
以下、本発明の実施の形態を、添付の図面に示した本発明の実施例に基づいて説明する。
図1〜図6は本発明の第1実施例を示すものであり、図1は自動二輪車の左側面図、図2は図1の2矢視図、図3は可動フック部材が出っ張り位置にある状態での図2の3−3線拡大断面図、図4は可動フック部材が引っ込み位置にある状態での図3に対応した断面図、図5は基体の斜視図、図6は可動フック部材の斜視図である。
先ず図1において、スクータ型自動二輪車の車体フレームFは、前輪WFを軸支するフロントフォーク11ならびに該フロントフォーク11に連結される操向ハンドル12を操向可能に支承するヘッドパイプ13と、該ヘッドパイプ13から後下がりに延びる第1傾斜部ならびに第1傾斜部14aの下端から後方に延びる第1水平部14bを一体に有するメインパイプ14と、該メインパイプ14における第1水平部14bの後端に固着されて左右両側に延びるロアクロスパイプ15と、ロアクロスパイプ15の左右両端部に前端が一体に連設されて後上がりに延びる第2傾斜部16aならびに第2傾斜部16aの上端から後方に延びる第2水平部16bをそれぞれ一体に有する左右一対のリヤフレームパイプ16…とを備える。
前記両リヤフレームパイプ16…における第2傾斜部16a…および前記ロアクロスパイプ15の連設部にはブラケット17…が設けられており、それらのブラケット17…には、パワーユニットPの前部がリンク機構18を介して上下に揺動可能に支承され、該パワーユニットPの後部右側に配置される後輪WRがパワーユニットPの後部に軸支される。而して前記パワーユニットPは、後輪WRの前方に配置される強制空冷式単気筒の4サイクルであるOHC型の内燃機関Eと、該内燃機関Eおよび前記後輪WR間に設けられる無段変速機Mとで構成される。また前記両リヤフレームパイプ16…のうち左側のリヤフレームパイプ16における第2水平部16bの前部およびパワーユニットPの後部間にはリヤクッションユニット19が設けられる。
前記パワーユニットPの上方には、ヘルメット等を収納する収納ボックス20が前記両リヤフレームパイプ16…で支持されるようにして配置され、その収納ボックス20の後方には、前記両リヤフレームパイプ16…で支持されるようにして燃料タンク21が配置される。
車体フレームFは、合成樹脂製の車体カバー23で覆われるものであり、この車体カバー23は、乗車用シート22に座った運転者の脚部を前方から覆うレッグシールド24と、運転者の足を載せるべくレッグシールド24の下部に連なるステップフロア25と、ステップフロア25に連なって車体後部を両側から覆うサイドカバー26とを備え、サイドカバー26上には、前記収納ボックス20でヒンジ支持されるタンデム型の前記乗車用シート22が、前記収納ボックス20および前記燃料タンク21を上方から開閉可能として覆うようにして配置される。
図2〜図4を併せて参照して、車体フレームFの前部にはレッグシールド24の後面24aよりも後方に一部を突出させる荷掛けフック28が取付けられるものであり、この実施例では、車体フレームFが前端に備えるヘッドパイプ13の後面にステイ29が固着され、そのステイ29に、前記荷掛けフック28が取付けられる。しかも前記レッグシールド24の左右方向中央部には、前記ステイ29に当接するようにして前方側に膨らむ膨出部30が一体に設けられ、該膨出部30の後面は、前記荷掛けフック28の一部を配置するようにして後方側に開放した凹部31を形成する。
前記荷掛けフック28は、前記ステイ29に取付けられる被取付け部32を一端側に有する基体33と、前記レッグシールド24の後面24aに対して近接、離反する方向にスライドすることを可能として基体33に支承される可動フック部材34とを備え、この実施例で前記可動フック部材34は、図3で示すようにレッグシールド24の後面24aから離反した出っ張り位置と、図4で示すようにレッグシールド24の後面24aに近接させた引っ込み位置との間でスライド可能である。
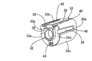
図5を併せて参照して、前記基体33は、相互に対向する左右一対の側壁33a,33aと、それらの側壁33a…の上端部間を連結する平板状の上壁33bと、下方に膨らんだ円弧状にして前記両側壁33a…の下端部間を連結する底壁33cとを有して、たとえば合成樹脂によって筒状に形成されており、この基体33の一端側に被取付け部32が設けられる。
ところで前記レッグシールド24の膨出部30(運転者側から見れば凹部31の前端部)には、前記ステイ29に後方から当接する平板状の取付け板部分30aが形成されており、その取付け板部分30aには、非円形の嵌合孔35が設けられる。而して前記基体33の一端側の被取付け部32は、前記レッグシールド24の取付け板部分30aをステイ29との間に挟持するようにして前記両側壁33a…、上壁33bおよび底壁33cの一端に直角に連なる平板状の当接板部分33dと、前記嵌合孔35に嵌合するようにして前記当接板部分33dから突出する非円形の横断面形状を有する嵌合筒部分33eとから成る。
前記被取付け部32は、レッグシールド24の膨出部30における前記取付け板部分30aを前記ステイ29との間に挟んだ状態で、前記嵌合筒部分33eおよび前記ステイ29に挿通される段付きボルト36を、ステイ29に固着されたウエルドナット37に螺合することでステイ29に取付けられる。すなわち基体33と、レッグシールド24の膨出部30とが段付きボルト36による共締めでステイ29に取付けられることになり、部品点数の低減および組付け工数の低減に寄与することができる。
図6を併せて参照して、前記可動フック部材34は、前記基体33を嵌合せしめる嵌合部34aと、該嵌合部34aから上方に突出する腕部34bとを一体に有してたとえば合成樹脂により形成されるものであり、嵌合部34aは、前記基体33を囲繞するようにして環状に形成される。
しかも可動フック部材34は、図4で示すように、レッグシールド24の後面24aに近接させた引っ込み位置に在る状態では、該可動フック部材34の後面が、基体33の後端面すなわち他端面とほぼ面一に連なるように形成されるものであり、このようにすると可動フック部材34を引っ込み位置に移動させた状態での荷掛けフック28の見栄えがよくなる。
ところで前記基体33および前記可動フック部材34の一方には複数個のガイド溝38…が設けられ、前記基体33および前記可動フック部材34の他方には、前記各ガイド溝38…にそれぞれ嵌合する複数個のガイド突部39…が突設されるものであり、この実施例では、基体33に4個のガイド溝38…が設けられ、可動フック部材34に各ガイド溝38…に嵌合する4個のガイド突部39…が突設される。
前記基体33において、前記上壁33bの外面には相互に平行な2条のガイド溝38,38が基体33の長手方向に延びるようにして設けられ、前記両側壁33a…の外面には、基体33の長手方向に延びるガイド溝38…が1つずつ設けられる。一方、可動フック部材34における嵌合部34aの内周には、前記各ガイド溝38…に個別に嵌合するガイド突部39…が一体に突設されており、可動フック部材34は、各ガイド突部39…を各ガイド溝38…内で摺動させるようにして基体33の長手方向にスライドすることになる。
このように基体33および可動フック部材34の一方に設けられた複数個のガイド溝38…に、基体33および可動フック部材34の他方に突設されたガイド突部39…を嵌合して可動フック部材34をスライドさせることで、可動フック部材34ががたつくことなくスムーズにスライドすることが可能となり、各ガイド溝38…および各ガイド突部39…の寸法管理だけでスライドの品質を管理することができる。
しかも前記各ガイド溝38…の一端は基体33の被取付け部32側に開放しており、各ガイド溝38…の他端はストッパ49…を形成するようにして閉じられる。而して基体33は、その一端すなわち被取付け部32側から可動フック部材34の嵌合部34aに嵌合されるものであり、基体33の他端側への前記可動フック部材34の離脱は各ガイド突部39…が各ガイド溝38…のストッパ40…に当接することで阻止される。
図3および図4に注目して、前記基体33および前記可動フック部材34の嵌合部34a間には、可動フック部材34をそのスライド方向と直交する方向に付勢する弾発部材41が介装される。
この弾発部材41は、基体33および可動フック部材34の一方側に突出して可動フック部材34のスライド方向に間隔をあけた複数の山部41a,41bを有して基体33および可動フック部材34の他方に取付けられる板ばねであり、基体33および可動フック部材34の一方には前記弾発部材41に当接する突部42が突設される。而してこの実施例では、弾発部材41が、可動フック部材34側に突出した2つの山部41a,41bをを有して基体33の底壁33cに取付けられ、可動フック部材34に前記突部42が突設される。
前記基体33の底壁33cには、前記被取付け部32側に一端を開放するとともに他端を閉じるようにして可動フック部材34のスライド方向に延びる取付け孔43と、該取付け孔43の中間部を下方に回付せしめる開口部44とが設けられており、板ばねである前記弾発部材41は、その両端を前記取付け孔43に係止するようにして前記開口部44に配置される。
一方、可動フック部材34における嵌合部34aの一端下部には、前記突部42が上方に突出するようにして一体に設けられ、この突部42が前記弾発部材41に当接する。
而して可動フック部材34を、図3で示すように、レッグシールド24の後面24aから離反した出っ張り位置にスライドさせたときには、前記可動フック部材34の前記突部42は、弾発部材41における2つの山部41a,41bのうち後方側の山部41bに後方から当接する位置に在り、また可動フック部材34を、図4で示すように、前記レッグシールド24の後面24aに近接させた引っ込み位置にスライドしたときには、前記可動フック部材34の前記突部42は、弾発部材41における2つの山部41a,41b間に当接する位置に在る。
次にこの第1実施例の作用について説明すると、荷掛けフック28が、車体フレームFの前部のステイ29に取付けられる被取付け部32を一端側に有する基体33と、該基体33を嵌合せしめる嵌合部34aならびに該嵌合部34aから上方に突出する腕部34bを一体に有する可動フック部材34とを備え、可動フック部材34は、レッグシールド24の後面24aに対して近接、離反する方向にスライドすることを可能として基体33に支承されるので、可動フック部材34がレッグシールド24の後面24aに対して近接、離反するように移動することができ、レッグシールド24の後面24aおよび腕部34b間の間隔を変化させることができるので、様々な形態の荷物を掛けることが可能となる。しかも荷物を掛けない状態では、可動フック部材34をレッグシールド24の後面24aに近接させることにより、レッグシールド24の後面24aからの荷掛けフック28の突出量を小さくして、乗員の膝まわりの空間をより広く確保することができ、外観性も向上する。
特に、レッグシールド24には荷掛けフック28の一部を配置するようにして後方側に開放した凹部31が設けられているので、可動フック部材34をレッグシールド24側に近接させた引っ込み位置に移動させたときには、レッグシールド24の後面24aからの荷掛けフック28の突出が目立たなくなり、外観性を高めることができる。
また可動フック部材34の嵌合部34aが基体33を囲繞するようにして環状に形成されるので、嵌合部34aの強度剛性を確保し易くし、基体33による可動フック部材34の支持剛性を高めることができる。
また被取付け部32を有する一端側から嵌合部34aに嵌合される基体33の他端側に、嵌合部34aのガイド突部39…に当接して可動フック部材34の基体33からの離脱を阻止するストッパ40…が設けられるので、可動フック部材34の嵌合部34aに嵌合した状態で基体33を車体フレームFの前部のステイ29に取付けることで、可動フック部材34の基体33への確実な組付けが行われ、組付け作業が容易となる。
また基体33および可動フック部材34の嵌合部34a間に、可動フック部材34をそのスライド方向と直交する方向に付勢する弾発部材41が介装されるので、可動フック部材34のスライド動作にフリクションを与えることができ、基体33上での可動フック部材34の位置を安定化することができる。
さらに弾発部材41は、可動フック部材34側に突出して可動フック部材34のスライド方向に間隔をあけた複数たとえば2つの山部41a,41bを有して基体33に取付けられる板ばねであり、可動フック部材34に、弾発部材41に当接する突部42が突設されるので、弾発部材41の山部41a,41bの側面に突部42を当接させることで可動フック部材34のスライド位置を安定的に保持することができ、突部42が山部41bを乗り越えるように可動フック部材34をスライド操作することで操作者にクリック感を感じさせることができる。
ところで、このような第1実施例では、可動フック部材34のスライド方向が後下がりとなっていたが、図7で示す第2実施例のように、可動フック部材34のスライド方向が後上がりとなるようにして荷掛けフック28をステイ29に取り付けるようにしてもよく、そうすれば、荷掛けフック28における可動フック部材34の腕部34bに荷物の重量がかかることはなく、可動フック部材34が荷物に重量によってスライドすることを防止することができるだけでなく、運転者が乗車用シートに座った乗車姿勢のままで可動フック部材34をスライド操作することが容易となる。
以上、本発明の実施例を説明したが、本発明は上記実施例に限定されるものではなく、特許請求の範囲に記載された本発明を逸脱することなく種々の設計変更を行うことが可能である。
第1実施例の自動二輪車の左側面図である。 図1の2矢視図である。 可動フック部材が出っ張り位置にある状態での図2の3−3線拡大断面図である。 可動フック部材が引っ込み位置にある状態での図3に対応した断面図である。 基体の斜視図である。 可動フック部材の斜視図である。 第2実施例の図4に対応した断面図である。
符号の説明
22・・・乗車用シート
24・・・レッグシールド
24a・・・レッグシールドの後面
28・・・荷掛けフック
32・・・被取付け部
33・・・基体
34・・・可動フック部材
34a・・・嵌合部
34b・・・腕部
40・・・ストッパ
41・・・弾発部材
41a,41b・・・山部
42・・・突部 F・・・車体フレーム

Claims (5)

  1. 乗車用シート(22)に座った運転者の脚部を前方から覆うレッグシールド(24)の後面(24a)よりも後方に一部を突出させる荷掛けフック(28)が、車体フレーム(F)の前部に取付けられる小型車両用荷掛け構造において、前記荷掛けフック(28)が、前記車体フレーム(F)の前部に取付けられる被取付け部(32)を一端側に有する基体(33)と、該基体(33)を嵌合せしめる嵌合部(34a)ならびに該嵌合部(34a)から上方に突出する腕部(34b)を一体に有するとともに前記レッグシールド(24)の後面(24a)に対して近接、離反する方向にスライドすることを可能として前記基体(33)に支承される可動フック部材(34)とを備えることを特徴とする小型車両用荷掛け構造。
  2. 前記嵌合部(34a)が、前記基体(33)を囲繞するようにして環状に形成されることを特徴とする請求項1記載の小型車両用荷掛け構造。
  3. 前記被取付け部(32)を有する一端側から前記嵌合部(34a)に嵌合される前記基体(33)の他端側に、前記嵌合部(34a)に当接して前記可動フック部材(34)の前記基体(33)からの離脱を阻止するストッパ(40)が設けられることを特徴とする請求項1または2記載の小型車両用荷掛け構造。
  4. 前記基体(33)および前記可動フック部材(34)の嵌合部(34a)間に、可動フック部材(34)をそのスライド方向と直交する方向に付勢する弾発部材(41)が介装されることを特徴とする請求項1〜3のいずれかに記載の小型車両用荷掛け構造。
  5. 前記弾発部材(41)が、前記基体(33)および前記可動フック部材(34)の一方側に突出して前記可動フック部材(34)のスライド方向に間隔をあけた複数の山部(41a,41b)を有して前記基体(33)および前記可動フック部材(34)の他方に取付けられる板ばねであり、前記基体(33)および前記可動フック部材(34)の一方に、前記弾発部材(41)に当接する突部(42)が突設されることを特徴とする請求項4記載の小型車両用荷掛け構造。
JP2008222270A 2008-08-29 2008-08-29 小型車両用荷掛け構造 Expired - Fee Related JP5030900B2 (ja)

Priority Applications (1)

Application Number Priority Date Filing Date Title
JP2008222270A JP5030900B2 (ja) 2008-08-29 2008-08-29 小型車両用荷掛け構造

Applications Claiming Priority (1)

Application Number Priority Date Filing Date Title
JP2008222270A JP5030900B2 (ja) 2008-08-29 2008-08-29 小型車両用荷掛け構造

Publications (2)

Publication Number Publication Date
JP2010052668A true JP2010052668A (ja) 2010-03-11
JP5030900B2 JP5030900B2 (ja) 2012-09-19

Family

ID=42069033

Family Applications (1)

Application Number Title Priority Date Filing Date
JP2008222270A Expired - Fee Related JP5030900B2 (ja) 2008-08-29 2008-08-29 小型車両用荷掛け構造

Country Status (1)

Country Link
JP (1) JP5030900B2 (ja)

Cited By (2)

* Cited by examiner, † Cited by third party
Publication number Priority date Publication date Assignee Title
WO2012176730A1 (ja) * 2011-06-22 2012-12-27 芦森工業株式会社 エアバッグ装置の取付構造
JP2013249007A (ja) * 2012-06-01 2013-12-12 Ashimori Industry Co Ltd エアバッグ装置の取付構造及び車両用シート

Citations (6)

* Cited by examiner, † Cited by third party
Publication number Priority date Publication date Assignee Title
JPS6276089U (ja) * 1985-11-01 1987-05-15
JPS62110584A (ja) * 1985-11-08 1987-05-21 本田技研工業株式会社 二輪車用ヘルメツトホルダ−
JPH0740873A (ja) * 1993-07-26 1995-02-10 Suzuki Motor Corp スクータ型車両の荷掛装置
JPH07277253A (ja) * 1994-04-14 1995-10-24 Suzuki Motor Corp 小型車両の荷掛けフックの取り付け構造
JPH08230739A (ja) * 1990-11-22 1996-09-10 Honda Motor Co Ltd スクータ型車両における荷掛けフック構造
JP2007118740A (ja) * 2005-10-27 2007-05-17 Kawasaki Heavy Ind Ltd 荷掛け装置及び自動二輪車

Patent Citations (6)

* Cited by examiner, † Cited by third party
Publication number Priority date Publication date Assignee Title
JPS6276089U (ja) * 1985-11-01 1987-05-15
JPS62110584A (ja) * 1985-11-08 1987-05-21 本田技研工業株式会社 二輪車用ヘルメツトホルダ−
JPH08230739A (ja) * 1990-11-22 1996-09-10 Honda Motor Co Ltd スクータ型車両における荷掛けフック構造
JPH0740873A (ja) * 1993-07-26 1995-02-10 Suzuki Motor Corp スクータ型車両の荷掛装置
JPH07277253A (ja) * 1994-04-14 1995-10-24 Suzuki Motor Corp 小型車両の荷掛けフックの取り付け構造
JP2007118740A (ja) * 2005-10-27 2007-05-17 Kawasaki Heavy Ind Ltd 荷掛け装置及び自動二輪車

Cited By (3)

* Cited by examiner, † Cited by third party
Publication number Priority date Publication date Assignee Title
WO2012176730A1 (ja) * 2011-06-22 2012-12-27 芦森工業株式会社 エアバッグ装置の取付構造
JP2013006447A (ja) * 2011-06-22 2013-01-10 Ashimori Industry Co Ltd エアバッグ装置の取付構造
JP2013249007A (ja) * 2012-06-01 2013-12-12 Ashimori Industry Co Ltd エアバッグ装置の取付構造及び車両用シート

Also Published As

Publication number Publication date
JP5030900B2 (ja) 2012-09-19

Similar Documents

Publication Publication Date Title
JP5271224B2 (ja) 車両の後部構造
US9821870B2 (en) Rear carrier for saddle-ride vehicle
JP5131470B2 (ja) 自動二輪車
CN101468670B (zh) 车辆座椅结构
JP4778919B2 (ja) 自動二輪車
KR100696999B1 (ko) 자동이륜차에 있어서의 차체 커버 구조
JP2017213985A (ja) 鞍乗型車両
JP5030900B2 (ja) 小型車両用荷掛け構造
JP5788813B2 (ja) 鞍乗り型車両用ステップ
JP6265433B2 (ja) バッテリを備えた鞍乗り型車両
JP2014008895A (ja) 自動二輪車
JP5841785B2 (ja) 鞍乗型車両
JP7108003B2 (ja) 鞍乗り型車両のメインステップ構造
CN102398645A (zh) 座椅铰链构造
JP6196272B2 (ja) 鞍乗型車両
JP2004299627A (ja) 自動二輪車のグラブレール
JP2006143023A (ja) 車両用収納構造
JP4537945B2 (ja) 自動二輪車における収納構造
JP6417179B2 (ja) 鞍乗型車両
JP2012201356A (ja) 自動2輪車のシート取付構造
JP5062491B2 (ja) 鞍乗型車両
JP5661539B2 (ja) 鞍乗型車両のシート構造
JP7042721B2 (ja) 外装部材の取付け構造
JP4851875B2 (ja) 自動二輪車のリヤステップ取付構造及び該リヤステップ取付構造を備えた自動二輪車
JP2013086538A (ja) 自動二輪車の後部構造

Legal Events

Date Code Title Description
A621 Written request for application examination

Free format text: JAPANESE INTERMEDIATE CODE: A621

Effective date: 20101126

A977 Report on retrieval

Free format text: JAPANESE INTERMEDIATE CODE: A971007

Effective date: 20120517

TRDD Decision of grant or rejection written
A01 Written decision to grant a patent or to grant a registration (utility model)

Free format text: JAPANESE INTERMEDIATE CODE: A01

Effective date: 20120613

A01 Written decision to grant a patent or to grant a registration (utility model)

Free format text: JAPANESE INTERMEDIATE CODE: A01

A61 First payment of annual fees (during grant procedure)

Free format text: JAPANESE INTERMEDIATE CODE: A61

Effective date: 20120626

R150 Certificate of patent or registration of utility model

Ref document number: 5030900

Country of ref document: JP

Free format text: JAPANESE INTERMEDIATE CODE: R150

Free format text: JAPANESE INTERMEDIATE CODE: R150

FPAY Renewal fee payment (event date is renewal date of database)

Free format text: PAYMENT UNTIL: 20150706

Year of fee payment: 3

LAPS Cancellation because of no payment of annual fees