JP2010051475A - 血管閉塞用具及びその製造方法 - Google Patents

血管閉塞用具及びその製造方法 Download PDF

Info

Publication number
JP2010051475A
JP2010051475A JP2008218595A JP2008218595A JP2010051475A JP 2010051475 A JP2010051475 A JP 2010051475A JP 2008218595 A JP2008218595 A JP 2008218595A JP 2008218595 A JP2008218595 A JP 2008218595A JP 2010051475 A JP2010051475 A JP 2010051475A
Authority
JP
Japan
Prior art keywords
vivo indwelling
indwelling member
primary coil
mold
shape
Prior art date
Legal status (The legal status is an assumption and is not a legal conclusion. Google has not performed a legal analysis and makes no representation as to the accuracy of the status listed.)
Granted
Application number
JP2008218595A
Other languages
English (en)
Other versions
JP5374967B2 (ja
Inventor
Hironori Takada
弘規 高田
Atsushi Ogawa
篤志 小川
Current Assignee (The listed assignees may be inaccurate. Google has not performed a legal analysis and makes no representation or warranty as to the accuracy of the list.)
Kaneka Corp
Kaneka Medix Corp
Original Assignee
Kaneka Corp
Kaneka Medix Corp
Priority date (The priority date is an assumption and is not a legal conclusion. Google has not performed a legal analysis and makes no representation as to the accuracy of the date listed.)
Filing date
Publication date
Application filed by Kaneka Corp, Kaneka Medix Corp filed Critical Kaneka Corp
Priority to JP2008218595A priority Critical patent/JP5374967B2/ja
Publication of JP2010051475A publication Critical patent/JP2010051475A/ja
Application granted granted Critical
Publication of JP5374967B2 publication Critical patent/JP5374967B2/ja
Active legal-status Critical Current
Anticipated expiration legal-status Critical

Links

Images

Classifications

    • AHUMAN NECESSITIES
    • A61MEDICAL OR VETERINARY SCIENCE; HYGIENE
    • A61BDIAGNOSIS; SURGERY; IDENTIFICATION
    • A61B17/00Surgical instruments, devices or methods
    • A61B17/12Surgical instruments, devices or methods for ligaturing or otherwise compressing tubular parts of the body, e.g. blood vessels or umbilical cord
    • A61B17/12022Occluding by internal devices, e.g. balloons or releasable wires
    • A61B17/12131Occluding by internal devices, e.g. balloons or releasable wires characterised by the type of occluding device
    • A61B17/12168Occluding by internal devices, e.g. balloons or releasable wires characterised by the type of occluding device having a mesh structure
    • A61B17/12172Occluding by internal devices, e.g. balloons or releasable wires characterised by the type of occluding device having a mesh structure having a pre-set deployed three-dimensional shape
    • AHUMAN NECESSITIES
    • A61MEDICAL OR VETERINARY SCIENCE; HYGIENE
    • A61BDIAGNOSIS; SURGERY; IDENTIFICATION
    • A61B17/00Surgical instruments, devices or methods
    • A61B17/12Surgical instruments, devices or methods for ligaturing or otherwise compressing tubular parts of the body, e.g. blood vessels or umbilical cord
    • A61B17/12022Occluding by internal devices, e.g. balloons or releasable wires
    • A61B17/12099Occluding by internal devices, e.g. balloons or releasable wires characterised by the location of the occluder
    • A61B17/12109Occluding by internal devices, e.g. balloons or releasable wires characterised by the location of the occluder in a blood vessel
    • A61B17/12113Occluding by internal devices, e.g. balloons or releasable wires characterised by the location of the occluder in a blood vessel within an aneurysm

Landscapes

  • Health & Medical Sciences (AREA)
  • Surgery (AREA)
  • Life Sciences & Earth Sciences (AREA)
  • Heart & Thoracic Surgery (AREA)
  • Molecular Biology (AREA)
  • Vascular Medicine (AREA)
  • Engineering & Computer Science (AREA)
  • Biomedical Technology (AREA)
  • Reproductive Health (AREA)
  • Medical Informatics (AREA)
  • Nuclear Medicine, Radiotherapy & Molecular Imaging (AREA)
  • Animal Behavior & Ethology (AREA)
  • General Health & Medical Sciences (AREA)
  • Public Health (AREA)
  • Veterinary Medicine (AREA)
  • Neurosurgery (AREA)
  • Surgical Instruments (AREA)

Abstract

【課題】動脈瘤内でより安定して着座することが可能な生体内留置部材および該生体内留置部材を有する血管閉塞用具を提供すること、更には、この様な生体内留置部材を簡便に作製することが可能な製造方法を提供すること。
【解決手段】生体内留置部材の製造方法であって、金属の線材を巻きまわし、一次コイルを形成する工程、一次コイルを中空状の鋳型内に挿入する工程、一次コイルおよび、または鋳型を加熱する工程、を実施することを特徴とする生体内留置部材の製造方法。
【選択図】 図5

Description

本発明は、動脈瘤内で安定して着座可能な生体内留置部材およびその製造方法、並びに生体内留置部材を有する血管閉塞用具に関するものである。
人体には、様々な管状器官が存在し、外部からの手術では到達不可能な場合、あるいは、外部からの手術が複雑である場合などは、管状器官を通じて内部から患部に到達し、拡張具、閉塞具などを留置し、治療を行うという方法がとられてきた。例えば、血管にできた動脈瘤を治療するとき、カテーテルを血管内に通して動脈瘤に誘導し、そのカテーテルを通して金属コイル等を動脈流内に挿入し、動脈瘤内を金属コイル等で埋めて血栓を作らせ、血液の流入を防いで動脈瘤の破裂を防止する方法が採用されている。
血管閉塞用の金属コイルは、白金等の線材をコイル状に成形して一次コイルとし、この一次コイルを更にコイル状に成形して二次コイルとした、いわゆるダブルコイルからなるものが知られている。このコイルは、一次コイルを直線状に伸ばした状態でカテーテル内に挿入し、管状器官内に押し出された際に、二次コイル形状に復帰する。したがって、このコイルは、上記のように動脈瘤内を閉塞したり、あるいは大量の出血を防止するために血路を閉塞したりするのに用いられている。
例えば特許文献1には、導電性ワイヤと生体に接続する対極との間に外部から電力を供給し、生体内留置部材とデリバリー用ワイヤの間にある接続部材を分解・溶断し血管を閉塞するデバイスが開示されている。
このような血管閉塞用コイルを用いた最近の動脈瘤治療では、施術後の経時的な形状変化によって動脈瘤内に隙間が生じ、再開通が生じる事(コンパクション)を防止するために、留置操作時において適応部位のコイル占有率(動脈瘤容積に対するコイル占有率)を可及的に高めることが行われている。コイル占有率を高める方法としては、まず動脈瘤の内腔の直径とほぼ同等のサイズのコイルを留置し、続けて複数のコイルを動脈瘤の中心部に向かって留置する方法が挙げられる。
しかしながら、治療されるべき動脈瘤の形状は様々であり、球形のものや楕円球形のもの、二瘤状のものや瘤から別の血管が分岐しているものなどがある。中でも動脈瘤の直径に対して、母血管との境目すなわちネック開口部が広いワイドネック動脈瘤と呼ばれるタイプはコイルを留置する際、ネック開口部が広いため母血管にコイルが飛び出しやすくコイル占有率を高めることが困難である。
これに対し、特許文献2には可撓性材料からなるストランドを直交形状のマンドレルに巻き付けて成型することにより、3次元直交形の作用形態をとるコイルが開示されており、これにより解剖学的腔を満たす方法が開示されている。しかし、この場合は複雑な形状に巻き取る作業と、更にこれをほどく作業が必要となる為、製造が煩雑となるという問題がある。また、一次コイルの巻きはじめ部分をマンドレル上に固定し、その上に次々と一次コイルを巻き取るため、一次コイルを傷めやすいという問題がある。更に、この様にして製造されたコイルはコンパクションが改善されるものの、未だその程度は十分なものではなかった。
特表平8−501015号公報 特表2004−500929号公報
本発明は、従来の技術が有する上記課題に鑑みてなされたもので、動脈瘤内でより安定して着座することが可能な生体内留置部材および該生体内留置部材を有する血管閉塞用具を提供すること、更には、この様な生体内留置部材を簡便に作製することが可能な製造方法を提供することを目的とする。
本発明者は鋭意検討した結果、生体内留置部材の製造方法であって、
金属の線材を巻きまわし、一次コイルを形成する工程、
一次コイルを中空状の鋳型内に挿入する工程、
一次コイルおよび、または鋳型を加熱する工程、
を実施することを特徴とする、生体内留置部材の製造方法を提供した。これによれば、動脈瘤内でより安定して着座することが可能な生体内留置部材、血管閉塞用具を、簡便に作製することが可能となる。
また、中空状の鋳型の内部形状が、全体として三次元形状を有していることを特徴とする、前記生体内留置部材の製造方法を提供した。これによれば、特定方向に圧縮されにくくコンパクションが低減された生体内留置部材が得られる。
また、前記三次元形状が、ソリッド形状であることを特徴とする、前記生体内留置部材の製造方法を提供した。これによれば、中実である為に更にコンパクションが低減され、また、その後に挿入する第2、第3のコイルが絡み易く、これらが動脈瘤から飛び出すことを低減可能な、厳しい症例においても動脈瘤内で安定して着座することが容易となる生体内留置部材が得られる。
また、前記三次元形状が、折り曲げたチューブの内部ルーメンにより形成されていることを特徴とする前記生体内留置部材の製造方法を提供した。
また、金属の線材を巻きまわして形成される一次コイルと、
更に、付与された二次形状として、ソリッド状の三次元形状を有していることを特徴とする生体内留置部材を提供した。これによれば、該生体内留置部材が中実である為に更にコンパクションが低減され、また、その後に挿入する第2、第3のコイルが絡み易く、これらが動脈瘤から飛び出すことを低減可能であり、厳しい症例においても動脈瘤内で安定して着座することが容易となる。
また、前記生体内留置部材を有して形成されていることを特徴とする血管閉塞用具を提供した。
本発明の生体内留置部材の製造方法によれば、ワイドネック動脈瘤等の留置が困難な症例においても動脈瘤内により安定に着座させることが可能な生体内留置部材および該生体内留置部材を有する血管閉塞用具を、より簡便に効率よく製造することが可能となる。
また、本発明の生体内留置部材は、動脈瘤内でより安定に着座させることが可能で、特に、中実なソリッド状の三次元形状を有する形態としたときには、その後に挿入する第2、第3のコイルが絡み易く、これらが動脈瘤から飛び出すことを低減可能で、更にはコンパクションの発生を低減することが可能となる。
以下、本発明の実施形態について図面を参照して説明するが、本発明はこれに限定されるものではなく、発明の主旨を損なわない範囲で適宜変更して実施することが可能である。
(血管閉塞用具)
図1に本発明の血管閉塞用具の一例の概略図を示す。血管閉塞用具1は、通常、生体内留置部材2およびデリバリーワイヤー3を有して形成される。また、図2は、血管閉塞用具1を構成する生体内留置部材2について、二次形状を付与する前の状態(或いは二次形状を解いた状態)の一次コイル5の断面図を示したものである。
生体内留置部材2は、線材6を巻きまわしして形成した一次コイル5を備える。生体内留置部材2を形成する線材6の材質としては、例えばプラチナ(白金)、タングステン、金、タンタル、イリジウム、チタニウム、ステンレスおよびそれらから任意に選択された合金を用いることが可能であるが、特に、生体適合性の観点から白金合金、さらには、プラチナとタングステンからなる合金が好ましい。
また線材6の断面形状は、図2に示すような円形に限定されるものではなく、楕円形や四角形、三角形などの様々な形状も適用できるが、加工の容易さから円形が好適である。線材6の直径はφ0.030mmから、φ0.100mmが好適であり、さらに線材6を巻きまわして形成した一次コイル5の外径はφ0.250mmから、φ0.500mmが好適である。
また、一次コイル5は、図2に示すように基端4及び末端9を連通する内腔部7を有し、また必要によりその内腔部7に伸張防止用部材8を備えることもできる。伸張防止用部材8は、単線、拠り線何れでもよく、各種形状のものを用いることが可能であり、例えば、ワイヤー状を取り得る。
伸張防止用部材8を構成する材質としては、例えばプラチナ(白金)、タングステン、金、タンタル、イリジウム、チタニウム、ステンレスおよびそれらから任意に選択された合金およびポリエチレン、ポロプロピレンなどから選択されるポリマーなどを用いることができる。
伸張防止用部材8は、その一端が一次コイル5の一端と直接的又は間接的に接合され、その他端が一次コイル5の他端と直接的あるいは間接的に接合される。図2では、伸張防止用部材8が末端9側においてその丸く形成された頭部に固定され、一次コイル5に対し間接的に接合されている。一方、図2の基端4側において伸張防止用部材8は一次コイル5に対し固定されていないが、実際には後述の様に、一次コイル5の基端4にデリバリーワイヤー、或いはその末端に取り付けられた部材が固定されて固定部3aを形成する際などに、それらの間に挟み込んで固定するなど(必ずしも挟み込む必要はなく、一次コイル5に対し直接的あるいは間接的に接合されていればよい)、各種方法で固定される。
一次コイル5の末端側9は、生体を傷つけないように、溶接、ロウ付け等により丸く加工してあることが好適である。一方、その基端側4はコイルを送達するためのデリバリーワイヤー3の末端に種々の方法で装着される。装着方法については特に限定しないが、特表平5−500322号にはデリバリーワイヤーの先端部にステンレス鋼を介して接続される手段や、特許第2880070号には導電性ワイヤー先端部に熱可溶性のポリビニールアルコールからなる接続部材を用いた手段が開示されており、これらの方法を必要に応じ適宜採用することができる。
また、本発明の生体内留置部材は、一次コイル5に対し、二次形状が付与されていること、特に全体として三次元形状が付与されていることが好ましく、更に全体として略球形及び/又はソリッド状の三次元形状に形成されていることがより好ましい。ここで、「全体として」とは、二次形状を形成する一次コイル5の各部分は各種配置を取り得るが、その各部分が連続して集まって形成される外観形状自体に着目することを意味する。また、ここで「ソリッド形状」又は「ソリッド状」とは、前記一次コイルにより形成される生体内留置部材の外郭部に加え、その外郭部に囲まれた内部側にも種々の位置に一次コイルが配置された形状であることを意味し、本発明では、このような構造を中実な形状とも称する。このように、ソリッド形状を有する生体内留置部材は、外郭に加え、その内部にも広がりのある中実な形状を有したものである。また、「外郭」ないし「外郭部」とは、二次形状を付与した状態で、動脈瘤内壁と接触しうる部分を意味する。
更に、生体内留置部材は、その形状が記憶されていることが好ましい。これにより、生体内留置部材は、血管内に通して動脈瘤に誘導したカテーテル内を通す際には一次コイルが直線状に伸びた状態にあり、カテーテルから放出され動脈瘤内に挿入されると、直ちにもとの記憶された二次形状に復元し、動脈瘤内に安定して着座することができる。
また、生体内留置部材に記憶された形状が全体として三次元形状であることにより、特定方向に圧縮されにくくコンパクションを低減可能となる。特に、全体としてソリッド状の三次元形状が記憶されている場合には、中実である為に更にコンパクションが低減され、また、その後に挿入する第2、第3のコイルが絡み易く、これらが動脈瘤から飛び出すことを低減可能であり(特にワイドネック動脈瘤等で有効となる)、厳しい症例においても動脈瘤内で安定して着座することが容易となる。
(生体内留置部材の製造方法)
本発明の生体内留置部材の製造方法は、
金属の線材を巻きまわし、一次コイルを形成する工程、
一次コイルを中空状の鋳型内に挿入する工程、
一次コイルおよび、または鋳型を加熱する工程、
を実施することを特徴とするものである。
一次コイルを形成する工程では、適切なサイズの芯材の周りにプラチナ(白金)、タングステン、金、タンタル、イリジウム、チタニウム、ステンレスおよびそれらから任意に選択された合金線材を巻きつけ、その形状を保持させる方法を好適に使用できる。線材を巻きまわしてできた一次コイルの外径は、前述の通り、φ0.250mmから、φ0.500mmが好適である。また一次コイルが形成された後、一次コイルの内腔部に伸張防止用ワイヤーを配置してもよい。
本発明の生体内留置部材の製造方法では、特に一次コイルを中空状の鋳型内に挿入することを特徴としているが、これによれば、性能の上で特殊な二次形状を付与したい場合など、その特殊な形状に巻き取る等の複雑な作業を必要とせずに簡便に、また一次コイル上に次々巻き取る様な工程も必要ないため一次コイルを傷めにくく安定して生体内留置部材を製造することが可能となる。また、この製造方法によれば、中空状の鋳型の内部形状を全体として三次元形状とすることにより、簡便に二次形状として三次元形状を有する生体内留置部材を製造することが可能である。ここで、鋳型の内部形状について、「全体として」とは、上記の生体内留置部材についての「全体として」との意味に対応した意味、即ち、二次形状を形成する一次コイル各部分に対応する中空部分は各種配置を取り得るが、その中空部分が連続して集まって形成される形状に着目することを意味する場合と、鋳型の中空部分自体の形状に着目することを意味する場合とを含む概念である。
前記鋳型の内部形状の三次元形状としては、各種形状を選択することが可能であるが、様々な形状を有する動脈瘤に対し適用可能な生体内留置部材が得られる点で、全体として略球形の鋳型を使用して、全体として略球形の生体内留置部材を製造することが好ましい。ここで、鋳型の内部形状が全体として略球形である場合とは、生体内留置部材の二次形状を形成する一次コイル各部分に対応する中空部分は各種配置を取り得るが、その中空部分が連続して集まって形成される形状が略球形の内部形状を有する場合や、鋳型の中空部分自体の形状が略球形の空間部分である内部形状を有する場合などが挙げられる。具体的には、前者については図3および図5、後者については図4および図6に示される内部形状が例示できる。また、前者については、前記生体内留置部材の外郭部に対応する中空部分のみから構成され、前記外郭部に対応する部分の内部側には中空部分が配置されない構造であっても良い。
本発明において、中空状の鋳型の内部形状における三次元形状がソリッド形状ないしソリッド状であるとは、外郭に加え、外郭の内部にも広がりのある中実な形状を意味するが、その対象が鋳型の内部形状であることから、内部形状の中空部分が外郭から内部に亘って形成されていることを表す。即ち、中空状の鋳型の内部形状が、前述の生体内留置部材の形状に対応した構造を有していることを表したものであり、前記内部形状が、前記生体内留置部材の外郭部に対応する部分と、その外郭部に囲まれた内部に対応する部分を備えており、前記外郭部に対応する部分に加え、該外郭部に対応する部分の内部側にも種々の位置に連続した中空部分が配置された形状であることを意味したものである。また、このような内部形状の全体構造を中実な形状とも称する。
また、本発明の生体内留置部材の製造方法によれば、鋳型の内部形状が全体としてソリッド形状である鋳型を使用することで、従来のマンドレル上などに巻き取る方法とは異なり、三次元形状が特に全体としてソリッド形状である生体内留置部材を製造することが可能となる。
また、鋳型の内部に入れ子状のコアを配置することで、逆に外郭部分のみからなる三次元形状の生体内留置部材を簡便に製造することも可能である。この場合、鋳型の外型に所望の内部形状となるように溝を設けても良いし、前記コア側に前記溝を設けても、また両方に対応する溝を設けても良い。
本発明の生体内留置部材の製造方法で使用する鋳型、例えば、全体として三次元形状を有する内部形状、特に、全体として略球形、或いは全体としてソリッド形状である鋳型の内部形状は、各種方法で形成することが可能である。
第1の方法として、折り曲げたチューブの内部ルーメンにより形成することが可能である。その一例を図3に示す。図3の鋳型10は、一本の連通するチューブ13を折り曲げて形成され、かつチューブ13の一部により構成される外郭部分11と、外郭部分11の内側に配される内部部分12とを有して構成されている。特にチューブの折り曲げ構造は制限されないが、生体内留置部材を出し入れする際に結び目を生じにくい形状が好ましい。特に図3の例では、径が変化する螺旋状のループから構成される外郭部分11と、外郭部分11の内側に、外郭部分11の略中心部分12aにおいて交差するように複数のアレイ状のループを配置して構成される内部部分12とを、一本のチューブを順次折り曲げて作製したものとなっている。
尚、鋳型10を構成するチューブ13の材質は、金属および耐熱性ガラスを採用できるが、例えばステンレス、銅、アルミニウム、石英ガラスが望ましい。また、チューブ13の内径は、一次コイル5の外径より少し大きいサイズを選択する事になるが、次工程となる加熱する工程の間、チューブ13内部の一次コイル5が容易に移動しないことが必要であり、一次コイルの外径が前記の好適な範囲の場合には、好適にはφ0.300mm〜φ0.550mmである。そして、この場合、一次コイル5は、チューブ13の内壁面との摩擦力により固定されるため、特に一次コイル5と鋳型10とを固定するための手段が必要なく、鋳型10を除き、一次コイル5に固定部材や手などに接触することが無いため、最終的に得られる生体内留置部材2の損傷や汚染のリスクを低減できる。また、チューブ13は、一次コイル5を挿入するため、一端に開口部13aを有していることが必要であるが、次工程の加熱する工程を減圧下、不活性ガス雰囲気下又は還元性ガス雰囲気下で行う場合、鋳型内のガス置換を容易にするため、他端にも開口部13bを設けることが好ましい。また、球形部分の大きさは、作製するコイルに必要とされる大きさから選択すれば良いが、好適には直径2mmから、20mmである。
また、第2の方法として、フラスコ状に膨らませた鋳型を使用することも可能である。その一例を図4に示す。この場合、第1の方法に比べ、コイルの形状は一般にランダムに配置されることとなる。図4の鋳型は、チューブ15および17と、チューブ15、17と連通する内部が略球形状に形成された略球形状体16とから構成されている。チューブ15、17、および略球形状体16を構成する材質、略球形状体16の大きさ、チューブ15、17の内径は鋳型10と同様に形成することができる。特に、フラスコ状に膨らませた鋳型の略球形状体16は、血管閉塞用具が置かれ得るべき動脈瘤に類似のサイズであることが望ましい。好適には直径2mmから、20mmである。尚、第2の方法では、鋳型の内部に入れ子状のコアを配置することで、外郭からなる三次元形状の生体内留置部材を簡便に製造することも可能である。
また、第3の方法として、溶融、溶出等の方法で容易に除去可能な材料を用いて鋳型の内部形状の模型を作成し、これを鋳型とする材料に包埋した後、模型部分を除去して鋳型を形成することで、第1の方法と同様に毎回同一形状を付与可能な鋳型を形成することも可能である。
尚、一次コイル内腔部に伸張防止用部材を配置する場合、伸張防止用部材をコイルの熱処理後に設置すると、伸張防止用部材の剛性によりコイルの変形が起き易いため、一次コイルを中空状の鋳型内に挿入する時点で伸張防止用部材がその内部に配置され、コイルの熱処理と同時に伸張防止用部材の熱処理が行われ、コイルの形状に沿った形に形状記憶させることが好ましい。また、鋳型から一次コイルを取り出す工程で、コイルを傷めることを防止することも可能である。
図5、6は、それぞれ図3、4の鋳型の内部に、一次コイル5を挿入している最中(a)、挿入し終えた状態(b)を表す模式図である。尚、図示していないが、一般に細径のチューブに一次コイルを挿通することは困難であることから、特に第1の方法や第3の方法では(以下、第1の方法に当てはめて説明するが、第3の方法も同様である。)、予めチューブ13内に、開口部13aから13bに渡り細糸を通しておき、この細糸の一端に一次コイルを仮留めした後に、細糸の他端を引っ張ってチューブ13内に一次コイルを挿通する方法が好適に使用できる。
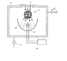
一次コイルおよび、または鋳型を加熱する工程では、各種方法で一次コイルおよび、または鋳型を加熱することが可能であるが、例えば図7に示すような、赤外線集光型の熱処理炉18を好適に用いることができる。これはハロゲンランプ等の光源19から発せられた光をミラー20により集光し対象物を加熱するもので、通常のオーブンは熱源からの輻射熱や対流熱により炉内温度を上昇させ、対象物およびそれらを固定したマンドレル等を加熱するため、熱容量の影響により昇温に時間が掛かるうえ、さらに、冷却の際にも熱容量が大きいため対象物が冷めにくく結果として製造に時間が掛かるといった問題があるが、赤外線集光型の熱処理炉では赤外線を集光させることで、対象物を集中的に加熱できるため、通常のオーブンに比べ加熱時間は短く、10分から30分で熱処理が完了し、オーブンを使用する場合に比べ大幅に製造時間を短縮することが可能である。
一方、加熱温度は、コイルを構成する材料により異なるが、400℃から、600℃の範囲が好適である。また、加熱の際には内部を真空ポンプ21で排気し、清浄なガス22を導入することで、不純物の少ない環境下で熱処理が行われることが好ましい。加熱時の酸化進行防止の観点から置換ガスは不活性なガスを用いることが望ましく、例えば、ヘリウム、ネオン、アルゴン、窒素、クリプトン、キセノンから選択されるのが好適である。また、加熱時の酸化進行防止と共に、既に酸化している部分を意図的に元の還元状態に戻す場合には、水素などの還元性ガスを用いることもできる。さらに加熱後は上記ガスを炉内に流すことで急速冷却を行い、短時間で熱処理を行うことも可能である。
また、各鋳型に例えば図3、4における13a、15a等の開口部が設けられている場合、炉内で加熱を行う間、鋳型の内部を真空および所望のガス雰囲気に置換することができる。これにより不純物の少ない環境下で熱処理が行われるため、非常にクリーンかつ安定的な処理が行える。
また、一次コイルおよび、または鋳型を加熱する工程の後に、鋳型からコイルが取り出され、コイル(生体内留置部材)が、鋳型により賦形された二次形状に自己復帰させられ、これにより、生体内留置部材を得ることができる。この様にして得られた生体内留置部材は、図3、或いは図4等に示す鋳型の内部形状に応じ、自身が全体として三次元形状、全体としてソリッド状の三次元形状等の各種形状を記憶しており、動脈瘤内により安定に着座させることが可能な血管閉塞用具として使用することが可能である。
(実施例1)
素線径φ0.045mmのプラチナ合金の線材を、芯金の周りに巻きまわし、外径φ0.250mmの一次コイルを作製した。この一次コイルは基端および末端が連通する内腔を有し、ほぼ直線状の構造であった。次に図2に示したように、該一次コイル内腔部に伸張防止用のワイヤーとして上記一次コイルと同材質のφ0.010mmのプラチナ合金ワイヤーを挿入し、先端部をレーザー溶接によりコイル(頭部)と固定した。
この様にして作製した一次コイルを、図4で示した略球形状体16(フラスコ状)を有する鋳型(石英ガラスチューブにて成型したもので、内部形状は略球形の中空部分により構成されたものである。)に挿入した。図6に示したように、チューブの開口端15aより一次コイルを徐々に押し入れ、略球形に成型した部分にセットした。このとき、略球形部分の直径は8mmとした。
一次コイルがセットされた上記チューブを加熱炉内に固定し、内部を排気ポンプにて減圧した。その後、雰囲気ガスとして窒素ガスを流入し、窒素ガス雰囲気下にて熱処理を行った。熱処理温度は、1分間で室温から500℃まで昇温、その後10分間500℃で保持した。冷却後、チューブを炉内から取り出し、さらに鋳型から一次コイルを引き出し、生体内留置部材を作成した。
(実施例2)
実施例1と同様に一次コイルを作製後、図3で示した折り曲げたチューブの内部ルーメンにより形成した、全体として略球形で、かつソリッド形状の内部形状を有する鋳型に前記一次コイルを挿入した。チューブは外径0.8mm、内径0.4mmの銅製チューブを使用した。チューブの開口端13aより一次コイルを徐々に押し入れ、略球形に成型した部分にセットした。このとき、略球形部分の直径は10mmとした。また、実施例1と同様の方法で熱処理、冷却後、鋳型から一次コイルを引き出し、生体内留置部材を作成した。
(評価)
上記実施例1および2にて作製した生体内留置部材を、透明なシリコーン製の動脈瘤モデルに挿入し、その留置状態を評価した。動脈瘤モデル内にマイクロカテーテルを挿入した後、上記方法によって作製した各生体内留置部材を、マイクロカテーテルを通して瘤内に配置した結果、カテーテル先端部より放出されると全体として略球形の形状(三次元形状で、なおかつソリッド形状であった)を維持し、動脈瘤内で安定していることを確認した。
血管閉塞用具の概略図である。 一次コイルの断面図である。 本発明において使用される鋳型の一実施例を示した図である。 本発明において使用される鋳型の他の実施例を示した図である。 図3に示す鋳型内に一次コイルを挿入する過程を示した図である。 図4に示す鋳型内に一次コイルを挿入する過程を示した図である。 熱処理炉の概略図である。
符号の説明
1 血管閉塞用具
2 生体内留置部材
3 デリバリーワイヤー
3a 先端部
4 基端側
5 一次コイル
6 線材
7 内腔部
8 伸張防止用ワイヤー
9 末端側
10 鋳型
11 外郭部分
12 内部部分
12a 略中心部分
13 チューブ
13a、13b 開口部
14 鋳型
15 チューブ
15a 開口部
16 略球状体
17 チューブ
17a 開口部
18 熱処理炉
19 光源
20 ミラー
21 真空ポンプ
22 ガス
23 ランプコントローラー

Claims (18)

  1. 生体内留置部材の製造方法であって、
    金属の線材を巻きまわし、一次コイルを形成する工程、
    一次コイルを中空状の鋳型内に挿入する工程、
    一次コイルおよび、または鋳型を加熱する工程、
    を実施することを特徴とする、生体内留置部材の製造方法。
  2. 中空状の鋳型の内部形状が、全体として三次元形状を有していることを特徴とする、請求項1に記載の生体内留置部材の製造方法。
  3. 前記三次元形状が、略球形であることを特徴とする、請求項2に記載の生体内留置部材の製造方法。
  4. 前記三次元形状が、ソリッド形状であることを特徴とする、請求項2又は3に記載の生体内留置部材の製造方法。
  5. 前記三次元形状が、折り曲げたチューブの内部ルーメンにより形成されていることを特徴とする、請求項2〜4の何れか1項に記載の生体内留置部材の製造方法。
  6. 一次コイルおよび、または鋳型を加熱する工程の後に、更に鋳型から一次コイルを取り出す工程を実施することを特徴とする、請求項1〜5の何れか1項に記載の生体内留置部材の製造方法。
  7. 一次コイルおよび、または鋳型を加熱する工程において、該一次コイル内部に伸張防止用部材が挿入されていることを特徴とする、請求項1〜6の何れか1項に記載の生体内留置部材の製造方法。
  8. 鋳型が、連通する2以上の開口部を有していることを特徴とする、請求項1〜7の何れか1項に記載の生体内留置部材の製造方法。
  9. 鋳型が金属又は耐熱性ガラスを用いて形成されていることを特徴とする、請求項1〜8の何れか1項に記載の生体内留置部材の製造方法。
  10. 前記耐熱性ガラスが石英ガラスであることを特徴とする、請求項9に記載の生体内留置部材の製造方法。
  11. 前記加熱が、赤外線集光型加熱炉による加熱であることを特徴とする、請求項1〜10の何れか1項に記載の生体内留置部材の製造方法。
  12. 前記加熱が、一次コイルを直接加熱するものであることを特徴とする、請求項1〜11の何れか1項に記載の生体内留置部材の製造方法。
  13. 前記加熱が、減圧下、不活性ガス雰囲気下又は還元性ガス雰囲気下で行われることを特徴とする、請求項1〜12の何れか1項に記載の生体内留置部材の製造方法。
  14. 前記不活性ガスがヘリウム、ネオン、アルゴン、窒素、クリプトン、キセノンから選択される1以上のガスであることを特徴とする、請求項13に記載の生体内留置部材の製造方法。
  15. 前記還元性ガスが水素であることを特徴とする、請求項13に記載の生体内留置部材の製造方法。
  16. 金属の線材を巻きまわして形成される一次コイルと、
    更に、付与された二次形状として、全体としてソリッド状の三次元形状を有していることを特徴とする生体内留置部材。
  17. 請求項1〜15の何れか1項に記載の生体内留置部材の製造方法で製造され、
    金属の線材を巻きまわして形成される一次コイルと、
    更に、付与された二次形状として、全体としてソリッド状の三次元形状を有していることを特徴とする生体内留置部材。
  18. 請求項16又は17の何れか1項に記載の生体内留置部材を有して形成されていることを特徴とする血管閉塞用具。

JP2008218595A 2008-08-27 2008-08-27 血管閉塞用具及びその製造方法 Active JP5374967B2 (ja)

Priority Applications (1)

Application Number Priority Date Filing Date Title
JP2008218595A JP5374967B2 (ja) 2008-08-27 2008-08-27 血管閉塞用具及びその製造方法

Applications Claiming Priority (1)

Application Number Priority Date Filing Date Title
JP2008218595A JP5374967B2 (ja) 2008-08-27 2008-08-27 血管閉塞用具及びその製造方法

Publications (2)

Publication Number Publication Date
JP2010051475A true JP2010051475A (ja) 2010-03-11
JP5374967B2 JP5374967B2 (ja) 2013-12-25

Family

ID=42068027

Family Applications (1)

Application Number Title Priority Date Filing Date
JP2008218595A Active JP5374967B2 (ja) 2008-08-27 2008-08-27 血管閉塞用具及びその製造方法

Country Status (1)

Country Link
JP (1) JP5374967B2 (ja)

Cited By (4)

* Cited by examiner, † Cited by third party
Publication number Priority date Publication date Assignee Title
JP2014030551A (ja) * 2012-08-02 2014-02-20 Kaneka Corp 生体内留置部材の製造方法およびそれに用いる賦形型
WO2015178282A1 (ja) * 2014-05-19 2015-11-26 株式会社カネカ 生体内留置部材およびその製造方法
JPWO2014002696A1 (ja) * 2012-06-29 2016-05-30 株式会社カネカ 生体内留置部材の製造方法
WO2021096781A1 (en) * 2019-11-11 2021-05-20 Stryker Corporation Embolic devices for occluding body lumens

Citations (7)

* Cited by examiner, † Cited by third party
Publication number Priority date Publication date Assignee Title
JPH08501015A (ja) * 1993-11-03 1996-02-06 ターゲット セラピュウティクス,インコーポレイテッド 血管内塞栓用具のための電気分解的分離可能な接合部
JPH09168541A (ja) * 1995-09-29 1997-06-30 Target Therapeutics Inc 解剖学的構造に形成された血管閉塞用具
JP2002507902A (ja) * 1997-06-20 2002-03-12 ターゲット セラピューティクス,インコーポレイテッド 伸長抵抗性血管閉塞コイル(▲ii▼)
JP2002523172A (ja) * 1998-08-27 2002-07-30 マイクルス コーポレイション 3次元低摩擦脈管閉塞用コイルおよびその製造方法
JP2004500929A (ja) * 2000-06-08 2004-01-15 マイクルス コーポレイション 3次元低摩擦コイル及びその製造方法
JP2005312724A (ja) * 2004-04-30 2005-11-10 Piolax Medical Device:Kk 血管閉塞具
JP2006247140A (ja) * 2005-03-10 2006-09-21 Homuzu Giken:Kk ステントの製造方法及びステント

Patent Citations (7)

* Cited by examiner, † Cited by third party
Publication number Priority date Publication date Assignee Title
JPH08501015A (ja) * 1993-11-03 1996-02-06 ターゲット セラピュウティクス,インコーポレイテッド 血管内塞栓用具のための電気分解的分離可能な接合部
JPH09168541A (ja) * 1995-09-29 1997-06-30 Target Therapeutics Inc 解剖学的構造に形成された血管閉塞用具
JP2002507902A (ja) * 1997-06-20 2002-03-12 ターゲット セラピューティクス,インコーポレイテッド 伸長抵抗性血管閉塞コイル(▲ii▼)
JP2002523172A (ja) * 1998-08-27 2002-07-30 マイクルス コーポレイション 3次元低摩擦脈管閉塞用コイルおよびその製造方法
JP2004500929A (ja) * 2000-06-08 2004-01-15 マイクルス コーポレイション 3次元低摩擦コイル及びその製造方法
JP2005312724A (ja) * 2004-04-30 2005-11-10 Piolax Medical Device:Kk 血管閉塞具
JP2006247140A (ja) * 2005-03-10 2006-09-21 Homuzu Giken:Kk ステントの製造方法及びステント

Cited By (7)

* Cited by examiner, † Cited by third party
Publication number Priority date Publication date Assignee Title
JPWO2014002696A1 (ja) * 2012-06-29 2016-05-30 株式会社カネカ 生体内留置部材の製造方法
JP2014030551A (ja) * 2012-08-02 2014-02-20 Kaneka Corp 生体内留置部材の製造方法およびそれに用いる賦形型
WO2015178282A1 (ja) * 2014-05-19 2015-11-26 株式会社カネカ 生体内留置部材およびその製造方法
JPWO2015178282A1 (ja) * 2014-05-19 2017-04-20 株式会社カネカ 生体内留置部材およびその製造方法
US10709453B2 (en) 2014-05-19 2020-07-14 Kaneka Corporation In vivo indwelling member and method for producing same
WO2021096781A1 (en) * 2019-11-11 2021-05-20 Stryker Corporation Embolic devices for occluding body lumens
US12178439B2 (en) 2019-11-11 2024-12-31 Stryker Corporation Embolic devices for occluding body lumens

Also Published As

Publication number Publication date
JP5374967B2 (ja) 2013-12-25

Similar Documents

Publication Publication Date Title
US6416541B2 (en) Intravascular flow modifier and reinforcement device
JP6740296B2 (ja) 拡張リングを備えた編組ステント及びその送達方法
US6612012B2 (en) Method of manufacturing small profile medical devices
AU2010314871B2 (en) Braid ball embolic device features
US20110208227A1 (en) Filamentary Devices For Treatment Of Vascular Defects
US20020173839A1 (en) Intravascular flow modifier and reinforcement device with connected segments
JP2014512872A (ja) 二段階配備動脈瘤塞栓用デバイス
JP7144404B2 (ja) 神経動脈瘤を塞栓閉塞するためのシステムおよび方法
CA2394581A1 (en) Occlusive coil manufacture and delivery
KR20100061506A (ko) 단부 클램프를 갖지 않는 편조 혈관계 장치
JP5374967B2 (ja) 血管閉塞用具及びその製造方法
US20180263630A1 (en) In vivo indwelling member, and in vivo indwelling member placement device provided with said in vivo indwelling member
JP6119749B2 (ja) 生体内留置部材の製造方法
JP4402583B2 (ja) 血管閉塞具
JPH06246004A (ja) カテーテル
GB2425485A (en) Shape memory stent producing non planar, swirling flow
CN216221549U (zh) 弹簧圈递送系统和弹簧圈递送装置
CN115500888A (zh) 弹簧圈递送系统和弹簧圈递送装置
JP5512238B2 (ja) 生体内留置部材の製造方法
JP5958158B2 (ja) 生体内留置部材の製造方法およびそれに用いる賦形型
CN119184776A (zh) 动脉瘤栓塞装置及其制备方法
WO2023014797A1 (en) Embolization device
CN118526331A (zh) 一种组合支架及其加工方法
CN120000276A (zh) 一种降低血管瘤外壁损伤风险的弹簧圈及其制备方法
WO2014058043A1 (ja) 生体内留置部材、ステント、塞栓部材、血管拡張キット及び動脈瘤塞栓キット

Legal Events

Date Code Title Description
A621 Written request for application examination

Free format text: JAPANESE INTERMEDIATE CODE: A621

Effective date: 20110621

A131 Notification of reasons for refusal

Free format text: JAPANESE INTERMEDIATE CODE: A131

Effective date: 20121211

A977 Report on retrieval

Free format text: JAPANESE INTERMEDIATE CODE: A971007

Effective date: 20121213

A521 Request for written amendment filed

Free format text: JAPANESE INTERMEDIATE CODE: A523

Effective date: 20130206

A131 Notification of reasons for refusal

Free format text: JAPANESE INTERMEDIATE CODE: A131

Effective date: 20130618

A521 Request for written amendment filed

Free format text: JAPANESE INTERMEDIATE CODE: A523

Effective date: 20130701

TRDD Decision of grant or rejection written
A01 Written decision to grant a patent or to grant a registration (utility model)

Free format text: JAPANESE INTERMEDIATE CODE: A01

Effective date: 20130827

A61 First payment of annual fees (during grant procedure)

Free format text: JAPANESE INTERMEDIATE CODE: A61

Effective date: 20130909

R150 Certificate of patent or registration of utility model

Ref document number: 5374967

Country of ref document: JP

Free format text: JAPANESE INTERMEDIATE CODE: R150

Free format text: JAPANESE INTERMEDIATE CODE: R150

R250 Receipt of annual fees

Free format text: JAPANESE INTERMEDIATE CODE: R250

R250 Receipt of annual fees

Free format text: JAPANESE INTERMEDIATE CODE: R250

R250 Receipt of annual fees

Free format text: JAPANESE INTERMEDIATE CODE: R250

R250 Receipt of annual fees

Free format text: JAPANESE INTERMEDIATE CODE: R250

R250 Receipt of annual fees

Free format text: JAPANESE INTERMEDIATE CODE: R250

R250 Receipt of annual fees

Free format text: JAPANESE INTERMEDIATE CODE: R250

R250 Receipt of annual fees

Free format text: JAPANESE INTERMEDIATE CODE: R250

R250 Receipt of annual fees

Free format text: JAPANESE INTERMEDIATE CODE: R250

R250 Receipt of annual fees

Free format text: JAPANESE INTERMEDIATE CODE: R250