JP2010050418A - 電子部品実装装置の制御方法 - Google Patents

電子部品実装装置の制御方法 Download PDF

Info

Publication number
JP2010050418A
JP2010050418A JP2008215870A JP2008215870A JP2010050418A JP 2010050418 A JP2010050418 A JP 2010050418A JP 2008215870 A JP2008215870 A JP 2008215870A JP 2008215870 A JP2008215870 A JP 2008215870A JP 2010050418 A JP2010050418 A JP 2010050418A
Authority
JP
Japan
Prior art keywords
mounting
electronic component
substrate
jig substrate
component
Prior art date
Legal status (The legal status is an assumption and is not a legal conclusion. Google has not performed a legal analysis and makes no representation as to the accuracy of the status listed.)
Granted
Application number
JP2008215870A
Other languages
English (en)
Other versions
JP5174583B2 (ja
Inventor
Morio Azuma
盛夫 東
Current Assignee (The listed assignees may be inaccurate. Google has not performed a legal analysis and makes no representation or warranty as to the accuracy of the list.)
Juki Corp
Original Assignee
Juki Corp
Priority date (The priority date is an assumption and is not a legal conclusion. Google has not performed a legal analysis and makes no representation as to the accuracy of the date listed.)
Filing date
Publication date
Application filed by Juki Corp filed Critical Juki Corp
Priority to JP2008215870A priority Critical patent/JP5174583B2/ja
Priority to CN200910171230.3A priority patent/CN101662926B/zh
Publication of JP2010050418A publication Critical patent/JP2010050418A/ja
Application granted granted Critical
Publication of JP5174583B2 publication Critical patent/JP5174583B2/ja
Active legal-status Critical Current
Anticipated expiration legal-status Critical

Links

Images

Landscapes

  • Supply And Installment Of Electrical Components (AREA)

Abstract

【課題】電子部品を基板に搭載する際の搭載ずれ測定の、測定時間の短縮、測定の自由度向上、測定精度の向上を図る。
【解決手段】部品を搭載する目標位置を示す基準マークのついた透明の冶具基板30を、ヘッドユニットのXY軸の移動可能な範囲に設置する。搭載ずれ測定を行う際に、部品20と冶具基板30の表面の基準マークを認識する実装位置認識カメラ71を、冶具基板30の下側に配置する。搭載ずれ測定を行う際に、部品下面を冶具基板上面に接触しない隙間がある高さで、且つ、その高さが上記カメラの被写界深度内に位置している高さへ移動後に、部品の位置を前記カメラで認識して、冶具基板に対する部品の位置や角度のずれ量を測定する。更に、部品下面を冶具基板上面に接触させた後に、部品の位置を前記カメラで認識して、冶具基板に対する部品の位置や角度のずれ量を測定する。
【選択図】図6

Description

本発明は、部品供給装置から吸着した電子部品を認識装置や基板へ移動可能な搭載ヘッドが、XY軸上に配置され、吸着した電子部品を基板に搭載する際の搭載ずれ測定を行う電子部品実装装置の制御方法に係り、特に、電子部品を基板に搭載する際の搭載ずれ測定の、測定時間の短縮、測定の自由度向上、測定精度の向上を図ることができる電子部品実装装置の制御方法に関する。
通常、電子部品実装装置1は、図1に示すように、左右方向に延在されている基板搬送路2により搬送され、位置決めされた基板5上に部品供給装置3に供給される電子部品を実装する搭載ヘッド14と、該搭載ヘッド14をX方向及びY方向にそれぞれ移動させるX軸移動機構15及びY軸移動機構16を備えている。
又、図2に示すように、このX軸移動機構15は、部品を吸着する吸着ノズル12を備えた搭載ヘッド14をX軸方向に移動させると共に、Y軸移動機構16は、X軸移動機構15と一体で搭載ヘッド14をY軸方向に移動させる。該搭載ヘッド14は、吸着ノズル12をZ軸方向に昇降可能に移動させるZ軸移動機構を備えていると共に、吸着ノズル12を、ノズル軸(吸着軸)を中心に回転させるθ軸回転機構を備えている。
又、搭載ヘッド12には、基板5上に形成された基板マークを撮像する基板認識カメラ43が、支持部材を介して取付けられている。更に、部品供給装置3の側部には、吸着ノズル12に吸着された部品を下方から撮像する部品認識カメラ18が配置されている。
近年、部品の極小化、接合端子の狭ピッチ化、実装基板の高密度化が進み、部品の実装基板への搭載精度の向上が求められている。一方、「タクト・アップ」(時間あたりの部品搭載点数の増大)が市場より求められている。
これに応じるべく、図3に示すように、ヘッドに搭載するノズルが増えて多ノズル化の傾向があり、更に、ヘッド自体もタクト・アップの目的で1マシンあたりのヘッドが増えて多ヘッド化の傾向がある。
図3に示す搭載ヘッド14においては、ヘッド部分27には5つの吸着ノズル12、ヘッド部分28には1つの吸着ノズル12が設けられている。ヘッド部分27には、5つの吸着ノズル12により同時吸着可能な5つの電子部品20それぞれの吸着位置を測定するためのマルチレーザラインセンサが備えられている。ヘッド部分28には、その吸着ノズル12に吸着中の電子部品20の吸着位置を測定するためのレーザラインセンサが備えられている。これらマルチレーザラインセンサ及びレーザラインセンサは、該当の吸着ノズル12に吸着されている電子部品20の、θ軸に直交する特定方向の断面長さを測定し、吸着ノズル2における吸着位置を測定する。
なお、搭載ヘッド14のヘッド部分27の図中左側に、又ヘッド部分28の右側には、それぞれ、CCD(Charge Coupled Device)カメラによる基板認識カメラ43が設けられている。これら基板認識カメラ43は、基板5の基準マークや、装着ヘッド部原点基準の原点マークを上方から撮像し、基板5の搬入位置や、搭載ヘッド14の原点位置を正確に把握し、設定するようになっている。
ここで、搭載精度の向上に関し、部品の搭載ずれ量の測定方法の一例として特許文献1に示されている方法がある。この方法は、電子部品実装装置における基板への電子部品搭載可能範囲全域に予め位置が測定された複数のマークが配置された冶具基板において、各マーク上に部品を搭載しその位置座標を測定し、測定結果から算出した部品座標のマーク座標との誤差量を各座標の補正値とし、その補正値に基づいて実装プログラムを修正して電子部品を実装する方法である。複数のマークが配置された上記の冶具基板は、特許文献1の図3に図示されている。
又、別の、部品の搭載ずれ量の測定方法の一例として、特許文献2に示されている方法がある。この方法は、部品をガラス基板に装着する場合にガラス基板の下に配置した認識用カメラでガラス基板を通して、搭載する部品とガラス基板の配線パターンを同時に認識して、部品の配線パターンに対するずれ量を測定し、ずれ量分部品の位置を補正してから部品を搭載する方法である。
特許3271244号公報(図3) 特許3088546号公報(図3)
しかしながら、特許文献1の方法での部品の搭載ずれ量の測定では以下の問題がある。
電子部品搭載可能範囲全域において、搭載精度を確保するために狭ピッチで、さらに全ヘッドで補正値を求めておく必要があるため、多数のマーク上で多数ノズルの補正値を求めるため測定回数が非常に多い。又、冶具基板側に搭載する際にダミー部品が動かないように両面テープやシリコンシートを冶具基板側に貼り付けて、その上にダミー部品を搭載する場合があるが、その場合はひとつのダミー部品での使い回しが出来なかったり(両面テープ)、確実にダミー部品をノズルで吸着するために測定後の吸着ノズルのZ軸上昇時間を低速にするため動作時間が大幅に延長される(シリコンシート)等の欠点がある(測定時間の長さの問題)。
冶具基板にダミー部品を搭載するために、真空吸着、両面テープ、シリコンシート等で搭載する場合は、冶具基板側に、真空穴や両面テープ、シリコンシートの貼付けが必要になる。真空穴を空ける場合は、測定箇所を変更するには、真空装置も同時に移動が必要になる。又、冶具基板の測定箇所には、予め真空穴を開けておかなければならない。別途真空発生装置も必要になる。両面テープに搭載する場合は、ダミー部品の取り外しが非常に困難となる。ここで、ダミー部品の確実な固定と、ダミー部品の剥がしやすさは相反する。シリコンシートに搭載する場合は搭載強度が不安定だったり、シリコンシートへのゴミの付着等に気をつける必要がある(測定の容易さの問題)。
真空吸着で冶具基板側へ搭載する場合、ノズルから基板側への真空受渡しがあるため、受渡し時のダミー部品の微妙なずれによる誤差が発生する。又、両面テープやシリコンシート上に搭載する場合は、貼り付き力が強力なため、ダミー部品のどこか一部が設置した時点でダミー部品の移動が制限され、実際の搭載精度とは誤差が発生する(測定精度の問題)。
冶具基板にダミー部品を押付ける場合は、破損防止のために、ノズルインナとスライダがZ軸方向に移動可能で、スプリングでスライダを下方向に押し出しているノズルを使用する必要がある。しかしながら、スライダが摺動可能なノズルは動作するために必要な遊びがあり、搭載動作時に誤差が発生する(測定精度の問題)。
次に、特許文献2の方法での部品の搭載ずれ量の測定では以下の問題がある。
まず、ガラス基板に搭載直前、即ち、搭載する部品下面とガラス基板上面との間に隙間がある状態の部品を、ガラス基板下側に配置したカメラにより、ガラス基板を透過して、ガラス基板の配線パターンと同時に認識する場合、部品認識し部品を搭載する配線パターンに位置合わせした後の部品搭載動作中、Z軸下降、部品吸着用真空停止、Z軸上昇により、配線パターンに対して部品がずれる場合がある。特に、部品の吸着搭載動作における部品に対する衝撃力や過荷重の付加を防ぐために一般的に使用する摺動ノズルでは、ノズル内での摺動を確保するために必ず必要な遊び分は、部品搭載動作中の部品のずれにつながる可能性が有る(測定精度の問題)。
本発明は、前記従来の問題点を解決するべくなされたもので、電子部品を基板に搭載する際の搭載ずれ測定の、測定時間の短縮、測定の自由度向上、測定精度の向上を図ることができる電子部品実装装置の制御方法を提供することを課題とする。
本発明は、部品供給装置から吸着した電子部品を認識装置や基板へ移動可能な搭載ヘッドが、XY軸上に配置され、吸着した電子部品を基板に搭載する際の搭載ずれ測定を行う電子部品実装装置の制御方法において、搭載ずれ測定を行う際に電子部品を搭載する目標位置を示す基準マークのついた透明の冶具基板を、搭載ヘッドのXY軸の移動可能な範囲に設置し、電子部品の位置や角度のずれ量を測定し、搭載ずれ測定を行う際に、該冶具基板に搭載された電子部品と前記基準マークを、前記冶具基板の下方から認識する実装位置認識カメラを、前記冶具基板の下側に配置し、搭載ずれ測定を行う際に、電子部品下面を前記冶具基板上面に接触しない隙間がある高さで、且つ、その高さが上記実装位置認識カメラの被写界深度内に位置している高さへ移動後に、電子部品の位置及び前記基準マークの位置を前記実装位置認識カメラで認識して、前記冶具基板に対する電子部品の位置や角度のずれ量を測定し、更に、電子部品下面を冶具基板上面に接触させた後に、電子部品の位置及び前記基準マークの位置を前記実装位置認識カメラで認識して、前記冶具基板に対する電子部品の位置や角度のずれ量を測定することにより、前記課題を解決したものである。
電子部品下面を前記冶具基板上面に接触しない状態、及び、接触した状態のそれぞれで、電子部品の位置や角度のずれ量を測定し、各ノズルの補正量を持たせ、搭載位置や搭載角度を、用いているノズルの該補正量に基づいて補正することができる。
又、電子部品下面を前記冶具基板上面に接触しない状態、及び、接触した状態のそれぞれで、電子部品の位置や角度のずれ量を測定し、該測定結果に従って使用出来るノズルを選別することができる。
本発明によれば、まず測定時間の短縮の面では、吸着ノズルの大気圧までの真空開放、冶具基板側の部品を保持できる真空圧までの真空到達、吸着ノズルのZ軸上昇、測定後のZ軸下降、吸着ノズルの部品を保持できる真空圧までの真空到達、冶具基板側の大気圧までの真空開放等の各種動作時間や待ち時間が必要なくなり、測定時間が大幅に短縮される。又、ダミー部品吸着後の冶具基板側への貼り付きを考慮しなくてよいので、高速でZ軸上昇が出来る。
次に、測定の自由度向上の面では、本発明は、冶具基板側にマークさえ印刷してあればよい。従って、従来のように、真空装置を設置し測定箇所に真空穴を設けたり、両面テープやシリコンシートにより保持させたりすることに比較して、認識カメラの移動だけで、測定場所を容易に変更することができる。又、両面テープに保持したダミー部品の取り外しが非常に困難になるという問題や、シリコンシートのような経時変化の問題や、これら両面テープやシリコンシートに付着するごみによる保持強度低下の問題もない。
続いて、受渡し時の誤差の低減による、測定精度の向上という面では、真空保持の場合に発生する吸着ノズル側から冶具基板側への真空保持の受渡し後にダミー部品の認識をするが、受渡し時のダミー部品のずれ誤差分は、受渡しがないことで認識精度が向上する。又、両面テープやシリコンシートで保持する場合は、貼り付き力が強力なため、ダミー部品のどこか一部が設置した時点でダミー部品の移動が制限され、実際の搭載精度とは誤差が生じる。実際の搭載時の部品張り付き力は両面テープやシリコンシートの張り付き力よりも弱いためダミー部品が設置しても移動が制限されない。
更には、ノズルのがたによる誤差の低減による、測定精度の向上という面では、冶具基板にダミー部品を押付ける場合は、破損防止のためにノズルインナとスライダがZ軸方向に移動可能で、スプリングでスライダを下方向に押し出しているノズルを使用する必要があるが、押付けないのであればスライダが固定されているノズルを使用することが可能になる。当然、スライダが摺動可能なノズルは動作するために必要な遊びがあり、厳密な搭載動作時にはこれが誤差になる。しかしながら、摺動しない固定ノズルであればこの遊びから発生する誤差がなくなりその分測定精度が向上する。又、摺動ノズルを使用する場合に、固定ノズルとの搭載位置ずれ量を補正することで、摺動ノズルを使用する場合においても遊びから発生する誤差分の搭載精度が向上する。
続いて、搭載動作中の基板に対する部品のずれ量の低減による、測定精度の向上という面では、冶具基板に押し付けた状態と、冶具基板に部品が接触しない冶具基板上面と部品下面との間に隙間がある状態との差をあらかじめ測定しておくことにより、部品搭載動作中の部品のずれ量を測定することが出来、その分の搭載ずれ量の補正が出来、その分の搭載精度が向上する。
以下、図を用いて本発明の実施の形態を詳細に説明する。
本実施形態でも、又特許文献1でも、電子部品搭載可能範囲全域に予め位置が測定された複数のマークが配置された冶具基板の各マーク上に部品を搭載し、予め測定されているマーク位置、カメラにて認識されるマーク位置、カメラにて認識される搭載した部品位置に従って、搭載ずれ測定を行う。具体的には、予め測定されているそのマークの位置における搭載ずれ補正値を、カメラにて認識されるマーク位置、及びカメラにて認識される搭載した部品位置の誤差量に基づいて、各XY座標における搭載ずれ補正値として求める。又、この搭載ずれ測定の測定結果から、その搭載ずれ補正値に基づいて実装プログラムを修正して電子部品を実装する。
但し、カメラによる冶具基板のマーク及び部品の認識を、特許文献1では、ヘッドに配置されたカメラにて冶具基板の上方から行っている。これに対して、本実施形態では、光学的に透明な冶具基板に、認識用のマークを施し、該マークが、冶具基板の上面(表面)及び下面(裏面)のいずれからも光学的に認識可能とし、該マーク及び部品を、冶具基板の下側に配置されたカメラにて認識するようにしている。
なお、本実施形態では、特許文献1と同様の搭載ずれ測定を、冶具基板の上方から行うこともできる。ここで、図4により、本実施形態における、特許文献1と同様の認識動作の説明と共に、本実施形態の要部構成について説明する。なお、本実施形態の電子部品実装装置も、前述の図1〜図3と同様の構成となっている。
図4は、本実施形態における冶具基板30及び搭載ヘッド14を含む要部構成を示す斜視図である。
搭載ヘッド14には、吸着ノズル12、基板認識カメラ43、そのレンズ42及び照明41が下向きに配置され、吸着ノズル12で電子部品20が吸着される。搭載ヘッド14の移動範囲内に、冶具基板30、及び、上向きの部品認識カメラ54、又、そのレンズ52及び照明50が配置されている。
ここで、搭載ずれ測定を行って、搭載ずれ補正値を取得するには、まず、搭載ヘッド14に配置された基板認識カメラ43により、冶具基板30に配置されたマーク60を認識し、認識結果から部品の搭載位置を計算する。又、電子部品20を吸着ノズル12で吸着し、部品認識カメラ54で該電子部品20を認識して、吸着ノズル12に対する電子部品20の吸着ずれ量を計算する。
更に、計算された部品の搭載位置と電子部品20の吸着ずれ量に基づいて、電子部品20を冶具基板30のマーク60上に搭載する。搭載した電子部品20を搭載ヘッド14に配置された基板認識カメラ43で認識し、認識結果から電子部品20の搭載ずれ量を計算する。上記を冶具基板30に配置された各マーク60上で実施し、各マーク60における搭載ずれ補正値を計算する。
実際に部品を基板5に実装する場合は、部品を実装するための実装プログラムにおける各部品の搭載位置から、その搭載位置に最も近い位置のマークにおける搭載ずれ補正値から、搭載位置を補正する方法や、搭載位置の周囲位置における搭載ずれ補正値による直線補間法等から搭載位置を補正する方法が用いられる。
次に、図5は、本実施形態における制御を行うための構成を示すブロック図である。
本実施形態では、まず、電子部品実装装置の本体の全体的な制御を行う制御装置100と、該制御に用いる種々の設定やデータを保存するための記憶装置102と備える。
又、これら制御装置100及び記憶装置102に対して、部品認識カメラ54、X軸移動機構15及びY軸移動機構16を含むXYロボット装置104、部品供給装置3、基板搬送装置108、本発明の搭載ずれ測定に係る実装位置認識カメラ71、該実装位置認識カメラ71が接続される、該搭載ずれ測定に関する諸処理を行う実装位置計算装置120が接続される。更に、上記のXYロボット装置104には、基板認識カメラ43、搭載ヘッド14に設けられる各ノズルに係る第1ノズル部111〜第6ノズル部116が備えられている。
制御装置100は、このように該制御装置100に接続される各部を、記憶装置102に保存されているプログラムにより制御する。
なお、実装位置認識カメラ71は、実装位置計算装置120に接続されているが、制御装置100に直接接続し、該制御装置100において、搭載ずれ測定に関する諸処理を行うようにしてもよい。
次に、図6は、本実施形態において本願発明を適用した搭載ずれ測定を行う実装位置認識カメラ71及び冶具基板30の横断面図である。
図4では、搭載ずれ測定を基板認識カメラ43によって行っていたが、本発明を適用した搭載ずれ測定では、レンズ70を備えた実装位置認識カメラ71により冶具基板30の下側から、冶具基板30のマーク、及び冶具基板30に搭載した電子部品20を認識し、搭載ずれ測定を行う。
冶具基板30の上面(表面)には、搭載ずれ測定を行う際に、部品を搭載する目標位置を示す基準マークとなる、マーク60が印刷されている。冶具基板30は、透明な素材、例えばガラスなどによるものである。従って、このマーク60は、冶具基板30の下側(裏面)から透過して、実装位置認識カメラ71により認識することができる。
まず、本実施形態では、図6に示すように、冶具基板30の上面の高さを、Z軸の原点(0)(Z=0mm)とする。又、この図6においては、吸着ノズル12に吸着されている電子部品20は、Z軸下降で図中の上方から下降し、冶具基板30の上方との隙間が0.1mmの位置で該下降が停止した状態である。電子部品20の厚みは1mmである。従って、吸着ノズル12の先端の位置は、この図では図示されるように、冶具基板30から1.1mm上方になる。
実装位置認識カメラ71は、Z軸方向の位置、又はレンズの繰り出し量を調整して、冶具基板30を透過して、該冶具基板30の上面のマークに焦点を合わせておく。その際、実装位置認識カメラ71の焦点の合うZ軸方向の範囲(実装位置認識カメラ71の被写界深度範囲)は、±1mmとする。
この図のように、冶具基板30の上方0.1mmの高さ位置にある際の、電子部品20の下面、又、更に電子部品20が下降して、該電子部品20が冶具基板30の上面に接する高さ位置にある際の該電子部品20の下面は、いずれも、実装位置認識カメラ71の被写界深度の範囲内になっている。
冶具基板30の上面の、高さのばらつきや水平度、実装位置認識カメラ71で認識する電子部品20の厚さのばらつき、吸着ノズル12の先端の移動高さのばらつき等を考慮し、本実施形態では図6に示すように、ガラス冶具基板上面と部品下面の隙間を0.1mm空けるとする。図6の場合では、この高さに停止すると、吸着ノズル12の先端の高さはZ=1.1mmになる。
この高さでは、種々のばらつきがあっても、実装位置認識カメラ71で認識する電子部品20の下面と、ガラス冶具基板上面との間には、適度な隙間を確実に設けることができる。実装位置認識カメラ71で部品を認識する場合は、被写界深度内であれば認識は出来るが、なるべく実装位置認識カメラ71の焦点と電子部品20下面は近い方が、認識精度は良くなる。
搭載ずれ測定の際には、まず、搭載ずれ測定の測定に用いる電子部品20を吸着ノズル12で吸着する。次いで、搭載ヘッド14が備える基板認識カメラ43により、冶具基板30上の該当のマーク60を認識し、認識結果から部品の搭載位置を計算する。又、部品認識カメラ54により、電子部品20の吸着ずれ量を求める。
そして、計算された電子部品20の搭載位置と、電子部品20の吸着ずれ量に基づいて、電子部品20を冶具基板30のマーク60上に搭載する。搭載した電子部品20を冶具基板の下に配置された実装位置認識カメラ71で認識し、認識結果から電子部品20の搭載ずれ量を計算する。
ここで、以上のような搭載ずれ測定は、冶具基板30に配置された各マーク60上で実施し、各マーク60における搭載ずれ補正値を計算する。実際に部品を実装する場合は、部品を実装するための実装プログラムにおける各部品の搭載位置から、その搭載位置に最も近い位置にあるマーク60における搭載ずれ補正値から搭載位置を補正することができる。あるいは、搭載位置における、周囲の複数のマーク60の搭載ずれ補正値に基づいて、例えばこれら複数のマーク60の搭載ずれ補正値の直線補間法等から搭載位置を補正するようにしてもよい。
ここで、以上のように、冶具基板30の下方から実装位置認識カメラ71により搭載ずれ測定を測定する場合、実際に電子部品20を冶具基板30上に搭載する必要がなく、搭載ずれ測定の自由度が拡大し、又タクト時間の短縮を図ることも可能となる。図6の例では、電子部品20は冶具基板30の上方0.1mmの位置となっている。これらは、搭載ヘッド14の基板認識カメラ43では(図4など)、吸着中の電子部品20を冶具基板30上に搭載しないと認識できないのと大きな違いである。
実装位置認識カメラ71により搭載ずれ測定を測定する場合、認識タイミングの自由度が増え、電子部品20を冶具基板30に搭載しなくても、電子部品20を冶具基板に押し付けた状態や、冶具基板30に電子部品20が接触しない、冶具基板30上面及び電子部品20下面の間に隙間がある状態でも、実装位置認識カメラ71の被写界深度範囲内に電子部品20の下面があれば、電子部品20を認識することが可能となる。
なお、本実施形態において、冶具基板30や、電子部品実装装置1におけるその固定方法について具体的に限定するものではない。冶具基板30は、ガラス製であってもよく、硬質のプラスチック製であってもよい。
冶具基板30の固定法については、例えば、図7の第1例の冶具基板30では、電子部品実装装置1の本体側の、上方から見て矩形窓枠状の冶具基板固定枠74に対して、冶具基板30を搭載し、クランプ爪73により上方から抑え込むようにして冶具基板30を固定している。
あるいは、図8の第2例の冶具基板30では、電子部品実装装置1の本体側の、実装位置認識カメラ71が取り付けられた取り付けベース部76に一体となる、上方から見て矩形窓枠状の冶具基板固定枠77に対して、冶具基板30を接着し、固定している。
この第2例の冶具基板30では、実装位置認識カメラ71に対して冶具基板30も一体となっており、これにより、これら実装位置認識カメラ71及び冶具基板30の相対位置関係は、厳密に保つことができる。従って、このような一体構成のものを、電子部品実装装置1における電子部品搭載可能範囲全域で移動させながら、該範囲全域に亘って搭載ずれ測定を行うことも可能である。
なお、図9は、本実施形態における搭載ずれ測定用のマーク60の形状を示す冶具基板30の下面図である。図10は、電子部品20の一例の形状を示す下面図である。又、図11は、本実施形態において、図8の冶具基板30の上面に、図9の電子部品20を搭載乃至接近させた場合の、実装位置認識カメラ71により撮影される画像例を示す平面図である。
図9及び図11に図示されるように、冶具基板30の上面には、その4隅において、ガラス冶具基板上面に●マーク(マーク60)が、又中央においてマーク60が印刷されている。次に、図10及び図11において、電子部品20はSOP(Small Outline Package)を例としている。
このような冶具基板30に関しては、ガラス下面にマークを印刷したガラス製のものでも良く、又、一般的にガラス製のものの方が認識のばらつきが少なく、認識精度が向上する。電子部品20下面とガラス製の冶具基板30上面との隙間を0.1mm空けた状態では、冶具基板30のマーク60と、電子部品20の下面は、いずれも実装位置認識カメラ71の被写界深度の範囲内にあり、図11に示すように、いずれも鮮明に実装位置認識カメラ71で認識される。
ここで、本実施形態において、冶具基板30や電子部品20の細部を具体的に限定するものではない。例えば、マーク60の形状や、対象となる電子部品20の形状について具体的に限定するものではない。
マーク60の形状は、点形状、矩形形状、円形状、図9のような十字形状などであってもよい。マーク60の形状が、図9のような十字形状であれば、点形状と比較し、ある程度の線分長さにより認識漏れがなく、又線分が細いのでXY各軸方向の位置が確定し易くなる。又、マーク60は、本実施形態では印刷して設けているが、彫刻によって設けるなど、他の形態のものであってもよい。
又、マーク60は電子部品20の搭載点上になくてもよい。搭載点の周囲に2つ以上のマーク60を配置し、そのマーク60の認識結果から電子部品20の搭載点を計算することにより、マーク60上に電子部品20を搭載することに限定するものではない。
又、電子部品20は、種々の形状のものであってもよい。又、実際の生産に用いる実際の部品であってもよいが、搭載ずれ測定専用に用意された、「ダミー部品」であってもよい。
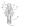
図12は、本実施形態において用いる摺動ノズルの伸長時の横断面図である。図13は、同摺動ノズルの縮小時の横断面図である。
これらの図に示す摺動ノズルは、本実施形態において吸着ノズル12として用いられるものである。摺動ノズルのノズルインナ64は、搭載ヘッド14において、前述のように、Z軸移動機構によりZ軸方向に昇降され、又θ軸回転機構によりノズル軸(吸着軸)を中心に回転されるノズルシャフトの下端に挿入固定される。
該ノズルインナ64の内部において、円筒状のスライダ61が摺動自在になっている。この摺動範囲は、ノズルインナ64と一体のピン62が、スライダ61に設けられた長穴開口部61bにかけられ、該長穴開口部61bの上下方向の長さの範囲となる。
前述のノズルシャフトから、ノズルインナ64、スライダ61を経て、該スライダ61の先端部61aまで中空連通構造となっており、ノズルシャフトからの真空圧により、先端部61aにおいて電子部品20を吸着する構造となっている。
又、ノズルインナ64及びスライダ61間にはスプリング63が設けられ、吸着の電子部品20の介在の有無を問わず、先端部61aが基板5や冶具基板30に押し付けられていないと、図12に示すように、摺動ノズルは伸長する。あるいは、押し付けられると、図13に示すように、その押圧力に応じて摺動ノズルは縮小する。又、このような伸縮により、摺動ノズルでは、基板5や冶具基板30に押し付けたときの応力が抑制され、電子部品20、摺動ノズル、又ノズルシャフトの損傷その他を防ぐことができる。
なお、このような伸縮構造を備えた摺動ノズルに対して、通常のものを固定ノズルと呼ぶものとする。
ここで、スライダ61及びノズルインナ64、又、スライダ61の長穴開口部61b、及びノズルインナ64と一体のピン62が、いずれも滑らかに摺動するためには、部品間に隙間が設けられる。しかしながら、このような隙間が、部品の搭載ずれに影響を与える。部品認識カメラ54で電子部品20を認識した後、電子部品20を基板5に搭載する際に、隙間分スライダが移動することにより電子部品20の搭載位置がずれるためである。又、部品の搭載精度の向上により、このような隙間分の搭載ずれは無視出来なくなってきている。
従って、搭載に高精度が求められる部品の搭載時には、このような隙間を無くすために、スライダ61及びノズルインナ64が一体となり固定されている固定ノズルを使用する。又、固定ノズルを使用するためには、吸着時と搭載時等に過大な荷重を吸着ノズル12が与えて電子部品20が破損しないように、吸着ノズル12が電子部品20に与えている荷重を検出し、該荷重を制御することが出来る荷重制御ヘッドを使用しなければならない。
ここで、図14は、本実施形態において搭載ヘッド14の荷重制御部66を中心とする横断面図である。
本実施形態において、固定ノズルを用いる場合にも、図13に示すように、搭載ヘッド14において荷重制御部66を備えることで、吸着ノズル12、あるいは吸着ノズル12に吸着の電子部品20を、基板5や冶具基板30に押し付けたときの応力が抑制され、電子部品20、摺動ノズル、又ノズルシャフトの損傷その他を防ぐことができる。
図14において、上下スライド部68は、吸着ノズル12をZ軸方向に昇降可能に移動させるZ軸移動機構であり、搭載ヘッド14本体側に取り付けられる。θ軸回転機構の回転モータ65により、吸着ノズル12先端が、ノズル軸を中心に回転させられる。
そして、荷重制御部66は、ロードセル等の測定器が配置され、吸着の電子部品20の介在の有無を問わず、吸着ノズル12先端や、その吸着中の電子部品20が基板5や冶具基板30に押し付けられる際の、その押圧力をロードセル等によって検出してこれに応じて、吸着時や搭載時に吸着ノズル12の高さや下降速度を制御するようになっている。該制御により、押し付けたときの応力が抑制され、電子部品20、摺動ノズル、又ノズルシャフトの損傷その他を防ぐことができる。
しかしながら、このような荷重制御を行うようにした搭載ヘッド14は、荷重測定機構や荷重制御機能を持つため、構造が複雑になり、高価になり重量が重くなるという欠点がある。
ここで、実装位置認識カメラ71を用いた搭載ずれ測定を行うことで、摺動ノズルでも、以下に説明するように、固定ノズルと同様の搭載精度を得ることができる。
実装位置認識カメラ71を用いる場合、実装位置認識カメラ71の被写界深度範囲内であれば、電子部品20が冶具基板30に接触せずに、電子部品20を認識し、搭載ずれ測定することができる。
この場合、吸着時に電子部品20下側に、クッション材等を配置する必要はなくなり、搭載ずれ測定の際には、電子部品20が冶具基板30に接触せずに、つまり摺動ノズルが伸長した状態で、搭載ずれ測定することができ、摺動ノズルの摺動のための隙間分の誤差がない正確な搭載ずれ補正値が取得できる。更に、電子部品20を冶具基板に押し付けた状態で、搭載ずれ測定を行い、搭載ずれ補正値を取得することができる。
このように、摺動ノズルを使用する場合も、冶具基板に押し付けた状態と冶具基板に電子部品20が接触しない冶具基板上面と部品下面との間に隙間がある状態との差を、予め測定しておくことにより、隙間分の誤差を抑制し摺動ノズルを使用することが出来る。
又、摺動ノズルで吸着の電子部品20を冶具基板30に押し付けた状態と、冶具基板30及び電子部品20が接触しない隙間がある状態との差のばらつきが安定していない場合や、差が大きすぎる場合は、その摺動ノズルの使用を差し控えるように判断することが出来る。
又、摺動ノズルで吸着の電子部品20を冶具基板30に押し付けた状態と、冶具基板30及び電子部品20が接触しない隙間がある状態との差をあらかじめ測定しておくことにより、部品搭載動作中の部品のずれ量を測定することが出来、その分の搭載ずれ量の補正が出来る。
図15は、本実施形態における搭載ずれ測定処理を示すフローチャートである。
この図に示される搭載ずれ測定処理は、前述の制御装置100を中心として行われる。
この図において、まず、ステップS122では、搭載ずれ測定の測定に用いる電子部品20を吸着ノズル12で吸着する。次いでステップS124では、搭載ヘッド14が備える基板認識カメラ43により、冶具基板30上の該当のマーク60を認識し、認識結果から部品の搭載位置を計算する。又、次のステップS126では、部品認識カメラ54により、電子部品20の吸着ずれ量を求める。
そして、計算された電子部品20の搭載位置と、電子部品20の吸着ずれ量に基づいて、ステップS128以降において、電子部品20を冶具基板30のマーク60上に搭載する。
まずステップS128では、搭載した電子部品20を前述の図6に示した高さ位置まで下降させ、冶具基板の下に配置された実装位置認識カメラ71で認識し、認識結果から電子部品20の搭載ずれ量を計算する(第1回目の搭載ずれ測定)。次に、ステップS130では、電子部品20を更に下降させ、電子部品20を冶具基板30の上面に接触させ、この状態において、冶具基板の下に配置された実装位置認識カメラ71で認識し、認識結果から電子部品20の搭載ずれ量を計算する(第2回目の搭載ずれ測定)。
ステップS132では、ステップS128の第1回目の搭載ずれ測定の測定結果、及びステップS130の第2回目の搭載ずれ測定の測定結果に基づいて、今回対象としたマーク60のXY軸位置における搭載ずれ補正値を求める。又、求められた該搭載ずれ補正値を、そのマーク60のXY軸位置と共に保存しておく。
なお、このような搭載ずれ補正値は、基板5に対して電子部品20を搭載可能な、電子部品実装装置1における電子部品搭載可能範囲全域に亘るように、求めておくことが好ましい。例えば、このような電子部品搭載可能範囲全域に散在する複数点それぞれにおいて、図15に示す搭載ずれ測定処理を行って搭載ずれ補正値を求め、保存しておくようにしてもよい。
又、図15のフローチャートでは、ステップS128の第1回目の搭載ずれ測定の測定結果、及びステップS130の第2回目の搭載ずれ測定の測定結果に基づいて、今回対象としたマーク60のXY軸位置における搭載ずれ補正値を求めているが、例えば、ステップS130の第2回目の搭載ずれ測定を省き、ステップS128の第1回目の搭載ずれ測定の測定結果のみに基づいて、搭載ずれ補正値を求めるようにしてもよい。あるいは、ステップS130の第2回目の搭載ずれ測定の際には、電子部品20の吸着を保持しておき、この後に電子部品20の吸着を解除して、第3回目の搭載ずれ測定を行って、第1回〜第3回の搭載ずれ測定の測定結果に基づいて、搭載ずれ補正値を求めるようにしてもよい。
更に、このような搭載ずれ補正値は、用いる吸着ノズル12や、吸着する電子部品20や電子部品20の種類などによって異なる場合がある。従って、例えば、このような搭載ずれ補正値を、用いる吸着ノズル12毎に求めて保存しておくようにしたり、電子部品20の種類や大きさ毎に求めて保存しておくようにしたりしてもよい。
ここで、以上のような搭載ずれ測定は、冶具基板30に配置された各マーク60上で実施し、各マーク60における搭載ずれ補正値を計算する。実際に部品を実装する場合は、部品を実装するための実装プログラムにおける各部品の搭載位置から、その搭載位置に最も近い位置にあるマーク60における搭載ずれ補正値から、搭載位置を補正することができる。あるいは、搭載位置における、周囲の複数のマーク60の搭載ずれ補正値に基づいて、例えばこれら複数のマーク60の搭載ずれ補正値の直線補間法等から搭載位置を補正するようにしてもよい。
なお、本実施形態において、図5では搭載位置認識カメラ71は搭載位置計算装置120と接続されているが、直接表面実装装置の制御装置100や記憶装置102に接続し、これらによって実装位置認識カメラ71を制御しても良い。
冶具基板30は、基板搬送装置に配置しても良い。
又、冶具基板30は、実装位置認識カメラ71と一体で構成しても良い。実装位置認識カメラ71と一体で構成することにより、吸着ノズル12に吸着した電子部品20を搭載する対象位範囲(部品搭載位置全体)をカバーする大きな冶具基板30が必要なくなり、又、1箇所の搭載位置を示すマークのみで十分になる。即ち、部品搭載位置全体をカバーするためには、このような冶具基板30及び実装位置認識カメラ71が一体構造のものを、部品搭載位置全体に移動することで、部品搭載位置全体のどの位置においても、搭載ずれ測定を行うことが出来る。
又、部品認識カメラ54上に搭載位置を示すマーク60を配置することにより、実装位置認識カメラ71は該部品認識カメラ54で代用することも出来る。但し、実装位置認識カメラ71は、基板認識カメラ43や部品認識カメラ54とは異なるものを用意したほうが、認識精度、コスト等の面から有利になる。
従来例、又本発明が適用された実施形態の電子部品実装装置を斜め上方より見た斜視図 上記電子部品実装装置のX軸移動機構及びY軸移動機構を示す平面図 前記電子部品実装装置における多ノズル化された搭載ヘッドを示す平面図 前記実施形態における冶具基板及び搭載ヘッドを含む要部構成を示す斜視図 前記実施形態における制御を行うための構成を示すブロック図 前記実施形態において本願発明を適用した搭載ずれ測定を行う実装位置認識カメラ及び冶具基板の横断面図 前記実施形態に用いる第1例の冶具基板を示す横断面図 前記実施形態に用いる第2例の冶具基板を示す横断面図 前記実施形態における搭載ずれ測定用のマークの形状を示す冶具基板30の下面図 前記実施形態における電子部品の一例の形状を示す下面図 前記実施形態において実装位置認識カメラにより撮影される搭載ずれ測定用のマーク及び電子部品を示す下面図 前記実施形態において用いる摺動ノズルの伸長時の横断面図 同摺動ノズルの縮小時の横断面図 前記実施形態において搭載ヘッドの荷重制御部を中心とする横断面図 前記実施形態における搭載ずれ測定処理を示すフローチャート
符号の説明
5…基板
12…吸着ノズル
14…搭載ヘッド
15…X軸移動機構
16…Y軸移動機構
20…電子部品
30…冶具基板
43…基板認識カメラ
54…部品認識カメラ
60…マーク
70…レンズ
71…実装位置認識カメラ

Claims (3)

  1. 部品供給装置から吸着した電子部品を認識装置や基板へ移動可能な搭載ヘッドが、XY軸上に配置され、吸着した電子部品を基板に搭載する際の搭載ずれ測定を行う電子部品実装装置の制御方法において、
    搭載ずれ測定を行う際に電子部品を搭載する目標位置を示す基準マークのついた透明の冶具基板を、搭載ヘッドのXY軸の移動可能な範囲に設置し、
    電子部品の位置や角度のずれ量を測定し、搭載ずれ測定を行う際に、該冶具基板に搭載された電子部品と前記基準マークを、前記冶具基板の下方から認識する実装位置認識カメラを、前記冶具基板の下側に配置し、
    搭載ずれ測定を行う際に、電子部品下面を前記冶具基板上面に接触しない隙間がある高さで、且つ、その高さが上記実装位置認識カメラの被写界深度内に位置している高さへ移動後に、電子部品の位置及び前記基準マークの位置を前記実装位置認識カメラで認識して、前記冶具基板に対する電子部品の位置や角度のずれ量を測定し、
    更に、電子部品下面を冶具基板上面に接触させた後に、電子部品の位置及び前記基準マークの位置を前記実装位置認識カメラで認識して、前記冶具基板に対する電子部品の位置や角度のずれ量を測定することを特徴とする電子部品実装装置の制御方法。
  2. 請求項1において、電子部品下面を前記冶具基板上面に接触しない状態、及び、接触した状態のそれぞれで、電子部品の位置や角度のずれ量を測定し、各ノズルの補正量を持たせ、搭載位置や搭載角度を、用いているノズルの該補正量に基づいて補正することを特徴とする電子部品実装装置の制御方法。
  3. 請求項1において、電子部品下面を前記冶具基板上面に接触しない状態、及び、接触した状態のそれぞれで、電子部品の位置や角度のずれ量を測定し、該測定結果に従って使用出来るノズルを選別することを特徴とする電子部品実装装置の制御方法。
JP2008215870A 2008-08-25 2008-08-25 電子部品実装装置の制御方法 Active JP5174583B2 (ja)

Priority Applications (2)

Application Number Priority Date Filing Date Title
JP2008215870A JP5174583B2 (ja) 2008-08-25 2008-08-25 電子部品実装装置の制御方法
CN200910171230.3A CN101662926B (zh) 2008-08-25 2009-08-25 电子部件安装装置的控制方法

Applications Claiming Priority (1)

Application Number Priority Date Filing Date Title
JP2008215870A JP5174583B2 (ja) 2008-08-25 2008-08-25 電子部品実装装置の制御方法

Publications (2)

Publication Number Publication Date
JP2010050418A true JP2010050418A (ja) 2010-03-04
JP5174583B2 JP5174583B2 (ja) 2013-04-03

Family

ID=41790573

Family Applications (1)

Application Number Title Priority Date Filing Date
JP2008215870A Active JP5174583B2 (ja) 2008-08-25 2008-08-25 電子部品実装装置の制御方法

Country Status (2)

Country Link
JP (1) JP5174583B2 (ja)
CN (1) CN101662926B (ja)

Cited By (4)

* Cited by examiner, † Cited by third party
Publication number Priority date Publication date Assignee Title
JP2013151043A (ja) * 2012-01-25 2013-08-08 Honda Motor Co Ltd 締付トルク管理システム
CN103987242A (zh) * 2013-02-07 2014-08-13 松下电器产业株式会社 电子部件组装系统和载体识别方法
JP2018014511A (ja) * 2017-09-05 2018-01-25 富士機械製造株式会社 電子部品実装装置、基板の製造方法
CN116677686A (zh) * 2023-07-31 2023-09-01 常州铭赛机器人科技股份有限公司 基于机器视觉的贴片机多次拍照的贴装方法

Families Citing this family (9)

* Cited by examiner, † Cited by third party
Publication number Priority date Publication date Assignee Title
JP5873320B2 (ja) * 2011-12-16 2016-03-01 ヤマハ発動機株式会社 部品実装装置
JP6051409B2 (ja) * 2013-09-24 2016-12-27 パナソニックIpマネジメント株式会社 部品実装装置
US9435685B2 (en) * 2014-10-03 2016-09-06 Hanwha Techwin Co., Ltd. Part holding head assembly for chip mounting device
EP3506728B1 (en) * 2016-08-24 2024-05-15 Fuji Corporation Mounting device
CN116718605B (zh) * 2017-07-11 2024-03-15 深圳宜美智科技股份有限公司 Pcb板的校正检测系统及相应的pcb板自动检测机
DE102019111580A1 (de) * 2018-05-28 2019-11-28 Besi Switzerland Ag Verfahren zur Kalibrierung einer Vorrichtung für die Montage von Bauelementen
CN110996644B (zh) * 2019-11-14 2020-10-16 深圳市旗众智能科技有限公司 贴片机多吸杆高度调节方法
WO2022130444A1 (ja) * 2020-12-14 2022-06-23 株式会社Fuji 部品実装機およびクランプ制御方法
CN115312442A (zh) * 2021-05-06 2022-11-08 台湾爱司帝科技股份有限公司 电子组件转移装置、电子组件转移方法、以及发光二极管面板的制造方法

Citations (3)

* Cited by examiner, † Cited by third party
Publication number Priority date Publication date Assignee Title
JPH05251893A (ja) * 1992-03-06 1993-09-28 Matsushita Electric Ind Co Ltd 電子部品装着方法
JP2004031868A (ja) * 2002-06-28 2004-01-29 Toray Eng Co Ltd 実装方法および実装装置
JP2005317806A (ja) * 2004-04-28 2005-11-10 Matsushita Electric Ind Co Ltd 装着精度測定方法

Family Cites Families (5)

* Cited by examiner, † Cited by third party
Publication number Priority date Publication date Assignee Title
JP2005101263A (ja) * 2003-09-25 2005-04-14 Juki Corp 電子部品実装装置
JP2005252118A (ja) * 2004-03-08 2005-09-15 Juki Corp 電子部品実装装置
JP2006041260A (ja) * 2004-07-28 2006-02-09 Juki Corp 電子部品搭載装置のノズル位置補正方法
JP2006313839A (ja) * 2005-05-09 2006-11-16 Juki Corp 部品実装装置
JP4616694B2 (ja) * 2005-05-09 2011-01-19 Juki株式会社 部品実装装置

Patent Citations (3)

* Cited by examiner, † Cited by third party
Publication number Priority date Publication date Assignee Title
JPH05251893A (ja) * 1992-03-06 1993-09-28 Matsushita Electric Ind Co Ltd 電子部品装着方法
JP2004031868A (ja) * 2002-06-28 2004-01-29 Toray Eng Co Ltd 実装方法および実装装置
JP2005317806A (ja) * 2004-04-28 2005-11-10 Matsushita Electric Ind Co Ltd 装着精度測定方法

Cited By (5)

* Cited by examiner, † Cited by third party
Publication number Priority date Publication date Assignee Title
JP2013151043A (ja) * 2012-01-25 2013-08-08 Honda Motor Co Ltd 締付トルク管理システム
CN103987242A (zh) * 2013-02-07 2014-08-13 松下电器产业株式会社 电子部件组装系统和载体识别方法
JP2018014511A (ja) * 2017-09-05 2018-01-25 富士機械製造株式会社 電子部品実装装置、基板の製造方法
CN116677686A (zh) * 2023-07-31 2023-09-01 常州铭赛机器人科技股份有限公司 基于机器视觉的贴片机多次拍照的贴装方法
CN116677686B (zh) * 2023-07-31 2023-10-20 常州铭赛机器人科技股份有限公司 基于机器视觉的贴片机多次拍照的贴装方法

Also Published As

Publication number Publication date
JP5174583B2 (ja) 2013-04-03
CN101662926A (zh) 2010-03-03
CN101662926B (zh) 2014-06-25

Similar Documents

Publication Publication Date Title
JP5174583B2 (ja) 電子部品実装装置の制御方法
JP5059518B2 (ja) 電子部品実装方法及び装置
US20090252400A1 (en) Method for mounting electronic component
JP6640214B2 (ja) 部品実装機の制御装置および制御方法
JP3744251B2 (ja) 電子部品実装方法
JP6355097B2 (ja) 実装システム、キャリブレーション方法及びプログラム
JP7112341B2 (ja) 実装装置および実装方法
JP5113406B2 (ja) 電子部品実装装置
CN105283063B (zh) 电子部件安装装置以及电子部件安装方法
CN119446996A (zh) 电子部件接合装置
US20090288292A1 (en) Surface mounting apparatus
JP6271514B2 (ja) 生産設備
US20190239400A1 (en) Component determination device and component determination method
JP2020061571A (ja) 部品実装機の制御装置および制御方法
KR101266714B1 (ko) 부품 장착 장치의 부품 실장 방법 및 부품 장착 장치
JPH07162200A (ja) 電子部品の装着方法及び装置
JP6580419B2 (ja) カメラ用の測定装置および測定方法
JP7524127B2 (ja) 部品実装装置
KR100696211B1 (ko) 본딩 장치
KR100672227B1 (ko) 본딩 장치
JP5113657B2 (ja) 表面実装方法及び装置
JP2009170586A (ja) 電子部品認識方法及び装置
KR102920422B1 (ko) 전자 부품 접합 장치
KR101146319B1 (ko) 본더의 반도체 칩 공급 방법
JP5041242B2 (ja) 電子部品装着装置

Legal Events

Date Code Title Description
A621 Written request for application examination

Free format text: JAPANESE INTERMEDIATE CODE: A621

Effective date: 20110823

A977 Report on retrieval

Free format text: JAPANESE INTERMEDIATE CODE: A971007

Effective date: 20120824

A131 Notification of reasons for refusal

Free format text: JAPANESE INTERMEDIATE CODE: A131

Effective date: 20120828

A521 Written amendment

Free format text: JAPANESE INTERMEDIATE CODE: A523

Effective date: 20121022

TRDD Decision of grant or rejection written
A01 Written decision to grant a patent or to grant a registration (utility model)

Free format text: JAPANESE INTERMEDIATE CODE: A01

Effective date: 20121211

A61 First payment of annual fees (during grant procedure)

Free format text: JAPANESE INTERMEDIATE CODE: A61

Effective date: 20121228

R150 Certificate of patent or registration of utility model

Ref document number: 5174583

Country of ref document: JP

Free format text: JAPANESE INTERMEDIATE CODE: R150