JP2010050300A - エキシマレーザ装置 - Google Patents

エキシマレーザ装置 Download PDF

Info

Publication number
JP2010050300A
JP2010050300A JP2008213530A JP2008213530A JP2010050300A JP 2010050300 A JP2010050300 A JP 2010050300A JP 2008213530 A JP2008213530 A JP 2008213530A JP 2008213530 A JP2008213530 A JP 2008213530A JP 2010050300 A JP2010050300 A JP 2010050300A
Authority
JP
Japan
Prior art keywords
laser
chamber
gas
air spring
laser chamber
Prior art date
Legal status (The legal status is an assumption and is not a legal conclusion. Google has not performed a legal analysis and makes no representation as to the accuracy of the status listed.)
Granted
Application number
JP2008213530A
Other languages
English (en)
Other versions
JP5429956B2 (ja
Inventor
Yoichi Sasaki
陽一 佐々木
Tsukasa Hori
司 堀
Current Assignee (The listed assignees may be inaccurate. Google has not performed a legal analysis and makes no representation or warranty as to the accuracy of the list.)
Gigaphoton Inc
Original Assignee
Gigaphoton Inc
Priority date (The priority date is an assumption and is not a legal conclusion. Google has not performed a legal analysis and makes no representation as to the accuracy of the date listed.)
Filing date
Publication date
Application filed by Gigaphoton Inc filed Critical Gigaphoton Inc
Priority to JP2008213530A priority Critical patent/JP5429956B2/ja
Publication of JP2010050300A publication Critical patent/JP2010050300A/ja
Application granted granted Critical
Publication of JP5429956B2 publication Critical patent/JP5429956B2/ja
Active legal-status Critical Current
Anticipated expiration legal-status Critical

Links

Images

Landscapes

  • Lasers (AREA)
  • Exposure Of Semiconductors, Excluding Electron Or Ion Beam Exposure (AREA)
  • Exposure And Positioning Against Photoresist Photosensitive Materials (AREA)

Abstract

【課題】 アライメントのずれを低減させると共に、簡単な構造で、低コストなエキシマレーザ装置を提供する。
【解決手段】 レーザチャンバ11と、レーザチャンバ11の一方の側とその反対側に設置された共振器2と、レーザチャンバ11内部に封入されたレーザガスと、レーザガスを励起する手段と、励起されたレーザガスから発生する光がレーザチャンバ11外部へ出射するためにレーザチャンバ11に設けられた2つの光学窓13と、レーザガスを循環させるクロスフローファン14と、レーザチャンバ11を支持する振動吸収手段40と、を備えたエキシマレーザ装置1において、振動吸収手段40は、気体を流入排出させて膨張収縮する空気バネ41と、空気バネ41の水平方向への膨張収縮を規制する容器42と、を有する。
【選択図】図1

Description

本発明は、エキシマレーザ装置に関し、特に、半導体露光装置用光源として用いられるエキシマレーザシステムで使用される振動吸収装置に関するものである。
図5は、従来の一般的なエキシマレーザシステム1及び共振器20を示す図である。
レーザチャンバ11はレーザチャンバ11内部にレーザガスを封入して使用するものである。ArFエキシマレーザの場合はAr、フッ素、NeあるいはHe、Xeを使用し、KrFエキシマレーザの場合はKr、フッ素、NeあるいはHeを使用する。
レーザチャンバ11は対向する2本の電極12を有しており、一方に電圧を印加し二つの電極12間に放電を発生させる。放電によって発生した光はウィンドウとしての光学窓13を通り抜けて共振器20間を往復しレーザ光となり部分反射ミラー21を透過して、出力エネルギーとして取り出される。
共振器20の一端では、部分反射ミラー21がホルダに収納されキャビティ22に取り付けられている。さらに、共振器20の他端では、ビームを拡大するプリズム24と波長を選択する回折格子25を収めた箱26がキャビティ22に取り付けられている。これらキャビティ22は第一の定盤31に取り付けられている。
また、レーザチャンバ11にローラーを使用している場合にはローラーによりレーザチャンバ11が動かないようにレーザチャンバ11をレールや第二の定盤32に固定して動作させる。
部分反射ミラー21、プリズム24及び回折格子25は所定の角度でビームが入射するようにあらかじめ調整されている。図6に部分反射ミラー21に直角に入射し、プリズム24にθ1、回折格子25にθ2で入射するよう調整した様子を示す。
レーザチャンバ11はさらにレーザガスを循環させるためのクロスフローファン14を有し、レーザチャンバ11に取り付けられたモータ15と連結している。モータ15によってクロスフローファン14は回転し、レーザガスをレーザチャンバ11内部で循環させる。
レーザガス循環の目的はレーザチャンバ11内に設置されたラジエタ(図示せず)と熱交換を行うことと、電極12間に常にフレッシュなレーザガスを供給することである。
このクロスフローファン14が回転することにより、振動が発生する。この振動はクロスフローファンのアンバランス量に起因している。
レーザチャンバ11は第二の定盤32に固定されており、第二の定盤32は振動吸収手段40を介して第一の定盤31に固定されている。
レーザチャンバ11で発生した振動は第二の定盤32、振動吸収手段40、第一の定盤31へと伝播する。ただし、振動吸収手段40がある場合には伝播する振動は小さくなる。
伝播した振動は第一の定盤31に取り付けられたキャビティ22を通して部分反射ミラー21やプリズム24、回折格子25を変位させる。その結果、各々の入射角度がずれ波長変動を引き起こす場合がある。
図6は、通常の場合の部分反射ミラー21、プリズム24及び回折格子25の関係を示す図、図7は、部分反射ミラー21、プリズム24及び回折格子25が変位した例を示す図である。
通常時、部分反射ミラー21、プリズム24及び回折格子25の関係は、図6に示したように所定の入射角で光が入るように調整されている。しかしながら、図7に示すように、振動等により部分反射ミラー21、プリズム24及び回折格子25がそれぞれ変位すると、それぞれの入射角が変化し波長が変化したり、スペクトル線幅が変化したり、出力エネルギーが変化したりしていた。
次に、近年主流になりつつあるMOPAやInjection Lock方式における振動の影響を説明する。図8は、図5に示したチャンバを2つ並べたシステムを示す図である。下のチャンバ11(以後オシレータチャンバと呼ぶ)及び共振器20でレーザ光の線幅を狭めて、図中の注入光軸のように数枚の折り返しミラー50を経由して上のチャンバ61(以後アンプチャンバと呼ぶ)に注入される。
アンプチャンバ61は注入されたレーザ光を基にレーザ光が立ち上がり、アンプリアミラー62とアンプフロントミラー63の間を共振し、アンプフロントミラー63から出射する。
このようなシステムにおいて個々のチャンバ11,61の共振器20を構成するミラー21、プリズム24及び回折格子25がレーザチャンバ11,61の振動の影響を受けることは言うまでもない。これらに加えて、折り返しミラー50に与えられる悪影響もある。注入光軸は、このようなシステムにとっては非常に重要であり、注入光軸の位置、角度がずれるとほとんど全ての光品位が劣化する。
従って、振動を折り返しミラー50に伝えないことは、このようなシステムでは非常に重要なことである。
近年、半導体露光装置用光源としては、このようなKrF、ArFエキシマレーザシス
テムが主流になっている。そして、露光装置用光源に求められる性能は以下(1)〜(3)に示すようなものである。
(1)高ドーズ安定性の確保とスループット向上のために20W以上の出力が要求されている(KrFでは概ね40W以上、ArFでは概ね60W以上)。
(2)投影レンズの高解像度化のために投影レンズの高NA化が進められている。これに伴い色収差が問題となり、狭帯域化が要求されている。
(3)安定した露光を実現するために、波長、出力エネルギーの高安定化が要求されている。
高出力化と狭帯域化を実現するために、近年ではMOPA方式(MasterOscillator Power Amplifier)やInjection Lock方式(注入同期)を採用した露光装置用光源が主流になりつ
つある。
MOPA方式やInjection Lock方式ではレーザチャンバを2つ以上使用し、一つは発振段として使用し、発振段で出てきたレーザ光を増幅段に所定のタイミングで注入する。発振段で狭帯域化を実現し、増幅段で高出力化を実現している。
レーザチャンバを一つだけ使用する従来のレーザシステムと比較するとMOPA方式やInjection Lock方式ではレーザ光軸のアライメントが非常に重要である。発振段から増幅段
へどのようにレーザ光を注入するかは特に重要であり、注入の仕方によってほとんど全ての光性能が変化すると言える。このため、光軸のズレは注入の仕方を変化させ、光性能を劣化させる。
発振波長、出力エネルギーの安定化のためには振動を低減することが有効である。エキシマレーザシステム内部に発生した振動は予め調整された部分反射ミラー、プリズム、回折格子、スリットを振動させる。この振動によりレーザ光軸にずれが生じて発振波長の変動あるいは出力エネルギーの変動を引き起こす。
発振波長の変動は、レーザ光軸のずれにより回折格子に入射する角度が変動することで起こる。出力エネルギーの変動は、発振波長の変動の理由に加えて通過するゲイン領域がわずかにずれることから生じると推測している。
このようにエキシマレーザシステム内の振動は、波長や出力エネルギーの安定性に大きな影響を及ぼすため、主に2つの対策をとることで波長や出力エネルギーの安定性を向上させてきた。
一つは振動自身を小さくする方法である。エキシマレーザシステム内で発生し、波長や出力エネルギーの安定性に悪影響を及ぼす振動はレーザチャンバで発生したものである。
エキシマレーザはレーザガスを封入するレーザチャンバを有する。レーザチャンバ内には対向した2本の電極、レーザガスを循環させるためのクロスフローファン、循環したガスの熱交換を行うためのラジエタ等が設置されている。クロスフローファンはチャンバに取り付けられたモータによって回転する。
クロスフローファンは回転体であり、クロスフローファンの中心軸上に重心が存在するのが理想であり、そのように調整される。しかし、重心位置を完全にクロスフローファン中心軸上に調整するのは不可能であり、わずかなアンバランス量が生じる。このアンバランス量によりレーザチャンバが振動し、レーザ筐体内に伝播する。
よって、アンバランス量を極力小さくすることで振動を小さくすることが対策になり得る。しかし実際にはアンバランス量を完全になくすことは極めて困難である。さらに近年は露光用光源には高繰り返し化が求められるにつれ、クロスフローファンの回転数は上昇している。すなわち、アンバランス量を減らしたとしても、その効果を上回る回転数でクロスフローファンが回転するため、全体としての効果は小さい。
二つ目の対策は防振・除振をすることである。この対策に関しては、以下のような技術が開示されている。
まず、起振源であるチャンバと光性能を決める光学素子を保持するホルダの間に振動減衰部材を配置することで、ホルダに伝わる振動を小さくすることを狙って、レーザチャンバと光学素子ホルダの間に振動減衰部材を配置した技術がある(特許文献1)。
また、振動吸収手段として特に空気バネを上げ、さらに位置検出手段も加え、レーザ発
振のための光学系を固定した第1の定盤と、レーザチャンバを固定した第2の定盤の間に振動吸収手段を配置した技術がある(特許文献2)。
特開2003−218432号公報 特開平3−274780号公報
しかしながら、特許文献1に記載されたものは、振動減衰部材の耐久性に問題がある。振動減衰部材は、使用している間に経時変化が起きる。防振ゴムの場合の経時変化は、ヘタリとしてよく知られている。沈み込みが発生したり、硬化が起こるため、所定のレーザ性能が得られなくなる。
また、特許文献2に記載されたものは、振動減衰部材を空気バネにしたことが大きな特長である。空気バネは空気圧を加えることで常に反力を加えられているため、経時変化が起こることはない。
しかしながら、特許文献2に記載されたものには以下のような課題がある。
まず第1に、空気バネが様々な方向に変形できるので、アライメントがずれやすい。例えば、空気バネで加振源であるレーザチャンバからキャビティに伝わる振動を絶縁した場合を考える。キャビティには、波長を選択する回折格子、ビームを拡大するプリズム、部分反射ミラーが取り付けられている。そして、空気バネはあらゆる方向に動くことが可能で、荷重が加わる鉛直方向、水平方向に変位・変形することができる。
近年、露光に使用される光の波長が短くなるに従い、レーザ内の光路を窒素でパージする必要がある。従って、図9に示すように、レーザチャンバ11とキャビティ22を例えばダクト70のようなもので連結しなければならない。
このように構成されたシステムにおいて、空気バネが自由に動くことができるならば、レーザチャンバ11とキャビティ22を連結するダクト70を通じて、レーザチャンバ11からキャビティ22に力が加わってしまう。キャビティ22はその力でたわみ、アライメントは、ずれてしまう。
近年では光源の高出力の要求に伴いMOPAシステムやI/Lシステムを採用することも多い
が、いずれもアライメントずれに対しては非常に敏感であり、この点を克服する必要がある。
第2に、空気バネに空気圧をかけるとバネとして作用する。反対に空気圧が抜けてしまうと、バネとしては作用せず、チャンバは沈み込んでしまう場合があった。
例えば、レーザシステムに空気バネを採用した場合、停電等が起こると空気圧が抜け、チャンバが沈み込んでしまう。この時、ダクトを通じてキャビティに力が加わってしまい、アライメントがずれてしまう。
第3に、空気バネを動作させるために圧縮機が必要であった。空気バネは空気圧をかけて初めて所定の除振効果を発揮する。そして、空気圧を上げるためには圧縮機が必要であった。したがって、圧縮機を設置するためのコストが必要になると共に、圧縮機の振動も考慮する必要があった。
本発明は従来技術のこのような問題点に鑑みてなされたものであり、その目的は、アライメントのずれを低減させると共に、簡単な構造で、低コストなエキシマレーザ装置を提供することである。
そのために、本発明は、レーザチャンバと、前記レーザチャンバの一方の側とその反対側に設置された共振器と、前記レーザチャンバ内部に封入されたレーザガスと、前記レーザガスを励起する手段と、励起された前記レーザガスから発生する光が前記レーザチャンバ外部へ出射するために前記レーザチャンバに設けられた2つのウィンドウと、前記レーザガスを循環させるクロスフローファンと、前記レーザチャンバを支持する振動吸収手段と、を備えたエキシマレーザ装置において、前記振動吸収手段は、気体を流入排出させて膨張収縮する空気バネと、前記空気バネの水平方向への膨張収縮を規制する容器と、を有することを特徴とする。
また、前記振動吸収手段は、一端を前記空気バネに取り付けられ、他端を前記チャンバ側に取り付けられた連結部材を有し、前記容器は、前記連結部材を挿通する開口を有することを特徴とする。
また、前記レーザガスあるいは光路をパージするためのパージガスを前記空気バネに流入排出させることを特徴とする。
また、前記振動吸収手段は、前記空気バネの両端を連結固定する着脱可能な剛体を有することを特徴とする。
また、前記レーザチャンバを複数有することを特徴とする。
本発明のエキシマレーザ装置は、アライメントのずれを低減させると共に、簡単な構造で、コストを低く抑えることができる。
以下、本発明に係る実施形態のエキシマレーザ装置について説明する。
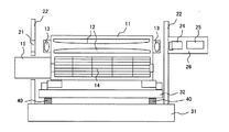
図1は、本発明に係るエキシマレーザシステム1及び共振器20を示す図である。
レーザチャンバ11はレーザチャンバ11内部にレーザガスを封入して使用するものである。ArFエキシマレーザの場合はAr、フッ素、NeあるいはHe、Xeを使用し、KrFエキシマレーザの場合はKr、フッ素、NeあるいはHeを使用する。
レーザチャンバ11は対向する2本の電極12を有しており、一方に電圧を印加し二つの電極12間に放電を発生させる。放電によって発生した光は光学窓13を通り抜けて共振器20間を往復しレーザ光となり部分反射ミラー21を透過して、出力エネルギーとして取り出される。
共振器20の一端では、部分反射ミラー21がホルダ22に収納されキャビティ22に取り付けられている。さらに、共振器20の他端では、ビームを拡大するプリズム24と波長を選択する回折格子25を収めた箱26がキャビティ22に取り付けられている。これらキャビティ22は第一の定盤31に取り付けられている。
また、レーザチャンバ11には移動を容易にするためのローラー33が設けられている
。このローラー33によりレーザチャンバ11が動いてしまわないようにレーザチャンバ11をレール34に固定して動作させる。
部分反射ミラー21、プリズム24及び回折格子25は所定の角度でビームが入射するようにあらかじめ調整されている。
レーザチャンバ11はさらにレーザガスを循環させるためのクロスフローファン14を有し、レーザチャンバ11に取り付けられたモータ15と連結している。モータ15によってクロスフローファン14は回転し、レーザガスをレーザチャンバ11内部で循環させる。
レーザガス循環の目的はレーザチャンバ11内に設置されたラジエタ(図示せず)と熱交換を行うことと、電極12間に常にフレッシュなレーザガスを供給することである。
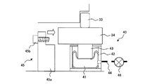
図2は、振動吸収手段40を示す図である。図2に示すように、本実施形態の振動吸収手段40は、空気バネ41を容器としてのシリンダ42の中に入れている。空気バネ41は、気体を流入排出させて膨張収縮し、シリンダ42に当接することにより水平方向への膨張を所定の位置までに規制されている。空気バネ41には、連結部材としてのシャフト43の一端が取り付けられている。シャフト43の他端は、レール34を介してレーザチャンバ11側に取り付けられている。シャフト43は、空気バネ41の膨張収縮により、シリンダ42の上方のシリンダ開口42a内を上下動可能に移動することが可能である。
また、本実施形態では、空気バネ41を膨張収縮させるガスとして、光路をバージするためのパージガスN2を使用する。レーザシステム1内には、光路をパージするためのパージラインとしてのN2ライン44がある。N2ライン44はレーザシステム1内で適当に減圧してからパージに使用されるが、減圧する前の高圧力N2を空気バネ41の駆動圧にすることで圧縮機を必要とせず、低コスト化を実現することができる。
空気バネ41の駆動圧は、図示しない制御手段等で、制御される。入力としては、図1に示される加速度センサ、速度センサ又は変位センサ等からなる位置検出装置47を用いるのが好ましい。
空気バネ41が様々な方向にずれることは、アライメントずれの要因になり、特に水平方向の変位・変形がレーザ性能に重大な影響を及ぼす。何故ならば、水平方向は波長の分散方向であり、この方向のアライメントがずれると、波長変動の悪化、線幅の悪化等を引き起こすものと推測している。本実施形態では、空気バネ41をシリンダ42に入れて使用することで、水平方向の変位・変形を小さくすることができる。
アライメントずれは、レーザシステム1の輸送時にも起こりうる。レーザシステム1の輸送時には、大きな衝撃が加えられる可能性がある。その衝撃によりレーザチャンバ11が変位・変形しアライメントがずれる。出荷先では再びアライメント調整が必要になり立ち上げに要する時間が拡大されてしまう。
レーザシステム1の輸送時の変位・変形は大きな衝撃に起因しているため、上記のような構造だけでは十分ではない。その対策として図2に例示したような輸送時用の輸送用ジグ45を作成し、空気バネが変位・変形しないようにした。
輸送用ジグ45は載置部45aのような平らな箇所でレール34より上のレーザチャンバ11及びローラー33等の荷重を支え、輸送用ジグ45の上部でレール34と第1ネジ45bで固定し、下部で定盤あるいはフレーム31と第2ネジ45cで固定する。輸送用
ジグ45は金属などで製作し少なくともレーザチャンバ11等の荷重を支持できる構造にする。
図3にレーザチャンバ11に輸送用ジグ45を取り付けた時の図を示す。このように輸送用ジグ45を取り付けることにより、レーザチャンバ11などの荷重は空気バネ41にはかからなくなり、レーザチャンバ11の変位を防止することができる。
このような輸送用ジグ45はレーザが動作している間は使用しない。輸送時など大きな衝撃が予想される場合にのみ図3のように輸送用ジグ45を取り付ける。また、輸送が終わり次第、この輸送用ジグ45は取り外す。もしも、レーザチャンバ11の動作時にこの輸送用ジグ45が取り付いていると、防振効果は全く得られず波長変動、エネルギー安定性が悪化してしまう。
空気バネ41は気体の圧力を駆動力としている。そのため圧力の供給がとまってしまうと空気バネ41は縮小する。本実施形態のレーザシステム1の場合には空気バネ41の上にはレーザチャンバ11などが搭載されている。
このような状況で圧力の供給が止まると、アライメントのずれが発生してしまう。空気バネ41の縮小量が大きい場合には、破壊の可能性すら考えられる。
図4は、パージガスN2の供給が止まる前後のレーザチャンバ11の位置の様子を模式的に示した図である。
本発明では、空気の供給が止まった時に、レーザチャンバ11が沈み込みそれにつられて周りの構造物がゆがみ結果としてアライメントがずれてしまうことを避けるために、空気圧が供給されているときといないときのレーザチャンバ11の位置の差が1mmから2mm程度と小さくなるように設計を行なった。数mmの差を残したのはレーザチャンバ11を乗せるレール34が構成する平面の平行度を出すためである。
この問題を解決する別の方法としては、空気バネ41につながるN2ライン44のどこかに自動閉止バルブ46を取り付け、停電等が起こった場合には自動的に自動閉止バルブ46が閉じるようにする。さらに、空気バネ41からの駆動用ガスのリークをなくせば、レーザチャンバ11の沈み込みは避けられる。
また、図8に示すようなレーザチャンバ11を複数有するように構成してもよい。レーザチャンバ11を複数有するエキシマレーザ装置1のような高出力且つ狭帯域化に対応した装置に対しても、アライメントのずれを低減させると共に、簡単な構造で、コストを低く抑えることができる。
このように、本実施形態のエキシマレーザ装置1は、レーザチャンバ11と、レーザチャンバ11の一方の側とその反対側に設置された共振器2と、レーザチャンバ11内部に封入されたレーザガスと、レーザガスを励起する手段と、励起されたレーザガスから発生する光がレーザチャンバ11外部へ出射するためにレーザチャンバ11に設けられた2つの光学窓13と、レーザガスを循環させるクロスフローファン14と、レーザチャンバ11を支持する振動吸収手段40と、を備えたエキシマレーザ装置1において、振動吸収手段40は、気体を流入排出させて膨張収縮する空気バネ41と、空気バネ41の水平方向への膨張収縮を規制するシリンダ42と、を有するので、アライメントのずれを低減させると共に、簡単な構造で、コストを低く抑えることができる。
また、振動吸収手段40は、一端を空気バネ41に取り付けられ、他端をレーザチャン
バ11側に取り付けられたシャフト43を有し、シリンダ42は、シャフト43を挿通する開口42aを有するので、さらに簡単な構成で、アライメントのずれを低減させると共に、コストを低く抑えることができる。
また、レーザガスや光路をパージするためのパージガスを空気バネ41に流入排出させるパージライン44を有するので、さらに簡単な構成で、コストを低く抑えることができる。
また、レーザチャンバ11を複数有するので、高出力且つ狭帯域化に対応した装置に対しても、アライメントのずれを低減させると共に、簡単な構造で、コストを低く抑えることができる。
本発明に係るエキシマレーザシステム及び共振器を示す図である。 振動吸収手段を示す図である。 レーザチャンバに輸送用ジグを取り付けた時の図を示す パージガスN2の供給が止まる前後のレーザチャンバの位置の様子を模式的に示した図である。 一般的なエキシマレーザシステム1及び共振器20を示す図である。 通常の場合の部分反射ミラー、プリズム及び回折格子の関係を示す図である。 部分反射ミラー、プリズム及び回折格子が変位した例を示す図である。 図5に示したチャンバを2つ並べたシステムを示す図である。 レーザチャンバとキャビティの連結を示す図である。
符号の説明
1…レーザシステム
11…レーザチャンバ
12…電極
13…光学窓
14…クロスフローファン
15…モータ
20…共振器
21…部分反射ミラー
22…キャビティ
24…プリズム
25…回折格子
26…箱
31…第1の定盤
32…第2の定盤
33…ローラー
34…レール
40…振動吸収手段
41…空気バネ
42…シリンダ(容器)
43…シャフト(連結部材)
44…N2ライン(パージライン)
45…輸送用ジグ
46…バルブ
47…位置検出装置
50…折り返しミラー
61…レーザチャンバ
62…アンプリアミラー
63…アンプフロントミラー
70…ダクト

Claims (5)

  1. レーザチャンバと、
    前記レーザチャンバの一方の側とその反対側に設置された共振器と、
    前記レーザチャンバ内部に封入されたレーザガスと、
    前記レーザガスを励起する手段と、
    励起された前記レーザガスから発生する光が前記レーザチャンバ外部へ出射するために前記レーザチャンバに設けられた2つのウィンドウと、
    前記レーザガスを循環させるクロスフローファンと、
    前記レーザチャンバを支持する振動吸収手段と、
    を備えたエキシマレーザ装置において、
    前記振動吸収手段は、
    気体を流入排出させて膨張収縮する空気バネと、
    前記空気バネの水平方向への膨張収縮を規制する容器と、
    を有する
    ことを特徴とするエキシマレーザ装置。
  2. 前記振動吸収手段は、一端を前記空気バネに取り付けられ、他端を前記チャンバ側に取り付けられた連結部材を有し、
    前記容器は、前記連結部材を挿通する開口を有する
    ことを特徴とする請求項1に記載のエキシマレーザ装置。
  3. 前記レーザガスあるいは光路をパージするためのパージガスを前記空気バネに流入排出させる
    ことを特徴とする請求項1又は請求項2に記載のエキシマレーザ装置。
  4. 前記振動吸収手段は、前記空気バネの両端を連結固定する着脱可能な剛体を有する
    ことを特徴とする請求項1乃至請求項3のいずれか1つに記載のエキシマレーザ装置。
  5. 前記レーザチャンバを複数有する
    ことを特徴とする請求項1乃至請求項4のいずれか1つに記載のエキシマレーザ装置。
JP2008213530A 2008-08-22 2008-08-22 エキシマレーザ装置 Active JP5429956B2 (ja)

Priority Applications (1)

Application Number Priority Date Filing Date Title
JP2008213530A JP5429956B2 (ja) 2008-08-22 2008-08-22 エキシマレーザ装置

Applications Claiming Priority (1)

Application Number Priority Date Filing Date Title
JP2008213530A JP5429956B2 (ja) 2008-08-22 2008-08-22 エキシマレーザ装置

Publications (2)

Publication Number Publication Date
JP2010050300A true JP2010050300A (ja) 2010-03-04
JP5429956B2 JP5429956B2 (ja) 2014-02-26

Family

ID=42067149

Family Applications (1)

Application Number Title Priority Date Filing Date
JP2008213530A Active JP5429956B2 (ja) 2008-08-22 2008-08-22 エキシマレーザ装置

Country Status (1)

Country Link
JP (1) JP5429956B2 (ja)

Cited By (4)

* Cited by examiner, † Cited by third party
Publication number Priority date Publication date Assignee Title
WO2018083575A1 (en) * 2016-11-04 2018-05-11 Silanna UV Technologies Pte Ltd Multi-cell excimer lamp
KR20210031522A (ko) * 2018-09-12 2021-03-19 사이머 엘엘씨 가스 방전 스테이지의 바디의 계측
JP2022056342A (ja) * 2020-09-29 2022-04-08 ウシオ電機株式会社 不活化装置
CN116666288A (zh) * 2023-06-12 2023-08-29 深圳龙芯半导体科技有限公司 一种半导体芯片生产用定位机构

Citations (11)

* Cited by examiner, † Cited by third party
Publication number Priority date Publication date Assignee Title
JPH01182642A (ja) * 1988-01-14 1989-07-20 Bridgestone Corp ダイアフラム型空気ばね
JPH025627U (ja) * 1988-06-23 1990-01-16
JPH02105478A (ja) * 1988-10-14 1990-04-18 Toshiba Corp レーザ発振器
JPH02238200A (ja) * 1988-06-21 1990-09-20 Amada Co Ltd レーザ発振器におけるブロア支持装置
JPH02266135A (ja) * 1989-04-07 1990-10-30 Ishikawajima Harima Heavy Ind Co Ltd 三次元免震・除振装置
JPH03274780A (ja) * 1990-03-23 1991-12-05 Komatsu Ltd ガスレーザ装置
JPH0856035A (ja) * 1994-08-16 1996-02-27 Komatsu Ltd 放電励起レーザ装置
JPH09219555A (ja) * 1995-12-08 1997-08-19 Nec Corp 波長安定化狭帯域エキシマレーザ装置
JP2002535573A (ja) * 1999-01-21 2002-10-22 フェニックス アクチエンゲゼルシャフト 空気ばね装置
JP2003283011A (ja) * 2002-03-25 2003-10-03 Komatsu Ltd 狭帯域化レーザ装置
JP2007027624A (ja) * 2005-07-21 2007-02-01 Komatsu Ltd 2ステージ狭帯域化レーザ装置

Patent Citations (11)

* Cited by examiner, † Cited by third party
Publication number Priority date Publication date Assignee Title
JPH01182642A (ja) * 1988-01-14 1989-07-20 Bridgestone Corp ダイアフラム型空気ばね
JPH02238200A (ja) * 1988-06-21 1990-09-20 Amada Co Ltd レーザ発振器におけるブロア支持装置
JPH025627U (ja) * 1988-06-23 1990-01-16
JPH02105478A (ja) * 1988-10-14 1990-04-18 Toshiba Corp レーザ発振器
JPH02266135A (ja) * 1989-04-07 1990-10-30 Ishikawajima Harima Heavy Ind Co Ltd 三次元免震・除振装置
JPH03274780A (ja) * 1990-03-23 1991-12-05 Komatsu Ltd ガスレーザ装置
JPH0856035A (ja) * 1994-08-16 1996-02-27 Komatsu Ltd 放電励起レーザ装置
JPH09219555A (ja) * 1995-12-08 1997-08-19 Nec Corp 波長安定化狭帯域エキシマレーザ装置
JP2002535573A (ja) * 1999-01-21 2002-10-22 フェニックス アクチエンゲゼルシャフト 空気ばね装置
JP2003283011A (ja) * 2002-03-25 2003-10-03 Komatsu Ltd 狭帯域化レーザ装置
JP2007027624A (ja) * 2005-07-21 2007-02-01 Komatsu Ltd 2ステージ狭帯域化レーザ装置

Cited By (10)

* Cited by examiner, † Cited by third party
Publication number Priority date Publication date Assignee Title
WO2018083575A1 (en) * 2016-11-04 2018-05-11 Silanna UV Technologies Pte Ltd Multi-cell excimer lamp
KR20210031522A (ko) * 2018-09-12 2021-03-19 사이머 엘엘씨 가스 방전 스테이지의 바디의 계측
CN112703451A (zh) * 2018-09-12 2021-04-23 西默有限公司 用于气体放电台的本体的量测
US20210194202A1 (en) * 2018-09-12 2021-06-24 Cymer, Llc Metrology for a body of a gas discharge stage
JP2021536033A (ja) * 2018-09-12 2021-12-23 サイマー リミテッド ライアビリティ カンパニー ガス放電ステージの本体のためのメトロロジ
KR102524267B1 (ko) * 2018-09-12 2023-04-20 사이머 엘엘씨 가스 방전 스테이지의 바디의 계측
JP7296448B2 (ja) 2018-09-12 2023-06-22 サイマー リミテッド ライアビリティ カンパニー ガス放電ステージの本体のためのメトロロジ
JP2022056342A (ja) * 2020-09-29 2022-04-08 ウシオ電機株式会社 不活化装置
JP7095786B2 (ja) 2020-09-29 2022-07-05 ウシオ電機株式会社 不活化装置
CN116666288A (zh) * 2023-06-12 2023-08-29 深圳龙芯半导体科技有限公司 一种半导体芯片生产用定位机构

Also Published As

Publication number Publication date
JP5429956B2 (ja) 2014-02-26

Similar Documents

Publication Publication Date Title
JP5030786B2 (ja) 線狭帯域化モジュール
US7230964B2 (en) Lithography laser with beam delivery and beam pointing control
US6560254B2 (en) Line-narrowing module for high power laser
JP5429956B2 (ja) エキシマレーザ装置
US20140346374A1 (en) Faraday rotator, optical isolator, laser apparatus, and extreme ultraviolet light generation apparatus
US6496528B2 (en) Line narrowing unit with flexural grating mount
JP5630773B2 (ja) ガス放電チャンバ
US6735236B2 (en) High power gas discharge laser with line narrowing unit
EP1234358B1 (en) High power gas discharge laser with helium purged line narrowing unit
JP2008098282A (ja) 狭帯域化レーザのスペクトル幅調整装置
US20040105479A1 (en) Laser lithography light source with beam delivery
US6778584B1 (en) High power gas discharge laser with helium purged line narrowing unit
WO2012176252A1 (ja) ガスレーザ増幅装置
JP4822285B2 (ja) ガスレーザ用光学素子及びそれを用いたガスレーザ装置
JP7738069B2 (ja) 光アイソレータ、紫外線レーザ装置及び電子デバイスの製造方法
JP2011249832A (ja) 狭帯域化レーザのスペクトル幅調整装置
JP3837356B2 (ja) 狭帯域レーザ装置
JP6737877B2 (ja) レーザ装置
JP2008300780A (ja) エキシマレーザ装置
US6792023B1 (en) Method and apparatus for reduction of spectral fluctuations
JP2009158885A (ja) ガスレーザ用光学素子の緩衝手段及びそれを用いたガスレーザ装置
US8619262B2 (en) Device and method for vibrating a solid amplification member within a gyrolaser
JP2008130598A (ja) チャンバ交換方法
JP3636303B2 (ja) ガスレーザ装置及びガスレーザ装置の狭帯域化ユニットのアライメント方法
JPH10284790A (ja) 狭帯域化光学素子用ハウジング装置

Legal Events

Date Code Title Description
A621 Written request for application examination

Free format text: JAPANESE INTERMEDIATE CODE: A621

Effective date: 20110801

A977 Report on retrieval

Free format text: JAPANESE INTERMEDIATE CODE: A971007

Effective date: 20120530

A131 Notification of reasons for refusal

Free format text: JAPANESE INTERMEDIATE CODE: A131

Effective date: 20120613

A521 Request for written amendment filed

Free format text: JAPANESE INTERMEDIATE CODE: A523

Effective date: 20120801

A02 Decision of refusal

Free format text: JAPANESE INTERMEDIATE CODE: A02

Effective date: 20121205

A521 Request for written amendment filed

Free format text: JAPANESE INTERMEDIATE CODE: A523

Effective date: 20130301

RD02 Notification of acceptance of power of attorney

Free format text: JAPANESE INTERMEDIATE CODE: A7422

Effective date: 20130307

A911 Transfer to examiner for re-examination before appeal (zenchi)

Free format text: JAPANESE INTERMEDIATE CODE: A911

Effective date: 20130403

A912 Re-examination (zenchi) completed and case transferred to appeal board

Free format text: JAPANESE INTERMEDIATE CODE: A912

Effective date: 20130614

A521 Request for written amendment filed

Free format text: JAPANESE INTERMEDIATE CODE: A523

Effective date: 20131017

A61 First payment of annual fees (during grant procedure)

Free format text: JAPANESE INTERMEDIATE CODE: A61

Effective date: 20131202

R150 Certificate of patent or registration of utility model

Free format text: JAPANESE INTERMEDIATE CODE: R150

Ref document number: 5429956

Country of ref document: JP

Free format text: JAPANESE INTERMEDIATE CODE: R150

R250 Receipt of annual fees

Free format text: JAPANESE INTERMEDIATE CODE: R250

R250 Receipt of annual fees

Free format text: JAPANESE INTERMEDIATE CODE: R250

R250 Receipt of annual fees

Free format text: JAPANESE INTERMEDIATE CODE: R250

R250 Receipt of annual fees

Free format text: JAPANESE INTERMEDIATE CODE: R250

R250 Receipt of annual fees

Free format text: JAPANESE INTERMEDIATE CODE: R250

R250 Receipt of annual fees

Free format text: JAPANESE INTERMEDIATE CODE: R250

R250 Receipt of annual fees

Free format text: JAPANESE INTERMEDIATE CODE: R250

R250 Receipt of annual fees

Free format text: JAPANESE INTERMEDIATE CODE: R250

R250 Receipt of annual fees

Free format text: JAPANESE INTERMEDIATE CODE: R250