JP2010049073A - 光変調器 - Google Patents

光変調器 Download PDF

Info

Publication number
JP2010049073A
JP2010049073A JP2008213936A JP2008213936A JP2010049073A JP 2010049073 A JP2010049073 A JP 2010049073A JP 2008213936 A JP2008213936 A JP 2008213936A JP 2008213936 A JP2008213936 A JP 2008213936A JP 2010049073 A JP2010049073 A JP 2010049073A
Authority
JP
Japan
Prior art keywords
ground conductor
conductor
recess
substrate
ridge portion
Prior art date
Legal status (The legal status is an assumption and is not a legal conclusion. Google has not performed a legal analysis and makes no representation as to the accuracy of the status listed.)
Granted
Application number
JP2008213936A
Other languages
English (en)
Other versions
JP5033084B2 (ja
Inventor
Kenji Kono
健治 河野
Eiji Kawamo
英司 川面
Yuji Sato
勇治 佐藤
Masaya Nanami
雅也 名波
Yasuji Uchida
靖二 内田
Nobuhiro Igarashi
信弘 五十嵐
Toru Nakahira
中平  徹
Satoshi Matsumoto
松本  聡
Current Assignee (The listed assignees may be inaccurate. Google has not performed a legal analysis and makes no representation or warranty as to the accuracy of the list.)
Anritsu Corp
Original Assignee
Anritsu Corp
Priority date (The priority date is an assumption and is not a legal conclusion. Google has not performed a legal analysis and makes no representation as to the accuracy of the date listed.)
Filing date
Publication date
Application filed by Anritsu Corp filed Critical Anritsu Corp
Priority to JP2008213936A priority Critical patent/JP5033084B2/ja
Priority to US12/678,534 priority patent/US8170381B2/en
Priority to PCT/JP2008/002589 priority patent/WO2009037849A1/ja
Publication of JP2010049073A publication Critical patent/JP2010049073A/ja
Application granted granted Critical
Publication of JP5033084B2 publication Critical patent/JP5033084B2/ja
Expired - Fee Related legal-status Critical Current
Anticipated expiration legal-status Critical

Links

Images

Landscapes

  • Optical Integrated Circuits (AREA)
  • Optical Modulation, Optical Deflection, Nonlinear Optics, Optical Demodulation, Optical Logic Elements (AREA)

Abstract

【課題】光変調特性が高性能で、安定性について改善された光変調器を提供する。
【解決手段】基板1と、光導波路3と、進行波電極4と、基板に形成した凹部により構成されるリッジ部とを具備する光変調器において、凹部は、第1の凹部に対称に第2、3の凹部が形成され、第1、2の凹部間に中心導体用リッジ部が形成され、第1、3の凹部間に接地導体用リッジ部が形成され、第3の凹部の上方に、第1の接続用接地導体4b(4)と第1の空隙部11aと交互に形成され、第2の凹部に隣接する中心導体用リッジ部でない側の接地導体に、中心導体4aに対し第3の凹部と対称に、第2の接続用接地導体4c(4)と第2の空隙部11eと交互に形成され、第1の空隙部と第2の空隙部の少なくとも一部について光導波路方向の位置、長さ、幅の少なくとも1つが異なる。
【選択図】図1

Description

本発明は、電気光学効果を利用して、光導波路に入射した光を高周波電気信号で変調して光信号パルスとして出射する光変調器に関する。
近年、高速、大容量の光通信システムが実用化されている。このような高速、大容量の光通信システムに組込むための高速、小型、低価格、かつ高安定な光変調器の開発が求められている。
このような要望に応える光変調器として、リチウムナイオベート(LiNbO)のように電界を印加することにより屈折率が変化する、いわゆる電気光学効果を有する基板(以下、LN基板と略す)に光導波路と進行波電極を形成した進行波電極型リチウムナイオベート光変調器(以下、LN光変調器と略す)がある。このLN光変調器は、その優れたチャーピング特性から2.5Gbit/s、10Gbit/sの大容量光通信システムに適用されている。最近はさらに40Gbit/sの超大容量光通信システムにも適用が検討されている。
以下、従来、実用化され、又は提唱されてきたリチウムナイオベートの電気光学効果を利用したLN光変調器について説明する。
(第1の従来技術)
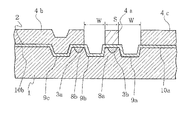
特許文献1に開示された、z−カットLN基板を用いて構成した、いわゆるリッジ型LN光変調器を第1の従来技術の光変調器として図15にその斜視図を示す。なお、図16は図15のA−A´線における断面図である。
z−カットLN基板1上に光導波路3が形成されている。この光導波路3は、金属Tiを1050℃で約10時間熱拡散して形成した光導波路であり、マッハツェンダ干渉系(あるいは、マッハツェンダ光導波路)を構成している。したがって、光導波路3の電気信号と光が相互作用する部位(相互作用部と言う)には2本の相互作用光導波路3a、3b、つまりマッハツェンダ光導波路の2本のアームが形成されている。
この光導波路3の上面にSiOバッファ層2が形成され、このSiOバッファ層2の上面に進行波電極4が形成されている。進行波電極4としては、1つの中心導体4aと2つの接地導体4b、4cを有するコプレーナウェーブガイド(CPW)を用いている。なお、通常、進行波電極4は高価な貴金属材料であるAuにより形成されている。5はz−カットLN基板1を用いて製作したLN光変調器に特有の焦電効果に起因する温度ドリフトを抑圧するための導電層であり、通常はSi導電層を用いる。中心導体4aの幅Sは7μm程度で、中心導体4aと接地導体4b、4cの間のギャップWは15μm程度である。なお、説明を簡単にするために、図15では図示した温度ドリフト抑圧のためのSi導電層5を図16においては省略している。また、以下においてもSi導電層5は省略して議論する。
この第1の従来技術では、z−カットLN基板1をエッチングなどで掘り込むことにより、凹部9a、9b、及び9c(あるいは、リッジ部8a、8bとも言える)を形成している。ここで、10a、10bは接地導体において高周波電信号の電磁界が小さくなった領域あるいは部位であり、外周部と呼ぶ。なお、リッジ部8a、8bを各々中心導体用リッジ部、接地導体用リッジ部とも呼ぶ。
このリッジ構造をとることにより、高周波電気信号の実効屈折率(あるいは、マイクロ波実効屈折率)、特性インピーダンス、変調帯域、駆動電圧などにおいて優れた特性を実現することができる。なお、図16では凹部9a、9b、及び9cの深さ(あるいはリッジ部8a、8bの高さ)を強調して描いているが、実際には2〜5μm程度であり、中心導体4aや接地導体4b、4cの厚み約20μmに比較するとその値は小さい。
さて、この第1の従来技術はLN光変調器としての変調特性は高いものの、安定性について問題があることがわかった。即ち、Si導電層5を使用しているにもかかわらず、温度ドリフト特性が悪いことが判明した。その原因は高い変調性能を生み出すリッジ構造に起因していると考えられる。
以下にその原因について詳しく説明する。図16からわかるように、中心導体4aの直下のリッジ部8aについては、接地導体4b、4cとは独立しているので、z−カットLN基板1の表面に平行な方向にリッジ部8aを引っ張る力は存在しない。
ところが、リッジ部8bについては、前述のように約20μmの厚い接地導体4bが凹部9c、外周部10bとともに形成されている。そして、SiOバッファ層2上の接地導体4bのAuとz−カットLN基板1の熱膨張係数は互いに大きく異なる。さらに、z−カットLN基板1の幅は数ミリメートル(例えば、1mm〜5mm)と広い。一方、相互作用光導波路3a、3bのギャップは約15μm程度と狭いので、接地導体4bや4cの幅は各々z−カットLN基板1の幅の約半分と言えるくらいに広い(換言すると、外周部10aや10bが広い)。つまり、図16の接地導体4bの幅も広いので環境変化に起因する熱膨張や熱収縮などの応力が積み重なり、リッジ部8bへかなり大きな応力(あるいは厚みが厚いことに起因するモーメント)がかかる。さらに、リッジ部8bは突起しているので、応力(特にモーメントによる応力)の影響を受けやすい。なお、実際には接地導体4cの幅も広く、その影響もある。
ところが、z−カットLN基板1に応力がかかるとその屈折率が変化する(応力複屈折)ので、結果的に相互作用光導波路3aの屈折率が変化することになり、LN光変調器を動作させる際のDCバイアス点が変わってしまう。これがリッジ構造特有の温度ドリフト現象であり、LN光変調器としての安定性を損なう結果となる。ちなみに、LN光変調器の環境温度を室温から80℃まで変化させた際に、この第1の従来技術でのDCバイアス点の変化は6Vと大きかった。
(第2の従来技術)
この第1の従来技術の問題点を解決するために、特許文献2に開示された第2の従来技術の相互作用部における断面図を図17に示す。この図17からわかるように、リッジ部8bの上に形成された接地導体4b´と外周部10bの上に形成された接地導体4b´´の厚みは厚いが、凹部9cに形成された接地導体4b´´´の厚みを例えば約300nm以下と薄くしている。このように凹部9cにおける接地導体4b´´´の厚みを薄くすることにより、広い面積を有する接地導体4b´´がリッジ部8bへ与える応力を小さくすることができるので、温度安定性を改善できるという考え方である。
以下において、温度ドリフトと高周波電気信号の伝搬の観点から議論する。この第2の従来技術ではリッジ部8aと8bを形成する凹部9a、9b、9cと光導波路3aと3bはそれらの中間に設けた中心線Iに対して対称な構造である。さて、リッジ部8aや8bの側面は傾斜している(よって、傾斜面あるいは傾斜部とも言う)。こうした傾斜面は−z面でないため焦電効果による電荷の発生が−z面であるz−カットLN基板1の上面や凹部9a、9b、及び9cと異なっている。
そのため、優れた温度ドリフト特性を実現するためには、凹部9a、9b、及び9cを光導波路3aと3bの中間に設けることのできる中心線Iに対してほぼ対称な(あるいは、光導波路3aと3bを含むz−カットLN基板1の構造がその中間に設けた中心線Iに対してほぼ対称な)構造が望ましい。つまり、この第2の従来技術は温度ドリフト抑圧に適した構造と言える。なお、マッハツェンダ光導波路のように、相互作用光導波路が2本(光導波路3aと3b)の場合に、光導波路3aと3bがそれらの中間の中心線に対して対称となる構造では、実質的な凹部(9a、9b、9c)の数が奇数となる。
ところが、高周波電気信号の低損失で安定な伝搬の観点からこの第2の従来技術は以下のように問題を有していることがわかる。図15に示すように、マイクロ波である高周波電気信号は高周波電気信号給電線6や不図示のコネクタを伝搬した後、進行波電極4に印加されるが、高周波電気信号給電線6と不図示のコネクタの電磁界分布は各々の中心導体に対して軸対称である。また、高周波電気信号給電線6に接続される不図示のコネクタと進行波電極4との接続部(入力用フィードスルー部と呼ばれる)においても高周波電磁界の電磁界分布は進行波電極4の中心導体(相互作用部の中心導体4aを不図示のコネクタの芯線との接続部まで延長した部位)に対して左右対称(つまり、基板表面方向に対して対称)である。
しかしながら、この第2の従来技術では図17の中心導体4aの中央に引いた線IIに対して進行波電極が構造的に左右非対称である。構造が左右非対称ということは電磁界分布も左右非対称となるので、入力用フィードスルー部における左右対称な電磁界分布と整合性が良くない。その結果、高周波電気信号が中心導体4a、接地導体4b´、4b´´´、4b´´、4cで構成される進行波電極4を伝搬する際に、対称な電磁界分布から非対称な電磁界分布に変換せねばならず、電磁界分布が安定しない、あるいは放射損失(または伝搬損失)が生じるなどの不都合が生じてしまう。
(第3の従来技術)
図18に特許文献3に開示された第3の従来技術の上面図を示す。なお、z−カットLN基板1の幅は数ミリメートルあり、相互作用光導波路3aと3bのギャップは15μm程度である。またz−カットLN基板1の長さは5cm〜7cm程度である。
ここで、B−B´とC−C´における断面図を図19と図20に示す。なお、11a、11b、11c、及び11dは凹部9a、9b、9c及び9dがあることによる空隙部であり、4b(4)、4b(5)、4b(6)、4c(4)、4c(5)、4c(6)は接地導体である。ここで、接地導体4b(5)は接地導体4b(4)と4b(6)を接続している。また、10cは外周部である。8a、8b、8cはリッジ部である。空隙部11aと11dは接地導体において導体が欠落した部位(あるいは、接地導体に開けた窓)とも言える。また、13a、13dは空隙部11aと11dを接地導体4b(5)と4c(5)で埋めた埋め込み部である。図19と図20において、IVは中心導体4aの中心線であり、進行波電極はこの中心線IVに対して対称となっている。
図からわかるように、接地導体4b(4)と4c(4)の幅は図17に示した第2の従来技術の接地導体4b´や中心導体4aと同程度に狭い。また、接地導体4b(6)、4c(6)は図17に示した第2の従来技術の接地導体4b´´のように広い。そして、この第3の従来技術において接地導体4b(4)と4b(6)を接続する接地導体4b(5)と、接地導体4c(4)と4c(6)を接続する接地導体4c(5)の厚みは、図17に示した第2の従来技術の接地導体4b´´´よりも厚く設定している。
ところが、この第3の従来技術を実際に製作したところ、この構造ではリッジ構造に起因する温度ドリフトを抑圧することができないという重要な問題があることがわかった。以下、その問題点を焦電効果の観点から説明する。
光導波路3aと3bの中間の中心線IIIに対して、リッジ8a、8b、8c(あるいは凹部9a、9b、9c、9d)が非対称に配置されている。リッジ8a、8b、8cの側面である傾斜面は−z面ではないので、環境温度の変化に伴う焦電効果による電荷の分布はこれらの凹部やz−カットLN基板1の上面と異なっている。そのため、環境温度の変化とともに刻々と変化する不均一な電荷分布(即ち、不均一な電界分布)が生じるので光導波路3aと3bに不均一な電圧が印加される。これらの不均一な電界分布を打ち消すように外部回路からDCバイアスを印加する必要があるので、結果的に温度ドリフトを生じてしまうと結論できる。
特開平4−288518号公報 特開2004−157500号公報 特開2006−84537号公報
以上のように、リッジ型LN光変調器として提案された従来の第1技術では電極を構成するAuとz−カットLN基板との熱膨張係数の差に起因する接地導体からの応力(あるいは、モーメントによる応力)が温度とともに最適DCバイアス点を変化させる温度ドリフトを生じた。この温度特性を改善するために提案された第2の従来技術では、温度ドリフトは改善できるものの、進行波電極が中心導体に対して対称ではないため、高周波電気信号が対称モードから非対称モードへのモード変換における安定な伝搬と低損失な伝搬という観点から不利であった。また、第3の従来技術では進行波電極が中心導体に対して対称であるため、高周波電気信号の安定で低損失な伝搬という観点から有利であったが、リッジ部(あるいは凹部)の構成が2本の光導波路に対して非対称であったため、特にリッジの傾斜面における焦電効果の影響が強く、温度ドリフトの観点から問題があった。つまり、光変調器としての高速性・低駆動電圧性を犠牲にしないで温度安定化を実現できる光変調器の開発が急務となっている。
本発明はこのような事情に鑑みてなされたものであり、光変調特性が高性能であるとともに、安定性について改善された光変調器を提供することを目的とする。
上記課題を解決するために、本発明の請求項1の光変調器は、電気光学効果を有する基板と、前記基板に形成された2本の光導波路と、前記基板の上に形成されたバッファ層と、該バッファ層の上方に配置された中心導体と接地導体からなる進行波電極と、前記進行波電極を伝搬する高周波電気信号の電界強度が強い領域における前記基板の少なくとも一部を掘り下げることにより形成した凹部により構成されるリッジ部とを具備し、該リッジ部は前記中心導体が上方に形成された中心導体用リッジ部と、前記接地導体が上方に形成された接地導体用リッジ部からなり、前記中心導体用リッジ部に前記2本の光導波路のうちの1本が形成され、前記接地導体用リッジ部にもう1本の光導波路が形成されている光変調器において、前記凹部は第1、第2及び第3の凹部でなり、前記第1の凹部の中心線に対して対称な位置に前記第2及び第3の凹部が形成されており、前記第1の凹部と前記第2の凹部との間に前記中心導体用リッジ部が形成され、前記第1の凹部と前記第3の凹部との間に前記接地導体用リッジ部が形成されており、前記第1の凹部及び前記第2の凹部の上方には前記接地導体が形成されておらず、前記第3の凹部の上方には、前記接地導体が形成された部分と形成されていない部分とが、第1の接続用接地導体と第1の空隙部として光導波路方向に交互に形成されており、前記第2の凹部に隣接する前記中心導体用リッジ部でない側の基板上に形成された接地導体には、前記中心導体の中心線に対して前記第3の凹部と対称となる位置に、前記接地導体が形成された部分と形成されていない部分とが、第2の接続用接地導体と第2の空隙部として前記光導波路の方向に交互に形成されており、前記接地導体の前記第1の空隙部と前記第2の空隙部の少なくとも一部について前記光導波路の方向における位置、長さ、もしくは幅の少なくとも1つが異なって形成されていることを特徴とする。
本発明の請求項2の光変調器は、電気光学効果を有する基板と、前記基板に形成された2本の光導波路と、前記基板の上に形成されたバッファ層と、該バッファ層の上方に配置された中心導体と接地導体からなる進行波電極と、前記進行波電極を伝搬する高周波電気信号の電界強度が強い領域における前記基板の少なくとも一部を掘り下げることにより形成した凹部により構成されるリッジ部とを具備し、該リッジ部は前記中心導体が上方に形成された中心導体用リッジ部と、前記接地導体が上方に形成された接地導体用リッジ部からなり、前記中心導体用リッジ部に前記2本の光導波路のうちの1本が形成され、前記接地導体用リッジ部にもう1本の光導波路が形成されている光変調器において、前記凹部は第1、第2及び第3の凹部でなり、前記第1の凹部の中心線に対して対称な位置に前記第2及び第3の凹部が形成されており、前記第1の凹部と前記第2の凹部との間に前記中心導体用リッジ部が形成され、前記第1の凹部と前記第3の凹部との間に前記接地導体用リッジ部が形成されており、前記第1の凹部及び前記第2の凹部の上方には前記接地導体が形成されておらず、前記第3の凹部の上方には、前記接地導体が形成された部分と形成されていない部分とが、第1の接続用接地導体と第1の空隙部として光導波路方向に交互に形成されており、前記第2の凹部に隣接する前記中心導体用リッジ部でない側の基板上に形成された接地導体には、前記中心導体の中心線に対して前記第3の凹部と対称となる位置に、前記接地導体が形成された部分と形成されていない部分とが、第2の接続用接地導体と第2の空隙部として前記光導波路の方向に交互に形成されており、前記第1の接続用接地導体と前記第2の接続用接地導体の少なくとも一部について前記光導波路の方向における位置、長さ、幅、もしくは厚みの少なくとも1つが異なって形成されていることを特徴とする。
本発明の請求項3の光変調器は、前記第1の接続用接地導体または前記第2の接続用接地導体が、前記中心導体もしくは前記接地導体の少なくとも一部とほぼ同じ厚みを持つことを特徴とする。
本発明の請求項4の光変調器は、前記第1の接続用接地導体または前記第2の接続用接地導体が、前記中心導体の厚みよりも薄いことを特徴とする。
本発明の請求項5の光変調器は、前記第3の凹部に隣接する前記接地導体用リッジ部でない側の基板上に形成された接地導体の、前記高周波電気信号の電磁界が小さくなった領域である前記第3の凹部から所定距離離れた領域における厚みを、当該領域以外の領域における接地導体の厚みよりも薄く構成したことを特徴とする。
本発明の請求項6の光変調器は、前記第2の凹部に隣接する前記中心導体用リッジ部でない側の基板上に形成された接地導体の、前記高周波電気信号の電磁界が小さくなった領域である前記第2の凹部から所定距離離れた領域における厚みを、当該領域以外の領域における接地導体の厚みよりも薄く構成したことを特徴とする。
本発明の請求項7の光変調器は、前記基板がリチウムナイオベートからなることを特徴とする。
本発明の請求項8の光変調器は、前記基板が半導体からなることを特徴とする。
本発明に係る光変調器では、リッジやそれを構成する凹部は2本の光導波路の中間に設けた中心線に対して対称とする。これにより、環境温度の変化に対応して起こる焦電効果による電荷の分布(即ち、電界の分布)が2本の光導波路の中間に設けた中心線に対してほぼ対称となるので、温度ドリフトを解決することができる。また、進行波電極の基本的な構造を中心導体の中心線に対して対称とすることにより、高周波電気信号の安定で低損失な伝搬を可能とする。これらの結果、リッジ型光変調器の変調の観点からの高い性能を損なうことなく、熱ドリフトが小さなLN光変調器を提供することが可能となるという優れた効果がある。さらに、本発明には接地導体において高周波電気信号の電磁界分布が小さくなる領域(あるいは部位)である外周部の導体の厚みを薄くする構造も含んでいる。この外周部の導体の厚みを薄くする構造により、環境温度が変化する際に、SiOバッファ層2上の接地導体とz−カットLN基板の熱膨張係数の差に起因して生じる広い接地導体からの導体の応力を緩和することができるので、一層の温度ドリフト特性の改善に寄与するばかりでなく、高価な貴金属材料であるAuの使用量を減らすことができるので光変調器としてのコスト低減も可能となる。
以下、本発明の実施形態について説明するが、図15から図20に示した従来技術と同一の符号は同一機能部に対応しているため、ここでは同一の符号を持つ機能部の説明を省略する。
(第1の実施形態)
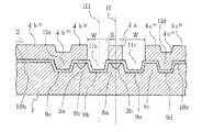
図1に本発明の第1の実施形態についてその上面図を示す。また、D−D´、E−E´における断面図を各々図2と図3に示す。ここで、11a、11b、11c、及び11eは空隙部である。なお、4b(4)、4b(5)、4b(6)、4c(4)、4c(5)、4c(6)は接地導体である。接地導体4b(5)は接地導体4b(4)と4b(6)を、また接地導体4c(5)は接地導体4c(4)と4c(6)を接続している(接地導体4b(5)と接地導体4c(5)は接続用接地導体とも呼ばれる)。
本実施形態では高周波電気信号としての表皮効果の影響を受けにくいように、接続用接地導体である接地導体4b(5)と4c(5)はそれらの厚みを厚くしている。また、10bと10dは接地導体において高周波電気信号の強度が小さくなった部位であり、外周部と呼ぶ。8aと8bはリッジ部である。空隙部11aと11eは接地導体において導体が欠落した部位(あるいは、接地導体に開けた窓)とも言える。また、13aは空隙部11aを接地導体4b(5)で埋めた埋め込み部である。
ここで、光導波路が形成されていない側の接地導体4c(5)と4c(6)の下には凹部を形成していない。図2においてVは光導波路3aと3bの中間に設けた中心線であり、光導波路3aと3b(あるいは、リッジ部8aと8b、もしくは凹部9a、9b、9c)はこの中心線Vに対して対称な構造となっている。従って、Vは光導波路についての対称軸と言える。前述のように、リッジ部8aと8bは焦電効果により発生する電荷の分布が凹部9a、9b、9cの底面やz−カットLN基板1の上面とは異なる傾斜部(前述のように、リッジ8aと8bの側面であり、傾斜面とも言う)を持っている。
重要なことは第1の実施形態では光導波路3aと3bについてこの傾斜面を含め、凹部9a、9b、9cを中心線Vに対して対称な構造としていることである。これにより、焦電効果による電荷分布、即ち電界分布も中心線Vに対して対称となるので、環境変化に伴う温度ドリフトについては極めて安定な特性を実現できる。
なお、各接地導体の下方において、温度ドリフトには影響のない箇所に凹部を作ることにより光導波路3aと3bについての対称性を壊しても、それは影響のない箇所の変更であるので本発明に属する。また、図2や図3における凹部の数は3個であるが、2本の光導波路の中間に設けた中心線に対して構造が対称でありさえすれば、これ以上の数の凹部を設けても本発明に属すると言える。そして、これらのことは本発明の全ての実施形態について成り立つことは言うまでもない。
図4には環境温度Tを20℃から80℃まで変化させた場合の本発明における第1の実施形態についての実験結果を示す。比較のために、図には第1の従来技術、第2の従来技術、及び第3の従来技術についての測定結果も示している。ここで、中心導体4aの幅Sは7μm、中心導体4aと接地導体4b(4)、もしくは接地導体4c(4)とのギャップWは15μmとした。また、空隙部11a幅のWwが15μmで、それらの長さLwと接地導体4b(5)の長さLeが各々1mmと100μmとした。図からわかるように、本実施形態を採用することにより、進行波電極が中心導体4aの中心線に対して対称であるため、高周波光変調の観点から有利ではあるものの、凹部11a、11b、11c、11dの配置が光導波路3a、3bについては対称ではない第3の従来技術よりも温度ドリフトを大幅に抑えることが可能となり、本発明の考え方が正しいことを実証できた。なお、温度ドリフトについては第2の従来技術も優れているが、先に述べたように第2の従来技術は高周波電気信号のモード変換の観点から問題がある。ここで、空隙部11aの長さLwと接地導体4b(5)の長さLeは各々30μm〜3mm、及び5μm〜500μm程度まで変化させても効率よく温度ドリフトを抑圧できた。なお、本発明はこれらの数値に限るものではないことは言うまでもない。
以上の説明においては、本発明の原理の説明を簡単にするために、空隙部11aの幅Wwと長さLwが、空隙部11eの幅Ww´と長さLw´と各々等しく、また接地導体4b(5)の長さLeと接地導体4c(5)の長さLe´も等しいと仮定したが、本発明はこれに限るものではない。さらに、空隙部11aや接地導体4b(5)の個数と空隙部11eや接地導体4c(5)の個数が各々異なっていても良い。そして、このことは本発明の全ての実施形態について言える。なお、以上に述べた接地導体(接続用接地導体)や空隙部の長さや幅は相互作用光導波路3a、3bの長さ方向に対するものとする。
次に、高周波電気信号の電磁界分布の観点から考察する。本発明におけるその他の全ての実施形態と同じく、図1〜図3における進行波電極としての基本的な構成要素は中心導体4aと接地導体4b(4)、4b(6)、4c(4)、4c(6)である。そして、図2と図3からわかるように、中心導体4aの中心に引いた中心線VIは中心導体4aと接地導体4b(4)、4b(6)、4c(4)、4c(6)からなる進行波電極の対称軸となっている。このように、本実施形態における進行波電極の基本的な構造について、中心導体4aの中心線を対称軸とする構造対称性を有している。進行波電極の構造が対称であるということは、進行波電極を伝搬する高周波電気信号の電磁界分布も対称であることを意味している。従って、図17に示した第2の従来技術では必要であったコネクタや入力用フィードスルー部の対称な高周波電気信号の対称モードから進行波電極の非対称モードへの変換が不要となるので、高周波電気信号を安定、そして低損失に伝搬することが可能となる。
さて、凹部が光導波路3aと3bの中間に設けた中心線Vに対して厳密に対称でないと本発明の効果を発揮できないかというとそれは正しくない。接地導体4b(4)の幅は中心導体4aの幅と数μm程度異なっていても良く、これを含めて光導波路3a、3bの中間に設けた中心線Vに対して光導波路3a、3bの上にある中心導体と接地導体が対称である(あるいは、実質的にほぼ対称)としている。また、同様に進行波電極の構造が中心線VIに対して厳密に対称でなくても本発明の効果を発揮できる。そしてこれらのことは本発明の全ての実施形態について言える。
以上のように、本実施形態は光導波路に関する構造を2本の光導波路の中間に設けた中心線Vについて対称とするとともに、進行波電極に関する基本的な構造を中心導体の中心線VIについて対称とすることにより、それらの対称性を有しない場合と比較して、環境温度変化に伴う温度ドリフトを抑圧し、かつ高周波電気信号のモードを安定させ、そして低損失に伝搬させている。
(第2の実施形態)
図5に本発明の第2の実施形態についてその上面図を示す。また、F−F´、G−G´における断面図を各々図6と図7に示す。ここで、11a、11b、11c、及び11fは空隙部である。なお、4b(7)、4b(8)、4b(9)、4c(7)、4c(8)、4c(9)は接地導体である。接地導体4b(8)は接地導体4b(7)と4b(9)を、また接地導体4c(8)は接地導体4c(7)と4c(9)を接続している(接地導体4b(8)と接地導体4c(8)は接続用接地導体とも呼ばれる)。また、10bと10dは外周部である。8aと8bはリッジ部である。空隙部11aと11fは接地導体において導体が欠落した部位(あるいは、接地導体に開けた窓)とも言える。
ここで、図6においてVは光導波路3aと3bの中間に設けた中心線であり、光導波路3aと3b(あるいは、リッジ部8aと8b、もしくは凹部9a、9b、9c)はこの中心線Vに対して対称な構造となっている。従って、第1の実施形態として示した図2において述べたように、Vは光導波路3aと3bについての対称軸と言える。前述のように、リッジ部8aと8bは焦電効果により発生する電荷の分布が凹部9a、9b、9cの底面やz−カットLN基板1の上面とは異なる傾斜部(リッジ8aと8bの側面、あるいは傾斜面)を持っている。本発明のこの第2の実施形態においても光導波路3aと3bについてはこの傾斜部を含め、凹部9a、9b、9cを中心線Vに対して対称な構造となっているので、焦電効果による電荷分布、即ち電界分布も中心線Vに対して対称となり、環境変化に伴う温度ドリフトについては極めて安定となる。
次に、第1の実施形態と同様に、高周波電気信号の電磁界分布の観点から考察する。本発明におけるその他の全ての実施形態と同じく、図5〜図7における進行波電極としての基本的な構成要素は中心導体4aと接地導体4b(7)、4b(9)、4c(7)、4c(9)である。そして、図6と図7からわかるように、中心導体4aの中心に引いた中心線VIIは中心導体4aと接地導体4b(7)、4b(9)、4c(7)、4c(9)からなる進行波電極の対称軸となっている。このように、本実施形態では進行波電極の基本的な構造について、中心導体4aの中心を対称軸とする構造対称性を有しているので、その構造対称性を有しない図16に示す第2の従来技術よりも、コネクタや入力用フィードスルー部の対称な電磁界を安定、かつ低損失に伝搬することができる。
以上のように、本実施形態においても光導波路に関する構造を2本の光導波路の中間に設けた中心線Vについて対称とするとともに、進行波電極に関する基本的な構造を中心導体の中心線VIIについて対称とすることにより、それらの対称性を有しない場合と比較して、環境温度変化に伴う温度ドリフトを抑圧し、かつ高周波電気信号のモードを安定させ、かつ低損失に伝搬させている。
但し、図3と図7を比較すると、図7における接続用接地導体4b(8)と4c(8)は図3における接続用接地導体4b(5)と4c(5)よりも薄いので、表皮効果の観点から高速光変調にはやや不利になる。
(第3の実施形態)
図8に本発明の第3の実施形態についてその上面図を示す。また、H−H´、I−I´における断面図を各々図9と図10に示す。ここで、11a、11b、11c、及び11eは空隙部である。なお、4b(10)、4b(12)、4b(13)、4c(10)、4c(12)、4c(13)は接地導体である。接地導体4b(11)は接地導体4b(10)と4b(12)を、また接地導体4c(11)は接地導体4c(10)と4c(12)を接続している(接地導体4b(11)と接地導体4c(11)は接続用接地導体とも呼ばれる)。また、10b、10dは高周波電気信号が小さくなった部位、つまり外周部である。8aと8bはリッジ部である。空隙部11aと11eは接地導体において導体が欠落した部位(あるいは、接地導体に開けた窓)とも言える。
図9に示した本実施形態においても、光導波路に関する構造は2本の光導波路3aと3bの中間における中心線Vに対して凹部9a、9b、9cを対称に配置しており、このことは優れた温度ドリフト特性を有する上で重要な要素となる。また、中心導体4aの中心に引いた中心線VIは中心導体4aと接地導体4b(10)、4b(12)、4b(13)、4c(10)、4c(12)、4c(13)からなる進行波電極の対称軸となっている。このように、本実施形態も進行波電極の基本的な構造について、中心導体4aの中心を対称軸とする構造対称性を有しているので、進行波電極を伝搬する高周波電気信号は対称モードである。従って、コネクタや入力用フィードスルー部の対称な電磁界分布と整合性が良く、高周波電気信号を安定なモードで、かつ低損失に伝搬することが可能となる。
この本発明の第3の実施形態において注目すべきことは接地導体4b(13)と4c(13)の厚みが例えば300nmのように薄くなっていることである。接地導体の厚みが厚いと、てこの原理によりz−カットLN基板1、ひいてはリッジ部8aや8bに加わる応力(あるいは、モーメントによる応力)が大きくなる。そこで、まずこの実施形態では外周部10bの接地導体4b(13)の厚みを薄くすることにより、この応力を小さくしている。さらに、本発明の効果を一層顕著とするために、外周部10d上に形成した接地導体4c(13)の厚みも同じく薄くしている。この工夫をとり入れることにより、図11に示すように20℃から80℃の環境温度の変化に対するDCバイアスの温度ドリフトを第1の実施形態よりもさらに小さく抑えることができた。
先に述べたように、相互作用光導波路3aと3bのギャップが15μm程度であることを考慮すると、高周波電気信号と相互作用光導波路3a、3bを伝搬する光が相互作用する相互作用部の幅は、z−カットLN基板1の幅(約1mm〜5mm程度)と比較して著しく狭い。従って、接地導体4b(13)と4c(13)の厚みを薄くすることにより、高価なAuの使用量を著しく低減することができ、コスト削減に貢献できる。
なお、厚みは薄いものの面積が広い接地導体4b(13)と4c(13)は高周波電気信号の観点からしっかりとした電気的アースの確立と電気的アースである筐体とのワイヤやリボンによる接続の観点から有用である。このことは本発明の全ての実施形態について言える。
このように、高周波電気信号が小さい外周部の接地導体の厚みを薄くすることにより、変調特性を損なわずに、かつ温度ドリフトを改善するという考え方は図5から図7に示した本発明の第2の実施形態にも適用可能であることは言うまでもない。また図9や図10において接地導体4b(13)と4c(13)の厚みのどちらかのみを薄くしてもある程度の効果がある。また、もともと高周波電気信号の電磁界は外周部では小さいので、非対称性がこの程度壊れても高周波電気信号の伝搬特性に影響を与えることは小さい。そしてこのことは本発明の全ての実施形態にあてはまる。
(第4の実施形態)
図12に本発明の第4の実施形態についてその上面図を示す。また、J−J´、K−K´における断面図を各々図13と図14に示す。ここで、11a、11b、11c、及び11eは空隙部である。なお、4b(14)、4b(15)、4b(16)、4c(14)、4c(15)、4c(16)は接地導体である。接地導体4b(15)は接地導体4b(14)と4b(16)を、また接地導体4c(15)は接地導体4c(14)と4c(16)を接続する接続用接地導体である。また、10bと10dは接地導体において高周波電気信号の強度が小さくなった部位であり、外周部と呼ぶ。8aと8bはリッジ部である。空隙部11aと11eは接地導体において導体が欠落した部位(あるいは、接地導体に開けた窓)とも言える。また、13aは空隙部11aを接地導体4b(15)で埋めた埋め込み部である。
本実施形態において特徴的なことは、接続用接地導体である接地導体4b(15)と接地導体4c(15)の厚みが異なっていることである。つまり、接地導体4b(15)の厚みを接地導体4c(15)の厚みよりも厚くしている。これにより、接地導体4b(15)と接地導体4c(15)の両方の厚みを薄くするよりは高周波電気信号の表皮効果の影響を受けにくいという利点がある。なお、本実施形態では接地導体4b(15)の厚みを接地導体4c(15)の厚みよりも厚くしたが、逆に接地導体4c(15)の厚みを接地導体4b(15)の厚みよりも厚くしても良いことは言うまでもない。
なお、空隙部11aの幅Wwと長さLwが、空隙部11eの幅Ww´と長さLw´と各々等しく、また接地導体4b(15)の長さLeと接地導体4c(15)の長さLe´も等しいとして図を描いているが、本発明はこれに限るものではない。さらに、空隙部11aや接地導体4b(15)の個数と空隙部11eや接地導体4c(15)の個数が各々異なっていても良い。そして、このことは本発明の全ての実施形態について言える。また、以上に述べた接地導体(接続用接地導体)や空隙部の長さや幅は相互作用光導波路3a、3bの長さ方向に対するものとする。なお、空隙部11aの幅Wwと、空隙部11eの幅Ww´は各々接続用接地導体4b(15)と接続用接地導体4c(15)の幅とも言える。
また、図1や図5に示した第1の実施形態や第2の実施形態と同様に、接続用接地導体である接地導体4b(15)と接地導体4c(15)を光導波路3aや3bの長手方向にずらしても良い。さらには、図8に示した第3の実施形態と同じく外周部の接地導体の厚みを薄くしても良いことは言うまでもない。
以上のように、本実施形態においても光導波路に関する構造を2本の光導波路の中間に設けた中心線Vについて対称とするとともに、進行波電極に関する基本的な構造を中心導体の中心線VIについて対称とすることにより、それらの対称性を有しない場合と比較して、環境温度変化に伴う温度ドリフトを抑圧し、かつ高周波電気信号のモードを安定させ、そして低損失に伝搬させている。
(各実施形態)
なお、本明細書において、進行波電極が中心導体の中心線に対して左右対称であることが高周波電気信号の伝搬の観点から最も望ましいと述べてきたが、これは主要な構造についてのことである。つまり、図1、図5、図8において、接続用接地導体4b(5)と4c(5)、4b(8)と4c(8)、4b(11)と4c(11)が光導波路の長手方向において(図1、図5、図8の紙面では上下方向に)互いにずれているが、進行波電極の基本的な構造である中心導体4aや光導波路の長手方向に連続な接地導体(4b(4)と4c(4)、4b(6)と4c(6)、また4b(7)と4c(7)、4b(9)と4c(9)、そして4b(10)と4c(10)、4b(12)と4c(12))については中心導体4の中心軸に対して対称であるため、高周波電気信号にとってはほぼ左右対称な電極構造と感じる。なお、相互作用部の長手方向のぎりぎりまで空隙部11b、11cを形成しても良いことは言うまでもない。つまり、厳密には対称でない構造であっても主要な部位でほぼ対称であれば、それも本発明に属することは言うまでもない。
そして、図12に示した本発明における第4の実施形態のように、中心線VIに対して対称な位置に接続用接地導体を配置した構造についても、接続用接地導体4b(15)と4c(15)が相互作用光導波路3a、3bの長手方向においてずれていても良い。
分岐光導波路の例としてマッハツェンダ光導波路を用いたが、方向性結合器などその他の分岐合波型の光導波路にも本発明を適用可能であることは言うまでもなく、考え方は3本以上の光導波路にも適用可能であるし、光導波路が1本の位相変調器にも適用できる。なお、位相変調器の場合には、その1本の光導波路と進行波電極が中心導体の中心線に対して対称となる。また光導波路の形成法としてはTi熱拡散法の他に、プロトン交換法など光導波路の各種形成法を適用できるし、バッファ層としてAl等のSiO以外の各種材料も適用できる。
また、z−カットLN基板について説明したが、x−カットやy−カットなどその他の面方位のLN基板でも良いし、リチウムタンタレート基板、さらには半導体基板など異なる材料の基板でも良い。さらに、電極は進行波電極として説明してきたが、原理的には集中定数電極でも良いので、本明細書における進行波電極は集中定数電極も含むものとする。
また、通常、各凹部は同じ程度の幅で形成するが、外周部に近い凹部が極めて広くなるように(外周部が凹部の底部とほぼ同じ高さとなるように)エッチングしている場合には、その広くエッチングされた部分を事実上の外周部と考え、本発明を適用することが可能である。
以上のように、本発明に係る光変調器は、高性能なリッジ型の光変調器において、基板に設ける凹部や光導波路に関する構造を2本の光導波路の中間に設けた中心線に対称とすることにより温度ドリフト特性を改善し、進行波電極の基本的な構造について、中心導体の中心線に対して構造対称とすることにより高周波電気信号の伝搬特性を改善し、かつ外周部のAuの厚みを薄くすることにより温度ドリフト特性のさらなる改善と、コストの低減を実現した光変調器として有用である。
本発明の第1の実施形態に係わる光変調器の概略構成を示す上面図 図1のD−D´における断面図 図1のE−E´における断面図 本発明の第1の実施形態の特性を説明する図 本発明の第2の実施形態に係わる光変調器の概略構成を示す上面図 図5のF−F´における断面図 図5のG−G´における断面図 本発明の第3の実施形態に係わる光変調器の概略構成を示す上面図 図8のH−H´における断面図 図8のI−I´における断面図 本発明の第3の実施形態の特性を説明する図 本発明の第4の実施形態に係わる光変調器の概略構成を示す上面図 図12のJ−J´における断面図 図12のK−K´における断面図 第1の従来技術の光変調器についての概略構成を示す斜視図 図15のA−A´における断面図 第2の従来技術の光変調器についての概略構成を示す断面図 第3の従来技術の光変調器についての概略構成を示す上面図 図18のB−B´における断面図 図18のC−C´における断面図
符号の説明
1:z−カットLN基板(LN基板)
2、14、15:SiOバッファ層(バッファ層)
3:マッハツェンダ光導波路(光導波路)
3a、3b:マッハツェンダ光導波路を構成する相互作用光導波路
4:進行波電極
4a:中心導体
4b、4b´、4b´´、4b´´´、4b(4)、4b(5)、4b(6)、4b(7)、4b(8)、4b(9)、4b(10)、4b(11)、4b(12)、4b(13)、4b(14)、4b(15)、4b(16)、4c、4c(4)、4c(5)、4c(6)、4c(7)、4c(8)、4c(9)、4c(10)、4c(11)、4c(12)、4c(13)、4c(14)、4c(15)、4c(16):接地導体
5:Si導電層
6:高周波(RF)電気信号給電線
7:高周波(RF)電気信号出力線
8a:リッジ部(中心導体用リッジ部)
8b、8c:リッジ部(接地導体用リッジ部)
9a、9b、9c、9d:凹部
10a、10b、10c、10d:外周部
11a、11b、11c、11d、11e、11f:空隙部(導体が欠落した部位)
13a:埋め込み部

Claims (8)

  1. 電気光学効果を有する基板と、前記基板に形成された2本の光導波路と、前記基板の上に形成されたバッファ層と、該バッファ層の上方に配置された中心導体と接地導体からなる進行波電極と、前記進行波電極を伝搬する高周波電気信号の電界強度が強い領域における前記基板の少なくとも一部を掘り下げることにより形成した凹部により構成されるリッジ部とを具備し、該リッジ部は前記中心導体が上方に形成された中心導体用リッジ部と、前記接地導体が上方に形成された接地導体用リッジ部からなり、前記中心導体用リッジ部に前記2本の光導波路のうちの1本が形成され、前記接地導体用リッジ部にもう1本の光導波路が形成されている光変調器において、
    前記凹部は第1、第2及び第3の凹部でなり、前記第1の凹部の中心線に対して対称な位置に前記第2及び第3の凹部が形成されており、前記第1の凹部と前記第2の凹部との間に前記中心導体用リッジ部が形成され、前記第1の凹部と前記第3の凹部との間に前記接地導体用リッジ部が形成されており、
    前記第1の凹部及び前記第2の凹部の上方には前記接地導体が形成されておらず、
    前記第3の凹部の上方には、前記接地導体が形成された部分と形成されていない部分とが、第1の接続用接地導体と第1の空隙部として光導波路方向に交互に形成されており、
    前記第2の凹部に隣接する前記中心導体用リッジ部でない側の基板上に形成された接地導体には、前記中心導体の中心線に対して前記第3の凹部と対称となる位置に、前記接地導体が形成された部分と形成されていない部分とが、第2の接続用接地導体と第2の空隙部として前記光導波路の方向に交互に形成されており、
    前記接地導体の前記第1の空隙部と前記第2の空隙部の少なくとも一部について前記光導波路の方向における位置、長さ、もしくは幅の少なくとも1つが異なって形成されていることを特徴とする光変調器。
  2. 電気光学効果を有する基板と、前記基板に形成された2本の光導波路と、前記基板の上に形成されたバッファ層と、該バッファ層の上方に配置された中心導体と接地導体からなる進行波電極と、前記進行波電極を伝搬する高周波電気信号の電界強度が強い領域における前記基板の少なくとも一部を掘り下げることにより形成した凹部により構成されるリッジ部とを具備し、該リッジ部は前記中心導体が上方に形成された中心導体用リッジ部と、前記接地導体が上方に形成された接地導体用リッジ部からなり、前記中心導体用リッジ部に前記2本の光導波路のうちの1本が形成され、前記接地導体用リッジ部にもう1本の光導波路が形成されている光変調器において、
    前記凹部は第1、第2及び第3の凹部でなり、前記第1の凹部の中心線に対して対称な位置に前記第2及び第3の凹部が形成されており、前記第1の凹部と前記第2の凹部との間に前記中心導体用リッジ部が形成され、前記第1の凹部と前記第3の凹部との間に前記接地導体用リッジ部が形成されており、
    前記第1の凹部及び前記第2の凹部の上方には前記接地導体が形成されておらず、
    前記第3の凹部の上方には、前記接地導体が形成された部分と形成されていない部分とが、第1の接続用接地導体と第1の空隙部として光導波路方向に交互に形成されており、
    前記第2の凹部に隣接する前記中心導体用リッジ部でない側の基板上に形成された接地導体には、前記中心導体の中心線に対して前記第3の凹部と対称となる位置に、前記接地導体が形成された部分と形成されていない部分とが、第2の接続用接地導体と第2の空隙部として前記光導波路の方向に交互に形成されており、
    前記第1の接続用接地導体と前記第2の接続用接地導体の少なくとも一部について前記光導波路の方向における位置、長さ、幅、もしくは厚みの少なくとも1つが異なって形成されていることを特徴とする光変調器。
  3. 前記第1の接続用接地導体または前記第2の接続用接地導体が、前記中心導体もしくは前記接地導体の少なくとも一部とほぼ同じ厚みを持つことを特徴とする請求項1もしくは請求項2に記載の光変調器。
  4. 前記第1の接続用接地導体または前記第2の接続用接地導体が、前記中心導体の厚みよりも薄いことを特徴とする請求項1もしくは請求項2に記載の光変調器。
  5. 前記第3の凹部に隣接する前記接地導体用リッジ部でない側の基板上に形成された接地導体の、前記高周波電気信号の電磁界が小さくなった領域である前記第3の凹部から所定距離離れた領域における厚みを、当該領域以外の領域における接地導体の厚みよりも薄く構成したことを特徴とする請求項1乃至請求項4の何れか1項に記載の光変調器。
  6. 前記第2の凹部に隣接する前記中心導体用リッジ部でない側の基板上に形成された接地導体の、前記高周波電気信号の電磁界が小さくなった領域である前記第2の凹部から所定距離離れた領域における厚みを、当該領域以外の領域における接地導体の厚みよりも薄く構成したことを特徴とする請求項1乃至請求項5の何れか1項に記載の光変調器。
  7. 前記基板がリチウムナイオベートからなることを特徴とする請求項1乃至請求項6の何れか1項に記載の光変調器。
  8. 前記基板が半導体からなることを特徴とする請求項1乃至請求項6の何れか1項に記載の光変調器。
JP2008213936A 2007-09-19 2008-08-22 光変調器 Expired - Fee Related JP5033084B2 (ja)

Priority Applications (3)

Application Number Priority Date Filing Date Title
JP2008213936A JP5033084B2 (ja) 2008-08-22 2008-08-22 光変調器
US12/678,534 US8170381B2 (en) 2007-09-19 2008-09-19 Optical modulator
PCT/JP2008/002589 WO2009037849A1 (ja) 2007-09-19 2008-09-19 光変調器

Applications Claiming Priority (1)

Application Number Priority Date Filing Date Title
JP2008213936A JP5033084B2 (ja) 2008-08-22 2008-08-22 光変調器

Publications (2)

Publication Number Publication Date
JP2010049073A true JP2010049073A (ja) 2010-03-04
JP5033084B2 JP5033084B2 (ja) 2012-09-26

Family

ID=42066195

Family Applications (1)

Application Number Title Priority Date Filing Date
JP2008213936A Expired - Fee Related JP5033084B2 (ja) 2007-09-19 2008-08-22 光変調器

Country Status (1)

Country Link
JP (1) JP5033084B2 (ja)

Cited By (1)

* Cited by examiner, † Cited by third party
Publication number Priority date Publication date Assignee Title
CN116953850A (zh) * 2023-09-19 2023-10-27 济南量子技术研究院 一种铌酸锂薄膜波导器件及其制备方法

Citations (4)

* Cited by examiner, † Cited by third party
Publication number Priority date Publication date Assignee Title
JPH04288518A (ja) * 1991-03-18 1992-10-13 Nippon Telegr & Teleph Corp <Ntt> 光変調素子
JPH1090638A (ja) * 1996-09-13 1998-04-10 Nippon Telegr & Teleph Corp <Ntt> 光制御素子
JP2004157500A (ja) * 2002-09-12 2004-06-03 Sumitomo Osaka Cement Co Ltd 光変調器
JP2006084537A (ja) * 2004-09-14 2006-03-30 Fujitsu Ltd 光デバイス

Patent Citations (5)

* Cited by examiner, † Cited by third party
Publication number Priority date Publication date Assignee Title
JPH04288518A (ja) * 1991-03-18 1992-10-13 Nippon Telegr & Teleph Corp <Ntt> 光変調素子
JPH1090638A (ja) * 1996-09-13 1998-04-10 Nippon Telegr & Teleph Corp <Ntt> 光制御素子
JP2004157500A (ja) * 2002-09-12 2004-06-03 Sumitomo Osaka Cement Co Ltd 光変調器
US20060147145A1 (en) * 2002-09-12 2006-07-06 Sumitomo Osaka Cement Co., Ltd. Optical modulator
JP2006084537A (ja) * 2004-09-14 2006-03-30 Fujitsu Ltd 光デバイス

Cited By (2)

* Cited by examiner, † Cited by third party
Publication number Priority date Publication date Assignee Title
CN116953850A (zh) * 2023-09-19 2023-10-27 济南量子技术研究院 一种铌酸锂薄膜波导器件及其制备方法
CN116953850B (zh) * 2023-09-19 2024-01-19 济南量子技术研究院 一种铌酸锂薄膜波导器件及其制备方法

Also Published As

Publication number Publication date
JP5033084B2 (ja) 2012-09-26

Similar Documents

Publication Publication Date Title
JP5113102B2 (ja) 光変調デバイス
JP4151798B2 (ja) 光変調器
US20100310206A1 (en) Optical modulator
JP5010559B2 (ja) 光変調器
JP5145402B2 (ja) 光変調器
JP2014123032A (ja) 光変調器
JP5162207B2 (ja) 光変調器
JP4671993B2 (ja) 光変調器
JP2007079249A (ja) 光変調器
JP5033084B2 (ja) 光変調器
US8170381B2 (en) Optical modulator
JP4170376B1 (ja) 光変調器
JP5033083B2 (ja) 光変調器
JP5025600B2 (ja) 光変調器
JP5162196B2 (ja) 光変調器
JP4754608B2 (ja) 光変調器
JP5075055B2 (ja) 光変調器
JP5145403B2 (ja) 光変調器
JP5010408B2 (ja) 光変調器
JP2014153537A (ja) 光変調器
JP4922086B2 (ja) 光変調器
JP5162223B2 (ja) 光変調器
JP5124382B2 (ja) 光変調器
JP2009015118A (ja) 光変調器
JP2008077036A (ja) 光変調器

Legal Events

Date Code Title Description
A621 Written request for application examination

Free format text: JAPANESE INTERMEDIATE CODE: A621

Effective date: 20091204

TRDD Decision of grant or rejection written
A01 Written decision to grant a patent or to grant a registration (utility model)

Free format text: JAPANESE INTERMEDIATE CODE: A01

Effective date: 20120612

A01 Written decision to grant a patent or to grant a registration (utility model)

Free format text: JAPANESE INTERMEDIATE CODE: A01

A61 First payment of annual fees (during grant procedure)

Free format text: JAPANESE INTERMEDIATE CODE: A61

Effective date: 20120629

R150 Certificate of patent (=grant) or registration of utility model

Free format text: JAPANESE INTERMEDIATE CODE: R150

FPAY Renewal fee payment (prs date is renewal date of database)

Free format text: PAYMENT UNTIL: 20150706

Year of fee payment: 3

LAPS Cancellation because of no payment of annual fees