JP2010048588A - 回転体のアンバランス量算出方法及び装置 - Google Patents
回転体のアンバランス量算出方法及び装置 Download PDFInfo
- Publication number
- JP2010048588A JP2010048588A JP2008211303A JP2008211303A JP2010048588A JP 2010048588 A JP2010048588 A JP 2010048588A JP 2008211303 A JP2008211303 A JP 2008211303A JP 2008211303 A JP2008211303 A JP 2008211303A JP 2010048588 A JP2010048588 A JP 2010048588A
- Authority
- JP
- Japan
- Prior art keywords
- unbalance amount
- rotating body
- rotation speed
- unbalance
- data
- Prior art date
- Legal status (The legal status is an assumption and is not a legal conclusion. Google has not performed a legal analysis and makes no representation as to the accuracy of the status listed.)
- Granted
Links
- 238000000034 method Methods 0.000 title claims abstract description 9
- 238000004364 calculation method Methods 0.000 claims abstract description 28
- 238000012935 Averaging Methods 0.000 claims abstract description 8
- 238000001514 detection method Methods 0.000 claims description 8
- 238000005259 measurement Methods 0.000 description 22
- 230000001133 acceleration Effects 0.000 description 6
- 238000012937 correction Methods 0.000 description 4
- 238000010586 diagram Methods 0.000 description 3
- 230000003247 decreasing effect Effects 0.000 description 2
- 238000012546 transfer Methods 0.000 description 2
- 238000006073 displacement reaction Methods 0.000 description 1
- 238000004519 manufacturing process Methods 0.000 description 1
- 238000012986 modification Methods 0.000 description 1
- 230000004048 modification Effects 0.000 description 1
- 230000003287 optical effect Effects 0.000 description 1
- 238000012360 testing method Methods 0.000 description 1
Images
Landscapes
- Testing Of Balance (AREA)
Abstract
【解決手段】所定範囲の回転数領域で回転数毎に影響係数F(N)を求め、回転する回転体7の回転角度及び振動を検出して回転数毎の振動データV(N)を算出し、回転数毎の振動データV(N)と、それぞれの回転数に対応した影響係数F(N)とに基づいて、回転数毎のアンバランス量U(N)を算出し、得られた回転数毎のアンバランス量U(N)を平均化して、回転体7のアンバランス量Uを算出する。
【選択図】図1
Description
演算器48によりアンバランス量が算出されたら、このアンバランス量に基づいて、コンプレッサインペラ46の先端部に設けられたナット51の一部を除去加工することで、アンバランスを修正する。
(1)本発明は、回転体の振動データと、回転体のアンバランス量が振動に与える影響を示す影響係数とに基づいて、前記回転体のアンバランス量を算出する回転体のアンバランス量算出方法であって、所定範囲の回転数領域で回転数毎に影響係数F(N)を求め、回転する回転体の回転角度及び振動を検出して回転数毎の振動データV(N)を算出し、回転数毎の振動データV(N)と、それぞれの回転数に対応した影響係数F(N)とに基づいて、回転数毎のアンバランス量U(N)を算出し、得られた回転数毎のアンバランス量U(N)を平均化して、回転体のアンバランス量Uを算出する、ことを特徴とする。
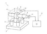
マウント4は、回転体7を備えた回転機械6を装着し、しっかりと固定できるように構成されている。アンバランス計測の対象となる回転機械6は、例えば、過給機、圧縮機、タービン、モータなどである。
また、この振動データV(N)は計算上の理由からベクトル量で扱うのが都合がよいため、振幅Sを大きさ、位相θを偏角とした複素数として扱う。
まず、アンバランス計測装置1のマウント4に、計測対象の回転機械6ではなく、回転機械6と同等に模擬された模擬体(図示せず)を取り付けて、模擬体の回転体を回転させ、回転数を増速、減速するなどして、広い回転数領域で回転数毎の振動データを取得する。このときの振動データを、
V0(N)=ar0(N)+j×ai0(N)・・・(1)
とする。Nは回転数である。
次に、図3に示すように、模擬体の回転体7´上の基準位置からθの位置に、重さmのおもり9を付加し、この状態で模擬体の回転体7´を回転させ、回転数を増速、減速するなどして、広い回転数範囲で回転数毎の振動データを取得する。このときの振動データを、
V1(N)=ar1(N)+j×ai1(N)・・・(2)
とする。
上記(1)、(2)で取得した振動データから、下記(3)式により、広い回転数領域での影響係数F(N)を算出する。
影響係数F(N)={V1(N)−V0(N)}/{m(cosθ+jsinθ)}・・・(3)
演算器13は、以上のようにして回転数毎の影響係数F(N)を算出し、これを記憶しておく。そして、アンバランス計測装置1のマウント4に計測対象の回転機械6を取り付けて、回転体7をアンバランス計測のための特定の回転数で回転させ、振動データを取得する。このとき、回転体7の回転数は特定の回転数となるように制御されるが、実際には回転数の変動があるため、複数の回転数についてのデータが得られる。このときの振動データを、
V3(N)=ar3(N)+jai3(N)・・・(4)
とする。
U(N)=V3(N)/F(N)=A(N)+jB(N)・・・(5)
演算器13は、回転数毎のアンバランス量U(N)を算出し、得られた回転数毎のアンバランス量U(N)を平均化して、回転体7のアンバランス量Uを算出する。
(アンバランス量の大きさ)=(A2+B2)1/2
(アンバランス角度)=tan−1(B/A)
として算出できる。
この場合、アンバランス量Uは、下記(6)式で算出することができる。Dsはデータ数の総和である。
U=(U1×D1+U2×D2+・・・Un×Dn)/Ds・・・(6)
2 ベース
3 バネ部材
4 マウント
6 回転機械
7 回転体
8 軸
9 おもり
10 アンバランス量算出装置
11 回転検出器
12 振動センサ
Claims (6)
- 回転体の振動データと、回転体のアンバランス量が振動に与える影響を示す影響係数とに基づいて、前記回転体のアンバランス量を算出する回転体のアンバランス量算出方法であって、
所定範囲の回転数領域で回転数毎に影響係数F(N)を求め、
回転する回転体の回転角度及び振動を検出して回転数毎の振動データV(N)を算出し、
回転数毎の振動データV(N)と、それぞれの回転数に対応した影響係数F(N)とに基づいて、回転数毎のアンバランス量U(N)を算出し、
得られた回転数毎のアンバランス量U(N)を平均化して、回転体のアンバランス量Uを算出する、ことを特徴とする回転体のアンバランス量算出方法:
ここで、前記振動データV(N)は、回転数の周波数と同じ周波数成分をもつ振動の振幅Sと、回転体の周波数と同じ周波数成分をもつ振動の、回転角度の基準位置に対する位相θからなる情報であり、回転数Nごとに算出される。 - 回転数毎のアンバランス量U(N)を平均化する段階において、回転数毎のデータ数の頻度に基づいて各アンバランス量U(N)に重み付けを行って平均化する、請求項1記載の回転体のアンバランス量算出方法。
- 回転数毎の各アンバランス量U(N)に重み付けを行う段階において、同一回転数において異なるアンバランス量のデータが複数ある場合、代表的に選択した一つのデータ、あるいは当該複数のデータのうちの一部または全部の平均値を、当該回転数におけるアンバランス量U(N)とする、請求項2記載の回転体のアンバランス量算出方法。
- 回転体の振動データと、回転体のアンバランス量が振動に与える影響を示す影響係数とに基づいて、前記回転体のアンバランス量を算出する回転体のアンバランス量算出装置であって、
回転する回転体の回転角度及び振動を検出するデータ検出手段と、
回転体のアンバランス量Uを算出する演算器とを備え、
前記演算器は、データ検出手段からの検出データに基づいて回転数毎の振動データV(N)を算出し、回転数毎の振動データV(N)と、それぞれの回転数に対応した影響係数F(N)とに基づいて、回転数毎のアンバランス量U(N)を算出し、得られた回転数毎のアンバランス量U(N)を平均化して、回転体のアンバランス量Uを算出する、ことを特徴とする回転体のアンバランス量算出装置:
ここで、前記振動データV(N)は、回転数の周波数と同じ周波数成分をもつ振動の振幅Sと、回転体の周波数と同じ周波数成分をもつ振動の、回転角度の基準位置に対する位相θからなる情報であり、回転数Nごとに算出される。 - 前記演算器は、回転数毎のアンバランス量U(N)を平均化する段階において、回転数毎のデータ数の頻度に基づいて各アンバランス量U(N)に重み付けを行って平均化する、請求項4記載の回転体のアンバランス量算出装置。
- 前記演算器は、回転数毎の各アンバランス量U(N)に重み付けを行う段階において、同一回転数において異なるアンバランス量のデータが複数ある場合、代表的に選択した一つのデータ、あるいは当該複数のデータのうちの一部または全部の平均値を、当該回転数におけるアンバランス量U(N)とする、請求項5記載の回転体のアンバランス量算出装置。
Priority Applications (1)
| Application Number | Priority Date | Filing Date | Title |
|---|---|---|---|
| JP2008211303A JP5418805B2 (ja) | 2008-08-20 | 2008-08-20 | 回転体のアンバランス量算出方法及び装置 |
Applications Claiming Priority (1)
| Application Number | Priority Date | Filing Date | Title |
|---|---|---|---|
| JP2008211303A JP5418805B2 (ja) | 2008-08-20 | 2008-08-20 | 回転体のアンバランス量算出方法及び装置 |
Publications (2)
| Publication Number | Publication Date |
|---|---|
| JP2010048588A true JP2010048588A (ja) | 2010-03-04 |
| JP5418805B2 JP5418805B2 (ja) | 2014-02-19 |
Family
ID=42065798
Family Applications (1)
| Application Number | Title | Priority Date | Filing Date |
|---|---|---|---|
| JP2008211303A Active JP5418805B2 (ja) | 2008-08-20 | 2008-08-20 | 回転体のアンバランス量算出方法及び装置 |
Country Status (1)
| Country | Link |
|---|---|
| JP (1) | JP5418805B2 (ja) |
Cited By (10)
| Publication number | Priority date | Publication date | Assignee | Title |
|---|---|---|---|---|
| JP2012002615A (ja) * | 2010-06-16 | 2012-01-05 | Ihi Corp | アンバランス量測定方法と装置 |
| JP2012013596A (ja) * | 2010-07-02 | 2012-01-19 | Ihi Corp | 回転体とそのバランス修正方法 |
| JP2012037409A (ja) * | 2010-08-09 | 2012-02-23 | Ihi Corp | バランス修正装置と方法 |
| JP2013044583A (ja) * | 2011-08-23 | 2013-03-04 | Ihi Corp | 回転角検出装置と方法 |
| KR20150076019A (ko) * | 2013-12-26 | 2015-07-06 | 현대제철 주식회사 | 임펠러 상태 감시 방법 및 그 장치 |
| CN112729682A (zh) * | 2020-12-24 | 2021-04-30 | 厦门大学 | 一种获取转子等效不平衡量的方法和改善转子临界转速振动响应的方法 |
| CN114429000A (zh) * | 2022-04-06 | 2022-05-03 | 江铃汽车股份有限公司 | 一种传动系统动不平衡整车响应预测方法、系统及设备 |
| CN118533371A (zh) * | 2024-07-22 | 2024-08-23 | 中国航发湖南动力机械研究所 | 发动机转子最大不平衡量的确定方法及系统、电子设备、存储介质 |
| AU2023266230B2 (en) * | 2022-12-02 | 2025-02-27 | Toshiba Energy Systems & Solutions Corporation | Rotary machine diagnostic device and rotary machine diagnostic method |
| KR102803510B1 (ko) * | 2024-09-30 | 2025-05-08 | 주식회사 태양전기 | 각도 조절 기능을 구비한 ec팬 밸런싱 측정용 지지 장치 |
Families Citing this family (1)
| Publication number | Priority date | Publication date | Assignee | Title |
|---|---|---|---|---|
| CN109724749A (zh) * | 2018-12-26 | 2019-05-07 | 河钢股份有限公司承德分公司 | 转子现场动平衡实验中求取机械滞后角的计算方法 |
Citations (4)
| Publication number | Priority date | Publication date | Assignee | Title |
|---|---|---|---|---|
| JP2002350271A (ja) * | 2001-03-27 | 2002-12-04 | Goodyear Tire & Rubber Co:The | バランスおよび低速ユニフォーミティデータを用いたタイヤのユニフォーミティの予測 |
| JP2004020383A (ja) * | 2002-06-17 | 2004-01-22 | Denso Corp | バランシングマシンのワーク回転数依存特性の補正方法 |
| JP2004271484A (ja) * | 2003-03-12 | 2004-09-30 | Akashi Corp | 回転試験装置 |
| JP2008102049A (ja) * | 2006-10-20 | 2008-05-01 | Hitachi Ltd | バランス修正装置 |
-
2008
- 2008-08-20 JP JP2008211303A patent/JP5418805B2/ja active Active
Patent Citations (4)
| Publication number | Priority date | Publication date | Assignee | Title |
|---|---|---|---|---|
| JP2002350271A (ja) * | 2001-03-27 | 2002-12-04 | Goodyear Tire & Rubber Co:The | バランスおよび低速ユニフォーミティデータを用いたタイヤのユニフォーミティの予測 |
| JP2004020383A (ja) * | 2002-06-17 | 2004-01-22 | Denso Corp | バランシングマシンのワーク回転数依存特性の補正方法 |
| JP2004271484A (ja) * | 2003-03-12 | 2004-09-30 | Akashi Corp | 回転試験装置 |
| JP2008102049A (ja) * | 2006-10-20 | 2008-05-01 | Hitachi Ltd | バランス修正装置 |
Cited By (12)
| Publication number | Priority date | Publication date | Assignee | Title |
|---|---|---|---|---|
| JP2012002615A (ja) * | 2010-06-16 | 2012-01-05 | Ihi Corp | アンバランス量測定方法と装置 |
| JP2012013596A (ja) * | 2010-07-02 | 2012-01-19 | Ihi Corp | 回転体とそのバランス修正方法 |
| JP2012037409A (ja) * | 2010-08-09 | 2012-02-23 | Ihi Corp | バランス修正装置と方法 |
| JP2013044583A (ja) * | 2011-08-23 | 2013-03-04 | Ihi Corp | 回転角検出装置と方法 |
| KR20150076019A (ko) * | 2013-12-26 | 2015-07-06 | 현대제철 주식회사 | 임펠러 상태 감시 방법 및 그 장치 |
| KR101581512B1 (ko) | 2013-12-26 | 2015-12-30 | 현대제철 주식회사 | 임펠러 상태 감시 방법 및 그 장치 |
| CN112729682A (zh) * | 2020-12-24 | 2021-04-30 | 厦门大学 | 一种获取转子等效不平衡量的方法和改善转子临界转速振动响应的方法 |
| CN114429000A (zh) * | 2022-04-06 | 2022-05-03 | 江铃汽车股份有限公司 | 一种传动系统动不平衡整车响应预测方法、系统及设备 |
| CN114429000B (zh) * | 2022-04-06 | 2022-07-08 | 江铃汽车股份有限公司 | 一种传动系统动不平衡整车响应预测方法、系统及设备 |
| AU2023266230B2 (en) * | 2022-12-02 | 2025-02-27 | Toshiba Energy Systems & Solutions Corporation | Rotary machine diagnostic device and rotary machine diagnostic method |
| CN118533371A (zh) * | 2024-07-22 | 2024-08-23 | 中国航发湖南动力机械研究所 | 发动机转子最大不平衡量的确定方法及系统、电子设备、存储介质 |
| KR102803510B1 (ko) * | 2024-09-30 | 2025-05-08 | 주식회사 태양전기 | 각도 조절 기능을 구비한 ec팬 밸런싱 측정용 지지 장치 |
Also Published As
| Publication number | Publication date |
|---|---|
| JP5418805B2 (ja) | 2014-02-19 |
Similar Documents
| Publication | Publication Date | Title |
|---|---|---|
| JP5418805B2 (ja) | 回転体のアンバランス量算出方法及び装置 | |
| US10823632B2 (en) | Method for measuring the unbalance of flexible rotors by means of position-measuring sensors | |
| JP5288320B2 (ja) | 高速回転体の回転バランス計測装置及び方法 | |
| CN110006590B (zh) | 获取转子的不平衡量和平衡机的不平衡量的方法 | |
| JP5521951B2 (ja) | 回転体のアンバランス修正方法及びアンバランス修正量演算装置 | |
| US20150185107A1 (en) | Method and device for balancing ct gantry | |
| JP5035755B2 (ja) | 基準加振機 | |
| JP2010017842A (ja) | アンバランス状態を定量的に検出する方法および装置と工作物のクランプ状態を検出する方法 | |
| CN103115726A (zh) | 一种基于应变的旋转零部件动平衡方法 | |
| US6950763B1 (en) | Optimal shaft balance using integer programming to handle discrete adjustment | |
| JP7382143B2 (ja) | 均衡化機械を較正する方法 | |
| JP5553215B2 (ja) | アンバランス量測定方法と装置 | |
| JP2005308537A (ja) | 釣合い解析器及びこの釣合い解析器による釣合い解析方法 | |
| CN112710429B (zh) | 一种基于减材的动平衡校正方法及设备 | |
| JP5622178B2 (ja) | 影響係数取得方法 | |
| JP5428550B2 (ja) | 影響係数取得方法 | |
| KR20090102057A (ko) | 선형 시변 각속도 모델을 이용한 동적 발란싱 장치 및 방법 | |
| JP4098429B2 (ja) | 釣合い試験機及び釣合い試験方法 | |
| JP5257762B2 (ja) | 高速回転体の回転バランス計測装置及び方法 | |
| JP5170837B2 (ja) | 回転角度検出方法及び装置 | |
| JP5459533B2 (ja) | アンバランス計測方法と装置 | |
| JP4078193B2 (ja) | バランス測定機およびバランス調整機 | |
| JP5645066B2 (ja) | 影響係数取得方法と装置 | |
| JP2002214034A (ja) | 高速回転機器の振動レベル演算確認装置及び方法 | |
| US6408675B1 (en) | Eccentric error corrector and method of eccentric error correction for acceleration sensor in acceleration generating apparatus |
Legal Events
| Date | Code | Title | Description |
|---|---|---|---|
| A621 | Written request for application examination |
Free format text: JAPANESE INTERMEDIATE CODE: A621 Effective date: 20110627 |
|
| A131 | Notification of reasons for refusal |
Free format text: JAPANESE INTERMEDIATE CODE: A131 Effective date: 20130716 |
|
| A521 | Written amendment |
Free format text: JAPANESE INTERMEDIATE CODE: A523 Effective date: 20130822 |
|
| TRDD | Decision of grant or rejection written | ||
| A01 | Written decision to grant a patent or to grant a registration (utility model) |
Free format text: JAPANESE INTERMEDIATE CODE: A01 Effective date: 20131024 |
|
| A61 | First payment of annual fees (during grant procedure) |
Free format text: JAPANESE INTERMEDIATE CODE: A61 Effective date: 20131106 |
|
| R151 | Written notification of patent or utility model registration |
Ref document number: 5418805 Country of ref document: JP Free format text: JAPANESE INTERMEDIATE CODE: R151 |
|
| R250 | Receipt of annual fees |
Free format text: JAPANESE INTERMEDIATE CODE: R250 |
|
| R250 | Receipt of annual fees |
Free format text: JAPANESE INTERMEDIATE CODE: R250 |
