JP2010046806A - 画像形成装置 - Google Patents

画像形成装置 Download PDF

Info

Publication number
JP2010046806A
JP2010046806A JP2008210367A JP2008210367A JP2010046806A JP 2010046806 A JP2010046806 A JP 2010046806A JP 2008210367 A JP2008210367 A JP 2008210367A JP 2008210367 A JP2008210367 A JP 2008210367A JP 2010046806 A JP2010046806 A JP 2010046806A
Authority
JP
Japan
Prior art keywords
ink
recording head
head
unit
cap member
Prior art date
Legal status (The legal status is an assumption and is not a legal conclusion. Google has not performed a legal analysis and makes no representation as to the accuracy of the status listed.)
Granted
Application number
JP2008210367A
Other languages
English (en)
Other versions
JP5107826B2 (ja
Inventor
Tatsuro Watanabe
達郎 渡辺
Current Assignee (The listed assignees may be inaccurate. Google has not performed a legal analysis and makes no representation or warranty as to the accuracy of the list.)
Ricoh Co Ltd
Original Assignee
Ricoh Co Ltd
Priority date (The priority date is an assumption and is not a legal conclusion. Google has not performed a legal analysis and makes no representation as to the accuracy of the date listed.)
Filing date
Publication date
Application filed by Ricoh Co Ltd filed Critical Ricoh Co Ltd
Priority to JP2008210367A priority Critical patent/JP5107826B2/ja
Publication of JP2010046806A publication Critical patent/JP2010046806A/ja
Application granted granted Critical
Publication of JP5107826B2 publication Critical patent/JP5107826B2/ja
Expired - Fee Related legal-status Critical Current
Anticipated expiration legal-status Critical

Links

Images

Landscapes

  • Ink Jet (AREA)

Abstract

【課題】インクの初期充填を行うときに気泡排出を確実に行うために初期充填時間がかかる。
【解決手段】キャップ部材62で記録ヘッド51のヘッド101のノズル面104を封止した状態で、吸引ポンプ63を駆動してヘッド101にインクタンク81からインクを初期充填するとき、ヘッド101にインクが到達する設定時間tが経過するまでは吸引ポンプ63を連続駆動してインクタンク81からヘッド101に対して連続的なインクの流れを発生させ、ヘッド101にインクが到達した後は吸引ポンプ63を間歇的に駆動して間歇的なインクの流れを発生させる制御をする。
【選択図】図8

Description

本発明は画像形成装置に関し、特に液滴を吐出する記録ヘッドを備える画像形成装置におけるインク供給装置に関する。
プリンタ、ファクシミリ、複写装置、プロッタ、これらの複合機等の画像形成装置として、例えばインク液滴を吐出する記録ヘッドを用いた液体吐出記録方式の画像形成装置としてインクジェット記録装置などが知られている。この液体吐出記録方式の画像形成装置は、記録ヘッドからインク滴を、搬送される用紙(紙に限定するものではなく、OHPなどを含み、インク滴、その他の液体などが付着可能なものの意味であり、被記録媒体あるいは記録媒体、記録紙、記録用紙などとも称される。)に対して吐出して、画像形成(記録、印字、印写、印刷も同義語で使用する。)を行なうものであり、記録ヘッドが主走査方向に移動しながら液滴を吐出して画像を形成するシリアル型画像形成装置と、記録ヘッドが移動しない状態で液滴を吐出して画像を形成するライン型ヘッドを用いるライン型画像形成装置がある。
なお、本願において、液体吐出方式の「画像形成装置」は、紙、糸、繊維、布帛、皮革、金属、プラスチック、ガラス、木材、セラミックス等の媒体に液体を吐出して画像形成を行う装置を意味し、また、「画像形成」とは、文字や図形等の意味を持つ画像を媒体に対して付与することだけでなく、パターン等の意味を持たない画像を媒体に付与すること(単に液滴を媒体に着弾させること)をも意味する。また、「インク」とは、インクと称されるものに限らず、記録液、定着処理液、液体などと称されるものなど、画像形成を行うことができるすべての液体の総称として用い、例えば、DNA試料、レジスト、パターン材料なども含まれる。
このような画像形成装置(以下、単に「インクジェット記録装置」ともいう。)において、記録ヘッドにインクタンクからインクを初めて供給する初期充填を行うときに、記録ヘッド内部やインク供給路内の気泡を確実に排出する必要がある。特に、記録ヘッド内部に気泡が残っていると吐出口(ノズル)から正常な滴吐出を行えず、画像に白スジが発生するなど画像不良を生じることになる。
従来、インクカートリッジ(インクタンク)と記録ヘッド間のインク流路内部を負圧に形成した後、大気圧に開放して瞬間的なインクの流れを作って気泡を排出させることが知られている。この負圧形成と大気開放の繰り返しの方法としては、インク流路途中にバルブ(電磁弁など)を設けて、吸引ポンプによるインク流路内の負圧が蓄積された状態を作ってバルブを開弁制御し、このバルブの開弁によって生じる瞬間的なインクの速い流れによって気泡を排出させる方法や、吸引ポンプの吸引動作(駆動)を間欠的に行って瞬間的なインクの速い流れを作り出して気泡を排出させる方法などが知られている。
例えば、特許文献1に記載されているように、インクカートリッジとヘッドとのインク流路にバルブユニットが配置され、ヘッドクリーニング動作に連動してバルブユニットの開閉が制御できるように構成されて、吸引ポンプによる負圧が蓄積された状態で開弁制御され、継続して吸引ポンプを駆動し続ける制御をして、バルブユニットの開弁によって生じる瞬間的なインクの速い流れによって気泡を排出させることが知られている。
また、特許文献2に記載されているように、ポンプの断続的作動により圧力を多段階に変化させて吸引又は加圧によりヘッド吐出部からインクを排出することが知られている。
また、特許文献3に記載されているように、インク吸引によってヘッドの維持回復を行う印字回復手段を備え、間欠的に吸引動作を複数回実行するモード、インク流路にインクが充填された段階で連続的に吸引動作を実行するモードなどを行うことが知られている。
特開2007−98959号公報 特開平11−348318号公報 特許第3484869号公報
しかしながら、従来は記録ヘッドにインクの初期充填を行うとき、インク流路内にインクが満たされていない状態から間欠的にインクの供給を行っているために、瞬間的なインクの速い流れは作れるが、吸引されるインクの流量が多くなく、インク流路内を完全に満たすまでに時間を要してしまい、インク初期充填時間が長くなってユーザーの待ち時間を長引かせてしまうなどの課題がある。
本発明は上記の課題に鑑みてなされたものであり、記録ヘッドに対するインクの初期充填時に気泡排出性を維持しつつ充填時間を短縮することを目的とする。
上記の課題を解決するために、本発明に係る画像形成装置は、
液滴を吐出する記録ヘッドと、
前記記録ヘッドに供給するインクを収容するインクタンクと、
前記記録ヘッドのノズル面を封止するキャップ部材及びこのキャップ部材に接続された吸引手段と、
前記キャップ部材で前記記録ヘッドのノズル面を封止した状態で、前記吸引手段を駆動して前記記録ヘッドに前記インクタンクからインクを初期充填するとき、前記記録ヘッドにインクが到達するまでは前記吸引手段を連続駆動して前記インクタンクから前記記録ヘッドに対して連続的なインクの流れを発生させ、前記記録ヘッドにインクが到達した後は前記吸引手段を間歇的に駆動して間歇的なインクの流れを発生させる制御をする制御手段と、を備えている
構成とした。
本発明に係る画像形成装置は、
液滴を吐出する記録ヘッドと、
前記記録ヘッドに供給するインクを収容するインクタンクと、
前記記録ヘッドのノズル面を封止するキャップ部材及びこのキャップ部材に接続された吸引手段と、
前記キャップ部材と吸引手段との間の吸引経路を開閉する開閉手段と、
前記キャップ部材で前記記録ヘッドのノズル面を封止した状態で、前記吸引手段を駆動して前記記録ヘッドに前記インクタンクからインクを初期充填するとき、前記吸引手段を連続駆動しながら、前記記録ヘッドにインクが到達するまでは前記開閉手段を開いて前記インクタンクから前記記録ヘッドに対して連続的なインクの流れを発生させ、前記記録ヘッドにインクが到達した後は前記開閉手段の開閉を繰り返して間歇的なインクの流れを発生させる制御をする制御手段と、を備えている
構成とした。
これらの本発明に係る画像形成装置において、前記インクタンクと前記記録ヘッドとの間の流路には、前記記録ヘッドの流入口部付近にインクの有無を検出する検出手段を備えている構成とできる。
本発明に係る画像形成装置によれば、インクを初期充填するとき、記録ヘッドにインクが到達するまではインクタンクから記録ヘッドに対して連続的なインクの流れを発生させ、記録ヘッドにインクが到達した後は間歇的なインクの流れを発生させるので、気泡排出性を維持しつつ初期充填時間を短縮することができる。
以下、本発明の実施の形態について添付図面を参照して説明する。まず、本発明の第1実施形態に係る画像形成装置の一例について図1及び図2を参照して説明する。なお、図1は同画像形成装置の全体構成を説明する概略構成図、図2は同装置の平面説明図である。
この画像形成装置はライン型画像形成装置であり、装置本体1と、用紙Pを積載し給紙する給紙トレイ2と、印刷された用紙Pを排紙積載する排紙トレイ3と、用紙Pを給紙トレイ2から排紙トレイ3まで搬送する搬送ユニット4と、搬送ユニット4によって搬送される用紙Pに液滴を吐出して印字を行う画像形成ユニット5と、印刷終了後又は所要のタイミングで画像形成ユニット5の各ヘッドの維持回復を行う維持回復機構であるクリーニング装置6と、クリーニング装置6を開閉する搬送ガイド部7と、画像形成ユニット5の各ヘッドにインクを供給するインクタンクユニット8と、インクタンクユニット8にインクを供給するメインタンクユニット9とを備えている。
装置本体1は、図示しない前後側板及びステーなどで構成されており、給紙トレイ2上に積載されている用紙Pは、分離ローラ21及び給紙ローラ22によって1枚ずつ搬送ユニット4に給紙される。
搬送ユニット4は、搬送駆動ローラ41aと搬送従動ローラ41bと、これらのローラ41a、41b間に掛け回された無端状の搬送ベルト43とを備えている。この搬送ベルト43の表面には複数の図示しない穴が形成されており、搬送ベルト43の下部には用紙Pを吸引する吸引ファン44が配置されている。また、搬送駆動ローラ41a、搬送従動ローラ41b上部には、それぞれ搬送ガイドローラ42a、42bが図示しないガイドに保持されて、自重にてベルト43に当接している。
搬送ベルト43は、搬送駆動ローラ41aが図示しないモータにより回転されることで周回移動し、用紙Pは搬送ベルト43上に吸引ファン44により吸い付けられ、搬送ベルト43の周回移動によって搬送される。なお、搬送従動ローラ41b、搬送ガイドローラ42a、42bは搬送ベルト43に従動して回転する。
搬送ユニット4の上部には用紙Pに印字する液滴を吐出する複数の記録ヘッド51で構成される記録ヘッドユニット50を備える画像形成ユニット5が矢示A方向に移動可能に配置されている。また、この画像形成ユニットユニット5は、維持回復動作時(クリーニング時)にはクリーニング装置6上方まで移動される。
画像形成ユニット5の記録ヘッドユニット50は、イエロー(Y)、マゼンタ(M)、シアン(C)、ブラック(K)の各色インクを吐出する複数の記録ヘッド51y、51m、51c、51k(以下、色の区別をしないときは、y、m、c、kのサブ符号を添えない符号を用いる。他の部材等についても同様である。)がアレイベース部材53に取り付けられている。
各記録ヘッド51は、図3に示すように、ヘッド支持部材100に10個のヘッド101A〜101Jを2列千鳥状に配置している。各ヘッド101は、図4に示すように、液滴を吐出する複数のノズル102を並べて配置したノズル列103を2列千鳥状に配置したノズル面104を有している。なお、記録ヘッドユニット50の構成は、これらの例に限るものではない。
また、画像形成ユニット5は、記録ヘッドユニット50の上方に、各記録ヘッド51に所要の色のインクを供給する分岐手段である分岐部材52が配置され、分岐部材52と記録ヘッド51間は供給チューブ53にて接続されている。分岐部材52の上流側にはインクタンクユニット8のインクタンク81(図示の都合上1つのインクタンクのみ符号を付している。)が配置され、供給チューブ82を介して記録ヘッド51のディストリビュータ52に供給され、インクタンク81と記録ヘッド51の各ヘッド101との水頭差により各ヘッド101に負圧が形成される。さらに、インクタンク81の上流側にはメインタンクユニット9が配置され、メインタンク91から供給チューブ92を介してインクがインクタンク81に供給される。
搬送ユニット4の下流側には用紙Pを排紙トレイ3に排紙する搬送ガイド部7が設けられている。搬送ガイド部7にて案内されて搬送される用紙Pは排紙トレイ3に排紙される。排紙トレイ3は、用紙Pの幅方向を規制する対のサイドフェンス31と用紙Pの先端を規制するエンドフェンス32を備えている。
維持回復機構(クリーニング装置)6は、画像形成ユニット5の各記録ヘッド51に対応して、4列分のクリーニング手段61が配置され、1つのクリーニング手段61は記録ヘッド51の10個のヘッド101に対応する10個のキャップ部材62及び図示しないがワイパ部材などで構成されている。なお、キャップ部材62とは独立して上下動させることができる構成としている。さらに、クリーニング手段61の下方には、キャップ部材62でヘッドユニット100のノズル面104をキャッピング(封止)した状態でヘッド101のノズル102からインクを吸引するための吸引手段である吸引ポンプ63が配置されている。
また、この画像形成装置においては、印刷終了後、液滴を吐出する記録ヘッド51をクリーニング手段61でキャッピングした状態でノズル102からインクを吸引する場合、あるいは、記録ヘッド51のヘッドのノズル面104に付着したインクをクリーニング手段61のワイパ部材で清掃する場合は、図5にも示すように、印刷停止後、搬送ユニット4全体が搬送従動ローラ41bを支点に矢印B方向に回動し、画像形成ユニット5との間の空間を画像形成時よりも大きくすることで、画像形成ユニット5の移動スペースを確保するようにしている。このとき、クリーニング装置6上部に配置されている搬送ガイド部7の搬送ガイド板71も支点72にて矢印C方向上方に回動され、クリーニング装置6の上方が開放される。
そして、搬送ユニット4と搬送ガイド部7がそれぞれ解放(解除)された後に、画像形成ユニット5が用紙通紙方向(矢示A方向)に移動し、クリーニング装置6上方で停止され、クリーニング手段61が上昇して各記録ヘッド51のヘッドのクリーニング動作(維持回復動作)に移行する。
次に、この画像形成装置における記録ヘッドに対するインク供給系及びインク排出系について図6をも参照して説明する。
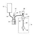
記録ヘッド51に供給するインクを収容するインクタンク81は、記録ヘッド51との間で所要の水頭差を持たせて配置している。この場合、インクタンク81の液面高さと記録ヘッド51の高さの差(水頭差)によって発生する記録ヘッド51のノズル面104(ノズル102のノズル面104への開口)における負圧(水頭圧)は、インクタンク81内のインクの消費によって変化する。また、インクタンク81にはタンク内を大気に通じる大気開放路83が設けられて、この大気開放路83を開閉する大気開放弁84が設けられ、通常はインクタンク81は大気開放状態にある。
また、このインクタンク81にインクを供給するメインタンク91を設け、インクタンク81内に設けた図示しない電極ピンなどの液面センサの信号に応じてメインタンク91からインクタンク81へのインクの供給を制御して、インクタンク81におけるインク量を一定の範囲に制御している。なお、メインタンク91からインクタンク81へのインクの供給は、メインタンク91からインクタンク81へのインク供給経路(供給チューブ)92中に設けられた電磁弁などの弁手段を図示しない制御手段によって液面センサの信号に基づいて開閉制御することで行っている。
一方、1つの記録ヘッド51の各ヘッド101に対してインク供給経路(流路)を分岐する分岐手段としての分岐部材52が配置されている。なお、分岐部材52は、図1に示すように、各記録ヘッド51y、51m、51c、51kに対してそれぞれ分岐部材52y、52m、52c、52kが配置される。
そして、この分岐部52の一端部側にはインクタンク81との間に供給チューブ82が接続され、この供給チューブ82を介してインクタンク81からインクが供給される。
また、記録ヘッド51のヘッド101のノズル102からインクを吸引するため、クリーニング装置6は、ヘッド101のノズル面104を封止するキャップ部材62と、キャップ部材62に排インクチューブ64を介して接続された吸引手段としての吸引ポンプ63とを備えて、キャップ部材62でヘッド101のノズル面104を封止した状態で吸引ポンプ63を駆動することによってキャップ部材62内の密閉空間が負圧になってノズル102からインクが吸引排出される。
次に、この画像形成装置の制御部の概要について図7のブロック説明図を参照して説明する。
この制御部は、この画像形成装置全体の制御を司る本発明に係る制御手段を兼ねるマイクロコンピュータ、画像メモリ、通信インタフェースなどで構成した主制御部(システムコントローラ)501を備えている。主制御部501は、外部の情報処理装置(ホスト側)などから転送される画像データ及び各種コマンド情報に基づいて用紙に画像を形成するために、印刷制御部502に印刷用データを送出する。
印刷制御部502は、主制御部501からの受領する印刷データ信号に基づいて、記録ヘッド51から液滴を吐出させるための圧力発生手段を駆動するためのデータを生成し、このデータの転送及び転送の確定などに必要な各種信号などをヘッドドライバ503に転送するとともに、駆動波形データ格納手段である記憶部、駆動波形のデータをD/A変換するD/A変換器及び電圧増幅器や電流増幅器等で構成される駆動波形生成部、ヘッドドライバ503に与える駆動波形を選択する選択手段を含み、1の駆動パルス(駆動信号)或いは複数の駆動パルス(駆動信号)で構成される駆動波形を生成してヘッドドライバ503に出力して、記録ヘッド51を駆動制御する。
また、主制御部501は、モータドライバ504を介して、搬送ベルト43を周回移動させる用紙送りモータ505、吸引ポンプ63を駆動制御する。
また、主制御部501には、前述したインク液面検出手段を含むセンサ群506からの検出信号が入力され、また、操作部507との間で各種情報の入出力及び表示情報のやり取りを行う。
次に、このように構成したこの実施形態における制御部によるインク初期充填制御について図8に示すタイミングチャートを参照して説明する。
まず、記録ヘッド51にインクの初期充填を行うときには、クリーニング装置6のキャップ部材62によって記録ヘッドユニット50の記録ヘッド51のヘッド101のノズル面104がキャッピング(封止)された状態にある。また、インクタンク81の大気開放弁84は閉じている。
ここで、図8(a)に示すように、インク充填開始指令が発生する(onになる)と、図8(b)に示すように、主制御部501は予め設定された設定時間tの間吸引ポンプ63を連続して駆動する(on)。これにより、インクタンク81から記録ヘッド51に対して連続的にインクの流れが発生して記録ヘッド51の各ヘッド101に対するインク供給が行われる。ここで、設定時間tは、吸引ポンプ63の駆動を開始した時点からインクタンク81から供給チューブ82を介して圧送されるインクが記録ヘッド51の分岐部材52を満たしてヘッド101に到達するまでの時間であり、予め実験などにより求められている。
そして、設定時間tが経過したときから、主制御部501は吸引ポンプ63の駆動と停止を繰り返して間歇的に駆動する(on/offを繰り返す)。この間歇的な駆動は予め定めた設定回数Nnだけ行う。これにより、インクタンク81から記録ヘッド51に対して間歇的にインクの流れが発生して記録ヘッド51の各ヘッド101に対するインク供給が行われる。
このように、記録ヘッド51のヘッド101にインクが到達するまでは吸引ポンプ63を連続駆動してインクタンク81から記録ヘッド51に対して連続的なインクの流れを発生させ、記録ヘッド51にインクが到達した後は吸引ポンプ63を間歇的に駆動して間歇的なインクの流れを発生させる制御をする。
したがって、記録ヘッド51にインクが到達するまでは連続的なインク供給を行って供給チューブ82、分岐部材52内の流路に短時間でインクを満たすことができる。そして、記録ヘッド51にインクが到達した後間歇的なインクの流れによって気泡を排出することができる。
つまり、記録ヘッド内部にインクが到達する前に間欠的なインク充填を行っても気泡排出性にはあまり影響がなく、むしろ、間欠的なインク供給を行うと、インクタンクからヘッドまでインクを到達させるのに時間を要してしまうことになる。そこで、ヘッドまでインクを早く到達させるためには連続的なポンプ動作(吸引)を行い、インクがヘッドに達したときに間欠的なインク供給を行って瞬間的なインクの流れを作り出すことで気泡を確実に排出させる。
このように、インクを初期充填するとき、記録ヘッドにインクが到達するまではインクタンクから記録ヘッドに対して連続的なインクの流れを発生させ、記録ヘッドにインクが到達した後は間歇的なインクの流れを発生させるので、気泡排出性を維持しつつ初期充填時間を短縮することができる。
次に、本発明の第2実施形態について図9及び図10を参照して説明する。なお、図9は同実施形態におけるインク供給系及び排出系の模式的説明図、図10は同じく1つの記録ヘッド分の側面模式的説明図である。
ここでは、クリーニング装置6のキャップ部材62と吸引ポンプ63との間に排インクチューブ64で形成される吸引経路を開閉する開閉手段としての開閉弁(バルブ)65を設けている。また、記録ヘッドユニット50の分岐部材52と記録ヘッド51の各ヘッド101との間の供給チューブ53で形成される供給経路には、ヘッド101の流入口部分にインクの有無を検知してヘッド101にインクが到達したことを検知する透過型フォトセンサなどからなるインク有無検知手段66を設けている。なお、開閉弁65の開閉駆動は前述した第1実施形態の主制御部501によって行われ、また主制御部501にはインク有無検知手段66の検知信号が入力される。
次に、このように構成したこの実施形態における制御部によるインク初期充填制御について図11に示すタイミングチャートを参照して説明する。
まず、記録ヘッド51にインクの初期充填を行うときには、クリーニング装置6のキャップ部材62によって記録ヘッドユニット50の記録ヘッド51の各ヘッド101のノズル面104がキャッピング(封止)された状態にある。また、インクタンク81の大気開放弁84は閉じている。
ここで、図11(a)に示すように、インク充填開始指令が発生する(onになる)と、図11(b)に示すように、主制御部501は開閉弁(バルブ)65を開くとともに、図11(c)に示すように、吸引ポンプ63を連続して駆動する(onにする)。これにより、インクタンク81から記録ヘッド51に対して連続的にインクの流れが発生して記録ヘッド51の各ヘッド101に対するインク供給が行われる。
そして、図11(d)に示すように、インク有無検知手段66が記録ヘッド51のヘッド101に流入口部分に到達したことが検知された時から、図11(b)に示すように、主制御部501は開閉弁65の開閉を繰り返す。このとき、吸引ポンプ63は連続的に駆動されたままであるので、開閉弁65が開閉されることで、インクタンク81から記録ヘッド51に対して間歇的にインクの流れが発生して記録ヘッド51の各ヘッド101に対するインク供給が行われる。開閉弁65の開閉駆動は予め定めた設定回数Nnだけ行う。
このように、記録ヘッド51のヘッド101にインクが到達するまでは吸引ポンプ63を連続駆動したまま、開閉弁65を開いてインクタンク81から記録ヘッド51に対して連続的なインクの流れを発生させ、記録ヘッド51にインクが到達した後は吸引ポンプ63を連続駆動したまま開閉弁65の開閉を繰り返して間歇的なインクの流れを発生させる制御をする。
したがって、記録ヘッド51にインクが到達するまでは連続的なインク供給を行って供給チューブ82、分岐部材52内の流路に短時間でインクを満たすことができる。そして、記録ヘッド51にインクが到達した後間歇的なインクの流れによって気泡を排出することができる。
つまり、前述したように、記録ヘッド内部にインクが到達する前に間欠的なインク充填を行っても気泡排出性にはあまり影響がなく、むしろ、間欠的なインク供給を行うと、インクタンクからヘッドまでインクを到達させるのに時間を要してしまうことになる。そこで、ヘッドまでインクを早く到達させるためには連続的な吸引動作を行い、インクがヘッドに達したときに間欠的なインク供給を行って瞬間的なインクの流れを作り出すことで気泡を確実に排出させる。
このように、インクを初期充填するとき、記録ヘッドにインクが到達するまではインクタンクから記録ヘッドに対して連続的なインクの流れを発生させ、記録ヘッドにインクが到達した後は間歇的なインクの流れを発生させるので、気泡排出性を維持しつつ初期充填時間を短縮することができる。
なお、上記実施形態ではライン型画像形成装置に適用した例で説明しているが、シリアル型画像形成装置にも同様に適用することができる。
本発明の第1実施形態に係る画像形成装置の一例の全体構成を説明する正面概略説明図である。 同じく要部平面説明図である。 記録ヘッドの平面説明図である。 ヘッドの平面説明図である。 クリーニング動作時の説明に供する要部説明図である。 インク供給系及び排出系の模式的説明図である。 制御部の概要を説明する機能ブロック図である。 同実施形態におけるインク初期充填制御の説明に供するタイミングチャートである。 本発明の第2実施形態におけるインク供給系及び排出系の模式的説明図である。 同じく1つの記録ヘッドの側面模式的説明図である。 同じくインク初期充填制御の説明に供するタイミングチャートである。
符号の説明
1…装置本体
4…搬送ユニット(搬送部)
5…画像形成ユニット
6…クリーニング装置(維持回復機構)
7…搬送ガイド部
8…インクタンクユニット
9…メインタンクユニット
50…記録ヘッドユニット
51…記録ヘッド
54…分岐部材
62…キャップ
63…吸引ポンプ
64…排インクチューブ(吸引経路)
65…開閉弁
66…インク有無検知手段
81…インクタンク
91…メインタンク
101…ヘッド

Claims (3)

  1. 液滴を吐出する記録ヘッドと、
    前記記録ヘッドに供給するインクを収容するインクタンクと、
    前記記録ヘッドのノズル面を封止するキャップ部材及びこのキャップ部材に接続された吸引手段と、
    前記キャップ部材で前記記録ヘッドのノズル面を封止した状態で、前記吸引手段を駆動して前記記録ヘッドに前記インクタンクからインクを初期充填するとき、前記記録ヘッドにインクが到達するまでは前記吸引手段を連続駆動して前記インクタンクから前記記録ヘッドに対して連続的なインクの流れを発生させ、前記記録ヘッドにインクが到達した後は前記吸引手段を間歇的に駆動して間歇的なインクの流れを発生させる制御をする制御手段と、を備えている
    ことを特徴とする画像形成装置。
  2. 液滴を吐出する記録ヘッドと、
    前記記録ヘッドに供給するインクを収容するインクタンクと、
    前記記録ヘッドのノズル面を封止するキャップ部材及びこのキャップ部材に接続された吸引手段と、
    前記キャップ部材と吸引手段との間の吸引経路を開閉する開閉手段と、
    前記キャップ部材で前記記録ヘッドのノズル面を封止した状態で、前記吸引手段を駆動して前記記録ヘッドに前記インクタンクからインクを初期充填するとき、前記吸引手段を連続駆動しながら、前記記録ヘッドにインクが到達するまでは前記開閉手段を開いて前記インクタンクから前記記録ヘッドに対して連続的なインクの流れを発生させ、前記記録ヘッドにインクが到達した後は前記開閉手段の開閉を繰り返して間歇的なインクの流れを発生させる制御をする制御手段と、を備えている
    ことを特徴とする画像形成装置。
  3. 前記インクタンクと前記記録ヘッドとの間の流路には、前記記録ヘッドの流入口部付近にインクの有無を検出する検出手段を備えていることを特徴とする請求項1又は2記載の画像形成装置。
JP2008210367A 2008-08-19 2008-08-19 画像形成装置 Expired - Fee Related JP5107826B2 (ja)

Priority Applications (1)

Application Number Priority Date Filing Date Title
JP2008210367A JP5107826B2 (ja) 2008-08-19 2008-08-19 画像形成装置

Applications Claiming Priority (1)

Application Number Priority Date Filing Date Title
JP2008210367A JP5107826B2 (ja) 2008-08-19 2008-08-19 画像形成装置

Publications (2)

Publication Number Publication Date
JP2010046806A true JP2010046806A (ja) 2010-03-04
JP5107826B2 JP5107826B2 (ja) 2012-12-26

Family

ID=42064331

Family Applications (1)

Application Number Title Priority Date Filing Date
JP2008210367A Expired - Fee Related JP5107826B2 (ja) 2008-08-19 2008-08-19 画像形成装置

Country Status (1)

Country Link
JP (1) JP5107826B2 (ja)

Cited By (2)

* Cited by examiner, † Cited by third party
Publication number Priority date Publication date Assignee Title
JP2013052583A (ja) * 2011-09-04 2013-03-21 Ricoh Co Ltd 画像形成装置及び画像形成装置における液体充填方法
JP2015100974A (ja) * 2013-11-22 2015-06-04 キヤノン株式会社 記録装置及びその気泡排出方法

Citations (4)

* Cited by examiner, † Cited by third party
Publication number Priority date Publication date Assignee Title
JPH03151244A (ja) * 1989-11-08 1991-06-27 Fuji Xerox Co Ltd インクジェットプリンタのインク充填方法
JP2000085153A (ja) * 1998-07-15 2000-03-28 Seiko Epson Corp インクジェット記録装置及びその初期充填方法
JP2006015631A (ja) * 2004-07-02 2006-01-19 Seiko Epson Corp 液滴吐出装置及び液滴吐出ヘッドへの液状体充填方法
JP2006198846A (ja) * 2005-01-19 2006-08-03 Seiko Epson Corp 充填方法、及び液体吐出装置

Patent Citations (4)

* Cited by examiner, † Cited by third party
Publication number Priority date Publication date Assignee Title
JPH03151244A (ja) * 1989-11-08 1991-06-27 Fuji Xerox Co Ltd インクジェットプリンタのインク充填方法
JP2000085153A (ja) * 1998-07-15 2000-03-28 Seiko Epson Corp インクジェット記録装置及びその初期充填方法
JP2006015631A (ja) * 2004-07-02 2006-01-19 Seiko Epson Corp 液滴吐出装置及び液滴吐出ヘッドへの液状体充填方法
JP2006198846A (ja) * 2005-01-19 2006-08-03 Seiko Epson Corp 充填方法、及び液体吐出装置

Cited By (2)

* Cited by examiner, † Cited by third party
Publication number Priority date Publication date Assignee Title
JP2013052583A (ja) * 2011-09-04 2013-03-21 Ricoh Co Ltd 画像形成装置及び画像形成装置における液体充填方法
JP2015100974A (ja) * 2013-11-22 2015-06-04 キヤノン株式会社 記録装置及びその気泡排出方法

Also Published As

Publication number Publication date
JP5107826B2 (ja) 2012-12-26

Similar Documents

Publication Publication Date Title
JP5327446B2 (ja) 画像形成装置
JP4816261B2 (ja) 液滴吐出装置
JP5636823B2 (ja) 画像形成装置
JP5402033B2 (ja) 画像形成装置
JP5790202B2 (ja) 画像形成装置
JP2010125740A (ja) 画像形成装置
JP5494212B2 (ja) インク供給装置
JP5107826B2 (ja) 画像形成装置
JP5277870B2 (ja) 画像形成装置
JP5359678B2 (ja) 画像形成装置
JP5515634B2 (ja) 画像形成装置
JP5703721B2 (ja) 画像形成装置
JP5365092B2 (ja) 画像形成装置
JPH10202922A (ja) インクジェット記録装置
JP6432229B2 (ja) 画像形成装置及びヘッド駆動制御方法
JP5272524B2 (ja) 画像形成装置
JP2010052194A (ja) 画像形成装置
JP2007313654A (ja) インクジェットプリンタ
JP2011143614A (ja) 画像形成装置
JP2008037055A (ja) 液滴吐出装置
JP5803459B2 (ja) 画像形成装置
JP2010006008A (ja) 記録ユニット、インクジェット記録装置、制御プログラム、および記憶媒体
JP2011173313A (ja) 予備吐出受装置、これを有する搬送装置および画像形成装置
JP2014172330A (ja) 画像形成装置
JP2017081020A (ja) 液体を吐出する装置

Legal Events

Date Code Title Description
A621 Written request for application examination

Free format text: JAPANESE INTERMEDIATE CODE: A621

Effective date: 20110607

A977 Report on retrieval

Free format text: JAPANESE INTERMEDIATE CODE: A971007

Effective date: 20120801

A131 Notification of reasons for refusal

Free format text: JAPANESE INTERMEDIATE CODE: A131

Effective date: 20120807

A521 Written amendment

Free format text: JAPANESE INTERMEDIATE CODE: A523

Effective date: 20120901

TRDD Decision of grant or rejection written
A01 Written decision to grant a patent or to grant a registration (utility model)

Free format text: JAPANESE INTERMEDIATE CODE: A01

Effective date: 20121002

A01 Written decision to grant a patent or to grant a registration (utility model)

Free format text: JAPANESE INTERMEDIATE CODE: A01

A61 First payment of annual fees (during grant procedure)

Free format text: JAPANESE INTERMEDIATE CODE: A61

Effective date: 20121004

R150 Certificate of patent or registration of utility model

Ref document number: 5107826

Country of ref document: JP

Free format text: JAPANESE INTERMEDIATE CODE: R150

Free format text: JAPANESE INTERMEDIATE CODE: R150

FPAY Renewal fee payment (event date is renewal date of database)

Free format text: PAYMENT UNTIL: 20151012

Year of fee payment: 3

LAPS Cancellation because of no payment of annual fees