JP2010046177A - メダル投出装置およびそれを用いたメダルゲーム機 - Google Patents

メダル投出装置およびそれを用いたメダルゲーム機 Download PDF

Info

Publication number
JP2010046177A
JP2010046177A JP2008211402A JP2008211402A JP2010046177A JP 2010046177 A JP2010046177 A JP 2010046177A JP 2008211402 A JP2008211402 A JP 2008211402A JP 2008211402 A JP2008211402 A JP 2008211402A JP 2010046177 A JP2010046177 A JP 2010046177A
Authority
JP
Japan
Prior art keywords
medal
shooter
medals
supply port
game
Prior art date
Legal status (The legal status is an assumption and is not a legal conclusion. Google has not performed a legal analysis and makes no representation as to the accuracy of the status listed.)
Granted
Application number
JP2008211402A
Other languages
English (en)
Other versions
JP5097645B2 (ja
Inventor
Naotaka Watabe
直高 渡部
Current Assignee (The listed assignees may be inaccurate. Google has not performed a legal analysis and makes no representation or warranty as to the accuracy of the list.)
Capcom Co Ltd
Original Assignee
Capcom Co Ltd
Priority date (The priority date is an assumption and is not a legal conclusion. Google has not performed a legal analysis and makes no representation as to the accuracy of the date listed.)
Filing date
Publication date
Application filed by Capcom Co Ltd filed Critical Capcom Co Ltd
Priority to JP2008211402A priority Critical patent/JP5097645B2/ja
Publication of JP2010046177A publication Critical patent/JP2010046177A/ja
Application granted granted Critical
Publication of JP5097645B2 publication Critical patent/JP5097645B2/ja
Active legal-status Critical Current
Anticipated expiration legal-status Critical

Links

Images

Landscapes

  • Slot Machines And Peripheral Devices (AREA)

Abstract

【課題】回動可能なシュータにメダルをスムーズに送り出すことができるメダル投出装置を提供する。
【解決手段】供給口145aから供給されたメダルを投出口145bから所定のフィールドMFに投出するメダルシュータ145と、上記供給口145bにメダルを送出する送出手段144Aと、上記メダルシュータ145を上記送出手段144Aに対して少なくとも左右方向に回動可能にした回動手段と、を備えたメダル投出装置14において、上記送出手段144Aは、上記供給口145bに送出されるメダルmの進行方向に対する左右方向の動きを規制するガイド部材146を備え、上記ガイド部材146は、弾性材からなり、先端部が上記供給口145aに内挿されている。
【選択図】図6

Description

本発明は、ゲームセンタなどに設置されるいわゆるアーケード型ゲーム機のメダル投出装置およびそれを用いたメダルゲーム機に関する。
アーケード型のメダルゲーム機としては、当該ゲーム機内に投入されたメダルを、シュータを介して所定のメダルゲームフィールドに投出するように構成されたものがある(たとえば、特許文献1を参照)。特許文献1に開示されたメダルゲーム機においては、ホッパーに収容されたメダルが送出口(メダル排出部330、同文献の図33参照)を介して起立姿勢のままシュータに送り出されるように構成されている。シュータ(吐出部410、同文献の図40、41参照)は、左右一対の側壁、およびこれらにつながる底壁を備えており、メダルを起立姿勢のまま転動させることができるようになっている。また、シュータは、その基端部が送出口の前方の垂直軸周りに回動可能とされており、プレイヤの操作によって、シュータ先端からのメダルの投出方向を左右に変更することができるようになっている。
特許文献1のメダルゲーム機においては、本願の図14に表れているように、シュータ92の基端部において一対の側壁92c,92d間の幅をある程度広げていた。これにより、送出口91に対してシュータ92を左右のいずれかに振った状態(シュータ92の基端側開口92aが送出口91に対して正対していない状態)においても、送出口91とシュータ92の基端部との干渉を防ぎつつ、送出口91からシュータ92へのメダルmの送り出しを可能とするように構成されていた。
しかしながら、図14に示された構成においては、シュータ92を振った状態(基端側開口92aが送出口91に対して正対していない状態)の場合には、送出口91から出たメダルmがシュータ92の側壁92cの内面に斜めから接触しやすくなる。このため、当該接触によってメダルmが失速し、また、シュータ92内を転動する際のメダルmの姿勢が不安定となりやすいことから、シュータ92先端から投出される際のメダルmの速度が、シュータ92を振っていない状態に比べて大幅に低下するおそれがある。したがって、シュータ92を振った場合には、プレイヤの意図した方向にメダルmを投出することができないといった不都合が生じ得た。
特開2007−185205号公報
本発明は、このような事情のもとで考え出されたものであって、回動可能なシュータにメダルをスムーズに送り出すことができるメダル投出装置およびそれを用いたメダルゲーム機を提供することをその目的としている。
上記の課題を解決するため、本発明では、次の技術的手段を採用した。
本発明の第1の側面によって提供されるメダル投出装置は、供給口から供給されたメダルを投出口から所定のフィールドに投出するシュータと、上記供給口にメダルを送出する送出手段と、上記シュータを上記送出手段に対して少なくとも左右方向に回動可能にした回動手段と、を備えたメダル投出装置において、上記送出手段は、上記供給口に送出されるメダルの進行方向に対する左右方向の動きを規制するガイド部材を備え、上記ガイド部材は、弾性材からなり、先端部が上記供給口に内挿されていることを特徴としている。
このような構成によれば、シュータを回動させて送出手段に対してシュータを左右に振った状態にしても、弾性材からなるガイド部材が先端部に向かうにつれてシュータの内面に沿うように湾曲変形させられるため、送出手段から送出されたメダルはシュータ内へスムーズに導入される。したがって、シュータを左右に回動させることによりメダルの投出方向を変更しても、シュータ内においてメダルが失速したり、メダルが詰まったりするといった不都合が生じることはなく、その結果、プレイヤの意図した方向に都合良くメダルを投出することができる。
好ましい実施の形態においては、上記送出手段は、メダルを起立状態で上記供給口に送出し、上記シュータは、メダルを起立状態に維持したまま上記投出口から投出する。このような構成によれば、メダルをシュータ内で適正に転動させつつ、適正な初速をもって上記投出口から投出することができる。
好ましい実施の形態においては、上記シュータは、メダルを重力の作用により斜め下向きに転動させる第1通路と、この第1通路になだらかにつながり、メダルを斜め上向きに転動させる第2通路とを備え、上記第2通路の先端部に備えられた上記投出口は、上記第1通路の基端部に備えられた上記供給口よりも低位に位置する。このような構成によれば、シュータからのメダルの投出方向が水平方向より上向きに指向されている場合においても、シュータ内をメダルがスムーズに転動しつつ投出口から投出される。これにより、弾性材からなるガイド部材を備えることと相まって、シュータを左右に回動させることによりメダルの投出方向を変更しても、シュータ内において転動するメダルが不当に失速したり、メダルが詰まったりすることがなくなる。
好ましい実施形態においては、上記ガイド部材は、上記供給口に送出するメダルが通過可能な間隔を有する一対の起立状の板バネである。このような構成によれば、シュータの回動に伴い、起立状の板バネが上記シュータの内面にそって滑らかに湾曲するため、起立状態のメダルをより円滑にガイドしつつ上記シュータの供給口に送り込むことができる。
好ましい実施の形態においては、メダルを投入するためのメダル投入口と、このメダル投入口から投入されたメダルを収容しておくためのホッパーと、このホッパーから上記送出手段へメダルを搬送するためのメダル搬送ガイドとをさらに備え、上記メダル投入口からメダルが投入されると、上記ホッパーから上記メダル搬送ガイドおよび上記送出手段を介して上記シュータへとメダルが送出されるように構成されている。このような構成によれば、メダル投入口からシュータまでの距離が比較的に長い場合でも、所定のフィールド内にメダルを不都合なく投出することができる。
好ましい実施の形態においては、上記シュータを回動させるための操作入力を受け付ける操作手段を備え、上記回動手段は、上記操作入力に応じて上記シュータを回動させる。このような構成によれば、シュータの回動操作の操作性を向上させることができる。
好ましい実施の形態においては、上記シュータの回動量を所定角度範囲内に規制する回動規制手段を備える。このような構成によれば、送出手段に対しシュータが過度に振られてしまうのを防止することができ、送出手段からシュータへのスムーズなメダルの送り出しをより適確に実現することができる。
本発明の第2の側面によって提供されるメダルゲーム機は、メダルを用いたゲームが行われるゲームフィールドを備えたメダルゲーム機であって、メダルを上記ゲームフィールドに投出するための上記本発明の第1の側面に係るメダル投出装置を備えたことを特徴とする。
好ましい実施の形態において、上記ゲームフィールドには、傾斜させられた傾斜盤面とこの傾斜盤面の低位側に位置するチャッカとが設けられており、上記シュータは、平面視において上記傾斜盤面のいずれかの領域に対して斜め方向の初速を有するメダルを投出し、この投出されたメダルが上記傾斜盤面に衝突して落下するように構成されており、上記チャッカは、上記傾斜盤面に衝突して落下するメダルの通過を許容する開口を有する。
好ましい実施の形態において、上記ゲームフィールドには、固定プレートおよび当該固定プレート上において往復動する可動プレートを有するプッシャフィールドが設けられ、上記シュータから投出されたメダルは、上記傾斜盤面を経由して上記プッシャフィールドに供給され、上記固定プレート上に載っているメダルは、上記可動プレートの往復動によって落下して払い出される。
上記構成のメダルゲーム機においても、本発明の第1の側面に係るメダル投出装置の利点を享受しつつ、シュータを左右方向に回動させつつ、メダルを適正にゲームフィールドに向けて投出することができる。
本発明のその他の特徴および利点は、添付図面を参照して以下に行う詳細な説明によって、より明らかとなろう。
以下、本発明に係るメダルゲーム機の好ましい実施形態につき、図面を参照しつつ具体的に説明する。
図1〜図12は、本発明に係るメダルゲーム機の一実施形態を示している。図1に良く表れているように、本実施形態のメダルゲーム機Aは、下部筐体10上に筒状のショーケース11が載設され、かつこのショーケース11上に上部カバー12が設けられた構成を有しており、ショーケース11によって囲まれた空間部には、後述するメダルゲームフィールドMFやセンターユニットCUが設けられている。下部筐体10の外周面部には、複数の操作パネル部13が等間隔で設けられており、それらの操作パネル部13と同数の複数人(たとえば8人)が同時にゲームを行なうことができるようになっている。各操作パネル部13には、後述する抽選ゲーム等に使用される操作ボタン13Aや操作レバー13Bのほか、詳細な図示説明は省略するが、メダルを溜めておくためのメダル留置部、メダル投入口などが設けられている。操作パネル部13の奥方には、メダルゲームフィールドMFから落とされたメダルを払い出すメダル払出口13Cも設けられている。また、各操作パネル部13の左右両側の下部筐体10内部には、メダル投出機構14が設けられている。メダルゲームフィールドMFは、複数の操作パネル部13の個々に対応してたとえば計8箇所設けられている。
図1に図示されていないが、メダルゲーム機Aには、図2に電気的な構成を示すように、後述する画像表示装置2やプッシャフィールド3、クルーン抽選装置6、さらにはセンターユニットCU(キャッチャー抽選装置4やセンター抽選装置7)などの各部の動作を制御するマイクロコンピュータ9が搭載されている。
図3および図4に表れているように、メダルゲームフィールドMFには、液晶ディスプレイなどを用いた電子ゲーム実行用の画像表示装置2と、プッシャフィールド3とが設置されている。
図4によく表れているように、画像表示装置2は、その画面部分がプレイヤから見て手前側(図中右側)に向かうほど低位となるように傾斜させられている。画像表示装置2の画面部分は、枠体20を挟んでガラス板21に覆われており、このガラス板21の手前側の表面が傾斜盤面21Aとなっている。すなわち、この傾斜盤面21Aは、手前側が低位となるように傾斜させられている。この傾斜盤面21Aにはまた、横方向に並ぶ複数のピン22、および、支持部材23に取り付けられて図3の矢Na方向に往復移動可能な複数のピン24が設けられるが、これについては後述する。なお、本実施形態では、支持部材23の表面も、傾斜盤面21Aの一部を構成する。
図3および図4に表れているように、画像表示装置2とプッシャフィールド3との間には、複数のチャッカ26が横方向に並んで設けられている。チャッカ26は、ガラス板21の傾斜盤面21Aに略沿った姿勢のメダルの通過を許容する横長状の開口26Aを有している。各チャッカ26の前面には、たとえばLEDなどからなる表示部26Bが設けられている。
メダル投出機構14は、プレイヤにより投入されたメダルmをメダルゲームフィールドMFへと投出するためのものであり、図5に表れているように、比較的多数枚のメダルmを貯めることができるホッパー141と、ホッパー141の底部に設けられ、かつこのホッパー141内のメダルmを1枚ずつ繰り出すように回転するロータ142と、ロータ駆動用のモータ143と、ロータ142の回転により繰り出されるメダルmを上向きに搬送するための起立状のメダル搬送ガイド144と、メダルゲームフィールドMFの傾斜盤面21Aに向けてメダルmを投出するためのメダルシュータ145と、を備えて構成されている。ホッパー141およびメダル搬送ガイド144は、下部筐体10に対して固定的に設けられている。ホッパー141には、操作パネル部13のメダル投入口から投入されたメダルmがガイドレール(図示略)を介して送り込まれる。当該ガイドレールには、投入されたメダルmの通過を検出する投入メダルセンサ(図示略)が設けられ、この投入メダルセンサによってメダルmの通過が検出されると、その検出信号はマイクロコンピュータ9に送信されるように構成されている。メダル搬送ガイド144の内部には、常時複数枚のメダルmが互いに接して並んだ状態で収容されている。
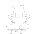
メダル搬送ガイド144の上部には、メダルシュータ145の基端側の供給口145aへとメダルmを送出すための送出手段144Aが設けられている。図6によく表れているように、送出手段144Aは、左右一対の起立状の縦壁144b,144cを有している。縦壁144b,144cの内面間の間隔は、起立姿勢のメダルmが通過できるに必要十分な間隔とされている。
メダル投出機構14においては、ロータ142が一定角度だけ回転してホッパー141内の1枚のメダルmがメダル搬送ガイド144に繰り出されると、メダル搬送ガイド144内部のメダルmが押し上げられて、それらの先頭に位置する1枚のメダルmが送出手段144Aからメダルシュータ145に送り出されるようになっている。また、マイクロコンピュータ9は、上記投入メダルセンサによるメダルmの検出信号に基づいてモータ143の駆動を制御することにより、ロータ142を上記一定角度だけ回転させてホッパー141内の1枚のメダルmをメダル搬送ガイド144に繰り出させる。かかる構成により、上記メダル投入口から1枚のメダルmが投入されると、上記メダル送出手段144Aから1枚のメダルmがメダルシュータ145に送り出される。
メダルシュータ145は、メダルmを起立姿勢のまま初速を与えて投出するためのものであり、図5および図6に表れているように、左右一対の側壁145c,145dおよびこれら側壁145c,145dにつながる底壁145eを、その基本的構成として備え、供給口145aを通じて送り込まれたメダルmを重力の作用により斜め下向きに転動させて加速させる下向きレール部145Fと、先端側メダル投出口145bに向かってメダルmを斜め上向きに転動させる上向きレール部145Gとが、なだらかにつながった構成とされている。メダルシュータ145は、その基端部における側壁145c,145dの間隔が上記送出手段144Aにおける縦壁144b,144cの内面間の間隔よりも大とされており、後述のように垂直軸v1周りに回動させることにより送出手段144Aに対して左右に振った(回動した)状態にしても、送出手段144Aからメダルシュータ145へメダルmを送り出すことが可能となっている。また、メダルシュータ145の先端側の投出口145bは、供給口145aよりも低位に位置している。これにより、メダルシュータ145からのメダルmの投出方向は、水平方向よりも上方に指向されている。
メダルシュータ145は、上記のように、送出手段144Aに対して左右方向に回動可能に配置されるが、それらの平面的な配置は、図6(a)(b)のようにするのが望ましい。図6(a)は投出手段144Aでのメダルmの平面視における移動方向とメダルシュータ145でのメダルmの平面視における移動方向が一致するようにメダルシュータ145が基準位置をとる状態を示し、図6(b)は投出手段144Aでのメダルmの平面視における移動方向に対してメダルシュータ145でのメダルmの平面視における移動方向が右方向に回動した状態を示す。これらの図からわかるように、メダルシュータ145が図6(b)のような回動位置をとったときにおいても、メダルシュータ145が投出手段144Aに不当に干渉しないように、図6(a)の基準位置をとるメダルシュータ145は、その供給口145aと送出手段144Aの先端部との間に所定の間隔が空けられている。
図5に表れているように、メダルシュータ145の基端部には、このメダルシュータ145を回動させる回動機構15が設けられている。回動機構15は、メダルシュータ145を送出手段144Aの前方近傍に位置する垂直軸v1周りに回動可能に支持する支持軸151と、この支持軸151に連結されたモータ152と、2つのセンサ153a,153bとを備え、これらはカバー部材150を介して下部筐体10に支持されている。センサ153a,153bは、支持軸151の周囲に配置されており、たとえばフォトインタラプタなどからなる。支持軸151には、センサ153a,153bによって検知される被検知片154が取り付けられている。センサ153a,153bは、支持軸151の回動動作の動作端を検知する。なお、実施形態では、メダルシュータ145は、上記のように垂直軸v1周りに回動するが、メダルシュータ145の回動中心は、からなずしも垂直に限定されず、前後左右に傾斜していてもよい。要するに、メダルシュータ145の回動方向は、左右方向を含んでおればよい。
図5および図6に表れているように、メダル搬送ガイド144の送出手段144Aには、左右に所定間隔を空けた一対の板バネ146が設けられている。より詳細には、一対の板バネ146は、それぞれ、その基端部が送出手段144Aの縦壁144b,144cの内面に沿うようにして、ビス止め(図示略)などの適宜手段により起立状に連接されている。板バネ146の先端部は、メダルシュータ145の供給口145aを通じて側壁145c,145d間に内挿されている。板バネ146は、容易に弾性変形可能とされており、本発明でいうガイド部材の一例である。
図6(a)に示すようにメダルシュータ145が基準位置をとるときには、一対の板バネ146は自然状態にあって所定間隔をあけてメダルシュータ145に延入しているので、送出手段145から送出されるメダルmは、一対の板バネ146の間を通ってそのまままっすぐにメダルシュータ145の供給口145aに送り込まれる。
一方、図6(b)に示すようにメダルシュータ145が回動位置をとるときには、一方の板バネ146がメダルシュータ145の回動量に応じて、側壁145c内面に当接しながら湾曲変形させられる。したがって、この湾曲変形する板バネ146の内面が、送出手段144Aによる送出方向に対してメダルmの進行方向をなめらかに左右方向に変換するためのガイドとしての役割を果たす。このような役割は、メダルシュータ145の回動量に関わらず同様に発揮される。なお、ここで、メダルmが図中右側の板バネ146に当接したとしても、当該板バネ146は容易に撓むことになるので、当該板バネ146によってメダルmの転動が阻害されることはない。上記したように、送出手段144Aとメダルシュータ145との間には一定の隙間を設けているが、送出手段144Aからのメダル送出に一定の初速が付与されるので、メダルmは問題なくこの隙間を飛び越え、メダルシュータ145内へ送出される。なお、送出手段144Aの適部に、送出手段144Aとメダルシュータ145との間の隙間において、一対の板バネ146の下方に位置し、かつ、メダルシュータ145の供給口145aと干渉しない補助底壁(図示略)を設けておけば、送出手段144Aからメダルシュータ145へのメダルmの受け渡しがよりスムーズになる。
マイクロコンピュータ9は、プレイヤによる操作レバー13Bの操作に応じてモータ152を駆動させ、メダルシュータ145を支持軸151(垂直軸v1)周りに回動させる。また、センサ153a,153bによる検知信号に基づいてマイクロコンピュータ9がモータ152の駆動を制御することにより、メダルシュータ145は、被検知片154がセンサ153aに検知される位置からセンサ153bに検知される位置までの一定角度範囲内で往復回動させられる。なお、プレイヤによる操作に関係なく、マイクロコンピュータが自動的にモータ152を駆動させ、メダルシュータ145の回動を繰り返すようにしてもよい。
図3、図4および図7に表れているように、チャッカ26の上方近傍には、上記開口26Aへのメダルの落下を誘導する規制部材25が設けられている。この規制部材25は、図4によく表れているように、傾斜盤面21Aと略平行な姿勢で所定の間隔を空けて配置された棒材である。規制部材25は、図7に表れているように、左右一対の支持板27に着脱自在に取り付けられている。支持板27には、傾斜盤面21Aに対して近接ないし離間する方向(奥行き方向)に延びる長孔27aが形成されている。これにより、傾斜盤面21Aに対する規制部材25の取り付け位置は、奥行き方向において調整可能とされている。なお、本実施形態の規制部材25は、一対の支持板27で支持しているが、これに限定されるものではない。例えば、規制部材25を単一の支持板で支持(片持ち状)してもよい。
図3および図4に表れているように、規制部材25の上方近傍には、支持部材23を介して複数のピン24が横方向に並ぶように設けられている。これらピン24は、チャッカ26の配置と同一ピッチで配置されており、傾斜盤面21Aの手前側に突出させられている。支持部材23は、図3の矢印Na方向にスライド可能とされており、図7に表れているように、支持部材23の端部には縦方向に延びる溝23aが形成されている。この溝23aには、モータ28によって回転させられる回転板29の偏心位置に設けられたローラ29aが嵌まっている。かかる構成により、モータ28が駆動すると、支持部材23およびこれに支持された複数のピン24が傾斜盤面21Aの左右方向(図3および図6の矢印Na方向)に往復動させられる。図3および図4に表れているように、ピン24の上方近傍には、複数のピン22が横方向に並ぶように設けられている。これらピン22は、枠体20に支持され、傾斜盤面21Aの手前側に突出するように立設されており、隣接するピン22どうしの間をメダルmが通過可能となるように一定ピッチで配置されている。なお、このようなピン22,24の数や配置のピッチは適宜変更可能であり、また、傾斜盤面全体に設けてもよいし、また、なくてもよい。
図4に表れているように、メダルシュータ145内を起立状態のまま重力の作用により転動し、初速が与えられたメダルmが投出されると、当該メダルmは、山形の放物線を描くようにふわりと空中を飛んだ後に、傾斜盤面21Aに衝突する。メダル投出装置14がメダルゲームフィールドMFの左右位置に配置されていることから、上記のようにメダルシュータ145から投出されたメダルmは、起立状態を維持し、回転を与えられたまま、傾斜盤面21Aに対して平面視において斜め前方から衝突する。このとき、メダルmは傾斜盤面21Aに弾かれるが、メダルmの周縁のエッジが傾斜盤面21Aに衝突することに起因して、弾かれた後のメダルmの挙動は、傾斜盤面21Aからの反力を受けて左右方向の回転力をも付加されたものとなる。
その結果、メダルmは、傾斜盤面21Aを暴れながらバウンドして姿勢を変えながら落下してゆき、やがてピン22およびピン24に当たってさらに進路が変えられる。また、重力の作用により初速が与えられたメダルmは、傾斜盤面21Aに衝突した際に過度に跳ね返るのではなく、傾斜盤面21Aの傾斜に沿って適度にバウンドしながら落下する。そして、当該メダルmは、チャッカ26の直前において規制部材25によって進行方向が規制される。規制部材25の奥方をメダルmが通過した場合には、当該メダルmは、傾斜盤面21Aに略沿うように姿勢が整えられ、その殆どが開口26Aを通じてチャッカ26に入る。一方、規制部材25の手前側をメダルmが通過した場合には、当該メダルmは、チャッカ26に入らずにチャッカ26の手前側から落下する。
メダルシュータ145から投出されるメダルmの初速は、傾斜盤面21Aを飛び越えない程度の初速とするのが望ましく、また、傾斜盤面21Aに対する上下方向の衝突位置は、どのように設定してもよい。また、メダルシュータ145は、実施形態のように必ずしもメダルmを上方に向けてふわりと投出するものである必要はなく、平面視において傾斜盤面21Aのいずれかの領域に対して斜め方向にメダルmを投出するようにしておけばよい。
各チャッカ26は、たとえば内部に設けられた図示しないセンサによりメダルmの通過が検出されるように構成されている。所定のチャッカ26は、表示部26BにおいてLED表示されている。メダルシュータ145から投出されたメダルmが上記所定のチャッカ26に入ると入賞となり、マイクロコンピュータ9は、たとえば画像表示装置2で展開される電子ゲームやチャッカ26を利用したゲーム等(所定のゲーム)を実行する。LED表示される所定のチャッカ26は、たとえば時間経過に応じて適宜変化させられる。上記電子ゲームとしては、例えば画像表示装置2で表示されるルーレットゲームがある。また、チャッカ26を利用したゲームとしては、例えばLED表示されたチャッカ26に所定枚数のメダルを入賞させることで「当たり」となるゲームがある。キャッチャー抽選装置4における抽選ゲームは、上記所定のゲームの結果に応じて実行されるように構成されている。図4に表れているように、チャッカ26に入ったメダルmおよびチャッカ26に入らなかったメダルmのいずれもプッシャフィールド3上に落下する。なお、上記所定のゲームの結果に応じたゲーム効果としては、上記のようなキャッチャー抽選装置4における抽選ゲームの権利獲得に限られず、単に所定枚数のメダルmを払いだすといったものも含まれる。
図3および図4に表れているように、プッシャフィールド3は、固定プレート30上に可動プレート31が重ねられ、かつこの可動プレート31が図示しないモータの駆動によって一定のストロークで図4に矢印で示すような往復動を行なうように構成された公知のものである。可動プレート31が手前側に前進したときに、固定プレート30上に載っている複数枚のメダルmどうしが固定プレート30の手前に向けてうまく押し合うと、この固定プレート30の先端縁30aからその手前の落下溝32にメダルmが落下するようになっている。可動プレート31の往復動は、常時繰り返して実行されるように構成されているが、これに代えて、たとえば画像表示装置2において実行されるゲーム結果に対応させて可動プレート31を間欠的に動作させるようにしてもかまわない。落下溝32に落下したメダルmは、メダルmのホッパー装置等を有する周知のメダル払出機構(図示略)を介してメダル払出口13Bを通じて操作パネル部13上のメダル留置部(図示略)に払い出されるようになっている。固定プレート30上には、たとえばゲームの進行状況に応じて、キャッチャー抽選装置4によって獲得したボールb1が散在している。当該ボールb1は、固定プレート30上のメダルが手前に押されるのに伴って手前に移動し、いずれ落下溝32に落下する。プッシャフィールド3の側方には、画像表示装置2において実行される電子ゲームやクルーン抽選装置6における抽選ゲームで所定の結果となった場合に固定プレート30ないし可動プレート31上にメダルmを払い出すためのメダル払出口33が設けられている。なお、固定プレート30の両側方には、メダル回収口301が設けられており、このメダル回収口301に入ったメダルmは、所定のメダル貯留部(図示略)に回収される。
本実施形態においては、メダルゲームフィールドMFには、後述するキャッチャー抽選装置4によって獲得したボールb1を搬送してプッシャフィールド3に投入するための固定レール51および可動レール52が設けられている。固定レール51の上端には、後述するキャッチャー42によって掬い取ったボールb1を載せる受皿51aが設けられ、固定レール51の下端には、ボールb1を可動レール52の基端部に落下させる孔51bが設けられている。可動レール52は、プッシャフィールド3上におけるボールb1の投入位置を振り分けるためのものであり、その基端部が、図示しないモータの出力軸に連結されるなどにより、所定の垂直軸回りに一定角度範囲内で回動可能とされている。可動レール52の先端部には、ボールb1を落下させるための孔52aが設けられている。
図8に表れているように、センターユニットCUは、キャッチャー抽選装置4と、センター抽選装置7と、メインディスプレイ8と、図示しないメダル払い出し機構とを具備して構成されている。本実施形態においては、センター抽選装置7によって実行される抽選ゲームは、たとえば最大数千枚ものメダルmが払い出される大当たり(以下、SJP(スーパージャックポット)という)を獲得するための抽選である。
キャッチャー抽選装置4は、プレイヤの入力操作によってボールb1を掬い取り、またはつかみ取る抽選を行うためのものであり、キャッチャー駆動部41と、キャッチャー42と、回転テーブル43とを含んで構成されている。回転テーブル43上には、複数のボールb1が載置されている。
キャッチャー駆動部41は、キャッチャー42を支持する直線レール411と、この直線レール411を回動させる回動機構412と、直線移動機構413とを備えている。直線レール411は、その一端部が上部カバー12の中央付近に設けられた回動軸121を中心として回動可能とされる一方、他端部に設けられたローラ411Aが上部カバー12の周縁付近に設けられた円弧レール122上を走行するようになっている。かかる構成の回動機構412は、図示しないモータによって駆動させられる。直線移動機構413は、キャッチャー42を直線レール411の長手方向に沿って直線移動させるためのものであり、直線レール411の長手方向にスライド移動可能なスライド部材414を備えている。キャッチャー42は、伸縮シャフト415を介してスライド部材414に吊り下げられており、スライド部材414の内部には、伸縮シャフト415の伸縮動作を行うためのモータが設けられている。スライド部材414は、たとえば、図示しないモータによってプーリ、ベルトを介して駆動させられる。
キャッチャー42は、ボールb1を保持するための開閉可能な一対の保持爪421を有しており、キャッチャー42の内部には、保持爪421を開閉させるためのモータが設けられている。キャッチャー42は、ゲームを実行していない時には、受皿51aの真上に待機している。なお、本実施形態においては、キャッチャー42およびキャッチャー駆動部41は、隣接する2つのメダルゲームフィールドMFごとに1セット設けられている。
回転テーブル43は、平面視において円環形状を呈しており、その上面部分がフラットなボール載置面43aとなっている。このボール載置面43aには、複数のディンプル43bが設けられている。また、回転テーブル43には、ボール載置面43aの周縁を包囲するように上向きに起立した起立壁43cが設けられている。図9に表れているように、ディンプル43bは球面状とされており、その曲率半径はボールb1の曲率半径よりも大とされている。ディンプル43bの深さは、ボールb1の直径の1/10程度と比較的に小さく設定されている。これにより、ボールb1がディンプル43bに嵌まった状態においては、回転テーブル43が定速で回転しても、ボールb1がディンプル43bから出ることはなく、ボール載置面43aに対するボールb1の移動が規制される。これらディンプル43bは、回転テーブル43の円周方向に沿って規則的に配列されている。ディンプル43bの間隔は、ボールb1が通過可能な程度隔てられており、これにより、隣接する2つのディンプル43bにボールb1が嵌まった状態であっても、その間をボールb1が通過できるようになっている。また、ディンプル43bの直径は、円周方向に沿う列ごとに適宜異ならせてもよい。
上記構成の回転テーブル43は、下部筐体10に対して垂直軸周りに回転可能に支持されており、マイクロコンピュータ9が図示しないモータを制御することによって回転させられる。
複数のボールb1は、属性の異なる2種以上によって構成されている。ボールb1の属性は外見上識別可能とされており、本実施形態においては、たとえば、赤、青、および黄に色分けされた3種の属性を有している。また、ボールb1には、図示しないICタグが内蔵されており、このICタグを読取センサによって読み取ることにより、ボールb1の属性を識別可能となっている。
本実施形態では、ボールb1の属性の種類に応じて、センター抽選装置7においてSJP抽選に当選した場合のメダル払い出し枚数が異なるように設定されている。すなわち、ボールb1の色に対応させてSJP当選時のメダル払い出し枚数が規定されている。メダル払い出し枚数は、たとえば、初期値を、赤が1000枚、青が500枚、黄が500枚と異ならせられ、各プレイヤによるメダルゲームフィールドMFへのメダル投入枚数に応じて加算されるように設定されている。具体的には、メダル投入枚数と所定の係数との乗算によって得られた値を加算する。ここで、加算値はすべての色について一定ではなく、異なるものであってもよい。たとえば、メダル払い出し枚数の表示値が最も大きいものについて、加算値が最大となるように各色の係数が採用される。また、SJP当選が発生した場合、SJP当選に係る色に対応するメダル払い出し枚数は、初期値にリセットされる。色ごとのメダル払い出し枚数は、たとえばメインディスプレイ8に表示されている。
キャッチャー42は、操作パネル部13の操作レバー13Bおよび操作ボタン13Aの操作に応じて作動するようになっている。たとえば、キャッチャー抽選装置4における抽選の権利が発生すると、プレイヤが任意のタイミングで操作レバー13Bを操作することにより、直線レール411が往復回動する範囲においてキャッチャー42(スライド部材414)を所望の位置(たとえば狙いを定めたボールb1の円周上)まで移動させることができる。当該位置において、操作ボタン13Aを押すことにより、図10に表れているように、伸縮シャフト415が自動的に送り出され、キャッチャー42が降下する。このとき、保持爪421は開いた状態となっている。そして、キャッチャー42が回転テーブル43のボール載置面43aに接触すると、当該接触をセンサによって検知し、キャッチャー42を少し引き上げたうえで保持爪421を閉じる(図11参照)。これにより、保持爪421を閉じる動作中に当該保持爪421が回転テーブル43に接触して引き摺られることはなく、伸縮シャフト415などに余分な負荷がかかることはない。ここで、ボールb1が保持爪421に挟まれる位置にあれば、ボールb1を掬い取ることができる。次いで、キャッチャー42を引き上げるとともに、回動機構412および直線移動機構413を動作させて、キャッチャー42を待機位置(受皿51aの真上)に戻す。次いで、保持爪421を開く。これら一連の動作は、マイクロコンピュータ9によって制御される。
キャッチャー抽選装置4によってボールb1を獲得すると、当該ボールb1は、固定レール51および可動レール52を介してプッシャフィールド3上に投入される。このボールb1が落下溝32から落下すると、落下溝32の下部にある図示しない上記読取センサによってボールb1の属性が読み取られた後に、クルーン抽選装置6において抽選ゲームが実行される。なお、属性が読取られたボールb1は、図示しないリフト機構を介して回転テーブル43上に戻される。
図3に表れているように、クルーン抽選装置6は、ボールb2を用いて物理的抽選を行うためのものであり、ボールb2が転動する抽選盤61と、抽選盤61の中央において、回転可能とされ、かつ上下に配置された2枚のディスク62,63とを備えている。上側のディスク62には、ボールb2が入る複数(本実施形態では6個)の入賞孔62aが一定ピッチで形成されており、下側のディスク63には、ディスク62に対し、孔63aが入賞孔62aとずれた位置と、孔63aが入賞孔62aに重なる位置との間で孔63aの配列ピッチの約半ピッチ分だけ相対移動可能になっている。本実施形態では、たとえば1個の入賞孔62aが、センター抽選装置7におけるSJP抽選に進むための権利獲得(当選)となっており、他の5個の入賞孔62aが、メダル払出口33による所定枚数のメダル払い出しや画像表示装置2における電子ゲームのステップアップとなっている。
クルーン抽選装置6における抽選時には、マイクロコンピュータ9が図示しないモータを駆動することによって、ディスク62,63は、入賞孔62aおよび孔63aがずれた位置関係で一定方向に回転させられる。ここで、たとえば、ディスク62には図示しないワンウェイクラッチが係合しており、ディスク63の回転駆動に追従してディスク62が回転するようになっている。そして、待機位置にあるボールb2が抽選盤61上に自動的に放出される。ボールb2がいずれかの入賞孔62aに入ると、ボールb2はディスク63上面に支持され、入賞孔62aに半分ほど入った状態で一旦保持される。ここで、ボールb2がどの入賞孔62aに入ったかを図示しないセンサによって検知し、その入賞孔62aに応じて次の展開に進む。次いで、たとえばディスク63だけが少し逆回転させられ、孔63aが入賞孔62aと重なることにより、ボールb2が孔63aから落下する。落下したボールb2は、たとえば図示しないリフト機構によって再び待機位置まで戻される。
図12に表れているように、センター抽選装置7は、ボールb3を用いて物理的抽選(SJP抽選)を行うためのものであり、ボールb3が転動する転動フィールド71と、レール72と、傾斜フィールド73と、入賞テーブル74とを備えている。これら符号71〜74で表された部分は、中央筐体70に支持されており、中央筐体70は、下部筐体10に対して垂直軸周りに回転可能に支持されている。
転動フィールド71は、中央に孔71aが形成されており、中央に向かうほど低位になる漏斗状とされている。レール72は、孔71aから落下したボールb3を螺旋状に転がし、下端の孔72aを通じて傾斜フィールド73の奥方に落下させるためのものである。傾斜フィールド73は、手前側ほど低位になる傾斜面を有しており、たとえばゴムを張設したバウンド部73bによってボールb3を弾きつつ手前側の開口73cに導くように構成されている。なお、傾斜フィールド73の中央には、ゴムを張設した回転ボード73aが設けられており、この回転ボード73aは傾斜面に対する垂直軸周りに適宜回転させられる。これにより、レール72を通じて落下したボールb3は、回転ボード73aによって弾かれて不規則な動きをする。入賞テーブル74は、所定の円周上に沿って配置された複数(本実施形態では20個)のポケット74aを有しており、手前側ほど低位となるように傾斜させられている。入賞テーブル74は、中央筐体70に対して、当該傾斜姿勢を保ったまま所定の傾斜軸周りに回転可能に支持されている。隣接するポケット74aの間は縦壁によって区切られており、ボールb3が傾斜フィールド73の開口73cを通過すると、いずれか1つのポケット74aに入るようになっている。
ポケット74aの外周部には、各ポケット74aに対応する賞の内容が表示されている。本実施形態では、たとえば、20個のポケット74aのうち、1個がSJP当選、5個がSJP以外の所定枚数のメダル払い出し、4個がキャッチャー抽選装置4による抽選の権利獲得、10個がはずれ、として割り当てられている。各ポケット74aにボールb3が入った状態は、たとえば光学式センサ(図示略)によって検知される。たとえば、ポケット74aの外側には、ボールb3が収納されているポケット74aを検知するセンサと、入賞テーブル74の基準位置を検知するセンサと、当該ポケット74aの入賞テーブル74の基準位置からの回転量を検知するセンサとが設けられており、これらセンサからの検知信号に基づいて、マイクロコンピュータ9はどのポケット74aにボールb3が入ったかを把握することができる。
センター抽選装置7における抽選時には、中央筐体70は、マイクロコンピュータ9が図示しないモータを制御することによって、傾斜フィールド73ないし入賞テーブル74の傾斜方向がSJP抽選を行うプレイヤの正面方向を向くように適宜回転させられる。また、入賞テーブル74は、マイクロコンピュータ9が図示しないモータを制御することによって適宜回転させられる。そして、待機位置にあるボールb3が転動フィールド71に放出される。ボールb3は、転動フィールド71、レール72、傾斜フィールド73を転動した後に開口73cを通過し、いずれかのポケット74aに入る。ここで、ボールb3がどのポケット74aに入ったかを上記センサによって検知し、そのポケット74aに応じた賞がプレイヤに与えられる。次いで、たとえば入賞テーブル74を約半周回転させ、ボールb3が入ったポケット74aを上位奥方に配置することにより、中央筐体70内にボールb3が落下回収される。回収されたボールb3は、たとえば図示しないリフト機構によって再び待機位置まで戻される。
上記メダル払い出し機構は、センター抽選装置7における抽選ゲーム(SJP抽選)の終了後に該当するプレイヤのメダルゲームフィールドMF上にメダルmを払い出すためのものである。詳細な図示説明は省略するが、上記メダル払い出し機構は、たとえば通常時にはメインディスプレイ8の裏側に収納される一方、メダル払い出し時には下方に伸張させられてメダルゲームフィールドMFの直上まで通ずるメダル搬送経路を形成するように構成されている。メダル払い出し時には、メインディスプレイ8の両端上部に設けられた図示しないボウルから上記メダル搬送経路上にメダルmが供給される。
次に、メダルゲーム機Aの作用について説明する。
本実施形態のメダルゲーム機Aは、図6を参照して上述したように、送出手段144Aから供給口145aを通じてメダルシュータ145に内挿される一対の板バネ146を具備している。これにより、チャッカ26への入賞を狙ってメダルシュータ145を左右に振っても、板バネ146が先端部に向かうにつれてメダルシュータ145の側壁145c(145d)内面に沿うように湾曲変形させられ、送出手段144Aから送り出されたメダルmはメダルシュータ145内へスムーズに導入される。したがって、メダルシュータ145からの左右におけるメダルmの投出方向を変更しても、メダルシュータ145内においてメダルmが失速するといった不都合が生じることはなく、プレイヤの意図した方向にメダルmを投出することができる。
本実施形態においては、メダルシュータ145の先端側に上向きレール部145Gが設けられていることにより、メダルシュータ145から投出されたメダルmは、メダルシュータ145から傾斜盤面21Aに衝突するまでの間、山形の放物線を描くように移動する。そして、メダルシュータ145に板バネ146が内挿されていることにより、メダルシュータ145からの左右における投出方向を変更しても、メダルシュータ145から投出されたメダルmはほぼ同じ放物線を描くように移動することになり、プレイヤの意図した方向にメダルmを投出することができる。
本実施形態においては、プレイヤによって操作パネル部13のメダル投入口を介してメダルmが投入されると、ホッパー141からメダル搬送ガイド144および送出手段144Aを介してメダルシュータ145へとメダルmが送り出されるように構成されている。このような構成によれば、上記メダル投入口からメダルシュータ145までの距離が比較的に長い場合でも、メダルゲームフィールドMF内にメダルmを迅速に投出することができる。
本実施形態では、メダルシュータ145は、プレイヤによる操作レバー13Bの操作に応じて、モータ152の駆動により回動動作させられる。このような構成によれば、メダルシュータ145の回動操作の操作性を向上させることができる。
また、メダルシュータ145の回動量は、回動機構15のセンサ153a,153bおよび被検知片154によって所定角度範囲内となるように規制されている。これにより、送出手段144Aに対してメダルシュータ145が過度に振られてしまうのを防止することができ、送出手段144Aからメダルシュータ145へのスムーズなメダルmの送り出しをより適確に実現することができる。
本実施形態においては、規制部材25の傾斜盤面21Aに対する規制部材25の取り付け位置が奥行き方向において調整可能とされている。このため、たとえば、規制部材25を傾斜盤面21から遠ざかるように変位させると、規制部材25の奥方へのメダルmの通過率を上げることができ、その結果、チャッカ26に対するメダルmの入賞率を上げることができる。これとは反対に規制部材25を傾斜盤面21Aに近づくように変位させると、チャッカ26に対するメダルmの入賞率を下げることができる。このようにして、規制部材25の位置を変更することにより、チャッカ26に対するメダルmの入賞率を適宜変更することができる。なお、メダルゲーム機Aが設置される施設が異なると、使用するメダルmのサイズが異なる場合がある。このような場合でも、規制部材25の位置を調整することにより、メダルmのサイズの相違に起因するチャッカ26入賞率のばらつきをなくすことができる。なお、長孔27aに支持された規制部材25をモータの駆動力によって奥行き方向に移動させて規制部材25の取り付け位置を調整するようにしてもよい。また、規制部材25の傾斜盤面21Aに対する取り付け位置が、長孔27aによって奥行き方向において調整可能とされているが、これに限定されることはない。例えば、傾斜盤面21Aとの間隔が異なるように規制部材25を支持する複数対の孔を支持板に設け、規制部材を支持する孔を択一的に選択できるような構成としてもよい。さらに、規制部材25の数、配置、形状、サイズは、上記実施形態に限定されるものではない。
以上、本発明の実施形態を説明したが、本発明の技術的範囲は上記した実施形態に限定されるものではない。本発明に係るメダルゲーム機の各部の具体的な構成は、発明の思想から逸脱しない範囲内で種々な変更が可能である。
上記実施形態において、メダルシュータ145は、メダルmの投出方向が水平方向よりも上方となるように先端側に上向きレール部145Gを備える構成とされているが、シュータの形状はこれに限定されるものではない。たとえば、直線状に下向きに傾斜するレール部のみを備える構成としてもよい。すなわち、本発明のシュータとしては、メダルの投出方向が水平方向よりも下方とされたものでもよい。また、メダルシュータ145によってメダルが投出されるメダルフィールドについても、実施形態のものに限らず、どのような形態であってもよい。
すなわち、図13に参考的に示すように、メダルシュータ145としては、送出手段144Aからのメダルを受けてこれを直線的な経路を自重で転動させるようにしたものであってもよい。図13におけるメダルシュータに本発明を適用するにあたっては、たとえば、図5に示したシュータ145を、供給口145aから投出口145bに至るまで、斜め下方に直線的に延びる形態とすることになる。
メダルゲームフィールドMFとしても、図13に示されているように、プッシャフィールド300の上方に横方向の軸を中心として回動可能な透明なメダル搬送板210を設け、このメダル搬送板210が略水平状態となっているタイミングにおいて、その奥方に配置した横方向に並ぶ複数のチャッカ260のどれかを狙い、上記メダル搬送板210上にメダルmを投出するようにしたものであってもよい。チャッカ260の上方には、画像表示装置200が配置されており、たとえば、この画像表示装置200の表示によって指示されたチャッカ260にメダルが通過すると、たとえば、所定枚数のメダルをプッシャフィールド300上に払いだしたり、さらに大きな賞を獲得するためのゲームに移行するための権利が与えられたりといった各種のイベントが発生する。
図13に表された構成においては、メダル投入装置14には、図示しないメダル送出機構を介して、メダルmを立てたまま初速を与えてメダル搬送板210上に転がすためのメダルシュータ145’が設けられており、このメダルシュータ145’は、図示しない操作パネル部に設けられたダイヤルによって左右方向に回動可能とされている。これにより、プレイヤは、たとえば特定のチャッカ260に狙いを定めるようにするなどして、メダルシュータ145’の先端から初速を与えられたメダルmを投出する方向を自由に選択することができる。また、チャッカ260に入ったメダルmおよびチャッカ260に入らなかったメダルmのいずれもプッシャフィールド300上に落下する。プッシャフィールド300は、固定プレート320上に可動プレート310が重ねられ、かつこの可動プレート310がモータ(図示略)の駆動によって一定のストロークで往復動を行なうように構成されたものである。可動プレート310が手前側に前進したときに、固定プレート320上に載っている複数枚のメダルmどうしが固定プレート320の手前に向けてうまく押し合うと、この固定プレート320の先端縁330からその手前下方にメダルmが落下するようになっている。固定プレート320から落下したメダルmは、メダル払出口を通じて操作パネル部上のメダル留置部に払い出されるようになっている。
送出手段144Aおよびメダルシュータ145は、メダルを起立状態で転動されるもののほか、寝かせた状態で滑らせる形態のものであってもよい。つまり、メダルシュータ145の形状、大きさ、長さなどは、本実施形態に限られず、投出口から投出されたメダルが傾斜盤面を超えない範囲内であればよい。
弾性をもったガイド部材としては、上記実施形態のような板バネ146に限定されるものではなく、メダルシュータ145の回動動作にともなって容易に弾性変形可能なものであれば、他の板状部材、あるいは細い線材などによって構成してもよい。また、上記実施形態では、ガイド部材は送出手段144Aの縦壁の内面に沿って連接されているが、これに代えて、ガイド部材は送出手段144Aの縦壁の外面に沿って連接されていてもよい。また、ガイド部材は、送出手段144Aの縦壁と一体となっていてもよいし、他の支持部材に支持させてもよい。
メダルシュータ145の回動量を規制するための回動規制手段としては、上記実施形態のようにフォトセンサを用いた構成に限定されるものではなく、たとえば磁気センサなどの他の種類のセンサを用いた構成や、接触式のリミットスイッチを用いた構成を採用してもよい。
メダルシュータ145を回動させるための回動手段は、モータ152の回転動力をプーリ、ワイヤ、ベルトなどを用いて支持軸に伝達させてもよい。また、モータ152の回転動力を用いずに、プレイヤがダイヤルなどの操作手段を操作することにより付与される回転動力をプーリ、ワイヤ、ベルトなどを用いて支持軸に伝達させてもよい。
板バネ146の大きさ、形状、長さ、シュータへの内挿量は、シュータの形態やメダルの形状、送出形態(起立状もしくは寝かせ状)に応じて適宜変更可能である。
送出手段144Aは、上方から重力によってメダルを転動させ、これをシュータの供給口に向けて送出させるものであってもよい。
さらに、メダルゲーム機については、メダル投出機構14によるメダル投出方向は、平面視において傾斜盤面21Aに対して斜め方向にすることが重要であり、係る要件がみたされておれば、メダル投出機構14のゲームフィールド内での位置は問われず、例えば傾斜盤面21Aの正面に位置していてもよい。
また、傾斜盤面21Aとしては、圧力式もしくは静電容量式のタッチパネルを表面に装備した画像表示装置を用いることにより、この画像表示装置に表示され、かつ種々変化する画像やキャラクタ、あるいは領域を直接狙ってメダルを投出させることにより、このような画像やキャラクタ、あるいは領域にメダルが衝突したことをもって「当たり」あるいは任意の入力信号を発生させ、これを契機として各種のイベントを発生させるといったゲーム展開が可能となり、新感覚のメダルゲーム機としての興趣が生まれる。
本発明に係るメダルゲーム機の一実施形態の全体外観図である。 図1に示すメダルゲーム機の電気的構成を示すブロック図である。 図1に示すメダルゲーム機のメダルゲームフィールドの構成例を示す概略正面図である。 図3に示される構成の部分縦断面図である。 メダル投出装置の概略構成例を示す斜視図である。 送出手段とシュータとの関係を示す横断面図であり、(a)はシュータを振っていない状態を表し、(b)はシュータを振った状態を表す。 可動ピンの作動などを説明するための要部斜視図である。 図1に示すメダルゲーム機の要部斜視図である。 図8の要部断面図である。 キャッチャーの作動を説明するための要部正面図である。 キャッチャーの作動を説明するための要部正面図である。 図1に示すメダルゲーム機の要部斜視図である。 メダルゲームフィールドおよびシュータの他の構成例を示す説明図である。 従来のメダルゲーム機のメダル投出装置を説明するための横断面図である。
符号の説明
A メダルゲーム機
m メダル
MF メダルゲームフィールド(フィールド)
v1 垂直軸
13B 操作レバー
14 メダル投出機構(メダル投出装置)
141 ホッパー
144 メダル搬送ガイド
144A 送出手段
144b,144c 縦壁
145 メダルシュータ(シュータ)
145a 供給口
145b 投出口
145c,145d 側壁
145e 底壁
145F 下向きレール部(第1通路)
145G 上向きレール部(第2通路)
146 板バネ(ガイド部材)
152 モータ

Claims (10)

  1. 供給口から供給されたメダルを投出口から所定のフィールドに投出するシュータと、
    上記供給口にメダルを送出する送出手段と、
    上記シュータを上記送出手段に対して少なくとも左右方向に回動可能にした回動手段と、を備えたメダル投出装置において、
    上記送出手段は、上記供給口に送出されるメダルの進行方向に対する左右方向の動きを規制するガイド部材を備え、
    上記ガイド部材は、弾性材からなり、先端部が上記供給口に内挿されていることを特徴とする、メダル投出装置。
  2. 上記送出手段は、メダルを起立状態で上記供給口に送出し、上記シュータは、メダルを起立状態に維持したまま上記投出口から投出する、請求項1に記載のメダル投出装置。
  3. 上記シュータは、メダルを重力の作用により斜め下向きに転動させる第1通路と、この第1通路になだらかにつながり、メダルを斜め上向きに転動させる第2通路とを備え、
    上記第2通路の先端部に備えられた上記投出口は、上記第1通路の基端部に備えられた上記供給口よりも低位に位置する、請求項1または2に記載のメダル投出装置。
  4. 上記ガイド部材は、上記供給口に送出するメダルが通過可能な間隔を有する一対の起立状の板バネである、請求項1ないし3のいずれかに記載のメダル投出装置。
  5. メダルを投入するためのメダル投入口と、このメダル投入口から投入されたメダルを収容しておくためのホッパーと、このホッパーから上記送出手段へメダルを搬送するためのメダル搬送ガイドとをさらに備え、
    上記メダル投入口からメダルが投入されると、上記ホッパーから上記メダル搬送ガイドおよび上記送出手段を介して上記シュータへとメダルが送出されるように構成されている、請求項1ないし4のいずれかに記載のメダル投出装置。
  6. 上記シュータを回動させるための操作入力を受け付ける操作手段を備え、
    上記回動手段は、上記操作入力に応じて上記シュータを回動させる、請求項1ないし4のいずれかに記載のメダル投出装置。
  7. 上記シュータの回動量を所定角度範囲内に規制する回動規制手段を備える、請求項6に記載のメダル投出装置。
  8. メダルを用いたゲームが行われるゲームフィールドを備えたメダルゲーム機であって、
    メダルを上記ゲームフィールドに投出する請求項1ないし7のいずれかに記載のメダル投出装置を備えたことを特徴とする、メダルゲーム機。
  9. 上記ゲームフィールドには、傾斜させられた傾斜盤面とこの傾斜盤面の低位側に位置するチャッカとが設けられており、
    上記シュータは、平面視において上記傾斜盤面のいずれかの領域に対して斜め方向の初速を有するメダルを投出し、この投出されたメダルが上記傾斜盤面に衝突して落下するように構成されており、
    上記チャッカは、上記傾斜盤面に衝突して落下するメダルの通過を許容する開口を有することを特徴とする、請求項8に記載のメダルゲーム機。
  10. 上記ゲームフィールドには、固定プレートおよび当該固定プレート上において往復動する可動プレートを有するプッシャフィールドが設けられ、
    上記シュータから投出されたメダルは、上記傾斜盤面を経由して上記プッシャフィールドに供給され、
    上記固定プレート上に載っているメダルは、上記可動プレートの往復動によって落下して払い出される、請求項9に記載のメダルゲーム機。
JP2008211402A 2008-08-20 2008-08-20 メダル投出装置およびそれを用いたメダルゲーム機 Active JP5097645B2 (ja)

Priority Applications (1)

Application Number Priority Date Filing Date Title
JP2008211402A JP5097645B2 (ja) 2008-08-20 2008-08-20 メダル投出装置およびそれを用いたメダルゲーム機

Applications Claiming Priority (1)

Application Number Priority Date Filing Date Title
JP2008211402A JP5097645B2 (ja) 2008-08-20 2008-08-20 メダル投出装置およびそれを用いたメダルゲーム機

Publications (2)

Publication Number Publication Date
JP2010046177A true JP2010046177A (ja) 2010-03-04
JP5097645B2 JP5097645B2 (ja) 2012-12-12

Family

ID=42063803

Family Applications (1)

Application Number Title Priority Date Filing Date
JP2008211402A Active JP5097645B2 (ja) 2008-08-20 2008-08-20 メダル投出装置およびそれを用いたメダルゲーム機

Country Status (1)

Country Link
JP (1) JP5097645B2 (ja)

Cited By (2)

* Cited by examiner, † Cited by third party
Publication number Priority date Publication date Assignee Title
CN110422601A (zh) * 2019-07-30 2019-11-08 电子科技大学中山学院 一种精准定向送料机
JP2021045413A (ja) * 2019-09-19 2021-03-25 株式会社タイトー メダルゲーム機

Citations (3)

* Cited by examiner, † Cited by third party
Publication number Priority date Publication date Assignee Title
JPH04220790A (ja) * 1990-12-20 1992-08-11 Asahi Seiko Kk コイン搬送ダクト
JP2004113565A (ja) * 2002-09-27 2004-04-15 Copcom Co Ltd メダル遊戯機
JP2006043151A (ja) * 2004-08-04 2006-02-16 Unie Kiki:Kk ゲーム装置

Patent Citations (3)

* Cited by examiner, † Cited by third party
Publication number Priority date Publication date Assignee Title
JPH04220790A (ja) * 1990-12-20 1992-08-11 Asahi Seiko Kk コイン搬送ダクト
JP2004113565A (ja) * 2002-09-27 2004-04-15 Copcom Co Ltd メダル遊戯機
JP2006043151A (ja) * 2004-08-04 2006-02-16 Unie Kiki:Kk ゲーム装置

Cited By (3)

* Cited by examiner, † Cited by third party
Publication number Priority date Publication date Assignee Title
CN110422601A (zh) * 2019-07-30 2019-11-08 电子科技大学中山学院 一种精准定向送料机
JP2021045413A (ja) * 2019-09-19 2021-03-25 株式会社タイトー メダルゲーム機
JP7373955B2 (ja) 2019-09-19 2023-11-06 株式会社タイトー メダルゲーム機

Also Published As

Publication number Publication date
JP5097645B2 (ja) 2012-12-12

Similar Documents

Publication Publication Date Title
US20100120488A1 (en) Amusement and gaming machines
CN101443086B (zh) 具狭缝的卡盘获奖口以及投币游戏装置
WO2007094249A1 (ja) メダル遊技機
JP5746743B2 (ja) メダルゲーム機
JP4772296B2 (ja) ゲーム機
JP5155062B2 (ja) メダルゲーム機
JP5485556B2 (ja) 抽選装置
JP5097645B2 (ja) メダル投出装置およびそれを用いたメダルゲーム機
US6991230B1 (en) Revolving target amusement apparatus
JP5155061B2 (ja) メダルゲーム機
JP5097643B2 (ja) ゲーム機
JP5563040B2 (ja) メダルゲーム機
JP5782337B2 (ja) ゲーム機
JP5512777B2 (ja) メダルゲーム機
JP2008206669A (ja) ゲーム装置
JP6342469B2 (ja) ゲーム機
JP5478868B2 (ja) 遊技機用の貯留皿とこの貯留皿を備える遊技機
JP2006068155A (ja) メダルゲーム装置
JP3662537B2 (ja) メダルゲーム機
JP4919989B2 (ja) ゲームの移動体移動装置及びゲーム機
JPH08150262A (ja) マルチプレイゲーム機
JP2000042242A (ja) 景品ゲーム機
KR200393939Y1 (ko) 코인류 순환장치의 코인류 이송구조
JP4783649B2 (ja) 遊技機
JP5197391B2 (ja) メダルゲーム機

Legal Events

Date Code Title Description
A621 Written request for application examination

Free format text: JAPANESE INTERMEDIATE CODE: A621

Effective date: 20110818

A977 Report on retrieval

Free format text: JAPANESE INTERMEDIATE CODE: A971007

Effective date: 20120720

TRDD Decision of grant or rejection written
A01 Written decision to grant a patent or to grant a registration (utility model)

Free format text: JAPANESE INTERMEDIATE CODE: A01

Effective date: 20120828

A01 Written decision to grant a patent or to grant a registration (utility model)

Free format text: JAPANESE INTERMEDIATE CODE: A01

A61 First payment of annual fees (during grant procedure)

Free format text: JAPANESE INTERMEDIATE CODE: A61

Effective date: 20120924

R150 Certificate of patent or registration of utility model

Ref document number: 5097645

Country of ref document: JP

Free format text: JAPANESE INTERMEDIATE CODE: R150

Free format text: JAPANESE INTERMEDIATE CODE: R150

FPAY Renewal fee payment (event date is renewal date of database)

Free format text: PAYMENT UNTIL: 20150928

Year of fee payment: 3

R250 Receipt of annual fees

Free format text: JAPANESE INTERMEDIATE CODE: R250

R250 Receipt of annual fees

Free format text: JAPANESE INTERMEDIATE CODE: R250

R250 Receipt of annual fees

Free format text: JAPANESE INTERMEDIATE CODE: R250

R250 Receipt of annual fees

Free format text: JAPANESE INTERMEDIATE CODE: R250

R250 Receipt of annual fees

Free format text: JAPANESE INTERMEDIATE CODE: R250

R250 Receipt of annual fees

Free format text: JAPANESE INTERMEDIATE CODE: R250

S802 Written request for registration of partial abandonment of right

Free format text: JAPANESE INTERMEDIATE CODE: R311802

R350 Written notification of registration of transfer

Free format text: JAPANESE INTERMEDIATE CODE: R350

R250 Receipt of annual fees

Free format text: JAPANESE INTERMEDIATE CODE: R250

R250 Receipt of annual fees

Free format text: JAPANESE INTERMEDIATE CODE: R250

R250 Receipt of annual fees

Free format text: JAPANESE INTERMEDIATE CODE: R250