JP2010044941A - 照明装置および表示装置 - Google Patents

照明装置および表示装置 Download PDF

Info

Publication number
JP2010044941A
JP2010044941A JP2008207864A JP2008207864A JP2010044941A JP 2010044941 A JP2010044941 A JP 2010044941A JP 2008207864 A JP2008207864 A JP 2008207864A JP 2008207864 A JP2008207864 A JP 2008207864A JP 2010044941 A JP2010044941 A JP 2010044941A
Authority
JP
Japan
Prior art keywords
point light
light source
optical sheet
sheet
unevenness
Prior art date
Legal status (The legal status is an assumption and is not a legal conclusion. Google has not performed a legal analysis and makes no representation as to the accuracy of the status listed.)
Granted
Application number
JP2008207864A
Other languages
English (en)
Other versions
JP4582223B2 (ja
Inventor
Shogo Shinkai
章吾 新開
Shigehiro Yamakita
茂洋 山北
Yasuyuki Kudo
泰之 工藤
Hiroshi Ishimori
拓 石森
Eiji Ota
栄治 太田
Minoru Muramoto
穣 村本
Current Assignee (The listed assignees may be inaccurate. Google has not performed a legal analysis and makes no representation or warranty as to the accuracy of the list.)
Sony Corp
Original Assignee
Sony Corp
Priority date (The priority date is an assumption and is not a legal conclusion. Google has not performed a legal analysis and makes no representation as to the accuracy of the date listed.)
Filing date
Publication date
Application filed by Sony Corp filed Critical Sony Corp
Priority to JP2008207864A priority Critical patent/JP4582223B2/ja
Priority to US12/539,342 priority patent/US8016450B2/en
Priority to CN2009101661087A priority patent/CN101649969B/zh
Publication of JP2010044941A publication Critical patent/JP2010044941A/ja
Application granted granted Critical
Publication of JP4582223B2 publication Critical patent/JP4582223B2/ja
Expired - Fee Related legal-status Critical Current
Anticipated expiration legal-status Critical

Links

Images

Classifications

    • GPHYSICS
    • G02OPTICS
    • G02FOPTICAL DEVICES OR ARRANGEMENTS FOR THE CONTROL OF LIGHT BY MODIFICATION OF THE OPTICAL PROPERTIES OF THE MEDIA OF THE ELEMENTS INVOLVED THEREIN; NON-LINEAR OPTICS; FREQUENCY-CHANGING OF LIGHT; OPTICAL LOGIC ELEMENTS; OPTICAL ANALOGUE/DIGITAL CONVERTERS
    • G02F1/00Devices or arrangements for the control of the intensity, colour, phase, polarisation or direction of light arriving from an independent light source, e.g. switching, gating or modulating; Non-linear optics
    • G02F1/01Devices or arrangements for the control of the intensity, colour, phase, polarisation or direction of light arriving from an independent light source, e.g. switching, gating or modulating; Non-linear optics for the control of the intensity, phase, polarisation or colour 
    • G02F1/13Devices or arrangements for the control of the intensity, colour, phase, polarisation or direction of light arriving from an independent light source, e.g. switching, gating or modulating; Non-linear optics for the control of the intensity, phase, polarisation or colour  based on liquid crystals, e.g. single liquid crystal display cells
    • G02F1/133Constructional arrangements; Operation of liquid crystal cells; Circuit arrangements
    • G02F1/1333Constructional arrangements; Manufacturing methods
    • G02F1/1335Structural association of cells with optical devices, e.g. polarisers or reflectors
    • G02F1/1336Illuminating devices
    • G02F1/133602Direct backlight
    • G02F1/133606Direct backlight including a specially adapted diffusing, scattering or light controlling members
    • GPHYSICS
    • G02OPTICS
    • G02BOPTICAL ELEMENTS, SYSTEMS OR APPARATUS
    • G02B3/00Simple or compound lenses
    • G02B3/0006Arrays
    • GPHYSICS
    • G02OPTICS
    • G02BOPTICAL ELEMENTS, SYSTEMS OR APPARATUS
    • G02B5/00Optical elements other than lenses
    • G02B5/04Prisms
    • G02B5/045Prism arrays
    • GPHYSICS
    • G02OPTICS
    • G02FOPTICAL DEVICES OR ARRANGEMENTS FOR THE CONTROL OF LIGHT BY MODIFICATION OF THE OPTICAL PROPERTIES OF THE MEDIA OF THE ELEMENTS INVOLVED THEREIN; NON-LINEAR OPTICS; FREQUENCY-CHANGING OF LIGHT; OPTICAL LOGIC ELEMENTS; OPTICAL ANALOGUE/DIGITAL CONVERTERS
    • G02F1/00Devices or arrangements for the control of the intensity, colour, phase, polarisation or direction of light arriving from an independent light source, e.g. switching, gating or modulating; Non-linear optics
    • G02F1/01Devices or arrangements for the control of the intensity, colour, phase, polarisation or direction of light arriving from an independent light source, e.g. switching, gating or modulating; Non-linear optics for the control of the intensity, phase, polarisation or colour 
    • G02F1/13Devices or arrangements for the control of the intensity, colour, phase, polarisation or direction of light arriving from an independent light source, e.g. switching, gating or modulating; Non-linear optics for the control of the intensity, phase, polarisation or colour  based on liquid crystals, e.g. single liquid crystal display cells
    • G02F1/133Constructional arrangements; Operation of liquid crystal cells; Circuit arrangements
    • G02F1/1333Constructional arrangements; Manufacturing methods
    • G02F1/1335Structural association of cells with optical devices, e.g. polarisers or reflectors
    • G02F1/1336Illuminating devices
    • G02F1/133602Direct backlight
    • G02F1/133603Direct backlight with LEDs
    • GPHYSICS
    • G02OPTICS
    • G02FOPTICAL DEVICES OR ARRANGEMENTS FOR THE CONTROL OF LIGHT BY MODIFICATION OF THE OPTICAL PROPERTIES OF THE MEDIA OF THE ELEMENTS INVOLVED THEREIN; NON-LINEAR OPTICS; FREQUENCY-CHANGING OF LIGHT; OPTICAL LOGIC ELEMENTS; OPTICAL ANALOGUE/DIGITAL CONVERTERS
    • G02F1/00Devices or arrangements for the control of the intensity, colour, phase, polarisation or direction of light arriving from an independent light source, e.g. switching, gating or modulating; Non-linear optics
    • G02F1/01Devices or arrangements for the control of the intensity, colour, phase, polarisation or direction of light arriving from an independent light source, e.g. switching, gating or modulating; Non-linear optics for the control of the intensity, phase, polarisation or colour 
    • G02F1/13Devices or arrangements for the control of the intensity, colour, phase, polarisation or direction of light arriving from an independent light source, e.g. switching, gating or modulating; Non-linear optics for the control of the intensity, phase, polarisation or colour  based on liquid crystals, e.g. single liquid crystal display cells
    • G02F1/133Constructional arrangements; Operation of liquid crystal cells; Circuit arrangements
    • G02F1/1333Constructional arrangements; Manufacturing methods
    • G02F1/1335Structural association of cells with optical devices, e.g. polarisers or reflectors
    • G02F1/1336Illuminating devices
    • G02F1/133602Direct backlight
    • G02F1/133606Direct backlight including a specially adapted diffusing, scattering or light controlling members
    • G02F1/133607Direct backlight including a specially adapted diffusing, scattering or light controlling members the light controlling member including light directing or refracting elements, e.g. prisms or lenses

Landscapes

  • Physics & Mathematics (AREA)
  • Nonlinear Science (AREA)
  • General Physics & Mathematics (AREA)
  • Optics & Photonics (AREA)
  • Mathematical Physics (AREA)
  • Chemical & Material Sciences (AREA)
  • Crystallography & Structural Chemistry (AREA)
  • Planar Illumination Modules (AREA)
  • Optical Elements Other Than Lenses (AREA)
  • Liquid Crystal (AREA)

Abstract

【課題】点状光源に起因する輝度むらおよび色むらを低減することの可能な照明装置および表示装置を提供する。
【解決手段】点状光源10の一の配列方向(L2)と平行な方向に延在する複数の凸部11Aが形成されたムラ消しシート11と、点状光源10の他の配列方向(L1)と平行な方向に延在する複数の凸部12Aが形成されたムラ消しシート12とが点状光源10側から順に重ね合わされている。凸部12Aは、凸部11Aよりも相対的に集光作用の強い立体構造となっており、垂直入射光に対して戻り光を多く発生させる形状となっている。
【選択図】図2

Description

本発明は、例えば透過型の液晶パネルを背後から照明する照明装置およびそれを備えた表示装置に関する。
近年、液晶表示装置は、低消費電力、省スペース等の利点や、低価格化等により、従来から表示装置の主流であったブラウン管(CRT;Cathode Ray Tube)に置き換わりつつある。
その液晶表示装置においても、例えば画像を表示する際の照明方法で分類するといくつかのタイプが存在し、代表的なものとして、液晶パネルの背後に配置した光源を利用して画像表示を行う透過型の液晶表示装置が挙げられる。
このような表示装置では、色の再現域を広くすることが望まれており、その手法の一つとして、冷陰極管(CCFL;Cold Cathode Fluorescent Lamp)の代わりに、青・緑・赤の三原色の発光ダイオード(LED;Light Emitting Diode)を光源に用いることが提案されている。また、三原色のみならず、色域を広げるために四原色や六原色のLEDを用いることも提案されている。
光源としてCCFLやLEDを用いる場合には、面内の輝度分布および色分布を均一化する必要がある。照明装置が比較的小さい場合には、サイドライト型の導光板を用いることもできるが、照明装置が比較的大きく、大きな光量が必要となる場合には、光源を直接並べる直下型が主流である。直下型における輝度むらや色むらを抑制する手法の一つとして、フィラーが内添された拡散板を光源上に配置することが提案されている(特許文献1)。他の手法として、例えば、断面形状が一の方向において一様となっている板を用いることが提案されている(特許文献2)。
特開昭54−155244号公報 特開2005−326819号公報
ところで、三原色のLEDを照明装置の光源として用いた場合には、CCFLを照明装置の光源として用いた場合と比べて、面内の輝度むらおよび色むらを抑制することが難しい。これは、LEDが点状光源であるということと、CCFLが白色なのに対し、三原色のLEDの場合には三色を混合することで白色としなければならないことに起因している。例えば、特許文献1の場合には、特に光源にLEDを用いると、光源から拡散板までの距離を比較的長くする必要があり、照明装置が厚くなってしまうという問題があった。一方、特許文献2の場合には、線光源であるCCFLにおいては有効であるものの、点状光源であるLEDでは、輝度むらおよび色むらが生じてしまうという問題があった。
本発明はかかる問題点に鑑みてなされたもので、その目的は、点状光源に起因する輝度むらおよび色むらを低減することの可能な照明装置およびそれを備えた表示装置を提供することにある。
本発明の照明装置は、一の面内に配置された複数の点状光源と、複数の点状光源との対向領域に重ねて配置された2枚の光学シートとを備えたものである。複数の点状光源は、第1の方向に配列されると共に第1の方向と直交する第2の方向に配列されている。点状光源側の光学シートは、第1の方向と平行な方向に延在すると共に第2の方向と平行な方向に配列された複数の第1の立体構造を有している。点状光源とは反対側の光学シートは、第2の方向と平行な方向に延在すると共に第1の方向と平行な方向に配列された複数の第2の立体構造を有している。この第2の立体構造は、第1の立体構造よりも垂直入射光に対して戻り光を多く発生させる形状となっている。
本発明の表示装置は、画像信号に基づいて駆動される表示パネルと、表示パネルを照明する上記照明装置を備えたものである。
本発明の照明装置および表示装置では、点状光源の一の配列方向と平行な方向に延在する複数の第1の立体構造が形成された一の光学シートと、点状光源の他の配列方向と平行な方向に延在する複数の第2の立体構造が形成された他の光学シートとが点状光源側から順に重ね合わされている。さらに、第2の立体構造が第1の立体構造よりも垂直入射光に対して戻り光を多く発生させる形状となっている。これにより、第1の立体構造で屈折透過してきた光のうち、点状光源とは反対側の光学シートに垂直に入射してきた光が第2の立体構造によって反射され点状光源側に向かう戻り光となる割合が大きくなる。
本発明の照明装置および表示装置によれば、第2の立体構造を第1の立体構造よりも垂直入射光に対して戻り光を多く発生させる形状にしたので、第1の立体構造で屈折透過してきた光のうち、点状光源とは反対側の光学シートに垂直に入射してきた光が第2の立体構造によって反射され点状光源側に向かう戻り光となる割合を大きくすることができる。これにより、第1の立体構造で形成された光源分割像が第2の立体構造で消されるので、点状光源に起因する輝度むらおよび色むらを低減することができる。
以下、本発明の実施の形態について、図面を参照して詳細に説明する。
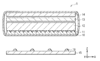
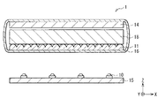
図1は、本発明の一実施の形態に係る照明装置1の断面構成を表したものである。図2は、図1の照明装置1を展開して斜視的に表したものである。
この照明装置1は、一の面10A内に配置された複数の点状光源10と、ムラ消しシート11,12(光学シート)と、拡散部材13と、プリズムシート14と、反射板15とを備えたものである。反射板15は、点状光源10の背後に、複数の点状光源10と対向配置されている。ムラ消しシート11,12、拡散部材13およびプリズムシート14は、点状光源10に関して反射板15の反対側に、点状光源10側からこの順に配置されると共に複数の点状光源10と対向配置されている。なお、以下では、点状光源10、拡散部材13、プリズムシート14および反射板15を説明したのち、ムラ消しシート11,12について説明する。
(点状光源10)
各点状光源10は、例えば、1もしくは複数の単色(同一色)のLED、赤(R)、緑(G)または青(B)の光を発する単一のLED、または、RGBの三原色の光を別個に発する複数のLEDにより構成されている。
各点状光源10は、図2に示したように、ムラ消しシート11の一の方向(図2のX軸方向)に延在する辺11xと平行な方向L1(第1の方向)に配列されると共に、ムラ消しシート11の一の方向(図2のX軸方向)と直交する方向(図2のY軸方向)に延在する辺11yと平行な方向L2(第2の方向)に配列されている。つまり、複数の点状光源10は、マトリクス状に直交配列されている。
ここで、点状光源10における配列方向とは、一の点状光源10の周囲に配置された複数の他の点状光源10のうち一の点状光源10に最も近い他の点状光源10(最も近い他の点状光源10が複数存在する場合にはそのうちの1つ)と、一の点状光源10とを最短距離で結んだときの線分の方向(便宜的に方向Aとする。)と、一の点状光源10から見て方向Aと交差する方向にある複数の他の点状光源10のうち一の点状光源10に最も近い他の点状光源10と、一の点状光源10とを最短距離で結んだときの線分の方向との2方向を指す。
なお、各点状光源10がR、GまたはBの光を発する単一のLEDにより構成されている場合や、RGBの三原色の光を別個に発する複数のLEDにより構成されている場合には、色ごとに上記のルールに従って配列方向が規定される。ただし、LEDの配置の仕方によっては、配列の線分がジグザクになることがあるが、その場合には、ジグザクを平均化して、ジグザクの線分を一本の直線に直せばよい。
また、方向L1における複数の点状光源10のピッチP3は、方向L2における複数の点状光源10のピッチP4と等しいことが好ましいが、ピッチP4と異なっていてもよい。
ここで、複数の点状光源10のピッチとは、配列方向における点状光源10同士の間隔(距離)を指す。なお、各点状光源10がR、GまたはBの光を発する単一のLEDにより構成されている場合や、RGBの三原色の光を別個に発する複数のLEDにより構成されている場合には、色ごとに上記のルールに従ってピッチが規定される。
拡散部材13は、例えば、比較的厚手の板状の透明樹脂の内部に拡散材(フィラ)を分散して形成された光拡散層を有する厚くて剛性の高い光学シート、または、比較的薄手のフィルム状の透明樹脂上に光拡散材を含む透明樹脂を塗布して形成された薄い光学シートである。拡散部材13は、各点状光源10からの光やプリズムシート14側からの戻り光を拡散する機能を有している。この拡散部材13は、当該拡散部材13が剛性の高い光学シートにより構成されている場合には、他の光学シート(例えば、ムラ消しシート11,12およびプリズムシート14)を支持する支持体としても機能する。なお、拡散部材13は、比較的厚手の板状の透明樹脂の内部に拡散材(フィラ)を分散して形成されたものと、比較的薄手のフィルム状の透明樹脂上に拡散材を含む透明樹脂(バインダ)を塗布して形成されたものとを組み合わせたものであってもよい。
ここで、板状またはフィルム状の透明樹脂には、例えばPET、アクリルおよびポリカーボネートなどの光透過性熱可塑性樹脂が用いられる。上記光拡散層は、例えば1mm以上5mm以下の厚みを有している。また、上記光拡散材は、例えば0.5μm以上10μm以下の平均粒子径を有する粒子からなり、上記光拡散層全体の重量に対して0.1重量部以上10重量部以下の範囲で透明樹脂中に分散されている。上記光拡散材の種類としては、例えば、有機フィラや無機フィラなどが挙げられるが、上記光拡散材として空洞性粒子を用いてもよい。
なお、光拡散層が1mmより薄くなると、光拡散性が損なわれ、また、拡散部材13を筐体(図示せず)で支持する際にシート剛性を確保できなくなる虞がある。また、光拡散層が5mmより厚くなると、拡散部材13が光源からの光によって加熱されたときに、その熱を放散することが困難となり、拡散部材13が撓む虞がある。光拡散材の平均粒子径が0.5μm以上10μm以下の範囲にあり、光拡散材が光拡散層全体の重量に対して0.1重量部以上10重量部以下の範囲で透明樹脂中に分散されている場合には、光拡散材としての効果が効率よく発現し、ムラ消しシート11,12との組合せで効率よく輝度むらを解消することができる。
なお、図示しないが、拡散部材13とプリズムシート14との間などに拡散シートが拡散部材13とは別体で設けられていてもよい。この拡散シートは、例えば、比較的薄手のフィルム状の透明樹脂上に光拡散材を含む透明樹脂を塗布して形成された薄い光学シートである。この拡散シートは、拡散部材13などを通過した光を拡散する機能を有している。
(プリズムシート14)
プリズムシート14は、例えば、図2に示したように、その上面(光射出側の面)に、ムラ消しシート12の凸部12Aの延在方向と平行な方向に延在する複数の凸部14Aが延在方向と直交する方向に配列された薄い光学シートである。これにより、プリズムシート14は、底面側から入射した光のうち各凸部12Aの配列方向の成分を底面の法線方向に向けて屈折透過させ、指向性を増加させ、正面輝度を向上させるようになっている。なお、図2では、凸部12Aが、頂部が尖った三角柱形状となっているが、例えば、頂部が丸まっていてもよいし、蛇行していてもよい。また、図2には、凸部12Aが、ムラ消しシート12の凸部12Aの延在方向と平行な方向に延在している場合が例示されているが、例えば、図示しないが、ムラ消しシート12の凸部12Aの延在方向と交差する方向に延在していてもよい。
このプリズムシート14は、例えば、透光性を有する樹脂材料、例えば1または複数種類の熱可塑性樹脂を用いて一体的に形成されていてもよいし、また、透光性の基材、例えば、PET(ポリエチレンテレフタレート)上にエネルギー線(たとえば紫外線)硬化樹脂を転写して形成されていてもよい。
ここで、熱可塑性樹脂としては、光の射出方向を制御するという機能を考慮すると、屈折率1.4以上のものを用いることが好ましい。このような樹脂としては、例えば、ポリカーボネート樹脂、PMMA(ポリメチルメタクリレート樹脂)などのアクリル樹脂、ポリエチレン(PE)およびポリプロピレン(PP)などのポリオレフィン系樹脂、ポリエチレンテレフタレートなどのポリエステル樹脂、MS(メチルメタクリレートとスチレンの共重合体)などの非晶性共重合ポリエステル樹脂、ポリスチレン樹脂、ポリ塩化ビニル樹脂、シクロオレフィン系樹脂、ウレタン系樹脂、天然ゴム系樹脂および人工ゴム系樹脂、およびこれらの複数の組み合わせなどが挙げられる。
反射シート15は、複数の点状光源10を含む面10Aから所定の間隙だけ離れた位置に対向配置されており、点状光源10側に反射面を有している。この反射面は、正反射だけでなく、拡散反射の機能も有していることが好ましい。このような正反射および拡散反射の機能を発現するために、樹脂を白色に着色したものを反射面に用いることが可能であるが、その場合には高い光線反射特性が得られることが好ましい。そのような材料としては、例えば、ポリカーボネート樹脂、ポリブチレンテレフタレート樹脂などが挙げられる。
ムラ消しシート11は、図2に示したように、その上面(光射出側の面)に、点状光源10の一の延在方向(方向L2)と平行な方向に延在する複数の凸部11A(第1の立体構造)が一の延在方向と直交する方向に配列された薄い光学シートである。一方、ムラ消しシート12は、図2に示したように、その上面(光射出側の面)に、点状光源10の一の延在方向(方向L1)と平行な方向に延在する複数の凸部12A(第2の立体構造)が延在方向と直交する方向に配列された薄い光学シートである。つまり、凸部11Aの延在方向と、凸部12Aの延在方向とは互いに直交している。ムラ消しシート11,12は、例えば、プリズムシート14と共通する材料によって形成されている。なお、ムラ消しシート12に対して光拡散材が含まれていてもよい。
凸部11Aは、凸部12Aとの関係で点状光源10側からの入射光を相対的に通し易い光学特性を発現する立体構造となっている。一方、凸部12Aは、凸部11Aとの関係で点状光源10側からの入射光を相対的に通し難い光学特性を発現する立体構造となっている。具体的には、凸部12Aは、凸部11Aよりも垂直入射光に対して戻り光を多く発生させる形状となっている。
ここで、凸部12Aが凸部11Aよりも垂直入射光に対して戻り光を多く発生させというのは、おおまかに言うと、光学シート12に対して点状光源10側から光を垂直入射させたときの、光学シート12の全光線透過率(JIS K 7361)が、光学シート11に対して点状光源10側から光を垂直入射させたときの、光学シート11の全光線透過率よりも小さいことを意味している。これは、数値を示して具体的に言うと、凸部11A,12Aが式(1),(2)を満たした上で、式(3)を満たしていることとほぼ等価である。
P3/H>1.3…(1)
P4/H>1.3…(2)
20>Tt1−Tt2>5…(3)
P3は、点状光源10の方向L1のピッチである。P4は、点状光源10の方向L2のピッチである。Hは、点状光源10とムラ消しシート11との距離である。Tt1は、ムラ消しシート11に対して点状光源10側から光を垂直入射させたときの、ムラ消しシート11の全光線透過率である。Tt2は、ムラ消しシート12に対して点状光源10側から光を垂直入射させたときの、ムラ消しシート12の全光線透過率である。
また、ムラ消しシート11,12にフィラーなどの拡散剤が入っておらず、ムラ消しシート11,12の上に拡散板が存在する場合には、下記のように凸部11A,12Aを規定することも出来る。凸部11A,12Aは、式(4)、(5)を満たした上で、式(6),(7)を満たす。
P3/H>1.3…(4)
P4/H>1.3…(5)
0.1≦R2/P2<R1/P1<0.4…(6)
0.02<R1/P1−R2/P2<0.1…(7)
P1は、図2に示したように、複数の凸部11Aの配列方向(X軸方向)のピッチである。P2は、図2に示したように、複数の凸部12Aの配列方向(Y軸方向)のピッチである。R1は、図3に示したように、凸部11Aの頂部11Rの曲率である。R2は、図3に示したように、凸部12Aの頂部12Rの曲率である。なお、図3は、凸部11A,12Aの断面形状の一例を重ねて表したものである。また、図3中のφ1は、凸部11Aに接する接線T1と、ムラ消しシート11の裏面と平行な面T2とのなす角であり、図3中のφ2は、凸部12Aに接する接線T3と、ムラ消しシート11の裏面と平行な面T2とのなす角である。
ここで、φ1,φ2が39°未満の場合には、ムラ消しシート11,12の裏面に垂直に入射した光において、凸部11A,12Aの表面を透過する割合が凸部11A,12Aで反射されて戻り光となる割合よりも支配的となっている。また、φ1,φ2が59°を超える場合には、ムラ消しシート11,12の裏面に垂直に入射した光が凸部11A,12Aの一の表面において全反射されるものの、その反射光が凸部11A,12Aの他の表面を透過し、その透過光が再度、凸部11A,12Aに入射することが無い。そのため、この場合にも、ムラ消しシート11,12の裏面に垂直に入射した光において、ムラ消しシート11,12を透過する割合がムラ消しシート11,12で反射されて戻り光となる割合よりも支配的となっている。
また、式(4)、(5)の上限および下限は、以下の式(6)によって求められるムラ率によって規定されたものであり、ムラ率が3%を超えない範囲内となるように規定されている。ムラ率3%というのは、人が表示ムラを視認することができない(または表示ムラが気にならない)上限であり、表示品質における指針の一つとなっている。
ムラ率(%)=((最大輝度−最小輝度)/平均輝度)×100…(6)
また、φ1,φ2は、凸部11A,12Aの頂部から底部に向かうにつれて滑らかに大きくなっていることが好ましい。例えば、凸部11Aが、図3に示したように、点状光源10の一の延在方向(方向L2)と平行な方向に延在する頂部11Rを有すると共に、その頂部11Rの両側に、頂部11Rと滑らかに連続する傾斜面11Sを有する三角柱状の立体構造を有している場合には、頂部11Rが光射出側に突出した凸形状となっており、傾斜面11Sが平面となっていることが好ましい。また、例えば、凸部12Aが、図3に示したように、点状光源10の一の延在方向(方向L1)と平行な方向に延在する頂部12Rを有すると共に、その頂部12Rの両側に、頂部12Rと滑らかに連続する傾斜面12Sを有する三角柱状の立体構造を有している場合には、頂部12Rが光射出側に突出した凸形状となっており、傾斜面12Sが平面となっていることが好ましい。
なお、凸部11A,12Aが、図3に示したような立体構造となっている場合に、傾斜面11S,12Sの傾斜角が互いに等しくなっているときには、必然的に、頂部11Rの高さが頂部12Rの高さよりも高くなる。
また、凸部11A,12Aは、上で例示した形状に限定されるものではなく、上記の式(1)〜(5)を満たす範囲内で変形可能なものである。
凸部11Aのうち、各点状光源10からムラ消しシート11に垂直に入射した光が全反射され点状光源10側に向かう戻り光を発生させる戻り光発生部分a1(第1の部分)が、ムラ消しシート11を面10Aの法線方向から見たときに凸部11Aに占める割合をK1とし、凸部12Aのうち、ムラ消しシート11を透過してきた光のうちムラ消しシート12に垂直に入射した光が全反射され点状光源10側に向かう戻り光を発生させる戻り光発生部分b1(第2の部分)が、ムラ消しシート12を面10Aの法線方向から見たときに凸部12Aに占める割合をK2としたとき、K2がK1よりも大きくなっていることが好ましい。
例えば、凸部11Aが、図3に示したような立体構造となっている場合には、図3に示したように、戻り光発生部分a1が傾斜面11Sに対応し、凸部11Aのうち戻り光発生部分a1以外の部分a2が頂部11Rに対応する。また、例えば、凸部12Aが、図3に示したような立体構造となっている場合には、戻り光発生部分b1が傾斜面12Sに対応し、凸部12Aのうち戻り光発生部分b1以外の部分b2が頂部12Rに対応する。なお、傾斜面11S,12Sの傾斜角および表面形状、頂部11R,12Rの表面形状によっては、上で示したような対応関係が成立するとは限らない。
次に、本実施の形態の照明装置1の作用および効果について説明する。
本実施の形態の照明装置1では、各点状光源10から射出された光は、ムラ消しシート11,12によって輝度ムラが低減されたのち、拡散部材13で拡散され、指向性が緩和されたのち、プリズムシート14で集光され、正面輝度と指向性の調整がなされる。
ところで、本実施の形態では、点状光源10の一の配列方向(L2)と平行な方向に延在する複数の凸部11Aが形成されたムラ消しシート11と、点状光源10の他の配列方向(L1)と平行な方向に延在する複数の凸部12Aが形成されたムラ消しシート12とが点状光源10側から順に重ね合わされている。これにより、複数の点状光源10から発せられた光のうち、点状光源10の配列方向L1と平行な方向の輝度むらをムラ消しシート11によって緩和することができ、点状光源10の配列方向L2と平行な方向の輝度むらをムラ消しシート12によって緩和することができる。
ここで、ムラ消しシート11の裏面に入射する光はほぼ直線的な光であり、ムラ消しシート12に入射する光はムラ消しシート11で散乱された拡散光である。点状光源10の配列方向L1と平行な方向(X方向)の戻り光の量と、点状光源10の配列方向L2と平行な方向(Y方向)の戻り光の量とを均等にするためには、ムラ消しシート12における、戻り光を発生させる能力の方がムラ消しシート11における、戻り光を発生させる能力よりも高いことが要求される。そのため、双方の能力が同じ場合(典型的には、ムラ消しシート11の凸部11Aの形状および材料と、ムラ消しシート12の凸部12Aの形状および材料が同一の場合)には、直線入射光の多いムラ消しシート11の方が直線入射光の少ないムラ消しシート12よりも、ムラ消し効果が高くなる。その結果、X方向だけムラが消えてY方向のムラは消えないという現象や、X方向だけ異常に点状光源10上が暗くなってしまうという現象が発生する。
一方、本実施の形態では、ムラ消しシート12の凸部12Aがムラ消しシート11の凸部11Aよりも相対的に集光作用の強い(つまり、式(1)〜(5)を満たす)立体構造となっており、垂直入射光に対して戻り光を多く発生させる形状となっている。これにより、ムラ消しシート11のムラ消し効果と、ムラ消しシート12のムラ消し効果とをほぼ等しくすることができるので、X方向だけムラが消えてY方向のムラは消えないという現象や、X方向だけ異常に点状光源10上が暗くなってしまうという現象をなくすることができ、点状光源10に起因する輝度むらおよび色むらを低減することができる。
また、本実施の形態において、ムラ消しシート12に対して光拡散剤が含まれている場合には、光拡散剤の散乱効果によって、点状光源10に起因する輝度むらおよび色むらを低減することができる。ただし、光拡散剤の添加量は微量であることが好ましく、例えば、厚さ2mmの両面平坦な透明板に光拡散剤を含ませた場合に、その光拡散剤を添加した透明板に光を垂直入射させたときの全光線透過率が81%以上87%以下となるような範囲内の値であることが好ましい。ここで、上限値は透明板における全光線透過率の限界値であり、下限値は透明板の表面に立体形状が設けられている場合に、光拡散剤の添加によって戻り光発生効果が大きく阻害されない程度の量として規定した値である(後述の図14参照)。
なお、上記とは逆に、ムラ消しシート11に対して光拡散材が含まれている場合には、点状光源10からの入射光がさらに散乱されてムラ消しシート12に入射するようになるので、ムラ消しシート12における戻り光発生能力をさらに高くすることが必要となる。しかし、戻り光発生能力の向上には限界があるので、拡散シートを追加したり、点状光源10を密に配置したりすることが必要となるが、そのようにした場合には、照明装置1の薄型化や省灯化が阻害されてしまう。従って、ムラ消しシート11に対して光拡散材を含ませることは、照明装置1の薄型化や省灯化の観点から好ましくない。
ところで、一般に、面内の輝度むらが発生するのは、P3/HまたはP4/Hを大きくしたときである。P3/HまたはP4/Hが大きくなるケースは二つあり、一つは点状光源10とムラ消しシート11との距離Hを狭くして薄型化したときであり、もう一つは点状光源10の数を減らして(点状光源10のピッチP3,P4を減らして)省灯化したときである。本実施の形態の表示装置は、いずれのケースにも適している。
[変形例]
上記実施の形態では、点状光源10上に配置された各種光学シート(例えば、ムラ消しシート11,12、拡散部材13、プリズムシート14)を特に何かで覆っていなかったが、拡散部材13を比較的厚手の拡散板とし、拡散部材13を支持体として用いた場合には、例えば、図4に示したように、各種光学素子を可撓性フィルム16で覆うことが可能である。このようにした場合には、点状光源10上の各種光学シートが温度変化に応じて伸縮する量が互いに異なるときであっても、それぞれの光学シートにしわを発生させることなく、各種光学シートを照明装置1の筐体(図示せず)に保持させることができる。ここで、図4に示したように、拡散部材13の裏面(点状光源10側の面)と可撓性フィルム16との間にムラ消しシート11,12を配置した場合には、反りやたわみを防止するためにムラ消しシート11,12の剛性を強くする必要がないので、ムラ消しシート11,12を拡散部材13の上面に設けた場合と同程度にムラ消しシート11,12を薄くすることができる。これにより、ムラ消しシート11,12を拡散部材13の直下に設けた場合であっても、照明装置1を薄型化することが可能となる。
さらに、図5に示したように、可撓性フィルム16の光入射側領域に、ムラ消しシート11の凸部11Aと同様の特徴を有する凸部17Aを設けるようにしてもよい。このように、ムラ消しシート11の代わりに、凸部17Aを有するムラ消し部17を可撓性フィルム16の光入射側領域に設けることにより、照明装置1をさらに薄型化することが可能となる。
また、例えば、図6に示したように、ムラ消しシート11を厚くして剛性を持たせ支持体として用いたり、図7、図8に示したように、ムラ消しシート12を厚くして剛性を持たせ支持体として用いたりすることも可能である。なお、ムラ消しシート11またはムラ消しシート12を支持体として用いる場合には、拡散部材13は支持体として機能する拡散板である必要はなく、薄い拡散シートであってもよい。また、拡散部材13が薄い拡散シートとなっている場合には、ムラ消しシート12にフィラーを含有させ拡散性を強めることが好ましい。
また、例えば、図9、図10に示したように、ムラ消しシート12および拡散部材13の代わりに、ムラ消しシート12と拡散部材13とを互いに一体に形成したムラ消しシート18をムラ消しシート11の上面に設けることも可能である。また、例えば、図11に示したように、ムラ消しシート12および拡散部材13の代わりに、ムラ消しシート12と拡散部材13とを互いに一体に形成したムラ消しシート18を可撓性フィルム16のムラ消し部17に接して設けることも可能である。なお、ムラ消しシート18は、拡散部材13の上面にムラ消しシート12を貼り合わせたり、拡散部材13を形成する際に拡散部材13の上面にムラ消しシート12の凸部12Aと同一形状の立体構造を作り込んだりすることにより作製可能である。なお、ムラ消しシート18が強い拡散性を有していない場合には、ムラ消しシート18とプリズムシート14との間に、拡散シートを設けることが好ましい。
[実施例]
次に、上記実施の形態の照明装置1の実施例について説明する。
図12、図13、図14は、照明装置1におけるムラ消しシート11,12の構成と、点状光源10とムラ消しシート11との距離Hとの組み合わせを変えることにより得られたサンプル1〜34の輝度ムラの計測結果および判定を表すものである。
サンプル1〜34は、点状光源10上に、ムラ消しシート11、ムラ消しシート12、拡散部材13、プリズムシート14および反射型偏光分離素子15を点状光源10側から順に配置すると共に、点状光源10の背面に反射シート15を配置することにより作製されたものである。ここで、図12に記載のサンプル1〜12において、点状光源10として白色LEDを用い、ピッチP3,P4を30mmとした。図13に記載のサンプル13〜24において、点状光源10としてRGBの三原色の光を別個に発するLEDを用い、ピッチP3,P4を40mmとした。サンプル1〜24において、ムラ消しシート11,12のいずれに対してもフィラーを添加せず、拡散部材13として全光線透過率80%程度の拡散板を使用した。図14に記載のサンプル25〜34において、点状光源10としてRGBの三原色の光を別個に発するLEDを用い、ピッチP3,P4を40mmとした。サンプル25〜34において、ムラ消しシート11に対してはフィラーを添加しなかったが、ムラ消しシート12に対してフィラーを添加し、拡散部材13として拡散シートを使用した。サンプル1〜34において、ムラ消しシート11,12の凸部11A,12Aとして図15に示したような断面形状を有するものを選択し、拡散部材13として、透過率80%程度のものを用いた。また、サンプル24〜34において、ムラ消しシート12添加するフィラーとして図16に示したようなものを選択した。
図12から、ムラ消しシート11、12および拡散板を用いた場合において、P3/H>1.3、P34/H>1.3となっているとき、Tt1−Tt2が20>Tt1−Tt2>5となっているサンプル5、7、9、11では、ムラが見えなかった。P3/Hと、P4/HがP3/H<1.3、P4/H<1.3となっているときは、ムラ消しシート11,12の形状を変えなくてもムラが見えなかった。また、ムラが見えなかったサンプル5、7、9、11では、R2/P2と、P1/P1は、0.1≦R2/P2<P1/P1<0.4と、0.02<R1/P1−R2/P2<0.1を満たしていた。
図13からは、図12と同様、光源として3色LEDを用いた場合においても上記が成立した。ムラが見えなかったサンプル17、19、21、23は、以下の関係式群AまたはBを満たしていた。
(関係式群A)
P3/H>1.3
P4/H>1.3
20>Tt1−Tt2>5
(関係式群B)
P3/H>1.3
P4/H>1.3
0.1≦R2/P2<R1/P1<0.4
0.02<R1/P1−R2/P2<0.1
図14からは、ムラが見えなかったサンプル30〜33は、ムラ消しシート11と、フィラー入りのムラ消しシート12と、拡散シートとを用いた場合において、P3/Hと、P4/HがP3/H>1.3、P4/H>1.3となっているとき、Tt1−Tt2が20>Tt1−Tt2>5となっている。同様に、R2/P2は、R2/P2<0.1となっている。また、ムラ消しシート12に添加する適当な拡散剤の量はC,D,E,Fであり、厚さ2mmの両面平坦な透明板に同量の光拡散剤を含ませた場合に、その光拡散剤を添加した透明板に光を垂直入射させたときの全光線透過率Tt‘が81%以上87%以下となるような範囲内の値となっている。
図17は、上記サンプル1〜34において、プリズムシート14の凸部14Aの稜線がムラ消しシート12の凸部12Aの稜線と平行となっている場合と、直交している場合とにおける輝度ムラの計測結果および判定を表すものである。
図17から、プリズムシート14の凸部14Aの稜線がムラ消しシート12の凸部12Aの稜線と平行となっている場合に、輝度ムラがなくなることがわかった。
図18は、拡散板1〜8を用い、その拡散板の全光線透過率と、点状光源10上に、ムラ消しシート11、ムラ消しシート12、拡散板、プリズムシート14および反射型偏光分離素子を点状光源10側から順に配置すると共に、点状光源10の背面に反射シート15を配置したときの輝度および輝度ムラの計測結果と、判定とを表すものである。図18から、輝度については、拡散板4〜8に優位性があることがわかった。ただし、拡散板の透過率が90%となる(拡散板8)と、拡散性がほとんど無いので、輝度ムラ・色ムラが悪化する。よって、全光線透過率、輝度および輝度ムラの全ての観点からは、拡散板4〜7(透過率で76%〜85%)が適当となる。
[適用例]
次に、上記実施の形態の照明装置1を表示装置に適用した場合について説明する。なお、以下では、照明装置1のうち図1と図6に例示した構成を備えたものを表示装置に適用した場合について説明するが、それ以外の構成を有するものを表示装置に適用することはもちろん可能である。
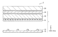
図19は、本適用例にかかる表示装置2の断面構成を表したものである。この表示装置2は、表示パネル20と、プリズムシート14を表示パネル20側に向けて配置された照明装置1とを備えており、表示パネル20の表面が観察者(図示せず)側に向けられている。
表示パネル20は、図示しないが、観察側の透明基板と照明装置1側の透明基板との間に液晶層を有する積層構造となっている。具体的には、観察側から順に、偏光板、透明基板、カラーフィルタ、透明電極、配向膜、液晶層、配向膜、透明画素電極、透明基板および偏光板を有している。
偏光板は、光学シャッタの一種であり、ある一定の振動方向の光(偏光)のみを通過させる。これら偏光板はそれぞれ、偏光軸が互いに90度異なるように配置されており、これにより照明装置1からの射出光が、液晶層を介して透過し、あるいは遮断されるようになっている。透明基板は、可視光に対して透明な基板、例えば板ガラスからなる。なお、照明装置1側の透明基板には、透明画素電極に電気的に接続された駆動素子としてのTFT(Thin Film Transistor;薄膜トランジスタ)および配線などを含むアクティブ型の駆動回路が形成されている。カラーフィルタは、照明装置1からの射出光を例えば、RGBの三原色にそれぞれ色分離するためのカラーフィルタを配列して構成されている。透明電極は、例えばITO(Indium Tin Oxide;酸化インジウムスズ)からなり、共通の対向電極として機能する。配向膜は、例えばポリイミドなどの高分子材料からなり、液晶に対して配向処理を行う。液晶層は、例えば、VA(Vertical Alignment)モード、TN(Twisted Nematic)モードまたはSTN(Super Twisted Nematic)モードの液晶からなり、駆動回路からの印加電圧により、照明装置1からの射出光を画素ごとに透過または遮断する機能を有する。透明画素電極は、例えばITOからなり、画素ごとの電極として機能する。
次に、表示装置2における作用について説明する。照明装置1内の各点状光源10から射出された光は所望の正面輝度、面内輝度分布および視野角などを有する光に調整されたのち、表示パネル20の裏面を照明する。表示パネル20の裏面を照明した光は、表示パネル20で変調され、画像光として表示パネル20の表面から観察者側に射出される。
ところで、表示装置2では、照明装置1内のムラ消しシート11,12において式(1)〜(5)が満たされているので、表示パネル20の裏面を照明する照明光の輝度むらおよび色むらが小さくなっている。これにより、表示品質の高い表示装置2を提供することができる。
なお、図20に示したように、表示装置2において、ムラ消しシート12および拡散部材13の代わりに、ムラ消しシート12と拡散部材13とを互いに一体に形成したムラ消しシート18をムラ消しシート11の上面に設けたものを照明装置として用いてもよい。
以上、実施の形態、変形例および適用例を挙げて本発明を説明したが、本発明は実施の形態等に限定されるものではなく、種々の変形が可能である。
例えば、上記実施の形態等では、照明装置1および表示装置2において、照明装置1に含まれる各種光学シートとして、ムラ消しシート11,12、拡散部材13、プリズムシート14を挙げていたが、必要に応じて、それ以外の光学シートを照明装置1に含ませたり、取り除いたりしてもよい。
本発明の一実施の形態に係る照明装置の一例の断面図である。 図1の照明装置の内部構成を展開して斜視的に表した斜視図である。 図1のムラ消しシートの凸部の断面図である。 図1の照明装置の第1の変形例の断面図である。 図1の照明装置の第2の変形例の断面図である。 図1の照明装置の第3の変形例の断面図である。 図1の照明装置の第4の変形例の断面図である。 図1の照明装置の第5の変形例の断面図である。 図1の照明装置の第6の変形例の断面図である。 図1の照明装置の第7の変形例の断面図である。 図1の照明装置の第8の変形例の断面図である。 一実施例に係る照明装置の構成と、それに対応する輝度ムラの計測結果および判定結果を表した対応図である。 他の実施例に係る照明装置の構成と、それに対応する輝度ムラの計測結果および判定結果を表した対応図である。 その他の実施例に係る照明装置の構成と、それに対応する輝度ムラの計測結果および判定結果を表した対応図である。 各実施例における凸部11A,12Aの断面形状を表した断面図である。 各実施例におけるフィラーの構成と、それに対応する全光線透過率とについて表した対応図である。 更にその他の実施例に係る照明装置の構成と、それに対応する輝度ムラの計測結果および判定結果を表した対応図である。 各種拡散板と、拡散板ごとの全光線透過率、輝度および輝度ムラの計測結果ならびに判定結果とを表した対応図である。 図1の照明装置の一適用例に係る表示装置の断面図である。 図9の照明装置の一適用例に係る表示装置の断面図である。
符号の説明
1…照明装置、2…表示装置、10…点状光源、11,12,18…ムラ消しシート、11A,12A,14A,17A…凸部、11R,12R…頂部、11S,12S…傾斜面、13…拡散部材、14…プリズムシート、15…反射シート、16…可撓性フィルム、17…ムラ消し部、20…表示パネル、P1,P2,P3,P4…ピッチ、L1,L2…配列方向。

Claims (17)

  1. 一の面内に配置された複数の点状光源と、
    前記複数の点状光源との対向領域に重ねて配置された2枚の光学シートと
    を備え、
    前記複数の点状光源は、第1の方向に配列されると共に前記第1の方向と直交する第2の方向に配列され、
    前記点状光源側の光学シートは、前記第1の方向と平行な方向に延在すると共に前記第2の方向と平行な方向に配列された複数の第1の立体構造を有し、
    前記点状光源とは反対側の光学シートは、前記第2の方向と平行な方向に延在すると共に前記第1の方向と平行な方向に配列された複数の第2の立体構造を有し、
    前記第2の立体構造は、前記第1の立体構造よりも垂直入射光に対して戻り光を多く発生させる形状となっている照明装置。
  2. 前記第1の立体構造および前記第2の立体構造は以下の式を満たす請求項1に記載の照明装置。
    P3/H>1.3
    P4/H>1.3
    20>Tt1−Tt2>5
    P3:前記点状光源の前記第1の方向のピッチ
    P4:前記点状光源の前記第2の方向のピッチ
    H:前記点状光源と前記点状光源側の光学シートとの距離
    Tt1:前記点状光源側の光学シートに対して前記点状光源側から光を垂直入射させたときの、前記点状光源側の光学シートの全光線透過率
    Tt2:前記点状光源とは反対側の光学シートに対して前記点状光源側から光を垂直入射させたときの、前記点状光源とは反対側の光学シートの全光線透過率
  3. 前記第1の立体構造は前記第1の方向と平行な方向に延在する第1の頂部を有すると共に、前記第1の頂部の両側に一対の第1の傾斜面を有し、
    前記第2の立体構造は前記第2の方向と平行な方向に延在する第2の頂部を有すると共に、前記第2の頂部の両側に一対の第2の傾斜面を有する請求項1に記載の照明装置。
  4. 前記第1の頂部および前記第2の頂部の表面は、光射出側に突出した凸状の曲面となっており、
    前記第1の傾斜面および前記第2の傾斜面の表面は、平面となっている請求項3に記載の照明装置。
  5. 前記第1の頂部および前記第1の傾斜面に接する接線と前記一の面とのなす角をφ1、前記第2の頂部および前記第2の傾斜面に接する接線と前記一の面とのなす角をφ2とすると、φ1は前記第1の頂部から前記第1の傾斜面に向かうにつれて滑らかに大きくなっており、φ2は前記第2の頂部から前記第2の傾斜面に向かうにつれて滑らかに大きくなっている請求項4に記載の照明装置。
  6. 前記第1の頂部の高さが前記第2の頂部の高さよりも高くなっている請求項3に記載の照明装置。
  7. 前記点状光源とは反対側の光学シートの上に拡散板を備える請求項1に記載の照明装置。
  8. 前記第1の立体構造および前記第2の立体構造は以下の式を満たす請求項7に記載の照明装置。
    P3/H>1.3
    P4/H>1.3
    0.1≦R2/P2<R1/P1<0.4
    0.02<R1/P1−R2/P2<0.1
    P3:前記点状光源の前記第1の方向のピッチ
    P4:前記点状光源の前記第2の方向のピッチ
    R1:前記第1の立体構造の頂部の曲率
    R2:前記第2の立体構造の頂部の曲率
  9. 前記拡散板の透過率は76%以上85%以下である請求項7に記載の照明装置。
  10. 前記点状光源とは反対側の光学シートは光拡散材を含む請求項1に記載の照明装置。
  11. 前記点状光源とは反対側の光学シートに含まれる光拡散剤の添加量は、厚さ2mmの両面平坦な透明板に同量の光拡散剤を添加した場合に、その光拡散剤を添加した透明板に光を垂直入射させたときの全光線透過率が81%以上87%以下となるような範囲内の値となっている請求項10に記載の照明装置。
  12. 前記第2の立体構造は以下の式を満たす請求項10に記載の照明装置。
    R2/P2<0.1
    P2:前記複数の第2の立体構造の配列方向のピッチ
    R2:前記第2の立体構造の頂部の曲率
  13. 前記点状光源とは反対側の光学シートの上に輝度向上フィルムを備え、
    前記輝度向上フィルムは、前記第2の方向と平行な方向に延在すると共に前記第1の方向と平行な方向に配列された複数の第3の立体構造を有する請求項1に記載の照明装置。
  14. 前記2枚の光学シートを包み込む可撓性フィルムを備える請求項1に記載の照明装置。
  15. 前記点状光源とは反対側の光学シートを包み込む可撓性フィルムを備え、
    前記可撓性フィルムのうち、前記点状光源からの光が入射する光入射領域が、前記点状光源側の光学シートとなっている請求項1に記載の照明装置。
  16. 前記点状光源とは反対側の光学シートが前記点状光源側の光学シートを支持する支持体として機能する請求項15に記載の照明装置。
  17. 画像信号に基づいて駆動される表示パネルと、
    前記表示パネルを照明する照明装置と
    を備え、
    前記照明装置は、
    一の面内に配置された複数の点状光源と、
    前記複数の点状光源との対向領域に重ねて配置された2枚の光学シートと
    を備え、
    前記複数の点状光源は、第1の方向に配列されると共に前記第1の方向と直交する第2の方向に配列され、
    前記点状光源側の光学シートは、前記第1の方向と平行な方向に延在すると共に前記第2の方向と平行な方向に配列された複数の第1の立体構造を有し、
    前記点状光源とは反対側の光学シートは、前記第2の方向と平行な方向に延在すると共に前記第1の方向と平行な方向に配列された複数の第2の立体構造を有し、
    前記第2の立体構造は、前記第1の立体構造よりも垂直入射光に対して戻り光を多く発生させる形状となっている表示装置。
JP2008207864A 2008-08-12 2008-08-12 照明装置および表示装置 Expired - Fee Related JP4582223B2 (ja)

Priority Applications (3)

Application Number Priority Date Filing Date Title
JP2008207864A JP4582223B2 (ja) 2008-08-12 2008-08-12 照明装置および表示装置
US12/539,342 US8016450B2 (en) 2008-08-12 2009-08-11 Illuminating apparatus and display apparatus
CN2009101661087A CN101649969B (zh) 2008-08-12 2009-08-12 照明装置和显示装置

Applications Claiming Priority (1)

Application Number Priority Date Filing Date Title
JP2008207864A JP4582223B2 (ja) 2008-08-12 2008-08-12 照明装置および表示装置

Publications (2)

Publication Number Publication Date
JP2010044941A true JP2010044941A (ja) 2010-02-25
JP4582223B2 JP4582223B2 (ja) 2010-11-17

Family

ID=41672262

Family Applications (1)

Application Number Title Priority Date Filing Date
JP2008207864A Expired - Fee Related JP4582223B2 (ja) 2008-08-12 2008-08-12 照明装置および表示装置

Country Status (3)

Country Link
US (1) US8016450B2 (ja)
JP (1) JP4582223B2 (ja)
CN (1) CN101649969B (ja)

Cited By (6)

* Cited by examiner, † Cited by third party
Publication number Priority date Publication date Assignee Title
WO2012014600A1 (ja) * 2010-07-30 2012-02-02 シャープ株式会社 照明装置、表示装置及びテレビ受信装置
WO2012014599A1 (ja) * 2010-07-30 2012-02-02 シャープ株式会社 照明装置、表示装置及びテレビ受信装置
KR20140061666A (ko) * 2012-11-14 2014-05-22 엘지이노텍 주식회사 램프 및 그를 이용한 차량 램프 장치
KR20170065640A (ko) * 2014-10-07 2017-06-13 코닝 인코포레이티드 직시 디스플레이 디바이스 및 직시 디스플레이 디바이스를 위한 광 유닛
US10345647B2 (en) 2015-07-30 2019-07-09 Nichia Corporation Surface light source device and transmission display device
JP2019197133A (ja) * 2018-05-09 2019-11-14 大日本印刷株式会社 表示装置

Families Citing this family (9)

* Cited by examiner, † Cited by third party
Publication number Priority date Publication date Assignee Title
US9625642B2 (en) 2010-11-15 2017-04-18 Lg Innotek Co., Ltd. Light unit
JP5991053B2 (ja) * 2011-10-04 2016-09-14 ソニー株式会社 表示装置および照明装置
WO2013084132A1 (en) * 2011-12-07 2013-06-13 Koninklijke Philips Electronics N.V. Beam shaping light emitting module
JP6098064B2 (ja) * 2012-08-08 2017-03-22 ソニー株式会社 表示装置および照明装置
US10473029B2 (en) 2013-12-30 2019-11-12 William M. Conlon Liquid air power and storage
JP6952203B2 (ja) 2018-03-13 2021-10-20 アップル インコーポレイテッドApple Inc. 直接式バックライトユニットを有するディスプレイ
CN108873126B (zh) * 2018-06-26 2021-04-30 武汉华星光电技术有限公司 一种光学膜片、背光模组及显示装置
CN109669297A (zh) * 2018-12-07 2019-04-23 业成科技(成都)有限公司 显示装置及其制造方法
US11906756B2 (en) * 2021-09-09 2024-02-20 Goodrich Corporation Optical assemblies for aircraft displays

Citations (2)

* Cited by examiner, † Cited by third party
Publication number Priority date Publication date Assignee Title
WO2008029911A1 (en) * 2006-09-08 2008-03-13 Kuraray Co., Ltd. Planar light source element, light control member using the same, and image display device using the same
WO2008093819A1 (ja) * 2007-02-02 2008-08-07 Dai Nippon Printing Co., Ltd. 光学シート、面光源装置、透過型表示装置

Family Cites Families (4)

* Cited by examiner, † Cited by third party
Publication number Priority date Publication date Assignee Title
JPS6021662B2 (ja) 1978-05-30 1985-05-29 旭化成株式会社 光散乱性合成樹脂
TW574509B (en) * 2001-02-14 2004-02-01 Yuka Denshi Co Ltd Light guide body, light reflective sheet and surface light source device and liquid crystal device using the light reflective sheet, and the manufacturing method of light reflective sheet
JP4638752B2 (ja) 2004-04-12 2011-02-23 株式会社クラレ 光拡散板
JP4644544B2 (ja) * 2005-07-01 2011-03-02 大日本印刷株式会社 面光源装置

Patent Citations (2)

* Cited by examiner, † Cited by third party
Publication number Priority date Publication date Assignee Title
WO2008029911A1 (en) * 2006-09-08 2008-03-13 Kuraray Co., Ltd. Planar light source element, light control member using the same, and image display device using the same
WO2008093819A1 (ja) * 2007-02-02 2008-08-07 Dai Nippon Printing Co., Ltd. 光学シート、面光源装置、透過型表示装置

Cited By (10)

* Cited by examiner, † Cited by third party
Publication number Priority date Publication date Assignee Title
WO2012014600A1 (ja) * 2010-07-30 2012-02-02 シャープ株式会社 照明装置、表示装置及びテレビ受信装置
WO2012014599A1 (ja) * 2010-07-30 2012-02-02 シャープ株式会社 照明装置、表示装置及びテレビ受信装置
KR20140061666A (ko) * 2012-11-14 2014-05-22 엘지이노텍 주식회사 램프 및 그를 이용한 차량 램프 장치
KR102080610B1 (ko) * 2012-11-14 2020-02-25 엘지이노텍 주식회사 램프 및 그를 이용한 차량 램프 장치
KR20170065640A (ko) * 2014-10-07 2017-06-13 코닝 인코포레이티드 직시 디스플레이 디바이스 및 직시 디스플레이 디바이스를 위한 광 유닛
KR102396365B1 (ko) * 2014-10-07 2022-05-10 코닝 인코포레이티드 직시 디스플레이 디바이스 및 직시 디스플레이 디바이스를 위한 광 유닛
US10345647B2 (en) 2015-07-30 2019-07-09 Nichia Corporation Surface light source device and transmission display device
US10466537B2 (en) 2015-07-30 2019-11-05 Nichia Corporation Surface light source device and transmission display device
JP2019197133A (ja) * 2018-05-09 2019-11-14 大日本印刷株式会社 表示装置
JP7068653B2 (ja) 2018-05-09 2022-05-17 大日本印刷株式会社 表示装置

Also Published As

Publication number Publication date
CN101649969B (zh) 2012-09-05
US20100039797A1 (en) 2010-02-18
US8016450B2 (en) 2011-09-13
CN101649969A (zh) 2010-02-17
JP4582223B2 (ja) 2010-11-17

Similar Documents

Publication Publication Date Title
JP4582223B2 (ja) 照明装置および表示装置
TWI804139B (zh) 顯示裝置
JP2011175102A (ja) 光学シート積層体、照明装置および表示装置
JP4813982B2 (ja) 導光板組立体およびこれを用いる面状照明装置
JP5071675B2 (ja) 照明装置および表示装置
CN101923248B (zh) 液晶显示器
JP2007304553A (ja) プリズムシート、それを備えたバックライトユニット及び液晶表示装置
JP4423933B2 (ja) 光学シートとそれを用いたバックライトユニットおよびディスプレイ
TWI428639B (zh) 擴散板、背光單元及其液晶顯示器
US8118469B2 (en) Surface illuminating device and image display apparatus
JP2008145550A (ja) 光学シートおよび表示装置
JP2009176512A (ja) 面光源装置及び画像表示装置
JP2010192246A (ja) 光拡散板、光学シート、バックライトユニットおよびディスプレイ装置
JP2009059498A (ja) 照明装置および液晶表示装置
JP2011227231A (ja) 光学シート、光学シート組合せ体、バックライトユニット及びディスプレイ装置
KR20120039405A (ko) 백라이트 유닛 및 이를 구비한 액정표시장치
KR20090014986A (ko) 조명 장치 및 액정 디스플레이 장치
JP2008305585A (ja) 面光源装置、透過型表示装置
JP5141544B2 (ja) 光拡散板、光学部材、バックライトユニット及び表示装置
JP5531732B2 (ja) 隠蔽レンズシートを用いた照明ユニット、及び、表示装置
JP2001215504A (ja) 導光板、照明装置およびこの照明装置を備えた液晶表示装置
JP5120210B2 (ja) 光拡散板、光学シート、バックライトユニット及びディスプレイ装置
JP4730340B2 (ja) 面光源装置、透過型表示装置
JP5678750B2 (ja) 光学モジュールおよび表示装置
JP2013254592A (ja) 導光板ユニット

Legal Events

Date Code Title Description
A621 Written request for application examination

Free format text: JAPANESE INTERMEDIATE CODE: A621

Effective date: 20100716

A871 Explanation of circumstances concerning accelerated examination

Free format text: JAPANESE INTERMEDIATE CODE: A871

Effective date: 20100716

TRDD Decision of grant or rejection written
A975 Report on accelerated examination

Free format text: JAPANESE INTERMEDIATE CODE: A971005

Effective date: 20100730

A01 Written decision to grant a patent or to grant a registration (utility model)

Free format text: JAPANESE INTERMEDIATE CODE: A01

Effective date: 20100803

A01 Written decision to grant a patent or to grant a registration (utility model)

Free format text: JAPANESE INTERMEDIATE CODE: A01

A61 First payment of annual fees (during grant procedure)

Free format text: JAPANESE INTERMEDIATE CODE: A61

Effective date: 20100816

R151 Written notification of patent or utility model registration

Ref document number: 4582223

Country of ref document: JP

Free format text: JAPANESE INTERMEDIATE CODE: R151

FPAY Renewal fee payment (event date is renewal date of database)

Free format text: PAYMENT UNTIL: 20130910

Year of fee payment: 3

R250 Receipt of annual fees

Free format text: JAPANESE INTERMEDIATE CODE: R250

R250 Receipt of annual fees

Free format text: JAPANESE INTERMEDIATE CODE: R250

R250 Receipt of annual fees

Free format text: JAPANESE INTERMEDIATE CODE: R250

R250 Receipt of annual fees

Free format text: JAPANESE INTERMEDIATE CODE: R250

R250 Receipt of annual fees

Free format text: JAPANESE INTERMEDIATE CODE: R250

R250 Receipt of annual fees

Free format text: JAPANESE INTERMEDIATE CODE: R250

R250 Receipt of annual fees

Free format text: JAPANESE INTERMEDIATE CODE: R250

R250 Receipt of annual fees

Free format text: JAPANESE INTERMEDIATE CODE: R250

R250 Receipt of annual fees

Free format text: JAPANESE INTERMEDIATE CODE: R250

R250 Receipt of annual fees

Free format text: JAPANESE INTERMEDIATE CODE: R250

R250 Receipt of annual fees

Free format text: JAPANESE INTERMEDIATE CODE: R250

LAPS Cancellation because of no payment of annual fees