JP2010044088A - 燃焼の監視および制御のための方法と装置 - Google Patents
燃焼の監視および制御のための方法と装置 Download PDFInfo
- Publication number
- JP2010044088A JP2010044088A JP2009253750A JP2009253750A JP2010044088A JP 2010044088 A JP2010044088 A JP 2010044088A JP 2009253750 A JP2009253750 A JP 2009253750A JP 2009253750 A JP2009253750 A JP 2009253750A JP 2010044088 A JP2010044088 A JP 2010044088A
- Authority
- JP
- Japan
- Prior art keywords
- catch
- optical fiber
- pitch
- detection device
- optical
- Prior art date
- Legal status (The legal status is an assumption and is not a legal conclusion. Google has not performed a legal analysis and makes no representation as to the accuracy of the status listed.)
- Granted
Links
- 238000000034 method Methods 0.000 title claims abstract description 81
- 238000002485 combustion reaction Methods 0.000 title claims abstract description 79
- 238000012544 monitoring process Methods 0.000 title abstract description 9
- 230000003287 optical effect Effects 0.000 claims abstract description 122
- 239000013307 optical fiber Substances 0.000 claims abstract description 113
- 230000008569 process Effects 0.000 claims abstract description 43
- 239000000835 fiber Substances 0.000 claims description 110
- 238000001514 detection method Methods 0.000 claims description 98
- 230000005540 biological transmission Effects 0.000 claims description 39
- 230000007246 mechanism Effects 0.000 claims description 19
- 230000005855 radiation Effects 0.000 claims description 17
- 238000004891 communication Methods 0.000 claims description 15
- 230000008878 coupling Effects 0.000 claims description 14
- 238000010168 coupling process Methods 0.000 claims description 14
- 238000005859 coupling reaction Methods 0.000 claims description 14
- 238000012545 processing Methods 0.000 claims description 14
- 230000033001 locomotion Effects 0.000 claims description 13
- 230000010355 oscillation Effects 0.000 claims description 3
- 230000001902 propagating effect Effects 0.000 claims 1
- 238000000041 tunable diode laser absorption spectroscopy Methods 0.000 abstract description 33
- 238000001285 laser absorption spectroscopy Methods 0.000 abstract description 4
- 230000035945 sensitivity Effects 0.000 abstract description 3
- 239000007789 gas Substances 0.000 description 36
- QGZKDVFQNNGYKY-UHFFFAOYSA-N Ammonia Chemical compound N QGZKDVFQNNGYKY-UHFFFAOYSA-N 0.000 description 32
- 239000000523 sample Substances 0.000 description 23
- 238000010521 absorption reaction Methods 0.000 description 17
- 229910021529 ammonia Inorganic materials 0.000 description 16
- 230000008859 change Effects 0.000 description 15
- 230000000694 effects Effects 0.000 description 14
- 238000005259 measurement Methods 0.000 description 14
- 235000017899 Spathodea campanulata Nutrition 0.000 description 13
- 241000894007 species Species 0.000 description 13
- 238000010586 diagram Methods 0.000 description 11
- 238000009826 distribution Methods 0.000 description 11
- 230000008901 benefit Effects 0.000 description 10
- 230000003595 spectral effect Effects 0.000 description 10
- 239000003245 coal Substances 0.000 description 9
- 238000013461 design Methods 0.000 description 8
- 230000006870 function Effects 0.000 description 8
- 238000004458 analytical method Methods 0.000 description 6
- 229910002091 carbon monoxide Inorganic materials 0.000 description 6
- 238000010248 power generation Methods 0.000 description 6
- XLYOFNOQVPJJNP-UHFFFAOYSA-N water Substances O XLYOFNOQVPJJNP-UHFFFAOYSA-N 0.000 description 6
- QVGXLLKOCUKJST-UHFFFAOYSA-N atomic oxygen Chemical compound [O] QVGXLLKOCUKJST-UHFFFAOYSA-N 0.000 description 5
- 238000009529 body temperature measurement Methods 0.000 description 5
- 238000005516 engineering process Methods 0.000 description 5
- 239000001301 oxygen Substances 0.000 description 5
- 229910052760 oxygen Inorganic materials 0.000 description 5
- 239000000243 solution Substances 0.000 description 5
- 230000007704 transition Effects 0.000 description 5
- UGFAIRIUMAVXCW-UHFFFAOYSA-N Carbon monoxide Chemical compound [O+]#[C-] UGFAIRIUMAVXCW-UHFFFAOYSA-N 0.000 description 4
- 238000004847 absorption spectroscopy Methods 0.000 description 4
- 230000001276 controlling effect Effects 0.000 description 4
- 230000007423 decrease Effects 0.000 description 4
- 239000006185 dispersion Substances 0.000 description 4
- 238000001307 laser spectroscopy Methods 0.000 description 4
- 238000005457 optimization Methods 0.000 description 4
- 239000002699 waste material Substances 0.000 description 4
- XSQUKJJJFZCRTK-UHFFFAOYSA-N Urea Chemical compound NC(N)=O XSQUKJJJFZCRTK-UHFFFAOYSA-N 0.000 description 3
- 238000002835 absorbance Methods 0.000 description 3
- 239000004202 carbamide Substances 0.000 description 3
- 239000013626 chemical specie Substances 0.000 description 3
- 239000000567 combustion gas Substances 0.000 description 3
- 230000001419 dependent effect Effects 0.000 description 3
- 239000003344 environmental pollutant Substances 0.000 description 3
- 238000000605 extraction Methods 0.000 description 3
- 239000000446 fuel Substances 0.000 description 3
- 238000012423 maintenance Methods 0.000 description 3
- 231100000719 pollutant Toxicity 0.000 description 3
- 230000009467 reduction Effects 0.000 description 3
- 238000006722 reduction reaction Methods 0.000 description 3
- 230000035939 shock Effects 0.000 description 3
- 238000004611 spectroscopical analysis Methods 0.000 description 3
- 238000003325 tomography Methods 0.000 description 3
- 238000012935 Averaging Methods 0.000 description 2
- CURLTUGMZLYLDI-UHFFFAOYSA-N Carbon dioxide Chemical compound O=C=O CURLTUGMZLYLDI-UHFFFAOYSA-N 0.000 description 2
- 230000002411 adverse Effects 0.000 description 2
- 238000005452 bending Methods 0.000 description 2
- 239000003054 catalyst Substances 0.000 description 2
- 238000010531 catalytic reduction reaction Methods 0.000 description 2
- 239000013043 chemical agent Substances 0.000 description 2
- 238000004140 cleaning Methods 0.000 description 2
- 230000001143 conditioned effect Effects 0.000 description 2
- 230000001066 destructive effect Effects 0.000 description 2
- 238000009792 diffusion process Methods 0.000 description 2
- 238000004141 dimensional analysis Methods 0.000 description 2
- 238000012625 in-situ measurement Methods 0.000 description 2
- 238000002347 injection Methods 0.000 description 2
- 239000007924 injection Substances 0.000 description 2
- 230000010354 integration Effects 0.000 description 2
- 238000011835 investigation Methods 0.000 description 2
- GQYHUHYESMUTHG-UHFFFAOYSA-N lithium niobate Chemical compound [Li+].[O-][Nb](=O)=O GQYHUHYESMUTHG-UHFFFAOYSA-N 0.000 description 2
- 238000004519 manufacturing process Methods 0.000 description 2
- 238000000691 measurement method Methods 0.000 description 2
- 230000000737 periodic effect Effects 0.000 description 2
- 239000004038 photonic crystal Substances 0.000 description 2
- 238000005070 sampling Methods 0.000 description 2
- 241001270131 Agaricus moelleri Species 0.000 description 1
- IJGRMHOSHXDMSA-UHFFFAOYSA-N Atomic nitrogen Chemical compound N#N IJGRMHOSHXDMSA-UHFFFAOYSA-N 0.000 description 1
- 208000027418 Wounds and injury Diseases 0.000 description 1
- 238000000862 absorption spectrum Methods 0.000 description 1
- 231100001243 air pollutant Toxicity 0.000 description 1
- 239000000809 air pollutant Substances 0.000 description 1
- 230000004075 alteration Effects 0.000 description 1
- 238000013459 approach Methods 0.000 description 1
- 238000003491 array Methods 0.000 description 1
- 230000002238 attenuated effect Effects 0.000 description 1
- 238000004422 calculation algorithm Methods 0.000 description 1
- 238000004364 calculation method Methods 0.000 description 1
- 229910002092 carbon dioxide Inorganic materials 0.000 description 1
- 239000001569 carbon dioxide Substances 0.000 description 1
- 239000000356 contaminant Substances 0.000 description 1
- 230000006378 damage Effects 0.000 description 1
- 230000007123 defense Effects 0.000 description 1
- 230000010259 detection of temperature stimulus Effects 0.000 description 1
- 229910001873 dinitrogen Inorganic materials 0.000 description 1
- 239000003814 drug Substances 0.000 description 1
- 229940079593 drug Drugs 0.000 description 1
- 239000000428 dust Substances 0.000 description 1
- 230000007613 environmental effect Effects 0.000 description 1
- 239000010419 fine particle Substances 0.000 description 1
- 238000010304 firing Methods 0.000 description 1
- 239000012530 fluid Substances 0.000 description 1
- 239000010881 fly ash Substances 0.000 description 1
- 238000000883 frequency modulation spectroscopy Methods 0.000 description 1
- 231100001244 hazardous air pollutant Toxicity 0.000 description 1
- 238000011065 in-situ storage Methods 0.000 description 1
- 238000002329 infrared spectrum Methods 0.000 description 1
- 208000014674 injury Diseases 0.000 description 1
- 238000009434 installation Methods 0.000 description 1
- 238000012886 linear function Methods 0.000 description 1
- 230000007774 longterm Effects 0.000 description 1
- 239000011159 matrix material Substances 0.000 description 1
- 239000000203 mixture Substances 0.000 description 1
- 238000012806 monitoring device Methods 0.000 description 1
- 230000010363 phase shift Effects 0.000 description 1
- 238000005375 photometry Methods 0.000 description 1
- 238000004886 process control Methods 0.000 description 1
- 238000011002 quantification Methods 0.000 description 1
- 238000011946 reduction process Methods 0.000 description 1
- 230000001105 regulatory effect Effects 0.000 description 1
- 230000002441 reversible effect Effects 0.000 description 1
- 230000009291 secondary effect Effects 0.000 description 1
- 239000004071 soot Substances 0.000 description 1
- 238000010183 spectrum analysis Methods 0.000 description 1
- 238000003860 storage Methods 0.000 description 1
- 239000000126 substance Substances 0.000 description 1
- 231100000331 toxic Toxicity 0.000 description 1
- 230000002588 toxic effect Effects 0.000 description 1
- 238000012546 transfer Methods 0.000 description 1
- 238000000411 transmission spectrum Methods 0.000 description 1
Images
Classifications
-
- G—PHYSICS
- G01—MEASURING; TESTING
- G01J—MEASUREMENT OF INTENSITY, VELOCITY, SPECTRAL CONTENT, POLARISATION, PHASE OR PULSE CHARACTERISTICS OF INFRARED, VISIBLE OR ULTRAVIOLET LIGHT; COLORIMETRY; RADIATION PYROMETRY
- G01J3/00—Spectrometry; Spectrophotometry; Monochromators; Measuring colours
- G01J3/28—Investigating the spectrum
- G01J3/30—Measuring the intensity of spectral lines directly on the spectrum itself
- G01J3/36—Investigating two or more bands of a spectrum by separate detectors
-
- G—PHYSICS
- G02—OPTICS
- G02B—OPTICAL ELEMENTS, SYSTEMS OR APPARATUS
- G02B6/00—Light guides; Structural details of arrangements comprising light guides and other optical elements, e.g. couplings
-
- G—PHYSICS
- G01—MEASURING; TESTING
- G01J—MEASUREMENT OF INTENSITY, VELOCITY, SPECTRAL CONTENT, POLARISATION, PHASE OR PULSE CHARACTERISTICS OF INFRARED, VISIBLE OR ULTRAVIOLET LIGHT; COLORIMETRY; RADIATION PYROMETRY
- G01J3/00—Spectrometry; Spectrophotometry; Monochromators; Measuring colours
- G01J3/02—Details
-
- G—PHYSICS
- G01—MEASURING; TESTING
- G01J—MEASUREMENT OF INTENSITY, VELOCITY, SPECTRAL CONTENT, POLARISATION, PHASE OR PULSE CHARACTERISTICS OF INFRARED, VISIBLE OR ULTRAVIOLET LIGHT; COLORIMETRY; RADIATION PYROMETRY
- G01J3/00—Spectrometry; Spectrophotometry; Monochromators; Measuring colours
- G01J3/02—Details
- G01J3/0202—Mechanical elements; Supports for optical elements
-
- G—PHYSICS
- G01—MEASURING; TESTING
- G01J—MEASUREMENT OF INTENSITY, VELOCITY, SPECTRAL CONTENT, POLARISATION, PHASE OR PULSE CHARACTERISTICS OF INFRARED, VISIBLE OR ULTRAVIOLET LIGHT; COLORIMETRY; RADIATION PYROMETRY
- G01J3/00—Spectrometry; Spectrophotometry; Monochromators; Measuring colours
- G01J3/02—Details
- G01J3/0205—Optical elements not provided otherwise, e.g. optical manifolds, diffusers, windows
- G01J3/0208—Optical elements not provided otherwise, e.g. optical manifolds, diffusers, windows using focussing or collimating elements, e.g. lenses or mirrors; performing aberration correction
-
- G—PHYSICS
- G01—MEASURING; TESTING
- G01J—MEASUREMENT OF INTENSITY, VELOCITY, SPECTRAL CONTENT, POLARISATION, PHASE OR PULSE CHARACTERISTICS OF INFRARED, VISIBLE OR ULTRAVIOLET LIGHT; COLORIMETRY; RADIATION PYROMETRY
- G01J3/00—Spectrometry; Spectrophotometry; Monochromators; Measuring colours
- G01J3/02—Details
- G01J3/0205—Optical elements not provided otherwise, e.g. optical manifolds, diffusers, windows
- G01J3/0218—Optical elements not provided otherwise, e.g. optical manifolds, diffusers, windows using optical fibers
-
- G—PHYSICS
- G01—MEASURING; TESTING
- G01J—MEASUREMENT OF INTENSITY, VELOCITY, SPECTRAL CONTENT, POLARISATION, PHASE OR PULSE CHARACTERISTICS OF INFRARED, VISIBLE OR ULTRAVIOLET LIGHT; COLORIMETRY; RADIATION PYROMETRY
- G01J3/00—Spectrometry; Spectrophotometry; Monochromators; Measuring colours
- G01J3/02—Details
- G01J3/0205—Optical elements not provided otherwise, e.g. optical manifolds, diffusers, windows
- G01J3/0237—Adjustable, e.g. focussing
-
- G—PHYSICS
- G01—MEASURING; TESTING
- G01J—MEASUREMENT OF INTENSITY, VELOCITY, SPECTRAL CONTENT, POLARISATION, PHASE OR PULSE CHARACTERISTICS OF INFRARED, VISIBLE OR ULTRAVIOLET LIGHT; COLORIMETRY; RADIATION PYROMETRY
- G01J3/00—Spectrometry; Spectrophotometry; Monochromators; Measuring colours
- G01J3/02—Details
- G01J3/0205—Optical elements not provided otherwise, e.g. optical manifolds, diffusers, windows
- G01J3/024—Optical elements not provided otherwise, e.g. optical manifolds, diffusers, windows using means for illuminating a slit efficiently (e.g. entrance slit of a spectrometer or entrance face of fiber)
-
- G—PHYSICS
- G01—MEASURING; TESTING
- G01J—MEASUREMENT OF INTENSITY, VELOCITY, SPECTRAL CONTENT, POLARISATION, PHASE OR PULSE CHARACTERISTICS OF INFRARED, VISIBLE OR ULTRAVIOLET LIGHT; COLORIMETRY; RADIATION PYROMETRY
- G01J3/00—Spectrometry; Spectrophotometry; Monochromators; Measuring colours
- G01J3/02—Details
- G01J3/0289—Field-of-view determination; Aiming or pointing of a spectrometer; Adjusting alignment; Encoding angular position; Size of measurement area; Position tracking
-
- G—PHYSICS
- G01—MEASURING; TESTING
- G01J—MEASUREMENT OF INTENSITY, VELOCITY, SPECTRAL CONTENT, POLARISATION, PHASE OR PULSE CHARACTERISTICS OF INFRARED, VISIBLE OR ULTRAVIOLET LIGHT; COLORIMETRY; RADIATION PYROMETRY
- G01J3/00—Spectrometry; Spectrophotometry; Monochromators; Measuring colours
- G01J3/02—Details
- G01J3/0297—Constructional arrangements for removing other types of optical noise or for performing calibration
-
- G—PHYSICS
- G01—MEASURING; TESTING
- G01J—MEASUREMENT OF INTENSITY, VELOCITY, SPECTRAL CONTENT, POLARISATION, PHASE OR PULSE CHARACTERISTICS OF INFRARED, VISIBLE OR ULTRAVIOLET LIGHT; COLORIMETRY; RADIATION PYROMETRY
- G01J3/00—Spectrometry; Spectrophotometry; Monochromators; Measuring colours
- G01J3/02—Details
- G01J3/10—Arrangements of light sources specially adapted for spectrometry or colorimetry
- G01J3/108—Arrangements of light sources specially adapted for spectrometry or colorimetry for measurement in the infrared range
-
- G—PHYSICS
- G01—MEASURING; TESTING
- G01J—MEASUREMENT OF INTENSITY, VELOCITY, SPECTRAL CONTENT, POLARISATION, PHASE OR PULSE CHARACTERISTICS OF INFRARED, VISIBLE OR ULTRAVIOLET LIGHT; COLORIMETRY; RADIATION PYROMETRY
- G01J3/00—Spectrometry; Spectrophotometry; Monochromators; Measuring colours
- G01J3/12—Generating the spectrum; Monochromators
- G01J3/18—Generating the spectrum; Monochromators using diffraction elements, e.g. grating
- G01J3/1809—Echelle gratings
-
- G—PHYSICS
- G01—MEASURING; TESTING
- G01J—MEASUREMENT OF INTENSITY, VELOCITY, SPECTRAL CONTENT, POLARISATION, PHASE OR PULSE CHARACTERISTICS OF INFRARED, VISIBLE OR ULTRAVIOLET LIGHT; COLORIMETRY; RADIATION PYROMETRY
- G01J5/00—Radiation pyrometry, e.g. infrared or optical thermometry
- G01J5/60—Radiation pyrometry, e.g. infrared or optical thermometry using determination of colour temperature
- G01J5/601—Radiation pyrometry, e.g. infrared or optical thermometry using determination of colour temperature using spectral scanning
-
- G—PHYSICS
- G01—MEASURING; TESTING
- G01N—INVESTIGATING OR ANALYSING MATERIALS BY DETERMINING THEIR CHEMICAL OR PHYSICAL PROPERTIES
- G01N21/00—Investigating or analysing materials by the use of optical means, i.e. using sub-millimetre waves, infrared, visible or ultraviolet light
- G01N21/17—Systems in which incident light is modified in accordance with the properties of the material investigated
- G01N21/25—Colour; Spectral properties, i.e. comparison of effect of material on the light at two or more different wavelengths or wavelength bands
- G01N21/31—Investigating relative effect of material at wavelengths characteristic of specific elements or molecules, e.g. atomic absorption spectrometry
- G01N21/35—Investigating relative effect of material at wavelengths characteristic of specific elements or molecules, e.g. atomic absorption spectrometry using infrared light
- G01N21/359—Investigating relative effect of material at wavelengths characteristic of specific elements or molecules, e.g. atomic absorption spectrometry using infrared light using near infrared light
-
- G—PHYSICS
- G01—MEASURING; TESTING
- G01N—INVESTIGATING OR ANALYSING MATERIALS BY DETERMINING THEIR CHEMICAL OR PHYSICAL PROPERTIES
- G01N21/00—Investigating or analysing materials by the use of optical means, i.e. using sub-millimetre waves, infrared, visible or ultraviolet light
- G01N21/17—Systems in which incident light is modified in accordance with the properties of the material investigated
- G01N21/25—Colour; Spectral properties, i.e. comparison of effect of material on the light at two or more different wavelengths or wavelength bands
- G01N21/31—Investigating relative effect of material at wavelengths characteristic of specific elements or molecules, e.g. atomic absorption spectrometry
- G01N21/39—Investigating relative effect of material at wavelengths characteristic of specific elements or molecules, e.g. atomic absorption spectrometry using tunable lasers
-
- G—PHYSICS
- G02—OPTICS
- G02B—OPTICAL ELEMENTS, SYSTEMS OR APPARATUS
- G02B6/00—Light guides; Structural details of arrangements comprising light guides and other optical elements, e.g. couplings
- G02B6/24—Coupling light guides
-
- G—PHYSICS
- G01—MEASURING; TESTING
- G01J—MEASUREMENT OF INTENSITY, VELOCITY, SPECTRAL CONTENT, POLARISATION, PHASE OR PULSE CHARACTERISTICS OF INFRARED, VISIBLE OR ULTRAVIOLET LIGHT; COLORIMETRY; RADIATION PYROMETRY
- G01J3/00—Spectrometry; Spectrophotometry; Monochromators; Measuring colours
- G01J3/02—Details
- G01J3/10—Arrangements of light sources specially adapted for spectrometry or colorimetry
- G01J2003/102—Plural sources
- G01J2003/104—Monochromatic plural sources
-
- G—PHYSICS
- G01—MEASURING; TESTING
- G01J—MEASUREMENT OF INTENSITY, VELOCITY, SPECTRAL CONTENT, POLARISATION, PHASE OR PULSE CHARACTERISTICS OF INFRARED, VISIBLE OR ULTRAVIOLET LIGHT; COLORIMETRY; RADIATION PYROMETRY
- G01J3/00—Spectrometry; Spectrophotometry; Monochromators; Measuring colours
- G01J3/28—Investigating the spectrum
- G01J3/42—Absorption spectrometry; Double beam spectrometry; Flicker spectrometry; Reflection spectrometry
- G01J2003/423—Spectral arrangements using lasers, e.g. tunable
-
- G—PHYSICS
- G01—MEASURING; TESTING
- G01N—INVESTIGATING OR ANALYSING MATERIALS BY DETERMINING THEIR CHEMICAL OR PHYSICAL PROPERTIES
- G01N21/00—Investigating or analysing materials by the use of optical means, i.e. using sub-millimetre waves, infrared, visible or ultraviolet light
- G01N21/17—Systems in which incident light is modified in accordance with the properties of the material investigated
- G01N21/25—Colour; Spectral properties, i.e. comparison of effect of material on the light at two or more different wavelengths or wavelength bands
- G01N21/31—Investigating relative effect of material at wavelengths characteristic of specific elements or molecules, e.g. atomic absorption spectrometry
- G01N21/39—Investigating relative effect of material at wavelengths characteristic of specific elements or molecules, e.g. atomic absorption spectrometry using tunable lasers
- G01N2021/396—Type of laser source
- G01N2021/399—Diode laser
-
- G—PHYSICS
- G02—OPTICS
- G02B—OPTICAL ELEMENTS, SYSTEMS OR APPARATUS
- G02B6/00—Light guides; Structural details of arrangements comprising light guides and other optical elements, e.g. couplings
- G02B6/10—Light guides; Structural details of arrangements comprising light guides and other optical elements, e.g. couplings of the optical waveguide type
- G02B6/14—Mode converters
Landscapes
- Physics & Mathematics (AREA)
- Spectroscopy & Molecular Physics (AREA)
- General Physics & Mathematics (AREA)
- General Health & Medical Sciences (AREA)
- Life Sciences & Earth Sciences (AREA)
- Chemical & Material Sciences (AREA)
- Analytical Chemistry (AREA)
- Biochemistry (AREA)
- Health & Medical Sciences (AREA)
- Immunology (AREA)
- Pathology (AREA)
- Optics & Photonics (AREA)
- Investigating Or Analysing Materials By Optical Means (AREA)
- Control Of Combustion (AREA)
- Regulation And Control Of Combustion (AREA)
- Treating Waste Gases (AREA)
Abstract
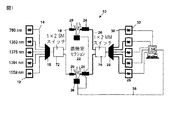
【解決手段】選択されたレーザ発振周波数を有する2つ以上のダイオードレーザ12の出力に光学結合されたマルチプレクサ16が、ピッチ側の光ファイバに光学結合される。多重化レーザ光が、プロセスチャンバ22に関連付けられたピッチ光学部品20にピッチ側光ファイバを通して伝送される。ピッチ光学部品20は、プロセスチャンバの中を通して多重化レーザ出力を放射するように方向配置される。キャッチ光学部品24が、放射された多重化レーザ出力を受け取る。キャッチ光学部品24は、デマルチプレクサ28に多重化レーザ出力を伝送する光ファイバに光学結合される。デマルチプレクサ28はレーザ光を逆多重化し、光の選択されたレーザ発振周波数を検出器25に光学結合し、この検出器は、選択されたレーザ発振周波数の1つに対し感度を有する。
【選択図】図1
Description
図1に示されているように、本発明の実施形態は、燃焼プロセスの検出と監視と制御とに適している検出装置10である。この検出装置10は、近赤外または中赤外スペクトルの選択された周波数でレーザ発振する一連の波長可変ダイオードレーザ12からのレーザ光を使用することによって波長可変ダイオードレーザ吸収分光法(TDLAS)を行う。各々の波長可変ダイオードレーザ12の出力は、単一モード光ファイバ14であってよい個別の光ファイバに結合され、および、マルチプレクサ16に送られる。本明細書で使用される場合に、「結合されている(coupled)」、「光学結合されている(optically coupled)」または「光学的に連絡している(in optical communication with)」は、光が中間の構成要素または自由空間を通解してまたは通過せずに第1の構成要素から第2の構成要素に進むことができる場合の相対物の相互間の機能的関係と定義される。マルチプレクサ16内では、その発生周波数の一部または全部の周波数のレーザ光が、複数の選択された周波数を有する多重化プローブビーム(multiplexed probe beam)を形成するために多重化される。この多重化プローブビームはピッチ側の光ファイバ18に結合され、および、図1に燃焼室22として示されているプロセスチャンバに作動的に関連付けられているピッチ光学部品20すなわちコリメータに伝送される。
図1を再び参照すると、この図には、単一の燃焼室22に関連付けられている2つ以上の組のピッチ光学部品20とキャッチ光学部品24とを特徴とする実施形態が概略的に示されている。多重化プローブビームは、図1に示されているように光スイッチ72であってよい経路選択装置によってピッチ光学部品20の各組に送られることが可能である。適している経路選択装置は、予め決められたシーケンスでピッチ光学部品/キャッチ光学部品の各組に対して最少の減衰を伴ってプローブビームを送るように実現されてよい光スイッチ、または、光学部品の各組に対して多重化プローブビームの分別部分を同時に送る光スプリッタを含む。
上述の大まかなトモグラフィの具体的な適用が図3に概略的に示されており、および、石炭燃焼発電ボイラ廃出液またはガス燃焼発電ボイラ廃出液からのNOxの還元のためのSCR(選択触媒還元)とSNCR(無触媒還元)におけるアンモニア注入の最適化に関する。この用途では、アンモニア注入器または尿素注入器の行列80がボイラ廃出液の流れの中に配置される。NOx濃度を最小にするために、超過量のアンモニア(または尿素)がその廃出液に加えられてよい。NOxは厳しく規制された非常に有害な空気汚染物質のグループである。この加えられたアンモニアはNOxを化学的に還元し、および、無害な窒素気体と水とを生成物として生じさせる。しかし、加えられる過剰なアンモニア(または尿素)の量は、これらの化学物質自体が有害な大気汚染物質でありかつ非常に高価なので、最小限にされなければならない。典型的には、3−5ppm未満の超過濃度のアンモニアが望ましい。しかし、発電所の燃焼廃出液中のNOxの分布は均一ではなく、かつ、時間的に安定していない。これに加えて、アンモニア注入器の1つまたは複数が任意の特定の時点において故障するかも知れず、この故障はアンモニア濃度の局所的な減少の原因となり、および、このことがNOx濃度における局所的なブリードスルー(bleed through)を生じさせる可能性がある。上述の通りの下流TDLAS格子78検出によってアンモニアまたはNOxの空間濃度を監視することが可能なので、本発明は、不均一なアンモニア分布が検出されて軽減されることを可能にする。したがって、2次元化学種濃度によるアンモニア注入格子76の最適化と注入器全体にわたる個別的な制御とが、SCR/SNCRプロセスの最適化を可能にする。検出器とアンモニア注入器とが、アンモニア注入器の自動化されたフィードバック制御を実現するデータ処理システムにリンクさせられてもよい。
本発明は、レーザ分光法の分野の専門家にとって公知である技術を使用してTDLASを行う。一般的に、TDLASは、ターゲット環境の中を通したレーザ光の伝送と、その後での、一酸化炭素または酸素のようなターゲットのガスを原因とする特定の波長でのレーザ光の吸収の検出とによって行われる。検出された光のスペクトル分析が、レーザ経路に沿ったガスのタイプと量の識別を可能にする。直接吸収分光法の詳細が、Teichert,FernholzおよびEbertの“Simultaneous in situ Measurement of CO, H20, and Gas Temperature in a Full-Sized, Coal-Fired Power Plant by Near-Infrared Diode Lasers”(Applied Optics, 42(12):2043, 20 April 2003)に説明されており、この全体が本明細書に引例として組み込まれている。レーザ吸収分光法の非接触という特徴が、このレーザ吸収分光法を、石炭燃焼発電所の燃焼区域、または、他のプローブが使用不可能な易燃性もしくは有毒性の環境のような過酷な環境に適したものにする。レーザ光の使用が、こうした環境の幾つかにおいて遭遇することがある極度の減衰(典型的には、99.9%を超える光損失)の存在下において検出可能な伝送を得るために必要な高い輝度を実現する。ターゲット用途の過酷な条件により適切に耐えるために、レーザ光は、防護された光ファイバを通してターゲット環境に対して送り込まれてよい。
1.それぞれに〜1000、2000、および、3000cm-1のより低い状態エネルギー。
2.共振時に約20%のビーム吸収を生じさせる約0.1−0.4の便利な吸光度を実現する。
3.最適の状況が、安価で高出力のDFBダイオード遠距離通信用レーザが使用可能である1250nmから1650nmの範囲内の遷移を使用することである。
4.遷移が容易な多重化を可能にするように適切に分離されなければならない。
5.選択された波長が、既存の(デ)マルチプレクサ格子によって効率的に回折させられなければならない。
波長多重化プローブビームを使用するTDLASの具体的な利点が、温度測定値の精度の向上である。TDLASを使用して正確な濃度測定を行うためには、監視対象のガスの温度を知らなければならない。分子吸光の強度は温度の関数である。従って、吸収特徴の振幅を濃度に変換するためには、温度を知らなければならない。COのような燃焼化学種の濃度を測定しようとする以前の幾つかの試みは、定量化における誤りの原因となる不十分な精度の温度測定値という欠点を有する。これは、伝統的に温度測定を全く含まない、ダイオードレーザに基づいたアンモニアスリップ監視装置の場合に特に当てはまる。本発明の検出システムでは、温度は、2つ以上の分子水線の強度の比率を測定することによって求められてよい。この2つの線の積分強度の比率は(システム全体の圧力が一定不変であると仮定すると)温度だけの関数である。したがって、原理的には、2つの線が正確な温度を与える。しかし、(工業燃焼プロセスにおいて典型的に見られるような)不均一な温度分布の場合には、2つの線は温度分布を求めるには不十分である。こうした不均一な温度分布の場合には、2つの線は「経路平均(path-averaged)」温度だけを求めることが可能であるにすぎない。これとは対照的に、(同一の化学種の)3つ以上の線の積分振幅を測定することが、温度の不均一性が調査されることを可能にする。この技術の例が、Sanders、Wang、Jeffries、および、Hansonによって“Applied Optics”(vol.40, num.24, 20 August 2001)においてプローブ分子として酸素を使用することによって示されており、このことは全体として本明細書に引例として組み入れられている。この好ましい技術は、照準線に沿って測定されたピーク強度の分布が、例えば、その経路の一方の半分が300Kでありかつその他方の半分が700Kであるので、例えば500Kの平均温度における経路とは同一でないということに基づく。
本発明は、遠距離通信産業で使用するために設計された比較的安価でありかつ一般的に入手可能な光学部品の使用から利益を得る。こうした遠距離通信装置は、このシステムのピッチ側とキャッチ側をファイバ結合するために適切に機能する。遠距離通信用途は、典型的には、一定不変の値(例えば、0.8nm)の差で比較的近接して互いに間隔をおいて分離させられている波長の複数の光ビームを受け入れる光学マルチプレクサを使用する。その次に、光ビームは、一般的に、単一モードの光ファイバ上に結合される。デマルチプレクサが逆のプロセスを行う。遠距離通信機器は、典型的には、1520nmから1620nmの波長で動作するように設計されており、および、1528nmから1563nmの光学C帯が最も多く利用されている。
mλ=2dsinΘb (1)
であり、前式中でmは次数であり、λは波長であり、dは罫線の間隔であり、および、Θbはブレーズ角である。
本発明のTDLASシステムの光学列(optical train)と、互いに広く間隔があいた波長から多重化された信号を必要とする類似の具体例とが、モードノイズの低減と高い効率の光収集という互いに対立する設計上の要件を原因として様々な設計上の難題をもたらす。モードノイズは、本明細書においては、測定対象のプロセスチャンバから光を収集するために、および、このプロセスチャンバに光を伝送するために使用されるファイバのコアの中における、時間および波長に応じて変動する不均一な光分布の結果として生じる検出光の信号レベルの変化として定義されている。
P=P0+ΣijcijEiEjcos[(2πv0Δnijz)/c+Δφij(T,σ)] (2)
であり、前式中で、
P0=波長非依存の平均出力、
Ei=i次横モードにおける光の振幅、
cij=i次横モードとj次横モードの間の重なり積分、
Δnij=i次モードとj次モードの間の屈折率の差、
Δφij=温度および応力を原因とするi次モードとj次モードの間の位相ずれ
である。
最低モード: E1=E1 0[exp i(kz−ωt)]cos πx/2a
その次のモード:E2=E2 0[exp i(kz−ωt)]sin πx/a
である。
I(x)=│E1+E2│2であり且つ合計出力がP=∫│E1+E2│2dx (3)
であり、前式中で積分がクリッピングと周辺減光との影響を含まなければならない。
1)モード依存の損失を減少させ、すなわち、クリッピングを減少させ、それによってcijを小さく保ち、
2)zを減少させ、それによって検査対象の吸収線よりも著しく大きいようにモデルノイズの期間を増大させ、
3)低分散ファイバを使用することによってΔnijを減少させ、
4)モードをスクランブルする(しかし、後述するように、すべてのモードスクランブル技術が同等に効果的であるというわけでない)、
ことによって減少させられることが可能である。
本発明の検出システムが、熱の効果と風と振動とからの運動をそれ自体が受けるボイラまたは他の過酷なプロセスチャンバの上にピッチ光学部品とキャッチ光学部品とがボルト固定されていても、そのピッチ光学部品とキャッチ光学部品とが最適のアラインメントを維持することを可能にする自動アラインメント調整機能を含むことが好ましい。本発明の極めて好ましい実施形態では、ピッチ光学部品とキャッチ光学部品の両方がフィードバック制御されたチップ/チルト段(tip/tilt stage)上に装着される。このピッチ光学部品とキャッチ光学部品の両方がチップ/チルト段の上に装着されるという必要条件は、センサが完全にファイバ結合されるという事実に起因する。したがって、多重化された光が、入力ファイバに直接取り付けられている平行化ピッチ光学部品によって測定領域をはさんで放射され、および、キャッチ光学部品が、典型的にはマルチモードファイバである出力ファイバの中に伝送光を直接結合させる。したがって、キャッチ光学部品は、ピッチ光学部品から放射されるビームと同一直線上にあるように方向付けられなければならない。このことは、集束された伝送ビームがマルチモードキャッチファイバの受容円錐(acceptance cone)内に到着するために必要である。
(1)検出器に結合された信号強度がピッチ/キャッチ効率に依存する。
(2)検出器に結合された不要な背景放射の量がキャッチ光学部品のetendueに依存する。
(3)760nmにおけるfew−モードノイズ(few-mode noise)の効果が、ピッチ/キャッチ構成に対して非常に敏感である。
(4)ノイズ特性(小さいが、より安定しているか、または、より大きいが、激しい変動を伴う)が、発射されるビームのサイズに依存すると予想される。より大きい発射ビームが好ましい。
(5)システムのミスアラインメント感度が、ピッチ焦点距離およびキャッチ焦点距離と、これに関連したファイバサイズとの一次関数である。
(1)すすの微粒子が光の一部分を吸収する。
(2)大きな角度の屈折または拡散が、光の一部分がキャッチ光学部品に到達することを妨げる。
(3)光が多数の小さい温度勾配を通過し、および、したがって、ランダムに方向付けられるが、依然としてキャッチ光学部品に到達する。
(1)ビーム全体の全方向における変化、
(2)ビームの中心軌跡の位置の変化、
(3)ビームサイズの変化、
(4)ビームの開き/波面の平面度の変化。
(1)(ゼロのビームオフセットとチルトの場合の)収集効率の丘のピーク高さが、キャッチ光学部品が入射ビーム全体を捕捉するのに十分な大きさではない場合に、キャッチ光学部品のetendue(焦点距離×NA)の2乗に比例しており、このポイントにおいてはキャッチ効率が100%である。
(2)丘が長円であり、および、キャッチ焦点距離を変化させることが、一方の軸をより長くし、かつ、他方の軸をより短くする。
(3)ビームのジッタを原因とする光収集効率の変動がノイズ発生源である。
Claims (32)
- 検出装置であって、
選択されたレーザ発振周波数を各々が有する2つ以上のダイオードレーザと、
前記ダイオードレーザの2つ以上に光学結合されているマルチプレクサであって、多重化レーザ出力を出力し、かつ、前記多重化レーザ出力はピッチ側光ファイバの近位端部に光学結合されているマルチプレクサと、
前記ピッチ側光ファイバの遠位端部に光学結合されているピッチ光学部品であって、プロセスチャンバに作動的に関連付けられており、および、前記プロセスチャンバの中を通して前記多重化レーザ出力を放射するように方向配置されているピッチ光学部品と、
前記プロセスチャンバの中を通して放射された前記多重化レーザ出力を受け取るために前記ピッチ光学部品に光学的に連絡している、前記プロセスチャンバに作動的に関連付けられているキャッチ光学部品と、
前記キャッチ光学部品に近位端部において光学結合されているキャッチ側光ファイバと、
前記キャッチ側光ファイバの遠位端部に光学結合されているデマルチプレクサであって、前記選択されたレーザ発振周波数の各々のレーザ光を逆多重化するデマルチプレクサと、
前記デマルチプレクサに光学結合されている検出器であって、前記選択されたレーザ発振周波数の1つに対する感度を有する検出器と、
を含み、更に、
前記ダイオードレーザの2つ以上の各々を前記マルチプレクサに対して光学結合する入力光ファイバと、
前記デマルチプレクサの出力を前記検出器に結合する出力光ファイバと、
を含み、前記マルチプレクサは、すべてよりは少ない数の前記ダイオードレーザに光学結合されており、かつ、前記ピッチ側光ファイバの前記遠位端部と非多重化入力光ファイバの遠位端部とに光学結合されている光カプラをさらに含み、前記光カプラは、前記ピッチ側光ファイバからの多重化レーザ光と前記非多重化入力光ファイバからの非多重化レーザ光とを光学結合し、および、前記光カプラは前記ピッチ光学部品に光学的に連絡している、検出装置。 - 前記ピッチ側光ファイバは単一モードファイバである、請求項1に記載の検出装置。
- 前記キャッチ側光ファイバはマルチモードファイバである、請求項1に記載の検出装置。
- 前記ピッチ側光ファイバの前記遠位端部に光学結合されているピッチ側光路選択装置であって、さらに2つ以上のピッチ光学部品に光学結合されているピッチ側光路選択装置と、
前記キャッチ側光ファイバの前記近位端部に光学結合されているキャッチ側光路選択装置であって、さらに2つ以上のキャッチ光学部品に光学結合されているキャッチ側光路選択装置と、
をさらに含む、請求項1に記載の検出装置。 - 前記ピッチ側光路選択装置は、光スイッチと光スプリッタの一方である、請求項4に記載の検出装置。
- 前記検出器から入力を受け取りかつ燃焼パラメータを測定するデータ処理システムをさらに含む、請求項1に記載の検出装置。
- 前記データ処理システムに作動的に関連付けられている、前記燃焼パラメータに影響を与える手段をさらに含む、請求項6に記載の検出装置。
- 前記マルチプレクサと前記デマルチプレクサの一方はエシェル格子を含む、請求項1に記載の検出装置。
- 前記マルチプレクサと前記デマルチプレクサの一方は、さらに、
単一の光学信号として多重化された互いに異なる波長の複数の光チャンネルを伝播させる多重光導波路と、
選択された焦点距離で前記多重光導波路に光学結合されている平行化/集束光学部品と、
前記平行化/集束光学部品に光学結合されているエシェル格子であって、複数の波長範囲の同時の逆多重化/多重化のために設けられている溝間隔とブレーズ角とを含み、および、前記波長範囲の各々は複数の中心波長の付近に集中させられており、かつ、前記中心波長の各々はこのエシェル格子動作の選択された次数に対応するエシェル格子と、
を含む、請求項8に記載の検出装置。 - 前記個別の波長範囲の複数の光チャンネルは、670nm以上の波長から5200nm以下の波長まで及ぶ、請求項9に記載の検出装置。
- 前記エシェル格子動作の前記選択された次数は2次から14次である、請求項9に記載の検出装置。
- 前記エシェル格子の前記溝間隔は約171.4線/mmであり、および、前記エシェル格子の前記ブレーズ角は約52.75度である、請求項9に記載の検出装置。
- 前記光カプラは、選択された長さの伝送光ファイバを経由して前記ピッチ光学部品に光学的に連絡し、および、前記伝送光ファイバの前記長さは、選択されたレベルよりも低くモードノイズを維持するように3メートル以下に選択される、請求項1に記載の検出装置。
- 前記多重化レーザ光の波長は1240nmから5200nmの範囲内であり、および、非多重化レーザ光の波長は1240nm未満である、請求項13に記載の検出装置。
- 前記光カプラは、選択された長さの伝送光ファイバを経由して前記ピッチ光学部品に光学的に連絡し、および、前記伝送光ファイバの前記長さは、前記伝送光ファイバを経由した伝送中に非多重化レーザ光がマルチモーダルにならないように3メートル以下に選択される、請求項1に記載の検出装置。
- 前記非多重化入力光ファイバはSM 750ファイバであり、および、前記ピッチ側光ファイバと前記伝送光ファイバはSMF 28光ファイバである、請求項15に記載の検出装置。
- キャッチ側のモードノイズを最小化するために前記キャッチ側のマルチモード光ファイバの一区間を機械的に操作するための手段をさらに含む、請求項1に記載の検出装置。
- 前記キャッチ側のマルチモード光ファイバは前記ファイバ長さに対して平行な縦軸を有し、および、前記機械的操作は、前記縦軸を中心として前記キャッチ側のマルチモード光ファイバを捻ることを含む、請求項17に記載の検出装置。
- 前記キャッチ側のマルチモード光ファイバの一区間を機械的に操作する前記手段は、前記ファイバの前記区間がモータの軸位置に対して相対的に取り付けられるように前記キャッチ側のマルチモード光ファイバに作動的に関連付けられているモータを含み、および、前記モータの軸は+360度から−360度の動作によって反復的に掃引される、請求項18に記載の検出装置。
- 前記モータ軸の掃引の周波数が、前記伝送信号の有効な平行化を可能にし、かつ、それによってキャッチ側のモードノイズの影響を低減させるのに十分である、請求項19に記載の検出装置。
- 前記モータ軸の掃引の前記周波数は10ヘルツ以上である、請求項20に記載の検出装置。
- 前記キャッチ側の光ファイバに結合されているレーザ光の量を増大させるために、前記多重化レーザ出力の放射の方向に対する前記キャッチ光学部品のアラインメント調整を可能にする、前記キャッチ光学部品に作動的に関連付けられているキャッチ側のアラインメント調整機構をさらに含む、請求項1に記載の検出装置。
- 前記キャッチ側のアラインメント調整機構は、第1および第2の直交軸に沿って前記キャッチ光学部品をチルトさせる手段を含み、直交の、前記第1および第2の軸は前記多重化レーザ出力の放射方向に対して実質的に直交している、請求項22に記載の検出装置。
- 前記キャッチ光学部品をチルトする前記手段はステップモータを含む、請求項23に記載の検出装置。
- データ処理システムが、さらに、前記キャッチ側のアラインメント調整機構に作動的に関連付けられており、および、前記データ処理システムは、検出器に結合されている多重化レーザ出力の強度に関係している前記キャッチ側光ファイバに光学結合されている前記検出器からのデータを受け取り、および、さらに、前記検出器に結合されている前記多重化レーザ出力の強度を最大化するように、前記キャッチ側のアラインメント調整機構が前記キャッチ光学部品をアラインメント調整することを引き起こす、請求項24に記載の検出装置。
- 前記ピッチ光学部品のアラインメント調整と前記多重化レーザ出力の放射方向の調整とを可能にするピッチ側のアラインメント調整機構をさらに含む、請求項25に記載の検出装置。
- 前記ピッチ側のアラインメント調整機構は、第1および第2の直交軸に沿って前記ピッチ光学部品をチルトさせる手段を含み、および、前記第1および第2の軸は前記多重化レーザ出力の放射の方向に対して実質的に直交している、請求項26に記載の検出装置。
- 前記ピッチ光学部品をチルトする前記手段はステップモータを含む、請求項27に記載の検出装置。
- 前記データ処理システムは、さらに、前記キャッチ光学部品によって受け取られかつ前記検出器に結合される前記多重化レーザ出力の強度を最大化するために、前記ピッチ側アラインメント調整機構が前記多重化レーザ出力の方向をアラインメント調整することを引き起こす、請求項28に記載の検出装置。
- 燃焼プロセスを検出する方法であって、
2つ以上のダイオードレーザに基づく複数の選択されたレーザ発振周波数のレーザ光を対応する複数の入力光ファイバに供給することと、
すべてよりは少ない数の前記ダイオードレーザに光学結合されたマルチプレクサを使用して、前記レーザ光を多重化し、第一の多重化レーザ光をピッチ側光ファイバの近位端部に送ることと、
前記ピッチ側光ファイバの遠位端部と非多重化入力光ファイバの遠位端部とに光学結合されている光カプラを使用して、前記ピッチ側光ファイバからの第一の多重化レーザ光と前記非多重化入力光ファイバからの非多重化レーザ光とを光学結合して第二の多重化レーザ光を出力することと、
前記第二の多重化レーザ光をプロセス場所に伝送することと、
前記第二の多重化レーザ光を燃焼プロセスの中を通して放射することと、
前記第二の多重化レーザ光をキャッチ側光ファイバの中に受け取ることと、
前記第二の多重化レーザ光を逆多重化することと、
逆多重化レーザ光の周波数を、出力光ファイバを通して検出器に伝送することと、
を含む方法。 - 前記検出器の出力から燃焼パラメータを求めることをさらに含む、請求項30に記載の方法。
- 前記求められた燃焼パラメータにしたがって前記燃焼プロセスを制御することをさらに含む、請求項31に記載の方法。
Applications Claiming Priority (2)
| Application Number | Priority Date | Filing Date | Title |
|---|---|---|---|
| US45910803P | 2003-03-31 | 2003-03-31 | |
| US60/459,108 | 2003-03-31 |
Related Parent Applications (1)
| Application Number | Title | Priority Date | Filing Date |
|---|---|---|---|
| JP2006509589A Division JP2006522938A (ja) | 2003-03-31 | 2004-03-31 | 燃焼の監視および制御のための方法と装置 |
Publications (2)
| Publication Number | Publication Date |
|---|---|
| JP2010044088A true JP2010044088A (ja) | 2010-02-25 |
| JP4927925B2 JP4927925B2 (ja) | 2012-05-09 |
Family
ID=33159622
Family Applications (4)
| Application Number | Title | Priority Date | Filing Date |
|---|---|---|---|
| JP2006509589A Withdrawn JP2006522938A (ja) | 2003-03-31 | 2004-03-31 | 燃焼の監視および制御のための方法と装置 |
| JP2009025174A Pending JP2009162762A (ja) | 2003-03-31 | 2009-02-05 | 燃焼の監視および制御のための方法と装置 |
| JP2009253750A Expired - Lifetime JP4927925B2 (ja) | 2003-03-31 | 2009-11-05 | 燃焼の監視および制御のための方法と装置 |
| JP2012180951A Expired - Lifetime JP5395232B2 (ja) | 2003-03-31 | 2012-08-17 | 燃焼の監視および制御のための方法と装置 |
Family Applications Before (2)
| Application Number | Title | Priority Date | Filing Date |
|---|---|---|---|
| JP2006509589A Withdrawn JP2006522938A (ja) | 2003-03-31 | 2004-03-31 | 燃焼の監視および制御のための方法と装置 |
| JP2009025174A Pending JP2009162762A (ja) | 2003-03-31 | 2009-02-05 | 燃焼の監視および制御のための方法と装置 |
Family Applications After (1)
| Application Number | Title | Priority Date | Filing Date |
|---|---|---|---|
| JP2012180951A Expired - Lifetime JP5395232B2 (ja) | 2003-03-31 | 2012-08-17 | 燃焼の監視および制御のための方法と装置 |
Country Status (9)
| Country | Link |
|---|---|
| US (5) | US7248755B2 (ja) |
| EP (1) | EP1616207B1 (ja) |
| JP (4) | JP2006522938A (ja) |
| KR (1) | KR101072657B1 (ja) |
| CN (3) | CN101408458A (ja) |
| AU (1) | AU2004227359B2 (ja) |
| CA (1) | CA2520862A1 (ja) |
| ES (1) | ES2671574T3 (ja) |
| WO (1) | WO2004090496A2 (ja) |
Cited By (4)
| Publication number | Priority date | Publication date | Assignee | Title |
|---|---|---|---|---|
| JP2013526708A (ja) * | 2010-05-10 | 2013-06-24 | ゾロ テクノロジーズ,インコーポレイティド | ガスタービンエンジン内の圧力及び温度の時間同期型tdlas測定 |
| JP2014094355A (ja) * | 2012-11-09 | 2014-05-22 | Mitsubishi Heavy Ind Ltd | 排ガス脱硝システム、排ガス脱硝装置の再生方法及び排ガス脱硝装置の触媒交換方法 |
| JP2015516575A (ja) * | 2012-04-19 | 2015-06-11 | ゾロ テクノロジーズ,インコーポレイティド | 方向可変の波長可変ダイオードレーザ吸収分光計を有する炉内再帰反射体 |
| KR20170100590A (ko) * | 2014-12-23 | 2017-09-04 | 졸로 테크놀러지스, 아이엔씨. | 넓게 이격된 파장들을 위한 tdlas 아키텍쳐 |
Families Citing this family (113)
| Publication number | Priority date | Publication date | Assignee | Title |
|---|---|---|---|---|
| CN101408458A (zh) * | 2003-03-31 | 2009-04-15 | 佐勒技术公司 | 监视与控制燃烧过程的方法与设备 |
| US7409117B2 (en) | 2004-02-11 | 2008-08-05 | American Air Liquide, Inc. | Dynamic laser power control for gas species monitoring |
| CN1938621B (zh) | 2004-03-31 | 2015-04-01 | 佐勒技术公司 | 光模式噪声平均装置 |
| US7787728B2 (en) * | 2004-03-31 | 2010-08-31 | Zolo Technologies, Inc. | Optical mode noise averaging device |
| US7244936B2 (en) * | 2004-12-10 | 2007-07-17 | American Air Liquide, Inc. | Chemical species detection including a multisection laser for improved process monitoring |
| KR101072434B1 (ko) * | 2004-12-23 | 2011-10-11 | 재단법인 포항산업과학연구원 | 광신호 스위칭장치 및 이를 이용한 가열소재의 온도측정방법 |
| KR101023224B1 (ko) * | 2004-12-23 | 2011-03-21 | 재단법인 포항산업과학연구원 | 고온 구조물의 분위기온도 측정장치 |
| US7324203B2 (en) * | 2005-02-08 | 2008-01-29 | General Electric Company | Method and apparatus for optical detection for multi-phase combustion systems |
| US20160176780A9 (en) * | 2005-05-16 | 2016-06-23 | Dow Global Technologies Llc | Excess air control for cracker furnace burners |
| JP5142986B2 (ja) * | 2005-05-16 | 2013-02-13 | ダウ グローバル テクノロジーズ エルエルシー | 分解炉バーナのための過剰空気制御 |
| AU2006299372A1 (en) | 2005-10-04 | 2007-04-12 | Zolo Technologies, Inc. | Two line gas spectroscopy calibration |
| JP5180088B2 (ja) * | 2005-11-04 | 2013-04-10 | ゾロ テクノロジーズ,インコーポレイティド | ガスタービンエンジンの燃焼器内における分光測定の方法及び装置 |
| EP2434410A2 (en) * | 2005-11-15 | 2012-03-28 | Zolo Technologies, Inc. | All-fiber architecture for an embedded flight sensor for aeropropulsion applications |
| MX2009002309A (es) * | 2006-09-01 | 2009-03-20 | Dow Global Technologies Inc | Control mejorado y optimizacion de proceso para hacer oxido de etileno. |
| US20080076080A1 (en) * | 2006-09-22 | 2008-03-27 | Tailai Hu | Method and apparatus for optimizing high fgr rate combustion with laser-based diagnostic technology |
| GB0623835D0 (en) * | 2006-11-29 | 2007-01-10 | Cascade Technologies Ltd | Multi mode fibre perturber |
| ITBO20070036A1 (it) * | 2007-01-23 | 2008-07-24 | Aea Srl | Metodo e dispositivo di misura della concentrazione dei gas di scarico di una caldaia |
| WO2008103837A1 (en) * | 2007-02-22 | 2008-08-28 | Zolo Technologies, Inc. | Method and apparatus for monitoring gases in fluid tanks |
| US8500442B2 (en) | 2007-02-26 | 2013-08-06 | Yokogawa Corp. Of America | Combustion gas analysis |
| EP2118638B2 (en) * | 2007-02-26 | 2017-08-16 | Yokogawa Corporation of America | Combustion gas analysis |
| KR20100017338A (ko) * | 2007-05-24 | 2010-02-16 | 졸로 테크놀러지스, 아이엔씨. | 고해상도 온도 및 종 농도 측정을 위한 비닝 및 단층 촬영 |
| US7409123B1 (en) * | 2007-05-24 | 2008-08-05 | Kotura, Inc. | Grating having reduced mode dispersion |
| WO2009061586A2 (en) * | 2007-10-16 | 2009-05-14 | Zolo Technologies, Inc. | In situ optical probe and methods |
| EP2261638B8 (en) | 2008-03-28 | 2015-04-15 | Horiba, Ltd.g | Wavelength stabilized laser device for an analyzer |
| JP5188858B2 (ja) * | 2008-03-28 | 2013-04-24 | 株式会社堀場製作所 | 光分析装置 |
| CN101308090B (zh) * | 2008-06-09 | 2013-11-06 | 中国科学技术大学 | 一种火场多参量激光波长调制光谱检测方法和装置 |
| US8763540B2 (en) * | 2008-06-23 | 2014-07-01 | Hitachi Zosen Inova Ag | Method for injecting a substance into a boiler of a waste incineration plant |
| PL2376840T3 (pl) * | 2009-01-09 | 2019-04-30 | John Zink Co Llc | Sposób i urządzenie do monitorowania właściwości spalania we wnętrzu kotła |
| US8021561B1 (en) | 2009-01-16 | 2011-09-20 | Kotura, Inc. | Optical component having features extending different depths into a light transmitting medium |
| US8416415B2 (en) * | 2009-04-27 | 2013-04-09 | General Electric Company | Gas turbine optical imaging system |
| US8456634B2 (en) * | 2009-06-15 | 2013-06-04 | General Electric Company | Optical interrogation sensors for combustion control |
| WO2011019755A1 (en) | 2009-08-10 | 2011-02-17 | Zolo Technologies, Inc. | Mitigation of optical signal noise using a multimode transmit fiber |
| US20110045422A1 (en) | 2009-08-21 | 2011-02-24 | Alstom Technology Ltd | Optical flue gas monitor and control |
| US20110045420A1 (en) * | 2009-08-21 | 2011-02-24 | Alstom Technology Ltd | Burner monitor and control |
| US8451524B2 (en) * | 2009-09-29 | 2013-05-28 | Amnis Corporation | Modifying the output of a laser to achieve a flat top in the laser's Gaussian beam intensity profile |
| KR20120089730A (ko) | 2009-10-22 | 2012-08-13 | 콘티넨탈 오토모티브 시스템즈 유에스, 인코포레이티드 | 스테퍼 모터 제어기 |
| US9377397B2 (en) * | 2009-12-09 | 2016-06-28 | The Babcock & Wilcox Company | Calibration system and method of using mid-IR laser measure and monitor exhaust pollutant |
| US20110150035A1 (en) * | 2009-12-17 | 2011-06-23 | Hanson Ronald K | Non-intrusive method for sensing gas temperature and species concentration in gaseous environments |
| US8300999B2 (en) * | 2009-12-23 | 2012-10-30 | Kotura, Inc. | Reducing optical loss in reflective optical gratings |
| US8424292B2 (en) * | 2009-12-31 | 2013-04-23 | General Electric Company | Systems and apparatus relating to the monitoring and/or controlling of selective catalytic reduction processes |
| US8528429B2 (en) * | 2010-01-20 | 2013-09-10 | Babcock & Wilcox Power Generation Group, Inc. | System and method for stabilizing a sensor |
| US8463093B2 (en) | 2010-05-18 | 2013-06-11 | Kotura, Inc. | Extension of steps in reflective optical gratings |
| CN101858860A (zh) * | 2010-05-28 | 2010-10-13 | 公安部沈阳消防研究所 | 一种基于光纤传导的开路式可燃气体探测器及其检测方法 |
| JP5641301B2 (ja) * | 2010-07-26 | 2014-12-17 | 富士電機株式会社 | 多成分用レーザ式ガス分析計 |
| JP2012108095A (ja) * | 2010-08-03 | 2012-06-07 | Fuji Electric Co Ltd | 多成分用レーザ式ガス分析計 |
| US8755941B2 (en) * | 2010-09-02 | 2014-06-17 | General Electric Company | Model based tempering air control and enhancement of exhaust for select catalytic reduction |
| US8702302B2 (en) | 2010-09-13 | 2014-04-22 | General Electric Company | Hot gas temperature measurement in gas turbine using tunable diode laser |
| US8544334B2 (en) | 2010-11-03 | 2013-10-01 | Yokogawa Corporation Of America | Systems, methods, and apparatus for compensating atmospheric pressure measurements in fired equipment |
| US8625098B2 (en) * | 2010-12-17 | 2014-01-07 | General Electric Company | System and method for real-time measurement of equivalence ratio of gas fuel mixture |
| DE102010063558A1 (de) * | 2010-12-20 | 2012-06-21 | Endress + Hauser Conducta Gesellschaft für Mess- und Regeltechnik mbH + Co. KG | Vorrichtung zur fotometrischen Erfassung eines Gehalts einer Substanz in einer Messflüssigkeit |
| CN102175642B (zh) * | 2010-12-31 | 2012-12-12 | 聚光科技(杭州)股份有限公司 | 气体的在位测量方法及装置 |
| CN102052130A (zh) * | 2011-01-11 | 2011-05-11 | 无锡市凯龙汽车设备制造有限公司 | 基于氮氧化合物传感器的柴油发动机尾气处理系统 |
| SE535798C2 (sv) | 2011-03-08 | 2012-12-27 | Vattenfall Ab | Förfarande och system för gasmätning i förbränningskammare |
| US8711340B2 (en) | 2011-05-31 | 2014-04-29 | General Electric Company | Auto-aligning spectroscopy system |
| JP5226837B2 (ja) * | 2011-08-03 | 2013-07-03 | 株式会社日立ハイテクサイエンス | 走査型プローブ顕微鏡用の光学式変位検出機構のスポット光の位置合わせ方法 |
| US20130050680A1 (en) * | 2011-08-24 | 2013-02-28 | General Electric Company | System and methods for making temperature and pressure measurements utilizing a tunable laser diode |
| US9777637B2 (en) | 2012-03-08 | 2017-10-03 | General Electric Company | Gas turbine fuel flow measurement using inert gas |
| CN104412526B (zh) * | 2012-03-08 | 2018-07-27 | 阿尔卡特朗讯 | 具有模式混合的多模式光学通信设备 |
| US20140119400A1 (en) * | 2012-10-25 | 2014-05-01 | Axetris Ag | Method and device for measurement of the heating value of a gas stream |
| JP6000083B2 (ja) * | 2012-11-16 | 2016-09-28 | 三菱重工業株式会社 | 排ガス脱硝システム |
| KR101409620B1 (ko) * | 2012-12-26 | 2014-06-18 | 주식회사 아이스기술 | 광 정렬기능을 갖는 가스 측정장치 |
| CN105122038B (zh) | 2013-01-17 | 2018-09-07 | 探测器电子公司 | 开路式气体检测器 |
| DE102013010553A1 (de) * | 2013-06-15 | 2014-12-18 | Volkswagen Aktiengesellschaft | Verfahren und Vorrichtung zur Bestimmung eines Maßes für die Temperatur eines Brenngases im Brennraum einer Verbrennungskraftmaschine |
| CN103592253A (zh) * | 2013-11-06 | 2014-02-19 | 安徽皖仪科技股份有限公司 | 一种对测量气体浓度进行精确温度补偿的激光气体分析仪 |
| EP3084306B1 (en) | 2013-12-20 | 2021-06-02 | OnPoint Technologies, LLC | Method and apparatus for monitoring port blockage for tdlas measurements in harsh environments |
| US9207115B2 (en) * | 2014-03-11 | 2015-12-08 | Honeywell International Inc. | Multi-wavelength flame scanning |
| GB2524023B (en) * | 2014-03-11 | 2017-10-18 | Ford Global Tech Llc | Belt slip monitor |
| CN103884663B (zh) * | 2014-03-19 | 2015-08-05 | 中国人民解放军装备学院 | 基于激光吸收光谱技术的二维重建光线分布优化方法 |
| GB2524836A (en) | 2014-04-04 | 2015-10-07 | Servomex Group Ltd | Attachment and alignment device for optical sources, detectors and analysers, and modular analysis system |
| CA2939057A1 (en) * | 2014-04-29 | 2015-11-05 | Humedics Gmbh | Method for determining the temperature of an infrared-active gas by means of infrared spectroscopy |
| EP2944944B1 (en) | 2014-05-12 | 2021-10-20 | General Electric Company | Gas detector and method of detection |
| KR101493198B1 (ko) * | 2014-06-20 | 2015-02-13 | 주식회사 아이스기술 | 레이저 흡수 분광형 가스측정장치의 자동 광 정렬장치 |
| JP6473367B2 (ja) | 2015-03-31 | 2019-02-20 | 三菱重工業株式会社 | ガス分析システム |
| KR101682112B1 (ko) | 2015-05-13 | 2016-12-13 | 주식회사 아이스기술 | 자동 광 정렬 기능을 갖는 연소가스 측정 시스템 |
| GB2538563B (en) * | 2015-05-22 | 2017-08-02 | Optosci Ltd | Gas sensing apparatus |
| SG11201808029QA (en) * | 2016-04-12 | 2018-10-30 | John Zink Co Llc | Method and apparatus for verification of tdlas system operation |
| US10724945B2 (en) * | 2016-04-19 | 2020-07-28 | Cascade Technologies Holdings Limited | Laser detection system and method |
| WO2017197033A1 (en) | 2016-05-10 | 2017-11-16 | Apple Inc. | Systems and methods for non-pulsatile blood volume measurements |
| US10697830B1 (en) * | 2016-08-31 | 2020-06-30 | Apple Inc. | Multicomb light source and spectrometer |
| CN106422732A (zh) * | 2016-09-13 | 2017-02-22 | 中国华能集团公司 | 一种火电厂w型锅炉sncr脱硝系统及其控制方法 |
| CN106500773A (zh) * | 2016-11-23 | 2017-03-15 | 武汉理工大学 | 粉尘浓度和温度同时测量的光纤光栅传感系统及测量方法 |
| GB201700905D0 (en) | 2017-01-19 | 2017-03-08 | Cascade Tech Holdings Ltd | Close-Coupled Analyser |
| CN107064059B (zh) * | 2017-05-09 | 2019-01-29 | 中国人民解放军战略支援部队航天工程大学 | 基于激光吸收光谱的流场测量系统集成样机 |
| US11552454B1 (en) | 2017-09-28 | 2023-01-10 | Apple Inc. | Integrated laser source |
| US11158996B2 (en) | 2017-09-28 | 2021-10-26 | Apple Inc. | Laser architectures using quantum well intermixing techniques |
| CN107906555B (zh) * | 2017-10-12 | 2019-10-08 | 上海交通大学 | 基于多谱线吸收光谱断层成像技术的燃烧优化控制方法 |
| CN109991188A (zh) * | 2018-01-02 | 2019-07-09 | 中兴通讯股份有限公司 | 气体检测方法及装置 |
| WO2019236405A1 (en) * | 2018-06-06 | 2019-12-12 | Wisconsin Alumni Research Foundation | Self-cleaning combustion engine window |
| KR102130341B1 (ko) | 2018-09-06 | 2020-07-07 | 한국생산기술연구원 | 미세먼지 전구물질 농도 및 온도의 2차원 측정 및 이의 능동제어 방법 |
| KR102164999B1 (ko) | 2018-10-05 | 2020-10-13 | 한국생산기술연구원 | 미세먼지 전구물질 농도 및 온도의 2차원 측정 및 이의 능동제어 방법 |
| GB201818398D0 (en) | 2018-11-12 | 2018-12-26 | Johnson Matthey Plc | Furnace control method |
| US11171464B1 (en) | 2018-12-14 | 2021-11-09 | Apple Inc. | Laser integration techniques |
| CN109752489B (zh) * | 2019-01-08 | 2024-07-05 | 光力科技股份有限公司 | 烟气分析系统 |
| CN109883965A (zh) * | 2019-01-25 | 2019-06-14 | 北京航天计量测试技术研究所 | 一种用于高温、高压环境的合成气组份检测装置 |
| US11639872B1 (en) * | 2019-04-30 | 2023-05-02 | Ge Inspection Technologies, Lp | Combustion monitoring system |
| KR102684779B1 (ko) * | 2019-11-05 | 2024-07-12 | 한국전력공사 | 레이저 센서 자동정렬 시스템 및 이를 구비하는 연소상태 계측 시스템 |
| US20230012267A1 (en) * | 2019-12-06 | 2023-01-12 | Neola Medical AB | A device for smoothing spectral transmission modulations and a method thereof |
| CN111272680B (zh) * | 2020-02-17 | 2021-09-28 | 北京航空航天大学 | 一种基于单一组分吸收光谱的多组分浓度分布的估计方法 |
| JP7600257B2 (ja) * | 2020-03-13 | 2024-12-16 | オーエフエス ファイテル,エルエルシー | 三次元空間に沿ったマイクロベンドおよび任意の微小変形を測定するためのシステム |
| CN111289465B (zh) * | 2020-03-24 | 2021-12-07 | 中国科学院长春光学精密机械与物理研究所 | 一种tdlas气体检测系统及其驱动方法 |
| US12321015B2 (en) | 2020-07-17 | 2025-06-03 | Mg Smart Ventures, Llc | Demultiplexing filter and method |
| RU2746308C1 (ru) * | 2020-10-07 | 2021-04-12 | федеральное государственное автономное образовательное учреждение высшего образования «Национальный исследовательский Томский политехнический университет» | Устройство для исследования процесса горения нанопорошков металлов или их смесей |
| JP2023544781A (ja) * | 2020-10-09 | 2023-10-25 | オンポイント テクノロジーズ リミテッド ライアビリティ カンパニー | 燃焼ゾーン化学物質検知システム及び関連する方法 |
| RU2753748C1 (ru) * | 2020-11-30 | 2021-08-23 | Федеральное государственное автономное образовательное учреждение высшего образования "Национальный исследовательский Томский политехнический университет" | Устройство для исследования процесса горения порошков металлов или их смесей |
| CN112611477B (zh) * | 2020-12-14 | 2022-10-28 | 东南大学 | 一种激光吸收光谱扫描光路重建燃烧火焰温度场的装置 |
| CN112798550B (zh) * | 2021-04-14 | 2021-07-13 | 四川大学 | 一种宽测量范围的激光吸收光谱燃烧诊断方法 |
| ES2926693B2 (es) * | 2021-04-20 | 2023-02-28 | Univ Madrid Carlos Iii | Pirómetro con alta resolución espacial |
| CN113533240A (zh) * | 2021-07-14 | 2021-10-22 | 上海交通大学 | 热解过程中固体颗粒测量装置及方法 |
| US12204155B2 (en) | 2021-09-24 | 2025-01-21 | Apple Inc. | Chip-to-chip optical coupling for photonic integrated circuits |
| CN114384207B (zh) * | 2021-12-30 | 2023-07-07 | 安徽理工大学 | 一种煤矿井下环境监测设备 |
| CA3255379A1 (en) * | 2022-04-04 | 2023-10-12 | University Of Pittsburgh-Of The Commonwealth System Of Higher Education | MONITORING SYSTEM BASED ON MULTIMOD MULTIPLEXED INTERFEROMETRIC SENSORS |
| US12426139B1 (en) | 2022-06-27 | 2025-09-23 | Apple Inc. | Feedback control of a diode element |
| CN115276813B (zh) * | 2022-07-18 | 2023-07-21 | 瑞斯康达科技发展股份有限公司 | 波长自动适配方法、光纤通信系统及计算机可读存储介质 |
Citations (9)
| Publication number | Priority date | Publication date | Assignee | Title |
|---|---|---|---|---|
| JPS5140371A (en) * | 1974-10-04 | 1976-04-05 | Mitsubishi Heavy Ind Ltd | Haigasuchuno nox no nh3 setsushokukangenhoniokeru nh3 chunyuryoseigyohoho |
| JPS61109014A (ja) * | 1984-10-30 | 1986-05-27 | ライノタイプ―ヘル アクチエンゲゼルシャフト | 光伝送装置 |
| JPS62280638A (ja) * | 1986-05-30 | 1987-12-05 | Showa Denko Kk | ガス濃度検出セル |
| JPS63173322A (ja) * | 1987-01-13 | 1988-07-16 | Toshiba Corp | 半導体露光装置 |
| JPH02130510A (ja) * | 1988-11-11 | 1990-05-18 | Fujitsu Ltd | 光半導体モジュール |
| JPH0519129A (ja) * | 1990-02-20 | 1993-01-29 | Cavi Pirelli Spa | 光フアイバ接続用自在コネクタ及び光センサ |
| JPH0915447A (ja) * | 1995-06-30 | 1997-01-17 | Oki Electric Ind Co Ltd | 光ファイバーコリメータの固定構造及び方法 |
| JPH0973020A (ja) * | 1995-09-05 | 1997-03-18 | Toshiba Corp | 光合分波器 |
| JP2000074830A (ja) * | 1998-08-28 | 2000-03-14 | Horiba Ltd | 半導体レーザ分光法を用いた温度・濃度・化学種の高速計測方法および計測システム |
Family Cites Families (81)
| Publication number | Priority date | Publication date | Assignee | Title |
|---|---|---|---|---|
| US4037113A (en) * | 1975-04-11 | 1977-07-19 | Forney Engineering Company | Flame detector |
| US4028081A (en) * | 1975-12-11 | 1977-06-07 | Bell Telephone Laboratories, Incorporated | Method for manufacturing helical optical fiber |
| US4011403A (en) * | 1976-03-30 | 1977-03-08 | Northwestern University | Fiber optic laser illuminators |
| US4305640A (en) * | 1978-11-24 | 1981-12-15 | National Research Development Corporation | Laser beam annealing diffuser |
| US4360372A (en) * | 1980-11-10 | 1982-11-23 | Northern Telecom Limited | Fiber optic element for reducing speckle noise |
| US4672198A (en) * | 1986-01-24 | 1987-06-09 | At&T Company And At&T Bell Laboratories | Signal sampler microbending fiber test clip |
| US4915468A (en) * | 1987-02-20 | 1990-04-10 | The Board Of Trustees Of The Leland Stanford Junior University | Apparatus using two-mode optical waveguide with non-circular core |
| US4741586A (en) * | 1987-02-20 | 1988-05-03 | The Board Of Trustees Of The Leland Stanford Junior University | Dynamic coupler using two-mode optical waveguides |
| US4989979A (en) * | 1989-01-17 | 1991-02-05 | Board Of Regents, The University Of Texas System | Optical fiber sensors with full common-mode compensation and measurand sensitivity enhancement |
| DE59010072D1 (de) * | 1989-12-27 | 1996-02-29 | Ciba Geigy Ag | Vorrichtung zum Homogenisieren der inhomogenen Lichtverteilung eines Laserstrahllichtbündels |
| US5056721A (en) * | 1990-06-12 | 1991-10-15 | The United States Of America As Represented By The Secretary Of Agriculture | Method for classifying wheat kernels as hard or soft |
| US5042905A (en) * | 1990-06-15 | 1991-08-27 | Honeywell Inc. | Electrically passive fiber optic position sensor |
| IT1251246B (it) * | 1991-08-27 | 1995-05-05 | Sie Systems Spa | Dispositivo per a rivelazione della presenza e della qualita' della fiamma attraverso la captazione e l'analisi di radiazioni elettromagnetiche di diversa lunghezza d'onda |
| US5291013A (en) * | 1991-12-06 | 1994-03-01 | Alamed Corporation | Fiber optical monitor for detecting normal breathing and heartbeat motion based on changes in speckle patterns |
| US5436444A (en) * | 1991-12-06 | 1995-07-25 | Alamed Corporation | Multimode optical fiber motion monitor with audible output |
| US5468239A (en) * | 1992-04-13 | 1995-11-21 | Sorenson Laboratories, Inc. | Apparatus and methods for using a circumferential light-emitting surgical laser probe |
| EP0591540A4 (en) * | 1992-04-28 | 1996-08-07 | Furukawa Electric Co Ltd | External modulator for optical communication |
| US5798840A (en) * | 1992-08-05 | 1998-08-25 | The Aerospace Corporation | Fast optical absorption tomography apparatus and method |
| GB9217705D0 (en) * | 1992-08-20 | 1992-09-30 | Ici Plc | Data-recordal using laser beams |
| WO1994011708A1 (en) * | 1992-11-06 | 1994-05-26 | Martin Marietta Corporation | Interferometric optical sensor read-out system |
| US5408554A (en) * | 1993-12-17 | 1995-04-18 | Porta System Corporation | Fiber optic coupling |
| US5448071A (en) * | 1993-04-16 | 1995-09-05 | Bruce W. McCaul | Gas spectroscopy |
| US5396506A (en) * | 1993-12-09 | 1995-03-07 | United Technologies Corporation | Coupled multiple output fiber laser |
| DE4446425A1 (de) * | 1994-12-23 | 1996-06-27 | Siemens Ag | Verfahren und Anordnung zum Messen eines Magnetfeldes unter Ausnutzung des Faraday-Effekts mit Kompensation von Intensitätsänderungen und Temperatureinflüssen |
| DE19549395A1 (de) * | 1995-02-07 | 1996-10-31 | Ldt Gmbh & Co | Bilderzeugungssysteme zur Bestimmung von Sehfehlern an Probanden und für deren Therapie |
| US5598264A (en) * | 1995-05-18 | 1997-01-28 | Failes; Michael | Noise compensated interferometric measuring device and method using signal and reference interferometers |
| US5621213A (en) * | 1995-07-07 | 1997-04-15 | Novitron International Inc. | System and method for monitoring a stack gas |
| JP3860237B2 (ja) * | 1995-07-26 | 2006-12-20 | 富士通株式会社 | 偏波分散の抑圧特性を持つ光ファイバ及びその製造方法 |
| CN1113043C (zh) * | 1995-08-16 | 2003-07-02 | 等离子光纤维股份有限公司 | 具有低偏振模色散的光纤 |
| EP0766080A1 (en) * | 1995-09-29 | 1997-04-02 | FINMECCANICA S.p.A. AZIENDA ANSALDO | System and method for monitoring combustion and pollutants by means of laser diodes |
| JPH09152126A (ja) * | 1995-11-30 | 1997-06-10 | Tokyo Gas Co Ltd | 火炎検知装置 |
| US5742715A (en) * | 1995-12-21 | 1998-04-21 | Lucent Technologies Inc. | Optical fiber status analyzer and related methods |
| GB2309317A (en) * | 1996-01-17 | 1997-07-23 | Univ Southampton | Optical fibre device |
| US5732166A (en) * | 1996-03-11 | 1998-03-24 | Hamann; Oliver | High temperature-resistant optical sensing apparatus and method of making |
| EP0918984B1 (de) * | 1996-08-16 | 2001-06-27 | Zeptosens AG | Optische detektionsvorrichtung |
| US6169830B1 (en) * | 1996-08-26 | 2001-01-02 | Arroyo Optics, Inc. | Methods of fabricating grating assisted coupler devices |
| US5841915A (en) * | 1996-11-04 | 1998-11-24 | Honeywell Inc. | Apparatus for determining the effect of modal noise on a communication system by affecting an optical fiber discontinuity |
| US5805318A (en) * | 1996-11-04 | 1998-09-08 | Honeywell Inc. | Apparatus for determining the effect of modal noise on a communication system by flexing an optical fiber |
| JPH10281988A (ja) * | 1997-04-09 | 1998-10-23 | Nippon Sanso Kk | ガス分析方法及びガス分析装置 |
| JPH10301153A (ja) * | 1997-04-23 | 1998-11-13 | Sony Corp | 光源装置とこれを用いた光学測定装置および露光装置 |
| US6124597A (en) * | 1997-07-07 | 2000-09-26 | Cedars-Sinai Medical Center | Method and devices for laser induced fluorescence attenuation spectroscopy |
| US6016372A (en) * | 1997-10-16 | 2000-01-18 | World Precision Instruments, Inc. | Chemical sensing techniques employing liquid-core optical fibers |
| US5930029A (en) * | 1997-12-02 | 1999-07-27 | Sdl, Inc. | Optical fiber amplifier with optimized power conversion |
| US5960129A (en) * | 1997-12-22 | 1999-09-28 | Bayer Corporation | Method and apparatus for detecting liquid and gas segment flow through a tube |
| CA2321782C (en) * | 1998-03-04 | 2007-05-22 | Sdl, Inc. | Optical couplers for multimode fibers |
| US6064417A (en) * | 1998-03-31 | 2000-05-16 | Eastman Kodak Company | Laser printer using multiple sets of lasers with multiple wavelengths |
| EP0988521A1 (en) * | 1998-04-14 | 2000-03-29 | Instrumentarium Corporation | Sensor assembly and method for measuring nitrogen dioxide |
| US6160255A (en) * | 1998-10-05 | 2000-12-12 | The United States Of America As Represented By The Secretary Of The Army | Laser-based photoacoustic sensor and method for trace detection and differentiantion of atmospheric NO and NO2 |
| ATE292795T1 (de) * | 1998-11-11 | 2005-04-15 | Univ Manchester | Überwachung der verteilung und mischung eines chemischen spezies |
| US6510265B1 (en) * | 1999-04-21 | 2003-01-21 | Lucent Technologies Inc. | High-speed multi mode fiber optic link |
| US6304692B1 (en) * | 1999-09-03 | 2001-10-16 | Zolo Technologies, Inc. | Echelle grating dense wavelength division multiplexer/demultiplexer with two dimensional single channel array |
| US6351587B1 (en) * | 1999-11-12 | 2002-02-26 | Lucent Technologies Inc. | Multi-fiber digital delay line |
| US6422043B1 (en) * | 1999-11-16 | 2002-07-23 | Fitel Usa Corp. | Method of making an improved multimode optical fiber and fiber made by method |
| JP2001153725A (ja) * | 1999-11-26 | 2001-06-08 | Olympus Optical Co Ltd | 偏光角調整機構 |
| WO2001059423A2 (en) * | 2000-02-08 | 2001-08-16 | Cornell Research Foundation, Inc. | Multiphoton excitation through optical fibers for fluorescence spectroscopy |
| US6363190B1 (en) * | 2000-02-11 | 2002-03-26 | New Focus, Inc. | Polarization insensitive fused fiber coupler method and apparatus |
| US20020031737A1 (en) * | 2000-03-10 | 2002-03-14 | American Air Liquide, Inc. | Method for continuously monitoring chemical species and temperature in hot process gases |
| KR100353442B1 (ko) * | 2000-03-22 | 2002-09-19 | 삼성전자 주식회사 | 산란 손실이 감소된 다중모드 광섬유 구조 |
| US6455851B1 (en) * | 2000-03-28 | 2002-09-24 | Air Instruments And Measurement, Inc. | Spectroscopic remote sensing exhaust emission monitoring system |
| US6385372B1 (en) * | 2000-04-19 | 2002-05-07 | Tera Fiberoptics, Inc. | Fiber optical coupler fabrication and system |
| DE10034250C2 (de) * | 2000-07-14 | 2003-04-17 | Siemens Ag | Konfokales Abbildungssystem |
| CN1195202C (zh) * | 2000-09-15 | 2005-03-30 | 饶云江 | 集成式光纤应变与温度传感器装置 |
| US6519385B1 (en) * | 2000-09-27 | 2003-02-11 | The Boeing Company | Method and apparatus for controllably positioning an optical fiber to introduce a phase shift |
| US6959129B2 (en) * | 2000-12-22 | 2005-10-25 | Metrophotonics Inc. | Bidirectional multiplexer and demultiplexer based on a single echelle waveguide grating |
| US20020158202A1 (en) * | 2001-01-08 | 2002-10-31 | Webber Michael E. | Laser-based sensor for measuring combustion parameters |
| US6701753B2 (en) * | 2001-02-11 | 2004-03-09 | Fitel Usa Corp. | Method and apparatus for making improved optical fiber preforms and optical fiber therefrom |
| US6766070B2 (en) * | 2001-04-27 | 2004-07-20 | The United States Of America As Represented By The Secretary Of The Navy | High power fiber optic modulator system and method |
| JP2003004633A (ja) * | 2001-06-22 | 2003-01-08 | Nissan Motor Co Ltd | エンジンの燃料濃度測定装置 |
| US6680961B2 (en) * | 2001-08-01 | 2004-01-20 | Binoptics, Inc. | Curved waveguide ring laser |
| US6950452B2 (en) * | 2001-09-28 | 2005-09-27 | The Furukawa Electric Co., Ltd. | Semiconductor laser module and method for simultaneously reducing relative intensity noise (RIN) and stimulated brillouin scattering (SBS) |
| KR100417000B1 (ko) * | 2001-12-03 | 2004-02-05 | 삼성전자주식회사 | 저 편광 모드 분산을 위한 장치 |
| JP2004096088A (ja) * | 2002-07-10 | 2004-03-25 | Fuji Photo Film Co Ltd | 合波レーザー光源および露光装置 |
| WO2004050573A1 (en) * | 2002-09-25 | 2004-06-17 | Giacomo Stefano Roba | Process for producing an optical fiber having a low polarization mode dispersion |
| AU2003291003C1 (en) * | 2002-11-18 | 2009-05-21 | Virginia Tech Intellectual Properties, Inc. | System, device, and method for detecting perturbations |
| KR100469736B1 (ko) * | 2002-11-21 | 2005-02-02 | 삼성전자주식회사 | 다파장 레이징 광원에 파장 잠김된 페브리-페롯 레이저장치 및 이를 이용한 광 전송장치 |
| US20040160596A1 (en) * | 2003-02-19 | 2004-08-19 | Pactonix, Inc. | Apparatus and method to accurately monitor signal quality in optical signal transmission systems |
| CN101408458A (zh) * | 2003-03-31 | 2009-04-15 | 佐勒技术公司 | 监视与控制燃烧过程的方法与设备 |
| ES2325621T3 (es) * | 2003-12-30 | 2009-09-10 | Prysmian S.P.A. | Enlace de fibra optica de baja dispersion de modo de polarizacion (pmd) y procedimiento para su fabricacion. |
| US7158552B2 (en) * | 2004-02-13 | 2007-01-02 | Lucent Technologies Inc. | Low relative intensity noise fiber grating type laser diode |
| US7787728B2 (en) * | 2004-03-31 | 2010-08-31 | Zolo Technologies, Inc. | Optical mode noise averaging device |
| WO2007007389A1 (ja) * | 2005-07-11 | 2007-01-18 | Mitsubishi Denki Kabushiki Kaisha | スペックル除去光源および照明装置 |
-
2004
- 2004-03-31 CN CNA200810168100XA patent/CN101408458A/zh active Pending
- 2004-03-31 ES ES04749622.9T patent/ES2671574T3/es not_active Expired - Lifetime
- 2004-03-31 CN CNB2004800087334A patent/CN100437165C/zh not_active Expired - Lifetime
- 2004-03-31 US US10/543,288 patent/US7248755B2/en not_active Expired - Lifetime
- 2004-03-31 WO PCT/US2004/010048 patent/WO2004090496A2/en not_active Ceased
- 2004-03-31 EP EP04749622.9A patent/EP1616207B1/en not_active Expired - Lifetime
- 2004-03-31 JP JP2006509589A patent/JP2006522938A/ja not_active Withdrawn
- 2004-03-31 CN CN2008101681014A patent/CN101408459B/zh not_active Expired - Lifetime
- 2004-03-31 CA CA002520862A patent/CA2520862A1/en not_active Abandoned
- 2004-03-31 AU AU2004227359A patent/AU2004227359B2/en not_active Ceased
-
2005
- 2005-09-30 KR KR1020057018665A patent/KR101072657B1/ko not_active Expired - Lifetime
-
2007
- 2007-07-24 US US11/782,475 patent/US7729566B2/en not_active Expired - Lifetime
- 2007-07-24 US US11/782,481 patent/US7389027B2/en not_active Expired - Lifetime
- 2007-07-24 US US11/782,483 patent/US20070263956A1/en not_active Abandoned
- 2007-07-24 US US11/782,492 patent/US7469092B2/en not_active Expired - Lifetime
-
2009
- 2009-02-05 JP JP2009025174A patent/JP2009162762A/ja active Pending
- 2009-11-05 JP JP2009253750A patent/JP4927925B2/ja not_active Expired - Lifetime
-
2012
- 2012-08-17 JP JP2012180951A patent/JP5395232B2/ja not_active Expired - Lifetime
Patent Citations (9)
| Publication number | Priority date | Publication date | Assignee | Title |
|---|---|---|---|---|
| JPS5140371A (en) * | 1974-10-04 | 1976-04-05 | Mitsubishi Heavy Ind Ltd | Haigasuchuno nox no nh3 setsushokukangenhoniokeru nh3 chunyuryoseigyohoho |
| JPS61109014A (ja) * | 1984-10-30 | 1986-05-27 | ライノタイプ―ヘル アクチエンゲゼルシャフト | 光伝送装置 |
| JPS62280638A (ja) * | 1986-05-30 | 1987-12-05 | Showa Denko Kk | ガス濃度検出セル |
| JPS63173322A (ja) * | 1987-01-13 | 1988-07-16 | Toshiba Corp | 半導体露光装置 |
| JPH02130510A (ja) * | 1988-11-11 | 1990-05-18 | Fujitsu Ltd | 光半導体モジュール |
| JPH0519129A (ja) * | 1990-02-20 | 1993-01-29 | Cavi Pirelli Spa | 光フアイバ接続用自在コネクタ及び光センサ |
| JPH0915447A (ja) * | 1995-06-30 | 1997-01-17 | Oki Electric Ind Co Ltd | 光ファイバーコリメータの固定構造及び方法 |
| JPH0973020A (ja) * | 1995-09-05 | 1997-03-18 | Toshiba Corp | 光合分波器 |
| JP2000074830A (ja) * | 1998-08-28 | 2000-03-14 | Horiba Ltd | 半導体レーザ分光法を用いた温度・濃度・化学種の高速計測方法および計測システム |
Cited By (9)
| Publication number | Priority date | Publication date | Assignee | Title |
|---|---|---|---|---|
| JP2013526708A (ja) * | 2010-05-10 | 2013-06-24 | ゾロ テクノロジーズ,インコーポレイティド | ガスタービンエンジン内の圧力及び温度の時間同期型tdlas測定 |
| JP2015516575A (ja) * | 2012-04-19 | 2015-06-11 | ゾロ テクノロジーズ,インコーポレイティド | 方向可変の波長可変ダイオードレーザ吸収分光計を有する炉内再帰反射体 |
| JP2014094355A (ja) * | 2012-11-09 | 2014-05-22 | Mitsubishi Heavy Ind Ltd | 排ガス脱硝システム、排ガス脱硝装置の再生方法及び排ガス脱硝装置の触媒交換方法 |
| KR20170100590A (ko) * | 2014-12-23 | 2017-09-04 | 졸로 테크놀러지스, 아이엔씨. | 넓게 이격된 파장들을 위한 tdlas 아키텍쳐 |
| JP2018506027A (ja) * | 2014-12-23 | 2018-03-01 | ゾロ テクノロジーズ,インコーポレイティド | 広間隔波長のためのtdlas構造 |
| US10830698B2 (en) | 2014-12-23 | 2020-11-10 | Onpoint Technologies, Llc | TDLAS architecture for widely spaced wavelength |
| KR102452907B1 (ko) | 2014-12-23 | 2022-10-11 | 온포인트 테크놀로지스, 엘엘씨 | 넓게 이격된 파장들을 위한 tdlas 아키텍쳐 |
| US11513069B2 (en) | 2014-12-23 | 2022-11-29 | Onpoint Technologies, Llc | TDLAS architecture for widely spaced wavelengths |
| US12474263B2 (en) | 2014-12-23 | 2025-11-18 | Mg Smart Ventures, Llc | TDLAS architecture for widely spaced wavelength |
Also Published As
| Publication number | Publication date |
|---|---|
| KR20060008314A (ko) | 2006-01-26 |
| JP2009162762A (ja) | 2009-07-23 |
| CN101408458A (zh) | 2009-04-15 |
| US20080074645A1 (en) | 2008-03-27 |
| WO2004090496A2 (en) | 2004-10-21 |
| US20080013883A1 (en) | 2008-01-17 |
| CN101408459B (zh) | 2012-02-15 |
| JP2006522938A (ja) | 2006-10-05 |
| US7729566B2 (en) | 2010-06-01 |
| US7469092B2 (en) | 2008-12-23 |
| WO2004090496A3 (en) | 2005-05-19 |
| US7389027B2 (en) | 2008-06-17 |
| US20080013887A1 (en) | 2008-01-17 |
| CA2520862A1 (en) | 2004-10-21 |
| CN1768281A (zh) | 2006-05-03 |
| US7248755B2 (en) | 2007-07-24 |
| AU2004227359A1 (en) | 2004-10-21 |
| CN100437165C (zh) | 2008-11-26 |
| EP1616207A4 (en) | 2006-08-16 |
| EP1616207B1 (en) | 2018-02-28 |
| JP2013007753A (ja) | 2013-01-10 |
| US20070263956A1 (en) | 2007-11-15 |
| JP4927925B2 (ja) | 2012-05-09 |
| AU2004227359B2 (en) | 2009-07-30 |
| JP5395232B2 (ja) | 2014-01-22 |
| US20060133714A1 (en) | 2006-06-22 |
| ES2671574T3 (es) | 2018-06-07 |
| CN101408459A (zh) | 2009-04-15 |
| EP1616207A2 (en) | 2006-01-18 |
| KR101072657B1 (ko) | 2011-10-11 |
Similar Documents
| Publication | Publication Date | Title |
|---|---|---|
| JP4927925B2 (ja) | 燃焼の監視および制御のための方法と装置 | |
| KR101994509B1 (ko) | 이동식 가변형 다이오드 레이저 흡수 분광기를 구비한 노 내 역-반사기 | |
| US7787728B2 (en) | Optical mode noise averaging device | |
| CN107111049B (zh) | 用于宽间隔波长的tdlas架构 | |
| CA2748793C (en) | Method and apparatus for monitoring combustion properties in an interior of a boiler | |
| CA2561711C (en) | Optical mode noise averaging device | |
| JP2011145680A (ja) | 光学的モードノイズ平均化デバイス |
Legal Events
| Date | Code | Title | Description |
|---|---|---|---|
| TRDD | Decision of grant or rejection written | ||
| A01 | Written decision to grant a patent or to grant a registration (utility model) |
Free format text: JAPANESE INTERMEDIATE CODE: A01 Effective date: 20120110 |
|
| A01 | Written decision to grant a patent or to grant a registration (utility model) |
Free format text: JAPANESE INTERMEDIATE CODE: A01 |
|
| A61 | First payment of annual fees (during grant procedure) |
Free format text: JAPANESE INTERMEDIATE CODE: A61 Effective date: 20120209 |
|
| FPAY | Renewal fee payment (event date is renewal date of database) |
Free format text: PAYMENT UNTIL: 20150217 Year of fee payment: 3 |
|
| R150 | Certificate of patent or registration of utility model |
Ref document number: 4927925 Country of ref document: JP Free format text: JAPANESE INTERMEDIATE CODE: R150 Free format text: JAPANESE INTERMEDIATE CODE: R150 |
|
| R250 | Receipt of annual fees |
Free format text: JAPANESE INTERMEDIATE CODE: R250 |
|
| R250 | Receipt of annual fees |
Free format text: JAPANESE INTERMEDIATE CODE: R250 |
|
| R250 | Receipt of annual fees |
Free format text: JAPANESE INTERMEDIATE CODE: R250 |
|
| R250 | Receipt of annual fees |
Free format text: JAPANESE INTERMEDIATE CODE: R250 |
|
| S111 | Request for change of ownership or part of ownership |
Free format text: JAPANESE INTERMEDIATE CODE: R313113 |
|
| R350 | Written notification of registration of transfer |
Free format text: JAPANESE INTERMEDIATE CODE: R350 |
|
| R250 | Receipt of annual fees |
Free format text: JAPANESE INTERMEDIATE CODE: R250 |
|
| R250 | Receipt of annual fees |
Free format text: JAPANESE INTERMEDIATE CODE: R250 |
|
| S111 | Request for change of ownership or part of ownership |
Free format text: JAPANESE INTERMEDIATE CODE: R313113 |
|
| R350 | Written notification of registration of transfer |
Free format text: JAPANESE INTERMEDIATE CODE: R350 |
|
| R250 | Receipt of annual fees |
Free format text: JAPANESE INTERMEDIATE CODE: R250 |
|
| R250 | Receipt of annual fees |
Free format text: JAPANESE INTERMEDIATE CODE: R250 |
|
| R250 | Receipt of annual fees |
Free format text: JAPANESE INTERMEDIATE CODE: R250 |
|
| R250 | Receipt of annual fees |
Free format text: JAPANESE INTERMEDIATE CODE: R250 |
|
| EXPY | Cancellation because of completion of term |
