JP2010043880A - 静電容量型センサ - Google Patents

静電容量型センサ Download PDF

Info

Publication number
JP2010043880A
JP2010043880A JP2008206410A JP2008206410A JP2010043880A JP 2010043880 A JP2010043880 A JP 2010043880A JP 2008206410 A JP2008206410 A JP 2008206410A JP 2008206410 A JP2008206410 A JP 2008206410A JP 2010043880 A JP2010043880 A JP 2010043880A
Authority
JP
Japan
Prior art keywords
dielectric layer
electrodes
wiring
electrode
elastomer
Prior art date
Legal status (The legal status is an assumption and is not a legal conclusion. Google has not performed a legal analysis and makes no representation as to the accuracy of the status listed.)
Granted
Application number
JP2008206410A
Other languages
English (en)
Other versions
JP4650538B2 (ja
Inventor
Tomonori Hayakawa
知範 早川
Ayumi Kida
歩 來田
Kazunobu Hashimoto
和信 橋本
Current Assignee (The listed assignees may be inaccurate. Google has not performed a legal analysis and makes no representation or warranty as to the accuracy of the list.)
Sumitomo Riko Co Ltd
Original Assignee
Sumitomo Riko Co Ltd
Priority date (The priority date is an assumption and is not a legal conclusion. Google has not performed a legal analysis and makes no representation as to the accuracy of the date listed.)
Filing date
Publication date
Application filed by Sumitomo Riko Co Ltd filed Critical Sumitomo Riko Co Ltd
Priority to JP2008206410A priority Critical patent/JP4650538B2/ja
Priority to US12/535,150 priority patent/US7958789B2/en
Priority to EP09010183.3A priority patent/EP2154503B1/en
Priority to EP12182416.3A priority patent/EP2549252B8/en
Publication of JP2010043880A publication Critical patent/JP2010043880A/ja
Application granted granted Critical
Publication of JP4650538B2 publication Critical patent/JP4650538B2/ja
Active legal-status Critical Current
Anticipated expiration legal-status Critical

Links

Images

Landscapes

  • Force Measurement Appropriate To Specific Purposes (AREA)
  • Measurement Of Length, Angles, Or The Like Using Electric Or Magnetic Means (AREA)
  • Manufacture Of Switches (AREA)

Abstract

【課題】 伸縮柔軟性を有し、曲げ等の変形が検出可能であると共に、誘電層、電極等のセンサ部品の集積化が容易で量産に好適な静電容量型センサを提供する。
【解決手段】 静電容量型センサ1は、エラストマー製の誘電層2と、誘電層2を介して配置されている一対の電極3a、3bと、を備えてなり、一対の電極3a、3b間の静電容量変化に基づいて変形を検出する。一対の電極3a、3bは、エラストマーと、該エラストマー中に充填されている導電性フィラーと、を有し、誘電層2の変形に応じて伸縮可能であると共に、伸縮しても導電性の変化が小さい。また、誘電層2および電極3a、3bの少なくとも一方は、誘電層2の形成成分を含む誘電層用塗料または電極3a、3bの形成成分を含む電極用塗料から印刷法により形成されている。
【選択図】 図2

Description

本発明は、電極間の静電容量変化に基づいて変形を検出する静電容量型センサに関する。
静電容量型センサによると、一対の電極間距離の変化に伴う静電容量の変化を利用して、圧縮変形を検出することができる。例えば、特許文献1、2には、空隙を挟んで対向する一対の電極を備えた静電容量型センサが紹介されている。また、特許文献3には、シート状誘電体の両面に、導電布からなる電極を配置した静電容量型センサが紹介されている。
特開平5−288619号公報 特開2004−117042号公報 特開2005−315831号公報
特許文献1に記載された静電容量型センサの電極には、金属材料が用いられている。金属製の電極には伸縮性がない。このため、例えば電極が曲げ変形した場合には、電極が塑性変形により破壊されやすい。また、金属製の電極間に弾性変形可能な誘電体を介在させて静電容量型センサを構成した場合、誘電体は曲げ変形可能であるが、電極は誘電体の変形に追従することができない。このため、電極と誘電体とが剥離してしまい、繰り返し使用することができない。このように、金属製の電極を備えた静電容量型センサは、曲げ変形の検出には不適である。加えて、曲面形状への装着も難しい。
この点、特許文献2には、電極を金属以外の材料で形成してもよいとの記載がある。すなわち、特許文献2に記載された静電容量型センサによると、一方の電極は導電性ゴムにより形成されている。また、他方の電極は、導電性インクからスクリーン印刷法により形成されている。
しかし、特許文献1、2のいずれの静電容量型センサにおいても、一対の電極間には空気層が配置されている。空気層の比誘電率は小さい。このため、検出される静電容量が小さい。つまり、検出感度が低い。また、電極間距離に高い寸法精度が要求されるため、製造コストが高い。
一方、特許文献3に記載された静電容量型センサでは、電極に導電性の布(導電布)を使用している。導電布は、伸縮性を有する。しかし、織り方により伸縮方向が規制される。また、網目を有するため、その隙間の分だけ電極面積が小さくなり、静電容量が小さくなる。
本発明は、このような実情に鑑みてなされたものであり、伸縮柔軟性を有し、曲げ等の変形が検出可能であると共に、センサ部品の集積化が容易で量産に好適な静電容量型センサを提供することを課題とする。
以下の括弧内の番号は、請求項の番号に対応している。
(1)本発明の静電容量型センサは、エラストマー製の誘電層と、該誘電層を介して配置されている一対の電極と、を備えてなり、一対の該電極は、エラストマーと、該エラストマー中に充填されている導電性フィラーと、を有し、該誘電層の変形に応じて伸縮可能であると共に、伸縮しても導電性の変化が小さく、該誘電層および該電極の少なくとも一方は、該誘電層の形成成分を含む誘電層用塗料または該電極の形成成分を含む電極用塗料から印刷法により形成されており、一対の該電極間の静電容量変化に基づいて変形を検出することを特徴とする。
例えば、一対の電極間に誘電層が配置されてなる静電容量型センサにおける静電容量(キャパシタンス)は、次式(I)により求めることができる。
C=εεS/d ・・・(I)
[C:キャパシタンス、ε:真空中の誘電率、ε:誘電層の比誘電率、S:電極面積、d:電極間距離]
式(I)から明らかなように、外部から入力された歪みに対して、電極面積(S)が大きくなると、キャパシタンス(C)は大きくなる。また、誘電層の厚さ、すなわち電極間距離(d)が小さくなると、キャパシタンス(C)は大きくなる。
本発明の静電容量型センサによると、一対の電極間にエラストマー製の誘電層が配置されている。エラストマーの比誘電率は、空気の比誘電率(ε≒1)よりも大きい。つまり、上記式(I)においてεが大きくなる。このため、単に一対の電極を空隙を介して対向配置したものと比較して、キャパシタンス(C)が大きくなり、検出感度を向上させることができる。加えて、エラストマー製の誘電層を介在させることにより、電極の位置決めや、電極間距離の調整が容易である。
また、一対の電極は、エラストマーを母材とする。このため、柔軟であり、誘電層と一体となって変形することができる。つまり、誘電層が伸長されたり曲げ変形した場合でも、誘電層の変形に追従して変形することができる。ここで、本明細書における「変形」には、圧縮、伸長、曲げ等による変形がすべて含まれる。このように、一対の電極が誘電層の変形に応じて伸縮可能であるため、曲面形状に対しても、本発明の静電容量型センサを容易に装着することができる。また、繰り返し使用しても、電極と誘電層とは剥離しにくい。このため、本発明の静電容量型センサは耐久性に優れる。
また、一対の電極は、エラストマーを母材とするため、布製の電極とは異なり緻密である。加えて、後述する導電性フィラーによる導電パスの形成により、導電性は良好で、かつ伸縮しても導電性の変化は小さい。したがって、誘電層の変形量が大きい場合でも、電極としての機能が低下しにくい。
さらに、誘電層と電極との両方がエラストマーから構成されているため、センサ全体として柔軟であり、加工性に優れ形状設計の自由度が高い。よって、本発明の静電容量型センサを、ソフトセンサとして幅広く利用することができる。また、柔軟であるため、変形量が大きい場合にも対応しやすい。さらに、用途に応じて、誘電層のヤング率を調整することにより、検出感度や検出レンジを調整することができる。
本発明の静電容量型センサにおいて、誘電層および電極の少なくとも一方は、印刷法により形成されている。すなわち、各々の形成成分を含む塗料を印刷するだけで、誘電層、電極を形成することができる。このため、本発明の静電容量型センサを、容易にかつ低コストで製造することができる。また、誘電層や電極の集積化が容易である。このため、量産化に好適である。また、印刷法を採用することで、薄膜化が容易になる等、形状の自由度が向上する。
(2)好ましくは、上記(1)の構成において、一対の前記電極と各々接続されている伸縮可能な配線を備え、該配線は、エラストマーと、該エラストマー中に充填されている導電性フィラーと、を有し、該電極よりも電気抵抗が小さく、該配線の形成成分を含む配線用塗料から印刷法により形成されている構成とするとよい。
本構成によると、一対の電極に各々接続される配線も、エラストマーを母材とする。このため、柔軟であり、伸縮可能である。したがって、静電容量型センサの変形に追従して、配線も変形することができる。また、本構成の静電容量型センサは、曲面形状に対しても、容易に装着可能である。さらに、配線の電気抵抗は、電極のそれよりも小さい。このため、配線の長さに起因する電気抵抗の変化が小さい。よって、配線が長くなっても、検出精度を維持することができる。
ここで、配線は、印刷法により形成されている。したがって、本構成の静電容量型センサを、容易にかつ低コストで製造することができる。また、誘電層や電極と共に、集積化が容易になるため、量産化しやすい。また、上記誘電層等と同様に、印刷法を採用することで、薄膜化が容易になる等、形状の自由度が向上する。
(3)好ましくは、上記(2)の構成において、一対の前記電極および前記配線は、前記誘電層の表面および裏面に各々印刷されている構成とするとよい。
電極および配線を、誘電層の表面および裏面に各々印刷すると、誘電膜、電極、配線を容易に一体化することができる。また、電極および配線の位置決めを容易に行うことができるため、製造しやすい。また、基材等の表面に、誘電層、電極等を印刷する態様と比較して、部品点数が少なくて済む。したがって、本構成は、静電容量型センサの薄膜化に好適である。加えて、本構成によると、製造コストを低減することができる。
(4)好ましくは、上記(2)または(3)の構成において、さらに、少なくとも一方の前記電極および前記配線を覆うように配置され、該電極および該配線を外部から絶縁する絶縁被膜を備える構成とするとよい。
絶縁被膜を配置することにより、電極および配線からの導電を遮断することができる。よって、本構成によると、静電容量型センサの安全性を向上させることができる。
(5)好ましくは、上記(2)の構成において、前記電極および前記配線は、一対の弾性基材の表面に各々印刷されており、前記誘電層は、一対の該弾性基材間に、印刷された該電極および該配線が該誘電層の表面および裏面に各々接触するように介装されている構成とするとよい。
例えば、誘電層がエラストマーの発泡体からなる場合には、誘電層の表面および裏面に、直接、電極および配線を印刷することは難しい。この点、本構成によると、誘電層に直接印刷することなく、誘電層の表面および裏面に、印刷法により形成された電極および配線を、各々配置することができる。よって、本構成によると、誘電層の材質を問わず、柔軟かつ薄膜状の静電容量型センサを、容易に構成することができる。
(6)好ましくは、上記(1)ないし(5)のいずれかの構成において、一対の前記電極は、前記エラストマーと前記導電性フィラーとを含むエラストマー組成物からなり、該エラストマー組成物の、該導電性フィラーの配合量と電気抵抗との関係を表すパーコレーションカーブにおいて、電気抵抗が低下して絶縁体−導電体転移が起こる第一変極点の該導電性フィラーの配合量(臨界体積分率:φc)が25vol%以下である構成とするとよい。
一般に、絶縁性のエラストマーに導電性フィラーを混合してエラストマー組成物とした場合、エラストマー組成物の電気抵抗は、導電性フィラーの配合量によって変化する。図1に、エラストマー組成物における、導電性フィラーの配合量と電気抵抗との関係を模式的に示す。
図1に示すように、エラストマー101に導電性フィラー102を混合していくと、エラストマー組成物の電気抵抗は、はじめはエラストマー101の電気抵抗とほとんど変わらない。しかし、導電性フィラー102の配合量がある体積分率に達すると、電気抵抗が急激に低下して、絶縁体−導電体転移が起こる(第一変極点)。この第一変極点における導電性フィラー102の配合量を、臨界体積分率(φc)と称す。また、さらに導電性フィラー102を混合していくと、ある体積分率から、電気抵抗の変化が少なくなり電気抵抗変化が飽和する(第二変極点)。この第二変極点における導電性フィラー102の配合量を、飽和体積分率(φs)と称す。このような電気抵抗の変化は、パーコレーションカーブと呼ばれ、エラストマー101中に導電性フィラー102による導電パスP1が形成されるためと考えられている。
例えば、導電性フィラーの一次粒子が凝集して二次粒子化が進むと、三次元的なネットワーク構造により導電パスが形成されやすい。このような場合には、エラストマー組成物の臨界体積分率(φc)は、20vol%程度と比較的小さくなる。言い換えると、臨界体積分率(φc)が小さい場合には、導電性フィラーは、ストラクチャー性を有する二次凝集体を形成しやすい。このため、導電性フィラーの配合量が比較的少なくても、導電性の高いエラストマー組成物を得ることができる。
本構成によると、一対の電極は、臨界体積分率(φc)が25vol%以下のエラストマー組成物からなる。臨界体積分率(φc)が比較的小さいため、導電性フィラーは凝集体を形成しやすい。したがって、比較的少量の導電性フィラーにより、導電性の良好な電極を得ることができる。なお、本明細書における「エラストマー組成物」は、エラストマーと導電性フィラーとの混合物の他、エラストマー、導電性フィラー、および他の添加剤等の混合物をも含む。
(7)好ましくは、上記(1)ないし(6)のいずれかの構成において、一対の前記電極を構成する前記導電性フィラーは、炭素材料からなる構成とするとよい。
炭素材料は、導電性が良好で、比較的安価である。このため、炭素材料からなる導電性フィラーを用いると、静電容量型センサの製造コストを低減することができる。
以下、本発明の静電容量型センサの実施形態について説明する。まず、本発明の静電容量型センサの構成および製造方法について説明し、次に、実施形態例を説明する。
<静電容量型センサの構成>
本発明の静電容量型センサは、エラストマー製の誘電層と、該誘電層を介して配置されている一対の電極と、を備えてなる。誘電層を構成するエラストマーは、ゴムおよび熱可塑性エラストマーから適宜選択することができる。また、エラストマーは発泡体であってもよい。エラストマーの種類は、特に限定されるものではない。例えば、キャパシタンスを大きくするという観点では、比誘電率が高いものが望ましい。例えば、常温における比誘電率が3以上、さらには5以上のものが望ましい。例えば、エステル基、カルボキシル基、水酸基、ハロゲン基、アミド基、スルホン基、ウレタン基、ニトリル基等の極性官能基を有するエラストマー、あるいは、これらの極性官能基を有する極性低分子量化合物を添加したエラストマーを採用すると好適である。エラストマーは架橋されていても、されていなくてもよい。また、エラストマーのヤング率を調整することにより、用途に応じて検出感度や検出レンジを調整すればよい。例えば、ヤング率の小さな発泡体を採用すると、小さな変形を検出しやすい。
好適なエラストマーとしては、例えばシリコーンゴム、アクリロニトリル−ブタジエン共重合ゴム、アクリルゴム、エピクロロヒドリンゴム、クロロスルホン化ポリエチレン、塩素化ポリエチレン、ウレタンゴム等が挙げられる。
誘電層の厚さは、特に限定されるものではない。例えば、センサの小型化を図るという観点、および誘電層の厚さ(電極間距離)の逆数に比例するキャパシタンスを大きくして検出感度の向上を図るという観点から、1μm以上5000μm以下とすることが望ましい。20μm以上500μm以下がより好適である。
一対の電極は、上記誘電層の表面および裏面に各々配置されている。電極を構成するエラストマーは、誘電層に使用するエラストマーと同じでもよく、異なっていてもよい。電極と誘電層とが同じエラストマーから構成される場合には、誘電層の変形に対する電極の追従性が向上する。また、誘電層と電極との密着性も向上するため、繰り返し疲労を受けても誘電層と電極との剥離が抑制され、信頼性が向上する。
また、電極用のエラストマーは、導電性フィラーとの混合物(エラストマー組成物)を調製した場合に、パーコレーションカーブにおける臨界体積分率φcが25vol%以下となるものを用いることが望ましい。臨界体積分率φcが25vol%以下の場合には、導電性フィラーの配合量が比較的少なくても、導電性の高い電極を得ることができる。
電極に好適なエラストマーとしては、シリコーンゴム、エチレン−プロピレン共重合ゴム、天然ゴム、スチレン−ブタジエン共重合ゴム、アクリロニトリル−ブタジエン共重合ゴム、アクリルゴム、エピクロロヒドリンゴム、クロロスルホン化ポリエチレン、塩素化ポリエチレン、ウレタンゴム等が挙げられる。
電極において、エラストマー中に配合されている導電性フィラーは、導電性を有する粒子であればよく、炭素材料や金属等の微粒子を用いればよい。これらのうち、一種を単独で、あるいは二種以上を混合して用いればよい。例えば、比較的安価で、導電パスの形成が容易であるという理由から、炭素材料を用いることが望ましい。炭素材料としては、粒子径が小さく凝集しやすいという理由から、例えば、ケッチェンブラック等の導電性に優れるカーボンブラックが好適である。
導電性フィラーの形状は、球状、針状、角柱状等、特に限定されるものではない。例えば、導電性フィラーのアスペクト比(短辺に対する長辺の比)は、1以上が望ましい。例えば、アスペクト比の比較的大きな針状の導電性フィラーを用いると、三次元的な導電ネットワークを形成しやすく、少量で高い導電性が実現できる。加えて、電極伸縮時の導電性変化を抑制することができる。
また、導電性フィラーを選択する際には、平均粒子径やエラストマーとの相溶性等を考慮するとよい。例えば、球状の導電性フィラーを採用した場合、導電性フィラーの平均粒子径(一次粒子)は、0.01μm以上0.5μm以下であることが望ましい。0.01μm未満の場合には、凝集性が高く、塗料を調製した場合に均一に分散させることが難しい。好ましくは0.03μm以上である。反対に、0.5μmを超えると、凝集体(二次粒子)を形成しにくくなる。好ましくは0.1μm以下である。なお、導電性フィラーとエラストマーとの組み合わせや、導電性フィラーの平均粒子径等を適宜調整することで、パーコレーションカーブにおける臨界体積分率(φc)を、所望の範囲内に調整することができる。
所望の導電性を発現させるため、導電性フィラーは、パーコレーションカーブにおける臨界体積分率(φc)以上の割合で配合されていることが望ましい。一方、導電性フィラーの充填率が30vol%を超えると、エラストマーへの混合が困難となり、成形加工性が低下する。加えて、電極の伸縮性が低下する。このため、30vol%以下であることが望ましい。また、電極の伸縮性を確保するという観点から、比較的少量の導電性フィラーを配合して、高い導電性を発現できることが望ましい。よって、導電性フィラーの充填率は、電極の体積を100vol%とした場合の25vol%以下であることが望ましい。15vol%以下であるとより好適である。
電極の厚さは、特に限定されるものではないが、誘電層に対する追従性を考慮し、センサの小型化を図るという観点から、1μm以上100μm以下であることが望ましい。また、誘電層の変形に対する追従性を高めるため、電極のヤング率を、0.1MPa以上10MPa以下とすることが望ましい。同様に、引張り試験(JIS K6251)における切断時伸びは、200%以上であることが望ましい。
また、電極の電気抵抗は、厚さ方向および面方向において、100kΩ以下であることが望ましく、10kΩ以下であるとより好適である。ここで、電極は、伸縮しても導電性の変化が小さい。例えば、電極を一方向に伸長し、端子間距離を100%引き伸ばした時の端子間抵抗(R1)が、伸長前の端子間抵抗(R0)に対して10倍以下(R1/R0≦10)であれば、「伸縮しても導電性の変化が小さい」ということができる。
電極には、上記エラストマー、導電性フィラーに加え、各種添加剤が配合されていてもよい。添加剤としては、例えば、架橋剤、加硫促進剤、加硫助剤、老化防止剤、可塑剤、軟化剤、着色剤等が挙げられる。
本発明の静電容量型センサにおいて、一対の電極と各々接続される配線は、伸縮可能であることが望ましい。この場合、例えば配線を、エラストマーと、該エラストマー中に充填されている導電性フィラーと、を有するように構成することができる。
配線を構成するエラストマーは、誘電層や電極に使用するエラストマーと同じでもよく、異なっていてもよい。例えば、シリコーンゴム、エチレン−プロピレン共重合ゴム、天然ゴム、スチレン−ブタジエン共重合ゴム、アクリロニトリル−ブタジエン共重合ゴム、アクリルゴム、エピクロロヒドリンゴム、クロロスルホン化ポリエチレン、塩素化ポリエチレン、ウレタンゴム等が好適である。
また、配線を構成する導電性フィラーの種類は、導電性が高いものであれば、特に限定されるものではない。例えば、銀、金、銅、ニッケル等の金属粉を採用すればよい。また、所望の導電性を発現させるため、エラストマーにおける導電性フィラーの充填率は、配線の体積を100vol%とした場合の20vol%以上であることが望ましい。一方、導電性フィラーの充填率が65vol%を超えると、エラストマーへの混合が困難となり、成形加工性が低下する。加えて、配線の伸縮性が低下する。このため、50vol%以下であることが望ましい。
本発明の静電容量型センサを、電極および配線を外部から絶縁する絶縁被膜を備えて構成してもよい。この場合、絶縁被膜は、誘電層の表面および裏面に配置されている少なくとも一方の電極および配線を覆うように配置すればよい。絶縁被膜としては、絶縁性を有し、弾性変形可能なものが望ましい。例えば、シリコーンゴム、エチレン−プロピレン共重合ゴム、天然ゴム、スチレン−ブタジエン共重合ゴム、アクリロニトリル−ブタジエン共重合ゴム、アクリルゴム、エピクロロヒドリンゴム、クロロスルホン化ポリエチレン、塩素化ポリエチレン、ウレタンゴム等が好適である。
また、本発明の静電容量型センサを、エラストマー以外の基材表面に誘電層、電極等を配置して構成してもよい。基材としては、例えばポリイミド、ポリエチレン、ポリエチレンテレフタレート(PET)、ポリエチレンナフタレート(PEN)等の屈曲性を有する樹脂フィルムが挙げられる。屈曲性を有する樹脂フィルムを基材とした場合、基材により誘電層等の伸縮が拘束される。これにより、曲げ変形をより検出しやすくなる。また、伸縮性を有する繊維を基材としてもよい。この場合は、誘電層等の伸縮を阻害することなく、センサ自体を補強することができる。
<静電容量型センサの製造方法>
本発明の静電容量型センサにおいて、誘電層および電極の少なくとも一方は、印刷法により形成されている。すなわち、誘電層の形成成分を含む誘電層用塗料、または電極の形成成分を含む電極用塗料を、誘電層、電極の形成位置に印刷し、その後、加熱により乾燥させて、塗料中の溶剤を揮発させればよい。また、加熱時に、エラストマー分の架橋反応を同時に進行させてもよい。なお、配線を印刷法により形成する場合も、上記同様に、配線の形成成分を含む配線用塗料を、配線の形成位置に印刷し、その後、加熱により乾燥させて、塗料中の溶剤を揮発させればよい。また、必要に応じて、塗料を重ねて塗布し、形成する誘電層、電極等の厚さを増加させてもよい。印刷法としては、例えば、スクリーン印刷、インクジェット印刷、フレキソ印刷、グラビア印刷、パッド印刷、リソグラフィー等が挙げられる。なかでも、高粘度の塗料も使用可能であり、塗膜厚さの調整が容易であるという理由から、スクリーン印刷法が好適である。
誘電層用塗料は、誘電層の形成成分(エラストマー、添加剤等)を溶剤に混合して調製すればよい。電極用塗料、配線用塗料についても、同様に、各々の形成成分を溶剤に混合して調製すればよい。各々の塗料は、採用する印刷法に適した粘度になるよう、適宜、固形分濃度を調整すればよい。
本発明の静電容量型センサの製造方法として、例えば、以下の三態様が挙げられる。第一の方法は、誘電層の表面および裏面に、電極および配線を各々印刷する方法である。本方法では、まず、誘電層となるエラストマー製シートを準備する。そして、シート表面に、配線用塗料を印刷し、乾燥および架橋させる。続いて、同表面に、電極用塗料を印刷し、乾燥および架橋させる。その後、必要に応じて、電極および配線を覆うように絶縁被膜を形成する。次に、シートを裏返して、シートの裏面に、上記同様に、配線用塗料、電極用塗料を各々印刷し、乾燥および架橋させる。また、必要に応じて、電極および配線を覆うように絶縁被膜を形成する。
第二の方法は、基材の表面に、誘電層、電極、配線を各々印刷する方法である。本方法では、まず、基材の表面に、配線用塗料を印刷し、乾燥および架橋させる。続いて、同表面に、電極用塗料を印刷し、乾燥および架橋させる。次に、形成された電極の表面に、誘電層用塗料を印刷し、乾燥および架橋させる。さらに、形成された誘電層の表面に、電極用塗料を重ねて印刷し、乾燥および架橋させる。その後、最表面の電極に接続するように、配線用塗料を印刷し、乾燥および架橋させる。また、必要に応じて、表出している電極および配線を覆うように絶縁被膜を形成する。
第三の方法は、予め電極および配線が印刷された弾性基材を、誘電層の表面および裏面に配置する方法である。まず、弾性基材を二枚準備する。弾性基材には、絶縁性を有する材料として、例えば、シリコーンゴム、エチレン−プロピレン共重合ゴム、天然ゴム、スチレン−ブタジエン共重合ゴム、アクリロニトリル−ブタジエン共重合ゴム、アクリルゴム、エピクロロヒドリンゴム、クロロスルホン化ポリエチレン、塩素化ポリエチレン、ウレタンゴム等が好適である。そして、各々の弾性基材の一方の表面に、配線用塗料、電極用塗料を印刷し、配線および電極を形成する。次に、形成された配線および電極が、誘電層(エラストマー製シート)の表面および裏面に各々接触するように、各々の弾性基材を、誘電層を挟んで積層させる。すなわち、第三の方法により製造される静電容量型センサでは、電極および配線は、一対の弾性基材の表面に各々印刷されており、誘電層は、一対の該弾性基材間に、印刷された該電極および該配線が該誘電層の表面および裏面に各々接触するように介装されている。
<実施形態>
以下、本発明の静電容量型センサの実施形態例を説明する。なお、本発明の静電容量型センサの実施形態は、本実施形態に限定されるものではない。当業者が行いうる種々の変形的形態、改良的形態で実施することが可能である。
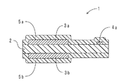
まず、本実施形態の静電容量型センサの構成について説明する。図2に、静電容量型センサの上面図を示す。図3に、図2のIII−III断面図を示す。図2、図3に示すように、静電容量型センサ1は、誘電層2と一対の電極3a、3bと配線4a、4bとカバーフィルム5a、5bとを備えている。
誘電層2は、ウレタンゴム製であって、左右方向に延びる帯状を呈している。誘電層2の厚さは、約300μmである。
電極3aは、長方形状を呈している。電極3aは、誘電層2の上面に、スクリーン印刷により三つ形成されている。同様に、電極3bは、長方形状を呈している。電極3bは、誘電層2を挟んで電極3aと対向するように、誘電層2の下面に三つ形成されている。電極3bは、誘電層2の下面に、スクリーン印刷されている。このように、誘電層2を挟んで、電極3a、3bが三対配置されている。
電極3a、3bは、アクリルゴム中に、ケッチェンブラックが充填されたエラストマー材料からなる。電極3a、3bにおけるケッチェンブラックの充填率は、電極3a、3bの体積を各々100vol%とした場合の約15vol%である。また、アクリルゴムにケッチェンブラックを混合したエラストマー組成物のパーコレーションカーブにおいて、臨界体積分率(φc)は約4vol%、飽和体積分率(φs)は約15vol%である。
配線4aは、誘電層2の上面に形成された電極3aの一つ一つに、それぞれ接続されている。配線4aにより、電極3aとコネクタ6とが結線されている。配線4aは、誘電層2の上面に、スクリーン印刷により形成されている。同様に、配線4bは、誘電層2の下面に形成された電極3bの一つ一つに、それぞれ接続されている(図2中、点線で示す)。配線4bにより、電極3bとコネクタ(図略)とが結線されている。配線4bは、誘電層2の下面に、スクリーン印刷により形成されている。配線4a、4bは、ウレタンゴム中に、銀粉末が充填されたエラストマー材料からなる。
カバーフィルム5aは、アクリルゴム製であって、左右方向に延びる帯状を呈している。カバーフィルム5aは、誘電層2、電極3a、配線4aの上面を覆っている。同様に、カバーフィルム5bは、アクリルゴム製であって、左右方向に延びる帯状を呈している。カバーフィルム5bは、誘電層2、電極3b、配線4bの下面を覆っている。カバーフィルム5a、5bは、本発明における絶縁被膜に含まれる。
次に、静電容量型センサ1の動きについて説明する。例えば、静電容量型センサ1が上方から押圧されると、誘電層2、電極3a、カバーフィルム5aは一体となって、下方に湾曲する。圧縮により、誘電層2の厚さは小さくなる。その結果、電極3a、3b間のキャパシタンスは大きくなる。このキャパシタンス変化により、圧縮による変形が検出される。
次に、本実施形態の静電容量型センサ1の作用効果について説明する。本実施形態の静電容量型センサ1によると、誘電層2、電極3a、3b、配線4a、4b、カバーフィルム5a、5bは、いずれもエラストマー材料からなる。このため、静電容量型センサ1の全体が柔軟であり、伸縮可能である。また、静電容量型センサ1が、圧縮、伸長等により変形すると、キャパシタンスが変化する。このキャパシタンス変化により、静電容量型センサ1は、様々な変形を検出することができる。また、配置場所の自由度も高い。
また、電極3a、3b間には、比誘電率の高いウレタンゴム製の誘電層2が介在されている。よって、単に電極3a、3bを空隙を介して対向配置したものと比較して、キャパシタンスが大きく、検出感度が高い。また、電極3a、3bは伸縮可能であり、誘電層2の変形に追従して変形することができる。よって、繰り返し使用しても、電極3a、3bと誘電層2とは剥離しにくい。このため、静電容量型センサ1は耐久性に優れる。また、最表面には、カバーフィルム5a、5bが配置されている。このため、電極3a、3bおよび配線4a、4bからの導電を遮断することができる。よって、静電容量型センサ1の安全性は高い。
なお、本実施形態の静電容量型センサ1には、誘電層2を狭んで対向する電極3a、3bが、三対形成されている。しかし、電極の数、大きさ、配置等は、用途に応じて、適宜決定すればよい。
以下、実施例を挙げて本発明をより具体的に説明する。上記実施形態の静電容量型センサ1(前出図2、図3参照)を用い、伸長変形に対するキャパシタンス変化を測定した。はじめに、静電容量型センサ1の製造方法を説明する。まず、電極用塗料、配線用塗料、カバーフィルム用塗料を、各々調製した。
(1)電極用塗料
アクリルゴムポリマー(日本ゼオン社製「ニポール(登録商標)AR51」)100重量部(以下「部」と略称する)と、加硫助剤のステアリン酸(花王社製「ルナック(登録商標)S30」)1部と、加硫促進剤のジメチルジチオカルバミン酸亜鉛(大内新興化学社製「ノクセラー(登録商標)PZ」)2.5部、およびジメチルジチオカルバミン酸第二鉄(大内新興化学社製「ノクセラーTTFE」)0.5部と、をロール練り機にて混合し、エラストマー組成物を調製した。調製したエラストマー組成物を、メチルエチルケトン(MEK)1500部に溶解させた。この溶液に、導電性フィラーとしてケッチェンブラック(ライオン社製「EC600JD」、平均粒子径約40nm)22.86部を添加して、固形分濃度約7.8重量%のMEK溶液を得た。得られたMEK溶液をダイノミルにて混合し、ケッチェンブラックを分散させた。さらに、MEK溶液に、印刷用溶剤のジエチレングリコールモノブチルエーテルアセテート686.7部を添加した。この溶液を、大気と接しやすい広口容器に入れ、時々攪拌しながら室温にて一日静置した。こうすることで、低沸点のMEKを蒸発させて、電極用塗料を得た。
(2)配線用塗料
ウレタンポリマーを低沸点溶剤に溶解させた溶液(日本ポリウレタン工業社製「ニッポラン(登録商標)5230」、固形分濃度30重量%)333部に、二種類の銀粉末(DOWAエレクトロニクス社「FA−D−4」、「AG2−1C」)を各々400部ずつ添加した。さらに、印刷用溶剤のブチルカルビトール150部を添加して、攪拌した。この溶液を、大気と接しやすい広口容器に入れ、時々攪拌しながら室温にて一日静置した。こうすることで、低沸点溶剤を蒸発させて、配線用塗料を得た。
(3)カバーフィルム用塗料
アクリルゴムポリマー(同上)100部と、加硫助剤のステアリン酸(同上)1部と、加硫促進剤のジメチルジチオカルバミン酸亜鉛(同上)2.5部、およびジメチルジチオカルバミン酸第二鉄(同上)0.5部と、をロール練り機にて混合し、エラストマー組成物を調製した。調製したエラストマー組成物を、印刷用溶剤のエチレングリコールモノブチルエーテルアセテート300部に溶解させて、カバーフィルム用塗料を得た。
次に、誘電層として、厚さ300μmのエーテル系ウレタンゴムシート(タイプAデュロメータ硬度=90度:JIS K6253(2006))を準備した。このウレタンゴムシートの表面および裏面に、上記各塗料を順に印刷した。印刷には、テーブルスライド式半自動印刷機(東海精機社製「SSA−PC660IP」)を使用した。
具体的には、まず、印刷機に配線用の版と、ウレタンゴムシートと、をセットした。版上に配線用塗料を載せた後、版上でスキージを走査させ、ウレタンゴムシートの表面に配線を印刷した。その後、ウレタンゴムシートを約140℃の乾燥炉内に約20分間静置して、乾燥させると共に、架橋反応を進行させた。続いて、印刷機に電極用の版と、配線が形成されたウレタンゴムシートと、をセットした。版上に電極用塗料を載せた後、版上でスキージを走査させ、ウレタンゴムシートの表面に電極を印刷した。その後、ウレタンゴムシートを約150℃の乾燥炉内に約30分間静置して、乾燥させると共に、架橋反応を進行させた。さらに、印刷機にカバーフィルム用の版と、配線および電極が形成されたウレタンゴムシートと、をセットした。版上にカバーフィルム用塗料を載せた後、版上でスキージを走査させ、ウレタンゴムシートの表面にカバーフィルムを印刷した。その後、ウレタンゴムシートを約150℃の乾燥炉内に約30分間静置して、乾燥させると共に、架橋反応を進行させた。
このようにして、ウレタンゴムシートの表面に、配線および電極を形成した。また、配線および電極を覆うように、同表面をカバーフィルムで被覆した。同様にして、ウレタンゴムシートの裏面にも、配線および電極を形成した。また、配線および電極を覆うように、同表面をカバーフィルムで被覆した。
製造された静電容量型センサ1について、伸長変形に対するキャパシタンス変化を測定した。測定は、静電容量型センサ1に形成された三対の電極のうち、一対の電極部分(センサユニット)について行った。すなわち、センサユニットの長手方向両端をジグで把持し、センサユニットを伸長させた。そして、伸長時のキャパシタンス変化を測定した。図4に、変形比に対するキャパシタンス変化を示す。ここで、変形比とは、電極の長手方向(伸長方向)における初期長さaに対する伸長後の長さaの比(a/a)である。
図4に示すように、変形比に対して、キャパシタンスは線形に増加した。つまり、伸長量が大きくなるに従って、キャパシタンスは増加した。また、センサユニットを、変形比1.5まで伸長しても(50%程度の伸長を行っても)、配線や電極の断線は生じなかった。このように、本発明の静電容量型センサは、伸縮柔軟性を有し、変形を正確に検出可能であることが確認された。
本発明の静電容量型センサは、人工皮膚等のソフトな面圧センサ、人の動きを検出するモーションキャプチャ、キーボード等の情報入力デバイスをはじめ、着座センサ、車両の衝突検知センサ、ベッドやカーペット用の面圧分布センサ等、様々な用途に適用することができる。
エラストマー組成物におけるパーコレーションカーブの模式図である。 本発明の一実施形態の静電容量型センサの上面図である。 図2のIII−III断面図である。 同静電容量型センサのセンサユニットにおける、伸長変形に対するキャパシタンス変化を示すグラフである。
符号の説明
1:静電容量型センサ 2:誘電層 3a、3b:電極 4a、4b:配線
5a、5b:カバーフィルム(絶縁被膜) 6:コネクタ
101:エラストマー 102:導電性フィラー P1:導電パス

Claims (7)

  1. エラストマー製の誘電層と、該誘電層を介して配置されている一対の電極と、を備えてなり、
    一対の該電極は、エラストマーと、該エラストマー中に充填されている導電性フィラーと、を有し、該誘電層の変形に応じて伸縮可能であると共に、伸縮しても導電性の変化が小さく、
    該誘電層および該電極の少なくとも一方は、該誘電層の形成成分を含む誘電層用塗料または該電極の形成成分を含む電極用塗料から印刷法により形成されており、
    一対の該電極間の静電容量変化に基づいて変形を検出することを特徴とする静電容量型センサ。
  2. 一対の前記電極と各々接続されている伸縮可能な配線を備え、
    該配線は、エラストマーと、該エラストマー中に充填されている導電性フィラーと、を有し、該電極よりも電気抵抗が小さく、該配線の形成成分を含む配線用塗料から印刷法により形成されている請求項1に記載の静電容量型センサ。
  3. 一対の前記電極および前記配線は、前記誘電層の表面および裏面に各々印刷されている請求項2に記載の静電容量型センサ。
  4. さらに、少なくとも一方の前記電極および前記配線を覆うように配置され、該電極および該配線を外部から絶縁する絶縁被膜を備える請求項2または請求項3に記載の静電容量型センサ。
  5. 前記電極および前記配線は、一対の弾性基材の表面に各々印刷されており、
    前記誘電層は、一対の該弾性基材間に、印刷された該電極および該配線が該誘電層の表面および裏面に各々接触するように介装されている請求項2に記載の静電容量型センサ。
  6. 一対の前記電極は、前記エラストマーと前記導電性フィラーとを含むエラストマー組成物からなり、
    該エラストマー組成物の、該導電性フィラーの配合量と電気抵抗との関係を表すパーコレーションカーブにおいて、電気抵抗が低下して絶縁体−導電体転移が起こる第一変極点の該導電性フィラーの配合量(臨界体積分率:φc)が25vol%以下である請求項1ないし請求項5のいずれかに記載の静電容量型センサ。
  7. 一対の前記電極を構成する前記導電性フィラーは、炭素材料からなる請求項1ないし請求項6のいずれかに記載の静電容量型センサ。
JP2008206410A 2008-08-08 2008-08-08 静電容量型センサ Active JP4650538B2 (ja)

Priority Applications (4)

Application Number Priority Date Filing Date Title
JP2008206410A JP4650538B2 (ja) 2008-08-08 2008-08-08 静電容量型センサ
US12/535,150 US7958789B2 (en) 2008-08-08 2009-08-04 Capacitive sensor
EP09010183.3A EP2154503B1 (en) 2008-08-08 2009-08-06 Capacitive deformation sensor
EP12182416.3A EP2549252B8 (en) 2008-08-08 2009-08-06 Capacitive sensor

Applications Claiming Priority (1)

Application Number Priority Date Filing Date Title
JP2008206410A JP4650538B2 (ja) 2008-08-08 2008-08-08 静電容量型センサ

Publications (2)

Publication Number Publication Date
JP2010043880A true JP2010043880A (ja) 2010-02-25
JP4650538B2 JP4650538B2 (ja) 2011-03-16

Family

ID=42015381

Family Applications (1)

Application Number Title Priority Date Filing Date
JP2008206410A Active JP4650538B2 (ja) 2008-08-08 2008-08-08 静電容量型センサ

Country Status (1)

Country Link
JP (1) JP4650538B2 (ja)

Cited By (19)

* Cited by examiner, † Cited by third party
Publication number Priority date Publication date Assignee Title
WO2011125725A1 (ja) * 2010-03-31 2011-10-13 東海ゴム工業株式会社 静電容量型センサ装置および静電容量型センサの静電容量計測装置
JP2011209081A (ja) * 2010-03-29 2011-10-20 Fujifilm Corp 圧力計測用弾性材料、及び、圧力計測装置
JP2012033597A (ja) * 2010-07-29 2012-02-16 Tokai Rubber Ind Ltd 配線体接続構造体
DE102011100716A1 (de) 2010-07-29 2012-03-22 Tokai Rubber Industries, Ltd. Verkabelungselement-Steckeraufbau
JP2012159109A (ja) * 2011-01-31 2012-08-23 Nagoya Univ 外力検出が可能な防振装置
JP2012159110A (ja) * 2011-01-31 2012-08-23 Nagoya Univ 外力検出が可能な防振装置
WO2013014947A1 (ja) 2011-07-28 2013-01-31 東海ゴム工業株式会社 マットレス
WO2013105402A1 (ja) * 2012-01-13 2013-07-18 東海ゴム工業株式会社 配線体接続構造体
WO2013145769A1 (ja) 2012-03-30 2013-10-03 国立大学法人九州大学 歩行運動補助具
WO2014013662A1 (ja) 2012-07-20 2014-01-23 国立大学法人九州大学 歩行用遊脚振子運動補助具およびアシスト力の制御方法
JP2014102069A (ja) * 2012-11-20 2014-06-05 Lg Electronics Inc 冷蔵庫
KR20140086636A (ko) * 2012-12-28 2014-07-08 엘지전자 주식회사 냉장고
JP2015529989A (ja) * 2012-06-19 2015-10-08 ベーア−ヘラー サーモコントロール ゲーエムベーハー 対象物の移動を検出する静電容量センサ
US20160018275A1 (en) * 2013-03-29 2016-01-21 Bando Chemical Industries, Ltd. Capacitive sensor sheet and capacitive sensor
JP2016090487A (ja) * 2014-11-07 2016-05-23 バンドー化学株式会社 静電容量型センサ、及び、回転角度の測定方法
CN111956229A (zh) * 2019-05-20 2020-11-20 宏碁股份有限公司 智能照护床垫及侦测使用者生理状态的方法
CN112611311A (zh) * 2020-12-09 2021-04-06 中国航空工业集团公司北京航空精密机械研究所 一种作动轴位移检测微结构及其精密制造工艺
CN113892953A (zh) * 2021-10-09 2022-01-07 中国人民解放军海军军医大学第一附属医院 一种使用柔性传感器的脊柱测压装置
JP2023548702A (ja) * 2020-11-03 2023-11-20 智能容電(北京)科技有限公司 フレキシブル可変コンデンサ及びその製造方法

Families Citing this family (1)

* Cited by examiner, † Cited by third party
Publication number Priority date Publication date Assignee Title
JP6082856B1 (ja) * 2015-09-30 2017-02-15 住友理工株式会社 静電容量型センサ

Citations (7)

* Cited by examiner, † Cited by third party
Publication number Priority date Publication date Assignee Title
JPS61210686A (ja) * 1985-03-15 1986-09-18 Misuzu Erii:Kk 圧電素子
JPS62226030A (ja) * 1986-03-28 1987-10-05 Agency Of Ind Science & Technol 静電容量型圧力分布測定装置
JPH0353258U (ja) * 1989-09-27 1991-05-23
JPH04286928A (ja) * 1991-03-15 1992-10-12 Polytec Design:Kk 圧力分布測定装置
JPH11132879A (ja) * 1997-10-27 1999-05-21 Kanto Bussan Kk パネル式圧力センサ
WO2003036247A1 (fr) * 2001-10-22 2003-05-01 Microjenics, Inc. Capteur sensible a la pression et moniteur utilisant un tel capteur
JP2009020006A (ja) * 2007-07-12 2009-01-29 Tokai Rubber Ind Ltd 静電容量型センサ

Patent Citations (7)

* Cited by examiner, † Cited by third party
Publication number Priority date Publication date Assignee Title
JPS61210686A (ja) * 1985-03-15 1986-09-18 Misuzu Erii:Kk 圧電素子
JPS62226030A (ja) * 1986-03-28 1987-10-05 Agency Of Ind Science & Technol 静電容量型圧力分布測定装置
JPH0353258U (ja) * 1989-09-27 1991-05-23
JPH04286928A (ja) * 1991-03-15 1992-10-12 Polytec Design:Kk 圧力分布測定装置
JPH11132879A (ja) * 1997-10-27 1999-05-21 Kanto Bussan Kk パネル式圧力センサ
WO2003036247A1 (fr) * 2001-10-22 2003-05-01 Microjenics, Inc. Capteur sensible a la pression et moniteur utilisant un tel capteur
JP2009020006A (ja) * 2007-07-12 2009-01-29 Tokai Rubber Ind Ltd 静電容量型センサ

Cited By (27)

* Cited by examiner, † Cited by third party
Publication number Priority date Publication date Assignee Title
JP2011209081A (ja) * 2010-03-29 2011-10-20 Fujifilm Corp 圧力計測用弾性材料、及び、圧力計測装置
WO2011125725A1 (ja) * 2010-03-31 2011-10-13 東海ゴム工業株式会社 静電容量型センサ装置および静電容量型センサの静電容量計測装置
JP2012033597A (ja) * 2010-07-29 2012-02-16 Tokai Rubber Ind Ltd 配線体接続構造体
DE102011100716A1 (de) 2010-07-29 2012-03-22 Tokai Rubber Industries, Ltd. Verkabelungselement-Steckeraufbau
DE102011100716B4 (de) 2010-07-29 2022-10-06 Sumitomo Riko Company Limited Verkabelungselement-Verbindungsaufbau
US9040839B2 (en) 2010-07-29 2015-05-26 Sumitomo Riko Company Limited Wiring body connection structure
JP2012159109A (ja) * 2011-01-31 2012-08-23 Nagoya Univ 外力検出が可能な防振装置
JP2012159110A (ja) * 2011-01-31 2012-08-23 Nagoya Univ 外力検出が可能な防振装置
US9021638B2 (en) * 2011-07-28 2015-05-05 Sumitomo Riko Company Limited Mattress
WO2013014947A1 (ja) 2011-07-28 2013-01-31 東海ゴム工業株式会社 マットレス
WO2013105402A1 (ja) * 2012-01-13 2013-07-18 東海ゴム工業株式会社 配線体接続構造体
WO2013145769A1 (ja) 2012-03-30 2013-10-03 国立大学法人九州大学 歩行運動補助具
JP2015529989A (ja) * 2012-06-19 2015-10-08 ベーア−ヘラー サーモコントロール ゲーエムベーハー 対象物の移動を検出する静電容量センサ
WO2014013662A1 (ja) 2012-07-20 2014-01-23 国立大学法人九州大学 歩行用遊脚振子運動補助具およびアシスト力の制御方法
JP2014102069A (ja) * 2012-11-20 2014-06-05 Lg Electronics Inc 冷蔵庫
KR20140086636A (ko) * 2012-12-28 2014-07-08 엘지전자 주식회사 냉장고
KR102002117B1 (ko) * 2012-12-28 2019-07-19 엘지전자 주식회사 냉장고
JPWO2014157627A1 (ja) * 2013-03-29 2017-02-16 バンドー化学株式会社 静電容量型センサシート及び静電容量型センサ
US10365171B2 (en) 2013-03-29 2019-07-30 Bando Chemical Industries, Ltd. Capacitive sensor sheet and capacitive sensor for measuring elastic deformation
US20160018275A1 (en) * 2013-03-29 2016-01-21 Bando Chemical Industries, Ltd. Capacitive sensor sheet and capacitive sensor
JP2016090487A (ja) * 2014-11-07 2016-05-23 バンドー化学株式会社 静電容量型センサ、及び、回転角度の測定方法
CN111956229A (zh) * 2019-05-20 2020-11-20 宏碁股份有限公司 智能照护床垫及侦测使用者生理状态的方法
CN111956229B (zh) * 2019-05-20 2023-05-23 宏碁股份有限公司 智能照护床垫及侦测使用者生理状态的方法
JP2023548702A (ja) * 2020-11-03 2023-11-20 智能容電(北京)科技有限公司 フレキシブル可変コンデンサ及びその製造方法
US12542244B2 (en) 2020-11-03 2026-02-03 Zhi Neng Rong Dian (Beijing) Technology Co., Ltd Flexible variable capacitor and method for preparation thereof
CN112611311A (zh) * 2020-12-09 2021-04-06 中国航空工业集团公司北京航空精密机械研究所 一种作动轴位移检测微结构及其精密制造工艺
CN113892953A (zh) * 2021-10-09 2022-01-07 中国人民解放军海军军医大学第一附属医院 一种使用柔性传感器的脊柱测压装置

Also Published As

Publication number Publication date
JP4650538B2 (ja) 2011-03-16

Similar Documents

Publication Publication Date Title
JP4650538B2 (ja) 静電容量型センサ
US7958789B2 (en) Capacitive sensor
JP5496446B2 (ja) 静電容量型センサ
JP4565359B2 (ja) 静電容量型面圧分布センサ
JP5363592B2 (ja) 導電膜、およびそれを用いたトランスデューサ、フレキシブル配線板
JP5622405B2 (ja) 静電容量型感圧センサおよびその製造方法
JP5486268B2 (ja) 導電膜、およびそれを備えたトランスデューサ、フレキシブル配線板
JP5448423B2 (ja) 触覚センサおよびその製造方法
CN102575069B (zh) 导电性交联体及其制造方法、以及使用其的转换器、挠性布线板、电磁波屏蔽体
US9504151B2 (en) Conductive composition and conductive film
KR101615053B1 (ko) 도전성 조성물 및 도전막
US10365171B2 (en) Capacitive sensor sheet and capacitive sensor for measuring elastic deformation
US10119045B2 (en) Electroconductive silver paste
CN103120035A (zh) 柔性导电材料及其制造方法,以及使用柔性导电材料的电极、布线、电磁波屏蔽体和转换器
TW201707523A (zh) 靜電容量型感測器、感測器薄片及靜電容量型感測 器的製造方法
KR20130001305A (ko) 유연 도전 재료, 및 그것을 사용한 트랜스듀서, 플렉시블 배선판, 전자파 실드
JP2015059900A (ja) 感圧センサ用導電部材及び感圧センサ
JP5662637B2 (ja) 荷重センサ
JP5662636B2 (ja) 荷重センサ
JP2018054590A (ja) 伸縮性コンデンサおよび変形センサ
JP5937449B2 (ja) 感圧センサ用導電部材、これを用いた感圧センサ

Legal Events

Date Code Title Description
A977 Report on retrieval

Free format text: JAPANESE INTERMEDIATE CODE: A971007

Effective date: 20100408

A131 Notification of reasons for refusal

Free format text: JAPANESE INTERMEDIATE CODE: A131

Effective date: 20100415

A521 Request for written amendment filed

Free format text: JAPANESE INTERMEDIATE CODE: A523

Effective date: 20100525

A02 Decision of refusal

Free format text: JAPANESE INTERMEDIATE CODE: A02

Effective date: 20100708

A521 Request for written amendment filed

Free format text: JAPANESE INTERMEDIATE CODE: A523

Effective date: 20100927

A911 Transfer to examiner for re-examination before appeal (zenchi)

Free format text: JAPANESE INTERMEDIATE CODE: A911

Effective date: 20101018

TRDD Decision of grant or rejection written
A01 Written decision to grant a patent or to grant a registration (utility model)

Free format text: JAPANESE INTERMEDIATE CODE: A01

Effective date: 20101116

A01 Written decision to grant a patent or to grant a registration (utility model)

Free format text: JAPANESE INTERMEDIATE CODE: A01

A61 First payment of annual fees (during grant procedure)

Free format text: JAPANESE INTERMEDIATE CODE: A61

Effective date: 20101129

R150 Certificate of patent or registration of utility model

Free format text: JAPANESE INTERMEDIATE CODE: R150

Ref document number: 4650538

Country of ref document: JP

Free format text: JAPANESE INTERMEDIATE CODE: R150

FPAY Renewal fee payment (event date is renewal date of database)

Free format text: PAYMENT UNTIL: 20131224

Year of fee payment: 3

S533 Written request for registration of change of name

Free format text: JAPANESE INTERMEDIATE CODE: R313533

R350 Written notification of registration of transfer

Free format text: JAPANESE INTERMEDIATE CODE: R350

R250 Receipt of annual fees

Free format text: JAPANESE INTERMEDIATE CODE: R250