JP2010043718A - 減速機構付モータ - Google Patents

減速機構付モータ Download PDF

Info

Publication number
JP2010043718A
JP2010043718A JP2008210024A JP2008210024A JP2010043718A JP 2010043718 A JP2010043718 A JP 2010043718A JP 2008210024 A JP2008210024 A JP 2008210024A JP 2008210024 A JP2008210024 A JP 2008210024A JP 2010043718 A JP2010043718 A JP 2010043718A
Authority
JP
Japan
Prior art keywords
worm wheel
worm
housing portion
wheel housing
bottom cover
Prior art date
Legal status (The legal status is an assumption and is not a legal conclusion. Google has not performed a legal analysis and makes no representation as to the accuracy of the status listed.)
Granted
Application number
JP2008210024A
Other languages
English (en)
Other versions
JP4950962B2 (ja
Inventor
Hiroyuki Uchimura
浩之 内村
Hiroshi Sakai
浩志 酒井
Akihiro Kaihatsu
哲広 海発
Current Assignee (The listed assignees may be inaccurate. Google has not performed a legal analysis and makes no representation or warranty as to the accuracy of the list.)
Mitsuba Corp
Original Assignee
Mitsuba Corp
Priority date (The priority date is an assumption and is not a legal conclusion. Google has not performed a legal analysis and makes no representation as to the accuracy of the date listed.)
Filing date
Publication date
Application filed by Mitsuba Corp filed Critical Mitsuba Corp
Priority to JP2008210024A priority Critical patent/JP4950962B2/ja
Publication of JP2010043718A publication Critical patent/JP2010043718A/ja
Application granted granted Critical
Publication of JP4950962B2 publication Critical patent/JP4950962B2/ja
Active legal-status Critical Current
Anticipated expiration legal-status Critical

Links

Images

Landscapes

  • Power-Operated Mechanisms For Wings (AREA)
  • Gear Transmission (AREA)
  • Connection Of Motors, Electrical Generators, Mechanical Devices, And The Like (AREA)

Abstract

【課題】ボトムカバーとウォームホイール収容部との間のガタを抑制することにある。
【解決手段】ウォームホイール収容部19は、底壁部と円筒壁部19bとを有する有底円筒形状となっており、その開口部にボトムカバー35が組み付けられて密閉される。ボトムカバー35にはシール部材36が装着されており、このシール部材36の外周部には軸方向に突出する軸方向突起部57が設けられている。一方、円筒壁部19bの内壁表面には、返し構造としての段差部59が設けられており、当該段差部59には斜面60が形成されている。ウォームホイール収容部19とボトムカバー35とが組み付けられると、軸方向突起部57は段差部59の斜面60に当接されて当該斜面60により径方向外側に案内される。これにより、ウォームホイール収容部19とボトムカバー35との間の軸方向のガタが抑制され、ガタによる異音の発生が防止される。
【選択図】図7

Description

本発明は、モータ本体の回転を減速機構により減速させて被駆動部材に伝達する減速機構付モータに関する。
車両に設けられるパワーウィンド装置やサンルーフ装置等の車両用自動開閉装置の駆動源としては、モータ本体と減速機構とを1つのユニットとした減速機構付モータが用いられる。減速機構付モータは、モータ本体の回転軸に形成されたウォームと当該ウォームに噛み合うウォームホイールとからなる減速機構によりモータ本体の回転を減速させて、その出力を被駆動部材であるウィンドガラス等の開閉体に伝達させており、減速機構付モータは小型でありながら大きな出力を得られるようになっている。
減速機構付モータは、回転軸のウォームが収容されるウォーム収容部と、ウォームホイールが収容されるウォームホイール収容部とが一体に形成されたギヤケースを有しており、ウォームとウォームホイールとがギヤケースの内部で噛み合うようになっている。ウォームホイール収容部は有底円筒形状となっており、ウォームホイールとともに回転する出力ギヤがウォームホイール収容部の開口部から突出した状態で、当該開口部にボトムカバーが組み付けられてウォームホイール収容部が密閉される。
ウォームホイール収容部とボトムカバーとを組み付ける際には、ボトムカバーをウォームホイール収容部に圧入・接着・溶着等により固定する場合もあるが、ウォームホイール収容部とボトムカバーとの再組み付けが容易となるように、爪係合する複数の係止構造によりこれらを組み付けるのが一般的である。例えば、ボトムカバー(フランジ部)の外周部からウォームホイール収容部(ギヤケース)の外壁表面に沿って延出された係止爪(係止部)に溝(係止穴)を形成するとともに、当該溝に係合する凸片(爪部)をウォームホイール収容部の外壁表面に設け、これら溝と凸片との係合によりウォームホイール収容部とボトムカバーとを組み付けるようにした減速機構付モータ(ギヤヘッド付ステッピングモータ)が特許文献1に記載されている。
実開昭62−165771号公報
従来の係止構造においては、ウォームホイール収容部の外壁表面に沿うようにボトムカバーの外周部から延出された係止爪に形成される溝と、ウォームホイール収容部の外壁表面に設けられる凸片とにより、ウォームホイール収容部とボトムカバーとを組み付けるようしており、溝のボトムカバー側の端面に形成される係合面と、凸片のウォームホイール収容部側の端面に形成される係合面とが係合されるようになっている。特許文献1に示すように、ウォームホイール収容部の開口部側の端面とボトムカバーとの間には、軸方向に所定の隙間が設けられており、この隙間により、ボトムカバーをウォームホイール収容部に向けて軸方向に相対移動させて、溝の係合面と凸片の係合面とを離反させることが可能となり、ボトムカバーとウォームホイール収容部との解体や組み付けが容易に行えるようになっている。
しかしながら、その場合には、ウォームホイール収容部とボトムカバーとが組み付けられた状態で、これらが当該隙間の分だけ軸方向に相対移動可能となり、ギヤケースに振動が加えられてこれらが相対振動などすると、ウォームホイール収容部とボトムカバーとの間にガタによる異音が発生するおそれがある。
本発明の目的は、ボトムカバーとウォームホイール収容部との間のガタを抑制することにある。
本発明の減速機構付モータは、アーマチュア軸を回転自在に支持するヨークと、前記アーマチュア軸と一体回転し、ウォームが設けられたウォーム軸と、前記ウォーム軸を収容するウォーム収容部と、前記ウォーム軸のウォームと噛み合うウォームホイールを収容する有底形状のウォームホイール収容部とを備え、前記ヨークが取り付けられるギヤケースと、前記ウォームホイール収容部の開口部を覆うボトムカバーと、前記ウォームホイール収容部と前記ボトムカバーとを爪係合する複数の係止構造とを有する減速機構付モータであって、前記ウォームホイール収容部側に向けて軸方向に突出する軸方向突起部を外周部に備え、前記ボトムカバーに設けられて前記ボトムカバーと前記ウォームホイール収容部との間を密閉するシール部材と、前記ウォームホイール収容部の内壁表面に設けられ、前記軸方向突起部が当接されて当該軸方向突起部を径方向外側に案内する斜面を備えた返し構造とを有することを特徴とする。
本発明の減速機構付モータは、ウォームが設けられた回転軸を回転自在に支持するヨークと、前記ウォームを収容するウォーム収容部と、前記ウォームと噛み合うウォームホイールを収容する有底形状のウォームホイール収容部とを備え、前記ヨークが取り付けられるギヤケースと、前記ウォームホイール収容部の開口部を覆うボトムカバーと、前記ウォームホイール収容部と前記ボトムカバーとを爪係合する複数の係止構造とを有する減速機構付モータであって、前記ウォームホイール収容部側に向けて軸方向に突出する軸方向突起部を外周部に備え、前記ボトムカバーに設けられて前記ボトムカバーと前記ウォームホイール収容部との間を密閉するシール部材と、前記ウォームホイール収容部の内壁表面に設けられ、前記軸方向突起部が当接されて当該軸方向突起部を径方向外側に案内する斜面を備えた返し構造とを有することを特徴とする。
本発明の減速機構付モータは、前記軸方向突起部は前記複数の係止構造が設けられる箇所に対応して設けられていることを特徴とする。
本発明の減速機構付モータは、前記シール部材の外周部には、径方向外側に突出して前記ウォームホイール収容部の内壁表面に設けられたシール面に当接する径方向突起部が設けられることを特徴とする。
本発明によれば、シール部材に軸方向に突出する軸方向突起部を設けるとともに、軸方向突起部が当接されて当該軸方向突起部を径方向外側に案内する斜面を備える段差部をウォームホイール収容部の内壁表面に設けるようにしたので、ボトムカバーとウォームホイール収容部との間の軸方向のガタが抑制され、ガタによる異音の発生を防止することができる。また、斜面により軸方向突起部が径方向外側に案内されるため、軸方向突起部が段差部よりも径方向内側に入り込むことが防止されるとともに、シール部材が積極的にウォームホイール収容部の内壁表面に押し付けられ、確実にガタが抑制されることとなる。
以下、本発明の実施の形態を図面に基づいて詳細に説明する。
図1は本発明の一実施の形態であるパワーウィンドモータの平面図であり、図2は図1におけるA−A線に沿う断面図であり、図3はギヤ部の分解斜視図である。
このパワーウィンドモータ10は、車両に設けられるパワーウィンド装置に備えられ、ウィンドガラスを昇降させる図示しないウィンドレギュレータを駆動するものである。パワーウィンドモータ10は、モータ本体11と当該モータ本体11の回転を減速させてウィンドレギュレータに伝達する減速機構とを1つのユニットとした減速機構付モータであり、図1に示すように、駆動源であるモータ本体11と減速機構を備えるギヤ部12とを有している。
モータ本体11にはブラシ付直流モータが用いられ、モータ本体11に設けられる回転軸13(図1中に破線で示す)が正方向または逆方向に回転可能となっている。回転軸13の一端側(図1中左側)は、一端が開口した開口部を有する有底筒形状のモータヨーク14の底壁に設けられた図示しない軸受を介して回転自在に支持されており、モータ本体11は、モータヨーク14の開口部側に設けられるフランジ部14aにおいて、複数のボルト15によりギヤ部12のギヤケース16に取り付けられている。
樹脂製のギヤケース16は、回転軸13の軸方向に延びるとともにモータ本体11側に開口するウォーム収容部17を備えており、モータ本体11はウォーム収容部17の開口部17a(図3参照)の端面に固定され、回転軸13の他端側がウォーム収容部17に収容されている。ウォーム収容部17の開口部17aには、回転軸13に設けられた整流子61を介してモータ本体11に給電するためのコネクタユニット62およびブラシホルダ63が装着されており、これら整流子61、コネクタユニット62およびブラシホルダ63を介してモータ本体11に駆動電流を供給することにより、回転軸13が正方向または逆方向に回転駆動されるようになっている。回転軸13は、モータヨーク14に回転自在に支持されるアーマチュア軸13aと、ウォーム収容部17に回転自在に支持されるウォーム軸13bとにより構成された分割シャフト構造となっており、図2に示すように、アーマチュア軸13aと一体回転するウォーム軸13bにはウォーム18が一体に設けられている。
ギヤケース16はウォーム収容部17と一体に形成されたウォームホイール収容部19を備えており、ウォームホイール収容部19には、ウォーム軸13bに形成されたウォーム18に噛み合う歯部20aが外周部に形成されたウォームホイール20が収容されている。ウォームホイール収容部19は、円板形状に形成された底壁部19aと、その底壁部19aの外周部から出力軸22の軸方向に延びる円筒壁部19bとを有する有底円筒形状となっており、ギヤケース16においてウォーム収容部17の開口部17aと直交する方向に開口している。図2および図3に示すように、ウォームホイール収容部19の軸心には底壁部19aから開口部側に向けて延出する円筒部21が設けられており、この円筒部21に形成された貫通孔21aには、ウォームホイール収容部19における円筒壁部19bの底壁部19aからの高さ寸法よりも長寸に形成された出力軸22が、その先端部をウォームホイール収容部19の開口部から突出させた状態で固定されている。
ウォームホイール収容部19に収容されるウォームホイール20の径方向中心部には、ウォームホイール収容部19の円筒部21の外周面に摺動接触するボス部20bが設けられており、このボス部20bにおいて、ウォームホイール20はウォームホイール収容部19の内部で円筒部21を軸にして回転自在に支持されている。また、ウォームホイール収容部19の底壁部19aには、ウォームホイール20側に突出する環状凸部23が設けられており、当該環状凸部23は、ウォームホイール20の底壁部19a側の端面に摺動接触し、ウォームホイール20を摺動自在に支持している。
ウォームホイール収容部19は、ウォームホイール収容部19の円筒壁部19bにおける接線方向と回転軸13の軸方向とがほぼ一致するように、ウォーム収容部17に隣接して形成されており、ウォームホイール収容部19の円筒壁部19bのウォーム収容部17側には、ウォーム収容部17とウォームホイール収容部19とを連通する連通孔24が形成されている。ウォーム収容部17に収容されるウォーム18とウォームホイール収容部19に収容されるウォームホイール20の歯部20aとはこの連通孔24を介して噛み合うようになっており、ギヤケース16の内部で噛み合うこれらウォーム18とウォームホイール20とにより減速機構が構成されている。この減速機構は、モータ本体11の回転駆動を所定の速度にまで減速させ、高トルク化された回転を出力するようになっている。
本実施の形態のパワーウィンドモータ10においては、減速機構を構成するウォームホイールとしてダンパ付ウォームホイールを採用しており、上記のウォームホイール20にダンパ部材26と従動プレート27とが組み付けられて、ウォームホイール20の回転がダンパ部材26および従動プレート27を介してウィンドレギュレータに伝達されるようになっている。
ウォームホイール20の歯部20aが形成された外周部とウォームホイール20の径方向中心に形成されたボス部20bとの間には、ウォームホイール収容部19の開口部側に向けて開口する環状の凹部28が形成されている。図3に示すように、ウォームホイール20は当該凹部28内に突出する3つの突起部29を備え、ウォームホイール20の周方向に等間隔に設けられた各突起部29により凹部28が等間隔に区画されている。
この凹部28にはダンパ部材26が装着されている。ダンパ部材26は、周方向に等間隔に形成された6つの弾性部26aと、ダンパ部材26の内周側においてそれぞれの弾性部26aを環状に一体に連結するための連結部26bとを有しており、弾性部26aがウォームホイール20における各突起部29の周方向両側に隣接して、つまり各突起部29の相互間に弾性部26aが2つ収容されるように配置されている。各弾性部26aの周方向両側の端面は、突起部29の周方向両側の端面に対応した円弧形状となっており、ダンパ部材26が凹部28に装着されると、各弾性部26aの相互間にはウォームホイール20の突起部29と略同形状の収容部が形成され、6つの収容部のうち周方向に等間隔に位置する3つの収容部にウォームホイール20の各突起部29が嵌合される。
一方、従動プレート27のウォームホイール20側の端面には、ウォームホイール20の突起部29と略同一形状に形成された3つの突起部30が周方向に等間隔に設けられており、6つの収容部のうちウォームホイール20の各突起部29が嵌合されていない他の3つの収容部に従動プレート27の当該各突起部30が嵌合される。つまり、ウォームホイール20の凹部28には、ウォームホイール20の突起部29と従動プレート27の突起部30とが等間隔に交互に配置され、これらの間にダンパ部材26の弾性部26aが嵌合された状態となる。これにより、ウォームホイール20の回転はウォームホイール20の突起部29からダンパ部材26の弾性部26aを介して従動プレート27の突起部30に伝達されることとなる。また、従動プレート27はウォームホイール20に対してダンパ部材26の弾性部26aが弾性変形する範囲内において相対回転可能となっており、これらが相対回転してダンパ部材26が弾性変形されることにより、ウィンドレギュレータから伝達される衝撃を緩和できるようになっている。
従動プレート27は、ウォームホイール20における凹部28の開口部側を覆う大径部27aと、当該大径部27aの径方向内側からウォームホイール収容部19の開口部側に向けて突出する小径部27bとを有しており、大径部27aのウォームホイール20側の端面には前述した各突起部30が小径部27bの突出方向とは反対方向に突出して設けられている。小径部27bには、図2に示すように、軸方向一端側(図中上側)の端面にギヤ孔31aが形成されており、当該ギヤ孔31aに出力ギヤ31が嵌め込まれている。
従動プレート27および出力ギヤ31の軸心には出力軸22が貫通しており、従動プレート27および出力ギヤ31は出力軸22に回転自在に支持されている。また、出力ギヤ31から突出した出力軸22の当該部分の外周面には溝22aが形成されており、従動プレート27および出力ギヤ31は、当該溝22aに係止される係止部材32により、弾性材料からなるOリング33を介してウォームホイール20側に付勢され、ウォームホイール20と係止部材32との間で支持されている。モータ本体11の回転軸13(アーマチュア軸13a、ウォーム軸13b)からウォームホイール20を介して従動プレート27に伝達された回転は、当該従動プレート27とともに回転する出力ギヤ31により、ウィンドレギュレータの駆動ギヤに伝達され、ウィンドガラスの昇降が行われる。
従動プレート27の小径部27bおよび出力ギヤ31はウォームホイール収容部19の開口部から軸方向一端側に突出しており、これらが突出した状態のもとで当該開口部にボトムカバー35が組み付けられる。ボトムカバー35は、ウォームホイール収容部19の開口部を覆う円板形状となっており、その径方向内側には従動プレート27の小径部27bよりも大径の突出孔35aが形成されており、当該突出孔35aから従動プレート27の小径部27bおよび出力ギヤ31が突出されている。
ボトムカバー35の裏側(ウォームホイール収容部19側)には弾性材料よりなるシール部材36がアウトサート成形により装着されており、シール部材36は、その径方向内側において従動プレート27の小径部27bの外周面に摺動接触するとともに、その径方向外側において円筒壁部19bの内壁表面に押し付けられ、ウォームホイール収容部19が密閉されて当該ウォームホイール収容部19の内部へ雨水等が浸入することが防止されている。
次にボトムカバー35をウォームホイール収容部19に組み付けるための係止構造について説明する。
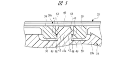
図4はボトムカバーを裏側から見た斜視図であり、図5は図1におけるB−B線に沿う断面図であり、図6は図1における矢印Cで示す部分の拡大斜視図であり、図7は図1におけるD−D線に沿う断面図である。
図3および図4に示すように、ボトムカバー35は周方向に等間隔に設けられた4つの係止爪38a,38bを有している。各係止爪38a,38bのうちウォーム収容部17側、つまりウォームホイール収容部19の円筒壁部19bの外壁表面とウォーム収容部17とが出力軸22の軸方向に重なる位置に設けられる係止爪38aは、ボトムカバー35の外周部から径方向外側に突出するとともにウォームホイール収容部19側に短く突出する一対の爪部39を備えている。各爪部39は周方向に所定の間隔をあけて設けられており、各爪部39の相互間に溝40が形成されている。図5に示すように、各爪部39の先端部には、爪部39それぞれが相互に対向する側面(内面)から溝40内に向けて突出する係合部41が設けられており、当該係合部41のボトムカバー35側の軸方向端面には係合面42が形成されている。
各係止爪38a,38bのうちウォーム収容部17側以外に設けられる他の3つの係止爪38bは、図6に示すように、ボトムカバー35の外周部から径方向外側に突出するとともにウォームホイール収容部19の円筒壁部19bの外壁表面に沿って当該ウォームホイール収容部19側に延出している。各係止爪38bの周方向中央部には、先端部43を除いて溝44が係止爪38bの延出方向に形成されており、先端部43のボトムカバー35側の軸方向端面には径方向に平行な係合面45が形成されている。
一方、図1および図3に示すように、ウォームホイール収容部19は、ボトムカバー35の係止爪38a,38bに対応して係合される凸片47a,47bが、周方向に等間隔に設けられている。各凸片47a,47bのうちウォーム収容部17側に設けられる凸片47aは、係止爪38aの溝40に対応させて、円筒壁部19b(ウォームホイール収容部19)の開口部側の端面からボトムカバー35側に突出している。図5に示すように、凸片47aの周方向両側の基端部には、周方向内側に向けて切り欠かれたアンダーカット部48が形成されており、凸片47aの周方向両側の先端部には係合面49を有する係合部52がアンダーカット部48よりも周方向外側に向けて突出して形成されている。係合面49は、アンダーカット部48から略垂直方向に形成され、係合部52を形成する面を示す。また、円筒壁部19bの開口部側の端面には、凸片47aの形成位置の周方向両側において、軸方向他端側(図中下側)に向けて切り欠かれた切り欠き部50が形成されている。係合面49は、切り欠き部50と対向するように配置され、かつ円筒壁部19bの開口部側の端面を延長した面に形成されている。
各凸片47a,47bのうちウォーム収容部17側以外に設けられる他の3つの凸片47bは、図6に示すように、係止爪38bの溝44の軸方向他端側(図中下側)に対応させて、円筒壁部19bの外壁表面から径方向外側に突出している。凸片47aは溝44の軸方向他端側に挿入可能な形状となっており、凸片47bの軸方向他端側の端面には径方向に延びる係合面51が形成されている。
ボトムカバー35をウォームホイール収容部19(ギヤケース16)に組み付けるための係止構造は、これらボトムカバー35に設けられる各係止爪38a,38b(溝40,44)およびウォームホイール収容部19に設けられる各凸片47a,47bにより構成されており、これらの組み付けを爪係合する複数の係止構造により行うため、メンテナンス時などにおけるボトムカバー35とウォームホイール収容部19との解体や再組み付けが容易となっている。
図5に示すように、ボトムカバー35のウォーム収容部17側に設けられる係止構造としての係止爪38aおよびギアケース16に形成される凸片47aは、係止爪38aの一対の爪部39を円筒壁部19bの開口部側の端面に形成された切り欠き部50に入り込ませて凸片47aを溝40内に挿入し、各爪部39の係合部41が凸片47aの係合部52に引っ掛け固定されることにより組み付けられる。つまり、爪部39における係合部41の係合面42と凸片47aの係合面49とが係合されることにより、係止爪38aと凸片47aとが固定される。
一方、図6に示すように、ウォーム収容部17側以外に設けられる係止構造としての係止爪38bおよび凸片47bは、凸片47bを溝44の軸方向他端側に挿入し、係止爪38bの先端部43を凸片47bに引っ掛け固定させることにより組み付けられる。つまり、先端部43の係合面45と凸片47bの係合面51とが係合されることにより、係止爪38bと凸片47bとが固定される。
このように、ウォーム収容部17側の係止構造として、側面から突出する係合部41を備える溝40をボトムカバー35の外周部に設けるとともに、溝40内に挿入されて係合部41に係合する凸片47aをウォームホイール収容部19の開口部側の端部に設けるようにしたので、係止爪38bおよび凸片47bからなる係止構造を設ける場合に比して小スペースでの固定が可能となり、円筒壁部19bの外壁表面に十分なスペースが確保することができないウォーム収容部17側においても、ギヤケース16の厚みを増加させることなく、係止構造を設けることができる。したがって、ウォーム収容部17側に係止構造を設けることにより、各係止構造の相互間の間隔を縮めることができ、ウォームホイール収容部19とボトムカバー35との間に十分な係止力を持たせることが可能となり、ウォームホイール収容部19が確実にシールされることとなる。
また、ウォーム収容部17側に係止構造を設けることにより、各係止構造をウォームホイール収容部19の周方向に等間隔(対称位置)に設けることができ、バランスのとれた組み付けが可能となるとともに、車両の進行方向の左右両側に設けられるパワーウィンド装置のパワーウィンドモータ10においてボトムカバー35を共用することが可能となる。
なお、本実施の形態においては、係止爪38a(溝40)および凸片47aにより構成される係止構造をウォーム収容部17側のみに適用するようにしたが、この係止構造は少なくともウォーム収容部17側に適用すればよく、その他の位置における係止構造に適用してもよいことはもちろんである。さらに、本実施の形態においては、ボトムカバー35に溝40,44を設け、ウォームホイール収容部19に凸片47a,47bを設けるようにしたが、ボトムカバー35に凸片47a,47bを設け、ウォームホイール収容部19の開口部側の端部に溝40,44を設けるようにしてもよい。
図6に示すように、ウォームホイール収容部19の円筒壁部19bの外壁表面には、係止爪38bと凸片47bとが組み付けられた際に、係止爪38bの周方向両側の側面と軸方向一端側の先端面とを覆う壁部53,54が設けられている。係止爪38bの側面を覆う壁部53は、円筒壁部19bの開口部側の端面から底壁部19a側の端面にかけて出力軸22の軸方向に形成されるとともに、円筒壁部19bの外壁表面からの突出方向である径方向高さ寸法が、ボトムカバー35に形成された係止爪38bの径方向外側の端面までの径方向高さ寸法(係止爪38bの径方向高さ寸法)よりも大きく形成されており、壁部53は係止爪38bの側面全体を覆う形状となっている。
円筒壁部19bの底壁部19a側には、係止爪38bの先端面を覆う壁部54がそれぞれの壁部53から互いに近接する方向に形成されており、壁部53と同様に、その径方向高さ寸法が係止爪38bの径方向高さ寸法よりも大きく形成されている。壁部54はその周方向中央部が切り欠かれており、メンテナンス時などにおいて係止爪38bを径方向外側に押し開いて溝44(係止爪38b)と凸片47bとの係合を外す際に、係止爪38bの先端部43に指を掛け易い形状となっている。
このように、円筒壁部19bの外壁表面よりも径方向外側に配置される係止爪38bの側面および先端面を覆う壁部53,54を円筒壁部19bの外側表面に設けるようにしたので、ウォームホイール収容部19とボトムカバー35との組み付け後に、係止爪38bに物が衝突するなどして、係止爪38bの破損もしくは係止爪38bの係合が外れるといったことを防止することができる。
なお、本実施の形態においては、係止爪38bの先端面を覆う壁部54をその周方向中央部が切り欠かれた形状とし、溝44と凸片47bとの係合を外す際に係止爪38bの先端部43に指を掛け易くなるようにしたが、壁部54により係止爪38bの先端面全体を覆うようにしてもよい。また、本実施の形態においては、係合爪38bが壁部53,54よりも径方向外側に突出しないように、壁部53,54の径方向高さ寸法を係止爪38bの径方向高さ寸法よりも大きく形成するようにしたが、壁部53,54の径方向高さ寸法を係止爪38bの径方向高さ寸法と等しく形成するようにしてもよい。
図4に示すように、ボトムカバー35の裏面に装着されるシール部材36は、その外周部36a(図7参照)において、径方向外側に突出する2つの環状の径方向突起部56と、ウォームホイール収容部19側に向けて軸方向に突出する4つの円弧形状の軸方向突起部57とを備えており、当該軸方向突起部57は、係止爪38a,38bが設けられる箇所に対応させて、周方向に等間隔に設けられている。
一方、図7に示すように、ウォームホイール収容部19の円筒壁部19bの先端部には、その径方向内側において一部切り欠かれた切り欠き部58が形成されており、円筒壁部19bの先端部の内壁表面には返し構造としての環状の段差部59が設けられている。この段差部59の軸方向端面には、径方向外側に向かうにつれて軸方向他端側(図中下側)に傾斜する斜面60が形成されている。
ウォームホイール収容部19とボトムカバー35とが組み付けられると、シール部材36の外周部36aが円筒壁部19bの先端部に設けられた切り欠き部58に入り込み、シール部材36の径方向突起部56が切り欠き部58の径方向端面であるシール面58aに押し付けられるとともに、シール部材36の軸方向突起部57が段差部59の斜面60に押し付けられる。このとき、ボトムカバー35と円筒壁部19bの先端面との間には所定の隙間Dが形成されており、この隙間Dを設けることで、軸方向突起部57を押し縮めることによりボトムカバー35をウォームホイール収容部19に向けて軸方向に相対移動させて、係合爪38bの係合面45と凸片47bの係合面51とを離反させることが可能となり、ウォームホイール収容部19とボトムカバー35との解体や組み付けが容易に行えるようになっている。
径方向突起部56が円筒壁部19bのシール面58aに押し付けられると、ウォームホイール収容部19がシールされるとともに、ボトムカバー35がウォームホイール収容部19に対して径方向に相対移動することが抑制されて、径方向突起部56によりボトムカバー35とウォームホイール収容部19との間の径方向のガタが抑制されることとなる。
一方、軸方向突起部57が段差部59の斜面60に押し付けられると、軸方向突起部57によりボトムカバー35とウォームホイール収容部19とを離反させる方向、つまり係合爪38bの係合面45と凸片47bの係合面51とを強固に係合させる方向に軸方向の緊迫荷重が加えられる。これにより、ボトムカバー35がウォームホイール収容部19に対して軸方向に相対移動することが抑制されて、軸方向突起部57によりボトムカバー35とウォームホイール収容部19との間の軸方向のガタが抑制されることとなる。また、斜面60により軸方向突起部57が径方向外側に案内されるため、軸方向突起部57が段差部59よりも径方向内側に入り込むことが防止されるとともに、シール部材36が積極的に円筒壁部19bのシール面58aに押し付けられるようになる。
このように、シール部材36の外周部に軸方向に突出する軸方向突起部57を設けるとともに、軸方向突起部57が押し付けられて当該軸方向突起部57を径方向外側に案内する斜面60を備える段差部59をウォームホイール収容部19の内壁表面に設けるようにしたので、ボトムカバー35とウォームホイール収容部19との間の軸方向のガタが抑制され、ガタによる異音の発生を防止することができる。また、斜面60により軸方向突起部57が径方向外側に案内されるため、軸方向突起部57が段差部59よりも径方向内側に入り込むことが防止されるとともに、シール部材36が積極的に円筒壁部19bのシール面58aに押し付けられ、確実にガタが抑制されることとなる。
なお、本実施の形態においては、円弧形状の軸方向突起部57を係止爪38a,38bが設けられる箇所に対応させて4カ所に設けることにより、軸方向突起部57を環状に設ける場合に比して軸方向の緊迫加重を低減するようにしたが、軸方向突起部57を環状に設けるようにしてもよいことはもちろんである。
本発明は前記実施の形態に限定されるものではなく、その要旨を逸脱しない範囲で種々変更可能であることはいうまでもない。例えば、前記実施の形態においては、本発明の減速機構付モータを、車両のウィンドガラスを昇降させるパワーウィンド装置のパワーウィンドモータ10に適用したものを示したが、本発明はこれに限らず、車両に搭載されるワイパ装置や電動サンルーフ装置等の駆動源にも適用することができる。
また、前記実施の形態においては、駆動源としてのモータ本体11にはブラシ付直流モータが用いられているが、これに限らず、回転軸13を正逆両方向に回転駆動することができるものであれば、例えば、ブラシレスの電動モータ等を用いるようにしてもよい。
さらに、前記実施の形態においては、減速機構のウォームホイールとしてダンパ付ウォームホイールを採用したが、ダンパ部材26および従動プレート27を設けないようにしたダンパレスのウォームホイールを採用するようにしてもよい。
本発明の一実施の形態であるパワーウィンドモータの平面図である。 図1におけるA−A線に沿う断面図である。 ギヤ部の分解斜視図である。 ボトムカバーを裏側から見た斜視図である。 図1におけるB−B線に沿う断面図である。 図1における矢印Cで示す部分の拡大斜視図である。 図1におけるD−D線に沿う断面図である。
符号の説明
10 パワーウィンドモータ(減速機構付モータ)
11 モータ本体
12 ギヤ部
13 回転軸
13a アーマチュア軸
13b ウォーム軸
14 モータヨーク
14a フランジ部
15 ボルト
16 ギヤケース
17 ウォーム収容部
17a 開口部
18 ウォーム
19 ウォームホイール収容部
19a 底壁部
19b 円筒壁部
20 ウォームホイール
20a 歯部
20b ボス部
21 円筒部
21a 貫通孔
22 出力軸
22a 溝
23 環状凸部
24 連通孔
26 ダンパ部材
26a 弾性部
26b 連結部
27 従動プレート
27a 大径部
27b 小径部
28 凹部
29 突起部
30 突起部
31 出力ギヤ
31a ギヤ孔
32 係止部材
33 Oリング
35 ボトムカバー
35a 突出孔
36 シール部材
38a,38b 係止爪
39 爪部
40 溝
41 係合部
42 係合面
43 先端部
44 溝
45 係合面
47a,47b 凸片
48 アンダーカット部
49 係合面
50 切り欠き部
51 係合面
52 係合部
53,54 壁部
56 径方向突起部
57 軸方向突起部
58 切り欠き部
58a シール面
59 段差部(返し構造)
60 斜面
61 整流子
62 コネクタユニット
63 ブラシホルダ
D 隙間

Claims (4)

  1. アーマチュア軸を回転自在に支持するヨークと、
    前記アーマチュア軸と一体回転し、ウォームが設けられたウォーム軸と、
    前記ウォーム軸を収容するウォーム収容部と、前記ウォーム軸のウォームと噛み合うウォームホイールを収容する有底形状のウォームホイール収容部とを備え、前記ヨークが取り付けられるギヤケースと、
    前記ウォームホイール収容部の開口部を覆うボトムカバーと、
    前記ウォームホイール収容部と前記ボトムカバーとを爪係合する複数の係止構造とを有する減速機構付モータであって、
    前記ウォームホイール収容部側に向けて軸方向に突出する軸方向突起部を外周部に備え、前記ボトムカバーに設けられて前記ボトムカバーと前記ウォームホイール収容部との間を密閉するシール部材と、
    前記ウォームホイール収容部の内壁表面に設けられ、前記軸方向突起部が当接されて当該軸方向突起部を径方向外側に案内する斜面を備えた返し構造とを有することを特徴とする減速機構付モータ。
  2. ウォームが設けられた回転軸を回転自在に支持するヨークと、
    前記ウォームを収容するウォーム収容部と、前記ウォームと噛み合うウォームホイールを収容する有底形状のウォームホイール収容部とを備え、前記ヨークが取り付けられるギヤケースと、
    前記ウォームホイール収容部の開口部を覆うボトムカバーと、
    前記ウォームホイール収容部と前記ボトムカバーとを爪係合する複数の係止構造とを有する減速機構付モータであって、
    前記ウォームホイール収容部側に向けて軸方向に突出する軸方向突起部を外周部に備え、前記ボトムカバーに設けられて前記ボトムカバーと前記ウォームホイール収容部との間を密閉するシール部材と、
    前記ウォームホイール収容部の内壁表面に設けられ、前記軸方向突起部が当接されて当該軸方向突起部を径方向外側に案内する斜面を備えた返し構造とを有することを特徴とする減速機構付モータ。
  3. 請求項1または2記載の減速機構付モータにおいて、前記軸方向突起部は前記複数の係止構造が設けられる箇所に対応して設けられていることを特徴とする減速機構付モータ。
  4. 請求項1〜3のいずれか1項に記載の減速機構付モータにおいて、前記シール部材の外周部には、径方向外側に突出して前記ウォームホイール収容部の内壁表面に設けられたシール面に当接する径方向突起部が設けられることを特徴とする減速機構付モータ。
JP2008210024A 2008-08-18 2008-08-18 減速機構付モータ Active JP4950962B2 (ja)

Priority Applications (1)

Application Number Priority Date Filing Date Title
JP2008210024A JP4950962B2 (ja) 2008-08-18 2008-08-18 減速機構付モータ

Applications Claiming Priority (1)

Application Number Priority Date Filing Date Title
JP2008210024A JP4950962B2 (ja) 2008-08-18 2008-08-18 減速機構付モータ

Publications (2)

Publication Number Publication Date
JP2010043718A true JP2010043718A (ja) 2010-02-25
JP4950962B2 JP4950962B2 (ja) 2012-06-13

Family

ID=42015260

Family Applications (1)

Application Number Title Priority Date Filing Date
JP2008210024A Active JP4950962B2 (ja) 2008-08-18 2008-08-18 減速機構付モータ

Country Status (1)

Country Link
JP (1) JP4950962B2 (ja)

Cited By (2)

* Cited by examiner, † Cited by third party
Publication number Priority date Publication date Assignee Title
JP2014093787A (ja) * 2012-10-31 2014-05-19 Mitsuba Corp モータ装置
JP2017143695A (ja) * 2016-02-12 2017-08-17 アスモ株式会社 モータ

Citations (5)

* Cited by examiner, † Cited by third party
Publication number Priority date Publication date Assignee Title
JPH11261254A (ja) * 1998-03-13 1999-09-24 Japan Aviation Electronics Ind Ltd プリント基板の取付構造
JP2001200938A (ja) * 2000-01-13 2001-07-27 Mitsubishi Heavy Ind Ltd くさび型シール
JP2001346352A (ja) * 2000-03-30 2001-12-14 Asmo Co Ltd ギヤードモータ
JP2003047204A (ja) * 2001-05-25 2003-02-14 Webasto Vehicle Systems Internatl Gmbh 駆動装置
JP2007247825A (ja) * 2006-03-17 2007-09-27 Nok Corp シールリング

Patent Citations (5)

* Cited by examiner, † Cited by third party
Publication number Priority date Publication date Assignee Title
JPH11261254A (ja) * 1998-03-13 1999-09-24 Japan Aviation Electronics Ind Ltd プリント基板の取付構造
JP2001200938A (ja) * 2000-01-13 2001-07-27 Mitsubishi Heavy Ind Ltd くさび型シール
JP2001346352A (ja) * 2000-03-30 2001-12-14 Asmo Co Ltd ギヤードモータ
JP2003047204A (ja) * 2001-05-25 2003-02-14 Webasto Vehicle Systems Internatl Gmbh 駆動装置
JP2007247825A (ja) * 2006-03-17 2007-09-27 Nok Corp シールリング

Cited By (2)

* Cited by examiner, † Cited by third party
Publication number Priority date Publication date Assignee Title
JP2014093787A (ja) * 2012-10-31 2014-05-19 Mitsuba Corp モータ装置
JP2017143695A (ja) * 2016-02-12 2017-08-17 アスモ株式会社 モータ

Also Published As

Publication number Publication date
JP4950962B2 (ja) 2012-06-13

Similar Documents

Publication Publication Date Title
JP5173668B2 (ja) 減速機構付モータ
JP5129690B2 (ja) 減速機構付モータ
WO2012026430A1 (ja) モータ装置およびその製造方法
JP5766193B2 (ja) ワイパモータ
JP4563119B2 (ja) ギアユニットおよびケーブル窓昇降システム用のモータ駆動ギアユニット
EP2103842B1 (en) Motor with reduction gear
JP2012137114A (ja) 減速機構付モータ
WO2015004795A1 (ja) モータ装置
JP4950962B2 (ja) 減速機構付モータ
JP5931697B2 (ja) モータ装置
JP6410396B2 (ja) モータ装置
JP5563910B2 (ja) 減速機構付モータ
JP6624996B2 (ja) アクチュエータ
JP5719548B2 (ja) 減速機構付きモータ
JP2010091009A (ja) 減速機構付モータ
JP2010230153A (ja) クラッチ機構、および減速機付モータ
JP6711727B2 (ja) 駆動機構
JP2010048352A (ja) クラッチ機構、クラッチ付減速機、および減速機付モータ
JP7034810B2 (ja) 減速機構及び減速機付モータ
JP5546177B2 (ja) 減速機付モータ
CN213228278U (zh) 一种驱动装置及车辆天窗
JP5350938B2 (ja) モータ装置及びモータ装置の組付け方法
JP2010223404A (ja) クラッチ機構、および減速機付モータ
JP6711702B2 (ja) 減速機付モータ
JP2020041587A (ja) 減速機構、及び減速機付モータ

Legal Events

Date Code Title Description
A621 Written request for application examination

Free format text: JAPANESE INTERMEDIATE CODE: A621

Effective date: 20110210

A977 Report on retrieval

Free format text: JAPANESE INTERMEDIATE CODE: A971007

Effective date: 20120224

TRDD Decision of grant or rejection written
A01 Written decision to grant a patent or to grant a registration (utility model)

Free format text: JAPANESE INTERMEDIATE CODE: A01

Effective date: 20120306

A01 Written decision to grant a patent or to grant a registration (utility model)

Free format text: JAPANESE INTERMEDIATE CODE: A01

A61 First payment of annual fees (during grant procedure)

Free format text: JAPANESE INTERMEDIATE CODE: A61

Effective date: 20120309

FPAY Renewal fee payment (event date is renewal date of database)

Free format text: PAYMENT UNTIL: 20150316

Year of fee payment: 3

R150 Certificate of patent or registration of utility model

Ref document number: 4950962

Country of ref document: JP

Free format text: JAPANESE INTERMEDIATE CODE: R150

Free format text: JAPANESE INTERMEDIATE CODE: R150