JP2010042695A - プレキュアトレッドおよびこれを用いた更生タイヤ - Google Patents
プレキュアトレッドおよびこれを用いた更生タイヤ Download PDFInfo
- Publication number
- JP2010042695A JP2010042695A JP2008206035A JP2008206035A JP2010042695A JP 2010042695 A JP2010042695 A JP 2010042695A JP 2008206035 A JP2008206035 A JP 2008206035A JP 2008206035 A JP2008206035 A JP 2008206035A JP 2010042695 A JP2010042695 A JP 2010042695A
- Authority
- JP
- Japan
- Prior art keywords
- precure tread
- tire
- tread
- precure
- circumferential groove
- Prior art date
- Legal status (The legal status is an assumption and is not a legal conclusion. Google has not performed a legal analysis and makes no representation as to the accuracy of the status listed.)
- Granted
Links
- 230000008929 regeneration Effects 0.000 title abstract 2
- 238000011069 regeneration method Methods 0.000 title abstract 2
- 238000012360 testing method Methods 0.000 description 6
- 230000000052 comparative effect Effects 0.000 description 5
- 238000012937 correction Methods 0.000 description 3
- 238000000034 method Methods 0.000 description 3
- 230000007613 environmental effect Effects 0.000 description 2
- 230000006870 function Effects 0.000 description 2
- 238000004519 manufacturing process Methods 0.000 description 2
- 239000004745 nonwoven fabric Substances 0.000 description 2
- 239000002245 particle Substances 0.000 description 2
- JOYRKODLDBILNP-UHFFFAOYSA-N Ethyl urethane Chemical compound CCOC(N)=O JOYRKODLDBILNP-UHFFFAOYSA-N 0.000 description 1
- 230000002238 attenuated effect Effects 0.000 description 1
- 238000004891 communication Methods 0.000 description 1
- 238000010586 diagram Methods 0.000 description 1
- 238000002474 experimental method Methods 0.000 description 1
- 239000000463 material Substances 0.000 description 1
- 238000004064 recycling Methods 0.000 description 1
- 230000035945 sensitivity Effects 0.000 description 1
- 238000013112 stability test Methods 0.000 description 1
Images
Landscapes
- Tires In General (AREA)
Abstract
【解決手段】タイヤの接地面側となる表面と台タイヤに貼り付ける側となる背面とを有するプレキュアトレッドにおいて、前記表面にタイヤ周方向に沿って延びる少なくとも1本の周方向溝を有し、さらに、該周方向溝に連通するとともに前記プレキュアトレッドの厚み方向内側に少なくとも1つの共鳴器を具える。
【選択図】図2
Description
すなわち、周方向溝を有するタイヤが接地した状態において、該周方向溝の溝壁と、接地面との間に接地長と同じ長さの管が形成され、タイヤの走行に伴い、気柱共鳴音と呼ばれるノイズが発生する。この気柱共鳴音の周波数f0は、音速をcとし、管の長さ、すなわち、周方向溝の長さに開口端補正量を足したものをLとすると、
f0=c/2L
で表わされる一定の周波数である。なお、開口端補正量とは、通常は実験によって求められるものであり、管が円筒形の場合、管の内側の半径に定数を乗じたものとなる。
ヘルムホルツ共鳴器は、図1に模式的に示すように、音速をc、枝溝に対応する管状部1の長さをl、管状部1の断面積をS、管状部1の半径をr、気室部2の体積をVとすると、減音する周波数fは、
それゆえ、本発明の目的は、タイヤの更生に用いるプレキュアトレッドにおいて、周方向溝に起因した気柱共鳴音を低減する方途を与え、さらにこのプレキュアトレッドおよびこれを用いた更生タイヤを提供することにある。
(1)タイヤの接地面側となる表面と台タイヤに貼り付ける側となる背面とを有するプレキュアトレッドにおいて、
前記表面にタイヤ周方向に沿って延びる少なくとも1本の周方向溝を有し、さらに、該周方向溝に連通するとともに前記プレキュアトレッドの厚み方向内側に少なくとも1つの共鳴器を具えることを特徴とするプレキュアトレッド。
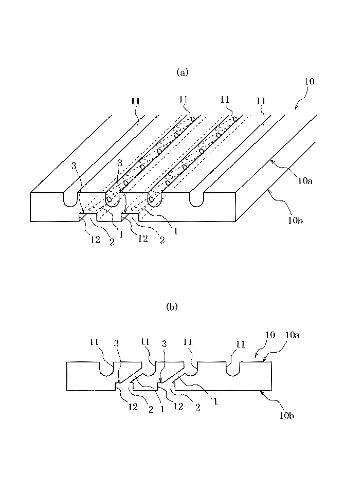
図2(a)は本発明のプレキュアトレッドの斜視図であり、図2(b)は本発明のプレキュアトレッドの断面図である。このプレキュアトレッド10は、タイヤの接地面側となる表面10aと台タイヤに貼り付ける側となる背面10bとを有し、表面10aにタイヤ周方向に沿って延びる少なくとも1本、図示例では4本の周方向溝11と、この周方向溝11に連通するとともにこのプレキュアトレッド10の厚み方向内側に設けた少なくとも1つの共鳴器3とを具える。共鳴器3は、周方向溝11に一端が開口する管状部1と、管状部1の他端に接続し、管状部1の断面積よりも大きな断面積を有する気室部2とを具える。
このように、ヘルムホルツ型の共鳴器3をプレキュアトレッド10の周方向溝11に設けることにより、このプレキュアトレッド10を用いた更生タイヤにおいて騒音を低減することが可能となる。また、プレキュアトレッド10は共鳴器3をプレキュアトレッド10の厚み方向内側に有するため、共鳴器3によって表面10aのトレッドパターンを変更する必要はない。それゆえ、本発明のプレキュアトレッド10を台タイヤに接着して更生タイヤとした際、この更生タイヤはトレッドパターンによる良好な操縦安定性および摩耗性能を維持することができる。
なお、図2の例ではヘルムホルツ型の共鳴器3を説明したが、共鳴器3はサイドブランチ型とすることもできる。
なお、複数の管状部1によって1本の周方向溝11と気室部である背面溝12とを接続しているため、管状部1の本数をn本とすると、減音される共鳴周波数fは、上記した式(1)を用いて
さらに、共鳴器3の気室部2は、その断面が、図6(a)に示すような長方形の場合だけでなく、図6(b)に示すような円形や、図8(c)に示すような任意の形とすることもできる。
比較例のプレキュアトレッドは、図8(a)に示す表面のトレッドパターンと、図8(b)に示す背面のパターンを有する。比較例のプレキュアトレッドは、表面10aに4本の周方向溝11a〜11dを有し、2本の周方向溝11aと11bとの間に、周方向溝11aに連通するラグ溝14を有し、2本の周方向溝11cと11dとの間に、周方向溝11dに連通するラグ溝14を有する。ラグ溝14は、路面と接地することでヘルムホルツ型の共鳴器を構成する。また、比較例のプレキュアトレッドの背面10bは、従来例のプレキュアトレッドの背面10bと同様の構造である。
発明例1のプレキュアトレッドは、図9(b)に示すように、背面10bに2本の背面溝12を有し、この背面溝12は複数の管状部1で周方向溝11bと11cとに接続されている。
発明例2、3のプレキュアトレッドは、図10(b)に示すように、発明例1のプレキュアトレッドの背面溝12をゴム壁15で区切ることで複数の気室部とし、各気室部ごとに1つの管状部1を設け、この管状部1が気室部と周方向溝11bあるいは11cとを接続している。発明例2では、周方向溝11b、11cの溝底に管状部1が連通し、発明例3では、周方向溝11b、11cの溝壁に管状部1が連通している。
発明例4のプレキュアトレッドは、図11(b)に示すように、背面溝12をゴム壁15で区切って異なる体積の気室部を形成している。
発明例5のプレキュアトレッドは、発明例2のプレキュアトレッドの構造を有し、管状部1に不織布を設けている。
各更生タイヤを、2−D・4軸形式の大型トラックの駆動輪に装着し、荷重を積荷で与え、ドライバーによるフィーリング評価を10段階で行った。この数値が大きいほど操縦安定性能が良好であることを意味している。
各更生タイヤを、2−D・4軸形式の大型トラックの駆動輪に装着し、荷重を積荷で与え、10000km走行した後に、ラグ溝を配置した2本のリブ内でタイヤ幅方向摩耗量差を左右輪で平均し、従来例を100とした指数で評価した。この数値が小さいほど偏摩耗が小さいことを意味している。数値が3以上異なるときに優位差がある。
各更生タイヤに、荷重0%(空車)、50%、75%、100%(最大負荷能力に対する割合)を与え、欧州タイヤ単体騒音規制(Detective2001/43/EC)に定められている実車蛇行試験法の条件(C3条件)にて騒音試験を行った。
また、各更生タイヤを50%摩耗させた状態で、荷重75%を与えて、同様の試験を行った。なお、この50%摩耗時には、いずれの更生タイヤも背面溝は露出していない。
以上より、操縦安定性能および偏摩耗性能を損なうことなく、周方向溝に起因した気柱共鳴音を低減したプレキュアトレッドおよびこれを用いた更生タイヤを提供すること可能となった。
2 気室部
3 共鳴器
10 プレキュアトレッド
11 周方向溝
11a、11b、11c、11d 周方向溝
12 背面溝
13、14 ラグ溝
15 ゴム壁
Claims (9)
- タイヤの接地面側となる表面と台タイヤに貼り付ける側となる背面とを有するプレキュアトレッドにおいて、
前記表面にタイヤ周方向に沿って延びる少なくとも1本の周方向溝を有し、さらに、該周方向溝に連通するとともに前記プレキュアトレッドの厚み方向内側に少なくとも1つの共鳴器を具えることを特徴とするプレキュアトレッド。 - 前記共鳴器は、前記周方向溝に一端が開口する管状部と、該管状部の他端に接続し、該管状部の断面積よりも大きな断面積を有する気室部とを具えることを特徴とする請求項1に記載のプレキュアトレッド。
- 前記気室部が、前記背面に開口することを特徴とする請求項1または2に記載のプレキュアトレッド。
- 前記気室部が、トレッド部接地面の摩耗の進行に伴って該トレッド部接地面に露出する背面溝であることを特徴とする請求項3に記載のプレキュアトレッド。
- 前記気室部が、前記背面溝を区切ることで形成されることを特徴とする請求項4に記載のプレキュアトレッド。
- 前記管状部が、前記周方向溝の溝底に開口することを特徴とする請求項1〜5のいずれかに記載のプレキュアトレッド。
- 前記管状部が、吸音層を有することを特徴とする請求項1〜6のいずれかに記載のプレキュアトレッド。
- 前記共鳴器が複数であって、各共鳴器の共鳴周波数が異なることを特徴とする請求項1〜7のいずれかに記載のプレキュアトレッド。
- 請求項1〜8のいずれかに記載のプレキュアトレッドを台タイヤに接着して用いることを特徴とする更生タイヤ。
Priority Applications (1)
| Application Number | Priority Date | Filing Date | Title |
|---|---|---|---|
| JP2008206035A JP5164730B2 (ja) | 2008-08-08 | 2008-08-08 | プレキュアトレッドおよびこれを用いた更生タイヤ |
Applications Claiming Priority (1)
| Application Number | Priority Date | Filing Date | Title |
|---|---|---|---|
| JP2008206035A JP5164730B2 (ja) | 2008-08-08 | 2008-08-08 | プレキュアトレッドおよびこれを用いた更生タイヤ |
Publications (2)
| Publication Number | Publication Date |
|---|---|
| JP2010042695A true JP2010042695A (ja) | 2010-02-25 |
| JP5164730B2 JP5164730B2 (ja) | 2013-03-21 |
Family
ID=42014446
Family Applications (1)
| Application Number | Title | Priority Date | Filing Date |
|---|---|---|---|
| JP2008206035A Expired - Fee Related JP5164730B2 (ja) | 2008-08-08 | 2008-08-08 | プレキュアトレッドおよびこれを用いた更生タイヤ |
Country Status (1)
| Country | Link |
|---|---|
| JP (1) | JP5164730B2 (ja) |
Cited By (8)
| Publication number | Priority date | Publication date | Assignee | Title |
|---|---|---|---|---|
| JP2013525176A (ja) * | 2010-04-20 | 2013-06-20 | 株式会社ブリヂストン | 騒音低減手段を備える溝を有するトレッドストリップ |
| JP2014037194A (ja) * | 2012-08-14 | 2014-02-27 | Toyo Tire & Rubber Co Ltd | 空気入りタイヤ |
| WO2016060234A1 (ja) * | 2014-10-17 | 2016-04-21 | 住友ゴム工業株式会社 | 空気入りタイヤ及びその製造方法 |
| WO2016104663A1 (en) * | 2014-12-26 | 2016-06-30 | Compagnie Generale Des Etablissements Michelin | Tire for attenuating rolling noise |
| JP2019116194A (ja) * | 2017-12-27 | 2019-07-18 | 住友ゴム工業株式会社 | タイヤ |
| US10487160B2 (en) | 2014-10-17 | 2019-11-26 | Sumitomo Rubber Industries, Ltd. | Rubber composition for pneumatic tires |
| US11130300B2 (en) | 2014-10-17 | 2021-09-28 | Sumitomo Rubber Industries, Ltd. | Pneumatic tire and method for producing same |
| FR3114271A1 (fr) * | 2020-09-23 | 2022-03-25 | Compagnie Generale Des Etablissements Michelin | Pneumatique pour véhicule lourd de génie civil à adhérence améliorée |
Citations (5)
| Publication number | Priority date | Publication date | Assignee | Title |
|---|---|---|---|---|
| JPH01317807A (ja) * | 1988-03-29 | 1989-12-22 | Bridgestone Corp | タイヤ用プレキュアトレッドおよびこれを用いたタイヤならびにそのタイヤの製造方法 |
| JPH06135206A (ja) * | 1992-10-26 | 1994-05-17 | Sumitomo Rubber Ind Ltd | 更生タイヤ用トレッド |
| JP2000118207A (ja) * | 1998-09-24 | 2000-04-25 | Continental Ag | 吸音特性を有する空気タイヤ |
| JP2001239809A (ja) * | 1999-12-21 | 2001-09-04 | Bridgestone Corp | 低騒音空気入りタイヤ |
| JP2008179289A (ja) * | 2007-01-25 | 2008-08-07 | Bridgestone Corp | 空気入りタイヤ |
-
2008
- 2008-08-08 JP JP2008206035A patent/JP5164730B2/ja not_active Expired - Fee Related
Patent Citations (5)
| Publication number | Priority date | Publication date | Assignee | Title |
|---|---|---|---|---|
| JPH01317807A (ja) * | 1988-03-29 | 1989-12-22 | Bridgestone Corp | タイヤ用プレキュアトレッドおよびこれを用いたタイヤならびにそのタイヤの製造方法 |
| JPH06135206A (ja) * | 1992-10-26 | 1994-05-17 | Sumitomo Rubber Ind Ltd | 更生タイヤ用トレッド |
| JP2000118207A (ja) * | 1998-09-24 | 2000-04-25 | Continental Ag | 吸音特性を有する空気タイヤ |
| JP2001239809A (ja) * | 1999-12-21 | 2001-09-04 | Bridgestone Corp | 低騒音空気入りタイヤ |
| JP2008179289A (ja) * | 2007-01-25 | 2008-08-07 | Bridgestone Corp | 空気入りタイヤ |
Cited By (19)
| Publication number | Priority date | Publication date | Assignee | Title |
|---|---|---|---|---|
| US9333809B2 (en) | 2010-04-20 | 2016-05-10 | Bridgestone Corporation | Tread strip with grooves featuring noise-reducing means |
| JP2013525176A (ja) * | 2010-04-20 | 2013-06-20 | 株式会社ブリヂストン | 騒音低減手段を備える溝を有するトレッドストリップ |
| JP2014037194A (ja) * | 2012-08-14 | 2014-02-27 | Toyo Tire & Rubber Co Ltd | 空気入りタイヤ |
| US10850575B2 (en) | 2014-10-17 | 2020-12-01 | Sumitomo Rubber Industries, Ltd. | Pneumatic tire |
| WO2016060234A1 (ja) * | 2014-10-17 | 2016-04-21 | 住友ゴム工業株式会社 | 空気入りタイヤ及びその製造方法 |
| JPWO2016060234A1 (ja) * | 2014-10-17 | 2017-04-27 | 住友ゴム工業株式会社 | 空気入りタイヤ及びその製造方法 |
| US11130300B2 (en) | 2014-10-17 | 2021-09-28 | Sumitomo Rubber Industries, Ltd. | Pneumatic tire and method for producing same |
| JP2018075839A (ja) * | 2014-10-17 | 2018-05-17 | 住友ゴム工業株式会社 | 空気入りタイヤ及びその製造方法 |
| US11077725B2 (en) | 2014-10-17 | 2021-08-03 | Sumitomo Rubber Industries, Ltd. | Pneumatic tire with innerliner, mold release agent layer, and sealant layer |
| US11072209B2 (en) | 2014-10-17 | 2021-07-27 | Sumitomo Rubber Industries, Ltd. | Pneumatic tire with sealant layer and at least one resonator, and method for producing same |
| US10487160B2 (en) | 2014-10-17 | 2019-11-26 | Sumitomo Rubber Industries, Ltd. | Rubber composition for pneumatic tires |
| US10494459B2 (en) | 2014-10-17 | 2019-12-03 | Sumitomo Rubber Industries, Ltd. | Rubber composition for pneumatic tires |
| WO2016104663A1 (en) * | 2014-12-26 | 2016-06-30 | Compagnie Generale Des Etablissements Michelin | Tire for attenuating rolling noise |
| EP3237231A4 (en) * | 2014-12-26 | 2018-07-11 | Compagnie Générale des Etablissements Michelin | Tire for attenuating rolling noise |
| CN107107667A (zh) * | 2014-12-26 | 2017-08-29 | 米其林企业总公司 | 用于减弱滚动噪音的轮胎 |
| JP2019116194A (ja) * | 2017-12-27 | 2019-07-18 | 住友ゴム工業株式会社 | タイヤ |
| JP7095280B2 (ja) | 2017-12-27 | 2022-07-05 | 住友ゴム工業株式会社 | タイヤ |
| FR3114271A1 (fr) * | 2020-09-23 | 2022-03-25 | Compagnie Generale Des Etablissements Michelin | Pneumatique pour véhicule lourd de génie civil à adhérence améliorée |
| WO2022064134A1 (fr) * | 2020-09-23 | 2022-03-31 | Compagnie Generale Des Etablissements Michelin | Pneumatique pour vehicule lourd de genie civil a adherence amelioree |
Also Published As
| Publication number | Publication date |
|---|---|
| JP5164730B2 (ja) | 2013-03-21 |
Similar Documents
| Publication | Publication Date | Title |
|---|---|---|
| JP5164730B2 (ja) | プレキュアトレッドおよびこれを用いた更生タイヤ | |
| US11117424B2 (en) | Pneumatic tire | |
| US20060157180A1 (en) | Low noise pneumatic tire | |
| JP2804218B2 (ja) | 空気入りタイヤ | |
| EP0646480B1 (en) | Pneumatic tires | |
| JP4275371B2 (ja) | 空気入りタイヤ | |
| JPH0396407A (ja) | タイヤ用プレキュアトレッドおよびそれを用いたタイヤ | |
| KR101327930B1 (ko) | 공명소음을 저감한 래디알 타이어 | |
| JP6076127B2 (ja) | 空気入りタイヤ | |
| CN110944854A (zh) | 轮胎 | |
| JP4984633B2 (ja) | 空気入りタイヤ | |
| JP4984614B2 (ja) | 空気入りタイヤ | |
| JP4831868B2 (ja) | 空気入りタイヤ | |
| JP2008155798A (ja) | 空気入りタイヤ | |
| CN111372792B (zh) | 充气轮胎 | |
| KR20230047526A (ko) | 공기입 타이어 | |
| JP2009001206A (ja) | 空気入りタイヤ | |
| JP2009029263A (ja) | 空気入りタイヤ | |
| JPH07101205A (ja) | 空気入りタイヤ | |
| JP2005145144A (ja) | 空気入りタイヤ及びその製造方法 | |
| JP4243976B2 (ja) | 乗用車用空気入りラジアルタイヤ | |
| KR20250090521A (ko) | 공기입 타이어 | |
| JP5262605B2 (ja) | 空気入りタイヤの製造方法 | |
| JPH08207517A (ja) | 空気入りラジアルタイヤ | |
| WO2014125822A1 (ja) | 空気入りタイヤ |
Legal Events
| Date | Code | Title | Description |
|---|---|---|---|
| A621 | Written request for application examination |
Free format text: JAPANESE INTERMEDIATE CODE: A621 Effective date: 20110607 |
|
| A977 | Report on retrieval |
Free format text: JAPANESE INTERMEDIATE CODE: A971007 Effective date: 20120912 |
|
| A131 | Notification of reasons for refusal |
Free format text: JAPANESE INTERMEDIATE CODE: A131 Effective date: 20120918 |
|
| A521 | Request for written amendment filed |
Free format text: JAPANESE INTERMEDIATE CODE: A523 Effective date: 20121031 |
|
| TRDD | Decision of grant or rejection written | ||
| A01 | Written decision to grant a patent or to grant a registration (utility model) |
Free format text: JAPANESE INTERMEDIATE CODE: A01 Effective date: 20121120 |
|
| A61 | First payment of annual fees (during grant procedure) |
Free format text: JAPANESE INTERMEDIATE CODE: A61 Effective date: 20121218 |
|
| FPAY | Renewal fee payment (event date is renewal date of database) |
Free format text: PAYMENT UNTIL: 20151228 Year of fee payment: 3 |
|
| R150 | Certificate of patent or registration of utility model |
Ref document number: 5164730 Country of ref document: JP Free format text: JAPANESE INTERMEDIATE CODE: R150 Free format text: JAPANESE INTERMEDIATE CODE: R150 |
|
| R250 | Receipt of annual fees |
Free format text: JAPANESE INTERMEDIATE CODE: R250 |
|
| R250 | Receipt of annual fees |
Free format text: JAPANESE INTERMEDIATE CODE: R250 |
|
| R250 | Receipt of annual fees |
Free format text: JAPANESE INTERMEDIATE CODE: R250 |
|
| R250 | Receipt of annual fees |
Free format text: JAPANESE INTERMEDIATE CODE: R250 |
|
| R250 | Receipt of annual fees |
Free format text: JAPANESE INTERMEDIATE CODE: R250 |
|
| R250 | Receipt of annual fees |
Free format text: JAPANESE INTERMEDIATE CODE: R250 |
|
| LAPS | Cancellation because of no payment of annual fees |
