JP2010041833A - ケーブル固定構造 - Google Patents

ケーブル固定構造 Download PDF

Info

Publication number
JP2010041833A
JP2010041833A JP2008202506A JP2008202506A JP2010041833A JP 2010041833 A JP2010041833 A JP 2010041833A JP 2008202506 A JP2008202506 A JP 2008202506A JP 2008202506 A JP2008202506 A JP 2008202506A JP 2010041833 A JP2010041833 A JP 2010041833A
Authority
JP
Japan
Prior art keywords
cable
pair
members
fixing structure
receiving
Prior art date
Legal status (The legal status is an assumption and is not a legal conclusion. Google has not performed a legal analysis and makes no representation as to the accuracy of the status listed.)
Granted
Application number
JP2008202506A
Other languages
English (en)
Other versions
JP4788007B2 (ja
Inventor
Masahiro Matsushita
昌宏 松下
Current Assignee (The listed assignees may be inaccurate. Google has not performed a legal analysis and makes no representation or warranty as to the accuracy of the list.)
NEC Platforms Ltd
Original Assignee
NEC AccessTechnica Ltd
Priority date (The priority date is an assumption and is not a legal conclusion. Google has not performed a legal analysis and makes no representation as to the accuracy of the date listed.)
Filing date
Publication date
Application filed by NEC AccessTechnica Ltd filed Critical NEC AccessTechnica Ltd
Priority to JP2008202506A priority Critical patent/JP4788007B2/ja
Publication of JP2010041833A publication Critical patent/JP2010041833A/ja
Application granted granted Critical
Publication of JP4788007B2 publication Critical patent/JP4788007B2/ja
Expired - Fee Related legal-status Critical Current
Anticipated expiration legal-status Critical

Links

Images

Landscapes

  • Light Guides In General And Applications Therefor (AREA)
  • Clamps And Clips (AREA)
  • Installation Of Indoor Wiring (AREA)

Abstract

【課題】 筐体などに予め高精度が要求される加工を施すことなく、ケーブルに平行な方向のケーブル移動をなくしてケーブルにたるみを持たせる必要がないケーブル固定構造を提供する。
【解決手段】 対向間隙が下方向にいくに従って次第に狭くなるように対向配置された一対のガイド部材31,32と、ケーブル10を直交方向から対向して把持するために対向間隙が変更自在に連結された一対のケーブル把持部材21,22とを含み、一対のケーブル把持部材21,22を、一対のガイド部材31,32の対向面をそれぞれガイドとして一対のガイド部材31,32の対向間隙へ挿入することにより、一対のケーブル把持部材21,22の対向間隙においてケーブル10を把持するようにしたことを特徴とする。
【選択図】 図1

Description

本発明はケーブル固定構造に関し、特に通信機器などに使用される通信ケーブルを固定するためのケーブル固定構造に関するものである。
この種のケーブル固定構造の一例として、特許文献1に開示のものがあり、図11に、その構造を説明するための図を示している。図11(A)は固定前の状態を示す斜視図であり、(B)は固定後の斜視図である。図11(A)に示すように、予めケーブル10をクランプ100により把持しておく。そして、このクランプ100を、図示せぬ筐体に固定された受け部200のクランプ挿入溝部201に、矢印Xで示すように挿入する。
そして、図11(B)に示すように、Y方向にケーブル10を引っ張る。このとき、受け部200のクランプ挿入溝部201の対抗する両側壁には、波型の係合部202が形成され、かつY方向に移動するに従って、溝部201の間隔が狭くなっている。よって、クランプ100は、この溝部201により締め付けられる。最終的に、クランプ100に設けられている爪部101が、溝部201の係合部202に係合して、固定されることになる。
このようなケーブル固定構造では、ケーブル10をY方向に移動させつつ、ケーブル10と同じ水平方向から、当該ケーブルを挟止して固定する構造となっている。そのために、ケーブルのY方向移動量が必要であり、よってこの移動量を考慮して、事前にケーブルをたるませておく必要がある。たるみが少ないと、ケーブル10の接続元であるコネクタなどに力が加わり、コネクタ等の接触不良や破損などが発生する危険がある。
そこで、ケーブルを移動させずにケーブルを固定する構造として、特許文献2に記載のものが提案されており、図12にその構造を説明するための図を示している。図12(A)は固定後の状態を示す断面図であり、(B)は把持部400の斜視図である。
把持部400は、ケーブル10を把持するものであって、筐体500から上方に突出した状態で、当該筐体500上に形成されている。この把持部400は、図12(B)に示すように、一対の対向する把持部材400a,400bからなり、隙間である溝401を有した状態で平行に設けられており、この溝401にケーブル10が挟止されるようになっている。把持部材400a,400bの内壁部には、それぞれ波型の滑り止め402a,402bが形成されている。
図12(A)に示すように、ケーブル10の固定は、把持部材400a,400bの溝401にケーブル10を挿通した状態で、上方から把持部400をカバー300で覆うことにより行われる。このとき、カバー300の爪301a,301bを、筐体500の係合穴501a,501bにそれぞれ挿入して、これら爪301a,301bが、筐体500の下側の面に係止されることにより、ケーブル10の固定が完了するようになっている。
この場合、カバー300の内幅が、把持部400の全幅W1よりも小さく形成されていることにより、把持部部材400a,400bに対して、内側方向に押圧力が加わり、よって、把持部400の溝401の幅が狭まって、把持部400によりケーブル10が把持されることになる。そして、把持部材400a,400bの内壁部の滑り止め402a,402bにより、ケーブル10の固定がより強力となるようになっている。
かかる構造とすることにより、固定すべきケーブル10を、水平方向に移動することなく固定することができるので、ケーブル10を事前にたるませておく必要がなくなることになる。
特開2003−348738号公報 特開2008−129491号公報
特許文献2の構造では、ケーブル10を挟止した把持部材400を、その上方から、カバー300で覆いつつ、当該カバーの爪筐体500の爪301a,301bを、筐体500の係合穴501a,501bにそれぞれ挿入して、これら爪301a,301bを、筐体500の下側の面に係止するようになっている。よって、ケーブルの固定のために、筐体500に係合穴501a,501bを予め設けておく必要がある。従って、ケーブル固定構造を取り付けるための筐体500に予め穴あけなどの加工を必要とし、またその穴の位置の精度も要求されるという問題がある。
本発明の目的は、筐体などに予め穴明けなどの高精度の加工を施すことなく、ケーブルに平行な方向のケーブル移動をなくしてケーブルにたるみを持たせる必要がないケーブル固定構造を提供することである。
本発明によるケーブル固定構造は、対向間隙が下方向にいくに従って次第に狭くなるように対向配置された一対のガイド部材と、ケーブルを直交方向から対向して把持するために対向間隙が変更自在に連結された一対のケーブル把持部材とを含み、前記一対のケーブル把持部材を、前記一対のガイド部材の対向面をそれぞれガイドとして前記一対のガイド部材の対向間隙へ挿入することにより、前記一対のケーブル把持部材の対向間隙において前記ケーブルを把持するようにしたことを特徴とする。
本発明によれば、筐体などに固定されて一対の予めケーブルが挿通された受け部に、ケーブルを把持するための把持部を、受け部の上方からケーブルに直交して挿入するだけで、極めて簡単にケーブルの固定ができ、よってケーブルにたるみを持たせる必要がない上に、更に筐体などに対して精度が要求される穴明けなどの加工を必要とすることがないという効果がある。
以下に、図面を参照しつつ本発明の実施の形態について説明する。図1は、本発明の実施の形態の分解斜視図であり、上の図は把持部20を示し、下の図は受け部30を示している。図2は、図1の把持部20を、図1の矢印Bの方向に、挿入してケーブル10を固定した状態を示す斜視図である。
また、図3は、図2の状態における側面図、正面図、背面図及び上面図であり、図4は、図3の正面図の拡大図である。更に、図5は、図3のA−A線に沿う断面図である。なお、これら各図において、同等部分には同一符号をもって示している。
把持部20は、一対の互いに対向したプレート21,22を有しており、最終的に、両プレート21,22の対向間隙部分にケーブル10が把持して固定されることになる。よって、両プレート21,22は、ケーブル把持部材として機能することになる。これら両プレート21,22は、互いに半円弧状の細い連結部材28により連結されており、対向部とは反対側の外壁面の各々は、下方向にいくにつれて肉厚が薄くなるようなテーパ形状となっている(図4,5参照)。
一方、受け部30は、これまた一対の互いに対向した受けリブ31,32を有しており、これら受けリブ31,32は、図示せぬ筐体などに予め固定されている。両受けリブ31,32の対向部は、把持部20のプレート21,22の外壁面のテーパ状と同一の傾斜角を有するテーパ面となっている。
把持部20が図1の矢印Bに沿って受け部30へ挿入される時に、プレート21の外壁のテーパ面が、受けリブ31の内壁テーパ面と接触して下方へ摺動し、同様に、プレート22の外壁のテーパ面が、受けリブ32の内壁テーパ面と接触して下方へ摺動することになる。把持部20を受け部30へ挿入する時には、受け部30の受けリブ31,32が、把持部20のガイド(案内)として機能するので、受けリブ31,32は、ガイド部材としての機能を有することになる。
プレート21には、ケーブル10に直交する方向に、背面当て23が一体構造となって形成されており(図3の背面図参照)、同様に、プレート22には、背面当て24が一体構造となって形成されている(図3の上面図参照)。また、受け部30の背面側には、背面受けリブ34,35が設けられている。そして、把持部20が図1の矢印Bに沿って受け部30へ挿入される時に、背面受けリブ34,35の各々と、受けリブ31,32の側面の各々とにより形成される空間に、プレート21,22の各々の背面当て23,24がそれぞれ入り込むようになっている。
図1に示す継ぎ手25は、プレート22と一体構造であって、対向するプレート21の上方角部に乗った状態になっている。また、継ぎ手26は、プレート21と一体構造であって、対向するプレート22の上に乗った状態になっている。更に、継ぎ手27は、背面当て24を介してプレート22と一体化され、かつプレート21の上に乗った状態となっている。
なお、受け部30の受けリブ31,32の間の空間、すなわち、ケーブル把持空間の下部には、ケーブルを受け止めるためのケーブル受け止め部33が設けられているものとする。なお、このケーブル受け止め部33、背面受けリブ34,35は、受けリブ31,32と同様に、図示せぬ筐体に取り付けられているものとする。
把持部20のプレート22の右肩部には、爪29が設けられている。また、受け部30の受けリブ32の、プレート22の爪29と対応する箇所には、当該爪29と嵌合する波型36が設けられている。
かかる構成において、ケーブル10を固定する場合、先ず固定すべきケーブル10を、受け部30のケーブル受け止め部33の上に載置しておく。そして、把持部20のプレート21,22の各の外壁面であるテーパ面を、受け部30の受けリブ31,32の各の内壁面であるテーパ面に接触させつつ矢印B方向、すなわちケーブル10の直交下方向に移動させる。このとき、受け部30の受けリブ31,32が、把持部20のガイドとして機能することになる。ケーブル10の下部には、ケーブル受け止め部33が設けられているので、ケーブル自体は、それより下方には移動できないことになる。
把持部20が上方向に復帰できないようにするために、爪29を受けリブ32の波型36に嵌合させて、ロック状態とするのである。なお、継ぎ手25,27は、プレート21に乗った状態であり、また継ぎ手26は、プレート22に乗った状態であるので、両プレートは同時に上下移動可能であるので、片側だけの爪構造でもロック可能となる。しかし、図6に示すように、両プレート21,22に爪29a,29bを設け、受けリブ31,32側の対応する箇所に波型36a,36bを設けて、両側で固定することもできることは明白である。
ケーブル10を挟止したまま、プレート21,22を下方向に移動させる。このとき、プレート21,22は、細い連結部材28により連結されているので、両者の対向間隙は変更自在であり、よって当該対向間隙は徐々に狭くなる。その結果、プレート21,22によりケーブル10の把持が可能となる。なお、連結部28は、弾性材により構成しても良いことは明白である。
そして、ケーブルに対しては、それに直交する方向からの挟止であるために、ケーブルの形状を問わず、図示のような断面が長方形のもののみならず、断面が丸形のケーブルも固定可能である。その様子を図7の斜視図に示しており、図7において、図1〜図5と同等部分は同一符号により示している。
更に、受けリブ31,32の高さをより高くしたり、両者の対向間隙をより大とすることにより、ケーブルの径が大となっても、対応が可能であることは勿論である。
図2や図7に示したケーブル固定状態において、ケーブルに対して、背面側(図3の背面図参照)に引っ張り力が生じた場合、受け部30の背面受けリブ34,35がストッパの役目となって、把持部20は背面側へ移動しないし、ケーブルの移動もない。ケーブルに対して、正面側(図3の正面図参照)に引っ張り力が生じた場合、受け部30の受けリブ31,32の側面がストッパの役目となって、把持部20は移動しない。
図8は本発明の他の実施の形態を示す斜視図であり、図において、図1〜5と同等部分は同一符号により示している。本例では、受け部30の受けリブの対を複数組(31aと32a、31bと32b)配置したものであり、受けリブ31aと32aの組により、所定径のケーブル10を把持し、受けリブ31bと32bの組により、ケーブル10よりも大なる径のケーブルを把持することが可能となる。
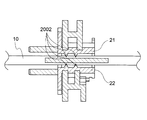
上記の実施の形態では、ケーブルを把持するプレート31,32の面が一平面であったが、図9の断面図に示すように、プレート31,32の面を、ケーブルに直交する複数の四角柱状2001に形成しても良く、また、図10の断面図に示すように、ケーブルに直交する複数の三角柱状2002に形成しても良いものである。その他にも、断面が台形状、半円状等の各種断面形状とすることもできるものであり、要するに、プレート31,32のケーブル把持面を凹凸状にすることより、ケーブルとの摩擦力を増大して、ケーブルの移動を阻止するようにすれば良い。
上述したように、本発明よれば、ケーブルを何等移動することなく、確実に固定できるので、ケーブルをたるませておく必要もなく、また、把持部を受け部に挿入するだけの簡単な操作で、確実にケーブルの固定ができる。更に、把持部20及び受け部30の各々を、モールドにより一体形成することにより、簡単にかつ安価に製造できることになる。
そして、受け部30を筐体の必要な箇所に取り付けるだけで、位置精度が要求される筐体の穴明け作業などが必要なくなり、特に、受け部30をモールドにより一体形成すれば、この取り付けは極めて簡単となるものである。
本発明の実施の形態の分解斜視図である。 本発明の実施の形態の組み立て後の斜視図である。 本発明の実施の形態の組み立て後の構造を示す図であり、側面図、正面図、背面図、上面図である。 図3の正面拡大図である。 図3のA−A線断面図である。 本発明の他の実施の形態を示す図である。 固定すべきケーブルの断面形状の変化にも対応可能であることを示す図である。 本発明の他の実施の形態を説明するための図である。 本発明の更に他の実施の形態を説明するための図である。 本発明の別の実施の形態を説明するための図である。 本発明に関連するケーブル固定構造の例を示す図である。 本発明に関連するケーブル固定構造の他の例を示す図である。
符号の説明
10 ケーブル
20 把持部
21,22 プレート(把持部材)
23,24 背面当て
25〜27 継ぎ手
28 連結部材
29 爪
30 受け部
31,32 受けリブ(ガイド部材)
33 ケーブル受け止め部
34,35 背面受けリブ
36 波型

Claims (6)

  1. 対向間隙が下方向にいくに従って次第に狭くなるように対向配置された一対のガイド部材と、
    ケーブルを直交方向から対向して把持するために対向間隙が変更自在に連結された一対のケーブル把持部材とを含み、
    前記一対のケーブル把持部材を、前記一対のガイド部材の対向面をそれぞれガイドとして前記一対のガイド部材の対向間隙へ挿入することにより、前記一対のケーブル把持部材の対向間隙において前記ケーブルを把持するようにしたことを特徴とするケーブル固定構造。
  2. 前記一対のガイド部材のガイド面はテーパ状であり、前記ガイド面と接触する前記一対のケーブル把持部材の面は、当該ガイド面のテーパと同一傾斜角のテーパ状であることを特徴とする請求項1記載のケーブル固定構造。
  3. 前記ケーブルの直交下方向への移動を阻止するケーブル受け止め部材を、更に含むことを特徴とする請求項1または2記載のケーブル固定構造。
  4. 前記一対のケーブル把持部材の前記ケーブルと平行方向への移動を阻止する阻止部材を、前記一対のガイド部材及び前記一対の把持部材に設けたことを特徴とする請求項1または2記載のケーブル固定構造。
  5. 前記一対のケーブル把持部材の前記直交方向への移動を阻止する阻止部材を、更に含むことを特徴とする請求項1〜4いずれか記載のケーブル固定構造。
  6. 前記一対のケーブル把持部材の対向面は、凹凸状とされていることを特徴とする請求項1〜5いずれか記載のケーブル固定構造。
JP2008202506A 2008-08-06 2008-08-06 ケーブル固定構造 Expired - Fee Related JP4788007B2 (ja)

Priority Applications (1)

Application Number Priority Date Filing Date Title
JP2008202506A JP4788007B2 (ja) 2008-08-06 2008-08-06 ケーブル固定構造

Applications Claiming Priority (1)

Application Number Priority Date Filing Date Title
JP2008202506A JP4788007B2 (ja) 2008-08-06 2008-08-06 ケーブル固定構造

Publications (2)

Publication Number Publication Date
JP2010041833A true JP2010041833A (ja) 2010-02-18
JP4788007B2 JP4788007B2 (ja) 2011-10-05

Family

ID=42013794

Family Applications (1)

Application Number Title Priority Date Filing Date
JP2008202506A Expired - Fee Related JP4788007B2 (ja) 2008-08-06 2008-08-06 ケーブル固定構造

Country Status (1)

Country Link
JP (1) JP4788007B2 (ja)

Cited By (2)

* Cited by examiner, † Cited by third party
Publication number Priority date Publication date Assignee Title
JP2012226025A (ja) * 2011-04-18 2012-11-15 Nec Engineering Ltd 光ファイバ用クランプ構造及びクランプ方法
JP2013039233A (ja) * 2011-08-16 2013-02-28 Heiwa Corp 弾球遊技機

Citations (3)

* Cited by examiner, † Cited by third party
Publication number Priority date Publication date Assignee Title
JP2006309991A (ja) * 2005-04-26 2006-11-09 Yazaki Corp グロメット及びハーネス配索構造
JP2007128051A (ja) * 2005-10-06 2007-05-24 Mitsubishi Electric Corp 光端末回線装置
JP2007517255A (ja) * 2003-12-24 2007-06-28 スリーエム イノベイティブ プロパティズ カンパニー 光コネクタ、コネクタ付き光ファイバ、光ファイバ接続装置及び光ファイバ接続方法

Patent Citations (3)

* Cited by examiner, † Cited by third party
Publication number Priority date Publication date Assignee Title
JP2007517255A (ja) * 2003-12-24 2007-06-28 スリーエム イノベイティブ プロパティズ カンパニー 光コネクタ、コネクタ付き光ファイバ、光ファイバ接続装置及び光ファイバ接続方法
JP2006309991A (ja) * 2005-04-26 2006-11-09 Yazaki Corp グロメット及びハーネス配索構造
JP2007128051A (ja) * 2005-10-06 2007-05-24 Mitsubishi Electric Corp 光端末回線装置

Cited By (2)

* Cited by examiner, † Cited by third party
Publication number Priority date Publication date Assignee Title
JP2012226025A (ja) * 2011-04-18 2012-11-15 Nec Engineering Ltd 光ファイバ用クランプ構造及びクランプ方法
JP2013039233A (ja) * 2011-08-16 2013-02-28 Heiwa Corp 弾球遊技機

Also Published As

Publication number Publication date
JP4788007B2 (ja) 2011-10-05

Similar Documents

Publication Publication Date Title
US9323007B1 (en) One-piece optical fiber adapter capable of switching coupling polarity of optical fiber connectors
CN104459897B (zh) 光纤传感器用光纤单元
CN102859409B (zh) 光耦合构造、光耦合构造的组装方法
JP2014195499A5 (ja)
JP4788007B2 (ja) ケーブル固定構造
JP4648548B2 (ja) 長尺体カバーの接続部
CN106030921B (zh) 连接器的端子保持构造
JP2015220919A (ja) 電線固定構造
JP2014211623A (ja) ロッドレンズアレイおよびその製造方法
JP2017063573A (ja) フラットケーブル固定構造
JP2013002498A (ja) 保持部材
JP6084107B2 (ja) コネクタ
JP2002075149A (ja) 多光軸光電センサ
CN104165643B (zh) 线性编码器
JP7207937B2 (ja) 係合部材
US9898057B2 (en) Fan fixing device
CN204693189U (zh) 背光组件及液晶显示器
JP4655067B2 (ja) ケーブル把持構造
JP7132817B2 (ja) 係合部材
JP6247596B2 (ja) コネクタ組立体
JP2017048881A (ja) 配線保持構造
JP2001201640A (ja) 配線固定具
JP2016197482A (ja) 電子機器の格納装置
JP2016183678A (ja) パイプスペーサおよびワイヤハーネス
CN104679169A (zh) 硬盘承载模块

Legal Events

Date Code Title Description
A977 Report on retrieval

Free format text: JAPANESE INTERMEDIATE CODE: A971007

Effective date: 20100819

A131 Notification of reasons for refusal

Free format text: JAPANESE INTERMEDIATE CODE: A131

Effective date: 20100914

A521 Request for written amendment filed

Free format text: JAPANESE INTERMEDIATE CODE: A523

Effective date: 20101108

TRDD Decision of grant or rejection written
A01 Written decision to grant a patent or to grant a registration (utility model)

Free format text: JAPANESE INTERMEDIATE CODE: A01

Effective date: 20110621

A01 Written decision to grant a patent or to grant a registration (utility model)

Free format text: JAPANESE INTERMEDIATE CODE: A01

A61 First payment of annual fees (during grant procedure)

Free format text: JAPANESE INTERMEDIATE CODE: A61

Effective date: 20110701

FPAY Renewal fee payment (event date is renewal date of database)

Free format text: PAYMENT UNTIL: 20140729

Year of fee payment: 3

R150 Certificate of patent or registration of utility model

Ref document number: 4788007

Country of ref document: JP

Free format text: JAPANESE INTERMEDIATE CODE: R150

Free format text: JAPANESE INTERMEDIATE CODE: R150

S111 Request for change of ownership or part of ownership

Free format text: JAPANESE INTERMEDIATE CODE: R313111

R350 Written notification of registration of transfer

Free format text: JAPANESE INTERMEDIATE CODE: R350

LAPS Cancellation because of no payment of annual fees