JP2010040912A - 密閉容器の蓋開閉システム及び蓋開閉方法 - Google Patents

密閉容器の蓋開閉システム及び蓋開閉方法 Download PDF

Info

Publication number
JP2010040912A
JP2010040912A JP2008204157A JP2008204157A JP2010040912A JP 2010040912 A JP2010040912 A JP 2010040912A JP 2008204157 A JP2008204157 A JP 2008204157A JP 2008204157 A JP2008204157 A JP 2008204157A JP 2010040912 A JP2010040912 A JP 2010040912A
Authority
JP
Japan
Prior art keywords
opening
fixing
pod
lid
container
Prior art date
Legal status (The legal status is an assumption and is not a legal conclusion. Google has not performed a legal analysis and makes no representation as to the accuracy of the status listed.)
Granted
Application number
JP2008204157A
Other languages
English (en)
Other versions
JP5263587B2 (ja
Inventor
Toshihiko Miyajima
俊彦 宮嶋
Atsushi Emoto
淳 江本
Current Assignee (The listed assignees may be inaccurate. Google has not performed a legal analysis and makes no representation or warranty as to the accuracy of the list.)
TDK Corp
Original Assignee
TDK Corp
Priority date (The priority date is an assumption and is not a legal conclusion. Google has not performed a legal analysis and makes no representation as to the accuracy of the date listed.)
Filing date
Publication date
Application filed by TDK Corp filed Critical TDK Corp
Priority to JP2008204157A priority Critical patent/JP5263587B2/ja
Publication of JP2010040912A publication Critical patent/JP2010040912A/ja
Application granted granted Critical
Publication of JP5263587B2 publication Critical patent/JP5263587B2/ja
Active legal-status Critical Current
Anticipated expiration legal-status Critical

Links

Images

Landscapes

  • Container, Conveyance, Adherence, Positioning, Of Wafer (AREA)

Abstract

【課題】 ローディングされたポッドを固定する際に、固定力によるポッドの変形を防止可能なFIMSシステムを提供する。
【解決手段】 FIMSシステムにポッドを固定するポッド固定システムよりポッドに作用する固定力に対し、当該固定力に起因するポッドの変形に対してFIMSシステムに埋設される位置決めピンが当該変形を抑制する抗力を発生可能となるように固定力の作用線を配置する。
【選択図】 図3

Description

本発明は、半導体製造プロセス等において、ポッドと呼ばれる搬送容器に内部保持されたウエハを半導体処理装置間にて移送する際に用いられる、所謂FIMS(Front-Opening Interface Mechanical Standard)システムに関する。より詳細には、当該FIMSシステムにおいて用いられる、ウエハを収容する密閉容器たる所謂FOUP(Front-Opening Unified Pod)と呼ばれるポッドの蓋を開閉して該ポッドに対するウエハの移載を行うFIMSシステムたる蓋開閉システム及び当該システムを用いた蓋開閉方法に関する。
近年、半導体製造プロセスは、処理装置内部、ポッド(ウエハの収容容器)、及び当該ポッドから処理装置への基板受け渡しを行う微小空間のみを高清浄状態に保持し、その他の空間の清浄度はある程度のレベルに維持して行われている。ポッドは、その内部に複数のウエハを平行且つ隔置した状態で保持可能な棚と、外面を構成する面の一つにウエハ出し入れに用いられる開口とを有する略立方体形状を有する本体と、その開口を閉鎖する蓋とから構成される。この開口が形成されている面がポッドの底面ではなく一側面(微小空間に対して正対する面)に位置するポッドを前述したFOUPと総称している。
また、上述した微小空間は、ポッドの開口と向かい合う開口部と、開口部を閉鎖するドアと、半導体処理装置側に設けられた処理装置側の他の開口部と、開口部からポッド内部に侵入してウエハを保持すると共に該処理装置側の他の開口部を通過して処理装置側にウエハを搬送する移載ロボットとを有している。また、微小空間を形成する構成は、ドア正面にポッド開口が正対するようポッドを支持する載置台を有している。この載置台の上面には、ポッド下面に設けられた位置決め用の穴に嵌合されてポッドの載置位置を規定する位置決めピンと、ポッド下面に設けられた被クランプ部と係合してポッドを載置台に対して固定するクランプユニットとが配置されている。通常、載置台はドア方向に対して所定距離の前後移動が可能となっている。ポッド内のウエハを処理装置に移載する際には、ポッドが載置された状態でポッドの蓋がドアと接触するまでポッドを移動させ、接触後にドアによってポッド開口部からその蓋が取り除かれる。これら操作によって、ポッド内部と処理装置内部とが微小空間を介して連通することとなり、以降ウエハの移載操作が繰り返して行われる。この載置台、ドア、開口部、ドアの開閉機構、開口部が構成された微小空間の一部を構成する壁等を含めて、前述したFIMSシステムと総称される。
特開2002−164412号公報 特許第3917138号 特開2004−235516号公報
前述したポッド固定用のクランプユニットとしては、例えば特許文献1或いは2に開示される構成等が知られている。これらクランプユニットは、ポッド下面に配置された被クランプ部をクランプし、下方に付勢することによってポッドを載置台に対して固定している。ここで、ポッドは主として樹脂等の素材により形成されることが多く、機械的は負荷が大きい場合には変形する可能性が存在する。また、通常被クランプ部の形成部位に対しては特に補強等施されていないことから、従来はこの機械的な負荷の大きさを適当なものとする等の対策が為されていた。しかしながら、昨今のウエハ等基板の大径化に伴ってポッドのサイズが大型化し、十分なクランプ力を被クランプ部に加えることとポッドの変形を抑制することとの両立が難しくなってきている。
また、ポッドの載置位置を規定する位置決めピンとしては特許文献3に開示する構成が知られている。例えば、載置台上に位置決めピンとは異なる突起を配置し、被クランプ部を当該突起によって支持することにより、変形を抑制する方法も考えられる。しかし、この様な突起の存在は位置決めピンの作用の妨げとなり、実際的な対応策とはなり得ない。また、ポッドサイズが大きくなりその重量も大きくなった場合、例えば一の位置決めピンがポッドにおける位置決め用の穴に対して適切に嵌合していない場合であっても、ポッドの重量によって当該穴の構成面と位置決めピンとが摺動せず、そのままの状態を保つ場合が起こり得る。このような場合に従来のような方式のクランプユニットによるポッドの固定を為そうとした場合、ポッドに加えられる負荷及び当該負荷により生じる変形はより大きくなると考えられる。
本発明は以上の状況に鑑みて為されたものであり、大型化したポッドであっても、載置台に対して固定した状態においてポッドに対して変形を与えない蓋開閉システム、及びポッドの位置決め凹部と載置台上の位置決めピンとを常に適切な位置関係として、ポッドを載置台に対して適切に位置決めしてこれを固定保持することを可能とする蓋開閉方法の提供を目的としている。
上記課題を解決するために、本発明に係る蓋開閉システムは、蓋と蓋により閉鎖される開口を一側面に有すると共に内部に被収容物を収容可能な密閉容器に対して蓋を開閉して密閉容器内部への被収容物の挿脱を可能とする蓋開閉システムであって、第一の開口部を有する微小空間と、第一の開口部を閉鎖する位置と開放する位置との間で移動可能なドアと、第一の開口部に対して開口が正対するように密閉容器を載置可能なドッキングプレートと、を有し、ドッキングプレートは密閉容器を固定する密閉容器固定システム、及び密閉容器に設けられた位置決め凹部に嵌合して密閉容器のドッキングプレートに対する位置決めを為す位置決めピン、を有し、密閉容器を前記ドッキングプレートに対して固定するために密閉容器固定システムが呈する固定力は、固定力に起因する密閉容器の変形に対して位置決めピンが変形を抑制する抗力を発生可能となるように固定力の作用線が配置されることを特徴としている。
なお、前述した蓋開閉システムにおいて、固定力の作用線は、位置決めピンの軸線と一致することが好ましい。また、密閉容器固定システムは収容容器下面に密着可能な吸着パッドを有し、位置決めピンは吸着パッド内部に配置されることが好ましい。
また、上記課題を解決するために、本発明に係る蓋開閉方法は、蓋と蓋により閉鎖される開口を一側面に有すると共に内部に被収容物を収容可能な密閉容器に対して蓋を開閉して密閉容器内部への被収容物の挿脱を可能とする蓋開閉システムにおいて、密閉容器より蓋を除去或いは取り付けを為して開口を開閉する蓋開閉方法であって、蓋開閉装置は第一の開口部を有する微小空間と、第一の開口部を閉鎖する位置と開放する位置との間で移動可能なドアと、第一の開口部に対して開口が正対するように密閉容器を載置可能なドッキングプレートと、を有し、ドッキングプレートは密閉容器を固定する複数の密閉容器固定システム、及び密閉容器に設けられた位置決め凹部に嵌合して密閉容器のドッキングプレートに対する位置決めを為す密閉容器固定システムに応じた複数の位置決めピン、を有し、密閉容器を前記ドッキングプレートに対して固定するために密閉容器固定システムが呈する固定力は、固定力に起因する密閉容器の変形に対して各々対応する位置決めピンが変形を抑制する抗力を発生可能となるように固定力の作用線が配置され、蓋開閉方法は、ドッキングプレート上に密閉容器を載置し、位置決め凹部に対して位置決めピンが略嵌合し、固定力が複数の密閉容器固定システム各々より順次発生されることを特徴としている。
なお、上述した蓋開閉方法において、密閉容器固定システムは収容容器下面に密着可能な吸着パッドを有し、位置決めピンは吸着パッド内部に配置され、密閉容器の固定に際し、複数の密閉容器固定システムの内、固定力を発生済みの密閉容器固定システム及び固定力を次に発生予定の密閉容器固定システム以外については、固定力とは逆の方向に作用する力が加えられることが好ましい。
本発明によれば、位置決めピンによってポッドを支持する位置において、ポッドに対する固定力を作用させている。従って、ポッド底面に生じる曲げモーメントはごく小さく抑えられ、ポッドの変形を防止することが可能となる。また、本発明によれば、ポッドに対して固定力を加える位置は位置決めピンを受容する位置決め凹部の配置と位置している。通常このような位置決め凹部が存在する領域は、位置決めピンによる支持に耐えるために高い剛性が付与されている。従って、固定力がポッドにおける剛性の高い領域に対して付与されることとなり、固定力が比較的大きい場合であってもポッドの変形を効果的に抑制或いは防止することが可能となる。更に、本発明では、位置決めピンに対応して当該ピンの埋設方向に固定力が作用する。従って、ポッド載置時において位置決め凹部と位置決めピンとの位置関係が不適切な場合であっても、位置決め凹部がその中心に向かった凹む傾斜面を有することで、ポッド固定時の固定力の付与によりこれら位置関係の是正が為されるという効果を期待できる。
また、本発明によれば、ポッドの固定に吸着パッドを用いることとして当該吸着パッドの中心に位置決めピンを埋設している。このため、位置決めピンとポッドとの接触点を中心としてその周囲を当該ピンの埋設方向に吸引、固定する固定力を作用させることとなる。従って、固定力が位置決めピンとポッドとの接触点に対して特定の方向に偏ることが防止され、ポッドと載置台との位置関係をより適切な状態としてポッドを固定することが可能となる。また、本発明によれば、複数の位置決めピンに応じた位置での固定力の付加を各々異なるタイミングにて実行することとしている。当該様式の操作を通じてポッドの固定を為すことにより、個々の固定力を付加する際に生じる微小な衝撃等により、仮に位置決めピン先端と位置決め凹部形成面とがかみ合った状態で位置ずれが生じていたとしても、これらを互いに摺動させて適切な位置関係を得ることが可能となる。
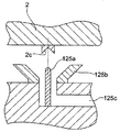
次に、本発明の一実施形態について、以下に図面を参照して説明する。図1は本発明の一実施形態に係る蓋開閉システムの側断面図であり、図2はポッドの開口を蓋が閉鎖した状態での該システム101におけるポッド載置部、ドア、ポッド、及び蓋等を同様の様式にて拡大して示した図である。また、更に図3は、当該蓋開閉システムおける主要部たる載置台を斜視図により示している。また、図4は図3に示すポッド固定手段及びその近傍の構成、及び対応するポッドの位置決め凹部及びその近傍を断面として示す図である。
本発明に係る蓋開閉システムであるFIMSシステム101は、微小空間103を構成する筐体105及び筐体105に隣接して配置されるポッド載置部121を有する。筐体105は、更にファン107、ロボット109、第一の開口部111、第二の開口部113、ドアシステム115を有する。ファン107は筐体105によって微小空間103の上部に配置され、筐体105の外部空間に存在する気体を微小空間内部に導入する。筐体105の下部には気流が流出可能となるような構造が配置されており、微小空間103内部で発生する粉塵等は当該気流に運ばれて筐体105の下部から外部空間に排出される。ロボット109におけるロボットアーム109aは、第一の開口部111及び第二の開口部113を介して微小空間の外部に突出可能となっている。第一の開口部111はドアシステム115におけるドア115aにより一見閉鎖状態とされるが、ドア115aの外周と第一の開口部111の内周面との間には隙間が形成されることから、当該ドア115aは第一の開口部111を略閉鎖可能となっていると述べる。第二の開口部113は、ウエハ処理装置117の内部と接続されているが、当該ウエハ処理装置117の詳細に関しては本発明と直接の関係を有さないために本明細書における説明は省略する。
ポッド載置部121は、ドッキングプレート123、ポッド固定システム125、及びドッキングプレート駆動システム127を有する。ドッキングプレート123の上面は略平面とされており、該上面にはポッド固定システム125が配置される。本実施形態において、ポッド固定システム125は、図3及び図4に示されるように、位置決めピン125a、ポッド固定用吸着パッド125b、及びポッド固定用排気系125cから構成される。本実施形態では、固定用吸着パッド125bは、上面側に開口するリップ部を有する略環形状を有し、弾性部材(例えばゴム等)より構成される。また、位置決めピン125aは、ポッド固定用吸着パッド125bの中心部分において、該ポッド固定用吸着パッド125bが吸着力、即ちポッド1に対する固定力を作用させる作用軸(作用線)と位置決めピン125aの軸心とが一致するように、ドッキングプレート123上に埋設される。ポッド固定用排気経路125cはポッド固定用吸着パッド125aの下部開口と連通し、その延長上で不図示の所謂排気ポンプ及び電磁バルブ等から構成される排気システム129(図6参照)と接続されている。位置決めピン125aは、ポッド本体2の下面に設けられた位置決め凹部(穴)2cに嵌合し、ピン先端部が凹部の最奥部(中心部)に至ることによりポッド1とドッキングプレート123との位置関係を決定する。実際のポッド固定時においては、ポッド固定用吸着パッド125bの上面リップ部がポッド本体2の下面に密着し、位置決め凹部2cを位置決めピン125bの先端に押し付けるようにポッド本体2を保持する。また、その際、ポッド固定用吸着パッド125bからポッド本体2に加えられる固定力の作用線は、位置決めピン125aの軸心と一致し、該固定力に対するポッドの変形を位置決めピン125aに生じる抗力により抑制している。即ち、ポッド固定システム125がポッド本体2に及ぼす固定力の作用線は、当該固定力によりポッド本体2に生じる変形を抑制するように位置決めピン125bが抗力を発生可能となる位置に配置される。
なお、ドッキングプレート123は、ポッド1を上面に載置した際に、ポッド1における本体開口2aが前述した第一の開口部111と正対するよう配置されている。ドッキングプレート駆動システム127は、不図示のガイドレール127a及び駆動シリンダ127bを用いて、ドッキングプレート123と共に該所定位置に固定されたポッド1を該第一の開口部111に向かう方向及び離間する方向に駆動する。駆動用シリンダ127bは載置台121の本体部に一端部が固定されており、他端部となる伸縮するシリンダ端部がドッキングプレート123に固定されている。ドッキングプレート123はガイドレール127aに対して摺動可能に支持されており、駆動シリンダ127bのシリンダ端部の伸縮に応じてガイドレール127a上を摺動する。ここで、ドッキングプレート123は、ポッド1を当該ドッキングプレート123上に外部から搭載する(ロードする)或いは取り除く(アンロードする)位置が微小空間103から最も離れた位置に存在することとなり、ポッドの蓋3を取り外す位置が微小空間103に対して最も接近する位置となる。
ドア115aの外部空間側面(ポッド1と対向する面)には、図2(及び図6)に示すように、ラッチキー115eが設けられている。当該ラッチキー115eはポッド1の蓋3の表面に設けられた不図示のラッチ機構を操作し、蓋3のポッド本体2に対する固定、固定の解除の動作を行う。吸着パッド115kは該蓋3と当接した状態で不図示の配管を通じて負圧供給源108(図6参照)より負圧を供給することにより該蓋3を吸着し、当該蓋3をドア115aによって保持することを可能とする。ドアシステム115は、ドアアーム115b、ドア開閉アクチュエータ115c及びドア上下機構115dを有する。ドアアーム115bは棒状の部材からなり、一端においてドア115aを支持し、他端においてドア開閉アクチュエータ115cと連結されており、中間部の適当な位置において当該位置を中心に回転可能に軸支されている。ドア開閉アクチュエータ115cによって該回転中心を軸としてドアアーム115bは回転し、該ドアアーム115bの一端及びここに支持されるドア115aは第一の開口部111に対して接近或いは離間の動作を行う。ドア上下機構115dは、ドア開閉アクチュエータ115cと前述したドアアーム115bの回転軸とを支持し、上下動用アクチュエータによって上下方向に延在するガイドに沿って当該アクチュエータ及びこれに支持されるドアアーム115b及びドア115aを上下方向に駆動する。
なお、図6に当該FIMSシステム101の構成をブロック図として示す。上述したファン107、ロボット109、ドアシステム115、ポッド固定システム125、及びドッキングプレート駆動システム127は、制御装置102によって各々制御される。ドアシステム115は、前述したラッチキーの駆動機構115f、ドア開閉アクチュエータ115c、及びドア上下機構115dを各々独立して制御可能であるが、実際上はこれら各々の構成が一連のタイムチャートに応じて動作するようにこれら構成を制御する。なお、吸着パッド115kに対する負圧供給源108からの負圧の供給及び供給停止(負圧の破壊)の動作は、制御装置102によって行われる。ドッキングプレート駆動システム127は、駆動シリンダ127bの駆動のオンオフを行うが、当該駆動シリンダ127の動作によってドッキングプレート123が確実に所定の二位置、即ちポッド1のロード位置に存在する場合とポッド1がウエハ挿脱可能な位置であるドック位置に存在する場合とを検知する必要がある。
このため、ポッド1がドッキングプレート123上の載置されたこと、及びドッキングプレート123に対してポッド1をロード・アンロードすべき位置に該ドッキングプレート123が存在することを検知するロードセンサ127dが、ドッキングプレート駆動システム127に接続されている。また、ドッキングプレート123が上述したドック位置に存在するか否かを検知するドックセンサ127cも該ドッキングプレート駆動システム127に接続されている。制御装置102は排気システム129にも接続されており、ロードセンサ127dがドッキングプレート123へのポッド1の載置を検知した信号に応じて当該排気システム129の動作を制御する。また、排気システム129に繋がる排気経路には吸着センサ127fが配置される。当該吸着センサ127fとしては例えば圧力計が用いられ、ポッド固定用吸着パッド125bによるポッド1の保持によって該排気経路内が所定の一定の圧力値となったことにより、ポッド1の保持が検知される。なお、吸着保持の確認として、所定の圧力値が得られた後、タイマ102aにおいて所定時間の経過が確認されたことで、吸着保持が為されたと判断しても良い。また、当該排気システム129では、例えば加圧源と接続し、ポッド固定用吸着パッド125bからガスの噴出しを行い、当該ポッド固定用吸着パッドに対応する位置決め凹部2cの一時的な浮き上げと再度の位置決めの操作を促す構成としても良い。
ここで、実際にウエハ処理作業を行う際の当該FIMSシステム101の動作について説明する。ウエハ処理作業において、所定枚数のウエハを収容し内部が清浄気体によって満たされたポッド1がドッキングプレート123上に載置される。ロードセンサ127dがポッドの載置を検知すると、制御装置による排気システム129の操作が行われ、ポッド固定システム125が動作してドッキングプレート123に対するポッド1の吸着固定が為される。なお、この吸着固定操作は、位置決めピン125aの軸心に沿って為される。このため、仮にポッドの位置決め凹部2cの中央とずれた位置が位置決めピン125aの軸心上に存在し、かみ合ったような状態、即ち位置決めピン125aが位置決め凹部2cに略嵌合した状態にあったとしても、該位置決め凹部2cに対しては、位置決めピン125a上の所定位置に該位置決め凹部2cの中央部が移動するような力が作用する。また、本実施形態では、複数存在するポッド固定用吸着パッド125b各々に対して、タイマ102aが指定する所定の時間間隔にて吸着保持動作を行わせている。これにより、個々のポッド固定用吸着パッド125bが動作する際にポッドを水平面内にて所定位置に動かす力が作用することとなり、ポッド1の正しい載置状態への移動が促される。また、当該操作を行った後であっても吸着センサ127fにより全てのポッド固定用吸着パッドが適当な吸着保持状態を得ていないことが確認された場合には、前述した吸着位置に対するガスの送気を行い、更にポッド1の適正載置位置への移動を促すこととしても良い。即ち、複数の密閉容器固定システム125の内の、固定力を発生済みのもの及び次に固定力を発生予定のものを除いた他のシステムに対して固定力の作用方向とは逆の方向の力を作用させ、ポッド本体2に対して部分的に水平移動が容易な状態を形成することが好ましい。これにより、所謂かみ合った状態のまま適正位置に移動できなかった位置決め凹部の水平移動の容易化を図り、確実な固定状態を得やすくすることが可能となる。
続いてドッキングプレート駆動システム127が動作し、ポッド1を第一の開口部111に向けて駆動する。具体的には、ポッド固定システム125によってドッキングプレート123と一体化されたポッド1を、ドッキングプレート123を介する様式にて駆動シリンダ127bが移動させる。その際、ドア115aは第一の開口部111を略閉鎖する位置で停止している。当該駆動動作は、ポッド1の蓋3がドア115aの当接面と当接し、ドッキングプレート123と第一の開口部111と所定の位置関係となった段階にて終了する。この時、ラッチキー駆動機構115fによるラッチキー115eを介したポッド1の蓋3の固定解除動作が為される。同時に、吸着パッド115kが蓋3を吸着し、蓋3がドア115aによって保持される。
当該状態からドア開閉アクチュエータ115cが動作を開始し、ドアアーム115bが回動して蓋3を保持するドア115aを第一の開口部111から微小空間103の内部方向に運ぶ。ドアアーム115bが所定角度で回動を停止した後、ドア上下機構115dが動作を開始し、ドア開閉アクチュエータ115cと共にドア115aを下方に移動させる。当該動作によって第一の開口部111は全開状態となり、微小空間103は第一の開口部111を介してポッド本体2の内部と連通した状態となる。この状態においてロボット109が動作を開始し、ロボットアーム109aによってウエハ4をポッド1の内部から第二の開口部113を介してウエハ処理装置117に搬送する。また、この状態を維持して、当該ロボット109は、更にウエハ処理装置117内部において所定の処理が施されたウエハ4をポッド1内部へも搬送する。蓋3をポッド1に取り付け、ポッド1をFIMSシステム101より取り外し可能とする場合には、基本的にはこれら動作が逆に行われる。
以上に述べた蓋開閉システムたるFIMSシステムを用いることにより、ポッド1に対して不要な変形を与えることなく、ドッキングプレート123に対するポッド本体2の固定を為すことが可能となる。なお、本発明では、ポッド本体2をドッキングプレート123に対して固定する際に、ポッド1の固定のために個々のポッド固定システム125がポッド1に作用する固定力の作用線を、ポッド1のドッキングプレート123に位置決めするための位置決めピン125aの軸線と一致させている。これにより、ポッド固定システム125からポッド1に作用する固定力は位置決めピン125aによって全て受容されることとなり、従来構成において問題とされたポッド1の変形は確実に抑えられることとなる。
ここで、本実施形態においては、最も簡便で動作が容易であり且つ固定動作のレスポンスに優れる吸着保持方式を用いている。しかしながら、本実施形態は、当該吸着パッドからなる構成に限定されない。次に図4と同様の様式を用いて本発明の他の形態を図5に示し、その詳細について説明する。本形態におけるポッド固定システム125は、ポッド下面に平行な水平方向と当該方向に垂直な垂直方向とに駆動可能な、従来の所謂クランプ機構131を有している。また、当該形態に対応するポッド本体2においては位置決め凹部2cに対して垂直上方の位置に張り出すように配置される被クランプ部2dが構成されたクランプ凹部2eが形成されている。クランプ機構131は、クランプ爪131aとクランプ爪駆動機構131bとを有する。クランプ爪131aは略L字状の部材であり、長辺部が垂直方向に延在してポッド固定状態でクランプ凹部2eに短辺部を進入可能な形状及び大きさを有し、長辺部開放端部がドッキングプレート123に固定されたクランプ爪駆動機構131bに固定され、長辺部連結端部(短辺部と連結する端部)がポッド1側(上方)に位置するように配置される。クランプ爪駆動機構131bは、クランプ爪131aを長辺方向に伸縮し、短辺方向に移動させる。また、短辺部は所定の部位に下方に突き出す円錐状のクランプ突起131cを有する。
実際のポッドの固定に際しては、ポッド1がドッキングプレート123上に載置された後、クランプ爪駆動機構131bが動作して、ポッド1をドッキングプレート123に対して固定する。その際、クランプ機構131は、まずクランプ爪131aを長辺方向に伸ばし、短辺部をクランプ凹部2e内に進入させる。続いて、クランプ爪駆動機構131bは、クランプ突起131cが被クランプ2dをクランプ可能な位置まで水平移動させる。なお、当該位置は、位置決めピン125aの軸心の延長線上にクランプ突起131cが存在する位置となる。当該状態からクランプ爪駆動機構131bがクランプ爪131aの長辺部を縮めることにより、被クランプ部2dに対する下方への押圧力(ポッド本体2に対する固定力)が加えられる。これにより、位置決めピン125aが位置決め凹部2cに嵌合するように被クランプ部2dがクランプ爪131aにより下方に押さえ込まれる。即ち、位置決めピン125a上に位置する被クランプ部2dを、クランプ突起131cと位置決めピン125aとにより挟持した状態となり、被クランプ部2dを介してポッド本体2がドッキングプレート123に対して固定されることとなる。
上述したように、本実施形態においては、位置決めピン125aの軸心方向に作用する固定力を、ポッド本体2の位置決め凹部2cを位置決めピン125aの先端に押し付けるように作用させることにより、当該位置決めピン125aによってポッドの変形を抑制させることしている。なお、上述した吸着保持形式の実施形態及びクランプ方式の実施形態においては、当該固定力の作用線を位置決めピン125aの軸線を一致させることとしている。しかし、本発明において固定力を作用する軸線は好適な当該配置に限定されない。即ち、ポッドの材質、ポッド本体における位置決め凹部周辺の構造に準じて、当該固定力によるポッドの変形に対して位置決めピンが当該変形を抑制する抗力を発生可能となるように固定力の作用線を配置することによって、上記実施形態に準じた効果が期待できる。
以上述べた実施形態では、本発明はウエハを対象とするFIMSシステムに関して主として述べている。しかしながら、本発明の適用対象は該システムに限定されず、例えばディスプレイ用のパネル、光ディスク等を収容する密閉容器等に対しても適用可能である。
本発明の一実施形態に係るロードポート装置の概略構成を示す側断面図である。 本発明の一実施形態に係るロードポート装置の主要部概略構成についてポッドがローディング位置に存在する状態を図1と同様の様式にて示す拡大側断面図である。 本発明の一実施形態に係るドッキングプレートの上面を斜視図により示す図である。 図3に示すポッド固定システムの断面構造を模式的に示す図である。 本発明の他の実施形態に係るポッド固定システムについて、図4と同様の様式にてこれを示す図である。 本発明の一実施形態に係るFIMSシステムの概略構成を示すブロック図である。
符号の説明
1:ポッド、 2:ポッド本体、 3:蓋、 4:ウエハ、 101:ロードポート装置、 102:制御装置、 103:微小空間、 105:筐体、 107:ファン、 108:負圧供給源 109:ロボット、 111:第一の開口部、 113:第二の開口部、 115:ドアシステム、 117:ウエハ処理装置、 121:ポッド載置部、 123:ドッキングプレート、 125:ポッド固定システム、 127:ドッキングプレート駆動システム、 129:排気システム、 131:クランプ機構

Claims (5)

  1. 蓋と前記蓋により閉鎖される開口を一側面に有すると共に内部に被収容物を収容可能な密閉容器に対して前記蓋を開閉して前記密閉容器内部への前記被収容物の挿脱を可能とする蓋開閉システムであって、
    第一の開口部を有する微小空間と、
    前記第一の開口部を閉鎖する位置と開放する位置との間で移動可能なドアと、
    前記第一の開口部に対して前記開口が正対するように前記密閉容器を載置可能なドッキングプレートと、を有し、
    前記ドッキングプレートは前記密閉容器を固定する密閉容器固定システム、及び前記密閉容器に設けられた位置決め凹部に嵌合して前記密閉容器の前記ドッキングプレートに対する位置決めを為す位置決めピン、を有し、
    前記密閉容器を前記ドッキングプレートに対して固定するために前記密閉容器固定システムが呈する固定力は、前記固定力に起因する前記密閉容器の変形に対して前記位置決めピンが前記変形を抑制する抗力を発生可能となるように固定力の作用線が配置されることを特徴とする蓋開閉システム。
  2. 前記固定力の作用線は、前記位置決めピンの軸線と一致することを特徴とする請求項1に記載の蓋開閉システム。
  3. 前記密閉容器固定システムは前記収容容器下面に密着可能な吸着パッドを有し、前記位置決めピンは前記吸着パッド内部に配置されることを特徴とする請求項1或いは2何れかに記載の蓋開閉システム。
  4. 蓋と前記蓋により閉鎖される開口を一側面に有すると共に内部に被収容物を収容可能な密閉容器に対して前記蓋を開閉して前記密閉容器内部への前記被収容物の挿脱を可能とする蓋開閉システムにおいて、前記密閉容器より前記蓋を除去或いは取り付けを為して前記開口を開閉する蓋開閉方法であって、
    前記蓋開閉装置は
    第一の開口部を有する微小空間と、
    前記第一の開口部を閉鎖する位置と開放する位置との間で移動可能なドアと、
    前記第一の開口部に対して前記開口が正対するように前記密閉容器を載置可能なドッキングプレートと、を有し、
    前記ドッキングプレートは前記密閉容器を固定する複数の密閉容器固定システム、及び前記密閉容器に設けられた位置決め凹部に嵌合して前記密閉容器の前記ドッキングプレートに対する位置決めを為す前記密閉容器固定システムに応じた複数の位置決めピン、を有し、
    前記密閉容器を前記ドッキングプレートに対して固定するために前記密閉容器固定システムが呈する固定力は、前記固定力に起因する前記密閉容器の変形に対して各々対応する前記位置決めピンが前記変形を抑制する抗力を発生可能となるように固定力の作用線が配置され、
    前記蓋開閉方法は、
    前記ドッキングプレート上に前記密閉容器を載置し、
    前記位置決め凹部に対して前記位置決めピンが略嵌合し、
    前記固定力が前記複数の密閉容器固定システム各々より順次発生されることを特徴とする密閉容器の蓋開閉方法。
  5. 前記密閉容器固定システムは前記収容容器下面に密着可能な吸着パッドを有し、前記位置決めピンは前記吸着パッド内部に配置され、
    前記密閉容器の固定に際し、前記複数の密閉容器固定システムの内、前記固定力を発生済みの前記密閉容器固定システム及び前記固定力を次に発生予定の前記密閉容器固定システム以外については、前記固定力とは逆の方向に作用する力が加えられることを特徴とする請求項5に記載の蓋開閉方法。
JP2008204157A 2008-08-07 2008-08-07 密閉容器の蓋開閉システム及び蓋開閉方法 Active JP5263587B2 (ja)

Priority Applications (1)

Application Number Priority Date Filing Date Title
JP2008204157A JP5263587B2 (ja) 2008-08-07 2008-08-07 密閉容器の蓋開閉システム及び蓋開閉方法

Applications Claiming Priority (1)

Application Number Priority Date Filing Date Title
JP2008204157A JP5263587B2 (ja) 2008-08-07 2008-08-07 密閉容器の蓋開閉システム及び蓋開閉方法

Publications (2)

Publication Number Publication Date
JP2010040912A true JP2010040912A (ja) 2010-02-18
JP5263587B2 JP5263587B2 (ja) 2013-08-14

Family

ID=42013111

Family Applications (1)

Application Number Title Priority Date Filing Date
JP2008204157A Active JP5263587B2 (ja) 2008-08-07 2008-08-07 密閉容器の蓋開閉システム及び蓋開閉方法

Country Status (1)

Country Link
JP (1) JP5263587B2 (ja)

Cited By (7)

* Cited by examiner, † Cited by third party
Publication number Priority date Publication date Assignee Title
JP2011203309A (ja) * 2010-03-24 2011-10-13 Shin-Etsu Chemical Co Ltd ペリクルの収納容器およびペリクル収納容器の搬送用台車
WO2015118775A1 (ja) * 2014-02-07 2015-08-13 村田機械株式会社 ガス注入装置及び補助部材
JP2016192495A (ja) * 2015-03-31 2016-11-10 Tdk株式会社 ガスパージ装置、ロードポート装置、パージ対象容器の設置台およびガスパージ方法
JP2017506836A (ja) * 2014-09-01 2017-03-09 ローツェ システムズ コーポレーション パージモジュール及びそれを含むロードポート
CN106684023A (zh) * 2017-03-14 2017-05-17 大族激光科技产业集团股份有限公司上海分公司 全封闭式smif系统
CN108886012A (zh) * 2016-03-29 2018-11-23 昕芙旎雅有限公司 装载端口
KR20210006044A (ko) * 2019-07-08 2021-01-18 세메스 주식회사 웨이퍼 보관용기 지지 유닛

Citations (3)

* Cited by examiner, † Cited by third party
Publication number Priority date Publication date Assignee Title
JP2004235516A (ja) * 2003-01-31 2004-08-19 Trecenti Technologies Inc ウエハ収納治具のパージ方法、ロードポートおよび半導体装置の製造方法
JP3917138B2 (ja) * 2004-01-23 2007-05-23 Tdk株式会社 ポッドオープナのポッドクランプユニット、当該ポッドクランプユニットを用いたポッドクランプ機構及びクランプ方法
WO2007116527A1 (ja) * 2006-04-11 2007-10-18 Hirata Corporation Foupオープナのfoupドア位置決め装置

Patent Citations (3)

* Cited by examiner, † Cited by third party
Publication number Priority date Publication date Assignee Title
JP2004235516A (ja) * 2003-01-31 2004-08-19 Trecenti Technologies Inc ウエハ収納治具のパージ方法、ロードポートおよび半導体装置の製造方法
JP3917138B2 (ja) * 2004-01-23 2007-05-23 Tdk株式会社 ポッドオープナのポッドクランプユニット、当該ポッドクランプユニットを用いたポッドクランプ機構及びクランプ方法
WO2007116527A1 (ja) * 2006-04-11 2007-10-18 Hirata Corporation Foupオープナのfoupドア位置決め装置

Cited By (13)

* Cited by examiner, † Cited by third party
Publication number Priority date Publication date Assignee Title
JP2011203309A (ja) * 2010-03-24 2011-10-13 Shin-Etsu Chemical Co Ltd ペリクルの収納容器およびペリクル収納容器の搬送用台車
TWI611492B (zh) * 2014-02-07 2018-01-11 村田機械股份有限公司 氣體注入裝置及輔助構件
WO2015118775A1 (ja) * 2014-02-07 2015-08-13 村田機械株式会社 ガス注入装置及び補助部材
US10014200B2 (en) 2014-02-07 2018-07-03 Murata Machinery, Ltd. Gas injection device and assisting member
JPWO2015118775A1 (ja) * 2014-02-07 2017-03-23 村田機械株式会社 ガス注入装置及び補助部材
JP2017506836A (ja) * 2014-09-01 2017-03-09 ローツェ システムズ コーポレーション パージモジュール及びそれを含むロードポート
US10141210B2 (en) 2014-09-01 2018-11-27 Rorze Systems Corporation Purge module and load port having the same
JP2016192495A (ja) * 2015-03-31 2016-11-10 Tdk株式会社 ガスパージ装置、ロードポート装置、パージ対象容器の設置台およびガスパージ方法
CN108886012A (zh) * 2016-03-29 2018-11-23 昕芙旎雅有限公司 装载端口
CN108886012B (zh) * 2016-03-29 2023-12-19 昕芙旎雅有限公司 装载端口
CN106684023A (zh) * 2017-03-14 2017-05-17 大族激光科技产业集团股份有限公司上海分公司 全封闭式smif系统
KR20210006044A (ko) * 2019-07-08 2021-01-18 세메스 주식회사 웨이퍼 보관용기 지지 유닛
KR102283430B1 (ko) 2019-07-08 2021-07-28 세메스 주식회사 웨이퍼 보관용기 지지 유닛

Also Published As

Publication number Publication date
JP5263587B2 (ja) 2013-08-14

Similar Documents

Publication Publication Date Title
JP5263587B2 (ja) 密閉容器の蓋開閉システム及び蓋開閉方法
JP6451453B2 (ja) ガスパージ装置、ロードポート装置、パージ対象容器の設置台およびガスパージ方法
JP4748816B2 (ja) 密閉容器の蓋開閉システム
JP4624458B2 (ja) 密閉容器及び該密閉容器の蓋開閉システム
JP4740414B2 (ja) 基板搬送装置
CN111775043B (zh) 基板保持装置及弹性膜
US8876173B2 (en) Substrate storage pod and lid opening/closing system for the same
KR102728530B1 (ko) 기판 처리 장치
KR102823236B1 (ko) 기판 처리 장치
US8819923B2 (en) Joint apparatus
KR102819994B1 (ko) 로드 포트
JP2016192495A (ja) ガスパージ装置、ロードポート装置、パージ対象容器の設置台およびガスパージ方法
JP6114060B2 (ja) 基板搬送装置、基板受渡位置確認方法及び基板処理システム
JP5263633B2 (ja) 密閉容器及び該密閉容器の蓋開閉システム
JP2006351619A (ja) 被処理物供給装置及び被処理物供給方法
KR102635493B1 (ko) 본딩 설비에서 다이를 이송하기 위한 장치 및 방법
JP4877662B2 (ja) 密閉容器及び該密閉容器の蓋開閉システム
JP2009200200A (ja) 密閉容器の蓋閉鎖方法及び密閉容器の蓋開閉システム
JP2018170358A (ja) 搬送容器接続装置、ロードポート装置、搬送容器保管ストッカー及び搬送容器接続方法
JP3917138B2 (ja) ポッドオープナのポッドクランプユニット、当該ポッドクランプユニットを用いたポッドクランプ機構及びクランプ方法
JP2005129706A (ja) ポッドオープナにおけるポッドクランプユニット、ポッドクランプユニットに対応するポッドおよびポッドクランプユニットを用いたクランプ機構およびクランプ方法
JP4791379B2 (ja) 基板処理装置、基板搬送方法、制御プログラムおよびコンピュータ読取可能な記憶媒体
KR20070010667A (ko) 리프트 장치를 채택한 반도체 제조설비
TW202439486A (zh) 安裝工具及安裝裝置
KR19990035845U (ko) 반도체 제조장비의 웨이퍼 안착장치

Legal Events

Date Code Title Description
A621 Written request for application examination

Free format text: JAPANESE INTERMEDIATE CODE: A621

Effective date: 20110511

A977 Report on retrieval

Free format text: JAPANESE INTERMEDIATE CODE: A971007

Effective date: 20111226

A131 Notification of reasons for refusal

Free format text: JAPANESE INTERMEDIATE CODE: A131

Effective date: 20120920

RD04 Notification of resignation of power of attorney

Free format text: JAPANESE INTERMEDIATE CODE: A7424

Effective date: 20121108

A521 Request for written amendment filed

Free format text: JAPANESE INTERMEDIATE CODE: A523

Effective date: 20121115

A131 Notification of reasons for refusal

Free format text: JAPANESE INTERMEDIATE CODE: A131

Effective date: 20130117

A521 Request for written amendment filed

Free format text: JAPANESE INTERMEDIATE CODE: A523

Effective date: 20130228

TRDD Decision of grant or rejection written
A01 Written decision to grant a patent or to grant a registration (utility model)

Free format text: JAPANESE INTERMEDIATE CODE: A01

Effective date: 20130404

A61 First payment of annual fees (during grant procedure)

Free format text: JAPANESE INTERMEDIATE CODE: A61

Effective date: 20130417

R150 Certificate of patent or registration of utility model

Free format text: JAPANESE INTERMEDIATE CODE: R150

Ref document number: 5263587

Country of ref document: JP

Free format text: JAPANESE INTERMEDIATE CODE: R150

R250 Receipt of annual fees

Free format text: JAPANESE INTERMEDIATE CODE: R250