JP2010040727A - 板状物の分割方法 - Google Patents

板状物の分割方法 Download PDF

Info

Publication number
JP2010040727A
JP2010040727A JP2008201401A JP2008201401A JP2010040727A JP 2010040727 A JP2010040727 A JP 2010040727A JP 2008201401 A JP2008201401 A JP 2008201401A JP 2008201401 A JP2008201401 A JP 2008201401A JP 2010040727 A JP2010040727 A JP 2010040727A
Authority
JP
Japan
Prior art keywords
position information
division
processing
machining
plate
Prior art date
Legal status (The legal status is an assumption and is not a legal conclusion. Google has not performed a legal analysis and makes no representation as to the accuracy of the status listed.)
Granted
Application number
JP2008201401A
Other languages
English (en)
Other versions
JP5372429B2 (ja
Inventor
Shigefumi Okada
繁史 岡田
Current Assignee (The listed assignees may be inaccurate. Google has not performed a legal analysis and makes no representation or warranty as to the accuracy of the list.)
Disco Corp
Original Assignee
Disco Abrasive Systems Ltd
Priority date (The priority date is an assumption and is not a legal conclusion. Google has not performed a legal analysis and makes no representation as to the accuracy of the date listed.)
Filing date
Publication date
Application filed by Disco Abrasive Systems Ltd filed Critical Disco Abrasive Systems Ltd
Priority to JP2008201401A priority Critical patent/JP5372429B2/ja
Publication of JP2010040727A publication Critical patent/JP2010040727A/ja
Application granted granted Critical
Publication of JP5372429B2 publication Critical patent/JP5372429B2/ja
Active legal-status Critical Current
Anticipated expiration legal-status Critical

Links

Images

Landscapes

  • Dicing (AREA)

Abstract

【課題】 作業効率を落とすことなく2台の加工装置を用いて板状物を分割することが可能な板状物の分割方法を提供することである。
【解決手段】 複数の分割予定ラインを有する板状物を第1及び第2の加工装置を用いて分割する板状物の分割方法であって、第1の加工装置で少なくとも1本の分割予定ラインを検出する分割予定ライン検出工程と、該分割予定ライン検出工程で検出した分割予定ラインに基づいて全ての分割予定ラインを割り出し、第1の加工装置で全ての分割予定ラインに沿って加工溝を形成する加工溝形成工程と、形成した該加工溝の位置を加工溝位置情報として記録する加工溝位置情報記録工程と、該加工溝位置情報記録工程で記録した加工溝位置情報を第2の加工装置に転送する加工溝位置情報転送工程と、該加工溝位置情報転送工程で転送された加工溝位置情報に基づいて、第2の加工装置で前記各加工溝を切削して板状物を分割する分割工程と、を具備したことを特徴とする。
【選択図】図7

Description

本発明は、複数の分割予定ラインを有する板状物を2台の加工装置を用いて分割する板状物の分割方法に関する。
シリコン基板にIC、LSI等のデバイスが複数形成された半導体ウエーハや、電子部品に使用される各種セラミック基板、樹脂基板、ガラス基板、サファイア基板等の板状物はダイシング装置、レーザー装置、ウォータジェット装置等の加工装置によって個々のチップに分割され、分割されたチップは各種電子機器に広く利用されている。
板状物の加工は板状物に形成されたストリートと呼ばれる複数の分割予定ラインに沿って遂行される。より具体的には、加工装置の加工手段がストリート上に位置決めされた後、所定のインデックス量(割り出し量)でインデックス(割り出し)送りされることで加工手段が順次ストリート上に位置付けられて板状物を個々のチップへ分割する。
ところが、パターン精度が悪いウエーハなどでは所定のインデックス値により切削ブレードをインデックス送りしながら切削加工を行うと、切削ブレードがストリートから外れてデバイス領域を加工してしまう恐れがある。
そこで、ダイシング装置(切削装置)では、切削する前に全てのストリート位置をアライメント手段で検出し、記憶しておく方法(特開平9−52227号公報)や、加工中に切削位置の補正を行う方法が提案されている(特開平11−283938号公報)。
一方、低誘電率絶縁体被膜(low−k膜)やテストエレメントグループ(TEG)が上面に形成された半導体ウエーハや、低温焼結セラミック(LTCC)、サファイア等の難切削材の加工では、一種類の加工装置では分割が難しい場合に種類の異なる2台の加工装置を用いることがある。
例えば、low−k膜やTEGが形成されたウエーハでは、切削ブレードで加工すると切削ブレードに目詰まりや目つぶれが生じて切削不良が発生する。そこで、レーザー加工装置を用いてレーザー照射によりlow−k膜やTEGを除去した後に、ダイシング装置を用いて切削ブレードをレーザー加工溝に位置付けて切削を行うことでチップへと分割する方法が広く採用されている(特開2006−190779号公報)。
特開平9−52227号公報 特開平11−283938号公報 特開2006−190779号公報
このように種類の異なる2台の加工装置を用いて板状物を分割する場合において、被加工物のパターン精度が良好であれば、第1の加工装置で加工溝を形成した後、第2の加工装置では所定のインデックス値で加工手段をインデックス送りすることで加工溝に第2の加工装置の加工手段を位置付けることができる。
ところが、パターン精度が悪い場合には、第2の加工装置の加工手段を第1の加工装置で形成した加工溝に位置付けるためには、第2の加工装置で加工溝を検出する必要があり、非常に効率が悪いという問題がある。
本発明はこのような点に鑑みてなされたものであり、その目的とするところは、2台の加工装置を用いて板状物を分割する際に、第1の加工装置で形成した加工溝を第2の加工装置で検出する必要がなく、第2の加工装置の加工手段を第1の加工装置で形成した加工溝に容易に位置付けることが可能な板状物の分割方法を提供することである。
請求項1記載の発明によると、複数の分割予定ラインを有する板状物を第1及び第2の加工装置を用いて分割する板状物の分割方法であって、第1の加工装置で少なくとも1本の分割予定ラインを検出する分割予定ライン検出工程と、該分割予定ライン検出工程で検出した分割予定ラインに基づいて全ての分割予定ラインを割り出し、第1の加工装置で全ての分割予定ラインに沿って加工溝を形成する加工溝形成工程と、形成した該加工溝の位置を加工溝位置情報として記録する加工溝位置情報記録工程と、該加工溝位置情報記録工程で記録した加工溝位置情報を第2の加工装置に転送する加工溝位置情報転送工程と、該加工溝位置情報転送工程で転送された加工溝位置情報に基づいて、第2の加工装置で前記各加工溝を切削して板状物を分割する分割工程と、を具備したことを特徴とする板状物の分割方法が提供される。
請求項2記載の発明によると、複数の分割予定ラインを有する板状物を第1及び第2の加工装置を用いて分割する板状物の分割方法であって、第1の加工装置で少なくとも1本の分割予定ラインを検出する分割予定ライン検出工程と、検出した分割予定ラインに基づいて全ての分割予定ラインを割り出し、全ての分割予定ラインの位置を記録する分割予定ライン位置情報記録工程と、記録した分割予定ラインの位置情報に基づいて、各分割予定ラインに沿って加工溝を形成する加工溝形成工程と、該分割予定ライン位置情報記録工程で記録した分割予定ラインの位置情報を第2の加工装置に転送する分割予定ライン位置情報転送工程と、該分割予定ライン位置情報転送工程で転送された分割予定ラインの位置情報に基づいて、第2の加工装置で各加工溝を切削して板状物を分割する分割工程と、を具備したことを特徴とする板状物の分割方法が提供される。
請求項1記載の発明によると、第1の加工装置で分割予定ラインに沿って加工溝を形成しながら加工溝の位置を加工溝位置情報として記録し、記録した加工溝位置情報を第2の加工装置に転送し、第2の加工装置では転送された加工溝位置情報に基づいて、各加工溝を切削して板状物を分割するので、第2の加工装置の加工手段を第1の加工装置で形成した加工溝に容易に位置付けることが可能となり、作業効率良く板状物を分割することができる。
請求項2記載の発明によると、第1の加工装置で少なくとも1本の分割予定ラインを検出するとともに、検出した分割予定ラインに基づいて全ての分割予定ラインを割り出し、全ての分割予定ラインの位置を記録する。
そして、記録した分割予定ラインの位置情報に基づいて、各分割予定ラインに沿って加工溝を形成し、次いで分割予定ラインの位置情報を第2の加工装置に転送し、第2の加工装置では転送された分割予定ラインの位置情報に基づいて、各加工溝を切削して板状物を分割する。従って、第2の加工装置の加工手段を第1の加工装置で形成した加工溝に容易に位置付けることが可能となり、作業効率良く板状物を分割することができる。
以下、本発明の板状物の分割方法を図面を参照して詳細に説明する。図1を参照すると、本発明の板状物の分割方法に使用するのに適した第1の加工装置としてのレーザー加工装置の概略構成図が示されている。
レーザー加工装置2は、静止基台4上にX軸方向に移動可能に搭載された第1スライドブロック6を含んでいる。第1スライドブロック6は、ボールねじ8及びパルスモータ10から構成される加工送り手段12により一対のガイドレール14に沿って加工送り方向、すなわちX軸方向に移動される。
第1スライドブロック6上には第2スライドブロック16がY軸方向に移動可能に搭載されている。すなわち、第2スライドブロック16はボールねじ18及びパルスモータ20から構成される割り出し送り手段22により一対のガイドレール24に沿って割り出し方向、すなわちY軸方向に移動される。
第2スライドブロック16上には円筒支持部材26を介してチャックテーブル28が搭載されており、チャックテーブル28は加工送り手段12及び割り出し送り手段22によりX軸方向及びY軸方向に移動可能である。チャックテーブル28には、チャックテーブル28に吸引保持されたLEDウエーハ等のワークをクランプするクランパ30が設けられている。
静止基台4にはコラム32が立設されており、このコラム32にはレーザービーム発振手段34を収容したケーシング35が取り付けられている。レーザービーム発振手段34から発振された加工用レーザービームは、ケーシング35の先端に取り付けられた集光器36の対物レンズによって集光されてチャックテーブル28に保持されている半導体ウエーハ等のワークに照射される。
ケーシング35の先端部には、集光器36とX軸方向に整列して加工用レーザービーム発振手段から発振されたレーザービームによってレーザー加工すべき加工領域を検出する撮像手段38が配設されている。
撮像手段38は、可視光によって撮像する通常のCCD等の撮像素子の他に、ワークに赤外線を照射する赤外線照射手段と、赤外線照射手段によって照射された赤外線を捕らえる光学系と、この光学系によって捕らえられた赤外線に対応した電気信号を出力する赤外線CCD等の赤外線撮像素子から構成される赤外線撮像手段を含んでおり、撮像した画像信号は後述するコントローラ(制御手段)40に送信される。
コントローラ40はコンピュータによって構成されており、制御プログラムに従って演算処理する中央処理装置(CPU)42と、制御プログラム等を格納するリードオンリーメモリ(ROM)44と、演算結果等を格納する読み書き可能なランダムアクセスメモリ(RAM)46と、カウンタ48と、入力インターフェイス50と、出力インターフェイス52とを備えている。
56は案内レール14に沿って配設されたリニアスケール54と、第1スライドブロック6に配設された図示しない読み取りヘッドとから構成される加工送り量検出手段であり、加工送り量検出手段56の検出信号はコントローラ40の入力エンターフェイス50に入力される。
60はガイドレール24に沿って配設されたリニアスケール58と第2スライドブロック16に配設された図示しない読み取りヘッドとから構成される割り出し送り量検出手段であり、割り出し送り量検出手段60の検出信号はコントローラ40の入力インターフェイス50に入力される。
撮像手段38で撮像した画像信号もコントローラ40の入力インターフェイス50に入力される。一方、コントローラ40の出力インターフェイス52からはパルスモータ10、パルスモータ20、レーザービーム発振手段34等に制御信号が出力される。
図2に示すように、レーザー加工装置2の加工対象であるlow−k膜やTEGが表面に形成された半導体ウエーハWの表面においては、第1のストリートS1と第2のストリートS2とが直交して形成されており、第1のストリートS1と第2のストリートS2とによって区画された領域に多数のデバイスDが形成されている。
ウエーハWは粘着テープであるダイシングテープTに貼着され、ダイシングテープTの外周部は環状フレームFに貼着されている。これにより、ウエーハWはダイシングテープTを介して環状フレームFに支持された状態となり、図1に示すクランパ30により環状フレームFをクランプすることによりチャックテーブル28上に支持固定される。
以下、上述したように構成されたレーザー加工装置2による半導体ウエーハWの加工方法(分割方法)について説明する。まず、撮像手段38でウエーハWを撮像して、少なくとも1本のストリート(分割予定ライン)S1を検出する。即ち、少なくとも1本のストリートS1を集光器36に対してアライメントする。他のストリートS1については、パターニングの設計データに基づいて割り出しをする。
代替案として、2本のストリートS1について或いは飛び飛びの3本以上のストリートS1についてアライメントを実行し、他のストリートS1についてはパターニングの設計データに基づいて割り出しをするようにしても良い。また、パターニングの精度の悪い半導体ウエーハWについては、全てのストリートS1についてアライメントを実行するようにしても良い。
次に、チャックテーブル28を90度回転してストリートS2を検出する。即ち、ストリートS2を集光器36に対してアライメントする。ストリートS2のアライメントについては、ストリートS1の場合と同様に、少なくとも1本のストリートS2、或いは複数本のストリートS2、或いは全てのストリートS2についてアライメントを実行するようにしても良い。
全てのストリートS1についての割り出しが完了したならば、レーザービーム発振手段34を駆動して集光器36からウエーハWに対してレーザービームを照射し、ストリートS1に沿って切削溝62を形成する。レーザービーム発振手段34から発振するレーザービームとしては、例えばYAGレーザーの第三高調波である波長355nmのレーザービームを使用する。
ウエーハWをY軸方向に割り出し送りしながら全てのストリートS1に沿って加工溝62を形成する。次いで、チャックテーブル28を90度回転し、チャックテーブル28をY軸方向に割り出し送りしながら全てのストリートS2に沿って加工溝62を形成する。全てのストリートS1,S2に沿って加工溝62を形成した状態が図3に示されている。図4は図3の一部拡大断面図である。
第1実施形態の加工方法では、形成した加工溝62の位置を加工溝位置情報としてコントローラ40のRAM46に書き込む(記録する)。 第1実施形態の加工方法の加工溝位置情報記録工程では、レーザー加工装置2の割り出し送り位置を記録しても良いし、カーフチェック(加工溝62を実際にカメラで検出する)で位置を記録するようにしても良い。
第2実施形態の加工方法では、検出したストリートS1,S2に基づいて全てのストリートS1,S2を割り出し、レーザービームでウエーハWの加工を行う前に、全てのストリートS1,S2の位置をストリート位置情報(分割予定ライン位置情報)としてコントローラ40のRAM46に記録する。次いで、RAM46に記録されたストリートS1,S2の位置情報に基づいて、各ストリートS1,S2に沿って加工溝62を形成する。
このようにウエーハWの全てのストリートS1,S2に沿って加工溝62を形成すると、第1の加工装置であるレーザー加工装置2を使用しての加工は終了する。次いで、図5に示すような第2の加工装置であるダイシング装置(切削装置)64を使用しての加工溝62に沿っての切削加工を実施する。図5は切削装置2の外観を示している。
切削装置64の前面側にはオペレータが加工条件等の装置に対する指示を入力するための操作手段66が設けられている。装置上部には、オペレータに対する案内画面や後述する撮像手段によって撮像された画像が表示されるCRT等の表示手段68が設けられている。
図3に示すように、全てのストリートS1,S2に沿って加工溝62が形成されたウエーハはダイシングテープTを介してフレームFに支持されており、図5に示したウエーハカセット70中にウエーハが複数枚(例えば25枚)収容される。ウエーハカセット70は上下動可能なカセットエレベータ71上に載置される。
ウエーハカセット70の後方には、ウエーハカセット70から切削前のウエーハWを搬出するとともに、切削後のウエーハをウエーハカセット70に搬入する搬出入手段72が配設されている。
ウエーハカセット70と搬出入手段72との間には、搬出入対象のウエーハが一時的に載置される領域である仮置領域74が設けられており、仮置領域74には、ウエーハWを一定の位置に位置合わせする位置合わせ手段76が配設されている。
仮置領域74の近傍には、ウエーハWと一体となったフレームFを吸着して搬送する旋回アームを有する搬送手段78が配設されており、仮置領域74に搬出されたウエーハWは、搬送手段78により吸着されてチャックテーブル80上に搬送され、このチャックテーブル80に吸引されるとともに、複数のクランプ81によりフレームFがクランプされることでチャックテーブル80上に保持される。
チャックテーブル80は、回転可能且つX軸方向に往復動可能に構成されており、チャックテーブル80のX軸方向の移動経路の上方には、ウエーハWの切削すべきストリートを検出するアライメント手段82が配設されている。
アライメント手段82は、ウエーハWの表面を撮像する撮像手段84を備えており、撮像により取得した画像に基づき、パターンマッチング等の処理によって切削すべきストリートを検出することができる。撮像手段84によって取得された画像は、表示手段68に表示される。
ここで注意すべきは、本発明の加工方法では、切削装置64で切削すべきストリートS1,S2に形成された加工溝位置情報又はストリート位置情報は第1の加工装置であるレーザー加工装置2のRAM46に記録されており、この情報を利用するのでアライメント手段82によるアライメントは必要ないことである。
アライメント手段82の左側には、チャックテーブル80に保持されたウエーハWに対して切削加工を施す切削手段86が配設されている。切削手段86はアライメント手段82と一体的に構成されており、両者が連動してY軸方向及びZ軸方向に移動する。
切削手段86は、回転可能なスピンドル88の先端に切削ブレード90が装着されて構成され、Y軸方向及びZ軸方向に移動可能となっている。切削ブレード90は撮像手段84のX軸方向の延長線上に概略位置している。
本発明第1実施形態の加工方法によると、レーザー加工装置2のRAM46に記録された加工溝位置情報を、例えばレーザー加工装置2と切削装置64をLANケーブルで接続して切削装置64に転送する。転送された加工溝位置情報は、切削装置2のコントローラのメモリに記録される。
本発明第2実施形態の加工方法によると、レーザー加工装置2のRAM46に記録されたストリート(分割予定ライン)位置情報を切削装置64に転送する。転送されたストリート位置情報は、切削装置64のコントローラのメモリに記録される。
レーザー加工装置2から切削装置64への加工溝位置情報或いはストリート位置情報の転送は、LANケーブルに限られるものではなく、例えばレーザー加工装置2に記録されているデータをUSBメモリ等にコピーし、このUSBメモリを切削装置64のコントローラの所定のスリットに差し込んで、データを切削装置64のメモリに移すようにしても良い。
切削装置64では、レーザー加工装置2から転送されてきた加工溝位置情報又はストリート位置情報に基づいて、各加工溝62を切削してウエーハWを個々のデバイス(チップ)に分割する。
ここで注意すべきは、加工溝62の形成されたウエーハWのチャックテーブル80へのセッティングであり、レーザー加工装置2のチャックテーブル28に保持されたウエーハWの原点位置出しと、切削装置64のチャックテーブル80に保持されたウエーハWの原点位置出しを一致させる必要があることである。
切削装置64では、レーザー加工装置2から転送されてきた加工溝位置情報又はストリート位置情報に基づいて、各加工溝62を切削ブレード90で切削すれば良いので、切削装置64のアライメント手段82によるアライメントを実施する必要はない。
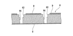
図6は全ての加工溝62を切削ブレード90で切削してウエーハWを個々のデバイスDに分割した状態の斜視図を示しており、図7は図6の一部拡大断面図である。
上述した各実施形態のウエーハの分割方法によると、第1の加工装置であるレーザー加工装置2で形成した加工溝62を第2の加工装置である切削装置64で検出する必要がなく、切削装置64の切削ブレード90をレーザー加工装置2で形成した加工溝62に容易に位置付けることが可能となり、作業効率を落とすことなくウエーハWを個々のデバイスDに分割することができる。
上述した実施形態では、第1の加工装置としてレーザー加工装置、第2の加工装置としてダイシング装置を使用した例について説明したが、本発明における加工装置の組合せはこれに限定されるものではない。
例えば、第1及び第2の加工装置ともダイシング装置を使用しても良いし、又はレーザー加工装置を使用しても良い。或いは、第1及び第2の加工装置として、レーザー加工装置、ダイシング装置、ウォータジェット加工装置の中から適当な組合せを選択して使用するようにしても良い。
また、ワークとしての板状物は半導体ウエーハに限定されるものではなく、電子部品に使用される各種セラミック基板、樹脂基板、ガラス基板、サファイア基板、CPS基板等の板状物に適用することができる。
第1の加工装置であるレーザー加工装置の概略構成図である。 フレームと一体化されたウエーハを示す斜視図である。 各ストリートに沿って加工溝が形成された状態を示すフレームに支持されたウエーハの斜視図である。 図3の一部拡大断面図である。 第2の加工装置である切削装置の概略構成図である。 各加工溝を切削した状態のフレームに支持されたウエーハの斜視図である。 図6の一部拡大断面図ある。
符号の説明
2 レーザー加工装置
28 チャックテーブル
34 レーザービーム発振手段
36 集光器
38 撮像手段
40 コントローラ
62 加工溝
64 切削装置
80 チャックテーブル
86 切削手段
90 切削ブレード
96 切削溝

Claims (2)

  1. 複数の分割予定ラインを有する板状物を第1及び第2の加工装置を用いて分割する板状物の分割方法であって、
    第1の加工装置で少なくとも1本の分割予定ラインを検出する分割予定ライン検出工程と、
    該分割予定ライン検出工程で検出した分割予定ラインに基づいて全ての分割予定ラインを割り出し、第1の加工装置で全ての分割予定ラインに沿って加工溝を形成する加工溝形成工程と、
    形成した該加工溝の位置を加工溝位置情報として記録する加工溝位置情報記録工程と、
    該加工溝位置情報記録工程で記録した加工溝位置情報を第2の加工装置に転送する加工溝位置情報転送工程と、
    該加工溝位置情報転送工程で転送された加工溝位置情報に基づいて、第2の加工装置で前記各加工溝を切削して板状物を分割する分割工程と、
    を具備したことを特徴とする板状物の分割方法。
  2. 複数の分割予定ラインを有する板状物を第1及び第2の加工装置を用いて分割する板状物の分割方法であって、
    第1の加工装置で少なくとも1本の分割予定ラインを検出する分割予定ライン検出工程と、
    検出した分割予定ラインに基づいて全ての分割予定ラインを割り出し、全ての分割予定ラインの位置を記録する分割予定ライン位置情報記録工程と、
    記録した分割予定ラインの位置情報に基づいて、各分割予定ラインに沿って加工溝を形成する加工溝形成工程と、
    該分割予定ライン位置情報記録工程で記録した分割予定ラインの位置情報を第2の加工装置に転送する分割予定ライン位置情報転送工程と、
    該分割予定ライン位置情報転送工程で転送された分割予定ラインの位置情報に基づいて、第2の加工装置で各加工溝を切削して板状物を分割する分割工程と、
    を具備したことを特徴とする板状物の分割方法。
JP2008201401A 2008-08-05 2008-08-05 板状物の分割方法 Active JP5372429B2 (ja)

Priority Applications (1)

Application Number Priority Date Filing Date Title
JP2008201401A JP5372429B2 (ja) 2008-08-05 2008-08-05 板状物の分割方法

Applications Claiming Priority (1)

Application Number Priority Date Filing Date Title
JP2008201401A JP5372429B2 (ja) 2008-08-05 2008-08-05 板状物の分割方法

Publications (2)

Publication Number Publication Date
JP2010040727A true JP2010040727A (ja) 2010-02-18
JP5372429B2 JP5372429B2 (ja) 2013-12-18

Family

ID=42012972

Family Applications (1)

Application Number Title Priority Date Filing Date
JP2008201401A Active JP5372429B2 (ja) 2008-08-05 2008-08-05 板状物の分割方法

Country Status (1)

Country Link
JP (1) JP5372429B2 (ja)

Cited By (3)

* Cited by examiner, † Cited by third party
Publication number Priority date Publication date Assignee Title
JP2012089762A (ja) * 2010-10-21 2012-05-10 Disco Abrasive Syst Ltd 積層セラミックスコンデンサー基板の分割方法
KR101498408B1 (ko) * 2011-02-17 2015-03-03 닛토덴코 가부시키가이샤 면상 발광체
JP2021114528A (ja) * 2020-01-17 2021-08-05 株式会社東京精密 ウェハ加工システム及びウェハ加工方法

Citations (7)

* Cited by examiner, † Cited by third party
Publication number Priority date Publication date Assignee Title
JPH05183053A (ja) * 1991-12-28 1993-07-23 Disco Abrasive Syst Ltd 溝アライメントによる切削方法
JPH1174228A (ja) * 1997-08-28 1999-03-16 Disco Abrasive Syst Ltd 精密切削装置
JP2001110754A (ja) * 1999-10-14 2001-04-20 Disco Abrasive Syst Ltd 切削装置
JP2002033295A (ja) * 2000-07-14 2002-01-31 Disco Abrasive Syst Ltd アライメント方法及びアライメント装置
JP2006190779A (ja) * 2005-01-05 2006-07-20 Disco Abrasive Syst Ltd ウエーハの分割方法
JP2007111754A (ja) * 2005-10-21 2007-05-10 Disco Abrasive Syst Ltd レーザー加工方法およびレーザー加工装置
WO2007144565A2 (en) * 2006-06-14 2007-12-21 Oerlikon Balzers Coating (Uk) Limited Process for laser scribing

Patent Citations (7)

* Cited by examiner, † Cited by third party
Publication number Priority date Publication date Assignee Title
JPH05183053A (ja) * 1991-12-28 1993-07-23 Disco Abrasive Syst Ltd 溝アライメントによる切削方法
JPH1174228A (ja) * 1997-08-28 1999-03-16 Disco Abrasive Syst Ltd 精密切削装置
JP2001110754A (ja) * 1999-10-14 2001-04-20 Disco Abrasive Syst Ltd 切削装置
JP2002033295A (ja) * 2000-07-14 2002-01-31 Disco Abrasive Syst Ltd アライメント方法及びアライメント装置
JP2006190779A (ja) * 2005-01-05 2006-07-20 Disco Abrasive Syst Ltd ウエーハの分割方法
JP2007111754A (ja) * 2005-10-21 2007-05-10 Disco Abrasive Syst Ltd レーザー加工方法およびレーザー加工装置
WO2007144565A2 (en) * 2006-06-14 2007-12-21 Oerlikon Balzers Coating (Uk) Limited Process for laser scribing

Cited By (5)

* Cited by examiner, † Cited by third party
Publication number Priority date Publication date Assignee Title
JP2012089762A (ja) * 2010-10-21 2012-05-10 Disco Abrasive Syst Ltd 積層セラミックスコンデンサー基板の分割方法
KR101498408B1 (ko) * 2011-02-17 2015-03-03 닛토덴코 가부시키가이샤 면상 발광체
JP2021114528A (ja) * 2020-01-17 2021-08-05 株式会社東京精密 ウェハ加工システム及びウェハ加工方法
JP7478945B2 (ja) 2020-01-17 2024-05-08 株式会社東京精密 ウェハ加工システム及びウェハ加工方法
JP2024091765A (ja) * 2020-01-17 2024-07-05 株式会社東京精密 ウェハ加工システム及びウェハ加工方法

Also Published As

Publication number Publication date
JP5372429B2 (ja) 2013-12-18

Similar Documents

Publication Publication Date Title
JP5122378B2 (ja) 板状物の分割方法
US7265033B2 (en) Laser beam processing method for a semiconductor wafer
CN101131921B (zh) 晶片的加工方法
JP6935168B2 (ja) 加工装置
JP6110136B2 (ja) ウエーハのレーザー加工方法およびレーザー加工装置
CN101683749A (zh) 切削装置
TW201641204A (zh) 雷射加工裝置
US11011393B2 (en) Cutting apparatus
JP5495869B2 (ja) レーザー加工溝の確認方法
KR101223203B1 (ko) 레이저 가공방법
KR101786123B1 (ko) 반도체 디바이스의 제조 방법 및 레이저 가공 장치
KR20140135639A (ko) 가공 장치
CN101383276B (zh) 切削装置
CN110010446B (zh) 加工方法
JP4554265B2 (ja) 切削ブレードの位置ずれ検出方法
JP5372429B2 (ja) 板状物の分割方法
US9685378B2 (en) Method of dividing plate-shaped workpieces
JP2008060164A (ja) ウエーハのレーザー加工方法
JP6004761B2 (ja) ダイシング方法
JP2006318966A (ja) 半導体ウエーハ
KR102796985B1 (ko) 키 패턴의 검출 방법, 및 장치
JP2021114502A (ja) 加工装置
JP7723508B2 (ja) ウエーハの確認方法
JP2018129372A (ja) ダイシング装置及びダイシング方法
JP7650596B2 (ja) 加工装置及びストリート検出条件の登録方法

Legal Events

Date Code Title Description
A621 Written request for application examination

Free format text: JAPANESE INTERMEDIATE CODE: A621

Effective date: 20110801

A977 Report on retrieval

Free format text: JAPANESE INTERMEDIATE CODE: A971007

Effective date: 20130214

A131 Notification of reasons for refusal

Free format text: JAPANESE INTERMEDIATE CODE: A131

Effective date: 20130219

A521 Request for written amendment filed

Free format text: JAPANESE INTERMEDIATE CODE: A523

Effective date: 20130319

TRDD Decision of grant or rejection written
A01 Written decision to grant a patent or to grant a registration (utility model)

Free format text: JAPANESE INTERMEDIATE CODE: A01

Effective date: 20130917

A61 First payment of annual fees (during grant procedure)

Free format text: JAPANESE INTERMEDIATE CODE: A61

Effective date: 20130918

R150 Certificate of patent or registration of utility model

Ref document number: 5372429

Country of ref document: JP

Free format text: JAPANESE INTERMEDIATE CODE: R150

Free format text: JAPANESE INTERMEDIATE CODE: R150

R250 Receipt of annual fees

Free format text: JAPANESE INTERMEDIATE CODE: R250

R250 Receipt of annual fees

Free format text: JAPANESE INTERMEDIATE CODE: R250

R250 Receipt of annual fees

Free format text: JAPANESE INTERMEDIATE CODE: R250

R250 Receipt of annual fees

Free format text: JAPANESE INTERMEDIATE CODE: R250

R250 Receipt of annual fees

Free format text: JAPANESE INTERMEDIATE CODE: R250

R250 Receipt of annual fees

Free format text: JAPANESE INTERMEDIATE CODE: R250

R250 Receipt of annual fees

Free format text: JAPANESE INTERMEDIATE CODE: R250

R250 Receipt of annual fees

Free format text: JAPANESE INTERMEDIATE CODE: R250

R250 Receipt of annual fees

Free format text: JAPANESE INTERMEDIATE CODE: R250

R250 Receipt of annual fees

Free format text: JAPANESE INTERMEDIATE CODE: R250