JP2010038936A - 現像装置及び画像形成装置 - Google Patents

現像装置及び画像形成装置 Download PDF

Info

Publication number
JP2010038936A
JP2010038936A JP2008198014A JP2008198014A JP2010038936A JP 2010038936 A JP2010038936 A JP 2010038936A JP 2008198014 A JP2008198014 A JP 2008198014A JP 2008198014 A JP2008198014 A JP 2008198014A JP 2010038936 A JP2010038936 A JP 2010038936A
Authority
JP
Japan
Prior art keywords
developer
circulation path
developing device
path
sub
Prior art date
Legal status (The legal status is an assumption and is not a legal conclusion. Google has not performed a legal analysis and makes no representation as to the accuracy of the status listed.)
Granted
Application number
JP2008198014A
Other languages
English (en)
Other versions
JP5380942B2 (ja
Inventor
Koichi Utsunomiya
皓一 宇都宮
Current Assignee (The listed assignees may be inaccurate. Google has not performed a legal analysis and makes no representation or warranty as to the accuracy of the list.)
Ricoh Co Ltd
Original Assignee
Ricoh Co Ltd
Priority date (The priority date is an assumption and is not a legal conclusion. Google has not performed a legal analysis and makes no representation as to the accuracy of the date listed.)
Filing date
Publication date
Application filed by Ricoh Co Ltd filed Critical Ricoh Co Ltd
Priority to JP2008198014A priority Critical patent/JP5380942B2/ja
Publication of JP2010038936A publication Critical patent/JP2010038936A/ja
Application granted granted Critical
Publication of JP5380942B2 publication Critical patent/JP5380942B2/ja
Expired - Fee Related legal-status Critical Current
Anticipated expiration legal-status Critical

Links

Images

Landscapes

  • Dry Development In Electrophotography (AREA)

Abstract

【課題】部品点数の少ない低コストの手段によって現像装置内の現像剤の履歴が偏ることを防ぎトナー分散性と現像剤寿命の向上をさせて、安定した画像品質の現像装置及びこの現像装置を搭載する画像形成装置を提供することにある。
【解決手段】現像装置において、現像剤搬送路7、9、10は、該現像剤搬送路7、9、10の一部または全部を共有または交差させて形成される主現像剤循環路150及び副現像剤循環路151乃至154である2つ以上の現像剤循環路を有し、該現像剤循環路150乃至154は互いの非整数倍周期で前記現像剤を循環させていることを特徴とする。
【選択図】図11

Description

本発明は、複写機、ファクシミリ、プリンタ等である画像形成装置に用いられる現像装置及びこの現像装置を搭載する画像形成装置に関するものである。
従来から、トナーと磁性キャリアとを含む二成分の現像剤を用いた現像装置を備える画像形成装置が広く用いられている。この種の2成分現像装置として、例えば、現像容器と、この現像容器の開口部に潜像担持体に対向するように配置された磁石を内包する現像ローラと、この現像ローラの表面に担持される現像剤の層厚を規制するドクタブレードと、前記現像容器内で現像剤を撹拌しながら循環、搬送する第1及び第2搬送スクリュと前記現像容器内にトナーを補給する補給装置と、トナー濃度を検知するトナー濃度センサとを備えたものが提案されている(例えば、特許文献1乃至3参照)。
このような従来の現像装置においては、第1及び第2搬送スクリュの間には現像ローラ長手方向に渡って仕切りが設けられており、現像剤はスクリュ両端部の仕切りが途切れた部分で第1及び第2搬送スクリュ間で受け渡されて、一方向に循環している。現像ローラが回転するにつれて搬送路内の現像剤は現像ローラに供給後回収されて現像装置内を循環する。
現像ローラに供給された現像剤は潜像担持体上の静電潜像の現像に用いられるため、トナー濃度が低下する。このトナー濃度を回復させるためには現像装置に対してトナーを補給する必要がある。この際、補給されたトナーが現像ローラに供給されるまでに現像剤と充分に撹拌されて分散していない場合、トナーの帯電量不足やトナーの偏在によって画像濃度ムラを引き起こす原因となりうる。このような画像濃度ムラを防止するため、現像装置には様々な撹拌性能向上のための手段が用いられ、そのような手段の1つとして現像剤搬送路の変更が挙げられる。
特許文献1に記載の現像装置は前述の現像装置と同様に2本の搬送スクリュとその間の長手方向に仕切りを設けた現像剤循環路を備える。この技術においては画像領域外に周期の小さい副循環路を設けることにより、補給トナーの撹拌性向上を図っている。
この技術によれば、主循環路より副循環路へ剤が流入する入り口部分に設けられた規制部材によって流入する現像剤の量を規制することにより撹拌性能の高いスクリュ外周部が現像剤に埋もれることを防いでいるため、副循環路に補給されたトナーが効率よく現像剤と撹拌される。また、副循環路内のトナー濃度の高い現像剤は主循環路内の現像ローラから最も遠い場所に流入するため、主循環路においても、さらに撹拌されてから現像ローラに供給される。
特許文献2に記載の現像装置は前述の現像装置と同様に2本の搬送スクリュとその間の長手方向に仕切りを設けた現像剤循環路を備える。この技術においては搬送路間の仕切りに開閉可能な開口部を設け、搬送スクリュの速度を可変とし、これらの速度をトナー濃度センサからの信号や出力する画像に応じて制御することによりユニット内のトナー濃度分散性を向上させている。
特許文献3に記載の現像装置は現像剤搬送路を複数持つことにより現像剤容量の増加と現像剤の分散性向上を図っている。この技術の代表図では3本のスクリュとその間の2枚の仕切りを設けた現像剤搬送路が示されている。この構成においては、従来の現像装置と比較してスクリュ1本の搬送路分現像剤容量が増加することで現像剤寿命の増加と分散性の向上が実現されている。
図16は従来の現像装置において現像剤が移動する現像剤循環路を説明する概略図である。図17は1つの副現像剤循環路を有する従来の現像装置の現像剤の流れを説明する概略図である。
図16及び図17を参照して説明すると、現像装置ケーシング510中に設けられた攪拌搬送スクリュ(図示せず)を隔離する仕切り壁511は現像装置ケーシング510の長手方向両端で現像装置ケーシング510の内壁から間隔をもって設けられ、これにより矢印で示す現像剤循環路500(図16(a))を形成している。
このような現像剤循環路500においては、現像剤503(図16(b))は現像剤循環路500内でスクリュによる分散機能以外の要素では分散されないため、分散性が良くなく、図16(c)で示すように搬送されても図16(b)と同様な塊りとなって搬送される。
現像剤循環路500を分岐させようとして図17(a)のように開口部501を設けたとしても、この場合、開口部501の流路と開口部502の流路との現像剤循環の周期は1:2であるため、図17(b)に示す現像剤503は、図17(c)に示すように、a、bに分岐しても、この現像剤503は、図17(c)、図17(d)、図17(e)、図17(f)の現像剤503a及び503bを経て、図17(g)に示すように再び同じ現像剤503と合流してしまう。このような分散の妨げとなる現像剤の流れを変更して現像装置内の現像剤の履歴が偏ることを防ぎトナー分散性と現像剤寿命を向上させて、安定した画像品質の画像形成装置を提供する。
特開2005−215483公報 特開2007−148182公報 特開2003−316158公報
しかしながら、特許文献1の技術では副循環路の現像剤量が主循環路と比較して非常に小さいため、局所的な撹拌性能の向上は見込めるが現像装置全体でのトナー濃度偏差を改善するような効果は期待できない。
また、特許文献2の技術のような複雑な構成は高コストであり、部品点数の増加による故障率の上昇も招く。さらに、2種類の搬送路の周期が同期しているため搬送路の合流部分でほぼ同じ履歴を持った現像剤が混ぜ合わされることとなり分散性向上の効果が少ない。また、特許文献3の構成においても特許文献2と同様に同じ履歴を持った現像剤が混ぜ合わされることを防ぐような仕組みは採られていない。
図16及び図17を用いて説明したように、従来技術では、現像剤の流れが分散の妨げとなり、現像装置内の現像剤の履歴が偏り、トナー分散性と現像剤寿命に悪い影響を与えていた。
そこで、本発明の目的は、上述した実情を考慮して、部品点数の少ない低コストの手段によって現像装置内の現像剤の履歴が偏ることを防ぎ、トナー分散性と現像剤寿命を向上させて、安定した画像品質の現像装置及びこの現像装置を搭載する画像形成装置を提供することにある。
上記の課題を解決するために、請求項1に記載の発明は、現像剤を表面上に担持して回転し、潜像担持体と対向する箇所で前記潜像担持体の表面の潜像にトナーを供給して現像する現像剤担持体と、前記現像剤を搬送する現像剤搬送部材と、前記現像剤担持体に前記現像剤を供給する現像剤供給領域では前記現像剤担持体に前記現像剤を供給しながら該現像剤を搬送する現像剤搬送路と、を有し、該現像剤搬送路は、該現像剤搬送路の全部を共有する主現像剤循環路又は一部を迂回させて形成される副現像剤循環路である2つ以上の現像剤循環路を有し、該2つの現像剤循環路は互いに異なる時間周期でかつ位置エネルギによって前記現像剤を循環させている現像装置を特徴とする。
また、請求項2に記載の発明は、前記現像剤の位置エネルギによって前記現像剤循環路の前記副現像剤循環路における前記現像剤の搬送方向と流量とを制御する請求項1記載の現像装置を特徴とする。
また、請求項3に記載の発明は、前記現像剤の位置エネルギを前記現像剤の偏りによって制御する請求項1又は2記載の現像装置を特徴とする。
また、請求項4に記載の発明は、前記現像剤の位置エネルギを前記現像剤搬送路の高さによって制御する請求項1又は2記載の現像装置を特徴とする。
また、請求項5に記載の発明は、前記副現像剤循環路は前記主現像剤循環路の上流から下流へと前記現像剤を搬送する請求項1記載の現像装置を特徴とする。
また、請求項6に記載の発明は、前記副現像剤循環路と前記主現像剤循環路との前記現像剤を搬送方向の広域に渡って交換可能とした請求項1記載の現像装置を特徴とする。
また、請求項7に記載の発明は、前記主現像剤循環路の前記現像剤搬送部材の動作によって前記副現像剤循環路の前記現像剤の搬送方向と流量を制御する請求項1記載の現像装置を特徴とする。
また、請求項8に記載の発明は、少なくとも1つの潜像担持体と、該潜像担持体表面を帯電させるための帯電手段と、前記潜像担持体上に静電潜像を形成するための潜像形成手段と、前記静電潜像を現像してトナー像化するための現像手段と、を有する画像形成装置において、該現像手段として、請求項1乃至7のいずれか1項記載の現像装置を用いる画像形成装置を特徴とする。
本発明によれば、複数の現像剤循環路が非整数倍の周期を持っているため、各現像剤循環路に分かれた現像剤が合流する際には異なる履歴を持った現像剤同士を混合させることが可能となる。これによって、現像剤に補給されたトナー量の履歴が分散されて現像器内のトナー分散性が向上する。また、現像剤にかかるストレスの履歴も分散されるため現像剤の寿命も改善されることが可能になる。
以下、図面を参照して、本発明の実施の形態を詳細に説明する。本発明を適用した画像形成装置として、複数の感光体が並行配設されたタンデム型のカラーレーザ複写機(以下、単に「複写機」という)の1つの実施の形態(以下、単に「実施の形態」という)について説明する。
図1は本発明の実施の形態に係る複写機の概略構成図である。この複写機はプリンタ部100、これを載せる給紙装置200、プリンタ部100の上に固定されたスキャナ300などを備えている。また、このスキャナ300の上に固定された原稿自動搬送装置400なども備えている。
プリンタ部100は、イエロー(Y)、マゼンダ(M)、シアン(C)、黒(K)の各色の画像を形成するための4組のプロセスカートリッジ18Y、18M、18C、18Kからなる画像形成ユニット20を備えている。各符号の数字の後に付されたY、M、C、Kは、イエロー、シアン、マゼンダ、ブラック用の部材であることを示している(以下同様)。
プロセスカートリッジ18Y、18M、18C、18Kの他には、光書き込みユニット21、中間転写ユニット17、2次転写装置22、レジストローラ対49、ベルト定着方式の定着装置25などが配設されている。
光書き込みユニット21は、図示しない光源、ポリゴンミラー、f−θレンズ、反射ミラーなどを有し、画像データに基づいて後述の感光体の表面にレーザ光を照射する。プロセスカートリッジ18Y、18M、18C、18Kは、ドラム状の感光体1、帯電器(図示せず)、現像装置4、ドラムクリーニング装置、除電器などを有している。
以下、イエロー用のプロセスカートリッジ18Yについて説明する。帯電手段である帯電器によって、感光体1Yの表面は一様に帯電される。帯電処理が施された感光体1Yの表面には、光書き込みユニット21によって変調及び偏向されたレーザ光が照射される。
すると、照射部(露光部)の電位が減衰する。この減衰により、感光体1Y表面にY用の静電潜像が形成される。形成されたY用の静電潜像は現像手段である現像装置4Yによって現像されてYトナー像となる。
Y用の感光体1Y上に形成されたYトナー像は、後述の中間転写ベルト110に1次転写される。1次転写後の感光体1Yの表面は、ドラムクリーニング装置によって転写残トナーがクリーニングされる。
Y用のプロセスカートリッジ18Yにおいて、ドラムクリーニング装置によってクリーニングされた感光体1Yは、除電器によって除電される。そして、この感光体1Yは帯電器によって一様に帯電させられて、初期状態に戻る。以上のような一連のプロセスは、他のプロセスカートリッジ18M、18C、18Kについても同様である。
次に、中間転写ユニットについて説明する。中間転写ユニット17は、中間転写ベルト110やベルトクリーニング装置90などを有している。また、張架ローラ14、駆動ローラ15、2次転写バックアップローラ16、4つの1次転写バイアスローラ62Y、62M、62C、62Kなども有している。
中間転写ベルト110は、張架ローラ14を含む複数のローラによって張架されている。そして、図示しないベルト駆動モータによって駆動される駆動ローラ15の回転によって図中時計回りに無端移動せしめられる。
4つの1次転写バイアスローラ62Y、62M、62C、62Kは、それぞれ中間転写ベルト110の内周面側に接触するように配設され、図示しない電源から1次転写バイアスの印加を受ける。また、中間転写ベルト110をその内周面側から感光体1Y、1M、1C、1Kに向けて押圧してそれぞれ1次転写ニップを形成する。各1次転写ニップには、1次転写バイアスの影響により、感光体と1次転写バイアスローラとの間に1次転写電界が形成される。
Y用の感光体1Y上に形成された上述のYトナー像は、この1次転写電界やニップ圧の影響によって中間転写ベルト110上に1次転写される。このYトナー像の上には、M、C、K用の感光体1M、1C、1K上に形成されたM、C、Kトナー像が順次重ね合わせて1次転写される。この重ね合わせの1次転写により、中間転写ベルト110上には多重トナー像である4色重ね合わせトナー像(以下、4色トナー像という)が形成される。
中間転写ベルト110上に重ね合わせ転写された4色トナー像は、後述の2次転写ニップで図示しない記録媒体である転写紙に2次転写される。2次転写ニップ通過後の中間転写ベルト110の表面に残留する転写残トナーは、図中左側の駆動ローラ15との間にベルトを挟み込むベルトクリーニング装置90によってクリーニングされる。
次に、2次転写装置22について説明する。中間転写ユニット17の図中下方には、2本の張架ローラ23によって紙搬送ベルト24を張架している2次転写装置22が配設されている。紙搬送ベルト24は、少なくとも何れか一方の張架ローラ23の回転駆動に伴って、図中反時計回りに無端移動せしめられる。2本の張架ローラ23のうち、図中右側に配設された一方のローラは、中間転写ユニット17の2次転写バックアップローラ16との間に、中間転写ベルト110及び紙搬送ベルト24を挟み込んでいる。
この挟み込みにより、中間転写ユニット17の中間転写ベルト110と、2次転写装置22の紙搬送ベルト24とが接触する2次転写ニップが形成されている。そして、この一方の張架ローラ23には、トナーと逆極性の2次転写バイアスが図示しない電源によって印加される。この2次転写バイアスの印加により、2次転写ニップには中間転写ユニット17の中間転写ベルト110上の4色トナー像をベルト側からこの一方の張架ローラ23側に向けて静電移動させる2次転写電界が形成される。
後述のレジストローラ対49によって中間転写ベルト110上の4色トナー像に同期するように2次転写ニップに送り込まれた転写紙には、この2次転写電界やニップ圧の影響を受けた4色トナー像が2次転写させられる。なお、このように一方の張架ローラ23に2次転写バイアスを印加する2次転写方式に代えて、転写紙を非接触でチャージさせるチャージャを設けてもよい。
複写機本体の下部に設けられた給紙装置200には、内部に複数の転写紙を紙束の状態で複数枚重ねて収容可能なペーパーバンク43を形成する給紙カセット44が、鉛直方向に複数重なるように配設されている。それぞれの給紙カセット44は、紙束の一番上の転写紙に給紙ローラ42を押し当てている。そして、給紙ローラ42を回転させることにより、一番上の転写紙が給紙路46に向けて送り出される。
給紙カセット44から送り出された転写紙を受け入れる給紙路46は、複数の搬送ローラ対47と、その路内の末端付近に設けられたレジストローラ対49と、を有している。そして、転写紙をレジストローラ対49に向けて搬送する。レジストローラ対49に向けて搬送された転写紙は、レジストローラ対49のローラ間に挟まれる。
一方、中間転写ユニット17において、中間転写ベルト110上に形成された4色トナー像は、ベルトの無端移動に伴って上記2次転写ニップに進入する。レジストローラ対49は、ローラ間に挟み込んだ転写紙を2次転写ニップにて4色トナー像に密着させ得るタイミングで送り出す。
これにより、2次転写ニップでは、中間転写ベルト110上の4色トナー像が転写紙に密着する。そして、転写紙上に2次転写されて、白色の転写紙上でフルカラー画像となる。このようにしてフルカラー画像が形成された転写紙は、紙搬送ベルト24の無端移動に伴って2次転写ニップを出た後、紙搬送ベルト24上から定着装置25に送られる。
定着装置25は、定着ベルト26を2本のローラによって張架しながら無端移動させるベルトユニットと、このベルトユニットの定着ベルト26に向けて押圧される加圧ローラ27とを備えている。これらの定着ベルト26と加圧ローラ27とは互いに当接して定着ニップを形成しており、紙搬送ベルト24から受け取った転写紙をこの定着ニップに挟み込む。
ベルトユニットにおける2本のローラのうち、図示で大径のローラは内部に図示してない熱源を有しており、この熱源の発熱により、接触している加圧ローラ27によって定着ベルト26を加圧する。加圧された定着ベルト26は、定着ニップに挟み込まれた転写紙を加熱する。この加熱やニップ圧の影響により、フルカラー画像が転写紙に定着させられる。
定着装置25内で定着処理が施された転写紙は、排紙ローラ56を通ってプリンタ筐体の図中左側板の外側に設けたスタック部57上にスタックされるか、もう一方の面にもトナー像を形成するために上述の2次転写ニップに戻されるかする。
図示しない原稿のコピーが採られる際には、例えば、シート原稿の束が原稿自動搬送装置400の原稿台30上セットされる。但し、その原稿が本状に閉じられている片綴じ原稿である場合には、コンタクトガラス32上にセットされる。このセットに先立ち、複写機本体に対して原稿自動搬送装置400が開かれ、スキャナ300のコンタクトガラス32が露出される。この後、閉じられた原稿自動搬送装置400によって片綴じ原稿が押さえられる。
このようにして原稿がセットされた後、図示してないコピースタートスイッチが押下されると、スキャナ300による原稿読み取り動作がスタートする。ただし、原稿自動搬送装置400にシート原稿がセットされた場合には、この原稿読み取り動作に先立って、原稿自動搬送装置400がシート原稿をコンタクトガラス32まで自動移動させる。
原稿読み取り動作では、まず、第1走行体33と第2走行体34とがともに走行を開始し、第1走行体33に設けられた光源から光が発射される。そして、原稿面からの反射光が第2走行体34内に設けられたミラーによって反射させられ、結像レンズ35を通過した後、読み取りセンサ36に入射される。読み取りセンサ36は、入射光に基づいて画像情報を構築する。
このような原稿読み取り動作と並行して、各プロセスカートリッジ18Y、18M、18C、18K内の各機器や、中間転写ユニット17、2次転写装置22、定着装置25がそれぞれ駆動を開始する。そして、読み取りセンサ36によって構築された画像情報に基づいて、光書き込みユニット21が駆動制御されて、各感光体1Y、1M、1C、1K上に、Y、M、C、Kトナー像が形成される。これらトナー像は、中間転写ベルト110上に重ね合わせ転写された4色トナー像となる。
また、原稿読み取り動作の開始とほぼ同時に、給紙装置200内では給紙動作が開始される。この給紙動作では、給紙ローラ42の1つが選択的に回転させられ、ペーパーバンク43内に多段に収容される給紙カセット44の1つから転写紙が送り出される。送り出された転写紙は、分離ローラ45で1枚ずつ分離されて反転給紙路46に進入した後、搬送ローラ対47によって2次転写ニップに向けて搬送される。
このような給紙カセット44からの給紙に代えて、手差しトレイ51からの給紙が行われる場合もある。この場合、手差し給紙ローラ50が選択敵に回転させられて手差しトレイ51上の転写紙を送り出した後、分離ローラ52が転写紙を1枚ずつ分離してプリンタ部100の手差し給紙路53に給紙する。
本複写機は、2色以上のトナーからなる多色画像を形成する場合には、中間転写ベルト110をその上部張架面がほぼ水平になる姿勢で張架して、上部張架面に全ての感光体1Y、1M、1C、1Kを接触させる。
これに対し、Kトナーのみからなるモノクロ画像を形成する場合には、図示しない機構により、中間転写ベルト110を図中左下に傾けるような姿勢にして、その上部張架面をY、M、C用の感光体1Y、1M、1Cから離間させる。
そして、4つの感光体1Y、1M、1C、1Kのうち、K用の感光体1Kだけを図中反時計回りに回転させて、Kトナー像だけを作像する。この際、Y、M、Cについては、感光体1だけでなく、現像器も駆動を停止させて、感光体や現像剤の不要な消耗を防止する。
本複写機は、複写機内の下記機器の制御を司るCPU等から構成される図示しない制御部と、液晶ディスプレイや各種キーボタン等などから構成される図示しない操作表示部とを備えている。
操作者は、この操作表示部に対するキー入力操作により、制御部に対して命令を送ることで、転写紙の片面だけに画像を形成するモードである片面プリントモードについて、3つのモードの中から1つを選択することができる。この3つの片面プリントモードとは、ダイレクト排出モードと、反転排出モードと、反転デカール排出モードとからなる。
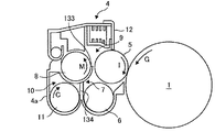
図2は4つプロセスカートリッジのうちの1つが備える現像装置及び感光体を示す拡大構成図である。図2には前述した4つのプロセスカートリッジ18Y、18M、18C、18Kのうちの1つが備える現像装置4及び感光体1を示している。
4つのプロセスカートリッジ18Y、18M、18C、18Kは、それぞれ扱うトナーの色が異なる点の他はほぼ同様の構成になっているので、同図では符号4に付すY、M、C、Kという添字を省略している。
図2に示すように感光体1は、図中矢印G方向に回転しながら、その表面を図示してない帯電装置により帯電される。帯電された感光体1の表面には図示してない露光装置から照射されたレーザ光により静電潜像が形成され、この静電潜像に現像装置4からトナーが供給され、トナー像を形成する。
現像装置4は、図中矢印I方向に表面移動しながら感光体1の表面の静電潜像にトナーを供給して現像する現像剤担持体としての現像ローラ5を有している。また、現像ローラ5に現像剤を供給しながら図2の奥方向に現像剤を搬送する供給搬送部材としての供給搬送スクリュ8を有している。
この供給搬送スクリュ8は、回転軸とこの回転軸に設けられた羽根部(図示せず)とを備え、回転することにより軸方向に現像剤を搬送する現像剤供給搬送スクリュである。この現像剤供給搬送スクリュ8と対向する現像ローラ5の、現像剤供給搬送スクリュ8との対向部から表面移動方向下流側(図2では現像ローラ5の上方)には、現像ローラ5に供給された現像剤を現像に適した厚さに規制する現像剤規制部材としての現像ドクタ12を備えている。
現像ローラ5の感光体1との対向部である現像部から表面移動方向下流側(図2では現像ローラ5の下方)には、現像部を通過した現像済みの現像剤を回収し、回収した回収現像剤を現像剤供給搬送スクリュ8と同方向に搬送する現像剤回収搬送部材としての現像剤回収搬送スクリュ6を備えている。現像剤供給搬送スクリュ8を備えた現像剤供給搬送路9は現像ローラ5の横方向に、現像剤回収搬送スクリュ6を備えた現像剤回収搬送路としての現像剤回収搬送路7は現像ローラ5の下方に並設されている。
現像装置4は、現像剤供給搬送路9の下方現像剤で現像剤回収搬送路7に並列して、現像剤攪拌搬送路10を設けている。現像剤攪拌搬送路10は、現像剤を攪拌しながら現像剤供給搬送スクリュ8とは逆方向である図中手前側に搬送する攪拌搬送部材としての現像剤攪拌搬送スクリュ11を備えている。
現像剤供給搬送路9と現像剤攪拌搬送路10とは現像装置ケーシング4a内で仕切り部材としての第1仕切り壁133によって仕切られている。第1仕切り壁133の現像剤供給搬送路9と現像剤攪拌搬送路10とを仕切る箇所は、図中手前側と奥側との両端が開口部となっており、現像剤供給搬送路9と現像剤攪拌搬送路10とが連通している。
なお、現像剤供給搬送路9と現像剤回収搬送路7とも第1仕切り壁133によって仕切られているが、第1仕切り壁133の現像剤供給搬送路9と現像剤回収搬送路7とを仕切る箇所には開口部を設けていない。
また、現像剤攪拌搬送路10及び現像剤回収搬送路7の2つの搬送路は仕切り部材としての第2仕切り壁134によって仕切られている。第2仕切り壁134は、図中手前側が開口部となっており、現像剤攪拌搬送路10と現像剤回収搬送路7とが連通している。
現像剤供給搬送部材である現像剤供給搬送スクリュ8、現像剤回収スクリュ6及び現像剤攪拌搬送スクリュ11は樹脂もしくは金属のスクリュからなっており、各スクリュ径は全てφ22[mm]で、スクリュピッチは供給スクリュが50[mm]の2条巻き、回収スクリュ6及び攪拌スクリュ11が25[mm]の1条巻き、回転数は全て約600[rpm]に設定している。
現像ローラ5上にステンレスからなる現像ドクタ12によって薄層化された現像剤を感光体1との対向部である現像領域まで搬送し現像を行う。現像ローラ5の表面はV溝あるいはサンドブラスト処理されており、φ25[mm]のAl(アルミニウム)もしくはSUS(ステンレス鋼)素管からなり、現像ドクタ12及び感光体1とのギャップは0.3[mm]程度となっている。
現像後の現像剤は現像剤回収搬送路7にて回収を行い、図2中の断面手前側に搬送され、非画像領域部に設けられた第1仕切り壁133の開口部で、現像剤攪拌搬送路10へ現像剤が移送される。なお、現像剤攪拌搬送路10における現像剤搬送方向上流側の第1仕切り壁133の開口部の付近で現像剤攪拌搬送路10の上側に設けられたトナー補給口から現像剤攪拌搬送路10にトナーが補給される。
図3は現像装置中の主現像剤循環路における現像剤の流れを示す斜視図である。図4は主現像剤循環路の現像剤の流れを示す簡略図である。図3及び図4において、現像剤攪拌搬送路10を図中奥に向かって搬送された現像剤はその突き当りで押し上げられて現像剤供給搬送路9に向かい、この現像剤供給搬送路9において現像剤は手前に搬送されると同時に現像ローラ5に供給される。
現像ローラ5に供給されて現像に用いられた現像剤は現像剤回収搬送路7に回収されて図中手前に向かって搬送されて現像剤回収搬送スクリュ6の図示してない手前側端部において現像剤攪拌搬送路10に受け渡される。以上の主現像剤循環路150の現像剤の流れを図4に示している。
図中の主現像剤循環路150の太線矢印は主現像剤循環路とともに現像剤の流れを示している。図4中の上部及び下部は図3の斜視図の上段及び下段の配置を循環路と現像剤の流れを説明し易いように分けて示している。符号101及び102は開口部を示している。
図5は第1の副現像剤循環路を示す簡略図である。図5において、第1の副現像剤循環路151は現像剤供給搬送路9と現像剤攪拌搬送路10との間で現像剤が循環するものである。開口部102ではスクリュの搬送力によって行き止まりに突き当たった現像剤が押し上げられることによって現像剤供給搬送路10から現像剤攪拌搬送路9への現像剤の受け渡しがなされる。
また、開口部103においては搬送路の高さの違いによる位置エネルギによって現像剤は現像剤攪拌搬送路9から現像剤供給搬送路10へと受け渡される。この副現像剤循環路151の周期は主現像剤循環路150の周期の78%ほどとなっている。
主現像剤循環路150と副現像剤循環路151との現像剤が同期するのは各現像剤循環路の周期の最小公倍数周期であるため、現像剤は約1950周するまでは異なる搬送路を通過した現像剤と混合され続ける。
ただし、実際にはその他の分散機構によって現像剤の混合はさらに複雑に行われる。また、副現像剤循環路151は他の副現像剤循環路と比較して多くの現像剤を循環させるため、長周期の現像剤履歴の偏りを分散させる効果がある。
この実施の形態によれば、開口部102でスクリュの搬送力によって行き止まりに突き当たった現像剤が押し上げられる。この現像剤の位置エネルギによって副現像剤循環路151の現像剤の流れを制御するため特別な駆動源などを用いずに複数の現像剤循環路を設けることが可能となる。
すなわち、図4に示すように、元々の現像装置が縦型3軸のOD現像装置であるので現像剤は開口部102で位置エネルギを得ている。しかし、図5のように開口部103を設けることで、新たに他の動力を用いずに副現像剤循環路を形成することができる。
ここで、非整数倍周期について説明する。上述したように、副現像剤循環路151の周期は主現像剤循環路150の周期の78%ほどとなっているので、主現像剤循環路150の時間周期:副現像剤循環路151の時間周期は、100:78=50:39となり、互いの整数倍にはなっていない。従って、現像剤の循環は互いの非整数倍で行われる。
図6は第2の副現像剤循環路を示す簡略図である。図6において副現像剤循環路152では現像剤供給搬送路9から現像剤攪拌搬送路10への現像剤受け渡しを行う開口部104が長手方向に長くなっている。
この開口部104における現像剤の受け渡しは現像剤供給搬送路9と現像剤攪拌搬送路10との高さの違いによる位置エネルギに依存している。この開口部104を設けることによって、新たに他の動力を用いずに副現像剤循環路を形成している。
開口部104が長手方向に長いことによって現像剤供給搬送路9の上流側で受け渡される現像剤と現像剤供給搬送路9の下流側で受け渡される現像剤に時間差が生じるためその幅と同程度の短周期の現像剤履歴の偏りを搬送方向に引き伸ばして分散させる効果がある。
副現像剤供給搬送路9が主現像剤攪拌搬送路10の上流から下流へ現像剤を循環させることにより現像剤が現像ローラ5に到達するまでの時間を延ばすことで現像剤の撹拌と分散を充分に行うことが可能となる。これによって、均一な現像剤を安定して現像ローラ5に供給することが可能となる。
主現像剤攪拌搬送路10と副現像剤供給搬送路9とが現像剤を交換することのできる箇所が搬送方向の広域に渡ることによって、現像剤交換口の幅分の異なる履歴を持った現像剤を混合させることが可能となる。
図7は第3の副現像剤循環路を示す簡略図である。図7において副現像剤循環路153では現像剤攪拌搬送路10の現像剤は開口部105において現像剤の嵩の高さの違いによる位置エネルギによって搬送路7に受け渡される。
副現像剤循環路153の現像剤の流れを制御するために現像剤を偏らせてその嵩の差を作り出すことによって特別な駆動源などを用いずに現像剤の位置エネルギを得ることが可能となる。こうして得た位置エネルギによって副現像剤循環路153の現像剤の流れを制御することができる。
すなわち、この副現像剤循環路153では現像剤が時計回りに回っている。副現剤循環路153は、開口部105以外が図4の主現像剤循環路150と共通である。ここで、開口部105は現像剤を主現像剤循環路150の上流に戻すことで副現像剤循環路153を形成している。
図8は現像剤の偏りによる副現像剤循環路を示す簡略図である。図9は現像装置における現像剤の高さの差を示す概略図である。図10は現像装置における現像剤の同一高さを示す概略図である。図8に示すように現像剤回収搬送路7を搬送される現像剤は現像ローラ5から回収された現像剤であるため現像剤回収搬送路7下流に行くほど量が増していく。
逆に言えば、現像剤回収搬送路7の中途では現像剤の嵩が低いために図9に示すように現像剤の高さに差ができる。そこで、開口部105を設けてその高さと幅を調整することで現像剤の流れる量を制御することが可能である。
また、図10のように現像剤回収搬送路7と現像剤攪拌搬送路10との現像剤の量に差が無い場合でも現像剤攪拌搬送スクリュ11の回転方向をC2とすることによってこの現像剤攪拌搬送スクリュ11による現像剤210の跳ね上げを利用して副現像剤搬送路を形成することも可能である。
現像剤回収搬送路7に受け渡された現像剤は図8の図中左方向に搬送されて行き止まりで押し出されて現像剤攪拌搬送路10に受け渡される。副現像剤循環路154の周期は主現像剤循環路150(図4)の30%ほどとなっており中周期の現像剤履歴の偏りを分散させる効果がある。
この副現像剤循環路154の周期は、図5に関連して説明したのと同様に、主現像剤循環路150の時間周期:副現像剤循環路154の時間周期は、100:30=10:3であり、互いの整数倍にはなっていない。従って、ここでも、現像剤の循環は非整数倍で行われる。
現像剤搬送部材である現像剤攪拌搬送スクリュ11が現像剤に与える搬送方向以外のエネルギを利用して副現像剤搬送路の現像剤の流れを制御することによって特別な駆動源を用いずに現像剤の流れを制御することが可能となる。
現像剤が複数の循環路によって分散される仕組みを主現像剤循環路150と副現像剤循環路153を例にとって示す。簡単化するためここでは搬送スクリュ、現像ローラ、現像剤の滞留などによる現像剤の分散はないものとする。
図11はトナー補給直後の現像剤が搬送路の左端に位置している状態を示す簡略図である。図12は2つの向きに分けられる搬送路の状態を示す簡略図である。図13は主現像剤循環路を巡る現像剤の状態を示す簡略図である。図14は現像剤が再び開口部に至った時の状態を示す簡略図である。図15は分散される現像剤のストレスやトナー濃度などの偏りをグラフで示す図である。
図11ではトナー補給直後の現像剤201が現像剤攪拌搬送路10の左端に位置している。図12に示すように現像剤攪拌搬送路10右に向かって搬送される現像剤201は開口部105においてaとbの2つの向きに分けられる。図13に示すように現像剤攪拌搬送路10中をそのまま搬送される現像剤201aは主現像剤循環路150を巡る現像剤となる。
また、開口部105で現像剤回収搬送路7に受け渡された現像剤201bは副現像剤循環路153を巡る現像剤201bとなる。副現像剤循環路153の周期は主現像剤循環路150の30%ほどなので現像剤201bが図14に示すように再び開口部105に至った時、現像剤201aはまだ主現像剤循環路150の45%を通過したところなので201aと201bが混合されることはない。
現像剤201bが開口部105でbaとbbに分けられた後も同じように現像剤201baと現像剤201bbは混合されないので現像剤はさらに分散される。主現像剤循環路150と副現像剤循環路153に分けられた現像剤が再び混合されるのは各循環路の周期の最小公倍数の周期であるので、現像剤が30周巡るまでは現像剤201は常に違う履歴を持った現像剤と混ぜ合わされることになる。
こうして図15に示すように現像剤のストレスやトナー濃度などの偏りが分散される。すなわち、主現像剤循環路150と副現像剤循環路153に分けられた現像剤が再び混合されるのは各現像剤循環路の周期の最小公倍数の周期であるから、現像剤の分散(分岐)によって現像剤のストレスやトナー濃度などの偏りが分散されて少なくなる。
このように、本発明の現像装置は、現像剤担持体は現像剤をその表面に担持して回転し、潜像担持体上に形成された静電潜像を現像する。現像担持体に対して供給される現像剤は、現像剤搬送部材によって撹拌されながら循環搬送路を循環する。この際、周期の異なる2つ以上の現像剤循環路をその循環搬送路の一部または全部が共有される、又は搬送路が交差するように配置することにより現像剤循環路間の現像剤を交換する。
本発明の実施の形態に係る複写機の概略構成図である。 4つプロセスカートリッジのうちの1つが備える現像装置及び感光体を示す拡大構成図である。 現像装置中の主現像剤循環路における現像剤の流れを示す斜視図である。 主現像剤循環路の現像剤の流れを示す簡略図である。 第1の副現像剤循環路を示す簡略図である。 第2の副現像剤循環路を示す簡略図である。 第3の副現像剤循環路を示す簡略図である。 現像剤の偏りによる副現像剤循環路を示す簡略図である。 現像装置における現像剤の高さの差を示す概略図である。 現像装置における現像剤の同一高さを示す概略図である。 トナー補給直後の現像剤が搬送路の左端に位置している状態を示す簡略図である。 2つの向きに分けられる搬送路の状態を示す簡略図である。 主現像剤循環路を巡る現像剤の状態を示す簡略図である。 現像剤が再び開口部に至った時の状態を示す簡略図である。 分散される現像剤のストレスやトナー濃度などの偏りをグラフで示す図である。 従来の現像装置において現像剤が移動する現像剤循環路を説明する概略図である。 1つの副現像剤循環路を有する従来の現像装置の現像剤の流れを説明する概略図である。
符号の説明
1 潜像担持体(感光体)、4 現像装置、4a 現像装置ケーシング、5 現像剤担持体(現像ローラ)、6 現像剤回収搬送部材(現像剤回収搬送スクリュ)、7 現像剤搬送路(現像剤回収搬送路)、8 供給搬送部材(供給搬送スクリュ)、9 現像剤搬送路(現像剤供給搬送路)、10 現像剤搬送路(現像剤攪拌搬送路)、11 現像剤攪拌搬送部材(現像剤攪拌搬送スクリュ)、18Y 潜像形成手段(プロセスカートリッジ)、133 第1仕切り壁、134 第2仕切り壁、150 主現像剤循環路、151 副現像剤循環路、152 副現像剤循環路、153 副現像剤循環路、154 副現像剤循環路

Claims (8)

  1. 現像剤を表面上に担持して回転し、潜像担持体と対向する箇所で前記潜像担持体の表面の潜像にトナーを供給して現像する現像剤担持体と、前記現像剤を搬送する現像剤搬送部材と、前記現像剤担持体に前記現像剤を供給する現像剤供給領域では前記現像剤担持体に前記現像剤を供給しながら該現像剤を搬送する現像剤搬送路と、を有し、
    該現像剤搬送路は、該現像剤搬送路の全部を共有する主現像剤循環路又は一部を迂回させて形成される副現像剤循環路である2つ以上の現像剤循環路を有し、該2つの現像剤循環路は互いに異なる時間周期でかつ位置エネルギによって前記現像剤を循環させていることを特徴とする現像装置。
  2. 前記現像剤の位置エネルギによって前記現像剤循環路の前記副現像剤循環路における前記現像剤の搬送方向と流量とを制御することを特徴とする請求項1記載の現像装置。
  3. 前記現像剤の位置エネルギを前記現像剤の偏りによって制御することを特徴とする請求項1又は2記載の現像装置。
  4. 前記現像剤の位置エネルギを前記現像剤搬送路の高さによって制御することを特徴とする請求項1又は2記載の現像装置。
  5. 前記副現像剤循環路は前記主現像剤循環路の上流から下流へと前記現像剤を搬送することを特徴とする請求項1記載の現像装置。
  6. 前記副現像剤循環路と前記主現像剤循環路との前記現像剤を搬送方向の広域に渡って交換可能としたことを特徴とする請求項1記載の現像装置。
  7. 前記主現像剤循環路の前記現像剤搬送部材の動作によって前記副現像剤循環路の前記現像剤の搬送方向と流量とを制御することを特徴とする請求項1記載の現像装置。
  8. 少なくとも1つの潜像担持体と、該潜像担持体表面を帯電させるための帯電手段と、前記潜像担持体上に静電潜像を形成するための潜像形成手段と、前記静電潜像を現像してトナー像化するための現像手段と、を有する画像形成装置において、
    該現像手段として、請求項1乃至7のいずれか1項記載の現像装置を用いることを特徴とする画像形成装置。
JP2008198014A 2008-07-31 2008-07-31 現像装置及び画像形成装置 Expired - Fee Related JP5380942B2 (ja)

Priority Applications (1)

Application Number Priority Date Filing Date Title
JP2008198014A JP5380942B2 (ja) 2008-07-31 2008-07-31 現像装置及び画像形成装置

Applications Claiming Priority (1)

Application Number Priority Date Filing Date Title
JP2008198014A JP5380942B2 (ja) 2008-07-31 2008-07-31 現像装置及び画像形成装置

Publications (2)

Publication Number Publication Date
JP2010038936A true JP2010038936A (ja) 2010-02-18
JP5380942B2 JP5380942B2 (ja) 2014-01-08

Family

ID=42011607

Family Applications (1)

Application Number Title Priority Date Filing Date
JP2008198014A Expired - Fee Related JP5380942B2 (ja) 2008-07-31 2008-07-31 現像装置及び画像形成装置

Country Status (1)

Country Link
JP (1) JP5380942B2 (ja)

Cited By (1)

* Cited by examiner, † Cited by third party
Publication number Priority date Publication date Assignee Title
CN102540818A (zh) * 2010-12-28 2012-07-04 夏普株式会社 显影装置和图像形成装置

Citations (3)

* Cited by examiner, † Cited by third party
Publication number Priority date Publication date Assignee Title
JP2007304496A (ja) * 2006-05-15 2007-11-22 Ricoh Co Ltd 現像装置、プロセスカートリッジ及び画像形成装置
JP2007316130A (ja) * 2006-05-23 2007-12-06 Ricoh Co Ltd 現像装置、キャリア、トナー、現像剤、プロセスカートリッジ及び画像形成装置
JP2008033183A (ja) * 2006-07-31 2008-02-14 Sharp Corp 現像装置およびこれを備えた画像形成装置

Patent Citations (3)

* Cited by examiner, † Cited by third party
Publication number Priority date Publication date Assignee Title
JP2007304496A (ja) * 2006-05-15 2007-11-22 Ricoh Co Ltd 現像装置、プロセスカートリッジ及び画像形成装置
JP2007316130A (ja) * 2006-05-23 2007-12-06 Ricoh Co Ltd 現像装置、キャリア、トナー、現像剤、プロセスカートリッジ及び画像形成装置
JP2008033183A (ja) * 2006-07-31 2008-02-14 Sharp Corp 現像装置およびこれを備えた画像形成装置

Cited By (1)

* Cited by examiner, † Cited by third party
Publication number Priority date Publication date Assignee Title
CN102540818A (zh) * 2010-12-28 2012-07-04 夏普株式会社 显影装置和图像形成装置

Also Published As

Publication number Publication date
JP5380942B2 (ja) 2014-01-08

Similar Documents

Publication Publication Date Title
JP4820689B2 (ja) 現像装置、プロセスカートリッジ及び画像形成装置
JP4764743B2 (ja) 現像装置、画像形成装置
JP5124231B2 (ja) 現像装置、画像形成装置、及びプロセスカートリッジ
US8010020B2 (en) Developing device and image forming apparatus equipped with the same
JP5644127B2 (ja) 画像形成装置、及びそれに用いられる現像装置
JP2008046240A (ja) 現像装置、プロセスカートリッジ及び画像形成装置
JP6440016B2 (ja) 現像装置、プロセスカートリッジ、及び画像形成装置
JP5039352B2 (ja) 現像装置、プロセスカートリッジ及び画像形成装置
JP4672509B2 (ja) 現像装置、及び画像形成装置
JP5240557B2 (ja) 現像装置、画像形成装置およびプロセスカートリッジ
JP2009047891A (ja) 画像形成装置
JP2009058597A (ja) 現像装置及び画像形成装置
JP2008275804A (ja) 現像装置、プロセスカートリッジ、画像形成装置及び現像剤搬送スクリュ駆動方法
JP5033534B2 (ja) 現像装置および画像形成装置
JP5380942B2 (ja) 現像装置及び画像形成装置
JP5158473B2 (ja) 現像装置及び画像形成装置
JP2009063710A (ja) 現像装置及び画像形成装置
JP6128426B2 (ja) 現像剤補給装置および画像形成装置
JP2010217328A (ja) 現像装置、画像形成装置、及びプロセスカートリッジ
JP2016080840A (ja) 現像装置及び画像形成装置
JP4971054B2 (ja) 現像装置、プロセスカートリッジ及び画像形成装置
JP5046810B2 (ja) 現像装置および画像形成装置
JP4331665B2 (ja) 現像装置
JP6128427B2 (ja) 現像剤補給装置および画像形成装置
JP5515892B2 (ja) 現像装置

Legal Events

Date Code Title Description
A621 Written request for application examination

Free format text: JAPANESE INTERMEDIATE CODE: A621

Effective date: 20110422

RD02 Notification of acceptance of power of attorney

Free format text: JAPANESE INTERMEDIATE CODE: A7422

Effective date: 20110426

A977 Report on retrieval

Free format text: JAPANESE INTERMEDIATE CODE: A971007

Effective date: 20120920

A131 Notification of reasons for refusal

Free format text: JAPANESE INTERMEDIATE CODE: A131

Effective date: 20120925

A521 Request for written amendment filed

Free format text: JAPANESE INTERMEDIATE CODE: A523

Effective date: 20121122

A131 Notification of reasons for refusal

Free format text: JAPANESE INTERMEDIATE CODE: A131

Effective date: 20130625

A521 Request for written amendment filed

Free format text: JAPANESE INTERMEDIATE CODE: A523

Effective date: 20130729

TRDD Decision of grant or rejection written
A01 Written decision to grant a patent or to grant a registration (utility model)

Free format text: JAPANESE INTERMEDIATE CODE: A01

Effective date: 20130903

A61 First payment of annual fees (during grant procedure)

Free format text: JAPANESE INTERMEDIATE CODE: A61

Effective date: 20130916

R151 Written notification of patent or utility model registration

Ref document number: 5380942

Country of ref document: JP

Free format text: JAPANESE INTERMEDIATE CODE: R151

LAPS Cancellation because of no payment of annual fees