JP2010038552A - 多波長干渉変位測定方法及び装置 - Google Patents

多波長干渉変位測定方法及び装置 Download PDF

Info

Publication number
JP2010038552A
JP2010038552A JP2008198185A JP2008198185A JP2010038552A JP 2010038552 A JP2010038552 A JP 2010038552A JP 2008198185 A JP2008198185 A JP 2008198185A JP 2008198185 A JP2008198185 A JP 2008198185A JP 2010038552 A JP2010038552 A JP 2010038552A
Authority
JP
Japan
Prior art keywords
wavelength
interference
laser
optical comb
wavelengths
Prior art date
Legal status (The legal status is an assumption and is not a legal conclusion. Google has not performed a legal analysis and makes no representation as to the accuracy of the status listed.)
Granted
Application number
JP2008198185A
Other languages
English (en)
Other versions
JP5511162B2 (ja
Inventor
Kazuhiko Kawasaki
和彦 川▲崎▼
Current Assignee (The listed assignees may be inaccurate. Google has not performed a legal analysis and makes no representation or warranty as to the accuracy of the list.)
Mitutoyo Corp
Mitsutoyo Kiko Co Ltd
Original Assignee
Mitutoyo Corp
Mitsutoyo Kiko Co Ltd
Priority date (The priority date is an assumption and is not a legal conclusion. Google has not performed a legal analysis and makes no representation as to the accuracy of the date listed.)
Filing date
Publication date
Application filed by Mitutoyo Corp, Mitsutoyo Kiko Co Ltd filed Critical Mitutoyo Corp
Priority to JP2008198185A priority Critical patent/JP5511162B2/ja
Priority to EP20090166890 priority patent/EP2149778B1/en
Publication of JP2010038552A publication Critical patent/JP2010038552A/ja
Application granted granted Critical
Publication of JP5511162B2 publication Critical patent/JP5511162B2/ja
Expired - Fee Related legal-status Critical Current
Anticipated expiration legal-status Critical

Links

Images

Classifications

    • GPHYSICS
    • G01MEASURING; TESTING
    • G01BMEASURING LENGTH, THICKNESS OR SIMILAR LINEAR DIMENSIONS; MEASURING ANGLES; MEASURING AREAS; MEASURING IRREGULARITIES OF SURFACES OR CONTOURS
    • G01B9/00Measuring instruments characterised by the use of optical techniques
    • G01B9/02Interferometers
    • G01B9/02001Interferometers characterised by controlling or generating intrinsic radiation properties
    • G01B9/02007Two or more frequencies or sources used for interferometric measurement
    • G01B9/02008Two or more frequencies or sources used for interferometric measurement by using a frequency comb
    • GPHYSICS
    • G01MEASURING; TESTING
    • G01BMEASURING LENGTH, THICKNESS OR SIMILAR LINEAR DIMENSIONS; MEASURING ANGLES; MEASURING AREAS; MEASURING IRREGULARITIES OF SURFACES OR CONTOURS
    • G01B9/00Measuring instruments characterised by the use of optical techniques
    • G01B9/02Interferometers
    • G01B9/02001Interferometers characterised by controlling or generating intrinsic radiation properties
    • G01B9/02002Interferometers characterised by controlling or generating intrinsic radiation properties using two or more frequencies
    • G01B9/02005Interferometers characterised by controlling or generating intrinsic radiation properties using two or more frequencies using discrete frequency stepping or switching
    • GPHYSICS
    • G01MEASURING; TESTING
    • G01BMEASURING LENGTH, THICKNESS OR SIMILAR LINEAR DIMENSIONS; MEASURING ANGLES; MEASURING AREAS; MEASURING IRREGULARITIES OF SURFACES OR CONTOURS
    • G01B9/00Measuring instruments characterised by the use of optical techniques
    • G01B9/02Interferometers
    • G01B9/02055Reduction or prevention of errors; Testing; Calibration
    • G01B9/02062Active error reduction, i.e. varying with time
    • G01B9/02067Active error reduction, i.e. varying with time by electronic control systems, i.e. using feedback acting on optics or light
    • G01B9/02069Synchronization of light source or manipulator and detector
    • GPHYSICS
    • G01MEASURING; TESTING
    • G01BMEASURING LENGTH, THICKNESS OR SIMILAR LINEAR DIMENSIONS; MEASURING ANGLES; MEASURING AREAS; MEASURING IRREGULARITIES OF SURFACES OR CONTOURS
    • G01B2290/00Aspects of interferometers not specifically covered by any group under G01B9/02
    • G01B2290/60Reference interferometer, i.e. additional interferometer not interacting with object

Landscapes

  • Physics & Mathematics (AREA)
  • General Physics & Mathematics (AREA)
  • Engineering & Computer Science (AREA)
  • Automation & Control Theory (AREA)
  • Optics & Photonics (AREA)
  • Instruments For Measurement Of Length By Optical Means (AREA)
  • Length Measuring Devices By Optical Means (AREA)

Abstract

【課題】安定度の高いレーザや、高精度に波長を可変できるレーザを使用せず、広いレンジの干渉変位測定装置を実現する。
【解決手段】複数の波長のレーザ光により、各波長で測定される干渉測定値を得て、各波長の組み合わせからレーザ光の波長よりも等価的に長い合成波長で測定レンジを拡大して、干渉計本体から対象物110までの距離または変位を干渉測定する際に、複数のレーザ光の波長を、光コム104を用いて測定する。ここで、光コムを用いて波長可変レーザ101の発振波長を測定してフィードバック制御をかけることにより所定の複数の波長のレーザ光を得たり、波長可変レーザを任意の波長で発振させて、複数の波長での干渉測定値を得て、各干渉測定値を得た際のレーザ光の波長(周波数)を光コムで測定したり、複数のレーザ416、417を用いて、各レーザから発振されるレーザ光の波長を光コムで測定しながら干渉測定することができる。
【選択図】図2

Description

本発明は、多波長干渉変位測定方法及び装置に係り、特に、複数の波長のレーザ光により、各波長で測定される干渉測定値を得て、各波長の組み合わせからレーザ光の波長よりも等価的に長い合成波長で測定レンジを拡大して、干渉計本体から対象物までの距離または変位を干渉測定する多波長干渉変位測定方法及び装置の改良に関する。
対象物(ターゲットとも称する)までの距離または対象物の変位を高精度に測定する方法の一つに、光波干渉を利用した距離の測定がある。
この光波干渉を利用した距離(変位)の測定は、数百nmの波長をものさしとした高精度な距離(変位)の測定方法である(特許文献1参照)。
しかしながら、光波干渉計をセンサとして対象物の変位や形状を測定する場合に、波長λの半分の長さ以上の急激な変位や、段差の形状は測定できないと言う欠点がある。
これに対して、複数波長での測定結果を組み合わせた、合成波長により測定レンジを拡大する方法が、非特許文献1などで示されている。この方法は、次式(1)に示す如く、波長λ1で得られる位相φ1と波長λ2によって得られる位相φ2の差φsをとると、次式(2)で示す合成波長λsで干渉測定したものと等価な結果が得られることを利用している。
φs=φ2−φ1 …(1)
λs=λ2λ1/|λ2−λ1| …(2)
2波長の合成波長によって測定レンジを拡大する場合には、式(2)で示した、差の波長(周波数)を正確に作り出すことが重要である。特に、2波長の差を小さくして波長を大きく拡大して合成するときほど、正確さが求められる。差の波長Δλの誤差δΔλに対する合成波長の誤差δλsは、近似的に次式(3)で示される。
λs=λ2λ1/|λ2−λ1|〜λ1 2/Δλ …(2)’
δλs〜(λ1 2/Δλ2)*δΔλ …(3)
例えば、λ=1μm、Δλ=0.001μmとして、1mmの合成波長λsを生成する場合、誤差がλに対して6桁に相当する0.000001μmのわずかな誤差が発生した場合、合成波長λsの誤差δλsは、1μmにもなる。
つまり、合成波長方式によって測定レンジを拡大しようとする時は、所望の波長差で発生する波長の安定度が極めて高い2台のレーザを使用するか、あるいは、極めて高い精度で波長走査が可能な、高価なレーザが必要であった。
特開2000−146517号公報 特開2004−340690号公報 J. E. Greivenkamp and J. H. Bruning : "Phase Shifting Interferometry" In Optical Shop Testing 2ed. page 560 , Daniel Malacara, ed: John Wiley & Sons, Inc.
しかしながら、周波数が正確に値付けされたレーザはあまり多くなく、現状で手軽に入手できるものとなると更に限られてしまう。従って、測定原理上、より好ましいと判断されるレーザの波長に対して、入手できるレーザが限られてしまっていることが、合成波長を効果的に、あるいは手軽に、実現することを阻害してしまっている。
本発明は、前記従来の問題点を解消するべくなされたもので、安定度の高い高価なレーザや高精度に波長を可変できるレーザを使用しないで、安価な広いレンジの干渉変位測定を実現することを課題とする。
本発明は、複数の波長のレーザ光により、各波長で測定される干渉測定値(参照光と測定光による干渉の位相)を得て、各波長の組み合わせからレーザ光の波長よりも等価的に長い合成波長で測定レンジを拡大して、干渉計本体から対象物までの距離または変位を干渉測定する際に、前記複数のレーザ光の波長を、光コムを用いて測定するようにして、前記課題を解決したものである。
ここで、前記光コムを用いて波長可変レーザの発振波長を測定してフィードバック制御をかけることにより、所定の複数の波長のレーザ光を得ることができる。
また、波長可変レーザを任意の波長で発振させて、複数の波長での干渉測定値を得て、各干渉測定値を得た際のレーザ光の波長(周波数)を光コムで測定して、干渉計本体から対象物までの距離を算出することができる。
また、複数のレーザを用いて、各レーザから発振されるレーザ光の波長を光コムで測定しながら干渉測定を行い、干渉計本体から対象物までの距離を算出することができる。
また、前記光コムを含む一つの周波数測定系で、前記複数の波長を測定することができる。
また、複数の波長で干渉測定値を得る際、一つの波長を基準として相対的に波長差を正確に与える制御を行って干渉測定を行うか、あるいは、各波長での測定値を得た時の波長差を、一つの波長を基準として相対的な差として測定することができる。
また、一方の波長と光コムによって発生するビート周波数と、他方の波長と光コムによって発生するビート周波数に対して、光コムの次数分を加味して周波数差を算出し、この周波数差を波長差に換算することができる。
また、3つ以上の波長から2つずつの組み合わせの合成波長での位相差を算出し、その分解能の違いを利用して距離を決定することができる。
本発明は、また、複数の波長のレーザ光により、各波長で測定される干渉測定値を得て、各波長の組み合わせからレーザ光の波長よりも等価的に長い合成波長で測定レンジを拡大して、干渉計本体から対象物までの距離または変位を干渉測定する多波長干渉変位測定装置において、前記複数のレーザ光の波長を測定するために光コムを備えたことを特徴とする多波長干渉変位測定装置を提供するものである。
ここで、前記光コムを用いて波長可変レーザの発振波長を測定してフィードバック制御を行う手段を備えることにより、所定の複数の波長を得ることができる。
また、波長可変レーザを任意の波長で発振させて、複数の波長での干渉測定値を得る手段と、各干渉測定値を得た際のレーザ光の波長(周波数)を光コムで測定して、干渉計本体から対象物までの距離の算出に用いる手段とを備えることにより、干渉計本体から対象物までの距離を算出することができる。
また、複数のレーザと、各レーザから発振されるレーザ光の波長を光コムで測定しながら干渉測定を行い、干渉計本体から対象物までの距離の算出に用いる手段とを備えることができる。
また、前記複数の波長を測定するための、前記光コムを含む一つの周波数測定系を備えることができる。
また、複数の波長で干渉測定値を得る際、一つの波長を基準として相対的に波長差を正確に与える制御を行って干渉測定を行う手段か、あるいは、各波長での測定値を得た時の波長差を、一つの波長を基準として相対的な差として測定する手段を備えることができる。
また、一方の波長と光コムによって発生するビート周波数と、他方の波長と光コムによって発生するビート周波数に対して、光コムの次数分を加味して周波数差を算出し、この周波数差を波長差に換算する手段を備えることができる。
また、3つ以上の波長から2つずつの組み合わせの合成波長での位相差を算出する手段と、その分解能の違いを利用して距離を決定する手段と、を備えることができる。
本発明によれば、安定度の高い高価なレーザや、高精度に波長を可変できる高価なレーザを使用せずに、安価なレーザで多波長干渉変位測定を実現できるため、装置の低価格化をはかることができる。
以下、図面を参照して、本発明の実施形態を詳細に説明する。
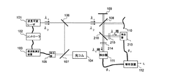
本発明の第1実施形態にかかる変位測定装置の構成を図2に示す。
本実施形態では、波長(周波数)可変レーザ101の出力光をビームスプリッタ106で分割する。一方の光をビームスプリッタ108で分割し、一方は、例えば平面鏡でなる参照鏡109で反射させて参照光とする。他方は、距離(変位)の測定対象である対象物110を照射し、そこからの反射光である測定光と、前記参照光をビームスプリッタ108で重ね合せる。参照光と測定光の信号を検出器111によって受光し、干渉強度信号により、干渉計本体から対象物110までの距離(対象物110の変位)を測定する。
又、ビームスプリッタ106からの反射光を、ビームスプリッタ107を介して光コム104と重ね合わせて、検出器105で受光する。光コム104と波長可変レーザ101のビート信号を周波数測定装置103で周波数解析して、コントローラ102により、レーザ101の発振波長(周波数)をフィードバック制御する。
本実施形態においては、波長可変レーザ101を所定の波長λ1で発振させて、得られた干渉信号から位相φ1を算出する。波長λ1は、波長可変レーザ101の周波数を光コム104とのビート周波数によって正確に測定して、所定の波長λ1になるように波長可変レーザ101を制御することによって得られる。図3に波長を可変した時のビート信号の周波数変化の様子を模式的に示す。
次に、光コム104とのビート信号によって波長(周波数)を測定しながら、合成波長λsを実現するために必要な、波長λ1とは異なる所定の波長λ2で波長可変レーザ101を発振させる。そして、参照光と測定光の反射光による干渉信号を取得し、位相φ2の解析値を得る。ここで、得られた2つの位相φ1とφ2の差φs(=φ1−φ2)から、合成波長λsを使った長さに換算して、次式(4)に示す如く、λs/2の範囲内で参照光と測定光の光路長差の形で対象物110までの距離(変位)Lを得ることが出来る。
L=(φs/2π)*(λs/2) …(4)
光コム104は、セシウムの原子時計を基準にして光の周波数を15桁以上の精度で測定できる装置である。従って、所定の波長λ1とλ2は、最大で15桁の精度で制御可能である。よって、波長λ1とλ2を元に合成した波長λSは、十分に高い精度で実現できる。
第1実施形態の測定手順をまとめると、次のようになる。
(1)レーザ101の波長を設計波長λ1に制御する。
(2)干渉測定し、位相φ1を得る。
(3)レーザ101の波長を設計波長λ2に制御する。
(4)干渉測定し、位相φ2を得る。
(5)予め設計した位相φ1とφ2の差φSを式(4)に代入し、距離Lを算出する。
図2では、一つのレーザ101を所定の波長λ1とλ2に可変し、それぞれ順次測定する方法を示しているが、図4に示す第2実施形態のように、2波長以上を同時に出力するレーザ201を使って、波長λ1とλ2による干渉信号を分割して同時に取る光学系(ビームスプリッタ210、バンドパスフィルタ214、215)を設けても良い。この場合、検出器105や周波数測定装置103からなる波長可変レーザ201の周波数(波長)測定系を波長λ1とλ2用にそれぞれ別々に用意しても構わないし、図4に示したように、一つの周波数測定系で、両方の周波数(波長)λ1、λ2を測定して制御することも可能である。
図5は、レーザの発振スペクトルと、その時に得られる干渉ビート信号の例を模式的に示している。図5(a1)に示す如く、波長λ1とλ2と光コム104の干渉のビート信号を、光コム104の周波数間隔frepの1/2までの範囲で観察した場合には、図5(b1)に示す如く、それぞれの差の組み合わせの数の周波数のビート信号Δf1、Δf2、Δf12が観測される。一方、図5(a2)に示す如く、波長λ1とλ2が、光コム104の異なる周波数(次数)との間で干渉している場合には、図5(b2)に示す如く、波長λ1とλ2は、それぞれの近隣の光との差の周波数のビート信号Δf1、Δf2が検出される。このような状況で、図5(a3)に示す如く、いずれかの波長(図ではλ2)を変化させると、変化させた分だけビート信号の周波数の変化が生じる。この現象を活用すれば、1つの周波数測定系で、波長λ1とλ2を区別することが可能である。
又、本発明を利用すれば、図6に示す第3実施形態のような構成での干渉測定への応用も可能である。
本実施形態では、波長可変レーザ101を任意の波長λ1’で発振させて、位相φ1を測定する。次に、λ1’とは異なる波長λ2’で発振させて、位相φ2を測定する。位相φ1とφ2を測定した際の正確な波長を、検出器105や周波数測定装置103などからなる周波数測定系で測定し、その結果を式(2)に代入して合成波長λsを算出し、位相φ1とφ2から得られる合成位相φsと共に式(4)に代入することで、対象物110までの距離Lを算出することができる。
このとき、波長λ1’とλ2’の値によって合成波長λsの値は変わるが、実測値によって得た合成波長λsで長さに変換するだけであるため、測定結果には何ら影響を及ぼさない。
本実施形態では、レーザ101の波長を制御するための特別な装置も不要で、例えば半導体レーザのように電流可変で簡単に波長を変えられるようなレーザが使用できるために、測定装置を極めて簡素化することが出来る。
本実施形態の測定手順をまとめると次のようになる。
(1)レーザ101を任意の波長λ1’で発振させる。
(2)干渉測定し、位相φ1を得ると同時に、そのときの正確な発振波長λ1を測定する。
(3)レーザ101を別の波長λ2’に可変し発振させる。
(4)干渉測定し、位相φ2を得ると同時に、そのときの正確な発振波長λ2を測定する。
(5)式(1)(2)(5)に代入して、対象物110までの距離Lを算出する。
又、本発明の手法を応用すれば、図7に示す第4実施形態の如く、発振波長の安定度が低く安価なレーザを使っても、合成波長により広いレンジの干渉測定が実現できる。
本実施形態では、波長λ1を発振するレーザ416と波長λ2を発振するレーザ417を同軸に重ね合わせ、参照鏡109と対象物110からなる干渉光学系に入射する。波長λ1とλ2によって干渉測定を行ない、それぞれの位相φ1とφ2を得て、その差φsを算出する。その際の波長λsの正確な値は、検出器105や周波数測定装置103からなる周波数測定系によって得られたλ1とλ2を使用して正確に算出する。そして得られた合成位相φsと合成波長λsから、対象物110までの距離Lを得ることができる。位相φ1とφ2のそれぞれを測定した瞬間の波長λ1とλ2が得られる本実施形態においては、たとえ、レーザ416、417の周波数が不安定であったとしても、距離(変位)Lの測定には大きな影響は及ぼさない。
2波長の合成波長によって測定レンジを拡大する干渉測定では、測定分解能は合成波長λsと合成位相φsの分割数によって決まる。例えば、λs=10mmとし、φ2とφ1の差で得られるφsの分割数が500だとすると、このときの測定分解能は10μm程度になってしまう。これに対して、測定に使用する波長の数を増やして組み合わせによって出来る合成波長の種類を増やすことで、広いレンジを確保しつつかつ高い分解能の測定を簡単に実現できる。図8に示す第5実施形態のように、波長可変レーザ101の波長をλ1、λ2、λ3に切り替えて、それぞれの波長で参照光と測定光の位相差φ1、φ2、φ3を得る。そして、各波長の組み合わせによって作り出される、合成波長λsi,jでの位相差φi,jから対象物110の位置や変位を広い範囲でかつ高い分解能で測定できる。
本実施形態の測定手順をまとめると、次の通りである。
(1)レーザ101の波長を設計波長λ1に制御する。
(2)干渉測定し、位相φ1を得る。
(3)レーザ101の波長を設計波長λ2に制御する。
(4)干渉測定し、位相φ2を得る。
(5)レーザ101の波長を設計波長λ3に制御する。
(6)干渉測定し、位相φ3を得る。
(7)位相φ1とφ2とφ3の差の組み合わせで位相差φi,jを算出し、対象物110までの距離Lを算出する。
例えば、λ1=1μm、λ2=0.9999μm、λ3=0.98μmとする。この場合、λ1とλ2の組み合わせの合成波長λs21は9999μm、λ3とλ1の組み合わせによる合成波長λs31は49μmとなる。それぞれの合成波長のもと導き出される、φs21、φs31の分割数を、先に述べた例と同じ500分割だとすると、λs21では約10μm分解能の測定が、λs31では50nm分解能の測定ができることになる。更にλ1、λ2、λ3いずれかの短波長での測定結果も併用すれば、10mmのレンジを1nm分解能で測定することも可能となる。
本発明で実現する場合には、例えば、図1や図4では、可変させる波長を3つにすることで容易に実現できる。図4の場合には3波長を発振するレーザを使用する。図6では、3種類のレーザを使用することにより容易に実施することが出来る。4波長以上の場合、同様に簡単に実現できることは明らかである。
それぞれの実施形態の中で、光の周波数を測定する装置として示した光コム104は、コムのスペクトル間隔内の限られた周波数領域ごとを高い分解能できることが基本となっている。そのため、光コム104のどの周波数の光との干渉によって生じたビート信号なのか、別途、次数Nを決定する必要がある。レーザの発振周波数の予備値やレーザ周波数の可変時の分解能などによって、次数Nを決定できない場合には、図9に示す第6実施形態のように、波長計601などの波長を測定できる手段と併用して、次数Nを決定し、波長可変レーザ101の波長λ1、λ2の測定や、発振周波数の制御に使用しても良い。
λ1とλ2といった多波長での測定値を得る際に、λ1の波長を基準として、相対的に波長差Δλをつけたλ2を使って測定を行い、λ1とλ2の合成波長によって対象物への距離Lを測定しても良い。
通常、光周波数を測定する場合には、『産総研TODAY Vol. 8 No.1 モード同期ファイバレーザを用いた広帯域光コムhttp://www.aist.go.jp/aist_j/aistinfo/aist_today/vol08_01/p29.html』に示されているように、fCEOを正確に値付けされた、光コムが必要である。そのためには、fCEOを決めれるだけの十分に周波数帯域の広い光コムが必要である。
一方で、合成波長による測定の場合には、式(3)により、λ1とλ2の相対的な波長差Δλの正確さが測定精度に大きく影響するため、絶対値があいまいな光コムを使って、Δλを値付けして合成波長λsを決めても、実用的に十分高い精度で測定可能である。Δλの決定には、λ1と光コムによって発生するビート周波数Δf1とλ2と光コムによって発生するビート周波数Δf2を次数N分を加味して周波数差Δf12を算出し、Δf12からΔλを換算すればよい。これにより、提案する光波干渉計に使用する周波数測定に使用する光コムは、測定に使用する波長域をカバーする最低限のものであれば良いために、より低価格に実現することが可能となる。
なお、前記実施形態においては、参照鏡109として平面鏡が用いられていたが、代りに、光軸が合わせ易く、調整が容易なレトロリフレクタを用いても良い。又、対象物110の表面にレトロリフレクタを取付けても良い。
本発明で用いる光コムの説明図 本発明の第1実施形態の構成を示すブロック図 同じく波長を可変した時のビート信号の周波数変化の様子を模式的に示す図 本発明の第2実施形態の構成を示すブロック図 本発明で用いるレーザのスペクトルとビート信号の周波数の例を示す図 本発明の第3実施形態の構成を示すブロック図 本発明の第4実施形態の構成を示すブロック図 本発明の第5実施形態の構成を示すブロック図 本発明の第6実施形態の構成を示すブロック図
符号の説明
101、201…波長可変レーザ
102…コントローラ
103…周波数測定装置
104…光コム
105、111、213…検出器
106、107、108、210…ビームスプリッタ
109…参照鏡
110…対象物
112…解析装置
214、215…バンドパスフィルタ
416、417…レーザ
601…波長計

Claims (16)

  1. 複数の波長のレーザ光により、各波長で測定される干渉測定値を得て、各波長の組み合わせからレーザ光の波長よりも等価的に長い合成波長で測定レンジを拡大して、干渉計本体から対象物までの距離または変位を干渉測定する際に、
    前記複数のレーザ光の波長を、光コムを用いて測定することを特徴とする多波長干渉変位測定方法。
  2. 前記光コムを用いて波長可変レーザの発振波長を測定してフィードバック制御をかけることにより、所定の複数の波長のレーザ光を得ることを特徴とする請求項1に記載の多波長干渉変位測定方法。
  3. 波長可変レーザを任意の波長で発振させて、複数の波長での干渉測定値を得て、各干渉測定値を得た際のレーザ光の波長(周波数)を光コムで測定して、干渉計本体から対象物までの距離を算出することを特徴とする請求項1に記載の多波長干渉変位測定方法。
  4. 複数のレーザを用いて、各レーザから発振されるレーザ光の波長を光コムで測定しながら干渉測定を行い、干渉計本体から対象物までの距離を算出することを特徴とする請求項1に記載の多波長干渉変位測定方法。
  5. 前記光コムを含む一つの周波数測定系で、前記複数の波長を測定することを特徴とする請求項1乃至4のいずれかに記載の多波長干渉変位測定方法。
  6. 複数の波長で干渉測定値を得る際、一つの波長を基準として相対的に波長差を正確に与える制御を行って干渉測定を行うか、あるいは、各波長での測定値を得た時の波長差を、一つの波長を基準として相対的な差として測定することを特徴とする、請求項1及至5のいずれかに記載の干渉測定方法。
  7. 一方の波長と光コムによって発生するビート周波数と、他方の波長と光コムによって発生するビート周波数に対して、光コムの次数分を加味して周波数差を算出し、この周波数差を波長差に換算することを特徴とする請求項1乃至6のいずれかに記載の多波長干渉変位測定方法。
  8. 3つ以上の波長から2つずつの組み合わせの合成波長での位相差を算出し、その分解能の違いを利用して距離を決定することを特徴とする請求項1乃至7のいずれかに記載の多波長干渉変位測定方法。
  9. 複数の波長のレーザ光により、各波長で測定される干渉測定値を得て、各波長の組み合わせからレーザ光の波長よりも等価的に長い合成波長で測定レンジを拡大して、干渉計本体から対象物までの距離または変位を干渉測定する多波長干渉変位測定装置において、
    前記複数のレーザ光の波長を測定するために光コムを備えたことを特徴とする多波長干渉変位測定装置。
  10. 前記光コムを用いて波長可変レーザの発振波長を測定してフィードバック制御をかける手段を備えることにより、所定の複数の波長を得ることを特徴とする請求項9に記載の多波長干渉変位測定装置。
  11. 波長可変レーザを任意の波長で発振させて、複数の波長での干渉測定値を得る手段と、各干渉測定値を得た際のレーザ光の波長(周波数)を光コムで測定して、干渉計本体から対象物までの距離の算出に用いる手段とを備えたことを特徴とする請求項9に記載の多波長干渉変位測定装置。
  12. 複数のレーザと、各レーザから発振されるレーザ光の波長を光コムで測定しながら干渉測定を行い、干渉計本体から対象物までの距離の算出に用いる手段とを備えたことを特徴とする請求項9に記載の多波長干渉変位測定装置。
  13. 前記複数の波長を測定するための、前記光コムを含む一つの周波数測定系を備えたことを特徴とする請求項9乃至12のいずれかに記載の多波長干渉変位測定装置。
  14. 複数の波長で干渉測定値を得る際、一つの波長を基準として相対的に波長差を正確に与える制御を行って干渉測定を行う手段か、あるいは、各波長での測定値を得た時の波長差を、一つの波長を基準として相対的な差として測定する手段を備えたことを特徴とする、請求項9及至13のいずれかに記載の干渉測定方法。
  15. 一方の波長と光コムによって発生するビート周波数と、他方の波長と光コムによって発生するビート周波数に対して、光コムの次数分を加味して周波数差を算出し、この周波数差を波長差に換算する手段を備えたことを特徴とする請求項9乃至14のいずれかに記載の多波長干渉変位測定装置。
  16. 3つ以上の波長から2つずつの組み合わせの合成波長での位相差を算出する手段と、その分解能の違いを利用して距離を決定する手段と、を備えたことを特徴とする請求項9乃至15のいずれかに記載の多波長干渉変位測定装置。
JP2008198185A 2008-07-31 2008-07-31 多波長干渉変位測定方法及び装置 Expired - Fee Related JP5511162B2 (ja)

Priority Applications (2)

Application Number Priority Date Filing Date Title
JP2008198185A JP5511162B2 (ja) 2008-07-31 2008-07-31 多波長干渉変位測定方法及び装置
EP20090166890 EP2149778B1 (en) 2008-07-31 2009-07-30 Multiwavelength interferometric displacement measuring method and apparatus

Applications Claiming Priority (1)

Application Number Priority Date Filing Date Title
JP2008198185A JP5511162B2 (ja) 2008-07-31 2008-07-31 多波長干渉変位測定方法及び装置

Publications (2)

Publication Number Publication Date
JP2010038552A true JP2010038552A (ja) 2010-02-18
JP5511162B2 JP5511162B2 (ja) 2014-06-04

Family

ID=41259920

Family Applications (1)

Application Number Title Priority Date Filing Date
JP2008198185A Expired - Fee Related JP5511162B2 (ja) 2008-07-31 2008-07-31 多波長干渉変位測定方法及び装置

Country Status (2)

Country Link
EP (1) EP2149778B1 (ja)
JP (1) JP5511162B2 (ja)

Cited By (6)

* Cited by examiner, † Cited by third party
Publication number Priority date Publication date Assignee Title
WO2011118255A1 (ja) * 2010-03-26 2011-09-29 株式会社日立製作所 距離測定装置および距離測定方法
JP2012004426A (ja) * 2010-06-18 2012-01-05 Mitsutoyo Corp 無変調安定化レーザ装置
JP2012088274A (ja) * 2010-10-22 2012-05-10 Mitsutoyo Corp 変位測定装置
JP2014190759A (ja) * 2013-03-26 2014-10-06 Mitsutoyo Corp 周波数測定装置、及び周波数測定方法
JP2015528924A (ja) * 2012-07-19 2015-10-01 カール・ツァイス・エスエムティー・ゲーエムベーハー 光学距離測定システムを備えるマイクロリソグラフィー用の投影露光装置
CN119805902A (zh) * 2024-12-30 2025-04-11 西安空间无线电技术研究所 一种基于高速伪码的激光时间传递系统及方法

Families Citing this family (2)

* Cited by examiner, † Cited by third party
Publication number Priority date Publication date Assignee Title
JP5736247B2 (ja) * 2011-06-23 2015-06-17 株式会社日立製作所 距離計測方法および装置
IL321041A (en) 2022-12-20 2025-07-01 Attocube Systems Gmbh System and method for measuring distance using interferometry

Citations (7)

* Cited by examiner, † Cited by third party
Publication number Priority date Publication date Assignee Title
JPH04299203A (ja) * 1991-03-28 1992-10-22 Yokogawa Electric Corp アブソリュ−ト測長器
JP2553276B2 (ja) * 1991-03-27 1996-11-13 エイチイー・ホールディングス・インコーポレーテッド・ディービーエー・ヒューズ・エレクトロニクス 3波長光学測定装置及び方法
JP2004340690A (ja) * 2003-05-14 2004-12-02 National Institute Of Advanced Industrial & Technology 多色モードロックレーザを用いた光周波数測定装置及び測定方法
JP2007040994A (ja) * 2005-08-01 2007-02-15 Mitsutoyo Corp 干渉計測システム
JP2007333428A (ja) * 2006-06-12 2007-12-27 Ricoh Co Ltd 形状測定装置及び形状測定方法
JP2008051674A (ja) * 2006-08-25 2008-03-06 National Institute Of Advanced Industrial & Technology 位置決め機構
JP2009198477A (ja) * 2008-02-19 2009-09-03 Korea Advanced Inst Of Science & Technol 光周波数発生器を用いた絶対距離測定方法及びシステム

Family Cites Families (1)

* Cited by examiner, † Cited by third party
Publication number Priority date Publication date Assignee Title
JP3423229B2 (ja) 1998-11-17 2003-07-07 株式会社ミツトヨ 光波干渉計及び光波干渉計を用いた測長方法

Patent Citations (7)

* Cited by examiner, † Cited by third party
Publication number Priority date Publication date Assignee Title
JP2553276B2 (ja) * 1991-03-27 1996-11-13 エイチイー・ホールディングス・インコーポレーテッド・ディービーエー・ヒューズ・エレクトロニクス 3波長光学測定装置及び方法
JPH04299203A (ja) * 1991-03-28 1992-10-22 Yokogawa Electric Corp アブソリュ−ト測長器
JP2004340690A (ja) * 2003-05-14 2004-12-02 National Institute Of Advanced Industrial & Technology 多色モードロックレーザを用いた光周波数測定装置及び測定方法
JP2007040994A (ja) * 2005-08-01 2007-02-15 Mitsutoyo Corp 干渉計測システム
JP2007333428A (ja) * 2006-06-12 2007-12-27 Ricoh Co Ltd 形状測定装置及び形状測定方法
JP2008051674A (ja) * 2006-08-25 2008-03-06 National Institute Of Advanced Industrial & Technology 位置決め機構
JP2009198477A (ja) * 2008-02-19 2009-09-03 Korea Advanced Inst Of Science & Technol 光周波数発生器を用いた絶対距離測定方法及びシステム

Non-Patent Citations (5)

* Cited by examiner, † Cited by third party
Title
JPN6013011360; Jonghan Jin, Young-Jin Kim, Yunseok Kim and Seung-Woo Kim: '"Absolute length calibration of gauge blocks using optical comb of a femtosecond pulse laser"' OPTICS EXPRESS Vol.14, No.13, 20060626, pages 5968-5974 *
JPN6013011362; Nicolas Schuler, Yves Salvade, Samuel Leveque, Rene Dandliker, Ronald Holzwarth: '"Frequency-comb-referenced two-wavelength source for absolute distance measurement"' OPTICS LETTERS Vol.31, No.21, 200611, pages 3101-3103 *
JPN6013011366; Mikko Merimma, K. Nyholm, M. Vainio, Antti Lassila: '"Traceability of Laser Frequency Calibrations at MIKES"' IEEE TRANSACTIONS ON INSTRUMENTATION AND MEASUREMENT Vol.56, No.2, 200704, pages 500-504 *
JPN6013011371; Youichi Bitou, Thomas R. Schibli, Kaoru Minoshima: '"Accurate wide-range displacement measurement using tunable diode laser and optical frequency comb g' OPTICS EXPRESS Vol.14, No.2, 200601, pages 644-654 *
JPN6013011374; Yves Salvade, Nicolas Schuler, Samuel Leveque, Sebastien Le Floch: '"High-accuracy absolute distance measurement using frequency comb referenced multiwavelength source"' APPLIED OPTICS Vol.47, No.14, 20080510, pages 2715-2720 *

Cited By (9)

* Cited by examiner, † Cited by third party
Publication number Priority date Publication date Assignee Title
WO2011118255A1 (ja) * 2010-03-26 2011-09-29 株式会社日立製作所 距離測定装置および距離測定方法
JP2011203188A (ja) * 2010-03-26 2011-10-13 Hitachi Ltd 距離測定装置および距離測定方法
US8982332B2 (en) 2010-03-26 2015-03-17 Hitachi, Ltd. Distance measuring device and distance measuring method
JP2012004426A (ja) * 2010-06-18 2012-01-05 Mitsutoyo Corp 無変調安定化レーザ装置
JP2012088274A (ja) * 2010-10-22 2012-05-10 Mitsutoyo Corp 変位測定装置
JP2015528924A (ja) * 2012-07-19 2015-10-01 カール・ツァイス・エスエムティー・ゲーエムベーハー 光学距離測定システムを備えるマイクロリソグラフィー用の投影露光装置
US9759550B2 (en) 2012-07-19 2017-09-12 Carl Zeiss Smt Gmbh Projection exposure apparatus for microlithography comprising an optical distance measurement system
JP2014190759A (ja) * 2013-03-26 2014-10-06 Mitsutoyo Corp 周波数測定装置、及び周波数測定方法
CN119805902A (zh) * 2024-12-30 2025-04-11 西安空间无线电技术研究所 一种基于高速伪码的激光时间传递系统及方法

Also Published As

Publication number Publication date
EP2149778A1 (en) 2010-02-03
EP2149778B1 (en) 2013-06-19
JP5511162B2 (ja) 2014-06-04

Similar Documents

Publication Publication Date Title
JP5511162B2 (ja) 多波長干渉変位測定方法及び装置
JP5511163B2 (ja) 光波干渉による距離測定方法及び装置
JP2553276B2 (ja) 3波長光学測定装置及び方法
CN101023567B (zh) 来自模式选择调谐器的光学反馈
US20150109622A1 (en) Optical coherence tomography apparatus and optical coherence tomography method
WO2014203654A1 (ja) 距離測定装置、形状測定装置、加工システム、距離測定方法、形状測定方法および加工方法
CN109324333A (zh) 用于干涉式距离测量的装置
JP6264547B2 (ja) 光信号生成装置、距離測定装置、分光特性測定装置、周波数特性測定装置及び光信号生成方法
JP2013083581A (ja) 計測装置
JP6628030B2 (ja) 距離測定装置及びその方法
JP2002333371A (ja) 波長計
JP5654837B2 (ja) 変位測定装置
JP4998738B2 (ja) 寸法測定装置及び寸法測定方法
JP6503618B2 (ja) 距離測定装置及びその方法
JP2554363B2 (ja) 光干渉測定装置
JP6968450B2 (ja) 多重スペクトル変調の重ね合わせによるスペクトル制御干渉法の範囲の拡大
JP2012184967A (ja) 波長走査干渉計
Takahashi et al. Phase-shifting interferometric profilometry with a wavelength-tunable diode source
US11385044B2 (en) Extending the range of spectrally controlled interferometry by superposition of multiple spectral modulations
US6816264B1 (en) Systems and methods for amplified optical metrology
da Silva et al. Real-time contour fringes obtained with a variable synthetic wavelength from a single diode laser
JPH0712509A (ja) 高精度干渉距離計
JP2004241659A (ja) 2波長型半導体レーザ装置、2波長型干渉計測装置、2波長型半導体レーザ発振方法及び2波長型干渉計測方法
US11598628B1 (en) High dynamic range picometer metrology systems and methods
JP2022129385A (ja) 干渉法による間隔測定のための装置

Legal Events

Date Code Title Description
A621 Written request for application examination

Free format text: JAPANESE INTERMEDIATE CODE: A621

Effective date: 20110601

A977 Report on retrieval

Free format text: JAPANESE INTERMEDIATE CODE: A971007

Effective date: 20130228

A131 Notification of reasons for refusal

Free format text: JAPANESE INTERMEDIATE CODE: A131

Effective date: 20130312

A521 Request for written amendment filed

Free format text: JAPANESE INTERMEDIATE CODE: A523

Effective date: 20130513

TRDD Decision of grant or rejection written
A01 Written decision to grant a patent or to grant a registration (utility model)

Free format text: JAPANESE INTERMEDIATE CODE: A01

Effective date: 20140311

A61 First payment of annual fees (during grant procedure)

Free format text: JAPANESE INTERMEDIATE CODE: A61

Effective date: 20140325

R150 Certificate of patent or registration of utility model

Ref document number: 5511162

Country of ref document: JP

Free format text: JAPANESE INTERMEDIATE CODE: R150

R250 Receipt of annual fees

Free format text: JAPANESE INTERMEDIATE CODE: R250

R250 Receipt of annual fees

Free format text: JAPANESE INTERMEDIATE CODE: R250

LAPS Cancellation because of no payment of annual fees