JP2010037752A - 戸当り - Google Patents

戸当り Download PDF

Info

Publication number
JP2010037752A
JP2010037752A JP2008199480A JP2008199480A JP2010037752A JP 2010037752 A JP2010037752 A JP 2010037752A JP 2008199480 A JP2008199480 A JP 2008199480A JP 2008199480 A JP2008199480 A JP 2008199480A JP 2010037752 A JP2010037752 A JP 2010037752A
Authority
JP
Japan
Prior art keywords
plate
rod
door
housing
pedestal
Prior art date
Legal status (The legal status is an assumption and is not a legal conclusion. Google has not performed a legal analysis and makes no representation as to the accuracy of the status listed.)
Granted
Application number
JP2008199480A
Other languages
English (en)
Other versions
JP5329146B2 (ja
Inventor
Katsumi Yagi
克巳 八木
Norito Yagi
準人 八木
Current Assignee (The listed assignees may be inaccurate. Google has not performed a legal analysis and makes no representation or warranty as to the accuracy of the list.)
Yagi KK
Original Assignee
Yagi KK
Priority date (The priority date is an assumption and is not a legal conclusion. Google has not performed a legal analysis and makes no representation as to the accuracy of the date listed.)
Filing date
Publication date
Application filed by Yagi KK filed Critical Yagi KK
Priority to JP2008199480A priority Critical patent/JP5329146B2/ja
Publication of JP2010037752A publication Critical patent/JP2010037752A/ja
Application granted granted Critical
Publication of JP5329146B2 publication Critical patent/JP5329146B2/ja
Active legal-status Critical Current
Anticipated expiration legal-status Critical

Links

Images

Landscapes

  • Closing And Opening Devices For Wings, And Checks For Wings (AREA)

Abstract

【課題】ドア側の磁石と床面に揺動自在に設置された磁性体プレートとを吸着させることによりドアを全開位置に固定する戸当りであって、容易かつ確実にドアを全開位置にロックすることができ、しかもプレートを確実に係合し得る戸当りを提供することを目的とする。
【解決手段】本発明の戸当りは、床面に固定された台座と、前記台座に旋回自在に取り付けられたプレートと、ドアの下端部付近に固定された筐体と、該筐体に入れ子式に収容された上下に延びるロッドとからなり、前記プレートが磁性体からなり、前記筐体に設けられた磁石によって前記プレートが持ち上げられたときに前記ロッドの下端に設けられた爪が前記プレートの自由端に設けられた爪と係合され、前記ロッドを上下させる被押圧部が、前記ロッドの上端に一体的に形成され、前記被押圧部が前記筐体と圧縮コイルバネを介して連結されてなることを特徴とする。
【選択図】図1

Description

本発明は戸当りに関する。さらに詳しくは、ドア側の磁石と床面に揺動自在に設置された磁性体からなるプレートとを吸着させることにより、ドアを全開位置に固定することができる戸当りに関する。
従来より、図14〜15に示すように、ドア50の開閉によりドア50またはノブ51が壁またはドア50周辺の家具やキャビネット52などに衝突し、これらに損傷が生じるのを防ぐために戸当り53がドア50の付近の床54に設けられている。
かかる戸当り53としては、床54に立設される雄ねじ(図示せず)に螺着される基部55と、該基部55の上部に固着される緩衝体56とからなるものがある。
また、ドア50を開放状態にしておくために、前記基部55内に差し込まれているU字状の止め金具57を引き抜き、ドア50の側面に設けられた鉤付き座金58の鉤部59に係止するようにしている。
しかしながら、前記戸当り53では、常時床54に立設されているため、前記ドア50が戸当り53に固定されていない場合、歩行中誤って戸当り53に蹴つまづいてしまう惧れがある。
また、運搬物、たとえばキャビネット52を移動させる際に邪魔になり、誤ってキャビネット52が戸当り53に衝突すると、キャビネット52がへこんだり、戸当り53が変形する惧れがある。さらに、床掃除をする際に邪魔になっていた。
さらに、従来の戸当り53は、常時床54に立設されているため、床54の上に異物が突出しているように見え、美観上好ましくない。
一方、床から出没自在の戸当りも種々検討されており、従来より知られている出没自在の戸当りとして、磁石を用いた戸当りなどがある。特許文献1および特許文献2に記載された磁石を用いた戸当りは、たとえば、床面に揺動自在に設置された磁性体プレートを、ドア側の磁石に吸着させることによりドアを全開位置に固定している。
特許公報第2990601号 特開平10−1155139号公報
しかし、ドアの表面積は比較的広いので、ドアに風が当って強い力が加われば、磁石とプレートとの間の吸着力のみでは、ドアを全開位置に保持することができなくなり、ドアが勢いよく閉まってしまうなどの問題がある。
また、ドアを開放位置に仮止めできるように、磁石下面にロッドを突設し、磁性体プレートに該ロッドを係合するための凹部または貫通孔を形成することが考えられるが、この場合、ロッドは磁石に吸引されたプレートの前縁を乗り上げて凹部または貫通孔に係合しなければならず、係合を確実に行なうことが難しいという問題がある。
本発明はかかる問題を解消するためになされたものであり、ドア側の磁石と床面に揺動自在に設置された磁性体プレートとを吸着させることによりドアを全開位置に固定する戸当りであって、容易かつ確実にドアを全開位置にロックすることができ、しかもプレートを確実に係合し得る戸当りを提供することを目的とする。
本発明の戸当りは、床面に固定された台座と、前記台座に旋回自在に取り付けられたプレートと、ドアの下端部付近に固定された筐体と、該筐体に入れ子式に収容された上下に延びるロッドとからなり、前記プレートが磁性体からなり、前記筐体に設けられた磁石によって前記プレートが持ち上げられたときに前記ロッドの下端に設けられた爪が前記プレートの自由端に設けられた爪と係合され、前記ロッドを上下させる被押圧部が、前記ロッドの上端に一体的に形成され、前記被押圧部が前記筐体と圧縮コイルバネを介して連結されてなることを特徴とする。
また、本発明の戸当りは、床面に固定された台座と、前記台座に旋回自在に取り付けられたプレートと、ドアの下端部付近に固定された筐体と、該筐体に入れ子式に収容された上下に延びるロッドとからなり、前記プレートが磁性体からなり、前記筐体に設けられた磁石によって前記プレートが持ち上げられたときに前記ロッドの下端が前記プレートと係合され、前記ロッドを上下させる被押圧部が、前記ロッドの上端に一体的に形成され、前記被押圧部が前記筐体と圧縮コイルバネを介して連結されてなることを特徴とする。
さらに、本発明の戸当りは、床面に固定された台座と、前記台座に旋回自在に取り付けられたプレートと、ドアの下端部付近に固定された筐体と、該筐体に入れ子式に収容された上下に移動し得るロッドとからなり、前記プレートが磁性体からなり、前記筐体に設けられた磁石によって前記プレートが持ち上げられたときに前記ロッドの下端に設けられた爪が前記プレートに設けられた凹所と係合され、前記ロッドを上下させる被押圧部が、前記ロッドの上端に一体的に形成され、前記被押圧部が前記筐体と圧縮コイルバネを介して連結されてなることを特徴とする。
また、本発明の戸当りは、床面に固定された台座と、前記台座に旋回自在に取り付けられたプレートと、ドアの下端部付近に固定された筐体と、該筐体に入れ子式に収容された上下に延びるロッドとからなり、
前記プレートが磁性体からなり、前記筐体に設けられた磁石によって前記プレートが持ち上げられたときに前記ロッドの下端に回転不能に設けられた歯車が前記プレートに設けられた歯車と噛み合され、前記ロッドを上下させる被押圧部が、前記ロッドの上端に一体的に形成され、前記被押圧部が前記筐体と圧縮コイルバネを介して連結されてなることを特徴とする。
さらにまた、本発明の戸当りは、床面に固定された台座と、前記台座に旋回自在に取り付けられたプレートと、
ドアの下端部付近に固定された筐体と、
該筐体に入れ子式に収容され、下端部が二股に分岐して、前記筐体から突出して延びる二つの分岐部を備えたフォーク状のロッドと
からなり、
前記プレートが磁性体からなり、前記筐体に設けられた磁石によって前記プレートが持ち上げられたときに前記ロッドの二つの分岐部の先端が前記プレートをまたぎ、かつ前記台座に設けられた凹所に嵌入し、前記ロッドを上下させる被押圧部が、前記ロッドの上端に一体的に形成され、前記被押圧部が前記筐体と圧縮コイルバネを介して連結されてなることを特徴とする。
本発明によれば、磁石の吸引力により床上のプレートを揺動させる戸当りに、さらに、プレートを磁石の下面に着脱自在に係合するロック機構を設けたことにより、ロッドの下端に設けられた爪がプレートの自由端に設けられた爪または凹所と係合しているときに、無理やりドアDを開/閉動作することにより、当該ロッドに強い力を加えた場合でも、本発明の戸当りを破壊しない限り、ロッドの下端に設けられた爪とプレートの自由端に設けられた爪または凹所との係合が解除されることはない。したがって、ドアDに風が当っても不意に閉まるなどの問題がなくなるため、強い風が当りやすい高層マンションのドアなども容易かつ確実に全開位置にロックすることができる。
しかも、磁石下面にロッドが出没自在に設けられているため、プレートに確実に係合することができる。
また、戸当りを使用しない場合には、プレートが床面とほぼ面一になるため、歩行やキャビネットなど運搬物の移動を安定に行なうことができる。
しかも、ドアを全開にしていないときには、プレートが床面とほぼ面一になるため、ドア周辺の床面は平坦であり、美観を向上することができる。しかも、床面のフラット感を生かした玄関周りのエクステリア設計が可能になる。
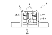
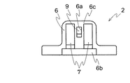
つぎに図面を参照しながら本発明の戸当りを詳細に説明する。図1は本発明の戸当りの一実施の形態を示す斜視説明図、図2は本発明に用いられるプレートの一実施の形態を示す図、図3(a)および(b)は本発明の戸当りの一実施の形態を示す図、図4a〜図4dは本発明に用いられるロッドの他の実施の形態を示す断面図、図5は本発明の図1の磁石を下から見た図、図6は図1のケース内部を上から見た図、図7〜10は図1の磁石におけるロッドのための昇降機構の主要部の動きを示す工程説明図、図11は本発明に用いられるプレートの一実施の形態を示す図、図12および図13は本発明の戸当りの磁石下面のロッドとプレートとが係合する工程を示す工程断面説明図である。
図1に示される戸当りは、大きく分けて床面に設置された台座部分1と、ドアDに固着され、ドアの下端部付近に固定された筐体2とから構成されている。ここでドアの下端部付近とは、たとえばドアの下端縁から、約10〜20cmくらいまでの範囲内であり、筐体は、床面に設けられたプレートと筐体のロッドが係合し得る高さに設けられる。
台座部分1は、図1、図2および図11に示されるように、床面にネジなどで固定されたナイロン、ポリアセタールなどのエンジニアリング樹脂や亜鉛合金などからなる台座3に、鉄などの磁性体からなるプレート4が揺動自在に取り付けられている。台座部分1の設置方法については、本発明ではとくに限定するものではなく、図1のように床面に設置してもよいし、または床に形成される埋設穴に埋設してもよい。
台座部分1は、図11(a)〜(c)に示されるように、台座3と、プレート4と、軸押さえ板3eとから構成されている。
プレート4には、後述する筐体2下面のロッド9に係合し得る係合部5が形成されている。図3(b)に示されるように、本実施の形態において係合部5は、プレート4の自由端下方に凸状に設けられた爪であるが、係合部5の形状は、図11、図12および図13に示されるような貫通孔とすることもできる。また、係合部5は、係合部5と係合するロッドの形状に合わせて凹部、プレート4に形成された螺子等、公知の係止機構を採用することが可能である。
プレート4は、鉄やスチールなどの磁性体材料により作製され、たとえば図3(b)および図11に示されるように、1枚の薄い鉄板をプレス加工したり、または2枚以上の金属板を積層してもよい。たとえば、複数の金属板を用いてプレートを作製する場合、最上層の金属板に凹部を形成し、下層の金属板には前記最上層の金属板の凹部下側に生じる突出部分を挿入し得る貫通孔を形成し、これら複数の金属板をかしめることなどによって互いに固着すればよい。
プレート4の係合部5である貫通孔の形状およびプレート4の自由端側端部の下方に形成された爪4aは、本発明においてとくに限定されるものではなく、ロッド9の形状に対応するように選定すればよい。すなわち、爪4aの角度等も適宜変更が可能であるし、係合具合を調整するために、爪4aに丸みを持たせたりすることもできる。
台座3には、プレート4を収容する矩形の開口部3aが形成されている。プレート4は、台座3の開口部3aに下方から挿入され、プレート4の後端両側に突設された軸部16は、下方に開いた一対の軸受凹部3bに回転自在に挿入されている。
図11(a)に示されるように、一対の軸受凹部3bは、台座3の下面にかしめる、または接着などにより固着された、軸押さえ板3eによって閉塞されているので、軸部16が台座3の軸受凹部3bから脱落する心配がない。また、図11(c)に示されるように、軸押さえ板3eの中央部には、突片3fが前方に突設されている。突片3fは、プレート4の下方への落込みを防止している。
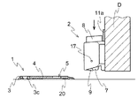
また、図11、図12および図13に示されるように、台座3の下面には、プレート4が磁石7に衝突するときにプレート4の後端に当接し得る当接部3cが設けられているため、磁石7に衝突したときにプレート4が受ける衝撃を当接部3cで受けることができ、プレート4の軸部16(図11(b)参照)などの破損を防止することができる。
また、図11(b)、図12および図13に示されるように、プレート4の下面には、薄いゴム層などからなる緩衝体20が設けられている。そのため、図13に示されるプレート4の上方位置から図12に示されるプレート4の下方位置に移行するときに、プレート4下面の緩衝体20がプレート4と床面との衝突を緩和するので、大きな金属音の発生を防止することができる。
しかも、プレート4の軸部16には、プレート4の揺動角度を規制するための傾斜部16aが、プレート4の後方(図11(b)では右方向)へ向かうにつれて上昇する方向に形成されている。そのため、プレート4が所定の揺動角度(たとえば30度程度)まで上方へ揺動すれば、傾斜部16aが台座3の下面に面接触することによって、プレート4の揺動角度を正確に規制することができる。
筐体2は、図1〜3および図4a〜4dに示されるように、ドアDの下面にネジなどによって固着されたケース6と、当該ケース6の下面に若干突出するように、後述するピン17廻りに回動自在に取り付けられた一対の磁石7と、ケース6の上部に上下動自在に挿入された被押圧部8と、被押圧部8と一体的に形成された略四角柱状のロッド9と、ケース6内部に収容され、前記被押圧部8およびロッド9を上方へ付勢する圧縮コイルバネ10と、ケース6の裏面を覆う裏蓋11とから構成されている。
なお、本実施の形態では、一対の磁石7を備えた例をあげて説明しているが、本発明はこれに限定されるものではなく、磁力の強い磁石を1個備えたものであってもよく、この場合、筐体2全体をコンパクトにすることが可能である。
ケース6の下面6cは、後方に向かうにつれて上昇するように傾斜しており、上方に揺動したプレート4と磁石本体7とがぴったりと面接触できるようになっている。また、ケース6の下面6cの奥端には、ドアDに沿って下方に延びる部分6bが形成されており、かかる部分6bに対して、磁石7に吸着されたプレート4の先端が衝突するようになっている。ケース6の部分6bは、プレート4との衝突の際の衝撃を吸収できるように、合成樹脂で作製したり、表面にゴムなどを貼着するのが好ましい。
部分6bの場所は適宜変更することが可能であり、図2に示される実施の形態においては、ロッド9が下方に突出しやすいように、ロッド9が出没する開口のドアDからの遠位端に設けることもできる。
一対の磁石7は、前述したようにケース6内部においてピン17廻りに回動自在に設けられているため、磁性体からなるプレート4が上方へ旋回して磁石7に吸着されるときに、プレート4に押された磁石7も若干回動(図3参照)することにより、ドアのガタや戸当りの取付誤差などの誤差を自動的に修正することができ、磁石7はプレート4に常に面接触することが可能である。
なお、本実施の形態では磁石7が回動自在である例が示されているが、本発明はこれに限定されるものではなく、磁石7をケース6に固定してもよい。
本実施の形態において、プレート4を磁石7の下面(すなわち、ケース6の下面6c)にロックするためのロック機構は、ロッド9から構成されている。ロッド9の下端には、プレート4の係合部5に係合しやすいように、爪9aが形成されている。また、爪9aがプレート4の表面を滑って係合部5に係合しやすいようにロッド9の下面9bは、後方に向かうにつれて下降するように傾斜している。
ロッド9は、被押圧部8内部において下方に出没自在に一体的に取り付けられているため、ロッド9にプレート4の係合部5を係合することが容易になっている。
具体的には、図3に示されるように、ロッド9は、軸9eを中心に旋回可能であり、プレート4の自由端下方に設けられた爪4aと係合し得るロッド9の下端の先端部に形成された爪9aが形成されている。この場合、ロッド9は、係合を確実にするために、水平方向に付勢するバネ9dがロッド9と被押圧部8との間に設けられ、バネ9dは、ロッド9を係合方向に付勢している。
また、ロッド9をロッド9の下端が回転不能に設けられた歯車(たとえば、ウォームホイール、ピニオン)とし、そのロッド9と係合し得る歯車(ウォーム、ラック)をプレート4に形成することも可能である。
また、図4aに示すように、ロッド9の他の態様としては、被押圧部8とロッド9が一体的に形成することも可能である。この場合、図12および図13に示されるように、ロッド9と係合するプレート4には、貫通孔を有する係合部5が形成され、その係合部5とロッド9が係合する。
また、図4bに示すように、ロッド9と被押圧部8を接着剤、溶接、螺子等の公知の固定手段により固定することも可能である。さらに別の態様として、図4cに示すようにロッド9の上下方向に延びるスリット9cが形成され、スリット9cには、両端がケース6に固定されたピン18が、図4cの紙面垂直方向に向けて挿入されているため、ロッド9は所定のストロークだけ上下に移動することができるようになっている。
図4bおよび図4cに示すロッド9も図4aに示す実施の形態と同様に、図12および図13に示される係合部5と係合することが可能である。
また、図1および図4a〜4cに示されるように、本実施の形態では、裏蓋11を上方に延長するとともに裏蓋11前面の少なくとも一部を赤色などで着色することにより、表示部11aが形成されている。それにより、被押圧部8を下方に押してロッド9を下方に突出させたときに、表示部11aが見えることにより、ロッド9が突出していることを視認することができる。
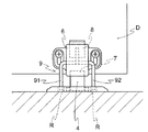
また本実施の形態の変形例として、ロッド9の下端部を二股に分岐させたフォーク状に形成したものも含まれる。この場合、図4dに示されているように、ロッド9の二つの分岐部91、92がケース6から外に突出して延びているので、磁石7によってプレート4が持ち上げられたときに被押圧部8を下方に押し下げると、ロッド9の二つの分岐部91、92の先端がプレート4をまたぎ、かつ台座3に設けられた凹所Rに嵌入し、かつケース6の下端に設けられた磁石7がプレート4と当接する。
さらに、本実施の形態の戸当りは、被押圧部8およびロッド9を所定の下方位置に容易にロックしたり、または解除できるように、裏蓋11の内側に昇降機構12を備えている。
昇降機構12は、図7〜図10に示されるように、前記被押圧部8の後面に回転自在に取り付けられた係止部13aを有する係止体13と、ケース6の後面に設けられた、前記係止体13に当接し得る当接体14と、前記ケース6の後面の前記当接体14よりも上側に設けられた、前記係止体13の係止部13aを係止するための突起15とから構成されている。
昇降機構12は、以下のようにして被押圧部8およびロッド9のロックを行なう。まず、足で被押圧部8を押し下げれば、係止体13がケース6の後面に形成された溝6d内部を下降し、当接体14が係止体13に当接して係止体13を回転させる(図8参照)。
そののち、足を被押圧部8から離せば、被押圧部8は、前記圧縮コイルバネ10の付勢力によって上昇するが、係止体13の係止部13aが突起15に係止されたときに所定の下方位置にロックされる(図9参照)。このとき、ロッド9の下端は、ケース6から若干下方に突出する(図12参照)。
さらに、もう1度、足で被押圧部8を押し下げれば、図10のように、当接体14がさらに係止体13を回転させることにより、被押圧部8のロックを解除することができる。
本実施の形態の戸当りを使用する場合、図10に示されるように、まず足で筐体2の被押圧部8を踏み、ロッド9を下方に突出させてロックさせ、このロック状態で、ドアDを全開位置まで開ける。
ドアDが全開位置までくると、図11に示されるように、プレート4は上方へ揺動して磁石7の下面に吸着されるとともに、ロッド9が、プレート4の係合部5に係合する。それにより、ドアDは、全開位置に容易かつ確実にロックされ、ドアDに風が当っても不意に閉まることがなくなる。
一方、ドアDのロックを解除したい場合には、再度、足で被押圧部8を踏めば、ロッド9は上方へ移動してロックが解除されるので、ロック解除後は、ドアDを容易に閉めることができる。
なお、ロック解除の状態でも、ドアDを全開位置まで開ければ、プレート4が磁石7に吸着されるので、ドアDは弱い力で全開位置に保持される。したがって、荷物の搬入を行なう場合など、一時的にドアDを全開位置に保持したいときに便利である。
本発明の戸当りの一実施の形態を示す斜視説明図である。 本発明に用いられるプレートの一実施の形態を示す図である。 (a)および(b)は本発明の戸当りの一実施の形態を示す図である。 本発明に用いられるロッドの他の実施の形態を示す断面図である。 発明に用いられるロッドの他の実施の形態を示す断面図である。 本発明に用いられるロッドの他の実施の形態を示す断面図である。 本発明に用いられるロッドの他の実施の形態を示す断面図である。 本発明の図1の磁石を下から見た図である。 図1のケース内部を上から見た図である。 図1の磁石におけるロッドのための昇降機構の主要部の動きを示す工程説明図である。 図1の磁石におけるロッドのための昇降機構の主要部の動きを示す工程説明図である。 図1の磁石におけるロッドのための昇降機構の主要部の動きを示す工程説明図である。 図1の磁石におけるロッドのための昇降機構の主要部の動きを示す工程説明図である。 本発明に用いられるプレートの一実施の形態を示す図である。 本発明の戸当りの磁石下面のロッドとプレートとが係合する工程を示す工程断面説明図である。 本発明の戸当りの磁石下面のロッドとプレートとが係合する工程を示す工程断面説明図である。 従来のドアの固定状態を示す説明図である。 従来の戸当りを示す説明図である。
符号の説明
1 台座部分
2 筐体
3 台座
4 プレート
5 係合部
6 ケース
7 磁石
8 被押圧部
9 ロッド
10 圧縮コイルバネ
11 裏蓋
12 昇降機構
13 係止体
14 当接体
15 突起

Claims (5)

  1. 床面に固定された台座と、前記台座に旋回自在に取り付けられたプレートと、ドアの下端部付近に固定された筐体と、該筐体に入れ子式に収容された上下に延びるロッドとからなり、
    前記プレートが磁性体からなり、前記筐体に設けられた磁石によって前記プレートが持ち上げられたときに前記ロッドの下端に設けられた爪が前記プレートの自由端に設けられた爪と係合され、前記ロッドを上下させる被押圧部が、前記ロッドの上端に一体的に形成され、前記被押圧部が前記筐体と圧縮コイルバネを介して連結されてなることを特徴とする戸当り。
  2. 床面に固定された台座と、前記台座に旋回自在に取り付けられたプレートと、ドアの下端部付近に固定された筐体と、該筐体に入れ子式に収容された上下に延びるロッドとからなり、
    前記プレートが磁性体からなり、前記筐体に設けられた磁石によって前記プレートが持ち上げられたときに前記ロッドの下端が前記プレートと係合され、前記ロッドを上下させる被押圧部が、前記ロッドの上端に設けられ、前記被押圧部が前記筐体と圧縮コイルバネを介して連結されてなることを特徴とする戸当り。
  3. 床面に固定された台座と、前記台座に旋回自在に取り付けられたプレートと、ドアの下端部付近に固定された筐体と、該筐体に入れ子式に収容された上下に延びるロッドとからなり、
    前記プレートが磁性体からなり、前記筐体に設けられた磁石によって前記プレートが持ち上げられたときに前記ロッドの下端に回転不能に設けられた歯車が前記プレートに設けられた歯車と係合され、前記ロッドを上下させる被押圧部が、前記ロッドの上端に一体的に形成され、前記被押圧部が前記筐体と圧縮コイルバネを介して連結されてなることを特徴とする戸当り。
  4. 床面に固定された台座と、前記台座に旋回自在に取り付けられたプレートと、
    ドアの下端部付近に固定された筐体と、
    該筐体に入れ子式に収容され、下端部が二股に分岐して、前記筐体から突出して延びる二つの分岐部を備えたフォーク状のロッドと
    からなり、
    前記プレートが磁性体からなり、前記筐体に設けられた磁石によって前記プレートが持ち上げられたときに前記ロッドの二つの分岐部の先端が前記プレートをまたぎ、かつ前記台座に設けられた凹所に嵌入し、前記ロッドを上下させる被押圧部が、前記ロッドの上端に一体的に形成され、前記被押圧部が前記筐体と圧縮コイルバネを介して連結されてなることを特徴とする戸当り。
  5. 床面に固定された台座と、前記台座に旋回自在に取り付けられたプレートと、ドアの下端部付近に固定された筐体と、該筐体に入れ子式に収容された上下に移動し得るロッドとからなり、
    前記プレートが磁性体からなり、前記筐体に設けられた磁石によって前記プレートが持ち上げられたときに前記ロッドの下端に設けられた爪が前記プレートに設けられた凹所と係合され、前記ロッドを上下させる被押圧部が、前記ロッドの上端に一体的に形成され、前記被押圧部が前記筐体と圧縮コイルバネを介して連結されてなることを特徴とする戸当り。
JP2008199480A 2008-07-11 2008-08-01 戸当り Active JP5329146B2 (ja)

Priority Applications (1)

Application Number Priority Date Filing Date Title
JP2008199480A JP5329146B2 (ja) 2008-07-11 2008-08-01 戸当り

Applications Claiming Priority (3)

Application Number Priority Date Filing Date Title
JP2008004813 2008-07-11
JP2008004813 2008-07-11
JP2008199480A JP5329146B2 (ja) 2008-07-11 2008-08-01 戸当り

Related Parent Applications (1)

Application Number Title Priority Date Filing Date
JP2008004892 Continuation 2008-07-15

Publications (2)

Publication Number Publication Date
JP2010037752A true JP2010037752A (ja) 2010-02-18
JP5329146B2 JP5329146B2 (ja) 2013-10-30

Family

ID=42010584

Family Applications (1)

Application Number Title Priority Date Filing Date
JP2008199480A Active JP5329146B2 (ja) 2008-07-11 2008-08-01 戸当り

Country Status (1)

Country Link
JP (1) JP5329146B2 (ja)

Cited By (2)

* Cited by examiner, † Cited by third party
Publication number Priority date Publication date Assignee Title
CN111577039A (zh) * 2020-05-12 2020-08-25 刘华军 静音门吸
WO2023077571A1 (zh) * 2021-11-03 2023-05-11 中车长春轨道客车股份有限公司 一种门吸结构与一种轨道车辆

Citations (2)

* Cited by examiner, † Cited by third party
Publication number Priority date Publication date Assignee Title
JP2003328627A (ja) * 2002-05-09 2003-11-19 Yagi:Kk 戸当り
JP2003336425A (ja) * 2002-05-21 2003-11-28 Systec Kyowa:Kk 扉止め装置及び扉

Patent Citations (2)

* Cited by examiner, † Cited by third party
Publication number Priority date Publication date Assignee Title
JP2003328627A (ja) * 2002-05-09 2003-11-19 Yagi:Kk 戸当り
JP2003336425A (ja) * 2002-05-21 2003-11-28 Systec Kyowa:Kk 扉止め装置及び扉

Cited By (3)

* Cited by examiner, † Cited by third party
Publication number Priority date Publication date Assignee Title
CN111577039A (zh) * 2020-05-12 2020-08-25 刘华军 静音门吸
CN111577039B (zh) * 2020-05-12 2022-01-28 临沂泰德信门业有限公司 静音门吸
WO2023077571A1 (zh) * 2021-11-03 2023-05-11 中车长春轨道客车股份有限公司 一种门吸结构与一种轨道车辆

Also Published As

Publication number Publication date
JP5329146B2 (ja) 2013-10-30

Similar Documents

Publication Publication Date Title
TWM453711U (zh) 防火門鎖的鎖閂結構
JP5329146B2 (ja) 戸当り
JP2008190314A (ja) 戸当り
JP3138329U (ja) 戸当り
JP4217028B2 (ja) 戸当り
KR101256040B1 (ko) 슬라이딩 도어 핸들
JP5351822B2 (ja) 電気錠付き引戸装置
JP3136212U (ja) 戸当り
JP4011416B2 (ja) 戸当り
JP4889703B2 (ja) 戸当り
JP4902694B2 (ja) 戸当り
JP4405693B2 (ja) 戸当り
JP4666534B2 (ja) 戸当り
JP3823082B2 (ja) 戸当り
JP5285386B2 (ja) 戸当り
JP4261423B2 (ja) 戸当り
JP2003314137A (ja) 引戸錠の戸の反発防止装置
JP3823090B2 (ja) 戸当り
JP3108006U (ja) 扉用保持金具
JP2003328628A (ja) 戸当り
JP2013083054A (ja) クレセント錠
JP4291183B2 (ja) クレセント錠
JP2004027553A (ja) 戸当り
JP2010180573A (ja) 回動体の作動機構
JP3887105B2 (ja) 戸当り

Legal Events

Date Code Title Description
RD03 Notification of appointment of power of attorney

Free format text: JAPANESE INTERMEDIATE CODE: A7423

Effective date: 20100518

A621 Written request for application examination

Free format text: JAPANESE INTERMEDIATE CODE: A621

Effective date: 20110613

A131 Notification of reasons for refusal

Free format text: JAPANESE INTERMEDIATE CODE: A131

Effective date: 20121009

A521 Request for written amendment filed

Free format text: JAPANESE INTERMEDIATE CODE: A523

Effective date: 20121113

TRDD Decision of grant or rejection written
A01 Written decision to grant a patent or to grant a registration (utility model)

Free format text: JAPANESE INTERMEDIATE CODE: A01

Effective date: 20130716

A61 First payment of annual fees (during grant procedure)

Free format text: JAPANESE INTERMEDIATE CODE: A61

Effective date: 20130724

R150 Certificate of patent or registration of utility model

Ref document number: 5329146

Country of ref document: JP

Free format text: JAPANESE INTERMEDIATE CODE: R150

Free format text: JAPANESE INTERMEDIATE CODE: R150

R250 Receipt of annual fees

Free format text: JAPANESE INTERMEDIATE CODE: R250

R250 Receipt of annual fees

Free format text: JAPANESE INTERMEDIATE CODE: R250

R250 Receipt of annual fees

Free format text: JAPANESE INTERMEDIATE CODE: R250

R250 Receipt of annual fees

Free format text: JAPANESE INTERMEDIATE CODE: R250