JP2010037013A - 座金組み込みねじの搬送・矯正装置と検査装置 - Google Patents

座金組み込みねじの搬送・矯正装置と検査装置 Download PDF

Info

Publication number
JP2010037013A
JP2010037013A JP2008199246A JP2008199246A JP2010037013A JP 2010037013 A JP2010037013 A JP 2010037013A JP 2008199246 A JP2008199246 A JP 2008199246A JP 2008199246 A JP2008199246 A JP 2008199246A JP 2010037013 A JP2010037013 A JP 2010037013A
Authority
JP
Japan
Prior art keywords
screw
washer
guide
built
rail
Prior art date
Legal status (The legal status is an assumption and is not a legal conclusion. Google has not performed a legal analysis and makes no representation as to the accuracy of the status listed.)
Granted
Application number
JP2008199246A
Other languages
English (en)
Other versions
JP4911535B2 (ja
Inventor
Nobuyuki Yasuda
信幸 安田
Tokihiko Han
時彦 反
Current Assignee (The listed assignees may be inaccurate. Google has not performed a legal analysis and makes no representation or warranty as to the accuracy of the list.)
Yutaka Co Ltd
Original Assignee
Yutaka Co Ltd
Priority date (The priority date is an assumption and is not a legal conclusion. Google has not performed a legal analysis and makes no representation as to the accuracy of the date listed.)
Filing date
Publication date
Application filed by Yutaka Co Ltd filed Critical Yutaka Co Ltd
Priority to JP2008199246A priority Critical patent/JP4911535B2/ja
Publication of JP2010037013A publication Critical patent/JP2010037013A/ja
Application granted granted Critical
Publication of JP4911535B2 publication Critical patent/JP4911535B2/ja
Active legal-status Critical Current
Anticipated expiration legal-status Critical

Links

Images

Landscapes

  • Feeding Of Articles To Conveyors (AREA)
  • Attitude Control For Articles On Conveyors (AREA)

Abstract

【課題】座金組み込みねじの吊り下げ搬送が安定した姿勢でなされるようにすることを課題としている。
【解決手段】傾斜した第1レール3とねじの頭受け5とを備えたAガイド1と、始端側が傾き、その傾きが徐々に小さくなって終端側が水平になる第1、第2支持板7,8を対向配置したBガイド2を有する。Aガイド1は、座金組み込みねじ30の軸部32と頭部31を支え、その支持状態下でねじの頭部と第2座金34との間に隙間が形成され、その隙間に第1支持板7が先行して入り込み、遅れて対向位置の隙間に第2支持板8が入り込んでBガイド2がねじの頭部を支えるようにした。
【選択図】図1

Description

この発明は、座金組み込みねじ(セムスねじと称されている)を吊り下げて搬送し、その搬送の途中に吊り下げ姿勢を安定させる搬送・矯正装置と、その装置を利用して良否検査の検査精度を向上させた検査装置に関する。
首記の座金組み込みねじは、ねじ外径よりも穴径の小さい座金を、ねじを転造する前に首下部分に組み込み、その後にねじを転造することで座金が外れないようにしたものである。座金は、1枚のばね座金や1枚の平座金、各1枚のばね座金と平座金、或いは、歯付き座金が用いられている。
その座金組み込みねじは、製造後に品質に関する検査を行い、不良品を取り除いて出荷される。製造後の検査は、首下長さや頭部高さ、ねじの先端形状、ねじ山のピッチ、ねじ外径や頭部外径の良否、ねじ山の欠けの有無、座金の装着漏れの有無、頭部の傷や操作穴(十字穴、六角穴、トルクスねじの穴)の良否などについて行われている。
この検査は、不良品の完全除去を目指すと全品検査が必要になるが、全品検査は時間がかかる。そこで、座金組み込みねじの全品検査を効率的に行える検査装置が検討され、本出願人も下記特許文献1でその種の装置を既に提案している。
同文献で提案している検査装置は、垂直軸を支点にして回転する搬送テーブルの外周に定ピッチで切欠き溝を設け、その切欠き溝に座金組み込みねじの軸部を導入してねじの首下部に組み込まれている座金を搬送テーブルの上面で支え、ねじを吊り下げた状態にしてテーブル回転により搬送する。
この検査装置は、座金組み込みねじについては、ねじの軸部が座金に引っかかることがあり、また、ばね座金を組み込んだねじは、ばね座金の高さ寸法が全周において一様でなく、座金を支えて吊り下げるとねじが傾いて検査が不安定になるという特有の問題があることから、対策として、搬送テーブルに支持された座金組み込みねじを斜面のガイド面で案内して押し上げる押し上げガイドと、このガイドによって押し上げられた座金組み込みねじの軸部を搬送テーブル外周の切欠き溝の溝面に押し付ける押さえ手段を搬送経路の途中に設けてねじの姿勢を矯正するようにしている。
特開2007−55763号公報
特許文献1の検査装置は、ねじの吊り下げ姿勢を矯正することで検査の安定性を高めているが、検査精度や検査効率に関して十分に満足できるものではなかった。同文献の検査装置は、搬送テーブルを回転させながら検査を行うと、押さえ手段と回転する搬送テーブルの間に相対移動が起こり、そのために、搬送テーブルに押し付けられたねじが動き、それが検査精度を低下させる不具合があった。
なお、検査の安定性を高めるために、搬送中のねじの姿勢を矯正し終えたところで搬送テーブルを一旦停止させ、その間に検査を行うことが考えられるが、この方法を採ると検査効率が低下して実用性の低い装置になる。
ねじの吊り下げ姿勢が良くないと、座金組み込みねじを振動フィーダなどで吊り下げて単に搬送するときにも、ねじの傾きに起因した搬送路でのねじの詰まり、それによる送り不良などの問題が起こる。
この発明は、上記の問題をなくするために、座金組み込みねじの吊り下げ搬送が安定した姿勢でなされるようにすることを課題としている。
上記の課題を解決するため、この発明においては、座金組み込みねじを吊り下げて搬送し、その搬送の途中にねじの吊り下げ姿勢を矯正する搬送・矯正装置を提供する。
その搬送・矯正装置は、横に倒れる方向に傾斜させた第1レールとその第1レールに沿って設けるねじの頭受けとを備えたガイド(この発明では、これをAガイドと言う)と、始端側がAガイドの傾き方向と同方向に傾き、その傾きが徐々に小さくなって終端側が水平になる第1、第2支持板を、軸部通路を間に配して対向配置したガイド(これをBガイドと言う)を有し、
前記Aガイドは、座金組み込みねじの軸部を前記第1レールの仰向けになった側の側面で、ねじの首下にある第1座金を前記第1レールの搬送面で、ねじの頭部の外周を前記頭受けでそれぞれ下から支えるように構成され、
前記座金組み込みねじが前記Aガイドに支持された状態下で前記頭部とねじの首下の座金との間に隙間が形成され、その隙間に前記第1支持板がねじとの相対移動により先行して入り込み、遅れて対向位置の隙間に第2支持板が入り込んで前記Bガイドがねじの頭部を支えるように構成されている(第1形態)。
Aガイドは、ばね座金と平座金、または、歯付き座金と平座金が併設されたねじの場合、最前部に配置された平座金を支持し、Bガイドの支持板が入り込む隙間をばね座金または歯付き座金とねじの頭部との間に生じさせる(後述する第2形態も同様)。
この搬送・矯正装置は、下記(1)、(2)の構成を採用すると好ましい。
(1)前記Aガイドが、始端側に平行配置の第1、第2レールを備え、その第1、第2レール間の軸部通路に座金組み込みねじの軸部を導入して前記第1座金を前記第1、第2レールの搬送面で支え、少なくとも終端側は横に倒れる方向に傾いている前記第1レールが仰向けになった側面でねじの軸部も支えるように構成されており、前記第2レールが搬送路の途中まで設置され、搬送路の終端側では第2レールに代わって前記頭受けが設置されている。
(2)Bガイドを構成する第1支持板の始端から第2支持板の始端までの間において、前記第1レールから前記第1支持板までのレール高さ方向の距離を、ねじの搬送方向前方で大きくする。
この発明の搬送・矯正装置は、第2形態として、平行配置の第1、第2レールで構成されたAガイドと、このAガイドに支持された座金組み込みねじをAガイドの搬送面から浮き上がらせる押し上げ具と、水平配置の第1、第2支持板を、軸部通路を間に配して対向配置したBガイドとを有し、
前記Aガイドは、レール間の軸部通路に座金組み込みねじの軸部を導入し、ねじの首下にある第1座金を前記第1、第2レールで下から支えるように構成され、
前記押し上げ具は、前記Aガイドに支持されて搬送される座金組み込みねじを、そのねじの軸部の先端が接触する斜面のガイド面で誘導して所定量持ち上げるように構成され、この持ち上げで前記座金組み込みねじの頭部とねじの首下の座金との間に隙間が形成され、その隙間に前記第1、第2支持板が入り込むようにBガイドがAガイドに対して所定の段差を生じて配置され、このBガイドがねじの頭部を支えるように構成されたものが考えられる。
Aガイドは、既知のパーツフィーダ(振動を加えて部品を整列させながら送りをかけるもの)の搬送路の一部(出口側部分)を作り変えてパーツフィーダと一体に構成することができる。パーツフィーダはボールフィーダ、直進フィーダを問わない。
この発明は、座金組み込みねじを検査部搬送装置で吊り下げて搬送し、搬送途中に検査ステーションを通過して同ねじの良否検査を行う検査装置も併せて提供する。その検査装置は、検査部搬送装置に座金組み込みねじを供給するねじ供給装置を有しており、そのねじ供給装置にこの発明の搬送・矯正装置が含まれている。
この検査装置に含ませた検査部搬送装置の搬送部は、搬送部が座金組み込みねじの頭部と座金との間の隙間に挿入可能に構成されており、前記搬送・矯正装置によって吊り下げ姿勢が矯正された座金組み込みねじが前記Bガイド又はこのBガイドと検査部搬送装置との間に介在したフィーダから前記搬送部に移され、座金組み込みねじの検査部搬送装置による搬送がねじの頭部を支持してなされる。
なお、上記の検査部搬送装置は、直進フィーダなども考えられるが、垂直軸を支点にして回転する水平配置の搬送テーブルで構成され、その搬送テーブルの外周部を板材で形成し、その外周部の周縁に座金組み込みねじの首下部を受け入れる切欠き溝を定ピッチで設けて搬送部を構成したものが検査装置の小型化が図れて好ましい。
この発明の搬送・矯正装置は、先ずAガイドで座金を支え、この状況でねじの頭部と座金との間に隙間を作り出す。そして、その隙間にBガイドを入り込ませ、このBガイドでねじの頭部を支えることでねじの吊り下げ姿勢を矯正する。このために、ねじが垂直になり、吊り下げ姿勢が安定して検査精度の悪化や搬送の安定性低下につながる搬送中のねじの動きがなくなる。この矯正原理は、第1形態、第2形態とも同じである。
なお、上記(1)の構成を採用したものは、Aガイドの第2レールがなくなった位置で第1レールと頭受けの2者によるねじの支持がなされるため、頭の重たい座金組み込みねじも支持が安定する。
また、上記(2)の構成を採用したものは、Aガイドの第1レールとBガイドの第1支持板との間のレール高さ方向の距離がねじの搬送方向前方で大きくなっているので、第2支持板の設置側でもねじの頭部と座金との間に支持板を入り込ませる隙間が確実に確保され、AガイドからBガイドへのねじの移行が安定する。
この発明の検査装置は、検査対象の座金組み込みねじの吊り下げ姿勢が移行装置によって矯正され、矯正後のねじが検査部搬送装置の搬送部に移される。そのねじは頭部を支えた状態で検査ステーションに送り込まれて搬送中に垂直姿勢を維持する。従って、ねじの動きや傾きに起因した検査精度の悪化が起こらない。
また、検査部搬送装置の搬送部を停止させる必要がないため、検査効率の低下も起こらない。
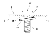
以下、添付図面の図1〜図8に基づいてこの発明の実施の形態を説明する。図1〜図5は、この発明の搬送・矯正装置の第1形態である。この第1形態の搬送・矯正装置10は、Aガイド1とBガイド2とから成る。
例示の装置のAガイド1は、始端から終端までの全域で横に倒れる方向(図2の搬送方向視図において垂直な線に対して右又は左に傾く方向)に傾斜した第1レール3及びこの第1レール3と平行配置の第2レール4と、第1レール3に沿って設けるねじの頭受け5とで構成されている。
このAガイド1の始端側は、各々が同一方向に傾いた平行配置の第1レール3と第2レール4によって構成されており(図2参照)、第1、第2レール3,4間に軸部通路6を有している。
第1、第2レール3,4は、始端側を傾きのない状態にし、搬送方向前方に行くに従って横に倒れる方向に次第に大きく傾くものであってもよい。所定の傾きが与えられた部分では、図3に示すように、第1レール3がねじの軸部32と第1座金33を下から支えるように構成されている。また、第2レール4は途中からなくなり、その代替として搬送路の終端側では頭受け5が第1レール3に沿って設置されている。
Bガイド2は、始端側がAガイド1の傾き方向と同方向に傾き、その傾きが終端側に行くに従って徐々に小さくなって終端側が水平になる第1支持板7と第2支持板8を、軸部通路9を間に配して対向配置したものになっている。第1支持板7は、始端が第2支持板8よりもAガイド側に延びだしており、第2支持板8に先行してねじの頭部を支持する。
このように構成した第1形態の搬送・矯正装置10は、パーツフィーダ(ボールフィーダや直進フィーダ)などから供給される座金組み込みねじ30をAガイド1が受け取り、整列させて搬送方向前方に移動させる。
Aガイド1は、図2に示すように、対をなす第1、第2レール3,4間の軸部通路6に座金組み込みねじ30の軸部32を導入し、ねじの首下にある第1座金(図のそれは平座金)33を第1、第2レール3,4(の搬送面)で下から支える。
下位の第1レール3は、図3に示すように、傾いた搬送面3aで第1座金33を下から支え、同時に、仰向けになった側の側面でねじの軸部32も支える。第1レール3の傾き角が適切に設定されていると、この状況では第2レール4は不要となる。そこで、搬送路の終端側には、第2レールに代えて頭受け5を設けてあり、その頭受け5がねじの頭部31の外周面を斜め下方から支える。
その状況では、第1レール3による第1座金33の支持が片側に偏った状態でなされる。そのために、第1レール3に支えられたねじの軸部32に対して第1座金33が傾き、そのために第2座金34も同様に傾いて、ねじの頭部31と第2座金34との間に隙間gが形成される。その隙間gにBガイド2の支持板が入り込んで座金組み込みねじ30がBガイド2に移される。
Bガイド2は、そのBガイドを構成する第1、第2支持板7,8の始端側がAガイドのレールと同方向に傾いており、また、第1支持板7の始端が第2支持板8の始端よりもAガイド側に延びだしており、そのために、前記隙間gを生じる側に配置された第1支持板7が第2支持板8に先行して隙間gに入り込み、ねじの頭部31を支持する(図3参照)。
この状況でAガイドの第1レール3が搬送方向前方に向って徐々に第1支持板7から離反する。具体的には、Bガイド2を構成する第1支持板7の始端から第2支持板8の始端までの間において、Aガイドの第1レール3から第1支持板7までのレール高さ方向の距離Lがねじの搬送方向前方で大きくなるように第1レール3の搬送面3aを終点側で前下がりに傾斜させている。
これによる距離Lの増加で第1、第2座金33,34の位置が下がって(ねじの位置は頭部31が第1支持板7に支持されているので下がらない)第1支持板7の設置側とは反対側でもねじの頭部31と第2座金34との間に隙間gが形成され、その隙間gにBガイド2の第2支持板8が入り込む(図4参照)。このようにしてねじの頭部31がBガイド2の第1、第2支持板7,8に支持され、第1、第2支持板7,8の水平になった終端側でねじの吊り下げ姿勢が垂直に矯正される(図5参照)。
このために、検査装置などの搬送部22に対する座金組み込みねじ30の供給を、この発明の搬送・矯正装置10を経由させることでねじの頭部を支持して検査などの信頼性を高めることができる。
なお、距離Lを増加させる目的は、第1レール3の搬送面を前下がり傾斜させることに代えて、Bガイドの第1支持板7の搬送面高さを前上がりに傾斜させることでも達成することができる。
また、ねじの搬送は、パーツフィーダなどの供給装置による搬送力を利用して行うことができるので、Aガイド1とBガイド2は、搬送力を発生させる機能の無いものでよいが、既知の直進フィーダと同様の自己搬送機能を付与してもかまわない。
さらに、第1形態の搬送・矯正装置10は、Aガイド1を第1レールのみで構成することができる。この場合、第1レールは全域を傾斜させる。
図6、図7は、第2形態の搬送・矯正装置10を示している。この第2形態の搬送・矯正装置10は、平行配置の傾きのない第1、第2レール3,4で構成されたAガイド11と、このAガイド11に支持された座金組み込みねじ30をAガイド11の搬送面から浮き上がらせる押し上げ具13と、水平配置の第1、第2支持板7,8を、軸部通路9を間に形成して対向配置したBガイド12とで構成されている。第1、第2支持板7,8は、図7に示すように、軸部通路9の始端側をテーパ状にすると軸部通路9に対するねじの軸部の導入がスムーズになされて好ましい。
Aガイド11は、レール間の軸部通路6に座金組み込みねじ30の軸部32を導入し、ねじの首下にある第1座金33を第1、第2レールで下から支えるように構成されている。第1、第2レール3,4は、その2者がレールの全長にわたって存在する。このAガイド11は、既知のパーツフィーダの搬送路の出口側部分をアレンジして利用することができる(この場合、Aガイド11はパーツフィーダと一体のものになる)。
Bガイド12は、搬送面の位置をAガイド11よりも所定量高くしており、これにより、Aガイド11とBガイド12との間に段差hが生じる。
押し上げ具13は、Aガイド11上の座金組み込みねじ30を誘導する斜面のガイド面13aを有しており、そのガイド面13aと搬送中の座金組み込みねじ30の相対移動によりねじの軸部先端がガイド面13aに突き上げられて座金組み込みねじ30のねじ部が所定量持ち上がる。
このとき、第1、第2座金33,34は、第1,第2レール3,4による支持点に残り、このために、座金組み込みねじ30の頭部31と第2座金34との間に隙間gが形成される。その隙間gに第1、第2支持板7,8がねじとの相対移動により入り込んで座金組み込みねじ30がBガイド12上に移行する。
この第2形態の搬送・矯正装置10も、Bガイド12がねじの頭部31と第2座金34との間に入り込んでねじの頭部31を支える。従って、ねじの吊り下げ姿勢が垂直になり、ねじの傾きに起因した不具合(検査装置の検査精度低下や搬送装置の搬送安定性の低下)がなくなる。なお、第2形態の搬送・矯正装置10は、第1形態よりも構造の単純化が図れるが、移動しているねじの先端を斜面のガイド面13aで誘導してねじを持ち上げるので、搬送の安定性やA,Bガイド間での移行の安定性がガイド面の高さなどに左右される可能性がある。
図8に、この発明の搬送・矯正装置10を採用した座金組み込みねじの良否検査装置20の実施の形態を示す。
図8の14は市販のパーツフィーダ(図のそれはボールフィーダ)、15も市販のパーツフィーダ(図のそれは直進フィーダ)であり、両者間にこの発明の搬送・矯正装置10が設置されてねじ供給装置16が構成されている。
パーツフィーダ14は、ボールに収納された座金組み込みねじ30を整列させながら供給する。また、パーツフィーダ15は、平行配置の左右のレール間にねじの軸部を導入し、左右のレールでねじを吊り下げ、レールに振動を加えて搬送力を発生させる。
パーツフィーダ14によるねじの支持は、座金を下から支える。この状態で座金組み込みねじ30が既述のAガイドに移され、このAガイドによる搬送途中に座金組み込みねじ30の頭部と首下の座金との間に隙間が作られ、その隙間にBガイドの第1、第2支持板が入り込み、Bガイドによるねじの頭部の支持がなされる。
その状況を維持して座金組み込みねじ30を良否検査装置の検査部搬送装置21に送り込む。図示の検査部搬送装置21は、垂直軸を支点にして回転する水平配置の搬送テーブル22aを備えており、この搬送テーブル22aの外周部22bはねじの頭部と首下の座金との間に入り込める厚さの板材で形成されている。
その外周部22bの周縁に座金組み込みねじ30の首下部を受け入れる切欠き溝22cを定ピッチで設けて検査部搬送装置21の搬送部22を構成しており、搬送・矯正装置10によって吊り下げ姿勢が矯正された座金組み込みねじ30が、パーツフィーダ15経由で検査部搬送装置21の搬送部22に移され、座金組み込みねじ30の検査部搬送装置21による搬送がねじの頭部31を支持してなされる。図1、図6に搬送部22によるねじの支持状態も併せて示す。
図示のパーツフィーダ15を省いて、搬送・矯正装置10のBガイドから搬送部22に座金組み込みねじ30を供給することが可能である。
なお、図8の23〜27は、搬送路の途中に設けられた第1〜第5検査部である。このうち、第1検査部23は、ねじの首下長さの検査と頭部高さの検査を行う。また、第2検査部24は、CCDカメラを用いてねじの先端形状、ねじ山ピッチ、ねじ外径、座金の装着漏れなどを検査し、第3検査部25は、CCDカメラを用いてねじの頭部外径、頭部の傷の有無、操作穴の良否を検査する。さらに、第4検査部26はねじの搬送漏れの有無を検査し、第5検査部27は、表面のメッキの有無を検査する。これらの検査部で不良と判定された座金組み込みねじは不良品排出部28から取り出され、良品が良品搬出部29に送られる。この検査部の構成は特徴のあるものではなく、任意に変更することができる。
検査部搬送装置21は、装置の小型化などの面で最善と考えられる形態のものを示したが、この形態に限定されるものではない。例えば、直進フィーダや2条のエンドレスワイヤを平行配置にしてローラで駆動し、その2条のワイヤでねじを吊り下げるといったものなども考えられる。
第1の形態の搬送・矯正装置を示す側面図 図1のII−II線に沿った断面図 図1のIII−III線に沿った断面図 図1のIV−IV線に沿った断面図 図1のV−V線に沿った断面図 第2の形態の搬送・矯正装置を示す部分破断側面図 Bガイドの入口部の平面図 この発明の座金組み込みねじの検査装置の一例を示す平面図
符号の説明
1,11 Aガイド
2,12 Bガイド
3 第1レール
3a 搬送面
4 第2レール
5 頭受け
6 軸部通路
7 第1支持板
8 第2支持板
9 軸部通路
10 搬送・矯正装置
13 押し上げ具
13a ガイド面
14,15 パーツフィーダ
16 ねじ供給装置
20 良否検査装置
21 検査部搬送装置
22 搬送部
22a 搬送テーブル
22b 外周部
22c 切欠き溝
23〜27 第1〜第5検査部
28 不良品排出部
29 良品搬出部
30 座金組み込みねじ
31 頭部
32 軸部
33 第1座金
34 第2座金
L 第1レールから第1支持板までのレール高さ方向の距離
h 段差

Claims (6)

  1. 座金組み込みねじ(30)を吊り下げて搬送し、その搬送の途中にねじの吊り下げ姿勢を矯正する搬送・矯正装置であって、
    横に倒れる方向に傾斜させた第1レール(3)とその第1レール(3)に沿って設けるねじの頭受け(5)とを備えたAガイド(1)と、始端側がAガイドのレールと同方向に傾き、その傾きが徐々に小さくなって終端側が水平になる第1、第2支持板(7,8)を、軸部通路(9)を間に配して対向配置したBガイド(2)を有し、
    前記Aガイド(1)は、座金組み込みねじ(30)の軸部(32)を前記第1レール(3)の仰向けになった側の側面で、ねじの首下にある第1座金(33)を前記第1レール(3)の搬送面(3a)で、ねじの頭部(31)の外周を前記頭受け(5)でそれぞれ下から支えるように構成され、
    前記座金組み込みねじ(30)が前記Aガイド(1)に支持された状態下で前記頭部(31)とねじの首下の座金(34)との間に隙間(g)が形成され、
    その隙間(g)に前記第1支持板(7)が先行して入り込み、遅れて対向位置の隙間に第2支持板(8)が入り込んで前記Bガイド(2)がねじの頭部(31)を支えるように構成された座金組み込みねじの搬送・矯正装置。
  2. 前記Aガイド(1)が、始端側に平行配置の第1、第2レール(3,4)を備え、その第1、第2レール(3,4)間の軸部通路(6)に座金組み込みねじ(30)の軸部(32)を導入して前記第1座金(33)を前記第1、第2レール(3,4)の搬送面で支え、少なくとも終端側は横に倒れる方向に傾いている前記第1レール(3)が仰向けになった側面でねじの軸部(32)も支えるように構成されており、前記第2レール(4)が搬送路の途中まで設置され、搬送路の終端側では第2レール(4)に代わって前記頭受け(5)が設置された請求項1に記載の座金組み込みねじの搬送・矯正装置。
  3. 前記Bガイド(2)を構成する第1支持板(7)の始端から第2支持板(8)の始端までの間において、前記第1レール(3)から前記第1支持板(7)までのレール高さ方向の距離(L)を、ねじの搬送方向前方で大きくしたことを特徴とする請求項1又は2に記載の座金組み込みねじの搬送・矯正装置。
  4. 座金組み込みねじ(30)を吊り下げて搬送し、その搬送の途中にねじの吊り下げ姿勢を矯正する搬送・矯正装置であって、
    平行配置の第1、第2レール(3,4)で構成されたAガイド(11)と、このAガイド(11)に支持された座金組み込みねじ(30)をAガイド(11)から浮き上がらせる押し上げ具(13)と、水平配置の第1、第2支持板(7,8)を、軸部通路(9)を間に形成して対向配置したBガイド(12)とを有し、
    前記Aガイド(11)は、レール間の軸部通路(6)に座金組み込みねじ(30)の軸部(32)を導入し、ねじの首下にある第1座金(33)を前記第1、第2レール(3,4)で下から支えるように構成され、
    前記押し上げ具(13)は、前記Aガイド(11)に支持されて搬送される座金組み込みねじ(30)を、そのねじの軸部(32)の先端が接触する斜面のガイド面(13a)で誘導して所定量持ち上げるように構成され、この持ち上げで前記座金組み込みねじ(30)の頭部(31)とねじの首下の座金(34)との間に隙間(g)が形成され、その隙間(g)に前記第1、第2支持板(7,8)が入り込むようにBガイド(12)がAガイド(11)に対して所定の段差(h)を生じて配置され、このBガイド(12)がねじの頭部(31)を支えるように構成された座金組み込みねじの搬送・矯正装置。
  5. 座金組み込みねじ(30)を検査部搬送装置(21)で吊り下げて搬送し、搬送途中に検査ステーションを通過して良否検査がなされる座金組み込みねじの検査装置であって、前記検査部搬送装置(21)の搬送部(22)が座金組み込みねじの頭部(31)と首下の座金(34)との間の隙間に挿入可能に構成されており、この検査部搬送装置(21)に対して座金組み込みねじ(30)を供給するねじ供給装置(16)を有し、
    そのねじ供給装置(16)に請求項1〜4のいずれかに記載の座金組み込みねじの搬送・矯正装置(10)が含まれており、
    その搬送・矯正装置(10)によって吊り下げ姿勢が矯正された座金組み込みねじ(30)が、前記搬送部(22)に対して前記Bガイド又はBガイドと検査部搬送装置(21)との間に介在させたフィーダ(15)から移され、座金組み込みねじ(30)の検査部搬送装置(21)による搬送がねじの頭部(31)を支持してなされるようにした座金組み込みねじの検査装置。
  6. 前記検査部搬送装置(21)が、垂直軸を支点にして回転する水平配置の搬送テーブル(22a)を備えており、この搬送テーブル(22a)の外周部(22b)をねじの頭部と首下の座金との間に入り込める厚さの板材で形成し、その外周部(22b)の周縁に座金組み込みねじ(30)の首下部を受け入れる切欠き溝(22c)を定ピッチで設けて前記搬送部(22)を構成した請求項5に記載の座金組み込みねじの検査装置。
JP2008199246A 2008-08-01 2008-08-01 座金組み込みねじの搬送・矯正装置と検査装置 Active JP4911535B2 (ja)

Priority Applications (1)

Application Number Priority Date Filing Date Title
JP2008199246A JP4911535B2 (ja) 2008-08-01 2008-08-01 座金組み込みねじの搬送・矯正装置と検査装置

Applications Claiming Priority (1)

Application Number Priority Date Filing Date Title
JP2008199246A JP4911535B2 (ja) 2008-08-01 2008-08-01 座金組み込みねじの搬送・矯正装置と検査装置

Publications (2)

Publication Number Publication Date
JP2010037013A true JP2010037013A (ja) 2010-02-18
JP4911535B2 JP4911535B2 (ja) 2012-04-04

Family

ID=42009959

Family Applications (1)

Application Number Title Priority Date Filing Date
JP2008199246A Active JP4911535B2 (ja) 2008-08-01 2008-08-01 座金組み込みねじの搬送・矯正装置と検査装置

Country Status (1)

Country Link
JP (1) JP4911535B2 (ja)

Cited By (4)

* Cited by examiner, † Cited by third party
Publication number Priority date Publication date Assignee Title
JP2011246264A (ja) * 2010-05-28 2011-12-08 Nitto Seiko Co Ltd 部品供給装置
JP2013159412A (ja) * 2012-02-01 2013-08-19 Mitsubishi Electric Corp 部品供給装置
JP2013199361A (ja) * 2012-03-26 2013-10-03 Hirata Neji Kk ネジの移送装置
CN105217284A (zh) * 2015-09-08 2016-01-06 惠州智科实业有限公司 一种t型钉振动送料换向结构

Families Citing this family (1)

* Cited by examiner, † Cited by third party
Publication number Priority date Publication date Assignee Title
CN105564910B (zh) * 2016-02-03 2018-01-30 林尧宇 一种钉珠机的振动盘组件

Citations (4)

* Cited by examiner, † Cited by third party
Publication number Priority date Publication date Assignee Title
JPH02231306A (ja) * 1989-03-02 1990-09-13 Shinko Electric Co Ltd ボルト・ワッシャ組合わせ装置
JPH06218639A (ja) * 1993-01-21 1994-08-09 Toyoda Gosei Co Ltd 部品供給装置
JPH09216715A (ja) * 1996-02-13 1997-08-19 Mitsubishi Electric Corp ねじ部品送り装置
JP2007055763A (ja) * 2005-08-25 2007-03-08 Yutaka:Kk 頭部付き軸体の姿勢矯正装置および頭部付き軸体の検査装置

Patent Citations (4)

* Cited by examiner, † Cited by third party
Publication number Priority date Publication date Assignee Title
JPH02231306A (ja) * 1989-03-02 1990-09-13 Shinko Electric Co Ltd ボルト・ワッシャ組合わせ装置
JPH06218639A (ja) * 1993-01-21 1994-08-09 Toyoda Gosei Co Ltd 部品供給装置
JPH09216715A (ja) * 1996-02-13 1997-08-19 Mitsubishi Electric Corp ねじ部品送り装置
JP2007055763A (ja) * 2005-08-25 2007-03-08 Yutaka:Kk 頭部付き軸体の姿勢矯正装置および頭部付き軸体の検査装置

Cited By (4)

* Cited by examiner, † Cited by third party
Publication number Priority date Publication date Assignee Title
JP2011246264A (ja) * 2010-05-28 2011-12-08 Nitto Seiko Co Ltd 部品供給装置
JP2013159412A (ja) * 2012-02-01 2013-08-19 Mitsubishi Electric Corp 部品供給装置
JP2013199361A (ja) * 2012-03-26 2013-10-03 Hirata Neji Kk ネジの移送装置
CN105217284A (zh) * 2015-09-08 2016-01-06 惠州智科实业有限公司 一种t型钉振动送料换向结构

Also Published As

Publication number Publication date
JP4911535B2 (ja) 2012-04-04

Similar Documents

Publication Publication Date Title
JP4911535B2 (ja) 座金組み込みねじの搬送・矯正装置と検査装置
JP2007121022A (ja) ナット検査装置
JP5212395B2 (ja) 部品実装用装置および部品実装用装置における基板支持機構の動作状態の判定方法
CN105416972B (zh) 基板输送装置和基板输送方法
CN105246317B (zh) 部件安装装置以及部件安装方法
WO2013080408A1 (ja) 部品実装方法及び部品実装システム
KR100995495B1 (ko) 바형상 프레임 비전검사기
KR101504970B1 (ko) 운송장치
KR20180107857A (ko) 스핀들 나사 자동가공장치
CN100576025C (zh) 平板显示器的检测器
JP2005045140A (ja) 基板検出装置、基板搬送装置、部品実装装置、及び基板検出方法
KR20110095029A (ko) 부품실장기의 컨베이어장치
KR20130096120A (ko) 스크류 정렬 공급 장치
JP6348037B2 (ja) 部品実装機
JP4333967B1 (ja) 基板搬送用パレット
JP2012254876A (ja) 基板の仕分け装置
KR101848477B1 (ko) 물품의 자동 이동 장치
CN115971851A (zh) 一种自动装配机
CN106067428B (zh) 一种用于集成电路板检测的导向机构
KR101639899B1 (ko) 이송장치 및 이를 구비하는 절단기
JP2010129879A (ja) 基板支持装置
CN207876699U (zh) 一种输送带防撕裂装置
KR100737282B1 (ko) 기판 공급장치
JP2007055763A (ja) 頭部付き軸体の姿勢矯正装置および頭部付き軸体の検査装置
KR102213978B1 (ko) 슈트용 부착광 제거장치

Legal Events

Date Code Title Description
A621 Written request for application examination

Free format text: JAPANESE INTERMEDIATE CODE: A621

Effective date: 20110707

A871 Explanation of circumstances concerning accelerated examination

Free format text: JAPANESE INTERMEDIATE CODE: A871

Effective date: 20110712

A975 Report on accelerated examination

Free format text: JAPANESE INTERMEDIATE CODE: A971005

Effective date: 20110803

A977 Report on retrieval

Free format text: JAPANESE INTERMEDIATE CODE: A971007

Effective date: 20111128

TRDD Decision of grant or rejection written
A01 Written decision to grant a patent or to grant a registration (utility model)

Free format text: JAPANESE INTERMEDIATE CODE: A01

Effective date: 20111213

A01 Written decision to grant a patent or to grant a registration (utility model)

Free format text: JAPANESE INTERMEDIATE CODE: A01

A61 First payment of annual fees (during grant procedure)

Free format text: JAPANESE INTERMEDIATE CODE: A61

Effective date: 20120111

R150 Certificate of patent or registration of utility model

Ref document number: 4911535

Country of ref document: JP

Free format text: JAPANESE INTERMEDIATE CODE: R150

Free format text: JAPANESE INTERMEDIATE CODE: R150

FPAY Renewal fee payment (event date is renewal date of database)

Free format text: PAYMENT UNTIL: 20150127

Year of fee payment: 3

R250 Receipt of annual fees

Free format text: JAPANESE INTERMEDIATE CODE: R250

R250 Receipt of annual fees

Free format text: JAPANESE INTERMEDIATE CODE: R250

R250 Receipt of annual fees

Free format text: JAPANESE INTERMEDIATE CODE: R250

R250 Receipt of annual fees

Free format text: JAPANESE INTERMEDIATE CODE: R250

R250 Receipt of annual fees

Free format text: JAPANESE INTERMEDIATE CODE: R250

R250 Receipt of annual fees

Free format text: JAPANESE INTERMEDIATE CODE: R250

R250 Receipt of annual fees

Free format text: JAPANESE INTERMEDIATE CODE: R250

R250 Receipt of annual fees

Free format text: JAPANESE INTERMEDIATE CODE: R250

R250 Receipt of annual fees

Free format text: JAPANESE INTERMEDIATE CODE: R250

R250 Receipt of annual fees

Free format text: JAPANESE INTERMEDIATE CODE: R250

R250 Receipt of annual fees

Free format text: JAPANESE INTERMEDIATE CODE: R250