JP2010036869A - 自動車用内装部品並びにその製造方法 - Google Patents
自動車用内装部品並びにその製造方法 Download PDFInfo
- Publication number
- JP2010036869A JP2010036869A JP2008205765A JP2008205765A JP2010036869A JP 2010036869 A JP2010036869 A JP 2010036869A JP 2008205765 A JP2008205765 A JP 2008205765A JP 2008205765 A JP2008205765 A JP 2008205765A JP 2010036869 A JP2010036869 A JP 2010036869A
- Authority
- JP
- Japan
- Prior art keywords
- skin
- mold
- display
- resin core
- core material
- Prior art date
- Legal status (The legal status is an assumption and is not a legal conclusion. Google has not performed a legal analysis and makes no representation as to the accuracy of the status listed.)
- Granted
Links
- 238000004519 manufacturing process Methods 0.000 title claims abstract description 27
- 229920005989 resin Polymers 0.000 claims abstract description 102
- 239000011347 resin Substances 0.000 claims abstract description 102
- 239000011162 core material Substances 0.000 claims abstract description 92
- 238000002347 injection Methods 0.000 claims abstract description 39
- 239000007924 injection Substances 0.000 claims abstract description 39
- 210000003491 skin Anatomy 0.000 claims description 53
- 238000000034 method Methods 0.000 claims description 35
- 230000008569 process Effects 0.000 claims description 22
- 210000002615 epidermis Anatomy 0.000 claims description 9
- 239000002023 wood Substances 0.000 claims description 5
- 238000012545 processing Methods 0.000 claims description 4
- 238000000465 moulding Methods 0.000 abstract description 21
- 238000001746 injection moulding Methods 0.000 abstract description 6
- 238000010276 construction Methods 0.000 abstract 1
- 238000004904 shortening Methods 0.000 abstract 1
- 239000000243 solution Substances 0.000 abstract 1
- 235000021189 garnishes Nutrition 0.000 description 49
- 239000004744 fabric Substances 0.000 description 6
- KAKZBPTYRLMSJV-UHFFFAOYSA-N Butadiene Chemical compound C=CC=C KAKZBPTYRLMSJV-UHFFFAOYSA-N 0.000 description 4
- VTYYLEPIZMXCLO-UHFFFAOYSA-L Calcium carbonate Chemical compound [Ca+2].[O-]C([O-])=O VTYYLEPIZMXCLO-UHFFFAOYSA-L 0.000 description 4
- VYPSYNLAJGMNEJ-UHFFFAOYSA-N Silicium dioxide Chemical compound O=[Si]=O VYPSYNLAJGMNEJ-UHFFFAOYSA-N 0.000 description 4
- PPBRXRYQALVLMV-UHFFFAOYSA-N Styrene Chemical compound C=CC1=CC=CC=C1 PPBRXRYQALVLMV-UHFFFAOYSA-N 0.000 description 4
- 239000000945 filler Substances 0.000 description 4
- 239000000463 material Substances 0.000 description 4
- 239000000203 mixture Substances 0.000 description 4
- -1 polypropylene Polymers 0.000 description 4
- 229920005992 thermoplastic resin Polymers 0.000 description 4
- 230000015572 biosynthetic process Effects 0.000 description 3
- 210000000078 claw Anatomy 0.000 description 3
- 230000004048 modification Effects 0.000 description 3
- 238000012986 modification Methods 0.000 description 3
- RNFJDJUURJAICM-UHFFFAOYSA-N 2,2,4,4,6,6-hexaphenoxy-1,3,5-triaza-2$l^{5},4$l^{5},6$l^{5}-triphosphacyclohexa-1,3,5-triene Chemical compound N=1P(OC=2C=CC=CC=2)(OC=2C=CC=CC=2)=NP(OC=2C=CC=CC=2)(OC=2C=CC=CC=2)=NP=1(OC=1C=CC=CC=1)OC1=CC=CC=C1 RNFJDJUURJAICM-UHFFFAOYSA-N 0.000 description 2
- NLHHRLWOUZZQLW-UHFFFAOYSA-N Acrylonitrile Chemical compound C=CC#N NLHHRLWOUZZQLW-UHFFFAOYSA-N 0.000 description 2
- 229920000049 Carbon (fiber) Polymers 0.000 description 2
- 229930182556 Polyacetal Natural products 0.000 description 2
- 239000004743 Polypropylene Substances 0.000 description 2
- 239000004372 Polyvinyl alcohol Substances 0.000 description 2
- BZHJMEDXRYGGRV-UHFFFAOYSA-N Vinyl chloride Chemical compound ClC=C BZHJMEDXRYGGRV-UHFFFAOYSA-N 0.000 description 2
- 229920000122 acrylonitrile butadiene styrene Polymers 0.000 description 2
- 239000000654 additive Substances 0.000 description 2
- 239000003963 antioxidant agent Substances 0.000 description 2
- 230000003078 antioxidant effect Effects 0.000 description 2
- 230000008901 benefit Effects 0.000 description 2
- 229910000019 calcium carbonate Inorganic materials 0.000 description 2
- 239000004917 carbon fiber Substances 0.000 description 2
- 239000003795 chemical substances by application Substances 0.000 description 2
- 239000004927 clay Substances 0.000 description 2
- 229910052570 clay Inorganic materials 0.000 description 2
- 239000003086 colorant Substances 0.000 description 2
- 230000007547 defect Effects 0.000 description 2
- 239000003063 flame retardant Substances 0.000 description 2
- 239000003365 glass fiber Substances 0.000 description 2
- 239000012784 inorganic fiber Substances 0.000 description 2
- 239000010954 inorganic particle Substances 0.000 description 2
- VNWKTOKETHGBQD-UHFFFAOYSA-N methane Chemical compound C VNWKTOKETHGBQD-UHFFFAOYSA-N 0.000 description 2
- 239000004745 nonwoven fabric Substances 0.000 description 2
- 229920006122 polyamide resin Polymers 0.000 description 2
- 229920005668 polycarbonate resin Polymers 0.000 description 2
- 239000004431 polycarbonate resin Substances 0.000 description 2
- 229920013716 polyethylene resin Polymers 0.000 description 2
- 229920000139 polyethylene terephthalate Polymers 0.000 description 2
- 239000005020 polyethylene terephthalate Substances 0.000 description 2
- 229920006324 polyoxymethylene Polymers 0.000 description 2
- 229920001155 polypropylene Polymers 0.000 description 2
- 229920005990 polystyrene resin Polymers 0.000 description 2
- 229920002451 polyvinyl alcohol Polymers 0.000 description 2
- 230000009467 reduction Effects 0.000 description 2
- 238000007493 shaping process Methods 0.000 description 2
- 239000000377 silicon dioxide Substances 0.000 description 2
- 229920003002 synthetic resin Polymers 0.000 description 2
- 239000000057 synthetic resin Substances 0.000 description 2
- 239000000454 talc Substances 0.000 description 2
- 229910052623 talc Inorganic materials 0.000 description 2
- 239000006097 ultraviolet radiation absorber Substances 0.000 description 2
- 238000007796 conventional method Methods 0.000 description 1
- 238000007872 degassing Methods 0.000 description 1
- 238000010586 diagram Methods 0.000 description 1
- 230000002349 favourable effect Effects 0.000 description 1
- 239000012530 fluid Substances 0.000 description 1
- 229920000554 ionomer Polymers 0.000 description 1
- 230000014759 maintenance of location Effects 0.000 description 1
- 230000007246 mechanism Effects 0.000 description 1
- 238000011160 research Methods 0.000 description 1
- MXNUCYGENRZCBO-UHFFFAOYSA-M sodium;ethene;2-methylprop-2-enoate Chemical compound [Na+].C=C.CC(=C)C([O-])=O MXNUCYGENRZCBO-UHFFFAOYSA-M 0.000 description 1
- 238000009489 vacuum treatment Methods 0.000 description 1
Images
Landscapes
- Vehicle Interior And Exterior Ornaments, Soundproofing, And Insulation (AREA)
- Moulds For Moulding Plastics Or The Like (AREA)
- Injection Moulding Of Plastics Or The Like (AREA)
Abstract
【課題】表皮のインサートインジェクション工法を使用して樹脂芯材と表皮とを一体成形するとともに、表面に表示部を設定した自動車用内装部品並びにその製造方法であって、工程数を短縮化することを課題とする。
【解決手段】射出成形金型40を使用して、樹脂芯材20と表皮30とを一体成形する際、表示部14に相当する箇所の表皮30に開口31を繰り抜き、この開口31を通して樹脂芯材20を表面側に露出させ、露出面20aに射出成形金型40側から刻印47を転写して、樹脂芯材20の成形と同時に表示部14を形成するとともに、表皮30の開口縁31aは、樹脂芯材20における表示部14周囲に形成した木目込み溝部21に木目込み処理する。従って、樹脂芯材20の成形と同時に表示部14を形成することで、工程数の大幅な短縮化並びに射出成形金型40の構造の簡素化を図る。
【選択図】図2
【解決手段】射出成形金型40を使用して、樹脂芯材20と表皮30とを一体成形する際、表示部14に相当する箇所の表皮30に開口31を繰り抜き、この開口31を通して樹脂芯材20を表面側に露出させ、露出面20aに射出成形金型40側から刻印47を転写して、樹脂芯材20の成形と同時に表示部14を形成するとともに、表皮30の開口縁31aは、樹脂芯材20における表示部14周囲に形成した木目込み溝部21に木目込み処理する。従って、樹脂芯材20の成形と同時に表示部14を形成することで、工程数の大幅な短縮化並びに射出成形金型40の構造の簡素化を図る。
【選択図】図2
Description
この発明は、表皮のインサートインジェクション工法を利用したピラーガーニッシュ並びにその製造方法に好適な自動車用内装部品並びにその製造方法に係り、特に、工程数を大幅に削減でき、しかも外観見栄えも良好な自動車用内装部品並びにその製造方法に関する。
図10は車両のセンターピラーパネルの上部室内面側に装着されるセンターピラーガーニッシュアッパー1を示すもので、図10,図11に示すように、センターピラーガーニッシュアッパー1は、ベースとしての樹脂芯材2の表面に表皮3を貼付して構成され、通常、表皮3を射出成形金型内にセットしておき、溶融樹脂を射出成形金型のキャビティ内に充填することで樹脂芯材2と表皮3を一体化するインサートインジェクション工法を使用して成形するのが主流である。
ところで、センターピラーガーニッシュアッパー1の上部側にエアバッグを内蔵する場合には、エアバッグ等の刻印キャップ4を組み付ける必要があり、図11に示すように、刻印キャップ4の裏面に係止爪4aを設けるとともに、樹脂芯材2に収容凹部5を凹設し、この収容凹部5の側壁に係止孔5aを開設し、刻印キャップ4の係止爪4aを係止孔5aに係着することで刻印キャップ4をセンターピラーガーニッシュアッパー1の所定部分に取り付けているのが実情である。そして、エアバッグ等の刻印キャップ4を備えたセンターピラーガーニッシュアッパー1の製造工程の概略は、図12に示すように、樹脂芯材2と表皮3とをクロスインサート成形により所要形状に成形する一方、エアバッグ等の刻印キャップ4についても別途金型で成形し、次工程でセンターピラーガーニッシュアッパー1の所定部分に刻印キャップ4を組み付けている。尚、従来のキャップを備えたピラーガーニッシュの構造については、特許文献1に詳細に示されている。
このように、従来では、刻印キャップ4を備えたセンターピラーガーニッシュアッパー1の製造方法は、センターピラーガーニッシュアッパー1と刻印キャップ4とを別個の成形金型でそれぞれ射出成形した後、両者を組み付け工程でアッセンブリしているため、3工程が必要であり、工程数が多く、コストアップを招来する大きな要因となっている。
更に、刻印キャップ4を爪係着する構造では、センターピラーガーニッシュアッパー1に刻印キャップ4の係止爪4aを受ける係止孔5aを開設するためにスライドコアが必要となり、金型コストの高騰化を招き、このことも、製品のコストアップを招来する要因となっている。また、刻印キャップ4とセンターピラーガーニッシュアッパー1の製品外観との間で違和感が生じ、見栄え上も好ましいものとはいえなかった。
この発明は、このような事情に鑑みてなされたもので、エアバッグ等の装備品の名称や、コーション事項等を表示した表示部を備えた自動車用内装部品であって、内装部品の成形と同時に表示部の加工が行なえ、かつ成形金型の構造も簡素化でき、大幅なコストダウンが期待できるとともに、外観見栄えにおいてもシンプルな外観が得られ、見栄え上も好ましい自動車用内装部品並びにその製造方法を提供することを目的とする。
本発明者等は、上記課題を解決するために、鋭意研究の結果、表皮に開口を繰り抜き形成し、この開口を通して樹脂芯材面を表面側に露出させて、露出面に射出成形金型から表示内容を転写するとともに、表皮の開口縁を木目込み処理することで、従来の刻印キャップを廃止でき、かつ工程数の大幅な短縮化が可能になることに着目し、本発明を完成するに至った。
すなわち、本発明は、射出成形金型内に溶融樹脂を射出充填し、所要形状に成形される樹脂芯材と、その表面に一体化される表皮とから構成され、製品表面の一部に表示部が設定された自動車用内装部品において、前記表示部は、表皮に開設した開口を通して樹脂芯材を製品表面側に露出させ、この露出面に射出成形金型側から文字、記号等の表示内容が転写されるとともに、表皮の開口縁は、表示部周囲に形成された木目込み溝部内に収まるように端末処理されていることを特徴とする。
更に、本発明に係る自動車用内装部品の製造方法は、所要形状に成形される樹脂芯材と、その表面に一体化される表皮とから構成され、製品表面の一部に表示部が設定された自動車用内装部品の製造方法において、前記射出成形金型が型開き状態にある時、表示部に対応する箇所に開口を設けた表皮を射出成形金型内にセットし、その後、キャビティ型とコア型を型締めして、両金型間に形成されるキャビティ内に溶融樹脂を射出充填することで、樹脂芯材と表皮とを一体成形するとともに、キャビティ型の型面に刻印された文字、記号等の表示内容を表皮の開口を通して樹脂芯材の露出面に転写して表示部を形成する一方、表示部の周囲に設けられた樹脂芯材の木目込み溝部内に表皮の開口縁を木目込み処理することを特徴とする。
ここで、自動車用内装部品としては、射出成形工法により所要形状に成形される樹脂芯材と、樹脂芯材の表面に一体化される表皮とから構成され、表面の一部に所定の表示内容を表示する表示部が設定されたものであれば用途は問わない。例えば、センターピラーガーニッシュ、フロントピラーガーニッシュ、リヤピラーガーニッシュ等のガーニッシュ類や、ドアトリム、リヤサイドトリム等の内装部品全般に適用できる。更に、樹脂芯材としては、ポリエチレン系樹脂、ポリプロピレン系樹脂、ポリスチレン系樹脂、ポリエチレンテレフタレート系樹脂、ポリビニルアルコール系樹脂、塩化ビニル系樹脂、ポリアミド系樹脂、ポリアセタール系樹脂、ポリカーボネート系樹脂、アイオノマー系樹脂、アクリロニトリル/ブタジエン/スチレン(ABS)樹脂等の熱可塑性樹脂を使用できる。また、これら熱可塑性樹脂中に各種充填剤を混入しても良い。使用できる充填剤としては、ガラス繊維、カーボン繊維等の無機繊維、タルク、クレイ、シリカ、炭酸カルシウム等の無機粒子などがある。また、酸化防止剤、紫外線吸収剤、着色剤、難燃剤、低収縮剤等の各種の添加剤が配合されても良い。
また、表皮としては、クロス、不織布等の布地シートが好ましいが、合成樹脂シートを使用することもできる。更に、表示部の表示内容としては、カーテン式エアバッグ等の装備品の名称や、注意書き、スペック等の情報が考えられる。そして、表示部としては、表皮に開口が繰り抜き形成され、この開口を通して樹脂芯材面が表面に露出し、この露出面に射出成形金型側から所定の表示内容が転写される。また、表示部の周囲は、樹脂芯材に木目込み溝部が形成されており、表皮の開口縁を木目込み溝部内に圧入処理すれば、寸法バラツキ等が吸収でき、表示部周囲の外観性能を良好に維持できる。
次いで、本発明方法に使用する射出成形金型は、キャビティ型とコア型とから構成される射出成形用金型であり、樹脂芯材の形状に対応して、キャビティ型とコア型とで画成されるキャビティ形状が決定されるとともに、表示部近傍においてはキャビティ型に凸条、それに対応するコア型には凹部が形成され、凸条と凹部とで樹脂芯材に木目込み溝部が形成される。また、表示部相当箇所におけるキャビティ型面には、文字、記号等の所定情報が刻印されている。
以上の説明から明らかなように、本発明によれば、予め表示部相当箇所に開口を設けた表皮を射出成形金型内にセットした後、射出成形金型を型締めして、キャビティ内に溶融樹脂を射出充填して、樹脂芯材と表皮とを一体成形する際、表皮の開口を通して露出する樹脂芯材の露出面に射出成形金型から所定の表示内容を転写するとともに、表示部周囲における樹脂芯材の木目込み溝部に表皮の開口端末を木目込み処理するという構成であるため、単一の成形金型を使用し、単一の成形工程で内装部品の成形と表示部の成形を同時に行なうことができ、従来3工程必要であったものを1工程に短縮することができる。
更に、従来のように、キャップを受けるための係止孔をスライドコアを使用して内装部品側に形成する必要がないため、成形金型の構造を簡素化することができる。また、別物の刻印キャップを取り付ける構造ではなく、表皮に開口を繰り抜き、樹脂芯材の露出面に射出成形金型側から表示内容を転写するという構成であるため、製品外観はシンプルな印象を与え、外観性能に優れる。
次に、本発明の好ましい実施の形態においては、前記表示部におけるキャビティ型とコア型とのクリアランスを小さく設定することにより、溶融樹脂が最終的にこの部分に流入することで、表皮の開口縁が端末方向に沿って引き延ばされて表皮端末のヨレを回避できるようにしたことを特徴とする。
そして、この実施の形態によれば、キャビティ型とコア型とのクリアランスは、一般部分に比べ表示部相当箇所が小さく設定されているため、溶融樹脂がキャビティ内を流動する際、クリアランスの小さい箇所は最後に溶融樹脂が流れ込むことになる。従って、表皮の開口縁は端末に向けて引っ張られるため、表皮端末のヨレを確実に防止することができる。
以上説明した通り、本発明に係る自動車用内装部品並びにその製造方法によれば、インサートインジェクション工法を使用して、樹脂芯材の表面に表皮を一体成形する際、表皮に開口を繰り抜き形成し、開口を通して樹脂芯材を表面側に露出させ、露出面に射出成形金型の刻印を転写するとともに、表皮の開口端末を樹脂芯材の木目込み溝部に木目込み処理することで、内装部品における樹脂芯材の成形と同時に表示部を形成することができるため、内装部品の成形工程、刻印キャップの成形工程、刻印キャップの取付工程のように、従来3工程必要としたのに比べ1工程で済むため、工程数を大幅に削減できる。
更に、本発明に係る自動車用内装部品並びにその製造方法によれば、樹脂芯材と一体に表示部を形成するため、従来のように、刻印キャップを係着するための係止孔をスライドコアを使用して形成する必要がないことから、成形金型の型構造を簡素化することができ、コストダウンを招来するとともに、別物の刻印キャップを取り付ける構造に比べ、樹脂芯材面を外部に露出させて、露出させた樹脂面に刻印を転写するため、シンプルな外観が得られ、一般部分と表示部との一体感を強調でき、外観性能が向上するという効果を有する。
以下、本発明に係る自動車用内装部品並びにその製造方法の好適な実施例について、センターピラーガーニッシュアッパー並びにその製造方法を例示して説明する。尚、念のため付言すれば、本発明の要旨は特許請求の範囲に記載した通りであり、以下に説明する実施例の内容は、本発明の一例を単に示すものに過ぎない。
図1乃至図9は本発明の一実施例を示すもので、図1は本発明を適用したセンターピラーガーニッシュアッパーを示す正面図、図2は同センターピラーガーニッシュアッパーにおける表示部の構成を示す断面図、図3は同センターピラーガーニッシュアッパーを成形する際に使用する射出成形金型の概略構成を示す説明図、図4は同射出成形金型のキャビティ形状を示す説明図、図5乃至図8は同センターピラーガーニッシュアッパーの製造方法を示すもので、図5は表皮のセット工程を示す説明図、図6は樹脂芯材の成形工程を示す説明図、図7,図8は樹脂芯材の成形時における溶融樹脂の流動形態を示す各説明図である。また、図9は本発明に係るセンターピラーガーニッシュアッパーの成形工程の変形例を示す説明図である。
まず、図1,図2に基づいて、本発明を適用したセンターピラーガーニッシュアッパー10の構成について説明する。センターピラーガーニッシュアッパー10は、車両のセンターピラーパネル上部の室内面側に内装される内装部品であり、センターピラーパネルの室内面側を覆うように断面略C字状をなす上下方向に沿って延びる長尺形状を備えており、保形性とピラーパネルに対する取付剛性を備えた樹脂芯材20と、その表面に一体化される装飾性並びに表面感触に優れた表皮30とから構成されている。更に詳しくは、中央に上下方向に延びる調節長孔11が開設されており、調節長孔11の内部にスライドプレート12が上下方向にスライド自在に内装され、スライドプレート12をスライド操作することにより、例えばシートベルトのアンカー部(図示せず)の位置調整を行なうようになっている。また、下部には、取付フランジ13が形成されている。この部分は表皮30で被覆されていないが、図示しないセンターピラーガーニッシュロアにより被覆するため、あえて表皮30が省略されている。
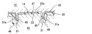
そして、本発明の特徴は、センターピラーガーニッシュアッパー10の上部に設定した表示部14の構成にある。すなわち、センターピラーガーニッシュアッパー10の上部に内蔵されるカーテン式エアバッグを装備した旨を表示する表示部14は、従来の刻印キャップ構造から樹脂芯材20に成形と同時に刻印を転写することで簡単に形成してある。図2に示すように、センターピラーガーニッシュアッパー10における一般部分は樹脂芯材20の表面に表皮30を貼付した積層構造であるが、表示部14については表皮30が省略され樹脂芯材20の単体構造であり、表皮30の開口31を通して樹脂芯材20が製品表面側に露出した露出面20aに表示部14が形成されている。また、この表示部14の周囲に沿って樹脂芯材20には木目込み溝部21が形成され、木目込み溝部21の溝深さd1を5mm、溝幅wを1.5mmに設定し、表皮30の開口31の開口縁31aが木目込み処理されており、このことで、表皮30における開口31のカットバラツキを吸収することができる。また、表示部14における樹脂芯材20の厚みd2は、1.0〜2.0mmのように、一般部分の厚み(2.5mm)に比べ表示部14は薄肉部22として設定されている。このことは後述する樹脂芯材20の成形時における樹脂の流動性を良好に維持して、表皮30の開口縁31aにヨレ等の不具合が発生するのを有効に抑えるためである。
上記センターピラーガーニッシュアッパー10における樹脂芯材20の素材としては、ポリエチレン系樹脂、ポリプロピレン系樹脂、ポリスチレン系樹脂、ポリエチレンテレフタレート系樹脂、ポリビニルアルコール系樹脂、塩化ビニル系樹脂、ポリアミド系樹脂、ポリアセタール系樹脂、ポリカーボネート系樹脂、アイオノマー系樹脂、アクリロニトリル/ブタジエン/スチレン(ABS)樹脂等の熱可塑性樹脂が使用できる。また、これら熱可塑性樹脂中に各種充填剤を混入しても良い。使用できる充填剤としては、ガラス繊維、カーボン繊維等の無機繊維、タルク、クレイ、シリカ、炭酸カルシウム等の無機粒子などがある。また、酸化防止剤、紫外線吸収剤、着色剤、難燃剤、低収縮剤等の各種の添加剤が配合されても良い。
そして、表皮30は、樹脂芯材20の射出成形時に一体化される。表皮30の材質としては、クロス、不織布等の布地シート、あるいは合成樹脂シートを使用することができるが、外観及び感触上、クロスが好ましく、本実施例では、厚み0.2mmのクロスが使用されている。また、樹脂芯材20の厚みは上述したように2.5mmに設定されている。
従って、本発明に係るセンターピラーガーニッシュアッパー10は、樹脂芯材20の成形時に表示部14が同時に形成されるため、従来のように、別物の刻印キャップを別途成形して、センターピラーガーニッシュアッパーに取り付けるという手間が省け、構造が簡素化でき、別物の刻印キャップを取り付けた際の違和感をなくし、シンプルな外観を付与でき、外観性能にも優れている。
次いで、センターピラーガーニッシュアッパー10の製造方法について、図3乃至図8を基に説明する。まず、図3はセンターピラーガーニッシュアッパー10を成形する際に使用する射出成形金型40の構成を示すもので、射出成形金型40は、キャビティ型41とコア型42とから大略構成され、いずれか一方側に駆動機構が接続されることでキャビティ型41とコア型42は相互に型締め、型開き可能に配置されている。そして、キャビティ型41とコア型42とを型締めした際に、製品形状を形作るキャビティCが画成され、このキャビティC内に樹脂芯材20の素材である溶融樹脂Mを射出充填するが、溶融樹脂Mの供給系として、ランナ43、ゲート44がコア型42の内部及びキャビティ型41とコア型42のパーティング面に設けられている。
ところで、本発明の特徴は、センターピラーガーニッシュアッパー10の樹脂芯材20に表示部14を一体化するために、表示部14相当箇所においてキャビティ型41には凸条45が突設形成され、それに対応するようにコア型42には凹部46が設けられており、キャビティ型41とコア型42を型締めした際に形成されるキャビティC内に溶融樹脂Mを充填して、樹脂芯材20を成形すれば、凸条45と凹部46とにより木目込み溝部21が表示部14の周囲に形成されることになる。また、凸条45に囲まれた表示部14において、キャビティ型41の型面に刻印47が形成されており、この刻印47が樹脂芯材20の表面に転写される。尚、この実施例においては、木目込み溝部21に囲まれる部分のクリアランスが小さく設定されており、そのために表示部14における樹脂芯材20の厚みが薄肉部22として形成されている。
次に、図5乃至図8に基づいて、センターピラーガーニッシュアッパー10の製造方法について説明する。まず、図5に示すように、キャビティ型41とコア型42が型開き状態である時、型内に表皮30をセットするが、表皮30には予め表示部14に相当する面積の開口31が開設されている。そして、表皮30のセットが完了すれば、キャビティ型41とコア型42が型締めされてキャビティCが画成され、このキャビティC内に溶融樹脂Mがランナ43、ゲート44を通じて射出充填される。この時、キャビティ型41に設けた凸条45と、コア型42の凹部46との間で樹脂芯材20に木目込み溝部21が形成され、この木目込み溝部21に表皮30の開口31における開口縁31aが木目込み処理されるため、表皮30の開口31の端末処理が美麗に行なえるとともに、キャビティ型41の刻印47が樹脂芯材20の露出面20aに転写されるため、表示部14が簡単に形成される(図6参照)。
更に、本実施例においては、図7に示すように、ランナ43、ゲート44から溶融樹脂Mが矢印で示すようにキャビティC内に流動するが、特に、表示部14に相当する部位のキャビティ型41とコア型42のクリアランスが一般部分のクリアランスに比べ小さく設定されているため、溶融樹脂Mはクリアランスを大きく確保した一般部分について先行して充填され、その後、図8に示すようにクリアランスの小さな表示部14相当箇所に流入するため、表皮30の開口31の開口縁31aは端末側に延ばされ、表皮30の端末にヨレ等の不具合が発生することがなく、表皮30の開口縁における端末処理を美麗に行なうことができる。尚、キャビティCのクリアランスについて、一般部分と表示部14相当部分を同一に設定した場合には、溶融樹脂の流動方向を円滑に制御できないため、表皮30の開口縁31aにヨレの発生が多発するという傾向を示した。
以上説明した通り、本発明方法をセンターピラーガーニッシュアッパーの製造方法に適用すれば、樹脂芯材20と表皮30とを射出成形金型40により一体成形する際、表示部14を同時に形成することができるため、センターピラーガーニッシュアッパーと刻印キャップを別個に成形し、刻印キャップを成形後、センターピラーガーニッシュアッパーに取り付けるという3工程を必要とした従来工法に比べ、1工程で完了することができ、工程数を大幅に短縮化できるとともに、射出成形金型40は係止孔を形成するためのスライドコア等を廃止でき、金型構造を簡素化することで更にコストダウンを招来できるという利点がある。
次いで、図9は、本発明の変形例を示すもので、コア型42にガス抜き用の焼結ブロック48を内装した射出成形金型40を使用し、この焼結ブロック48を介してバキューム処理を行なえば、表示部14のクリアランスが小さい部分においても、溶融樹脂Mを良好に充填されることができ、充填性が向上するという利点がある。
本発明の実施例は、エアバッグ等を表示する表示部14を備えたセンターピラーガーニッシュアッパー10に適用したが、インサートインジェクション工法により、樹脂芯材20、表皮30を一体化する構成で、表示部14を備える内装部品全般に適用することができる。
10 センターピラーガーニッシュアッパー
11 調節長孔
12 スライドプレート
13 取付フランジ
14 表示部
20 樹脂芯材
20a 露出面
21 木目込み溝部
22 薄肉部
30 表皮
31 開口
31a 開口縁
40 射出成形金型
41 キャビティ型
42 コア型
43 ランナ
44 ゲート
45 凸条
46 凹部
47 刻印
48 焼結ブロック
C キャビティ
M 溶融樹脂
11 調節長孔
12 スライドプレート
13 取付フランジ
14 表示部
20 樹脂芯材
20a 露出面
21 木目込み溝部
22 薄肉部
30 表皮
31 開口
31a 開口縁
40 射出成形金型
41 キャビティ型
42 コア型
43 ランナ
44 ゲート
45 凸条
46 凹部
47 刻印
48 焼結ブロック
C キャビティ
M 溶融樹脂
Claims (4)
- 射出成形金型(40)内に溶融樹脂(M)を射出充填し、所要形状に成形される樹脂芯材(20)と、その表面に一体化される表皮(30)とから構成され、製品表面の一部に表示部(14)が設定された自動車用内装部品(10)において、
前記表示部(14)は、表皮(30)に開設した開口(31)を通して樹脂芯材(20)を製品表面側に露出させ、この露出面(20a)に射出成形金型(40)側から文字、記号等の表示内容が転写されるとともに、表皮(30)の開口縁(31a)は、表示部(14)周囲に形成された木目込み溝部(21)内に収まるように端末処理されていることを特徴とする自動車用内装部品。 - 前記表示部(14)における樹脂芯材(20)は、一般部分の板厚に比べ薄肉状に設定されていることを特徴とする請求項1に記載の自動車用内装部品。
- 所要形状に成形される樹脂芯材(20)と、その表面に一体化される表皮(30)とから構成され、製品表面の一部に表示部(14)が設定された自動車用内装部品(10)の製造方法において、
前記射出成形金型(40)が型開き状態にある時、表示部(14)に対応する箇所に開口(31)を設けた表皮(30)を射出成形金型(40)内にセットし、その後、キャビティ型(41)とコア型(42)を型締めして、両金型(41,42)間に形成されるキャビティ(C)内に溶融樹脂(M)を射出充填することで、樹脂芯材(20)と表皮(30)とを一体成形するとともに、キャビティ型(41)の型面に刻印(47)された文字、記号等の表示内容を表皮(30)の開口(31)を通して樹脂芯材(20)の露出面(20a)に転写して表示部(14)を形成する一方、表示部(14)の周囲に設けられた樹脂芯材(20)の木目込み溝部(21)内に表皮(30)の開口縁(31a)を木目込み処理することを特徴とする自動車用内装部品の製造方法。 - 前記表示部(14)におけるキャビティ型(41)とコア型(42)とのクリアランスを小さく設定することにより、溶融樹脂(M)が最終的にこの部分に流入することで、表皮(30)の開口縁(31a)が端末方向に沿って引き延ばされて表皮(30)端末のヨレを回避できるようにしたことを特徴とする請求項3に記載の自動車用内装部品の製造方法。
Priority Applications (1)
| Application Number | Priority Date | Filing Date | Title |
|---|---|---|---|
| JP2008205765A JP5177656B2 (ja) | 2008-08-08 | 2008-08-08 | 自動車用内装部品並びにその製造方法 |
Applications Claiming Priority (1)
| Application Number | Priority Date | Filing Date | Title |
|---|---|---|---|
| JP2008205765A JP5177656B2 (ja) | 2008-08-08 | 2008-08-08 | 自動車用内装部品並びにその製造方法 |
Publications (2)
| Publication Number | Publication Date |
|---|---|
| JP2010036869A true JP2010036869A (ja) | 2010-02-18 |
| JP5177656B2 JP5177656B2 (ja) | 2013-04-03 |
Family
ID=42009840
Family Applications (1)
| Application Number | Title | Priority Date | Filing Date |
|---|---|---|---|
| JP2008205765A Expired - Fee Related JP5177656B2 (ja) | 2008-08-08 | 2008-08-08 | 自動車用内装部品並びにその製造方法 |
Country Status (1)
| Country | Link |
|---|---|
| JP (1) | JP5177656B2 (ja) |
Cited By (2)
| Publication number | Priority date | Publication date | Assignee | Title |
|---|---|---|---|---|
| JP2014231158A (ja) * | 2013-05-28 | 2014-12-11 | 大日本印刷株式会社 | 射出成形品、射出成形方法および射出成形金型 |
| WO2020048390A1 (en) * | 2018-09-03 | 2020-03-12 | Saint-Gobain Glass France | Exterior trimming part for pillar of vehicle |
Families Citing this family (1)
| Publication number | Priority date | Publication date | Assignee | Title |
|---|---|---|---|---|
| CN103879362A (zh) * | 2014-03-27 | 2014-06-25 | 苏州益群模具有限公司 | 一种汽车内饰件 |
Citations (5)
| Publication number | Priority date | Publication date | Assignee | Title |
|---|---|---|---|---|
| JPS5422481A (en) * | 1977-07-20 | 1979-02-20 | Matsushita Electric Ind Co Ltd | Laminated resin molded product and its preparation |
| JPH05131474A (ja) * | 1991-11-15 | 1993-05-28 | Kasai Kogyo Co Ltd | 自動車用内装部品及びその製造方法 |
| JPH0691764A (ja) * | 1992-09-16 | 1994-04-05 | Kasai Kogyo Co Ltd | 自動車用内装部品およびその製造方法 |
| JPH08281699A (ja) * | 1995-04-17 | 1996-10-29 | Inoac Corp | 複合型樹脂成形品の製造方法及び樹脂成形用金型装置 |
| JP2005082015A (ja) * | 2003-09-09 | 2005-03-31 | Kasai Kogyo Co Ltd | 自動車用内装部品 |
-
2008
- 2008-08-08 JP JP2008205765A patent/JP5177656B2/ja not_active Expired - Fee Related
Patent Citations (5)
| Publication number | Priority date | Publication date | Assignee | Title |
|---|---|---|---|---|
| JPS5422481A (en) * | 1977-07-20 | 1979-02-20 | Matsushita Electric Ind Co Ltd | Laminated resin molded product and its preparation |
| JPH05131474A (ja) * | 1991-11-15 | 1993-05-28 | Kasai Kogyo Co Ltd | 自動車用内装部品及びその製造方法 |
| JPH0691764A (ja) * | 1992-09-16 | 1994-04-05 | Kasai Kogyo Co Ltd | 自動車用内装部品およびその製造方法 |
| JPH08281699A (ja) * | 1995-04-17 | 1996-10-29 | Inoac Corp | 複合型樹脂成形品の製造方法及び樹脂成形用金型装置 |
| JP2005082015A (ja) * | 2003-09-09 | 2005-03-31 | Kasai Kogyo Co Ltd | 自動車用内装部品 |
Cited By (3)
| Publication number | Priority date | Publication date | Assignee | Title |
|---|---|---|---|---|
| JP2014231158A (ja) * | 2013-05-28 | 2014-12-11 | 大日本印刷株式会社 | 射出成形品、射出成形方法および射出成形金型 |
| WO2020048390A1 (en) * | 2018-09-03 | 2020-03-12 | Saint-Gobain Glass France | Exterior trimming part for pillar of vehicle |
| US12311849B2 (en) | 2018-09-03 | 2025-05-27 | Saint-Gobain Glass France | Exterior trimming part for pillar of vehicle |
Also Published As
| Publication number | Publication date |
|---|---|
| JP5177656B2 (ja) | 2013-04-03 |
Similar Documents
| Publication | Publication Date | Title |
|---|---|---|
| KR101933924B1 (ko) | 스위치 조립용 차량 도어의 소프트 어퍼 트림 및 그 양산공법 | |
| US6838027B2 (en) | Method of making an interior trim panel | |
| US6042140A (en) | Air bag cover having a visually perceptible tear seam | |
| US20040169396A1 (en) | Method of forming a vehicle panel assembly | |
| JP5766211B2 (ja) | 内装トリム部品を製造する方法及びその方法によって製造された内装トリム部品 | |
| JP5177656B2 (ja) | 自動車用内装部品並びにその製造方法 | |
| JP2005119404A (ja) | 自動車用内装部品及びその製造方法 | |
| KR20100021196A (ko) | 자동차용 내장 판넬의 제조방법 | |
| JP4133451B2 (ja) | 自動車用内装部品及びその製造方法並びに成形金型 | |
| JP2008173793A (ja) | 自動車用内装部品並びにその製造方法 | |
| JP4251443B2 (ja) | 自動車用内装部品の製造方法 | |
| JPH074819B2 (ja) | 自動車用内装部品の製造方法 | |
| WO2018211866A1 (ja) | 車両用内装材、及び、その製造方法 | |
| JP4090681B2 (ja) | 自動車用内装材の開口部目隠し構造 | |
| JP2001293741A (ja) | ビーズ発泡成形体の成形方法並びにビーズ成形用金型 | |
| JP2008173896A (ja) | 自動車用内装部品並びにその製造方法 | |
| JP4697868B2 (ja) | 自動車用内装部品 | |
| JP2005329544A (ja) | 2色成形品及びその成形方法 | |
| JPH0737815U (ja) | 射出成形品 | |
| KR100426375B1 (ko) | 자동차용 내장재 마감 패널 및 그 제조방법 | |
| JP2006327043A (ja) | 自動車用内装部品の製造方法 | |
| JP3206721B2 (ja) | 自動車用内装部品 | |
| JP2007125759A (ja) | 自動車用内装部品の製造方法 | |
| JP2007160685A (ja) | 成形パネル及び成形型 | |
| JP4742341B2 (ja) | リング一体式表示盤の製造方法 |
Legal Events
| Date | Code | Title | Description |
|---|---|---|---|
| A621 | Written request for application examination |
Free format text: JAPANESE INTERMEDIATE CODE: A621 Effective date: 20110802 |
|
| A977 | Report on retrieval |
Free format text: JAPANESE INTERMEDIATE CODE: A971007 Effective date: 20121220 |
|
| A01 | Written decision to grant a patent or to grant a registration (utility model) |
Free format text: JAPANESE INTERMEDIATE CODE: A01 Effective date: 20121227 |
|
| A61 | First payment of annual fees (during grant procedure) |
Free format text: JAPANESE INTERMEDIATE CODE: A61 Effective date: 20121227 |
|
| LAPS | Cancellation because of no payment of annual fees |