JP2010036583A - 三次元物体の製造方法及び装置 - Google Patents

三次元物体の製造方法及び装置 Download PDF

Info

Publication number
JP2010036583A
JP2010036583A JP2009210297A JP2009210297A JP2010036583A JP 2010036583 A JP2010036583 A JP 2010036583A JP 2009210297 A JP2009210297 A JP 2009210297A JP 2009210297 A JP2009210297 A JP 2009210297A JP 2010036583 A JP2010036583 A JP 2010036583A
Authority
JP
Japan
Prior art keywords
cooling
container
powder
carrier
powder material
Prior art date
Legal status (The legal status is an assumption and is not a legal conclusion. Google has not performed a legal analysis and makes no representation as to the accuracy of the status listed.)
Granted
Application number
JP2009210297A
Other languages
English (en)
Other versions
JP5148574B2 (ja
Inventor
Johann Oberhofer
オーベルホーファー,ヨハン
Jochen Weidinger
ヴァイディンガー,ヨッヘン
Thomas Mattes
マテス,トーマス
Current Assignee (The listed assignees may be inaccurate. Google has not performed a legal analysis and makes no representation or warranty as to the accuracy of the list.)
EOS GmbH
Original Assignee
EOS GmbH
Priority date (The priority date is an assumption and is not a legal conclusion. Google has not performed a legal analysis and makes no representation as to the accuracy of the date listed.)
Filing date
Publication date
Application filed by EOS GmbH filed Critical EOS GmbH
Publication of JP2010036583A publication Critical patent/JP2010036583A/ja
Application granted granted Critical
Publication of JP5148574B2 publication Critical patent/JP5148574B2/ja
Anticipated expiration legal-status Critical
Expired - Lifetime legal-status Critical Current

Links

Images

Classifications

    • BPERFORMING OPERATIONS; TRANSPORTING
    • B22CASTING; POWDER METALLURGY
    • B22CFOUNDRY MOULDING
    • B22C7/00Patterns; Manufacture thereof so far as not provided for in other classes
    • BPERFORMING OPERATIONS; TRANSPORTING
    • B07SEPARATING SOLIDS FROM SOLIDS; SORTING
    • B07BSEPARATING SOLIDS FROM SOLIDS BY SIEVING, SCREENING, SIFTING OR BY USING GAS CURRENTS; SEPARATING BY OTHER DRY METHODS APPLICABLE TO BULK MATERIAL, e.g. LOOSE ARTICLES FIT TO BE HANDLED LIKE BULK MATERIAL
    • B07B13/00Grading or sorting solid materials by dry methods, not otherwise provided for; Sorting articles otherwise than by indirectly controlled devices
    • B07B13/14Details or accessories
    • B07B13/16Feed or discharge arrangements
    • BPERFORMING OPERATIONS; TRANSPORTING
    • B29WORKING OF PLASTICS; WORKING OF SUBSTANCES IN A PLASTIC STATE IN GENERAL
    • B29CSHAPING OR JOINING OF PLASTICS; SHAPING OF MATERIAL IN A PLASTIC STATE, NOT OTHERWISE PROVIDED FOR; AFTER-TREATMENT OF THE SHAPED PRODUCTS, e.g. REPAIRING
    • B29C64/00Additive manufacturing, i.e. manufacturing of three-dimensional [3D] objects by additive deposition, additive agglomeration or additive layering, e.g. by 3D printing, stereolithography or selective laser sintering
    • B29C64/10Processes of additive manufacturing
    • B29C64/141Processes of additive manufacturing using only solid materials
    • B29C64/153Processes of additive manufacturing using only solid materials using layers of powder being selectively joined, e.g. by selective laser sintering or melting
    • BPERFORMING OPERATIONS; TRANSPORTING
    • B29WORKING OF PLASTICS; WORKING OF SUBSTANCES IN A PLASTIC STATE IN GENERAL
    • B29CSHAPING OR JOINING OF PLASTICS; SHAPING OF MATERIAL IN A PLASTIC STATE, NOT OTHERWISE PROVIDED FOR; AFTER-TREATMENT OF THE SHAPED PRODUCTS, e.g. REPAIRING
    • B29C64/00Additive manufacturing, i.e. manufacturing of three-dimensional [3D] objects by additive deposition, additive agglomeration or additive layering, e.g. by 3D printing, stereolithography or selective laser sintering
    • B29C64/30Auxiliary operations or equipment
    • B29C64/35Cleaning
    • BPERFORMING OPERATIONS; TRANSPORTING
    • B33ADDITIVE MANUFACTURING TECHNOLOGY
    • B33YADDITIVE MANUFACTURING, i.e. MANUFACTURING OF THREE-DIMENSIONAL [3-D] OBJECTS BY ADDITIVE DEPOSITION, ADDITIVE AGGLOMERATION OR ADDITIVE LAYERING, e.g. BY 3-D PRINTING, STEREOLITHOGRAPHY OR SELECTIVE LASER SINTERING
    • B33Y10/00Processes of additive manufacturing
    • BPERFORMING OPERATIONS; TRANSPORTING
    • B33ADDITIVE MANUFACTURING TECHNOLOGY
    • B33YADDITIVE MANUFACTURING, i.e. MANUFACTURING OF THREE-DIMENSIONAL [3-D] OBJECTS BY ADDITIVE DEPOSITION, ADDITIVE AGGLOMERATION OR ADDITIVE LAYERING, e.g. BY 3-D PRINTING, STEREOLITHOGRAPHY OR SELECTIVE LASER SINTERING
    • B33Y30/00Apparatus for additive manufacturing; Details thereof or accessories therefor
    • BPERFORMING OPERATIONS; TRANSPORTING
    • B33ADDITIVE MANUFACTURING TECHNOLOGY
    • B33YADDITIVE MANUFACTURING, i.e. MANUFACTURING OF THREE-DIMENSIONAL [3-D] OBJECTS BY ADDITIVE DEPOSITION, ADDITIVE AGGLOMERATION OR ADDITIVE LAYERING, e.g. BY 3-D PRINTING, STEREOLITHOGRAPHY OR SELECTIVE LASER SINTERING
    • B33Y40/00Auxiliary operations or equipment, e.g. for material handling
    • B33Y40/20Post-treatment, e.g. curing, coating or polishing
    • YGENERAL TAGGING OF NEW TECHNOLOGICAL DEVELOPMENTS; GENERAL TAGGING OF CROSS-SECTIONAL TECHNOLOGIES SPANNING OVER SEVERAL SECTIONS OF THE IPC; TECHNICAL SUBJECTS COVERED BY FORMER USPC CROSS-REFERENCE ART COLLECTIONS [XRACs] AND DIGESTS
    • Y02TECHNOLOGIES OR APPLICATIONS FOR MITIGATION OR ADAPTATION AGAINST CLIMATE CHANGE
    • Y02PCLIMATE CHANGE MITIGATION TECHNOLOGIES IN THE PRODUCTION OR PROCESSING OF GOODS
    • Y02P10/00Technologies related to metal processing
    • Y02P10/25Process efficiency

Landscapes

  • Engineering & Computer Science (AREA)
  • Chemical & Material Sciences (AREA)
  • Materials Engineering (AREA)
  • Manufacturing & Machinery (AREA)
  • Mechanical Engineering (AREA)
  • Physics & Mathematics (AREA)
  • Optics & Photonics (AREA)
  • Powder Metallurgy (AREA)

Abstract

【課題】製造工程全体を簡略化し、自動化し及び/又は短縮し、かつ、物体製造中の寸法精度を向上させること。
【解決手段】この発明は三次元物体を製造する方法に関する。物体(3)は処理室(100)の内に配置されたコンテナ(1,200)中で製造される。その物体は、コンテナ中で変移可能なキャリア(4)の上で形成される。この形成は、粉末材料(11)の複数の層を、特定の層にある物体の断面に相当する位置で、連続的かつ選択的に固化させることによって行われる。この粉末材料は電磁波照射あるいは分子照射によって固化され得る。この方法は、固化していない粉末材料(11)を除去する間中、完成した後の物体(3)を冷却し、その冷却が、流体流を物体(3)に供給することによって成し遂げられ、物体(3)を冷却する間中、前記キャリア(4)を持ち上げることを特徴とするものである。
【選択図】図2

Description

本発明は、三次元物体の製造方法と、三次元物体を製造する装置と、三次元物体を自動的に取り出し、冷却する装置に関する。
例えば特許文献1(米国特許第4863538号)によると、選択的レーザー焼結による三次元物体の製造方法において、物体は、粉末材料の複数の層を、特定の層における物体に対応する位置において、レーザーを作用させて、連続してかつ選択的に固化することによって製造される。このようにして製造された物体は、完成直後はまだ熱く、最終固化状態となっていない。さらに、使用前にまだ固化していない粉末が遊離してしまう。ある用途においては、物体を引き続いて処理することが望まれるか、あるいはそれが必要な場合がある。
三次元物体を製造する方法及び装置は、特許文献2(米国特許第5846370号)に記載されている。そこには、コンテナ中で物体を製造することが提案されており、このコンテナは、処理室に収容されており、物体製造終了後に処理室から搬出することができ、また、冷却装置として使用することも可能である。特許文献3(欧州特許第0632761号)によると、物体と共に物体を取り囲んでいるコンテナ壁をも固化させ、物体とともに形成されたコンテナを、製造工程終了後、冷却するために別の場所に置く方法が示されている。また特許文献4(欧州特許第0289116号)によると、粉末をレーザー焼結することによって物体を製造する方法が開示されており、そこでは、粉末層は、流動床方法(fluidized bed process)によって塗工される。加熱された、あるいは冷却されたガスが、製造工程において物体を一定の温度に保つために供給される。特許文献5(欧州特許第0287657号)には、製造工程の間、物体から熱を除去するために、温度管理された空気流を粉末床中に通過させることが示されている。
特許文献6(ドイツ実用新案第29506176.6号)によれば、選択的レーザー燒結手段によって製造された物体を、製造後にその物体の周囲に残っている固化していない粉末から手で取り出すことが開示されている。特許文献7(国際公開公報WO00/21673号)によると、レーザー焼結装置に交換式物体製造フレームを設けることが知られている。この交換式物体製造フレームは、レーザー焼結装置から迅速且つ簡単に取り外されまた再設置することができ、それ故、交換作業を迅速に行うことができる。特許文献8(米国特許第5569431号)による方法及び装置においては、ステレオリトグラフィによって形成された物体は、光硬化され得る液体材料が入った槽から自動的に引き上げられる。さらに特許文献9(欧州特許第0403146号)によると、ステレオリトグラフィ装置が開示されており、その装置には、物体を製造する装置と連続処理装置とが設けられている。それら二つの装置の間を搬送するための搬送装置も設けられている。
米国特許第4863538号明細書 米国特許第5846370号明細書 欧州特許第0632761号 欧州特許第0289116号 欧州特許第0287657号 ドイツ実用新案第29506176.6号 国際公開公報WO00/21673号 米国特許第5569431号明細書 欧州特許第0403146号
本発明の目的は、固化可能な粉末材料から三次元物体を製造する方法及び装置を提供することであり、製造工程全体を簡略化し、自動化し及び/叉は短縮し、かつ、物体製造中の寸法精度を向上させることである。
本発明の目的は、請求項1による方法、及び請求項11あるいは16による装置によって達成される。本発明の更なる展開は従属項で規定されている。
すなわち、本発明によれば、三次元物体を製造する方法において、処理室内に配置されたコンテナ中において、該コンテナ中で変移可能なキャリア上で、固化可能な粉末材料の複数の層を、特定の層にある物体の断面に相当する位置で、連続的かつ選択的に固化させることによって物体を製造する工程と、固化していない粉末材料を除去する間中、完成後の物体を冷却する工程とを含み、冷却が、流体流を物体に供給することによって成し遂げられ、物体を冷却する間中、キャリアを持ち上げる工程を含む方法が得られる。
また、本発明によれば、固化可能な粉末材料の複数の層を連続して固化することによって三次元物体を製造する装置において、製造されるべき物体を収容するためのコンテナと、該コンテナ内で変移可能なキャリアと、固化していない粉末を除去する間中、完成後の形成された物体を制御しながら冷却する冷却装置とを有し、冷却装置は、流体流を物体に供給し、かつ、物体を冷却する間中、キャリアを持ち上げることを特徴とする装置が得られる。
さらに、本発明によれば、固化可能な粉末材料の複数の層を連続して固化することによって製造された三次元物体を自動的に取り出し、冷却する装置において、製造されるべき物体を収容するためのコンテナと、該コンテナ内で変移可能なキャリアと、固化していない粉末を除去する間、形成された物体を制御しながら冷却する冷却装置とを有し、冷却装置は、流体流を物体に供給し、かつ、物体を冷却する間中、キャリアを持ち上げることを特徴とする装置が得られる。
本発明のさらなる特徴と利点は、図面を使用して例示されている実施例の記載からもわかるであろう。
本発明の装置の概略断面図である。 本発明の第1の実施例による装置の詳細を示した概略断面図である。 本発明の第2の実施例による装置の詳細を示した概略断面図である。 本発明の更なる実施例による装置の詳細を示した概略断面図である。 本発明の更なる実施例による装置の詳細を示した概略断面図である。
特に図1からも明らかなように、三次元物体を製造する装置には、上部が開いているコンテナ、すなわち上方リム2を有する製造コンテナ1が設けられている。コンテナ1の断面は製造される物体3の一番大きな断面積よりも大きい。形成される物体を支持するキャリア4は、上方リム2に面している基本的に平らな面5を有しており、コンテナ1のなかに設けられている。キャリア4は、図1に概略的に示すように、駆動装置によってコンテナ1の中を垂直方向に上下に動く。コンテナ1の上方リム2は作業面6を規定している。
コンテナ1は処理室100内に取り外し可能に取り付けられているので、その中で形成された物体と共に処理室100から取り外すことが可能である。
レーザー7として示されている放射装置は指向性ビーム8を放射するものであり、作業面6の上に設けられている。偏向装置9は、例えば検流計鏡(Galvanometer)システムとして設けられており、これによって、ビーム8が、偏向ビーム8’として、作業面6のそれぞれ所定の位置に偏向させられる。
コータ(塗工機)10が設けられており、固化する粉末材料の層をキャリア面5あるいは最後に固化する層に塗工する。コータ10は、作業面6上を前後に、概略的に示されている駆動装置によって、コンテナ1の一方にある第1の端部からコンテナ1の反対側にある第2の端部へ、移動可能である。
また、制御装置40が設けられており、これにより、キャリア4の位置を設定する駆動装置と、コータ10を動かす駆動装置と、偏向装置を調整する駆動装置とが、協働し、あるいは互いに独立して制御される。
図2に示されている本発明の第1の実施例において、物体を製造する装置は、装置50を有しており、この装置は、完成した物体をコンテナ1から制御しながら取り出すために処理室100の外側に設けられるのが好ましい。装置50は概略的にのみ示されている設置台51を有しており、コンテナ1が、処理室から運び出された後、この設置台の中に挿入され保持される。装置50もまた、図2に概略的に示されている駆動装置を有しており、この駆動装置は、装置50の中にあるキャリアを上下に移動させる。この駆動装置は、キャリアをコンテナの上方リム2に対して連続的にあるいは段階的に調整可能な速さで動かすように設計されている。さらに、この駆動装置は、キャリア4が最上部に到達した後、再び下降するよう設計されている。
コンテナ1をその開口側において周囲から封止している蓋い52は、ドームのような形状をしており、その下方リムでコンテナ1の上方リム2に取り付けられる。蓋い52はコンテナ上に配置され、コンテナ1の上方リム2と蓋いとの間には、シールが設けられ、このシールにより大気からの密封が保証される。この蓋いは互いに対峙している二つの開口部53及び54を有し、これら開口部は蓋い52の下方リムから所定の距離のところに設けられている。開口部53及び54はそれぞれ、圧縮ガスを供給するための供給パイプ55と、このガス及びガス流によって流動化した粉末粒子を除去するための除去パイプ56とのいずれか一方に接続している。供給パイプ55は、ガス媒体を供給する装置57、好ましくは圧縮空気供給源57に接続している。また除去パイプ56は除去された粉末材料を回収するコンテナ58に接続している。蓋い52の開口部53及び54の配置は、圧縮空気供給源57が接続されているとき、コンテナの上方リム2の上を基本的に接線方向に流れるガス流が生じるように調整される。圧縮空気供給源57は調整可能であるため、空気流の強さが制御できる。さらに、ガス媒体の温度は制御可能であるため、冷却に要する温度が設定できる。
本発明の方法において、物体は、まず、処理室100中のコンテナ1内のキャリア4上で公知の方法で製造される。したがって、キャリア4はまず一番高い場所に移動する。そこでは、キャリア面5は、コンテナ1の上方リム2の下方、塗工される第1の層の一層厚分の距離に存在する。続いて、コータ10は作業面6の上を動き、固化されるべき第1の層が塗工される。続いて、偏向装置9は、この層の物体の断面に相当する粉末材料の領域が、レーザー8によって固化するように制御される。その後、キャリア4が下降し、塗工された新しい層が再び同様に固化される。これらの工程が物体3が完成するまで何度も繰り返される。例えば、ポリアミド粉末のようなプラスチック粉末、金属粉末、セラミック粉末、プラスチックコーティングされた砂、あるいはこれらの混合物が、適用分野に応じて、粉末材料11として使用される。
コンテナはその中で形成される物体3と共に処理室100から運び出され、物体3を取り出すための装置50に入れられる。キャリア4はコンテナ1内の最も低い場所に位置する。まだ固化していない粉末材料11が、形成された物体3とコンテナ壁の間に存在する。プラスチック粉末を使用する際、物体3は完成した直後は、典型的には、まだ熱く、最終的固化状態にはない。物体を静かに取り出し冷却するために、ここで、蓋い52がコンテナ1上に配置され、圧縮空気供給源57が接続される。その後、キャリア4は、調整可能な速度で連続的に、あるいは段階的にコンテナ内を上昇される。その結果、固化していない一定量の粉末が、コンテナのリム2の上方に、常に、存在し、蓋い52によって保持される。圧縮空気供給源57は、適切な強さの空気流が粉末面を基本的に接線方向に流れて、固化していない粉末を巻き込むように調整され、固化していない粉末は、放出出口53及び除去パイプ56を通して除去され、回収コンテナ58に回収される。物体3は、キャリア4が持ち上がることによって表面を通る空気流領域に到達するとすぐに、その空気流によって冷却される。キャリア4が最上端位置にあるとき、蓋い52は除去され、物体は取り出される。そして十分に冷却される。それ故、空気流の温度及び圧力と、コンテナ内にあるキャリアの動作速度とを所定の方法で調整することによって、物体がコンテナ1から所定の方法で取り出される。このコンテナ1は、再び、処理室100に新たに挿入され得る。本方法には、物体3の取り出しと冷却を制御することによって、急激な冷却を回避でき、同時に固化していない粉末材料がゆっくりと制御された方法で除去されて冷却されるという利点があり、そのため再利用のための高品質を保持できる。一方、物体3はこの手順の後にのみ取り出されるので、熱く、まだ柔らかい状態で触れられることがなく、したがって、変形する力が加わることもない。更に、処理室の外で冷却と取り出しが行われるので処理室は、新しい物体の製造にとりかかることができる。
他の実施例において、固化していない粉末の搬送を補助する吸引ポンプが除去パイプ56に接続されている。空気を循環させてもよい。そのために、連結パイプを除去パイプ56及び空気供給パイプ55の間に設け、フィルタを、流動している粉末と空気を分離するために配置する。空気の代わりに、例えば窒素のような保護気体を、粉末が例えば酸化しないように、用いることができる。装置50の全体が、処理室100内に配置されても良いが、その場合には、処理室は、除去と冷却の間、占領される。
図2による実施例の変形として、開口部53、54の代わりに3つ以上の開口部を異なった位置に配置することが可能である。また、ガス流は表面に対して接線方向以外の方向に向けることも出来る。更に、例えば制御ノズルのような装置を、ガス流の方向を制御するために設けることもできる。
製造コンテナから物体を取り出す装置に関して図3に示されている更なる実施例において、コンテナ200が、好ましくは四角あるいは三角形の断面を有するフレーム60を有するように設計されている。そのフレームの内部で、キャリア4が上下に動くことができる。環状あるいは襟状のアタッチメントすなわちリム62が用意されており、これは、コンテナフレーム60の上方リム61の上に配置されることができ、また、再び取り外すことも可能である。アタッチメント62は、好ましくは、外側に湾曲したオーバーフローエッジ63、すなわちコンテナフレーム60の4つの側面の少なくとも一つにあるオーバーフロー領域において丸くなったオーバーフローリムの形をしたオーバーフロー装置を形成するとともに、他の3つの側面においてコンテナフレーム60のリム61を超えて突出して、キャリア4が動いている間に粉末あるいはキャリアの落下を防止する装置を上部に形成するように、設計されている。コンテナ200は設置台70のフレーム60によって支持されており、好ましくは処理室100の外部に配置されている。また、傾斜装置71が設けられており、これによって、コンテナ200が設置台70と共に垂直方向に対して所定の調整可能な角度Aだけ傾けられるので、コンテナ1内のキャリア4の移動軸Vが垂直方向に対して所定の角度Aだけ傾く。
好ましくは振動形型のふるい装置80がコンテナ1のオーバーフローエッジ63の下に配置されており、回収コンテナ90がこの振動型ふるい装置の下に配置されている。
実施例の変形として、コンテナ1、ふるい装置80及び必要なら回収コンテナ90は、埃防止のためおよび周囲の温度制御を容易にするために、防塵で、かつ必要なら機密の室内に配置される。
本実施例による方法において、まず初めに、物体3が上述のように処理室内で完成させられる。そして、コンテナ内では数個の別々の物体3、3’、3”を製造することが可能であり、それらは互いに固化していない粉末材料11によって互いに分離される。
コンテナ200は処理室から運び出され、取り出し作業のために装置500の設置台70に置かれる。コンテナ200は傾斜装置71によって傾けられ、その結果、キャリア4の軸Vが、ふるいすなわち回収装置80の方に垂直方向に対して所定の角度Aだけ傾く。続いて、キャリア4は連続的にあるいは段階的に持ち上げられるので、固化していない粉末材料11がオーバーフローエッジ63上に押し出され、振動ふるい装置80上に落ちる。ふるい装置80のメッシュ幅は、固化していない粉末がふるいを通過し、回収され、回収装置90に再利用のために移されるように選択される。形成された一つあるいは複数の物体は、次の粉末材料が上昇するキャリア4によってオーバーフローエッジ63に押し出される圧力によって押し出され、振動型ふるい装置80内に捕捉される。そして物体は固化されていない粉末材料をふるいを通過させた後、取り出される。傾斜角Aは、キャリア4の上昇中に変更できる。例えば増大すると、粉末及び物体は、コンテナから完全にオーバーフローエッジ63上に押し出される。コンテナ200は必ずしも傾斜されなければならないわけではない。取り出しの制御、すなわち固化していない粉末材料の除去が制御されることが重要である。
この実施例において、冷却装置を、例えば粉末面を通過する空気あるいは気体流Gとして設けることも可能であり、その結果、粉末表面に現れる物体及び粉末自体が冷却される。
取り出しに関する図2及び図3に図示されている実施例を組み合わせることも可能である。エッジ63上の粉末のオーバーフローは、例えば、圧縮空気によって、あるいはオーバーフローエッジ、コンテナあるいはキャリアに設けられるバイブレータによって補助される。
更なる実施例において、固化していない粉末を制御された方法で機械的に除去する装置を提供する。このような装置は、例えば一つ以上のブラシを備えており、このブラシによって、固化していない粉末が、コンテナ内のキャリアの上昇中に表面から除去され、また、必要なら物体に付着している粉末も除去される。この粉末を除去する機械的装置は、また、ふるいにかけている粉末を除去する補助としても使用される。
さらに、本発明は、固化していない粉末材料を除去するためにガス流を使用することに限定されるものではない。ガス流の代わりに、別の流体、例えば気体/粉末の混合体、液体あるいは液体/粉末の混同体といった媒体を使用することも可能である。適切な流体を使用することにより、粉末を除去すると同時に、その構成成分の表面を処理することが可能である。例えば、ガス/粉末によって滑らかにしたり、反応性気体によって硬化させることができる。このような構成成分の連続処理は、コンテナから物体を取り出す装置において粉末の除去と同時に、あるいは粉末の除去後に行われてもよい。
図2及び図3による両方の実施例において、あるいはそれらの組み合わせにおいては、流体あるいはガス流の温度、及び/又は周囲の空気の温度を制御する温度制御装置を付加的に設けてもよい。形成された物体の冷却を制御するための温度制御ステップにおいて、周囲の温度は最初は物体の温度に相当していて、ふるい作業中に徐々に下がっていく。
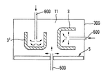
図4に示されている実施例において、キャリア面5は製造台でもあるものとして設計されており、その上で、物体がコンテナ300内において製造される。このキャリア面5は、図4の左半分に示されているように、多孔性に設計されているか、あるいは図4の右側半分に示されているように、開口部500を備えている。一種の流動床を生じ、物体を取り巻く粉末11をばらばらにするガス、例えば空気が、多孔性製造台あるいは開口部を介して下から吹き込まれる。そうするとぎっちり詰まった状態が緩和し、取り出しが容易になる。ガスの方向、流量、速度、及び温度は、個々にあるいは組み合わせて制御され得る。従って、物体を含む全体の粉末床の温度が制御される。この実施例は、物体を取り出すための先に例示されている実施例と組み合わせることもできる。キャリア面5を通って気体を吹き込む代わりに、あるいは付加的に、コンテナ300の側壁を通して、あるいは上端から粉末床にガスを吹き込んでもよい。
図5は、本発明の更に他の実施例による物体の冷却を制御する装置を示している。プローブあるいはそれと同様の手段によりガスを供給するための一つ以上の供給装置600が、製造台5、及び/又はコンテナ300の側壁、及び/又は上方粉末面を通って設けられており、特定の物体3のキャド(CAD)データ及び幾何学的図形から示される場所が考慮されている。ガスは制御された温度下で供給装置600を通過するため、物体は規定された温度状態において、局部的に特殊な対流によって冷却される。ガスはまた粉末床を緩和させ、その結果取り出しが容易になる。
使用される粉末材料に応じて、製造遂行される。その結果、物体は完成した直後でも熱くなく、冷却の必要性がない。ここに記載されている方法及び装置には、物体が手作業なしで、静かに取り出されるという利点がある。もし物体が完成直後に既に十分な硬度を有している場合には、連続的あるいは段階的にキャリアを持ち上げる代わりに、コンテナの中身全体を、ふるいあるいは回収装置上に直接、例えばコンテナを開くことによってあけてもよい。この代案には、製造工程全体が加速化し、粉末除去及び冷却のための上述の方法及び手段が同様に使用できるという利点がある。
固化していない粉末材料の除去を制御する手段が提供されることが重要であり、それにより、手動作業無しで制御された方法によりコンテナから形成された物体を自動的に取り出すことが容易になる。
本発明のさらなる実施例は、ガスあるいは流体を利用して、取り出しあるいは冷却を制御することにより物体の特性に本質的に影響を与えるものであり、手動による連続処理を不要にする。形成された物体の表面の化学的な連続処理は、例えばガスを吹き込むことによって行われる。従って、物体の製造と利用の間の従来の製造ステップが加速される。本発明の更なる実施例によると、固化されていない粉末が除去された後の物体は、引き続いて自動的に処理される。例えばワックスあるいはエポキシ樹脂を浸透させる処理がおこなわれる。処理室の温度は、温度制御によって浸透に必要な適切な温度に設定される。
本発明は、粉末材料を固化するためにレーザービームを利用することに限定されない。レーザービームを使用する代わりに、粉末は、別の方法、例えば他のエネルギービーム、例えば電子ビームを使用して、あるいは選択的付着、例えばバインダあるいは接着剤をプリンタヘッドから選択的に噴射することによって、固化が可能である。
1 コンテナ
2 コンテナリム(上方リム)
3 物体
4 キャリア
5 ガスを供給する装置(平らな面、キャリア面、製造台)
6 作業面
7 レーザー
8 指向性ビーム
9 偏向装置
10 コータ(塗工機)
11 粉末材料
40 制御装置
50 除去する装置(ガスを供給する装置)
52 蓋い
53 開口部(放出出口)
54 開口部
55 空気供給パイプ
56 除去パイプ
57 ガス媒体を供給する装置(圧縮空気供給源)
58 回収コンテナ
60 コンテナフレーム
61 コンテナリム
62 環状アタッチメント(リム)
63 オーバーフロー装置(オーバーフローエッジ)
70 設置台
71 傾斜させるための手段(傾斜装置)
80 振動ふるい装置(回収装置)
90 回収コンテナ(回収装置)
100 処理室
200 コンテナ
300 コンテナ
500 除去する装置(ガスを供給する装置;冷却する装置)
600 冷却する装置
A 傾斜角

Claims (19)

  1. 三次元物体を製造する方法において、
    処理室(100)内に配置されたコンテナ(1,200,300)中において、該コンテナ中で変移可能なキャリア(4)上で、固化可能な粉末材料(11)の複数の層を、特定の層にある物体の断面に相当する位置で、連続的かつ選択的に固化させることによって物体(3)を製造する工程と、
    固化していない粉末材料を除去する間中、完成後の物体(3)を冷却する工程とを含み、
    前記冷却が、流体流を前記物体に供給することによって成し遂げられ、
    前記物体(3)を冷却する間中、前記キャリア(4)を持ち上げる工程を含む方法。
  2. 固化していない粉末材料の除去が、前記流体流によって実行される、請求項1に記載の方法。
  3. 前記流体がガス又は液体である、請求項1に記載の方法。
  4. 前記流体流の供給が、前記流体を前記固化していない粉末に吹きつけることから成る、請求項1に記載の方法。
  5. 前記流体流の供給が、前記粉末中の前記物体の露出表面に前記流体を吹きつけることから成る、請求項1に記載の方法。
  6. 前記流体流の供給が、前記粉末表面に対して接線方向に前記流体流を向けて前記物体を冷却することから成る、請求項1に記載の方法。
  7. 冷却の間中、前記物体に付加的な処理を与える、請求項1乃至6のいずれか1つに記載の方法。
  8. 製造された前記物体は、自動的に浸透処理される、請求項1乃至7のいずれか1つに記載の方法。
  9. 前記浸透は、ワックスあるいはエポキシ樹脂を使用することによって行われることを特徴とする、請求項8に記載の方法。
  10. 前記浸透は、温度を制御しながら行われることを特徴とする請求項8又は9に記載の方法。
  11. 固化可能な粉末材料の複数の層を連続して固化することによって三次元物体を製造する装置において、製造されるべき物体(3)を収容するためのコンテナ(1;200)と、該コンテナ内で変移可能なキャリア(4)と、固化していない粉末を除去する間中、完成後の形成された物体を制御しながら冷却する冷却装置(50;500)とを有し、
    前記冷却装置は、流体流を前記物体に供給し、かつ、前記物体を冷却する間中、前記キャリア(4)を持ち上げることを特徴とする装置。
  12. 前記物体を製造した後、前記流体流によって固化していない粉末材料を制御しながら除去する装置を更に備えた、請求項11に記載の装置。
  13. 前記冷却装置は前記流体流を前記固化していない粉末に吹きつけるように構成されている、請求項11又は12に記載の装置。
  14. 前記冷却装置は前記粉末中の前記物体の露出表面に前記流体流を吹きつけるように構成されている、請求項11又は12に記載の装置。
  15. 前記冷却装置は前記粉末表面に対して接線方向に前記流体流を向けて前記物体を冷却するように構成されている、請求項11又は12に記載の装置。
  16. 固化可能な粉末材料の複数の層を連続して固化することによって製造された三次元物体を自動的に取り出し、冷却する装置において、製造されるべき物体(3)を収容するためのコンテナ(1;200)と、該コンテナ内で変移可能なキャリア(4)と、
    固化していない粉末を除去する間中、完成後の形成された物体を制御しながら冷却する冷却装置(50;500)とを有し、
    前記冷却装置(50;500)は、流体流を前記物体(3)に供給し、かつ、前記物体(3)を冷却する間中、前記キャリア(4)を持ち上げることを特徴とする装置。
  17. 前記物体を製造した後、前記流体流によって固化していない粉末材料を制御しながら除去する装置を更に備えた、請求項16に記載の装置。
  18. 三次元物体を製造する装置中に設けられることを特徴とする請求項16又は17に記載の装置。
  19. 前記三次元物体を製造する装置がレーザ焼結装置である請求項18に記載の装置。
JP2009210297A 1999-08-06 2009-09-11 三次元物体の製造方法及び装置 Expired - Lifetime JP5148574B2 (ja)

Applications Claiming Priority (2)

Application Number Priority Date Filing Date Title
DE19937260A DE19937260B4 (de) 1999-08-06 1999-08-06 Verfahren und Vorrichtung zum Herstellen eines dreidimensionalen Objekts
DE19937260.8 1999-08-06

Related Parent Applications (1)

Application Number Title Priority Date Filing Date
JP2006014789A Division JP2006150977A (ja) 1999-08-06 2006-01-24 三次元物体の製造方法及び装置

Publications (2)

Publication Number Publication Date
JP2010036583A true JP2010036583A (ja) 2010-02-18
JP5148574B2 JP5148574B2 (ja) 2013-02-20

Family

ID=7917517

Family Applications (3)

Application Number Title Priority Date Filing Date
JP2001515124A Expired - Fee Related JP4102565B2 (ja) 1999-08-06 2000-07-28 三次元物体の製造方法及び装置
JP2006014789A Pending JP2006150977A (ja) 1999-08-06 2006-01-24 三次元物体の製造方法及び装置
JP2009210297A Expired - Lifetime JP5148574B2 (ja) 1999-08-06 2009-09-11 三次元物体の製造方法及び装置

Family Applications Before (2)

Application Number Title Priority Date Filing Date
JP2001515124A Expired - Fee Related JP4102565B2 (ja) 1999-08-06 2000-07-28 三次元物体の製造方法及び装置
JP2006014789A Pending JP2006150977A (ja) 1999-08-06 2006-01-24 三次元物体の製造方法及び装置

Country Status (5)

Country Link
US (2) US6932935B1 (ja)
EP (1) EP1192040B1 (ja)
JP (3) JP4102565B2 (ja)
DE (2) DE19937260B4 (ja)
WO (1) WO2001010631A2 (ja)

Cited By (6)

* Cited by examiner, † Cited by third party
Publication number Priority date Publication date Assignee Title
JP2017109326A (ja) * 2015-12-14 2017-06-22 株式会社ミマキエンジニアリング 造形物の製造装置及び制御方法
CN108297428A (zh) * 2017-01-11 2018-07-20 福特全球技术公司 一种用于从使用工业粉末生成地制造的至少一个成形体中去除工业粉末的装置
JP2019516580A (ja) * 2016-05-04 2019-06-20 アッドアップ 取り出しシステムを有するアディティブマニュファクチャリング機械およびかかる機械を使用することによるアディティブマニュファクチャリング方法
JP2020001363A (ja) * 2018-07-02 2020-01-09 ローランドディー.ジー.株式会社 三次元造形装置
JP2020037217A (ja) * 2018-09-04 2020-03-12 みんとる合同会社 造形装置、及び造形物の製造方法
JP2020037218A (ja) * 2018-09-04 2020-03-12 みんとる合同会社 造形装置、及び造形物の製造方法

Families Citing this family (143)

* Cited by examiner, † Cited by third party
Publication number Priority date Publication date Assignee Title
US7037382B2 (en) 1996-12-20 2006-05-02 Z Corporation Three-dimensional printer
US6007318A (en) 1996-12-20 1999-12-28 Z Corporation Method and apparatus for prototyping a three-dimensional object
DE19937260B4 (de) * 1999-08-06 2006-07-27 Eos Gmbh Electro Optical Systems Verfahren und Vorrichtung zum Herstellen eines dreidimensionalen Objekts
DE10049043A1 (de) * 2000-10-04 2002-05-02 Generis Gmbh Verfahren zum Entpacken von in ungebundenem Partikelmaterial eingebetteten Formkörpern
DE10105504A1 (de) * 2001-02-07 2002-08-14 Eos Electro Optical Syst Vorrichtung zur Behandlung von Pulver für eine Vorrichtung zum Herstellen eines dreidimensionalen Objekts, Vorrichtung zum Herstellen eines dreidimensionalen Objekts und Verfahren zum Herstellen eines dreidimensionalen Objekts
DE10158169B4 (de) * 2001-11-28 2007-02-08 Cl Schutzrechtsverwaltungs Gmbh Vorrichtung zur Herstellung und/oder Bearbeitung von Bauteilen aus Pulverteilchen
JP3770206B2 (ja) * 2002-05-28 2006-04-26 松下電工株式会社 三次元形状造形物の製造装置
WO2004076102A1 (ja) * 2003-02-25 2004-09-10 Matsushita Electric Works, Ltd. 三次元形状造形物の製造装置及び製造方法
JP2007503342A (ja) * 2003-05-23 2007-02-22 ズィー コーポレイション 三次元プリント装置及び方法
DE10342883B4 (de) * 2003-09-15 2007-07-19 Trumpf Werkzeugmaschinen Gmbh + Co. Kg Verfahren und Vorrichtung zur Herstellung eines dreidimensionalen Formkörpers
WO2005097476A2 (en) * 2004-04-02 2005-10-20 Z Corporation Methods and apparatus for 3d printing
DE102004020453A1 (de) * 2004-04-27 2005-11-24 Degussa Ag Polymerpulver mit Polyamid, Verwendung in einem formgebenden Verfahren und Formkörper, hergestellt aus diesem Polymerpulver
DE102004032093B4 (de) * 2004-07-01 2007-05-16 Cl Schutzrechtsverwaltungs Gmbh Durch einen selektiven Lasersintervorgang (SLS) hergestelltes Bauteil
DE102004041633A1 (de) * 2004-08-27 2006-03-02 Fockele, Matthias, Dr. Vorrichtung zur Herstellung von Formkörpern
US7387359B2 (en) * 2004-09-21 2008-06-17 Z Corporation Apparatus and methods for servicing 3D printers
US7824001B2 (en) * 2004-09-21 2010-11-02 Z Corporation Apparatus and methods for servicing 3D printers
US7521652B2 (en) * 2004-12-07 2009-04-21 3D Systems, Inc. Controlled cooling methods and apparatus for laser sintering part-cake
US20060214335A1 (en) * 2005-03-09 2006-09-28 3D Systems, Inc. Laser sintering powder recycle system
WO2006121797A2 (en) * 2005-05-06 2006-11-16 The Ex One Company Solid free-form fabrication apparatuses and methods
DE102005030067A1 (de) * 2005-06-27 2006-12-28 FHS Hochschule für Technik, Wirtschaft und soziale Arbeit St. Gallen Verfahren und Vorrichtung zur Herstellung eines dreidimensionalen Gegenstandes durch ein generatives 3D-Verfahren
WO2007039450A1 (en) * 2005-09-20 2007-04-12 Pts Software Bv An apparatus for building a three-dimensional article and a method for building a three-dimensional article
DE102006023484A1 (de) * 2006-05-18 2007-11-22 Eos Gmbh Electro Optical Systems Vorrichtung und Verfahren zum schichtweisen Herstellen eines dreidimensionalen Objekts aus einem pulverförmigen Aufbaumaterial
DE102006023485A1 (de) * 2006-05-18 2007-11-22 Eos Gmbh Electro Optical Systems Vorrichtung und Verfahren zum Herstellen eines dreidimensionalen Objekts
KR101436647B1 (ko) 2006-05-26 2014-09-02 3디 시스템즈 인코오퍼레이티드 3d 프린터 내에서 재료를 처리하기 위한 인쇄 헤드 및 장치 및 방법
DE102006055055A1 (de) * 2006-11-22 2008-05-29 Eos Gmbh Electro Optical Systems Vorrichtung zum schichtweisen Herstellen eines dreidimensionalen Objekts
DE102006055054A1 (de) * 2006-11-22 2008-05-29 Eos Gmbh Electro Optical Systems Vorrichtung zum schichtweisen Herstellen eines dreidimensionalen Objekts
US7731887B2 (en) * 2007-01-17 2010-06-08 3D Systems, Inc. Method for removing excess uncured build material in solid imaging
US7614866B2 (en) * 2007-01-17 2009-11-10 3D Systems, Inc. Solid imaging apparatus and method
US8003039B2 (en) * 2007-01-17 2011-08-23 3D Systems, Inc. Method for tilting solid image build platform for reducing air entrainment and for build release
US7771183B2 (en) * 2007-01-17 2010-08-10 3D Systems, Inc. Solid imaging system with removal of excess uncured build material
US7706910B2 (en) * 2007-01-17 2010-04-27 3D Systems, Inc. Imager assembly and method for solid imaging
US20080226346A1 (en) * 2007-01-17 2008-09-18 3D Systems, Inc. Inkjet Solid Imaging System and Method for Solid Imaging
US8105066B2 (en) * 2007-01-17 2012-01-31 3D Systems, Inc. Cartridge for solid imaging apparatus and method
US8221671B2 (en) * 2007-01-17 2012-07-17 3D Systems, Inc. Imager and method for consistent repeatable alignment in a solid imaging apparatus
US20080170112A1 (en) * 2007-01-17 2008-07-17 Hull Charles W Build pad, solid image build, and method for building build supports
DE102007018601B4 (de) * 2007-04-18 2013-05-23 Cl Schutzrechtsverwaltungs Gmbh Vorrichtung zum Herstellen von dreidimensionalen Objekten
WO2009040352A1 (fr) * 2007-09-24 2009-04-02 Berner Fachhochschule für Technik und Informatik HTI Dispositif pour le dépôt de couches
DE102007050679A1 (de) * 2007-10-21 2009-04-23 Voxeljet Technology Gmbh Verfahren und Vorrichtung zum Fördern von Partikelmaterial beim schichtweisen Aufbau von Modellen
EP3323601B1 (en) * 2008-05-20 2022-04-27 EOS GmbH Electro Optical Systems Influencing specific mechanical properties of three-dimensional objects manufactured by a selective sintering by means of electromagnetic radiation from a powder comprising at least one polymer or copolymer
US9895842B2 (en) 2008-05-20 2018-02-20 Eos Gmbh Electro Optical Systems Selective sintering of structurally modified polymers
GB0813241D0 (en) 2008-07-18 2008-08-27 Mcp Tooling Technologies Ltd Manufacturing apparatus and method
DE102008047118B4 (de) * 2008-09-15 2024-02-01 Dürr Systems Ag Lackieranlagenbauteil
US20100155985A1 (en) 2008-12-18 2010-06-24 3D Systems, Incorporated Apparatus and Method for Cooling Part Cake in Laser Sintering
CN101850617B (zh) * 2009-03-31 2012-08-22 研能科技股份有限公司 具有可拆式建构槽的立体成型装置
EP2674283A3 (de) * 2009-08-20 2014-05-07 Matthias Fockele Vorrichtung zur Herstellung von Formkörpern durch schichtweises Aufbauen aus Werkstoffpulver
AT509323B1 (de) * 2010-04-16 2011-08-15 Erema Verfahren und vorrichtung zur aufbereitung und reinigung eines polymermaterials
DE102010019447A1 (de) 2010-05-05 2011-11-10 Eos Gmbh Electro Optical Systems Verfahren zum generativen Herstellen eines dreidimensionalen Objekts mit Räumelementen und Verfahren zum Erstellen eines entsprechenden Datensatzes
DE102010020418A1 (de) 2010-05-12 2011-11-17 Eos Gmbh Electro Optical Systems Vorrichtung und Verfahren zum generativen Herstellen eines dreidimensionalen Objekts mit Baufeldbegrenzung
CN201685457U (zh) * 2010-06-02 2010-12-29 研能科技股份有限公司 立体成型机构
US11065794B2 (en) 2010-11-23 2021-07-20 Synventive Molding Solutions, Inc. Injection molding flow control apparatus and method
US9205587B2 (en) 2012-08-08 2015-12-08 Synventive Molding Solutions, Inc. Flow control apparatus and method
DE102012106141B4 (de) * 2012-07-09 2018-04-26 Exone Gmbh Verfahren und vorrichtung zum entpacken eines bauteils
DE102012216515A1 (de) * 2012-09-17 2014-03-20 Evonik Industries Ag Verfahren zur schichtweisen Herstellung von verzugsarmen dreidimensionalen Objekten mittels Kühlelementen
DE102012018366A1 (de) * 2012-09-18 2014-03-20 Eos Gmbh Electro Optical Systems Vorrichtung zum lagenweisen Herstellen eines dreidimensionalen Gegenstandes
US9034237B2 (en) 2012-09-25 2015-05-19 3D Systems, Inc. Solid imaging systems, components thereof, and methods of solid imaging
US20140271326A1 (en) 2013-03-15 2014-09-18 3D Systems, Inc. Powder Distribution for Laser Sintering Systems
US10335901B2 (en) * 2013-06-10 2019-07-02 Renishaw Plc Selective laser solidification apparatus and method
GB201310398D0 (en) 2013-06-11 2013-07-24 Renishaw Plc Additive manufacturing apparatus and method
CN105451970B (zh) * 2013-06-11 2018-08-07 瑞尼斯豪公司 增材制造设备及方法
DE102013223407A1 (de) * 2013-11-15 2015-05-21 Eos Gmbh Electro Optical Systems Vorrichtung und Verfahren zum schichtweisen Herstellen eines dreidimensionalen Objekts sowie zum Auspacken des fertiggestellten Objekts
US10807165B2 (en) 2014-01-24 2020-10-20 Raytheon Technologies Corporation Conditioning one or more additive manufactured objects
GB2526341A (en) * 2014-05-21 2015-11-25 Digital Metal Ab A flow cabinet system for cleaning at least one object
EP3157696A4 (en) 2014-06-20 2018-09-05 VELO3D, Inc. Apparatuses, systems and methods for three-dimensional printing
DE102015017470B4 (de) 2014-08-22 2025-07-17 Divergent Technologies, Inc. Fehlererkennung für additive fertigungssysteme
DE102014112446A1 (de) 2014-08-29 2016-03-03 Exone Gmbh Verfahren und Vorrichtung zum Entpacken eines Bauteils
JP5830148B1 (ja) * 2014-09-05 2015-12-09 株式会社ソディック 積層造形装置
US10029417B2 (en) * 2014-09-09 2018-07-24 Siemens Energy, Inc. Articulating build platform for laser additive manufacturing
US10786948B2 (en) 2014-11-18 2020-09-29 Sigma Labs, Inc. Multi-sensor quality inference and control for additive manufacturing processes
TWI584930B (zh) * 2015-01-08 2017-06-01 研能科技股份有限公司 粉末回收後處理系統
EP3245045A4 (en) 2015-01-13 2018-10-31 Sigma Labs, Inc. Material qualification system and methodology
US10226817B2 (en) 2015-01-13 2019-03-12 Sigma Labs, Inc. Material qualification system and methodology
GB201505458D0 (en) 2015-03-30 2015-05-13 Renishaw Plc Additive manufacturing apparatus and methods
US10315408B2 (en) 2015-04-28 2019-06-11 General Electric Company Additive manufacturing apparatus and method
GB201509580D0 (en) * 2015-06-03 2015-07-15 Rolls Royce Plc Manufacture of component with cavity
FR3039436B1 (fr) 2015-07-30 2021-09-24 Michelin & Cie Dispositif de nettoyage a sec d’un plateau de fabrication additive
FR3039437B1 (fr) 2015-07-30 2021-12-24 Michelin & Cie Procede de nettoyage a sec de plateaux de fabrication additive
FR3039438B1 (fr) 2015-07-30 2017-08-18 Michelin & Cie Installation de nettoyage de plateaux de fabrication additive
US10207489B2 (en) 2015-09-30 2019-02-19 Sigma Labs, Inc. Systems and methods for additive manufacturing operations
WO2017079091A1 (en) 2015-11-06 2017-05-11 Velo3D, Inc. Adept three-dimensional printing
EP3167980A1 (en) * 2015-11-13 2017-05-17 SLM Solutions Group AG Unpacking device allowing residual raw material powder removal
US10071422B2 (en) 2015-12-10 2018-09-11 Velo3D, Inc. Skillful three-dimensional printing
GB201600629D0 (en) * 2016-01-13 2016-02-24 Renishaw Plc Powder bed fusion apparatus and methods
DE102016201812A1 (de) 2016-02-05 2017-08-10 Eos Gmbh Electro Optical Systems Vorrichtung und Verfahren zum Herstellen eines dreidimensionalen Objekts
CN108883575A (zh) 2016-02-18 2018-11-23 维洛3D公司 准确的三维打印
WO2017147434A1 (en) 2016-02-26 2017-08-31 Trio Labs, Inc. Method and apparatus for solid freeform fabrication of objects utilizing in situ in fusion
DE102016105094A1 (de) 2016-03-18 2017-09-21 Cl Schutzrechtsverwaltungs Gmbh Siebeinrichtung zur generativen Herstellung von Bauteilen
CN105666883B (zh) * 2016-04-08 2018-01-12 宁夏共享模具有限公司 一种能够实现自动清扫的3d打印设备铺料装置
EP3257659A1 (en) * 2016-06-13 2017-12-20 Siemens Aktiengesellschaft Method of processing a surface for additive manufacturing
EP3257660A1 (en) 2016-06-13 2017-12-20 Siemens Aktiengesellschaft Method of providing an abrasive means and of additively manufacturing a component
US11691343B2 (en) 2016-06-29 2023-07-04 Velo3D, Inc. Three-dimensional printing and three-dimensional printers
EP3263316B1 (en) 2016-06-29 2019-02-13 VELO3D, Inc. Three-dimensional printing and three-dimensional printers
TW201801895A (zh) * 2016-07-14 2018-01-16 東友科技股份有限公司 三維印表機之擠出裝置及其冷卻機構與冷卻方法
DE102016113507B4 (de) 2016-07-21 2024-02-01 Lisa Dräxlmaier GmbH Einstückiger einsatz für eine instrumententafel zur herstellung von kaschierten formteilen und verfahren zur herstellung eines einstückigen einsatzes
US11465204B2 (en) 2016-07-26 2022-10-11 Hewlett-Packard Development Company, L.P. Cooling of build material in 3D printing system
US20180095450A1 (en) 2016-09-30 2018-04-05 Velo3D, Inc. Three-dimensional objects and their formation
WO2018128695A2 (en) 2016-11-07 2018-07-12 Velo3D, Inc. Gas flow in three-dimensional printing
US10647060B2 (en) 2016-11-23 2020-05-12 Shapeways, Inc. Techniques for manufacturing and cooling three-dimensional objects
US11072161B2 (en) 2016-12-21 2021-07-27 Hewlett-Packard Development Company, L.P. Extracting 3D objects
US10611092B2 (en) 2017-01-05 2020-04-07 Velo3D, Inc. Optics in three-dimensional printing
WO2018154283A1 (en) 2017-02-21 2018-08-30 Renishaw Plc Powder bed fusion apparatus and break-out device
ES2822917T3 (es) * 2017-02-23 2021-05-05 Loramendi S Coop Método y sistema para el desempaquetado de objetos
US20180250745A1 (en) 2017-03-02 2018-09-06 Velo3D, Inc. Three-dimensional printing of three-dimensional objects
US20180281282A1 (en) 2017-03-28 2018-10-04 Velo3D, Inc. Material manipulation in three-dimensional printing
DE102017108080A1 (de) * 2017-04-13 2018-10-18 Trumpf Laser- Und Systemtechnik Gmbh Vorrichtung und Verfahren zum Entpacken eines durch schichtweises Auftragen hergestellten Objekts
JP6940042B2 (ja) * 2017-06-16 2021-09-22 地方独立行政法人東京都立産業技術研究センター 積層造形装置及び積層造形システム
DE102017211381A1 (de) * 2017-07-04 2019-01-10 Eos Gmbh Electro Optical Systems Verfahren zum Abkühlen und Abkühlvorrichtung
CN110691686A (zh) * 2017-07-20 2020-01-14 惠普发展公司,有限责任合伙企业 三维(3d)打印机的建筑材料再生装置
EP3658356A4 (en) * 2017-07-27 2021-03-03 Hewlett-Packard Development Company, L.P. BUILDING MATERIAL PROCESSING
EP3470207B1 (en) 2017-10-13 2021-12-01 CL Schutzrechtsverwaltungs GmbH Plant for additively manufacturing of three-dimensional objects
CN107876696A (zh) * 2017-10-20 2018-04-06 沈阳铸造研究所 3d打印铸造用复合砂型制备方法
DE102017219090A1 (de) * 2017-10-25 2019-04-25 Volkswagen Aktiengesellschaft Anlage zur kontinuierlichen generativen Fertigung von Werkstücken
US11571743B2 (en) * 2017-11-13 2023-02-07 General Electric Company Systems and methods for additive manufacturing
DE102017220640A1 (de) * 2017-11-17 2019-05-23 Volkswagen Aktiengesellschaft Vorrichtung zum Auspacken zumindest eines Bauteils sowie ein Verfahren, um dieses Auspacken zu realisieren
US10272525B1 (en) 2017-12-27 2019-04-30 Velo3D, Inc. Three-dimensional printing systems and methods of their use
US10144176B1 (en) 2018-01-15 2018-12-04 Velo3D, Inc. Three-dimensional printing systems and methods of their use
AT520736B1 (de) * 2018-01-16 2019-07-15 Fill Gmbh Verfahren zum Entpacken eines 3D-Druckteils
US11491720B2 (en) * 2018-02-07 2022-11-08 Desktop Metal, Inc. Systems, devices, and methods for additive manufacturing
JP6570206B1 (ja) * 2018-09-27 2019-09-04 株式会社ソディック 積層造形装置
DK3860829T5 (da) * 2018-10-05 2025-03-24 Additive Manufacturing Tech Ltd Additiv fremstilling
US11084208B2 (en) 2018-10-17 2021-08-10 General Electric Company Additive manufacturing systems and methods including louvered particulate containment wall
US11318676B2 (en) * 2018-10-22 2022-05-03 Hamilton Sundstrand Corporation Powder evacuation systems
US20200139621A1 (en) * 2018-11-07 2020-05-07 Ethicon Llc 3d printed in-process powder capsule for printing material powder characterization
DE102019209989B4 (de) * 2019-07-08 2025-06-05 Volkswagen Aktiengesellschaft Abkühlungsmodul für die Verwendung in einem additiven Fertigungsverfahren und Fertigungsanlage umfassend ein Abkühlungsmodul
US20210016508A1 (en) * 2019-07-19 2021-01-21 Southwest Research Institute Powder Fluidization for Use in Additive Manufacturing for Object Removal and Removal of Powder from Object
CA3148849A1 (en) 2019-07-26 2021-02-04 Velo3D, Inc. Quality assurance in formation of three-dimensional objects
US11951515B2 (en) * 2019-08-05 2024-04-09 Desktop Metal, Inc. Techniques for depowdering additively fabricated parts via gas flow and related systems and methods
US11833585B2 (en) 2019-08-12 2023-12-05 Desktop Metal, Inc. Techniques for depowdering additively fabricated parts through vibratory motion and related systems and methods
EP3789184B1 (de) * 2019-09-06 2023-01-25 Solukon Ingenieure GbR Auspackvorrichtung zum auspacken von im 3d-druckverfahren entstandenen objekten
JP7335600B2 (ja) * 2019-09-27 2023-08-30 国立大学法人京都大学 三次元造形用粉体材料、三次元造形物及び三次元造形物の製造方法
EP3953152A4 (en) * 2019-10-23 2022-11-16 Hewlett-Packard Development Company, L.P. REMOVAL OF OBJECTS FROM A VOLUME OF CONSTRUCTION MATERIAL
DE102019131218A1 (de) * 2019-11-19 2021-05-20 Reichenbacher Hamuel Gmbh 3D-Drucker
DE102019131652A1 (de) * 2019-11-22 2021-05-27 Bayerische Motoren Werke Aktiengesellschaft Verfahren zum Auspacken eines additiv gefertigten Formkörpers
US11865615B2 (en) 2019-12-11 2024-01-09 Desktop Metal, Inc. Techniques for depowdering additively fabricated parts and related systems and methods
CN114585497A (zh) * 2020-01-29 2022-06-03 惠普发展公司,有限责任合伙企业 3d打印清理模块
DE102020120779A1 (de) 2020-08-06 2022-02-10 Ossberger Gmbh + Co Kg Trichterförmige Fördervorrichtung sowie ein Förder-Trenn-Verfahren für eine Bauteil-Partikelmaterial-Mischung
US12162074B2 (en) 2020-11-25 2024-12-10 Lawrence Livermore National Security, Llc System and method for large-area pulsed laser melting of metallic powder in a laser powder bed fusion application
DE102021200381A1 (de) 2021-01-18 2022-07-21 Volkswagen Aktiengesellschaft Einrichtung und Verfahren zur generativen Herstellung eines Bauteils aus einem formlosen Material
DE102021200791A1 (de) 2021-01-28 2022-07-28 Volkswagen Aktiengesellschaft Prozessanordnung zur Durchführung eines pulverbasierten 3D-Druckverfahrens sowie Verfahren zur Herstellung eines Bauteils in einer solchen Prozessanordnung
DE102021124805A1 (de) 2021-09-24 2023-03-30 Fraunhofer-Gesellschaft zur Förderung der angewandten Forschung eingetragener Verein Fertigungssystem und Verfahren zum Trennen von mindestens einem aus Pulvermaterial hergestellten Bauteil und Pulvermaterial
KR102451864B1 (ko) * 2022-05-30 2022-10-07 주식회사 대건테크 분리형 빌드룸을 구비한 3d프린터
AU2023266350A1 (en) 2022-11-17 2024-06-06 Howmedica Osteonics Corp. Additive manufacturing build removal device and system
SI26550A (sl) * 2023-10-27 2025-04-30 FerroČrtalič d.o.o. Naprava in postopek za odpraševanje predsintranih izdelkov narejenih po metodi selektivnega brizganja veziva
US12502835B2 (en) 2024-01-30 2025-12-23 General Electric Company Automated de-powdering of additive manufacturing build

Citations (1)

* Cited by examiner, † Cited by third party
Publication number Priority date Publication date Assignee Title
JP2003506229A (ja) * 1999-08-06 2003-02-18 イーオーエス ゲゼルシャフト ミット ベシュレンクテル ハフツング イレクトロ オプティカル システムズ 三次元物体の製造方法及び装置

Family Cites Families (22)

* Cited by examiner, † Cited by third party
Publication number Priority date Publication date Assignee Title
DE3001371C2 (de) * 1980-01-16 1983-10-27 Langlet, Weber KG Oberflächenveredlung Nachf., 5270 Gummersbach Verfahren zur Herstellung eines keramischen, bindemittelfreien Hohlkörpers
US5571471A (en) 1984-08-08 1996-11-05 3D Systems, Inc. Method of production of three-dimensional objects by stereolithography
US4863538A (en) * 1986-10-17 1989-09-05 Board Of Regents, The University Of Texas System Method and apparatus for producing parts by selective sintering
AU4504089A (en) 1988-10-05 1990-05-01 Michael Feygin An improved apparatus and method for forming an integral object from laminations
US5876550A (en) * 1988-10-05 1999-03-02 Helisys, Inc. Laminated object manufacturing apparatus and method
WO1992008592A1 (en) 1990-11-09 1992-05-29 Dtm Corporation Controlled gas flow for selective laser sintering
US5304329A (en) 1992-11-23 1994-04-19 The B. F. Goodrich Company Method of recovering recyclable unsintered powder from the part bed of a selective laser-sintering machine
DE4300478C2 (de) * 1993-01-11 1998-05-20 Eos Electro Optical Syst Verfahren und Vorrichtung zum Herstellen eines dreidimensionalen Objekts
JP2889797B2 (ja) 1993-09-02 1999-05-10 三洋機工株式会社 積層造形方法および装置
CA2142634C (en) * 1994-02-18 2005-09-20 Salvatore Caldarise Self-lubricating implantable articulation member
WO1995034468A1 (en) 1994-06-14 1995-12-21 Soligen, Inc. Powder handling apparatus for additive fabrication equipment
US5590454A (en) * 1994-12-21 1997-01-07 Richardson; Kendrick E. Method and apparatus for producing parts by layered subtractive machine tool techniques
US5482659A (en) * 1994-12-22 1996-01-09 United Technologies Corporation Method of post processing stereolithographically produced objects
DE29506716U1 (de) * 1995-04-21 1995-06-22 Eos Gmbh Electro Optical Systems, 82152 Planegg Einrichtung zur Nachbearbeitung eines aus einem pulverförmigen oder körnigen Material hergestellten Objektes
US5622577A (en) 1995-08-28 1997-04-22 Delco Electronics Corp. Rapid prototyping process and cooling chamber therefor
DE19533960C2 (de) 1995-09-13 1997-08-28 Fraunhofer Ges Forschung Verfahren und Vorrichtung zur Herstellung von metallischen Werkstücken
JPH1088201A (ja) * 1996-09-10 1998-04-07 Hiroshi Nakazawa レーザ応用粉体成形加工方法
US6007318A (en) * 1996-12-20 1999-12-28 Z Corporation Method and apparatus for prototyping a three-dimensional object
JPH10211659A (ja) * 1997-01-31 1998-08-11 Toyota Motor Corp 積層造形方法
US5846370A (en) * 1997-03-17 1998-12-08 Delco Electronics Corporation Rapid prototyping process and apparatus therefor
US5932055A (en) * 1997-11-11 1999-08-03 Rockwell Science Center Llc Direct metal fabrication (DMF) using a carbon precursor to bind the "green form" part and catalyze a eutectic reducing element in a supersolidus liquid phase sintering (SLPS) process
US6213418B1 (en) 1998-10-14 2001-04-10 Martin Marietta Materials, Inc. Variable throw eccentric cone crusher and method for operating the same

Patent Citations (1)

* Cited by examiner, † Cited by third party
Publication number Priority date Publication date Assignee Title
JP2003506229A (ja) * 1999-08-06 2003-02-18 イーオーエス ゲゼルシャフト ミット ベシュレンクテル ハフツング イレクトロ オプティカル システムズ 三次元物体の製造方法及び装置

Cited By (8)

* Cited by examiner, † Cited by third party
Publication number Priority date Publication date Assignee Title
JP2017109326A (ja) * 2015-12-14 2017-06-22 株式会社ミマキエンジニアリング 造形物の製造装置及び制御方法
US10471700B2 (en) 2015-12-14 2019-11-12 Mimaki Engineering Co., Ltd. Three-dimensional object manufacturing apparatus and control method for the same
JP2019516580A (ja) * 2016-05-04 2019-06-20 アッドアップ 取り出しシステムを有するアディティブマニュファクチャリング機械およびかかる機械を使用することによるアディティブマニュファクチャリング方法
CN108297428A (zh) * 2017-01-11 2018-07-20 福特全球技术公司 一种用于从使用工业粉末生成地制造的至少一个成形体中去除工业粉末的装置
JP2020001363A (ja) * 2018-07-02 2020-01-09 ローランドディー.ジー.株式会社 三次元造形装置
JP7160582B2 (ja) 2018-07-02 2022-10-25 ローランドディー.ジー.株式会社 三次元造形装置
JP2020037217A (ja) * 2018-09-04 2020-03-12 みんとる合同会社 造形装置、及び造形物の製造方法
JP2020037218A (ja) * 2018-09-04 2020-03-12 みんとる合同会社 造形装置、及び造形物の製造方法

Also Published As

Publication number Publication date
DE19937260A1 (de) 2001-02-15
JP4102565B2 (ja) 2008-06-18
DE50001399D1 (de) 2003-04-10
EP1192040A2 (de) 2002-04-03
JP2006150977A (ja) 2006-06-15
DE19937260B4 (de) 2006-07-27
JP2003506229A (ja) 2003-02-18
WO2001010631A2 (de) 2001-02-15
EP1192040B1 (de) 2003-03-05
US7901604B2 (en) 2011-03-08
WO2001010631A3 (de) 2001-05-17
JP5148574B2 (ja) 2013-02-20
US6932935B1 (en) 2005-08-23
US20070001342A1 (en) 2007-01-04

Similar Documents

Publication Publication Date Title
JP5148574B2 (ja) 三次元物体の製造方法及び装置
US4818562A (en) Casting shapes
JPS63230264A (ja) 形材の成形方法及び装置
AU698219B2 (en) Free form article by layer deposition
US5960853A (en) Apparatus for creating a free-form three-dimensional article using a layer-by-layer deposition of a molten metal and deposition of a powdered metal as a support material
US6193922B1 (en) Method for making a three-dimensional body
CA2224769C (en) Article made by layer deposition of metal
US5746844A (en) Method and apparatus for creating a free-form three-dimensional article using a layer-by-layer deposition of molten metal and using a stress-reducing annealing process on the deposited metal
US5787965A (en) Apparatus for creating a free-form metal three-dimensional article using a layer-by-layer deposition of a molten metal in an evacuation chamber with inert environment
CN107876759B (zh) 增材制造方法
US10843450B2 (en) Method, apparatus, and control unit for producing a three-dimensional object
JP2017149139A (ja) 積層造形法のための粉末除去ポートを有する方法及び支持体
EP3784426B1 (en) Additive manufacturing system and method
EP3511094A1 (en) Large-scale binder jet additive manufacturing system and method
US20120225210A1 (en) Device and method for manufacturing a three-dimensional body
KR20150126916A (ko) 나선형 쌓아 올리기를 이용한 입체 인쇄
JP2000296561A (ja) 可変溶着積層式快速造形方法及び快速造形装置(Variabledepositionmanufacturingmethodandapparatus)
CA2244754A1 (en) Polymer powder of controlled particle size distribution
JP2002530202A (ja) 選択的レーザ溶解用のプロセス・チャンバ

Legal Events

Date Code Title Description
A521 Request for written amendment filed

Free format text: JAPANESE INTERMEDIATE CODE: A523

Effective date: 20100716

A131 Notification of reasons for refusal

Free format text: JAPANESE INTERMEDIATE CODE: A131

Effective date: 20110824

A601 Written request for extension of time

Free format text: JAPANESE INTERMEDIATE CODE: A601

Effective date: 20111124

A602 Written permission of extension of time

Free format text: JAPANESE INTERMEDIATE CODE: A602

Effective date: 20111129

A601 Written request for extension of time

Free format text: JAPANESE INTERMEDIATE CODE: A601

Effective date: 20111222

A602 Written permission of extension of time

Free format text: JAPANESE INTERMEDIATE CODE: A602

Effective date: 20111228

A601 Written request for extension of time

Free format text: JAPANESE INTERMEDIATE CODE: A601

Effective date: 20120123

A602 Written permission of extension of time

Free format text: JAPANESE INTERMEDIATE CODE: A602

Effective date: 20120126

A521 Request for written amendment filed

Free format text: JAPANESE INTERMEDIATE CODE: A523

Effective date: 20120221

TRDD Decision of grant or rejection written
A01 Written decision to grant a patent or to grant a registration (utility model)

Free format text: JAPANESE INTERMEDIATE CODE: A01

Effective date: 20121107

A61 First payment of annual fees (during grant procedure)

Free format text: JAPANESE INTERMEDIATE CODE: A61

Effective date: 20121128

R150 Certificate of patent or registration of utility model

Ref document number: 5148574

Country of ref document: JP

Free format text: JAPANESE INTERMEDIATE CODE: R150

Free format text: JAPANESE INTERMEDIATE CODE: R150

FPAY Renewal fee payment (event date is renewal date of database)

Free format text: PAYMENT UNTIL: 20151207

Year of fee payment: 3

R250 Receipt of annual fees

Free format text: JAPANESE INTERMEDIATE CODE: R250

R250 Receipt of annual fees

Free format text: JAPANESE INTERMEDIATE CODE: R250

R250 Receipt of annual fees

Free format text: JAPANESE INTERMEDIATE CODE: R250

R250 Receipt of annual fees

Free format text: JAPANESE INTERMEDIATE CODE: R250

R250 Receipt of annual fees

Free format text: JAPANESE INTERMEDIATE CODE: R250

EXPY Cancellation because of completion of term