JP2010036291A - 切削装置 - Google Patents

切削装置 Download PDF

Info

Publication number
JP2010036291A
JP2010036291A JP2008200530A JP2008200530A JP2010036291A JP 2010036291 A JP2010036291 A JP 2010036291A JP 2008200530 A JP2008200530 A JP 2008200530A JP 2008200530 A JP2008200530 A JP 2008200530A JP 2010036291 A JP2010036291 A JP 2010036291A
Authority
JP
Japan
Prior art keywords
flange
cutting blade
cutting
detachable
mounting shaft
Prior art date
Legal status (The legal status is an assumption and is not a legal conclusion. Google has not performed a legal analysis and makes no representation as to the accuracy of the status listed.)
Granted
Application number
JP2008200530A
Other languages
English (en)
Other versions
JP5199777B2 (ja
Inventor
Toyohiro Komiyama
豊広 小見山
Current Assignee (The listed assignees may be inaccurate. Google has not performed a legal analysis and makes no representation or warranty as to the accuracy of the list.)
Disco Corp
Original Assignee
Disco Abrasive Systems Ltd
Priority date (The priority date is an assumption and is not a legal conclusion. Google has not performed a legal analysis and makes no representation as to the accuracy of the date listed.)
Filing date
Publication date
Application filed by Disco Abrasive Systems Ltd filed Critical Disco Abrasive Systems Ltd
Priority to JP2008200530A priority Critical patent/JP5199777B2/ja
Publication of JP2010036291A publication Critical patent/JP2010036291A/ja
Application granted granted Critical
Publication of JP5199777B2 publication Critical patent/JP5199777B2/ja
Active legal-status Critical Current
Anticipated expiration legal-status Critical

Links

Images

Landscapes

  • Gripping On Spindles (AREA)
  • Constituent Portions Of Griding Lathes, Driving, Sensing And Control (AREA)
  • Finish Polishing, Edge Sharpening, And Grinding By Specific Grinding Devices (AREA)
  • Dicing (AREA)

Abstract

【課題】切削ブレードの切刃が摩耗しても、より長く使用することを可能にすると共に、切刃を損傷させないようにする。
【解決手段】切削ブレード30が把持部301と把持部301の外周側の切刃300とから構成され、装着軸32に装着された切削ブレード30が固定フランジ33と着脱フランジ34とによって挟持され、固定フランジ33及び着脱フランジ34の外周側から切刃300が突出した構成の切削手段3を有する切削装置において、固定フランジ33及び着脱フランジ34を外径の異なるものに交換することにより、固定フランジ33及び着脱フランジ34の外周側からの切刃300の突出量を調整可能とし、切削ブレード30の寿命を長くすると共に切削対象のウェーハの厚さに対応して切刃300の適切な突出量を確保する。
【選択図】図4

Description

本発明は、切削ブレードを有する切削装置に関するものである。
半導体ウェーハ等の切削に用いる切削装置は、被加工物を保持するチャックテーブルと、チャックテーブルに保持された被加工物を切削する回転可能な切削ブレードを有する切削手段とを備えている。切削ブレードには、基台(ハブ)と切刃とが一体となり切刃が基台によって支持されたタイプのハブブレードと、切刃のみからなり基台を有しないワッシャータイプブレードとがある。
切削ブレードとしてハブブレードが使用される場合は、切削手段を構成する回転軸に固定フランジが装着され、固定フランジに形成された装着軸にハブブレードが装着され、装着軸の端部に形成された雄螺子に固定ナットが螺合して締結されることにより、切削ブレードが固定フランジとナットとによって挟持されて固定される(例えば特許文献1参照)。
一方、切削ブレードとしてワッシャータイプブレードが使用される場合は、切削手段の回転軸に固定フランジが装着され、固定フランジに形成された装着軸にワッシャータイプブレードが装着され、装着軸に着脱フランジが挿入されてから、装着軸の端部に形成された雄螺子に固定ナットが螺合することにより、切削ブレードが固定フランジと着脱フランジとによって挟持されて固定される(例えば特許文献2参照)。
特開平09−314465号公報 特開平10−000555号公報
しかし、切刃は、その厚さが30μm前後と薄く形成されているため、特許文献1に記載されているようなハブブレードにおいては、切刃が折れたり割れたりするのを防止するために、基台からの切刃の突出量は、0.5〜1.5mmと比較的小さくなっている。したがって、このように構成される切刃は、厚さが0.1〜0.5mm程度のウェーハを切断するには十分であるものの、切刃が摩耗して突出量が減少すると切断に使用することができなくなるため、廃棄しなければならず、寿命が短くなるという問題がある。
また、特許文献2に記載されているように切刃のみからなり基台を有しないワッシャータイプブレードも、切刃が2つのフランジによって挟持され2つのフランジの外周側に切刃が突出した構成となっているため、切刃が摩耗すると、ワッシャータイプブレードを交換しなければならない。そして、ワッシャータイプブレードは基台に支持されていないため、切刃を持った状態で交換しなければならず、損傷しやすいという問題がある。
そこで、本発明が解決しようとする課題は、切削ブレードの切刃が摩耗しても、より長く使用することを可能にすると共に、切刃を損傷させないことである。
第一の発明は、被加工物を保持するチャックテーブルと、チャックテーブルに保持された被加工物を切削する回転可能な切削ブレードを有する切削手段とを少なくとも備えた切削装置に関し、切削手段は、回転軸と、回転軸に配設される固定フランジと、固定フランジから軸心方向に突出し先端部に雄螺子が形成された装着軸と、装着軸を貫通させる貫通孔を有する切削ブレードと、切削ブレードを該固定フランジとで挟持する着脱フランジと、装着軸に形成された雄螺子に螺合して着脱フランジを装着軸に固定する固定ナットとから構成され、切削ブレードは、貫通孔を有する把持部と、把持部の外周側に形成された切刃とから構成され、固定フランジ及び着脱フランジとで切刃を挟持して固定フランジ及び着脱フランジの外周から切刃を突出させ、固定フランジ及び着脱フランジを外径の異なるものに交換することにより、固定フランジ及び着脱フランジの外周側からの該切刃の突出量を調整可能としている。着脱フランジには、前記切削ブレードに対面する側に、該切削ブレードの把持部を収容する収容凹部が形成されている。
第二の発明は、被加工物を保持するチャックテーブルと、チャックテーブルに保持された被加工物を切削する回転可能な切削ブレードを有する切削手段とを少なくとも備えた切削装置であって、切削手段は、回転軸と、回転軸に配設される固定フランジと、固定フランジから軸心方向に突出し先端部に雄螺子が形成された装着軸と、装着軸を貫通させる貫通孔を有する切削ブレードと、切削ブレードを固定フランジとで挟持する着脱フランジと、装着軸に形成された雄螺子に螺合して着脱フランジを装着軸に固定する固定ナットとから構成され、切削ブレードは、貫通孔を有する把持部と、把持部の外周側に形成された切刃とから構成され、固定フランジ及び着脱フランジとで切刃を挟持して固定フランジ及び着脱フランジの外周から切刃を突出させた切削装置の使用方法に関し、切刃の摩耗に対応して固定フランジ及び着脱フランジを装着軸から取り外し、取り外した固定フランジ及び着脱フランジよりも小径の固定フランジ及び着脱フランジを装着軸に装着して切刃が摩耗した切削ブレードを挟持し、切削ブレードの切刃の突出量を大きくする。
本発明では、切削ブレードの切刃が固定フランジと着脱フランジとで挟持されて固定フランジ及び着脱フランジの外周から切刃が突出し、切刃が切削により摩耗して突出量が十分でなくなると、前記固定フランジ及び着脱フランジを小径の固定フランジと小径の着脱フランジに交換することによって摩耗した切刃を突出させて十分な突出量を確保することができるため、切削ブレードの寿命を長くすることができる。また、固定フランジ及び着脱フランジを交換することで、切削対象のウェーハの厚さに対応して切刃の突出量を確保することができる。更に、切削ブレードは把持部を備えているため、固定フランジに対する着脱の操作性が増し、切刃が損傷しにくい。
図1に示す切削装置1は、チャックテーブル2に保持されたウェーハを切削手段3によって切削する装置である。切削装置1の前部には、切削対象のウェーハを収容するウェーハカセット4aが載置される領域であるカセット載置領域4を備えている。そして、カセット載置領域4の後部側には、ウェーハカセット4aからのウェーハの搬出及びウェーハカセット4aへのウェーハの搬入を行う搬出入手段5が配設されている。
カセット載置領域4と搬出入手段5との間には、ウェーハが一時的に載置される領域である仮置き領域5aが設けられている。そして、仮置き領域5aの近傍には、仮置き領域5aとチャックテーブル2との間でウェーハを搬送する第一の搬送手段6aが配設されている。
チャックテーブル2はX軸方向に移動可能となっており、チャックテーブル2の移動経路の上方には、チャックテーブル2に保持されたウェーハを撮像し切削すべき領域を検出するアライメント手段7が配設されている。アライメント手段7は、チャックテーブル2に保持されたウェーハの表面を撮像する撮像手段70を備えている。そして、アライメント手段7のX軸方向の延長上には、Y軸方向及びZ軸方向に移動可能な切削手段3が配設されている。
チャックテーブル2の位置の近傍には、切削後のウェーハを洗浄する洗浄手段8が配設されており、その上方には、チャックテーブル2と洗浄手段8との間でウェーハを搬送する第二の搬送手段6bが配設されている。
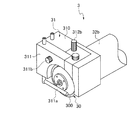
図2に示すように、切削手段3は、回転可能な切削ブレード30を有しており、切削ブレード30は、ブレードカバー31によって上方及び側方から覆われている。
図3に示すように、ブレードカバー31は、ハウジング32bに固定された固定カバー310と、固定カバー310に対して着脱可能な着脱カバー311とから構成される。固定カバー310及び着脱カバー311の下部には、切削水ノズル310a、311aがそれぞれ配設されており、切削水ノズル310a及び切削水ノズル311aは、切削ブレード30のY軸方向の前方及び後方に位置するように構成されている。また、固定カバーの上部には、切削ブレードの磨耗等を検出するためのブレード検出手段312が固定される。着脱カバー311及びブレード検出手段312は、それぞれボルト311b、312bによって固定カバー310に固定される。
図4に示すように、切削手段3は、回転軸32aと、回転軸32aを回転可能に支持するハウジング32bと、Y軸方向の軸心を有し先端部に雄螺子320が形成され切削ブレード30が装着され回転軸32aに連結された装着軸32と、装着軸32を貫通させる貫通孔330を有し装着軸32を介して回転軸32aに装着される固定フランジ33と、装着軸32を貫通させる貫通孔340を有し固定フランジ33の次に装着軸32に装着される切削ブレード30と、装着軸32を貫通させる貫通孔340を有し切削ブレード30の次に装着軸32に装着される着脱フランジ34と、装着軸32の雄螺子320に螺合する固定ナット35とを備えている。固定フランジ33と着脱フランジ34は、外径が等しく形成されている。
図4に示すように、切削ブレード30は、リング形状の切刃300と、切刃300の中心部に固定された把持部301とから構成される。切刃300は把持部301の外周側に形成され、厚さが30μm前後である。一方、把持部301には貫通孔301aが形成されている。把持部301が装着軸32の軸心方向に突出していることに対応して、図5に示すように、着脱フランジ34の裏側、すなわち切削ブレード30に対面する側には、把持部301を収容できる収容凹部341が形成されている。従来のハブブレードを構成する基台とは異なり、把持部301は、その外径が切刃の外径より大幅に小さく形成されている。
切削ブレード30を製造する際には、例えばダイヤモンド砥粒が混入した電解液中に切刃300の所望の外径と外径が等しい基台及び電解金属を浸漬し、電解液に混入したダイヤモンド砥粒を沈降させて基台上に堆積させると共に、堆積したダイヤモンド砥粒を溶けた電解金属によって固定して切刃を形成する。そして、基台の外周側をエッチング除去して把持部301を残し、図4に示した形状の切削ブレード30が形成される。また、ボンド剤を用いて切刃300に把持部301を接着してもよい。
図6に示すように、装着軸32に固定フランジ33が装着された状態では、固定フランジ33から装着軸32が軸心方向に突出した状態となる。そして、その突出した部分に切削ブレード30及び着脱フランジ34が挿入され、固定ナット35が雄螺子320に螺着されることにより、切削ブレード30が固定フランジ33と着脱フランジ34とによって挟持される。そうすると、固定フランジ33及び着脱フランジ34の外周面を基準として切刃300が突出量Pだけ外周側に突出する。
次に、切削手段3を備えた図1に示す切削装置1を用いてウェーハWを切削してデバイスに分割する場合について説明する。図1に示す切削対象のウェーハWには、分割予定ライン(ストリート)によって区画されて表面にデバイスが形成されており、ウェーハWの裏面がテープTに貼着され、テープTの外周部にリング状のフレームFが貼着されることにより、ウェーハWがテープTを介してフレームFに支持された状態で、ウェーハカセット4aに収容される。そして、搬出入手段5によってフレームFに支持されたウェーハWが仮置き領域5aに搬出された後、第一の搬送手段6aによってチャックテーブル2に搬送される。
次に、チャックテーブル2がX軸方向に移動することによりウェーハWが撮像手段70の下方に位置合わせされ、切削すべき分割予定ラインが検出されて切削ブレード30とのY軸方向の位置合わせがなされる。そして、チャックテーブル2が更に同方向に移動すると共に、切削ブレード30が高速回転しながら切削手段3が下降することにより、切刃300がウェーハWに切り込み、検出されたストリートが切削される。更に、ストリート間隔ずつ切削手段3をY軸方向に割り出し送りしながら、順次ストリートを切削すると、同方向のすべてのストリートが切削される。そして更にチャックテーブル2を90度回転させてから同様の切削を行うと、すべてのストリートが縦横に切削され、個々のデバイスに分割される。
このようにして切削を行うと、図4に示した切削ブレード30の切刃300が摩耗してその外径が小さくなるため、図6に示すように、固定フランジ33及び着脱フランジ34から外周側に突出する突出量Pの値が小さくなり、突出量PがウェーハWの厚さより小さくなると、ウェーハWを完全切断できなくなる。そこで、この場合は、切削ブレード30は取り替えずに、図4に示した固定フランジ33及び着脱フランジ34に替えて、図7に示すように、取り外した固定フランジ33及び着脱フランジ34よりも外径の小さい小径の固定フランジ36及び小径の着脱フランジ37を用いる。小径の固定フランジ36及び小径の着脱フランジ37には、装着軸320を貫通させる貫通孔360、370がそれぞれ形成されている。
具体的には、図4に示した固定ナット34を装着軸32から取り外してから、着脱フランジ34、切削ブレード30及び固定フランジ33を装着軸32から取り外した後、図7に示すように、小径の固定フランジ36、使用により切刃300が摩耗した切削ブレード30及び小径の着脱フランジ37を装着軸32に装着し、固定ナット35を雄螺子320に螺着して切削ブレード30を固定する。このとき、切削ブレード30の把持部301は、図8に示すように、着脱フランジ370に形成された収容部371に収容される。切削ブレード30の着脱は、把持部301を把持して行うことで、切刃300が損傷するのを防止することができる。
こうして切削ブレード30が小径の固定フランジ36と小径の着脱フランジ37とによって挟持されると、図8に示すように、切刃300の突出量P1がウェーハの切断に十分な値となる。なお、図8においては、取り外した固定フランジ33及び着脱フランジ34を2点鎖線で描いている。
図4〜6に示した切削手段3に代えて、図9に示す切削手段9を使用することもできる。切削手段9は、回転軸32aと、回転軸32aを回転可能に支持するハウジング32bとを備えている。回転軸32aには固定フランジ90が装着され固定されている。この固定フランジ90は、回転軸32aの軸心に対して垂直な方向に起立する壁部900と壁部900から軸心方向に突出した装着軸901とが一体成形されており、装着軸901の先端部には雄螺子902が形成されている。
装着軸901には、切刃300と把持部301とからなる切削ブレード30が装着される。そして、着脱フランジ91が装着軸901に装着され、雄螺子902に締込みナット92が締結されることにより、切削ブレード30が固定フランジ90の壁部900と着脱フランジ91とによって挟持される。更に、雄螺子902に固定ナット93が螺着されることにより、固定フランジ90、切削ブレード30及び着脱フランジ91が回転軸32aに固定される。
図9に示した切削手段9においても、切削により固定フランジ90及び着脱フランジ91からの切刃301の突出量P2がウェーハを切断するのに十分でなくなった場合は、固定フランジ90及び着脱フランジ91を、外径が小さいタイプの小径の固定フランジ及び小径の着脱フランジに交換する。そうすると、切削ブレード30を交換することなく、再びウェーハを切断することが可能となる。
切削装置の一例を示す斜視図である。 ブレードカバーを取り付けた切削手段の一例を示す斜視図である。 ブレードカバーを取り付けた切削手段の一例を示す分解斜視図である。 切削手段の一例を示す分解斜視図である。 着脱フランジの裏側を示す斜視図である。 切削手段を略示的に示す断面図である。 固定フランジ及び着脱フランジを小径タイプのものに交換した状態の切削手段を示す分解斜視図である。 固定フランジ及び着脱フランジを小径タイプのものに交換した状態の切削手段を略示的に示す断面図である。 切削手段の第二の例を略示的に示す断面図である。
符号の説明
1:切削装置
2:チャックテーブル
3:切削手段
30:切削ブレード
300:切刃 301:把持部
31:ブレードカバー
310:固定カバー 310a:切削水ノズル
311:着脱カバー 311a:切削水ノズル 311b:ボルト
312:ブレード検出手段 312b:ボルト
32a:回転軸 32b:ハウジング
32:装着軸 320:雄螺子
33:固定フランジ 330貫通孔
34:着脱フランジ 340:貫通孔 341:収容凹部
35:固定ナット
36:小径の固定フランジ 360:貫通孔
37:小径の着脱フランジ 370:貫通孔
4:カセット載置領域 4a:ウェーハカセット
5:搬出入手段 5a:仮置き領域
6a:第一の搬送手段 6b:第二の搬送手段
7:アライメント手段 70:撮像手段
8:洗浄手段
9:切削手段
90:固定フランジ 900:壁部 901:装着軸 902:雄螺子
91:着脱フランジ 92:締込みナット 93:固定ナット

Claims (3)

  1. 被加工物を保持するチャックテーブルと、該チャックテーブルに保持された被加工物を切削する回転可能な切削ブレードを有する切削手段とを少なくとも備えた切削装置であって、
    該切削手段は、回転軸と、該回転軸に配設される固定フランジと、該固定フランジから軸心方向に突出し先端部に雄螺子が形成された装着軸と、該装着軸を貫通させる貫通孔を有する切削ブレードと、該切削ブレードを該固定フランジとで挟持する着脱フランジと、該装着軸に形成された雄螺子に螺合して該着脱フランジを該装着軸に固定する固定ナットとから構成され、
    該切削ブレードは、該貫通孔を有する把持部と、該把持部の外周側に形成された切刃とから構成され、
    該固定フランジ及び該着脱フランジとで該切刃を挟持して該固定フランジ及び該着脱フランジの外周から該切刃を突出させ、該固定フランジ及び該着脱フランジを外径の異なるものに交換することにより、該固定フランジ及び該着脱フランジの外周側からの該切刃の突出量を調整可能とした
    切削装置。
  2. 前記着脱フランジには、前記切削ブレードに対面する側に、該切削ブレードの把持部を収容する収容凹部が形成されている請求項1に記載の切削装置。
  3. 被加工物を保持するチャックテーブルと、該チャックテーブルに保持された被加工物を切削する回転可能な切削ブレードを有する切削手段とを少なくとも備えた切削装置であって、
    該切削手段は、回転軸と、該回転軸に配設される固定フランジと、該固定フランジから軸心方向に突出し先端部に雄螺子が形成された装着軸と、該装着軸を貫通させる貫通孔を有する切削ブレードと、該切削ブレードを該固定フランジとで挟持する着脱フランジと、該装着軸に形成された雄螺子に螺合して該着脱フランジを該装着軸に固定する固定ナットとから構成され、
    該切削ブレードは、該貫通孔を有する把持部と、該把持部の外周側に形成された切刃とから構成され、該固定フランジ及び該着脱フランジとで該切刃を挟持して該固定フランジ及び該着脱フランジの外周から該切刃を突出させた切削装置の使用方法であって、
    該切刃の摩耗に対応して該固定フランジ及び該着脱フランジを該装着軸から取り外し、取り外した該固定フランジ及び該着脱フランジよりも小径の固定フランジ及び着脱フランジを該装着軸に装着して該切刃が摩耗した切削ブレードを挟持し、該切削ブレードの切刃の突出量を大きくする
    切削装置の使用方法。
JP2008200530A 2008-08-04 2008-08-04 切削装置 Active JP5199777B2 (ja)

Priority Applications (1)

Application Number Priority Date Filing Date Title
JP2008200530A JP5199777B2 (ja) 2008-08-04 2008-08-04 切削装置

Applications Claiming Priority (1)

Application Number Priority Date Filing Date Title
JP2008200530A JP5199777B2 (ja) 2008-08-04 2008-08-04 切削装置

Publications (2)

Publication Number Publication Date
JP2010036291A true JP2010036291A (ja) 2010-02-18
JP5199777B2 JP5199777B2 (ja) 2013-05-15

Family

ID=42009365

Family Applications (1)

Application Number Title Priority Date Filing Date
JP2008200530A Active JP5199777B2 (ja) 2008-08-04 2008-08-04 切削装置

Country Status (1)

Country Link
JP (1) JP5199777B2 (ja)

Cited By (9)

* Cited by examiner, † Cited by third party
Publication number Priority date Publication date Assignee Title
CN102486617A (zh) * 2010-12-06 2012-06-06 上海微电子装备有限公司 精密调整装置
CN103901732A (zh) * 2012-12-28 2014-07-02 上海微电子装备有限公司 硅片交接装置
CN104589520A (zh) * 2013-10-31 2015-05-06 株式会社迪思科 法兰机构
KR20160141655A (ko) * 2015-06-01 2016-12-09 가부시기가이샤 디스코 베이스를 갖는 블레이드
CN106273005A (zh) * 2015-06-24 2017-01-04 株式会社迪思科 切削刀具和切削刀具的装配构造
KR101768574B1 (ko) 2017-02-23 2017-08-17 이윤재 다이싱 쏘우용 블레이드 구조체
JP2018187729A (ja) * 2017-04-28 2018-11-29 株式会社東京精密 ハブ型ブレード取付け構造及び基板切断装置
CN110098106A (zh) * 2018-01-30 2019-08-06 东和株式会社 凸缘更换机构、切断装置、凸缘更换及切断品制造的方法
CN112059211A (zh) * 2019-06-10 2020-12-11 株式会社迪思科 凸缘机构

Citations (3)

* Cited by examiner, † Cited by third party
Publication number Priority date Publication date Assignee Title
JPH0929627A (ja) * 1995-07-13 1997-02-04 Disco Abrasive Syst Ltd 切削装置のブレード脱着機構
JP2004281700A (ja) * 2003-03-14 2004-10-07 Disco Abrasive Syst Ltd ブレード着脱補助装置
JP2007105829A (ja) * 2005-10-13 2007-04-26 Disco Abrasive Syst Ltd 切削ブレードの交換装置

Patent Citations (3)

* Cited by examiner, † Cited by third party
Publication number Priority date Publication date Assignee Title
JPH0929627A (ja) * 1995-07-13 1997-02-04 Disco Abrasive Syst Ltd 切削装置のブレード脱着機構
JP2004281700A (ja) * 2003-03-14 2004-10-07 Disco Abrasive Syst Ltd ブレード着脱補助装置
JP2007105829A (ja) * 2005-10-13 2007-04-26 Disco Abrasive Syst Ltd 切削ブレードの交換装置

Cited By (19)

* Cited by examiner, † Cited by third party
Publication number Priority date Publication date Assignee Title
CN102486617A (zh) * 2010-12-06 2012-06-06 上海微电子装备有限公司 精密调整装置
CN103901732A (zh) * 2012-12-28 2014-07-02 上海微电子装备有限公司 硅片交接装置
CN104589520A (zh) * 2013-10-31 2015-05-06 株式会社迪思科 法兰机构
JP2015085466A (ja) * 2013-10-31 2015-05-07 株式会社ディスコ フランジ機構
KR102439403B1 (ko) 2015-06-01 2022-09-01 가부시기가이샤 디스코 베이스를 갖는 블레이드
KR20160141655A (ko) * 2015-06-01 2016-12-09 가부시기가이샤 디스코 베이스를 갖는 블레이드
CN106273005A (zh) * 2015-06-24 2017-01-04 株式会社迪思科 切削刀具和切削刀具的装配构造
JP2017007057A (ja) * 2015-06-24 2017-01-12 株式会社ディスコ 切削ブレード及び切削ブレードの装着構造
KR101768574B1 (ko) 2017-02-23 2017-08-17 이윤재 다이싱 쏘우용 블레이드 구조체
JP2018187729A (ja) * 2017-04-28 2018-11-29 株式会社東京精密 ハブ型ブレード取付け構造及び基板切断装置
JP2021192946A (ja) * 2017-04-28 2021-12-23 株式会社東京精密 ハブ型ブレード取付け構造
KR20190092248A (ko) 2018-01-30 2019-08-07 토와 가부시기가이샤 플랜지 교환기구, 절단 장치, 플랜지 교환 방법 및 절단품의 제조 방법
JP2019130604A (ja) * 2018-01-30 2019-08-08 Towa株式会社 フランジ交換機構、切断装置、フランジ交換方法および切断品の製造方法
TWI689377B (zh) * 2018-01-30 2020-04-01 日商Towa股份有限公司 凸緣更換機構、切斷裝置、凸緣更換及切斷品製造的方法
KR102168299B1 (ko) * 2018-01-30 2020-10-21 토와 가부시기가이샤 플랜지 교환기구, 절단 장치, 플랜지 교환 방법 및 절단품의 제조 방법
CN110098106A (zh) * 2018-01-30 2019-08-06 东和株式会社 凸缘更换机构、切断装置、凸缘更换及切断品制造的方法
CN110098106B (zh) * 2018-01-30 2023-04-07 东和株式会社 凸缘更换机构、切断装置、凸缘更换及切断品制造的方法
CN112059211A (zh) * 2019-06-10 2020-12-11 株式会社迪思科 凸缘机构
CN112059211B (zh) * 2019-06-10 2024-05-10 株式会社迪思科 凸缘机构

Also Published As

Publication number Publication date
JP5199777B2 (ja) 2013-05-15

Similar Documents

Publication Publication Date Title
JP5199777B2 (ja) 切削装置
JP6108999B2 (ja) 切削装置
JP2015020237A (ja) 切削装置
JP5758111B2 (ja) 切削装置
JP5340841B2 (ja) 切削装置
JP5220513B2 (ja) ノズル調整治具
JP5541657B2 (ja) 目立てボード
TW202027907A (zh) 刀片交換單元
TWI779146B (zh) 切割裝置
JP2008300556A (ja) フレームクランプ
JP2012004414A (ja) 切削装置
CN101564836A (zh) 支座凸缘拆卸工具和支座凸缘的拆卸方法
JP5148924B2 (ja) ダイシング用フレームユニット
JP2011183501A (ja) 切削ブレードのドレッシング方法
JP2011212815A (ja) ノズル調整治具
US10836014B2 (en) Annular grinding stone
JP2015089606A (ja) 加工装置
CN108453911A (zh) 电铸切削刀具和切削装置
JP2009269158A (ja) 切削ブレード
JP6013934B2 (ja) マーキング治具およびマーキング方法
JP6078297B2 (ja) 加工装置
JP2024067725A (ja) 加工装置
JP5122232B2 (ja) 切削ブレード
JP2010267764A (ja) 切削装置
JP5081600B2 (ja) 修正器具

Legal Events

Date Code Title Description
A621 Written request for application examination

Free format text: JAPANESE INTERMEDIATE CODE: A621

Effective date: 20110802

TRDD Decision of grant or rejection written
A01 Written decision to grant a patent or to grant a registration (utility model)

Free format text: JAPANESE INTERMEDIATE CODE: A01

Effective date: 20130122

A61 First payment of annual fees (during grant procedure)

Free format text: JAPANESE INTERMEDIATE CODE: A61

Effective date: 20130208

FPAY Renewal fee payment (event date is renewal date of database)

Free format text: PAYMENT UNTIL: 20160215

Year of fee payment: 3

R150 Certificate of patent or registration of utility model

Ref document number: 5199777

Country of ref document: JP

Free format text: JAPANESE INTERMEDIATE CODE: R150

Free format text: JAPANESE INTERMEDIATE CODE: R150

FPAY Renewal fee payment (event date is renewal date of database)

Free format text: PAYMENT UNTIL: 20160215

Year of fee payment: 3

R250 Receipt of annual fees

Free format text: JAPANESE INTERMEDIATE CODE: R250

R250 Receipt of annual fees

Free format text: JAPANESE INTERMEDIATE CODE: R250

R250 Receipt of annual fees

Free format text: JAPANESE INTERMEDIATE CODE: R250

R250 Receipt of annual fees

Free format text: JAPANESE INTERMEDIATE CODE: R250

R250 Receipt of annual fees

Free format text: JAPANESE INTERMEDIATE CODE: R250

R250 Receipt of annual fees

Free format text: JAPANESE INTERMEDIATE CODE: R250

R250 Receipt of annual fees

Free format text: JAPANESE INTERMEDIATE CODE: R250

R250 Receipt of annual fees

Free format text: JAPANESE INTERMEDIATE CODE: R250

R250 Receipt of annual fees

Free format text: JAPANESE INTERMEDIATE CODE: R250

R250 Receipt of annual fees

Free format text: JAPANESE INTERMEDIATE CODE: R250

R250 Receipt of annual fees

Free format text: JAPANESE INTERMEDIATE CODE: R250