JP2010034432A - 半導体装置とその製造方法 - Google Patents

半導体装置とその製造方法 Download PDF

Info

Publication number
JP2010034432A
JP2010034432A JP2008197206A JP2008197206A JP2010034432A JP 2010034432 A JP2010034432 A JP 2010034432A JP 2008197206 A JP2008197206 A JP 2008197206A JP 2008197206 A JP2008197206 A JP 2008197206A JP 2010034432 A JP2010034432 A JP 2010034432A
Authority
JP
Japan
Prior art keywords
opening
hole
insulating layer
semiconductor substrate
layer
Prior art date
Legal status (The legal status is an assumption and is not a legal conclusion. Google has not performed a legal analysis and makes no representation as to the accuracy of the status listed.)
Granted
Application number
JP2008197206A
Other languages
English (en)
Other versions
JP5242282B2 (ja
Inventor
Kazuma Tanida
一真 谷田
Mie Matsuo
美恵 松尾
Masahiro Sekiguchi
正博 関口
Tomoaki Takubo
知章 田窪
Current Assignee (The listed assignees may be inaccurate. Google has not performed a legal analysis and makes no representation or warranty as to the accuracy of the list.)
Toshiba Corp
Original Assignee
Toshiba Corp
Priority date (The priority date is an assumption and is not a legal conclusion. Google has not performed a legal analysis and makes no representation as to the accuracy of the date listed.)
Filing date
Publication date
Application filed by Toshiba Corp filed Critical Toshiba Corp
Priority to JP2008197206A priority Critical patent/JP5242282B2/ja
Priority to US12/533,492 priority patent/US8237285B2/en
Publication of JP2010034432A publication Critical patent/JP2010034432A/ja
Application granted granted Critical
Publication of JP5242282B2 publication Critical patent/JP5242282B2/ja
Expired - Fee Related legal-status Critical Current
Anticipated expiration legal-status Critical

Links

Images

Classifications

    • H10W20/023
    • H10W20/0234
    • H10W20/0242
    • H10W20/20
    • H10W20/2125
    • H10W70/05
    • H10W70/65
    • H10W72/20
    • H10W72/242
    • H10W72/244
    • H10W72/29
    • H10W72/90
    • H10W72/922
    • H10W72/923
    • H10W72/944
    • H10W72/952
    • H10W72/953

Landscapes

  • Internal Circuitry In Semiconductor Integrated Circuit Devices (AREA)

Abstract

【課題】半導体基板の表裏両面間を貫通電極で接続するにあたって、貫通孔底部の角部におけるリーク電流の発生や絶縁膜のクラック等を抑制する。
【解決手段】半導体装置1は貫通孔3を有する半導体基板2を備える。貫通孔3は半導体基板2の第1の面2aに開口された第1の開口3aの開口径が第2の面2bに開口された第2の開口3bに近い側の内径より大きくなるように、第1の面2aの近傍を拡張させる拡張部4を備える。半導体基板2の第1の面2aには第1の絶縁層5と第1の配線層6とが設けられている。貫通孔3には拡張部4を充填しつつ内壁面を覆う第2の絶縁層7が設けられており、さらに第1および第2の絶縁層5、7の開口を介して第1の配線層6と接続された第2の配線層8が設けられている。
【選択図】図1

Description

本発明は半導体装置とその製造方法に関する。
半導体集積回路技術を用いたCCDやCMOSイメージセンサ等の半導体装置は、デジタルカメラやカメラ機能付き携帯電話に広く利用されている。このような半導体装置においては搭載部品の小型・軽量化に対応するために、センサチップ(半導体素子)をチップサイズパッケージ(CSP)にすることが提案されている。センサチップ等の半導体素子をCSP化するにあたって、センサデバイス等を形成した半導体基板に表裏両面間を繋ぐ貫通電極を適用することが検討されている(特許文献1参照)。
このような半導体装置は、例えば以下のようにして作製される。まず、表面側絶縁膜と表面側配線層とが順に形成された半導体基板に、表面側絶縁膜を露出させる貫通孔を形成する。次に、貫通孔の内壁面および半導体基板の裏面に裏面側絶縁膜を形成する。表面側および裏面側絶縁膜をエッチングして貫通孔内に表面側配線層を露出させる。さらに、貫通孔を介して表面側配線層と接続するように、貫通孔の内部から半導体基板の裏面に亘る貫通配線層を形成する。この後、貫通配線層に外部接続端子を形成する。半導体装置は半導体ウェハに複数個形成され、最後に切断されて個片化される。
貫通孔の内壁面に形成される絶縁膜には、熱酸化膜並みのリーク特性を有することが望まれる。ただし、集積回路が既に形成された半導体基板に絶縁膜を形成する場合、熱酸化膜のような高温プロセスを適用することはできない。さらに、イメージセンサは表面に有機材料から構成されるマイクロレンズアレイやカラーフィルタが形成されているため、絶縁膜の形成時に許容可能な温度は200℃程度となる。このため、貫通孔内の絶縁膜にはCVD法等の低温形成によるSiO膜が使用されている。
しかしながら、低温形成によるSiO膜では貫通孔の側壁と底部との間の角部の膜厚が薄くなりやすい。このため、半導体基板と貫通配線層との間で電流がリークし、センサデバイス等が動作不良を起こすおそれがある。これは半導体装置の製造歩留りや電気的な信頼性を低下させる要因となる。さらに、貫通孔底部の角部には応力が集中しやすく、薄い絶縁膜にクラックが生じて信頼性を低下させるおそれがある。角部における絶縁膜の膜厚を厚くするためには、側壁の絶縁膜自体を厚く形成することが考えられるが、全体の膜厚を厚くした絶縁膜は小径の貫通孔に適用することができない。
国際公開第2005/022631号パンフレット
本発明の目的は、半導体基板の表裏両面間を貫通配線層で接続するにあたって、貫通孔底部の角部におけるリーク電流の発生や絶縁膜のクラック等を抑制することによって、信頼性や製造歩留りを向上させた半導体装置とその製造方法を提供することにある。
本発明の態様に係る半導体装置は、第1の面と、前記第1の面とは反対側の第2の面とを有する半導体基板と、前記半導体基板に設けられ、前記第1の面に開口された第1の開口と前記第2の面に開口された第2の開口とを有する貫通孔であって、前記第1の開口の開口径が前記第2の開口に近い側の内径より大きくなるように前記第1の面の近傍を拡張させる拡張部を備える貫通孔と、前記半導体基板の前記第1の面に設けられ、前記貫通孔に連通されていると共に、前記第1の開口の開口径より小径の開口を有する第1の絶縁層と、前記第1の絶縁層の前記開口を塞ぐように、前記第1の絶縁層上に設けられた第1の配線層と、前記貫通孔の前記拡張部を充填すると共に、前記貫通孔の前記第1の開口、前記貫通孔の内壁面、および前記半導体基板の前記第2の面を覆うように設けられ、前記第1の絶縁層の前記開口から連通して前記第1の配線層を露出させる開口を有する第2の絶縁層と、前記第1および第2の絶縁層の前記開口を介して前記第1の配線層と接続するように、前記貫通孔内から前記半導体基板の前記第2の面に亘って、前記第2の絶縁層を介して設けられた第2の配線層とを具備することを特徴としている。
本発明の態様に係る半導体装置の製造方法は、半導体基板の第1の面に第1の絶縁層を形成する工程と、前記第1の絶縁層上に第1の配線層を形成する工程と、前記第1の絶縁層を露出させるように、前記半導体基板の前記第1の面とは反対側の第2の面から前記第1の面に向けて、前記半導体基板に貫通孔を形成しつつ、前記貫通孔に前記第1の面に開口された第1の開口の開口径が前記第2の面に開口された第2の開口に近い側の内径より大きくなるように前記第1の面の近傍を拡張させる拡張部を設ける工程と、前記貫通孔の前記拡張部を充填しつつ、前記貫通孔の前記第1の開口、前記貫通孔の内壁面、および前記半導体基板の前記第2の面を覆う第2の絶縁層を形成する工程と、前記貫通孔の底部に存在する前記第1および第2の絶縁層に開口を形成し、前記貫通孔内に前記第1の配線層を露出させる工程と、前記貫通孔内から前記半導体基板の前記第2の面に亘って、前記第1および第2の絶縁層の前記開口を介して前記第1の配線層と接続する第2の配線層を、前記第2の絶縁層を介して形成する工程とを具備することを特徴としている。
本発明の態様に係る半導体装置とその製造方法においては、貫通孔底面の角部に拡張部を設けると共に、この拡張部に貫通孔の内壁面を覆う第2の絶縁層を充填しているため、角部におけるリーク電流の発生や絶縁膜のクラック等を抑制することができる。従って、信頼性や製造歩留りに優れる半導体装置を提供することが可能となる。
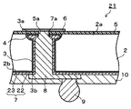
以下、本発明を実施するための形態について、図面を参照して説明する。図1は本発明の第1の実施形態による半導体装置を示している。図1に示す半導体装置1は半導体基板2を具備している。半導体基板2には例えばシリコン(Si)基板が用いられる。半導体基板2は第1の面2aとそれとは反対側の第2の面2bとを有している。第1の面(半導体基板2の表面)2aはフォトダイオードやトランジスタを含む集積回路、配線、電極等の形成面となり、第2の面(半導体基板2の裏面)2bは外部接続端子の形成面となる。
半導体基板2は第1の面2aと第2の面2bとを繋ぐ貫通孔3を有している。貫通孔3は第1の面2aに開口された第1の開口3aと第2の面2bに開口された第2の開口3bとを有している。貫通孔3の第1の面2aの近傍部分には、第1の開口3aの開口径W1が第2の開口2bに近い側の内径W2より大きくなるように、第1の面2aの近傍を拡張させる拡張部4が設けられている。貫通孔3の第1の開口3aは拡張部4の始端部となり、貫通孔3内の第2の開口2bに近い側の内径部分は拡張部4の終端部となる。
拡張部4は第1の開口(始端部)3aから第2の開口2bに近い側の内径部分(終端部)までが曲面で連続するように形成されている。拡張部4はある曲率を持った単一もしくは複数の曲面や複数の平面、もしくはそれらの組合せで形成してもよい。貫通孔3は第1の面2aの近傍部分の内径が他の部分に比べて拡大されており、この内径拡大部分に相当する拡張部4は終端部から始端部に向けて内径が例えば連続して増大するように設けられている。拡張部4の内径は断続的に増大させてもよい。
半導体基板2の第1の面2aには第1の絶縁層5が形成されており、その上には第1の配線層6が形成されている。第1の配線層6は半導体基板2の第1の面2a側の能動素子領域に設けられた半導体回路の導電層である。半導体装置1をCMOSイメージセンサ等のセンサチップとして使用する場合、半導体基板2の第1の面2a側の能動素子領域にはフォトダイオード等の受光素子を有する受光部が設けられる。受光部は第1の面2aに照射される光や電子等のエネルギー線を受光してフォトダイオードに収集するものである。このような受光部はセンサチップの撮像部を構成するものであり、電気信号のインプット・アウトプットや電力の供給等を行う第1の配線層6と電気的に接続される。
半導体基板2の第1の面2aに設けられた第1の絶縁層5には、貫通孔3の第1の開口3aの開口径W1より小径の開口径W3を有する開口5aが設けられている。第1の絶縁層5の開口5aは貫通孔3の第1の開口3aに対応させてほぼ同軸的に形成されている。第1の配線層6は貫通孔3の第1の開口3aおよび第1の絶縁層5の開口5aを塞ぐように配置されている。すなわち、第1の配線層6は貫通孔3内に露出しており、このような第1の配線層6で貫通孔3の底面が構成されている。
貫通孔3の内壁面(側面)と第1の開口3aは第2の絶縁層7で覆われており、さらに第2の絶縁層7は第1の絶縁層5の開口5aから連通して第1の配線層6を露出させる開口7aを有している。第2の絶縁層7の開口7aは第1の絶縁層5の開口5aと同軸的に設けられており、かつおおよそ同径の開口径(W3)を有している。貫通孔3の拡張部4には第2の絶縁層7が充填されている。さらに、第2の絶縁層7は貫通孔3内から連続して、半導体基板2の第2の面2bの少なくとも一部を覆うように設けられている。すなわち、第2の絶縁層7は拡張部4を充填しつつ、貫通孔3の内壁面と第1の開口3aの一部と半導体基板2の第2の面2bの少なくとも一部を覆うように設けられている。
貫通孔3内には第2の配線層8となる導電材料が第2の絶縁層7を介して充填されている。貫通孔3の第1の開口3a側に存在する第2の絶縁層7には開口7aが設けられており、それと対応して第1の絶縁層5には開口5aが設けられているため、第2の配線層8は開口7a、開口5aを介して第1の配線層6と電気的に接続されている。第2の配線層8は貫通孔3内から半導体基板2の第2の面2bに亘って設けられている。第2の配線層8は半導体基板2の第1の面2aと第2の面2bとを接続する貫通配線層である。
貫通孔3の第1の開口3a側の角部において、半導体基板2と第2の配線層8との間には拡張部4に充填された第2の絶縁層7が介在されている。拡張部4は、第1の開口3aの開口端から第2の絶縁層7の開口7aの開口端までの距離D(=(W1−W3)/2(面方向の長さ))と、第1の開口3aから第2の開口3bに近い側の内径部分までの距離T(深さ)とで規定される形状を有している。このような形状を有する拡張部4に第2の絶縁層7が充填されている。第2の配線層8は拡張部4に充填された第2の絶縁層7を介して半導体基板2から離間している。
従って、貫通孔3の第1の開口3a側の角部における半導体基板2と第2の配線層8との間でのリーク電流の発生を再現性よく抑制することが可能となる。さらに、貫通孔3の第1の開口3a側の角部は応力が集中しやすいが、応力集中箇所となる角部には第2の絶縁層7が充填された拡張部4が存在するため、第2の絶縁層7のクラック等を抑制することができる。このような効果を得る上で、拡張部4に充填された第2の絶縁層7の面方向の長さDは3〜10μmの範囲、また深さTは1〜5μmの範囲であることが好ましい。
図11に従来の絶縁膜(低温形成によるSiO膜等)の膜厚とリーク電流値との関係を示す。熱酸化膜(膜厚:100nm)並みのリーク特性を得るためには、絶縁膜の膜厚を3〜10μmの範囲とすることが好ましいことが分かる。このため、第2の絶縁層7の面方向の長さDは3〜10μmの範囲とすることが好ましい。半導体デバイスは一般的にSi基板にエピタキシャル層が5μm程度形成され、さらにその表面から1μm程度の深さにウェルやソース、ドレイン、チャネル等から構成されるトランジスタデバイスが配置される。従って、表層から1μm、さらに5μmの深さのリーク特性を高めることが好ましい。このため、第2の絶縁層7の深さTは1〜5μmの範囲とすることが好ましい。
拡張部4に充填された第2の絶縁層7の面方向の長さDが3μm未満、また深さTが1μm未満の場合、リーク電流やクラックの抑制効果を十分に得ることができないおそれがある。リーク電流やクラックの抑制効果に関しては、第2の絶縁層7の面方向の長さDをより長くすることが好ましい。ただし、長さDをあまり長くすると小径の貫通孔3への適用が困難になると共に、半導体基板2の第1の面2a側における能動素子領域の低下等を招くおそれがある。このため、長さDは実用的には10μm以下とすることが好ましい。深さTも同様であり、実用的には5μm以下とすることが好ましい。
第2の配線層8上には外部接続端子9が設けられている。半導体基板2の第2の面2bは外部接続端子9を除いて保護層10で覆われている。第2の面2b上に存在する第2の絶縁層7および第2の配線層8は保護層10で覆われている。保護層10は少なくとも第2の配線層8を覆うように設ければよい。この実施形態では外部接続端子9を除いて、半導体基板2の第2の面2b全体を保護層10で覆っている。半導体装置1をセンサパッケージ等に適用する場合、半導体基板2上にはガラス基板等からなる光透過性保護部材が接着層を介して配置されるが、図1では説明の簡略化のために図示を省略している。
第1の実施形態の半導体装置1は、例えば以下のようにして作製される。まず、図2に示すように、半導体基板2の第1の面(表面)2aにCVD法、スプレーコート法、スピンコート法、フィルムラミネート法等を適用して第1の絶縁層5を形成する。第1の絶縁層5は、例えばシリコン酸化物(SiO)、シリコン窒化物(SiN)、SiOF(フッ素ドープSiO)、ポーラスなSiOC(カーボンドープSiO)等により構成される。半導体基板2は半導体ウェハとして供給される。
次いで、図3に示すように、第1の絶縁層5上にスパッタ法、CVD法、蒸着法、めっき法等を適用して第1の配線層6を形成する。第1の配線層6には、例えば高抵抗金属材料(Ti、TiN、TiW、Ni、Cr、TaN、CoWP等)や低抵抗金属材料(Al、Al−Cu、Al−Si−Cu、Cu、Au、Ag、半田材等)が用いられる。これらは単層構造もしくは複数の材料層を積層した多層構造で導電層を構成する。また、絶縁層を介して導電層を積層した多層構造膜等を配線層6に適用してもよい。
次に、図4に示すように、半導体基板2の第2の面2b側から第1の面2aに向けて貫通孔3を形成して第1の絶縁層5を露出させる。貫通孔3は第1の絶縁層5に向けて断面形状がテーパー状とされた形状を有することが好ましい。貫通孔3は半導体基板2の第2の面2b側に配置された所定パターンのマスクを用いて、半導体基板2をプラズマエッチング法等でエッチングすることにより形成される。貫通孔3を形成するにあたって、第1の絶縁層5に比べて半導体基板2が相対的に大きくエッチングされるように、プラズマ中にエッチング用のガスを導入してプラズマエッチングを行う。
エッチング用のガスとしては、例えば半導体基板2がSi基板である場合にはSF6とO2とArの混合ガスが使用される。半導体基板2をプラズマエッチングするにあたって、第1の絶縁層5が露出されてから、さらにオーバーエッチングを行うことによって、チャージしたエッチャント成分が貫通孔3の第1の開口3aの周縁部に集まり、横方向(半導体基板2面方向)へのエッチングが促進される。オーバーエッチングを適用することによって、第1の面2aの近傍部分に拡張部4を形成する。
このようにして、第1の開口3a(拡張部4の始端部)の開口径W1が第2の開口2bに近い側の内径部分(拡張部4の終端部)の径W2より大きく、かつ第1の開口3aから第2の開口2bに近い側の内径部分までが曲面で連続した拡張部4を備える貫通孔3を形成する。貫通孔3の第1の開口3aの開口径(拡張部4の始端部の開口径)W1は、第1の配線層6の径W4より小さい(W1<W4)ことが好ましい。
次に、図5に示すように、貫通孔3の内壁面、第1の絶縁層5で塞がれた貫通孔3の底面、および半導体基板2の第2の面2bを覆うように、CVD法、スプレーコート法、スピンコート法、フィルムラミネート法等を適用して第2の絶縁層7を形成する。第2の絶縁層7は貫通孔3の内壁面や底面等を覆うだけでなく、貫通孔3の拡張部4に充填されるように形成することが重要である。
第2の絶縁層7には、例えばシリコン酸化物(SiO)やシリコン窒化物(SiN)等の無機絶縁物、あるいはポリイミド樹脂、BCB(ベンゾシクロブテン)樹脂、エポキシ樹脂等の有機絶縁物で構成される。これらのうちでも、貫通孔3の拡張部4に対する充填性等を考慮すると、第2の絶縁層7はポリイミド樹脂、BCB樹脂、パリレン樹脂、エポキシ樹脂等の有機絶縁物で構成することが好ましい。また、第2の絶縁層7の形成方法としては、スプレーコート法やスピンコート法等を適用することが好ましい。
次いで、図6に示すように、第1の絶縁層5を覆うように貫通孔3の底部に存在する第2の絶縁層7を、所定パターンのマスクを用いてエッチングして開口7aを形成し、第1の絶縁層5を再び露出させる。続いて、露出された第1の絶縁層5をエッチングし、第2の絶縁層7の開口7aとほぼ同径の開口5aを形成する。これら開口5a、7aを形成することによって、貫通孔3内に第1の配線層6を露出させる。第1および第2の絶縁層5、7の開口5a、7aは、それらの径W3が貫通孔3の第1の開口3aの開口径(拡張部4の始端部の開口径)W1より小さくなる(W3<W1)ように形成する。
第1の絶縁層5をエッチングするにあたって、第1の配線層6に比べて第1の絶縁層5が相対的に大きくエッチングされるように、プラズマ中にエッチング用のガスを導入してプラズマエッチングを行う。エッチング用のガスとしては、例えば第1の絶縁層5がSiO2膜で、第1の配線層6がTiNやAlで構成されている場合には、C58とO2とArの混合ガスを使用する。第2の絶縁層7と第1の絶縁層5のエッチングは同時に実施してもよいし、また別々に実施してもよい。
第2の絶縁層7が第1の絶縁層5と同様な材料で構成されている場合には、第2の絶縁層7と第1の絶縁層5とを連続的にエッチングして開口5a、7aを形成する。第2の絶縁層7をポリイミド樹脂、BCB樹脂、パリレン樹脂、エポキシ樹脂等で構成した場合、Oプラズマでアッシングして開口7aを形成することができる。第2の絶縁層7を感光性材料で構成した場合には、露光および現像工程を適用して開口7aを形成してもよい。
次に、図7に示すように、貫通孔3内から半導体基板2の第2の面2bに亘って第2の配線層8を形成する。第2の配線層8は第2の絶縁層7を介して貫通孔3内および半導体基板2の第2の面2bに形成される。貫通孔3の底部に存在する第1および第2の絶縁層5、7には、予め開口5a、7aが設けられているため、第2の配線層8は開口5a、7aを介して第1の配線層6と電気的に接続される。
第2の配線層8は所定パターンのマスクを用いて、スパッタ法、CVD法、蒸着法、めっき法、印刷法等を適用して形成される。半導体基板2の第2の面2bにおいて、第2の配線層8は第2の絶縁層7上に形成される。第2の配線層8には、例えば高抵抗金属材料(Ti、TiN、TiW、Ni、Cr、TaN、CoWP等)や低抵抗金属材料(Al、Al−Cu、Al−Si−Cu、Cu、Au、Ag、半田材等)が用いられる。これらは単層もしくは多層構造で導電層を構成する。
この後、図8に示すように、半導体基板2の第2の面2bを覆うように保護層10を設け、さらに保護層10に端子形成用の開口を形成した後、この開口に第2の配線層8と接続する外部接続端子9を形成する。外部接続端子9は例えば半田材で形成される。保護層10はポリイミド樹脂やエポキシ樹脂、あるいはソルダーレジスト材等で形成される。これら一連の工程(ウェハ工程)が終了した後、半導体基板2をブレードで切断して個片化することによって、図1に示す半導体装置1が作製される。
第1の実施形態の半導体装置1において、第2の絶縁層7は貫通孔3の拡張部4を充填すると共に、貫通孔3の内壁面から半導体基板2の第2の面2bを覆うように設けられている。貫通孔3の第1の開口3aの近傍部分には、拡張部4に充填された第2の絶縁層7が存在する。第2の配線層8は拡張部4に充填された第2の絶縁層7を介して半導体基板2と離間されている。このため、拡張部4における第2の絶縁層7のリーク耐性が向上し、半導体装置1の製造歩留りや信頼性を高めることが可能となる。
さらに、貫通孔3の第1の開口3a側の角部は応力が集中しやすいが、その部分には拡張部4に充填された第2の絶縁層7が存在する。従って、応力集中部分の第2の絶縁層7の厚さを厚くすることができる。そして、応力は厚い第2の絶縁層7(拡張部4に充填された第2の絶縁層7)で分散されるため、応力集中に起因する第2の絶縁層7のクラック等を抑制することができる。このように、第1の実施形態によれば電気的・機械的信頼性に優れ、かつ歩留りを向上させた半導体装置1を提供することが可能となる。
図9は第1の実施形態の半導体装置1の変形例を示している。図9に示す半導体装置1において、貫通孔3の拡張部4に充填された第2の絶縁層7は空孔11を含んでいる。それ以外の構成は図1に示す半導体装置1と同様とされている。空孔11は第2の絶縁層7の誘電率を低下させる。このような低誘電率の第2の絶縁層7を拡張部4に充填することによって、半導体装置1の電気的な特性を向上させることが可能となる。
次に、本発明の第2の実施形態による半導体装置について、図10を参照して説明する。図10は第2の実施形態による半導体装置21を示している。図10に示す半導体装置21は、第2の絶縁層の構成が異なることを除いて、第1の実施形態の半導体装置1と同様な構成を有している。図10の半導体装置21において、図1の半導体装置1と同一部分には同一符号を付し、その説明を一部省略する。
図10に示す半導体装置21において、貫通孔3の内壁面および半導体基板2の第2の面2bには下地膜22が薄く被覆されている。下地膜22は拡張部4および貫通孔3の底部に相当する第1の絶縁層5に沿って形成されている。下地膜22上には絶縁膜23が形成されている。すなわち、第2の絶縁層7は下地膜22と絶縁膜23との二層構造膜を有している。二層構造の第2の絶縁層7には開口7aが設けられており、この開口7aと第1の絶縁層5の開口5aを介して、第1の第1の配線層6が貫通孔3内に露出している。
下地膜22はCVD法、スプレーコート法、スピンコート法、フィルムラミネート法等により形成される。下地膜22は、シリコン酸化物(SiO)やシリコン窒化物(SiN)等の無機絶縁物、あるいはポリイミド樹脂、BCB樹脂、パリレン樹脂、エポキシ樹脂等の有機絶縁物で構成される。これらのうちでも、半導体基板2との密着性を考慮して、シリコン酸化物やシリコン窒化物等を適用することが好ましい。下地膜22は貫通孔3の内壁面等を薄く被覆するように形成すればよく、拡張部4を充填する必要はない。
絶縁膜23はCVD法、スプレーコート法、スピンコート法、フィルムラミネート法等により形成される。絶縁膜23は、例えばシリコン酸化物(SiO)やシリコン窒化物(SiN)等の無機絶縁物、あるいはポリイミド樹脂、BCB樹脂、パリレン樹脂、エポキシ樹脂等の有機絶縁物で構成される。これらのうちでも、拡張部4への充填性を考慮して、ポリイミド樹脂、BCB樹脂、パリレン樹脂、エポキシ樹脂等の有機絶縁物を適用することが好ましい。絶縁膜23は下地膜22上を覆うと共に、貫通孔3の拡張部4を充填するように形成される。
下地膜22と絶縁膜23とを有する第2の絶縁層7には、第1の実施形態と同様にして開口(絶縁膜23の開口と下地膜22の開口とが連通した開口)7aが設けられる。さらに、第2の絶縁層7の開口7aと同軸的に第1の絶縁層5に開口5aが設けられる。貫通孔3内に充填される第2の配線層8は、第1および第2の絶縁層5、7の開口5a、7aを介して、半導体基板2の第1の面2aに設けられた第1の配線層6と接続される。
第2の絶縁層7に下地膜22と絶縁膜23との二層構造膜を適用することによって、半導体基板2との密着性と拡張部4への充填性を共に高めることができる。すなわち、下地膜22を半導体基板2や絶縁膜23との密着性に優れた絶縁材料で構成すると共に、絶縁膜23を拡張部4への充填性に優れた絶縁材料で構成することによって、半導体基板2との密着性と拡張部4への充填性を共に高めることができる。これらによって、半導体装置1の機械的・電気的信頼性をさらに向上させることが可能となる。
なお、本発明は上記した実施形態に限定されるものではなく、半導体基板の表裏両面間を貫通配線層(貫通電極)で接続する各種の半導体装置に適用することができる。そのような半導体装置も本発明に含まれる。また、本発明の実施形態は本発明の技術的思想の範囲内で拡張もしくは変更することができ、この拡張、変更した実施形態も本発明の技術的範囲に含まれるものである。
本発明の第1の実施形態による半導体装置を示す断面図である。 半導体装置の製造工程における第1の絶縁層の形成段階を示す図である。 半導体装置の製造工程における第1の配線層の形成段階を示す図である。 半導体装置の製造工程における貫通孔の形成段階を示す図である。 半導体装置の製造工程における第2の絶縁層の形成段階を示す図である。 半導体装置の製造工程における第1および第2の絶縁層への開口の形成段階を示す図である。 半導体装置の製造工程における第2の配線層の形成段階を示す図である。 半導体装置の製造工程における外部接続端子および保護層の形成段階を示す図である。 図1に示す半導体装置の変形例を示す断面図である。 本発明の第2の実施形態による半導体装置を示す断面図である。 絶縁膜の厚さとリーク電流値との関係を示す図である。
符号の説明
1,21…半導体装置、2…半導体基板、2a…第1の面、2b…第1の面、3…貫通孔、4…拡張部、5…第1の絶縁層、5a…開口、6…第1の配線層、7…第2の絶縁層、7a…開口、8…第2の配線層、9…外部接続端子、10…保護層、22…下地膜、23…絶縁膜。

Claims (5)

  1. 第1の面と、前記第1の面とは反対側の第2の面とを有する半導体基板と、
    前記半導体基板に設けられ、前記第1の面に開口された第1の開口と前記第2の面に開口された第2の開口とを有する貫通孔であって、前記第1の開口の開口径が前記第2の開口に近い側の内径より大きくなるように前記第1の面の近傍を拡張させる拡張部を備える貫通孔と、
    前記半導体基板の前記第1の面に設けられ、前記貫通孔に連通されていると共に、前記第1の開口の開口径より小径の開口を有する第1の絶縁層と、
    前記第1の絶縁層の前記開口を塞ぐように、前記第1の絶縁層上に設けられた第1の配線層と、
    前記貫通孔の前記拡張部を充填すると共に、前記貫通孔の前記第1の開口、前記貫通孔の内壁面、および前記半導体基板の前記第2の面を覆うように設けられ、前記第1の絶縁層の前記開口から連通して前記第1の配線層を露出させる開口を有する第2の絶縁層と、
    前記第1および第2の絶縁層の前記開口を介して前記第1の配線層と接続するように、前記貫通孔内から前記半導体基板の前記第2の面に亘って、前記第2の絶縁層を介して設けられた第2の配線層と
    を具備することを特徴とする半導体装置。
  2. 請求項1記載の半導体装置において、
    前記拡張部は、前記第1の開口の開口端から前記第2の絶縁層の前記開口の開口端までの距離が3〜10μmの範囲で、かつ前記第1の開口から前記第2の開口に近い側の内径部分までの距離が1〜5μmの範囲の形状を有することを特徴とする半導体装置。
  3. 請求項1記載の半導体装置において、
    前記拡張部には有機絶縁物からなる前記第2の絶縁層が充填されていることを特徴とする半導体装置。
  4. 請求項1記載の半導体装置において、
    前記第2の絶縁層は下地膜と絶縁膜との二層構造膜を有し、前記拡張部には前記絶縁膜が充填されていることを特徴とする半導体装置。
  5. 半導体基板の第1の面に第1の絶縁層を形成する工程と、
    前記第1の絶縁層上に第1の配線層を形成する工程と、
    前記第1の絶縁層を露出させるように、前記半導体基板の前記第1の面とは反対側の第2の面から前記第1の面に向けて、前記半導体基板に貫通孔を形成しつつ、前記貫通孔に前記第1の面に開口された第1の開口の開口径が前記第2の面に開口された第2の開口に近い側の内径より大きくなるように前記第1の面の近傍を拡張させる拡張部を設ける工程と、
    前記貫通孔の前記拡張部を充填しつつ、前記貫通孔の前記第1の開口、前記貫通孔の内壁面、および前記半導体基板の前記第2の面を覆う第2の絶縁層を形成する工程と、
    前記貫通孔の底部に存在する前記第1および第2の絶縁層に開口を形成し、前記貫通孔内に前記第1の配線層を露出させる工程と、
    前記貫通孔内から前記半導体基板の前記第2の面に亘って、前記第1および第2の絶縁層の前記開口を介して前記第1の配線層と接続する第2の配線層を、前記第2の絶縁層を介して形成する工程と
    を具備することを特徴とする半導体装置の製造方法。
JP2008197206A 2008-07-31 2008-07-31 半導体装置とその製造方法 Expired - Fee Related JP5242282B2 (ja)

Priority Applications (2)

Application Number Priority Date Filing Date Title
JP2008197206A JP5242282B2 (ja) 2008-07-31 2008-07-31 半導体装置とその製造方法
US12/533,492 US8237285B2 (en) 2008-07-31 2009-07-31 Semiconductor device, through hole having expansion portion and thin insulating film

Applications Claiming Priority (1)

Application Number Priority Date Filing Date Title
JP2008197206A JP5242282B2 (ja) 2008-07-31 2008-07-31 半導体装置とその製造方法

Publications (2)

Publication Number Publication Date
JP2010034432A true JP2010034432A (ja) 2010-02-12
JP5242282B2 JP5242282B2 (ja) 2013-07-24

Family

ID=41607494

Family Applications (1)

Application Number Title Priority Date Filing Date
JP2008197206A Expired - Fee Related JP5242282B2 (ja) 2008-07-31 2008-07-31 半導体装置とその製造方法

Country Status (2)

Country Link
US (1) US8237285B2 (ja)
JP (1) JP5242282B2 (ja)

Cited By (1)

* Cited by examiner, † Cited by third party
Publication number Priority date Publication date Assignee Title
KR101195461B1 (ko) 2010-09-01 2012-10-30 에스케이하이닉스 주식회사 반도체칩 및 이의 제조방법

Families Citing this family (6)

* Cited by examiner, † Cited by third party
Publication number Priority date Publication date Assignee Title
JP2011238742A (ja) * 2010-05-10 2011-11-24 Shinko Electric Ind Co Ltd 配線基板の製造方法及び配線基板
KR20120031811A (ko) * 2010-09-27 2012-04-04 삼성전자주식회사 반도체 장치 및 그 제조 방법
US9190325B2 (en) * 2010-09-30 2015-11-17 Taiwan Semiconductor Manufacturing Company, Ltd. TSV formation
US8742477B1 (en) * 2010-12-06 2014-06-03 Xilinx, Inc. Elliptical through silicon vias for active interposers
US8816505B2 (en) * 2011-07-29 2014-08-26 Tessera, Inc. Low stress vias
CA2888605A1 (en) * 2012-10-17 2014-04-24 Nestec S.A. Wearable package for consumable products and methods for using same

Citations (3)

* Cited by examiner, † Cited by third party
Publication number Priority date Publication date Assignee Title
JP2006165112A (ja) * 2004-12-03 2006-06-22 Sharp Corp 貫通電極形成方法およびそれを用いる半導体装置の製造方法、ならびに該方法によって得られる半導体装置
JP2006287206A (ja) * 2005-03-10 2006-10-19 Sanyo Electric Co Ltd 半導体装置及びその製造方法
JP2007305960A (ja) * 2006-04-14 2007-11-22 Sharp Corp 半導体装置およびその製造方法

Family Cites Families (8)

* Cited by examiner, † Cited by third party
Publication number Priority date Publication date Assignee Title
JP3724110B2 (ja) * 1997-04-24 2005-12-07 三菱電機株式会社 半導体装置の製造方法
JP3457277B2 (ja) * 1999-12-15 2003-10-14 沖電気工業株式会社 半導体装置および半導体装置の製造方法
JP4703061B2 (ja) 2001-08-30 2011-06-15 富士通株式会社 薄膜回路基板の製造方法およびビア形成基板の形成方法
JP4289146B2 (ja) * 2003-03-27 2009-07-01 セイコーエプソン株式会社 三次元実装型半導体装置の製造方法
US7180149B2 (en) 2003-08-28 2007-02-20 Fujikura Ltd. Semiconductor package with through-hole
JP4443379B2 (ja) 2004-10-26 2010-03-31 三洋電機株式会社 半導体装置の製造方法
US7262134B2 (en) * 2005-09-01 2007-08-28 Micron Technology, Inc. Microfeature workpieces and methods for forming interconnects in microfeature workpieces
US7855438B2 (en) * 2006-09-19 2010-12-21 Infineon Technologies Ag Deep via construction for a semiconductor device

Patent Citations (3)

* Cited by examiner, † Cited by third party
Publication number Priority date Publication date Assignee Title
JP2006165112A (ja) * 2004-12-03 2006-06-22 Sharp Corp 貫通電極形成方法およびそれを用いる半導体装置の製造方法、ならびに該方法によって得られる半導体装置
JP2006287206A (ja) * 2005-03-10 2006-10-19 Sanyo Electric Co Ltd 半導体装置及びその製造方法
JP2007305960A (ja) * 2006-04-14 2007-11-22 Sharp Corp 半導体装置およびその製造方法

Cited By (1)

* Cited by examiner, † Cited by third party
Publication number Priority date Publication date Assignee Title
KR101195461B1 (ko) 2010-09-01 2012-10-30 에스케이하이닉스 주식회사 반도체칩 및 이의 제조방법

Also Published As

Publication number Publication date
JP5242282B2 (ja) 2013-07-24
US8237285B2 (en) 2012-08-07
US20100025860A1 (en) 2010-02-04

Similar Documents

Publication Publication Date Title
US8232202B2 (en) Image sensor package and fabrication method thereof
CN101483162B (zh) 半导体装置及其制造方法
JP5242282B2 (ja) 半導体装置とその製造方法
US8390125B2 (en) Through-silicon via formed with a post passivation interconnect structure
CN102456650B (zh) 半导体基板的导电结构以及其制造方法
TWI311790B (en) Semiconductor device having bonding pad above low-k kielectric film and manufacturing method therefor
JP2011009645A (ja) 半導体装置及びその製造方法
JP2008305938A (ja) 半導体装置および半導体装置の製造方法
US7880256B2 (en) Semiconductor device with passivation layer covering wiring layer
JP2004327910A (ja) 半導体装置およびその製造方法
JP2011096918A (ja) 半導体装置および半導体装置の製造方法
US20200350284A1 (en) Semiconductor device and method of manufacturing the same
US20100096749A1 (en) Semiconductor package and manufacturing method thereof
JP5245135B2 (ja) 貫通導電体を有する半導体装置およびその製造方法
TW201216429A (en) Conductive pillar structure
TWI298517B (en) Manufacturing method for electronic component, electronic component, and electronic equipment
JP2005235860A (ja) 半導体装置及びその製造方法
US8129835B2 (en) Package substrate having semiconductor component embedded therein and fabrication method thereof
CN100524725C (zh) 半导体装置及其制造方法
JP2008300718A (ja) 半導体装置および半導体装置の製造方法
JP2010232400A (ja) 半導体基板と半導体基板の製造方法および半導体パッケージ
JP2011223234A (ja) 圧電振動子、圧電デバイス、貫通電極構造、半導体装置、半導体パッケージ
JP2009212271A (ja) 半導体装置およびその製造方法
TWI437689B (zh) 半導體裝置
JP2009088002A (ja) 半導体装置及びその製造方法

Legal Events

Date Code Title Description
A621 Written request for application examination

Free format text: JAPANESE INTERMEDIATE CODE: A621

Effective date: 20100913

RD02 Notification of acceptance of power of attorney

Free format text: JAPANESE INTERMEDIATE CODE: A7422

Effective date: 20120614

A977 Report on retrieval

Free format text: JAPANESE INTERMEDIATE CODE: A971007

Effective date: 20121219

A131 Notification of reasons for refusal

Free format text: JAPANESE INTERMEDIATE CODE: A131

Effective date: 20121225

A521 Request for written amendment filed

Free format text: JAPANESE INTERMEDIATE CODE: A523

Effective date: 20130225

TRDD Decision of grant or rejection written
A01 Written decision to grant a patent or to grant a registration (utility model)

Free format text: JAPANESE INTERMEDIATE CODE: A01

Effective date: 20130312

A61 First payment of annual fees (during grant procedure)

Free format text: JAPANESE INTERMEDIATE CODE: A61

Effective date: 20130403

FPAY Renewal fee payment (event date is renewal date of database)

Free format text: PAYMENT UNTIL: 20160412

Year of fee payment: 3

R151 Written notification of patent or utility model registration

Ref document number: 5242282

Country of ref document: JP

Free format text: JAPANESE INTERMEDIATE CODE: R151

FPAY Renewal fee payment (event date is renewal date of database)

Free format text: PAYMENT UNTIL: 20160412

Year of fee payment: 3

S111 Request for change of ownership or part of ownership

Free format text: JAPANESE INTERMEDIATE CODE: R313111

R350 Written notification of registration of transfer

Free format text: JAPANESE INTERMEDIATE CODE: R350

LAPS Cancellation because of no payment of annual fees