JP2010033936A - 自発光型素子及びその製造方法 - Google Patents

自発光型素子及びその製造方法 Download PDF

Info

Publication number
JP2010033936A
JP2010033936A JP2008196050A JP2008196050A JP2010033936A JP 2010033936 A JP2010033936 A JP 2010033936A JP 2008196050 A JP2008196050 A JP 2008196050A JP 2008196050 A JP2008196050 A JP 2008196050A JP 2010033936 A JP2010033936 A JP 2010033936A
Authority
JP
Japan
Prior art keywords
bank
common wiring
light emitting
self
luminous element
Prior art date
Legal status (The legal status is an assumption and is not a legal conclusion. Google has not performed a legal analysis and makes no representation as to the accuracy of the status listed.)
Granted
Application number
JP2008196050A
Other languages
English (en)
Other versions
JP5002553B2 (ja
Inventor
Miho Yoda
田 美 保 依
Jiro Yoshida
田 二 朗 吉
Tomio Ono
野 富 男 小
Yujiro Hara
雄二郎 原
Shintaro Enomoto
本 信太郎 榎
Isao Takasu
須 勲 高
Keiji Sugi
啓 司 杉
Ryoko Iida
田 涼 子 飯
Tomoaki Sawabe
部 智 明 澤
Current Assignee (The listed assignees may be inaccurate. Google has not performed a legal analysis and makes no representation or warranty as to the accuracy of the list.)
Toshiba Corp
Original Assignee
Toshiba Corp
Priority date (The priority date is an assumption and is not a legal conclusion. Google has not performed a legal analysis and makes no representation as to the accuracy of the date listed.)
Filing date
Publication date
Application filed by Toshiba Corp filed Critical Toshiba Corp
Priority to JP2008196050A priority Critical patent/JP5002553B2/ja
Publication of JP2010033936A publication Critical patent/JP2010033936A/ja
Application granted granted Critical
Publication of JP5002553B2 publication Critical patent/JP5002553B2/ja
Expired - Fee Related legal-status Critical Current
Anticipated expiration legal-status Critical

Links

Images

Landscapes

  • Electroluminescent Light Sources (AREA)

Abstract

【課題】共通配線と半透過陰極との接触不良の発生を抑制し、かつサブピクセル面積の減少を防止して表示品質の低下を防止する。
【解決手段】基板1と、前記基板上に所定間隔を空けて形成された複数の第1の電極層21と、前記第1の電極層間の前記基板上に形成されたバンクコア部4aと、前記バンクコア部上に形成された共通配線3と、前記バンクコア部の側面を覆い、前記共通配線を挟むように形成され、上面が前記共通配線の上面と面一になっているバンク側壁部4bと、前記第1の電極層の上方に形成された発光層23と、前記発光層の上方、前記バンク側壁部、及び前記共通配線を覆うように形成された第2の電極層25と、を備える。
【選択図】図3

Description

本発明は、自発光型素子及びその製造方法に関するものである。
エレクトロルミネッセンス(EL)現象を利用した光源は、照明装置やディスプレイのバックライトや、ディスプレイの発光画素などの発光デバイスへの広範囲な応用を目的として、研究・開発が行なわれている。
トップエミッション方式の自発光型素子では、大画面化に伴い画面中央部分の半透過陰極に電圧降下が生じるという問題があった。このような問題を解決するため、陰極と導通する共通配線が形成されていた。
共通配線の形成方法として、サブピクセル間の絶縁性バンクを形成する前に共通配線をパターニングし、絶縁性樹脂を塗布法により全面塗布した後フォトリソグラフィにより共通配線上部を最表面に露出させ、露出部分と接触するように半透過陰極を形成する方法が提案されている(例えば特許文献1参照)。
しかし、このような方法では、フォトリソグラフィにより貫通させた絶縁性バンクと共通配線の境界には段差が生じるため、半透過陰極と共通配線の接触不良が起こるという問題がある(例えば特許文献1参照)。
また、この接触不良回避のために、絶縁性バンクと共通配線上部の間をテーパー加工するという方法が提案されている(例えば特許文献2参照)。しかし、この場合、絶縁性バンクの面積が増大することで、その分サブピクセル面積を減少させていた。これにより、有機EL素子の光取り出し効率が低下して、発光輝度が減少し、表示品質が低下するという問題があった。
特開2006−113597号公報 特開2007−103058号公報
本発明は共通配線と半透過陰極との接触不良の発生を抑制し、かつサブピクセル面積の減少を防止して表示品質の低下を防止する自発光型素子及びその製造方法を提供することを目的とする。
本発明の一態様による自発光型素子は、基板と、前記基板上に所定間隔を空けて形成された複数の第1の電極層と、前記第1の電極層間の前記基板上に形成されたバンクコア部と、前記バンクコア部上に形成された共通配線と、前記バンクコア部の側面を覆い、前記共通配線を挟むように形成され、上面が前記共通配線の上面と面一になっているバンク側壁部と、前記第1の電極層の上方に形成された発光層と、前記発光層の上方、前記バンク側壁部、及び前記共通配線を覆うように形成された第2の電極層と、を備えるものである。
本発明の一態様による自発光型素子の製造方法は、基板上に所定間隔を空けて複数の第1の電極層を形成し、前記第1の電極層間の前記基板上にバンクコア部を形成し、前記バンクコア部の側面及び上面を覆うように金属膜を形成し、前記金属膜のうち前記バンクコア部の側面を覆っている領域を酸化してバンク側壁部を形成し、前記第1の電極層の上方に発光層を形成し、前記発光層の上方、前記バンク側壁部、及び前記バンクコア部の上面を覆う前記金属膜を覆うように第2の電極層を形成するものである。
本発明によれば、共通配線と半透過陰極との接触不良の発生を抑制し、かつサブピクセル面積の減少を防止して表示品質の低下を防止できる。
以下、本発明の実施の形態を図面に基づいて説明する。
図1に本発明の実施形態に係る自発光型素子の製造方法により得られたトップエミッション構造の有機EL装置の平面図を示す。基板1上には、3つの色(R、G、B)の各々に対応する略矩形のサブピクセル2がマトリクス状に配置されている。また、基板1上のサブピクセル2間には共通配線3が設けられている。
図2にサブピクセル2の主要回路構成図を示す。サブピクセル2は、スイッチングトランジスタTr1、駆動トランジスタTr2、保持容量C、及び発光部Lを備えて構成されおり、2トランジスタ方式により駆動制御される。
スイッチングトランジスタTr1のゲート電極にはゲート線が接続され、ソース・ドレイン電極の一方には信号線が接続され、他方には駆動トランジスタTr2のゲート電極及び保持容量Cの一端が接続される。
駆動トランジスタTr2のソース・ドレイン電極の一方は電源供給線Vddに接続され、他方が保持容量Cの他端及び発光部Lに接続される。
スイッチトランジスタTr1がオンすると信号線の電圧により保持容量Cに電荷が蓄えられ、それと同時に駆動トランジスタTr2がオンする。保持容量Cの保持電圧によって、駆動トランジスタTr2のコンダクタンスがアナログ的に変化し、発光階調に対応した順バイアス電流が発光部Lへ供給される。
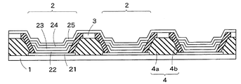
図1におけるA−A線に沿った縦断面を図3に示す。サブピクセル2間には絶縁性バンク4が設けられている。絶縁性バンク4はバンクコア部4a及びバンク側壁部4bを有する。バンクコア部4a上にはバンク側壁部4bに挟まれて共通配線3が形成されている。
バンクコア部4aは樹脂などの絶縁性を有する材料で形成されている。共通配線3はタンタル等の金属で形成されており、バンク側壁部4bは共通配線を形成する金属の酸化物により形成されている。共通配線3の上面とバンク側壁部4bの上面は面一になっている。
サブピクセル2は基板1上に順に積層された陽極21、正孔注入輸送層22、発光層23、電子注入輸送層24、及び半透過陰極25を有する。図2における発光部Lに供給されるバイアス電流は、陽極21に与えられる。図2におけるスイッチングトランジスタTr1、駆動トランジスタTr2及び保持容量Cはサブピクセル2の下方に形成されるが、図示は省略する。
正孔注入輸送層22は正孔を発光層23へ輸送する。電子注入輸送層24は電子を発光層23へ輸送する。輸送された正孔及び電子は発光層23で結合し、結合によるエネルギーで発光層23の発光材料が励起される。その励起状態から再び基底状態へ戻る際に光が発生される。
半透過陰極25は電子注入輸送層24、バンク側壁部4b、及び共通配線3を覆うように形成されており、共通配線3と接触している。共通配線3と半透過陰極25が導通することで、半透過陰極25の電気抵抗値を低減することができ、サブピクセル2に十分な電流が供給できるようになる。共通配線3の上面とバンク側壁部4bの上面は面一になっており段差が無いため、半透過陰極25と共通配線3の接触不良の発生が防止される。
このような自発光型素子の製造方法を図4〜図10に示す工程断面図を用いて説明する。
図4に示すように、基板1上に所定間隔を空けて陽極21を形成する。基板1は、陽極21を形成する際の工程で十分な強度を有する任意の材料により構成することができる。
陽極21をスパッタリング法や蒸着法により形成する場合には、基板1は200℃を超える条件でも変形が生じない材質であることが望まれる。具体的には、ガラス、石英、及びシリコンが挙げられる。シリコン等を基板1として用いる場合には、様々な添加物を用いて基板強度を上げることができるといった利点を有する。
陽極21の形成が常温で行われる場合、たとえば、転写や印刷法などによって陽極21を形成する場合は、プラスチック基板などを基板2として利用することもできる。たとえば、プラスチック基板としては、ポリエチレンテレフタレートやポリイミド、ポリフェニレンスルフィド、ポリエチレン、及びポリカーボネートなどが挙げられる。
陽極21には導電性の材料が用いられる。例えば、チタン、ジルコニウム、ハフニウム、ストロンチウム、亜鉛、錫、インジウム、イットリウム、ランタン、バナジウム、ニオブ、タンタル、クロム、モリブデン、タングステンの酸化物、SrTiO、CaTiO、BaTiO、MgTiO、SrNbのようなペロブスカイト、あるいはこれらの複合酸化物または酸化物混合物、GaN等を用いることが出来る。また、アルミニウムや銀等を用いてもよい。陽極21は50nm以上の膜厚となるように形成される。
図5に示すように、陽極21及び基板1を覆うように感光性アクリル樹脂をスピンコート法により塗布し、この感光性アクリル樹脂をフォトリソグラフィ技術を用いて、陽極21に端部が重なるようなバンク形状に加工し、バンクコア部4aを形成する。
バンクコア部7aの材料としては、感光性アクリル樹脂だけでなく、ポリイミドなどの絶縁性を有する高分子材料や、シリコン酸化物等を用いることが出来る。
図6に示すように、例えば膜厚1μmのタンタル膜30を成膜する。そして、フォトリソグラフィ技術を用いて、バンクコア部4aの上面及び側面を残すようにパターン加工する。言い換えれば、陽極21上方のタンタル膜30を除去する。
図7に示すように、タンタル膜30の上面の所定領域にレジスト膜10を形成する。ここで、レジスト膜10が形成される領域は、後に共通配線が形成される領域である。
図8に示すように、レジスト膜10に覆われていないタンタル膜30の側壁部を陽極酸化法を用いて酸化し、絶縁性の五酸化タンタル膜からなるバンク側壁部4bを形成する。レジスト膜10に覆われているタンタル膜30は酸化せず、この領域が共通配線3となる。
その後、レジスト膜10を除去する。これにより、共通配線3が上部に設けられた絶縁性バンク4が得られる。共通配線3とバンク側壁部4bは元々は単一の膜(タンタル膜30)であったため、共通配線3の上面とバンク側壁部4bの上面とは面一になる。
図9に示すように、絶縁性バンク4間の陽極21上にインクジェット法により例えば膜厚20nmのポリビニルカルバゾール膜を成膜し、正孔注入輸送層22を形成する。
さらに、正孔注入輸送層22上にインクジェット法により例えば膜厚70nmのポリ(9,9−ジアルキルフルオレン)膜を成膜し、発光層23を形成する。
図10に示すように、絶縁性バンク4間の発光層23上に蒸着法により例えば膜厚0.5nmのフッ化リチウム膜を成膜し、電子注入輸送層24を形成する。
さらに、電子注入輸送層24、バンク側壁部4b、及び共通配線3を覆うように、蒸着法により例えば膜厚20nmのマグネシウム-銀膜を成膜し、半透過陰極25を形成する。
バンク側壁部4bと共通配線3とは上面が面一になっており、バンク側壁部4bの側面はテーパー状になっているため、半透過陰極25と共通配線3との接触不良の発生が防止される。
また、バンクコア部4aを覆うように共通配線材料を形成し、この共通配線材料の側壁部分を酸化してバンク側壁部4bとし、中央部は酸化せず共通配線3としているため、絶縁性バンク面積増大・サブピクセル面積減少を防止でき、十分な光取り出し効率が得られ、表示品質の低下を防止できる。
このように、本実施形態による自発光型素子は、共通配線と半透過陰極との接触不良の発生を抑制し、かつサブピクセル面積の減少を防止して表示品質の低下を防止できる。
共通配線3の材料としては、酸化物の比誘電率が10以上となる金属、例えばアルミニウムやタンタルを用いることが好適である。共通配線3の酸化物、すなわちバンク側壁部4bの比誘電率が大きいと極性が生じ、正孔注入輸送層22や発光層23の材料を溶解する溶媒をはじくことができ、インクジェット法による正孔注入輸送層22や発光層23の積層(図9)の際に絶縁性バンク4端部の段切れを防止できる。
上記実施形態では正孔注入輸送層22の材料としてポリビニルカルバゾールを用いていたが、ポリピロールやポリチオフェンなどの高分子材料、銅フタロシアニンや4,4',4”-トリス(3-メチル-フェニルフェニルアミノ)トリフェニルアミン、テトラシアノキノジメタン、ナフチルフェニルベンジジン、メチルフェニルフェニルベンジジン、ナフタレンジフェニルビフェニルジアミン、チタニルフタロシアニン、トリフェニルアミン、トリルアミン、ジフェニルアミノベンズアルデヒド、ジエチルアミノフェニルアミンなどを用いてもよい。
上記実施形態では発光層23の材料としてポリ(9,9−ジアルキルフルオレン)を用いていたが、ルブレン、オクタエチル白金ポルフィリン、ベンゾチエニルピリジン−アセチルアセトン−イリジウム錯体、テリレン、ペリノン、ナイルレッド、アルミノキノリン錯体や、ビス(ベンゾキノリナト)ベリリウム錯体、キナクリドン、クマリン、アントラセン、ジフェニルテトラセン、2−tert−ブチル−9、10−ジ(ナフタレン−2−イル)、ペリレン、テトラフェニルアントラセン、テトラフェニルブタジエン、9,10−ビス(フェニルエチニル)アントラセン、ポリ(パラフェニレンビニレン)、ポリ(2−メトキシ,5−(2‘−エチルヘキソキシ)−1,4−フェニレンビニレン)、ポリ(3−アルキルチオフェン)、ポリパラフェニレン、ポリカーボネート、ポリナフチルビニレン等を用いてもよい。
上記実施形態では電子注入輸送層24の材料としてフッ化リチウムを用いていたが、トリス(8−キノリノール)アルミニウム、ベンゾチアゾール亜鉛、3,4,9,10−ペリレンテトラカルボキシル−ビス−ベンズイミダゾール、バソキュプロイン、ビフェニルフェニルオキサジアゾール、ビスアミノフェニルオキサジアゾール、バリウム、フッ化マグネシウム、フッ化カルシウム、フッ化ストロンチウム、フッ化バリウム、酸化アルミニウム、リチウムキノリノール、バソフェナントロリン等を用いてもよい。
上記実施形態では半透過陰極25の材料としてマグネシウム-銀を用いていたが、例えばリチウム、ナトリウム、カリウム、ルビジウム、セシウム、マグネシウム、カルシウム、ストロンチウム、バリウム、アルミニウム、銀、ガリウム、バナジウム 、チタン、ビスマス、すず、クロム、アンチモン、銅、コバルト、金などを用いてもよい。半透過陰極25は電子注入輸送層24に電子を注入する上で仕事関数が小さい、例えば仕事関数が3.4eV以下の材料であることが好ましい。
なお、本発明は上記実施形態そのままに限定されるものではなく、実施段階ではその要旨を逸脱しない範囲で構成要素を変形して具体化できる。また、上記実施形態に開示されている複数の構成要素の適宜な組み合わせにより、種々の発明を形成できる。例えば、実施形態に示される全構成要素から幾つかの構成要素を削除してもよい。さらに、異なる実施形態にわたる構成要素を適宜組み合わせてもよい。
本発明の実施形態による自発光型素子の製造方法により得られたトップエミッション構造の有機EL装置の平面図である。 同実施形態におけるサブピクセルの主要回路構成図である。 同実施形態におけるサブピクセルの縦断面図である。 同実施形態による自発光型素子の製造方法を説明する工程断面図である。 図4に続く工程断面図である。 図5に続く工程断面図である。 図6に続く工程断面図である。 図7に続く工程断面図である。 図8に続く工程断面図である。 図9に続く工程断面図である。
符号の説明
1 基板
2 サブピクセル
3 共通配線
21 陽極
22 正孔注入輸送層
23 発光層
24 電子注入輸送層
25 半透過陰極

Claims (9)

  1. 基板と、
    前記基板上に所定間隔を空けて形成された複数の第1の電極層と、
    前記第1の電極層間の前記基板上に形成されたバンクコア部と、
    前記バンクコア部上に形成された共通配線と、
    前記バンクコア部の側面を覆い、前記共通配線を挟むように形成され、上面が前記共通配線の上面と面一になっているバンク側壁部と、
    前記第1の電極層の上方に形成された発光層と、
    前記発光層の上方、前記バンク側壁部、及び前記共通配線を覆うように形成された第2の電極層と、
    を備える自発光型素子。
  2. 前記バンク側壁部は、前記共通配線に含まれる金属の酸化物を含むことを特徴とする請求項1に記載の自発光型素子。
  3. 前記共通配線はタンタルを含み、前記バンク側壁部は五酸化タンタルを含むことを特徴とする請求項1又は2に記載の自発光型素子。
  4. 前記第1の電極層と前記発光層との間に形成された正孔注入輸送層と、
    前記発光層と前記第2の電極層との間に形成された電子注入輸送層と、
    をさらに有することを特徴とする請求項1乃至3のいずれかに記載の自発光型素子
  5. 前記第2の電極層は仕事関数が3.4eV以下の金属を含むことを特徴とする請求項4に記載の自発光型素子。
  6. 基板上に所定間隔を空けて複数の第1の電極層を形成し、
    前記第1の電極層間の前記基板上にバンクコア部を形成し、
    前記バンクコア部の側面及び上面を覆うように金属膜を形成し、
    前記金属膜のうち前記バンクコア部の側面を覆っている領域を酸化してバンク側壁部を形成し、
    前記第1の電極層の上方に発光層を形成し、
    前記発光層の上方、前記バンク側壁部、及び前記バンクコア部の上面を覆う前記金属膜を覆うように第2の電極層を形成する自発光型素子の製造方法。
  7. 前記金属膜はタンタル又はアルミニウムを含むことを特徴とする請求項6に記載の自発光型素子の製造方法。
  8. 前記発光層の形成前に前記第1の電極層上に正孔注入輸送層を形成し、
    前記第2の電極層の形成前に前記発光層上に電子注入輸送層を形成することを特徴とする請求項6又は7に記載の自発光型素子の製造方法。
  9. 前記第2の電極層は仕事関数が3.4eV以下の金属を含むことを特徴とする請求項8に記載の自発光型素子の製造方法。
JP2008196050A 2008-07-30 2008-07-30 自発光型素子及びその製造方法 Expired - Fee Related JP5002553B2 (ja)

Priority Applications (1)

Application Number Priority Date Filing Date Title
JP2008196050A JP5002553B2 (ja) 2008-07-30 2008-07-30 自発光型素子及びその製造方法

Applications Claiming Priority (1)

Application Number Priority Date Filing Date Title
JP2008196050A JP5002553B2 (ja) 2008-07-30 2008-07-30 自発光型素子及びその製造方法

Publications (2)

Publication Number Publication Date
JP2010033936A true JP2010033936A (ja) 2010-02-12
JP5002553B2 JP5002553B2 (ja) 2012-08-15

Family

ID=41738162

Family Applications (1)

Application Number Title Priority Date Filing Date
JP2008196050A Expired - Fee Related JP5002553B2 (ja) 2008-07-30 2008-07-30 自発光型素子及びその製造方法

Country Status (1)

Country Link
JP (1) JP5002553B2 (ja)

Cited By (14)

* Cited by examiner, † Cited by third party
Publication number Priority date Publication date Assignee Title
JP2011238597A (ja) * 2010-05-07 2011-11-24 Samsung Mobile Display Co Ltd 有機発光ディスプレイ装置及びその製造方法
WO2012161004A1 (ja) * 2011-05-20 2012-11-29 パナソニック株式会社 有機エレクトロルミネッセンス素子
WO2012161005A1 (ja) * 2011-05-20 2012-11-29 パナソニック株式会社 有機エレクトロルミネッセンス素子
WO2013108598A1 (ja) * 2012-01-18 2013-07-25 パナソニック株式会社 電子装置およびその製造方法
WO2013118462A1 (ja) * 2012-02-06 2013-08-15 パナソニック株式会社 El表示装置およびその製造方法
KR20160139826A (ko) * 2015-05-28 2016-12-07 엘지디스플레이 주식회사 플렉서블 디스플레이
JP2019133949A (ja) * 2011-02-25 2019-08-08 株式会社半導体エネルギー研究所 電子機器
WO2022175781A1 (ja) * 2021-02-19 2022-08-25 株式会社半導体エネルギー研究所 表示装置、表示モジュール、及び電子機器
JPWO2022180468A1 (ja) * 2021-02-25 2022-09-01
WO2022185149A1 (ja) * 2021-03-05 2022-09-09 株式会社半導体エネルギー研究所 表示装置、表示モジュール、電子機器、及び、表示装置の作製方法
WO2022189908A1 (ja) * 2021-03-11 2022-09-15 株式会社半導体エネルギー研究所 表示装置
JPWO2022214904A1 (ja) * 2021-04-08 2022-10-13
WO2022224080A1 (ja) * 2021-04-23 2022-10-27 株式会社半導体エネルギー研究所 表示装置、表示モジュール、電子機器、及び、表示装置の作製方法
US20240179979A1 (en) * 2022-11-28 2024-05-30 Samsung Display Co., Ltd. Display apparatus

Citations (7)

* Cited by examiner, † Cited by third party
Publication number Priority date Publication date Assignee Title
JPH09116161A (ja) * 1995-10-18 1997-05-02 Seiko Epson Corp 薄膜半導体装置およびその製造方法
JP2003288994A (ja) * 2002-01-24 2003-10-10 Semiconductor Energy Lab Co Ltd 発光装置およびその作製方法
JP2004127933A (ja) * 2002-09-11 2004-04-22 Semiconductor Energy Lab Co Ltd 発光装置およびその作製方法
JP2004335389A (ja) * 2003-05-12 2004-11-25 Sony Corp 蒸着マスクおよびこれを用いた表示装置の製造方法、ならびに表示装置
JP2005521204A (ja) * 2002-03-20 2005-07-14 コーニンクレッカ フィリップス エレクトロニクス エヌ ヴィ アクティブマトリクスエレクトロルミネッセンス表示装置及びその製造方法
JP2005521205A (ja) * 2002-03-20 2005-07-14 コーニンクレッカ フィリップス エレクトロニクス エヌ ヴィ アクティブマトリクス表示装置及びその製造方法
JP2007165215A (ja) * 2005-12-16 2007-06-28 Seiko Epson Corp エレクトロルミネッセンス装置の製造方法

Patent Citations (7)

* Cited by examiner, † Cited by third party
Publication number Priority date Publication date Assignee Title
JPH09116161A (ja) * 1995-10-18 1997-05-02 Seiko Epson Corp 薄膜半導体装置およびその製造方法
JP2003288994A (ja) * 2002-01-24 2003-10-10 Semiconductor Energy Lab Co Ltd 発光装置およびその作製方法
JP2005521204A (ja) * 2002-03-20 2005-07-14 コーニンクレッカ フィリップス エレクトロニクス エヌ ヴィ アクティブマトリクスエレクトロルミネッセンス表示装置及びその製造方法
JP2005521205A (ja) * 2002-03-20 2005-07-14 コーニンクレッカ フィリップス エレクトロニクス エヌ ヴィ アクティブマトリクス表示装置及びその製造方法
JP2004127933A (ja) * 2002-09-11 2004-04-22 Semiconductor Energy Lab Co Ltd 発光装置およびその作製方法
JP2004335389A (ja) * 2003-05-12 2004-11-25 Sony Corp 蒸着マスクおよびこれを用いた表示装置の製造方法、ならびに表示装置
JP2007165215A (ja) * 2005-12-16 2007-06-28 Seiko Epson Corp エレクトロルミネッセンス装置の製造方法

Cited By (27)

* Cited by examiner, † Cited by third party
Publication number Priority date Publication date Assignee Title
JP2016048696A (ja) * 2010-05-07 2016-04-07 三星ディスプレイ株式會社Samsung Display Co.,Ltd. 有機発光ディスプレイ装置及びその製造方法
JP2011238597A (ja) * 2010-05-07 2011-11-24 Samsung Mobile Display Co Ltd 有機発光ディスプレイ装置及びその製造方法
US9035330B2 (en) 2010-05-07 2015-05-19 Samsung Display Co., Ltd. Organic light-emitting display device and method of manufacturing the organic light emitting display device
JP2019133949A (ja) * 2011-02-25 2019-08-08 株式会社半導体エネルギー研究所 電子機器
WO2012161004A1 (ja) * 2011-05-20 2012-11-29 パナソニック株式会社 有機エレクトロルミネッセンス素子
WO2012161005A1 (ja) * 2011-05-20 2012-11-29 パナソニック株式会社 有機エレクトロルミネッセンス素子
CN103250265A (zh) * 2011-05-20 2013-08-14 松下电器产业株式会社 有机电致发光元件
US8729542B2 (en) 2011-05-20 2014-05-20 Panasonic Corporation Organic electroluminescence element
JP5520418B2 (ja) * 2011-05-20 2014-06-11 パナソニック株式会社 有機エレクトロルミネッセンス素子
WO2013108598A1 (ja) * 2012-01-18 2013-07-25 パナソニック株式会社 電子装置およびその製造方法
US9356252B2 (en) 2012-01-18 2016-05-31 Joled Inc. Electronic device and manufacturing method therefor
US9111891B2 (en) 2012-02-06 2015-08-18 Joled Inc. EL display apparatus and manufacturing method thereof
WO2013118462A1 (ja) * 2012-02-06 2013-08-15 パナソニック株式会社 El表示装置およびその製造方法
KR20160139826A (ko) * 2015-05-28 2016-12-07 엘지디스플레이 주식회사 플렉서블 디스플레이
KR102533387B1 (ko) 2015-05-28 2023-05-17 엘지디스플레이 주식회사 플렉서블 디스플레이
JPWO2022175781A1 (ja) * 2021-02-19 2022-08-25
WO2022175781A1 (ja) * 2021-02-19 2022-08-25 株式会社半導体エネルギー研究所 表示装置、表示モジュール、及び電子機器
JPWO2022180468A1 (ja) * 2021-02-25 2022-09-01
WO2022180468A1 (ja) * 2021-02-25 2022-09-01 株式会社半導体エネルギー研究所 表示装置、表示モジュール、電子機器、及び、表示装置の作製方法
JP7806013B2 (ja) 2021-02-25 2026-01-26 株式会社半導体エネルギー研究所 表示装置、表示モジュール及び電子機器
WO2022185149A1 (ja) * 2021-03-05 2022-09-09 株式会社半導体エネルギー研究所 表示装置、表示モジュール、電子機器、及び、表示装置の作製方法
JPWO2022189908A1 (ja) * 2021-03-11 2022-09-15
WO2022189908A1 (ja) * 2021-03-11 2022-09-15 株式会社半導体エネルギー研究所 表示装置
WO2022214904A1 (ja) * 2021-04-08 2022-10-13 株式会社半導体エネルギー研究所 表示装置
JPWO2022214904A1 (ja) * 2021-04-08 2022-10-13
WO2022224080A1 (ja) * 2021-04-23 2022-10-27 株式会社半導体エネルギー研究所 表示装置、表示モジュール、電子機器、及び、表示装置の作製方法
US20240179979A1 (en) * 2022-11-28 2024-05-30 Samsung Display Co., Ltd. Display apparatus

Also Published As

Publication number Publication date
JP5002553B2 (ja) 2012-08-15

Similar Documents

Publication Publication Date Title
JP5002553B2 (ja) 自発光型素子及びその製造方法
US12035544B2 (en) Organic light-emitting display apparatus having a conductive layer with an undercut structure and method of manufacturing the same
US10121837B2 (en) Organic light emitting device
JP5236060B2 (ja) 有機エレクトロルミネッセンス表示装置及びその製造方法
CN101170124B (zh) 有机el显示装置
JP2011040167A (ja) 表示装置およびその製造方法
JP2005327674A (ja) 有機エレクトロルミネッセント表示素子、それを有する表示装置、及び、その製造方法
CN106952929A (zh) 显示单元及其制造方法和电子设备
CN101336491B (zh) 有机发光晶体管元件及其制造方法
JP2008243582A (ja) 有機薄膜トランジスタ基板及びその製造方法、並びに、画像表示パネル及びその製造方法
JP2005293980A (ja) 発光トランジスタ
US7355342B2 (en) Organic EL device and electronic apparatus capable of preventing a short circuit
JP6387547B2 (ja) 有機el素子とその製造方法、および金属酸化物膜の成膜方法
CN102823326B (zh) 发光装置
US9786726B2 (en) Organic light-emitting device and organic display device
JPWO2005091373A1 (ja) 有機半導体素子およびそれを用いた有機el表示装置
US20090140955A1 (en) Light-emitting element and display device
US20250374814A1 (en) Method of manufacturing display device
WO2015166651A1 (ja) 薄膜トランジスタ装置、及びそれを用いた表示装置
US7728515B2 (en) Light-emitting circuit board and light-emitting display device
US9806288B2 (en) Organic light emitting diode, manufacturing method thereof, and organic light emitting display device having organic light emitting diode
JP2007109564A (ja) 発光素子及び表示装置
JP2006243127A (ja) シートディスプレイ
JP4770523B2 (ja) 発光装置の製造方法
WO2015033881A1 (ja) 有機薄膜トランジスタ

Legal Events

Date Code Title Description
A621 Written request for application examination

Free format text: JAPANESE INTERMEDIATE CODE: A621

Effective date: 20110324

A131 Notification of reasons for refusal

Free format text: JAPANESE INTERMEDIATE CODE: A131

Effective date: 20120207

A977 Report on retrieval

Free format text: JAPANESE INTERMEDIATE CODE: A971007

Effective date: 20120208

A521 Request for written amendment filed

Free format text: JAPANESE INTERMEDIATE CODE: A523

Effective date: 20120328

TRDD Decision of grant or rejection written
A01 Written decision to grant a patent or to grant a registration (utility model)

Free format text: JAPANESE INTERMEDIATE CODE: A01

Effective date: 20120427

A01 Written decision to grant a patent or to grant a registration (utility model)

Free format text: JAPANESE INTERMEDIATE CODE: A01

A61 First payment of annual fees (during grant procedure)

Free format text: JAPANESE INTERMEDIATE CODE: A61

Effective date: 20120521

FPAY Renewal fee payment (event date is renewal date of database)

Free format text: PAYMENT UNTIL: 20150525

Year of fee payment: 3

LAPS Cancellation because of no payment of annual fees