JP2010032973A - 定着装置及び画像形成装置 - Google Patents

定着装置及び画像形成装置 Download PDF

Info

Publication number
JP2010032973A
JP2010032973A JP2008197745A JP2008197745A JP2010032973A JP 2010032973 A JP2010032973 A JP 2010032973A JP 2008197745 A JP2008197745 A JP 2008197745A JP 2008197745 A JP2008197745 A JP 2008197745A JP 2010032973 A JP2010032973 A JP 2010032973A
Authority
JP
Japan
Prior art keywords
fixing belt
heat
fixing
fixing device
adjusting member
Prior art date
Legal status (The legal status is an assumption and is not a legal conclusion. Google has not performed a legal analysis and makes no representation as to the accuracy of the status listed.)
Granted
Application number
JP2008197745A
Other languages
English (en)
Other versions
JP5239599B2 (ja
Inventor
Takayuki Seki
貴之 関
Current Assignee (The listed assignees may be inaccurate. Google has not performed a legal analysis and makes no representation or warranty as to the accuracy of the list.)
Ricoh Co Ltd
Original Assignee
Ricoh Co Ltd
Priority date (The priority date is an assumption and is not a legal conclusion. Google has not performed a legal analysis and makes no representation as to the accuracy of the date listed.)
Filing date
Publication date
Application filed by Ricoh Co Ltd filed Critical Ricoh Co Ltd
Priority to JP2008197745A priority Critical patent/JP5239599B2/ja
Publication of JP2010032973A publication Critical patent/JP2010032973A/ja
Application granted granted Critical
Publication of JP5239599B2 publication Critical patent/JP5239599B2/ja
Expired - Fee Related legal-status Critical Current
Anticipated expiration legal-status Critical

Links

Images

Landscapes

  • Fixing For Electrophotography (AREA)

Abstract

【課題】使用する記録媒体のサイズに応じて定着ベルトの加熱幅を調整することができる定着装置及び該定着装置を用いた画像形成装置を提供する。
【解決手段】円周方向に回動可能な無端状の定着ベルト1と、定着ベルト1と当接して、記録媒体を通過させるニップ部Nを形成する加圧ローラ2と、定着ベルト1の内部に配置され、ニップ部Nで定着ベルト1を介して加圧ローラ2を押圧する押圧部材4と、定着ベルト1の内部に配置され、定着ベルト1を加熱するヒータ3と、定着ベルト1の内部であってヒータ3と定着ベルト1の間に配置され、ヒータ3から定着ベルト1への輻射熱の供給量を前記記録媒体のサイズにより変更する熱量調整部材7と、を備える。
【選択図】図3

Description

本発明は、電子写真方式の画像形成において用いられる定着装置及び該定着装置を用いた画像形成装置に関するものである。
電子写真方式を使用した画像形成装置で記録媒体(記録紙、転写紙ともいう)に転写したトナー画像を定着する定着装置には加熱加圧方式の定着装置が多く用いられている。この定着装置は、内部に熱源を有し、表面をトナーに対し離型性を有する材料、例えばシリコーンゴムやフッ素樹脂で形成した定着ベルトと加圧ローラを圧接回転させ、定着ベルトと加圧ローラの圧接部をなすニップを通過する記録紙上の未定着トナー像を加熱加圧して定着する構成のものがある(特許文献1〜4)。
図1に、従来の定着装置の構成例を示す。
定着装置90は、無端状の定着ベルト1と、定着ベルト1と当接して、シートPを通過させてシートP上のトナーTを定着させるニップ部Nを形成する加圧ローラ2と、定着ベルト1の内部に配置され、ニップ部Nで定着ベルト1を介して加圧ローラ2を押圧する押圧部材4と、定着ベルト1の内部に配置され、定着ベルト1を加熱するヒータ3と、を備える。
このとき、定着ベルト1は内部に配置した熱源(ヒータ3)からの輻射熱により直接加熱されるとともに、前記熱源からの輻射熱により押圧部材3も加熱され、該押圧部材3からの熱伝達により定着ベルト1が加熱される構成のものがある(特許文献5)。
そのため、定着ベルト1内面は黒色等に着色され熱吸収を向上させる工夫や押圧部材4の表面の少なくとも熱源側表面も黒色等に着色され熱吸収を向上させる工夫が施されている(特許文献6)。
この方式の定着装置は、定着ベルト表面と記録紙上のトナー像とが加圧下で接触するため、トナー像を記録紙上に融着する際の熱効率が極めて良好であり、迅速に定着を行なうことができる。
ここで、定着ベルト幅に対して小さなサイズの記録紙に連続して画像を形成して定着装置を通過させた場合、温度検知部材が定着ベルト方向中央部に配置された定着装置では、記録紙の通過しない定着ベルト端部が過度に加熱されるために、当該端部の定着ベルト及び加圧ローラ表層の早期劣化が発生する。また、加熱源から発せられる熱エネルギーは記録紙が通過しない部分の温度上昇にも使われるため、エネルギー効率が非常に悪くなる。さらに温度検知部材を定着ベルトに接触させて使用する場合、接触により定着ベルト中央部(記録紙が通過する範囲)の表層が磨耗するため、定着不良や、画像光沢むら等の不具合が発生し、定着ベルト早期交換が必要となる(定着ベルトの寿命が短くなる)。
一方、温度検知部材が定着ベルト方向端部に配置された定着装置では、定着ベルト中央部(記録紙通過部)の定着ベルト温度が低下することにより、定着性が悪化する現象が発生した。また、定着ベルト中央部が磨耗しないので、上記構成より長寿命化が図れるが、定着ベルト中央部の温度に対して、温度検知部材の応答性が劣る不具合があった。
このような問題に対して、熱源が定着ベルト内に小サイズ紙用配光のヒータと大サイズ紙用配光のヒータからなる複数のヒータが設けられた定着装置が提案されている(特許文献7)。なお、小サイズとは例えば最小通紙幅(例えばA5縦送り)であり、大サイズとは例えば最大通紙幅(例えば、A4横送り)である。この場合、小サイズと大サイズの間の中間サイズ(例えば、B5横送りやA4縦送りなど)には対応することが困難であった。また、使用サイズに合わせて配光幅を変えることも困難であった。
また、ヒータの上に半反射膜を設けて定着ベルトの加熱を抑制する構成が提案されているが(特許文献8参照。)、定着ベルトの加熱抑制幅を使用する用紙サイズに合わせて変えることができなかった。
特開2005−189268号公報 特開2006−220950号公報 特開2006−243497号公報 特開2007− 58249号公報 特開2006−251479号公報 特開2007−163794号公報 特許第3929942号公報 特開2005−338724号公報
本発明は、以上の従来技術における問題に鑑みてなされたものであり、使用する記録媒体のサイズに応じて定着ベルトの加熱幅を調整することができる定着装置及び該定着装置を用いた画像形成装置を提供することを目的とする。
前記課題を解決するために提供する本発明は、以下の通りである。
〔1〕 円周方向に回動可能な無端状の定着ベルト(定着ベルト1)と、前記定着ベルトと当接して、記録媒体を通過させるニップ部(ニップ部N)を形成する加圧部材(加圧ローラ2)と、前記定着ベルトの内部に配置され、前記ニップ部で定着ベルトを介して加圧部材を押圧する押圧部材(押圧部材4)と、前記定着ベルトの内部に配置され、定着ベルトを加熱する発熱体(ヒータ3)と、前記定着ベルトの内部であって発熱体と定着ベルトの間に配置され、該発熱体から定着ベルトへの輻射熱の供給量を前記記録媒体のサイズにより変更する熱量調整部材(熱量調整部材7)と、を備える定着装置(定着装置10,図3)。
〔2〕 前記熱量調整部材は、前記発熱体の輻射熱が通過する複数の開口部(開口部8)が設けられた熱遮蔽部材であり、前記開口部の開口面積または開口部の数を変化させて、前記発熱体から定着ベルトへの輻射熱の供給量を調整する前記〔1〕に記載の定着装置(図4,図5)。
〔3〕 前記熱量調整部材の開口部の形状は、定着ベルトにおける記録媒体搬送方向に対し斜めに交差する矩形である前記〔2〕に記載の定着装置(図6)。
〔4〕 前記熱量調整部材の前記発熱体に対向する側の表面が光沢面である前記〔2〕または〔3〕に記載の定着装置。
〔5〕 前記熱量調整部材の前記発熱体に対向する側の表面がアルミ系材料からなる前記〔2〕〜〔4〕のいずれかに記載の定着装置。
〔6〕 前記〔1〕〜〔5〕のいずれかに記載の定着装置を備える画像形成装置(図2)。
本発明の効果として、請求項1,2の発明によれば、熱量調整部材により発熱体から定着ベルトへの輻射熱の供給量が前記記録媒体のサイズにより変更されるので、小サイズ通紙時の定着ベルト通紙範囲の温度低下を防止するとともに、定着ベルト非通紙範囲の温度過昇を防止することができる。なお、押圧部材をアルミ系材質等の高熱伝導率材とすればより効果的である。
請求項3の発明によれば、熱量調整部材の開口部の形状を定着ベルトにおける記録媒体搬送方向に対し斜めに交差する矩形としたので、定着ベルトの方向温度むらを低減することができる。
請求項4,5の発明によれば、熱量調整部材の熱反射効率が向上するので、定着ベルトの通紙範囲と非通紙範囲の温度差を縮小することができる。このとき、熱量調整部材の表面の熱反射率を95%以上とするとよい。
請求項6の発明によれば、前記記録媒体のサイズにより定着ベルトが適切に加熱された定着装置を用いるので、良好な画像形成を行うことができる。
以下に、本発明に係る定着装置及び画像形成装置について説明する。
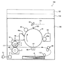
図2は、本発明に係る画像形成装置の構成例を示す断面図である。
画像形成装置100は、セットされた読取対象の原稿を読取装置130に送る自動原稿送り装置(ADF)120と、ADF120から送られてきた原稿を画像として読み取る読取装置130と、読取装置130で読み取られた画像データに基づいて画像を形成する画像形成部140と、を備える。また、画像形成部140は、本発明に係る定着装置10を備える。
図2において、41は回転体からなる像担持体の一例であるドラム形状の感光体を示す。この感光体41の周りには、図中に矢印で示す向きの回転方向順に、帯電ローラからなる帯電装置42と、露光手段の一部を構成するミラー43と、現像ローラ44aを備えた現像装置44と、記録媒体としての用紙(シート)Pに現像画像を転写する転写装置48と、感光体41の周面に摺接するブレード46aを備えたクリーニング装置46等が配置してある。感光体41は、帯電装置42と現像ローラ44aとの間で露光手段によりミラー43を介して露光光Lbで走査されて露光される。この感光体41上の露光光Lbが照射される位置を露光部150と言う。
転写装置48は感光体41の下面と対向させて設けてある。この感光体41上の転写装置48と対向する部位が転写部47である。この転写部47のシートP搬送方向の上流側には、一対のレジストローラ49が設けてある。図示しない給紙トレイに収納されたシートPは給紙コロ110により給紙されて図示しない搬送ガイドによりレジストローラ49に向けて搬送案内される。また、転写部47より用紙P搬送方向の下流側には、本発明に係る定着装置10が配置してあり、定着装置10のニップ部出側の排紙経路に排紙センサ111を備える。該排紙センサ111は、印刷ジョブの最後のシートPのニップ部の通過を検知して、検知信号を出力するようになっており、この検知信号により印刷終了を検出することができる。
この画像形成装置における画像形成は次のようにして行う。感光体41が図示しない駆動部により回転駆動されて回転を始め、この回転中に感光体41が暗中において帯電装置42により均一に帯電され、露光手段によりミラー43を介して露光光Lbで露光部150が走査されることで、作成すべき画像に対応した潜像が感光体41に形成される。この感光体41上の潜像は、感光体41の回転により現像装置44に移動し、ここで現像装置44により現像されてトナー像が形成される。
一方、給紙コロ110により給紙トレイ上の記録材(シート)Pが給紙され、このシートPは図中に破線で示す搬送経路を経て一対のレジストローラ49の位置で一旦停止し、感光体41上のトナー像と転写部47で合致するような送り出しのタイミングを待つ。そして、そのタイミングでレジストローラ49が回転してシートPを送り出し、このシートPは転写部47に向けて搬送される。感光体41上のトナー像とシートPとが転写部47で合致し、転写装置48による電界によって感光体41上のトナー像がシートP上に転写される。
こうしてトナー像が転写されてこれを担持するシートPは、ついで定着装置10に向けて送り出される。シートP上のトナー像は定着装置10を通過する間にそのシートP上に定着され、このトナー像が定着された用紙Pは図示しない排紙部へ排紙される。
一方、転写部47で転写されずに感光体41上に残った残留トナーは、感光体41の回転と共にクリーニング装置46に至り、クリーニング装置46を通過する間に清掃されて次の画像形成に備える。
以上が1つの印刷ジョブである。なお、印刷ジョブとは1つの印刷要求に対応して行われるひとまとまりの画像形成処理(あるいは一度の印刷要求で出力される印刷作業)のことであり、1枚のシートに画像形成する場合と、複数枚のシートを連続通紙して画像形成する場合とがある。また、定着装置10では印刷ジョブに対応して定着処理が行なわれる。
図3は、本発明に係る定着装置の構成を示す断面図である。
図3に示すように、定着装置10は、円周方向に回動可能な無端状の定着ベルト1と、定着ベルト1と当接して、記録媒体(シートP)を通過させるニップ部Nを形成する加圧部材であるか圧ローラ2と、定着ベルト1の内部に配置され、ニップ部Nで定着ベルト1を介して加圧ローラ2を押圧する押圧部材4と、定着ベルト1の内部に配置され、定着ベルト1を加熱する発熱体であるヒータ3と、定着ベルト1の内部であってヒータ3と定着ベルト1の間に配置され、ヒータ3から定着ベルト1への輻射熱の供給量を前記記録媒体のサイズにより変更する熱量調整部材7と、を備える。
ここで、定着ベルト1は、無端ベルトであり、断面構造としては、例えばニッケル、ステンレス、ポリイミドなどの基材にシリコーンゴム層などの離型性を有する材料からなる弾性層を形成した2層構造となっている。
加圧ローラ2は、芯金にゴム等の弾性層が形成されてなるもので、定着ベルト1よりも熱容量が大きくなっている。この加圧ローラ2が定着ベルト1を挟んで押圧部材4と圧接してニップ部Nを形成し、このニップ部Nに未定着画像を形成した紙等のシートPを通紙することで熱と圧力によりトナー像をシートP上に定着させる。なお、ここでは回転する加圧ローラ2を例に示したが、2つのローラに掛け回された加圧ベルトとし、この2つのローラのうち一方を加圧ベルト及び定着ベルト1を挟んで押圧部材4と圧接してニップ部Nを形成するようにしてもよい。
ヒータ3は、ACヒータ、あるいはDCヒータからなる発熱体であり、例えばハロゲンヒータが用いられる。また、ヒータ3は、外部から電力が投入されて発熱し、その輻射熱により定着ベルト1を直接に、及び押圧部材4を経由して間接的に加熱するものであり、不図示の温度検知手段によって検知される定着ベルト1の温度が所定の温度となるように、投入電力が制御され、あるいは点灯、消灯制御される。
押圧部材4は、鉄やアルミなどの耐久性、耐熱性のよい材料からなり、ニップ部Nの幅に相当する長さを有する板状部材である。また、押圧部材4は、ニップ部Nに相当する部分は略平坦または加圧ローラ2の外周に沿った曲面と、その前後(ニップ部入り側、出側)で定着ベルト1の内周の曲面に沿った部分とからなる樋形状を呈しており、ヒータ3とともに固定されて配置されている。なお、押圧部材4をアルミ系材質(熱伝導率236W/m・K)等の熱伝導率が高い材質のものとすれば、小サイズ通紙時に生じやすい定着ベルト1の通紙部と非通紙部の温度差を、定着ベルト1の内面で接触している押圧部材4の熱伝導により改善できるので好ましい。
熱量調整部材7は、定着ベルト1の内部であってヒータ3と定着ベルト1の間に配置され、ヒータ3から定着ベルト1への輻射熱の供給量を記録媒体(シートP)のサイズにより変更するものである。図3では、定着ベルト1内でヒータ3に対し押圧部材4とは反対側(図中上側)であって、定着ベルト1に直接届きうるヒータ3の輻射熱のほとんどをさえぎるように、熱量調整部材7を配置している。
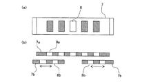
図4に、熱量調整部材7の詳細な構成を示す。
熱量調整部材7は、ヒータ3の輻射熱が通過する複数の開口部8が定着ベルト1の幅方向に並んで設けられた熱遮蔽部材である(図4(a))。なお、熱を遮蔽する観点から、熱量調整部材7のヒータ3に対向する側の表面がアルミ系材料からなることが好ましく、さらに熱反射率は95%以上の表面であることが好ましい。また、熱量調整部材7のヒータ3に対向する側の表面は光沢面であることが好適である。
また、熱量調整部材7のヒータ3とは反対側表面を耐熱樹脂層や耐熱ゴム層とすることで、定着ベルト1に対する断熱効果を高めることができ好適である。
また、熱量調整部材7は複数の板材が組み合わされてなるものである。図4(b)では、熱調整部材7は、定着ベルト1の幅に相当する長さの板材7aが1枚と、定着ベルト1の幅の半分以下の長さで定着ベルト1の幅方向にスライド可能に配置された板材7bが2枚とからなっているものを示している。このとき、3枚の板材それぞれには、複数で同形(矩形)の開口部8a,8bが同じピッチ(隣接する開口部8の間が開口部8の幅と同じ)で設けられており(板材7aには5個の開口部8、板材7bには2個の開口部8)、板材7aの開口部8aと板材7bの開口部8aは同じ位置となるように配置され、熱調整部材7として全幅で開口部8が設けられた状態となっている。すなわち、熱量調整部材7の開口量は幅方向全幅で一定となり、ヒータ3からの輻射熱は熱調整部材7の全幅で通過して定着ベルト1の全幅を加熱するようになる。これにより、定着装置10に最大サイズのシートPを通紙するときは定着ベルト1の全幅の温度が均一になる。
また、熱量調整部材7は、開口部8の開口面積または開口部8の数を変化させて、ヒータ3から定着ベルト1への輻射熱の供給量を調整することが好ましい。図4の構成では、板材7bを定着ベルト1の幅方向にスライドさせて、開口部8の開口面積または開口部8の数を変化させることが可能である。図5に、その例を示す。
図5では、2枚の板材7bそれぞれを、図4の状態から定着ベルト1の幅方向外側へスライドさせた状態を示している。これにより、板材7aの真中の開口部8a以外の開口部8aは板材7bで遮蔽され、板材7bの開口部7bはすべて板材7aで遮蔽されることとなり、熱量調整部材7としては中央に1つの開口部8のみを有する状態となる。すなわち、ヒータ3からの輻射熱は熱調整部材7の中央部のみを通過するようになる。これにより、定着装置10に小サイズのシートPを通紙するときは、熱量調整部材7の輻射熱の供給量を非通紙範囲では減らすことができ、定着ベルト1の通紙範囲を加熱し、非通紙範囲を加熱しないようにできる。
なお、図5では、開口部8a,8bが完全に板材7a,7bにより遮蔽された状態を示したが、開口部8a,8bの一部が板材7a,7bにより遮蔽された状態としてもよい。これによってもヒータ3からの輻射熱の供給量の調整が可能である。
ここで、小サイズ通紙時のヒータ3からの輻射熱の供給に関して、通紙範囲は押圧部材4と定着ベルト1に供給されるのに対し、非通紙部は熱量調整部材7により定着ベルト1へ供給される輻射熱が反射(遮断)し、押圧部材4に供給されるため、輻射熱の供給量は通紙範囲より非通紙範囲の方が多くなる。これにより、押圧部材4の非通紙範囲の温度が高くなりやすいが、押圧部材4をアルミ系材質等の熱伝導率が高い材質とすれば、押圧部材4の温度分布を均一にする(通紙範囲と非通紙範囲の温度差を改善する)効果が得られる。
また、押圧部材4の長手方向(通紙幅方向)に沿ってヒートパイプを押圧部材4に挿入することにより、押圧部材4の長手方向熱伝導率をさらに向上させることが可能で、押圧部材4の通紙範囲と非通紙範囲の温度差を改善する効果を向上させることができる。
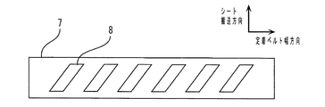
また、熱量調整部材7の開口部8の形状は、定着ベルト1における記録媒体(シートP)搬送方向に対し斜めに交差する矩形であることが好ましい。図6にその例を示す。
ヒータ3の輻射熱は開口部8を通過して定着ベルト1に到達する。そのため、開口部8に対応する位置の定着ベルト1の部分は加熱されるが、開口部8以外の部分は輻射熱は遮断されるため加熱され難い。定着ベルト1の材質は一般的に熱伝導率は低いため、熱量調整部材7の開口部ピッチ状に温度むらになり易い傾向がある。ここで図4のように、開口部8が定着ベルト1の幅方向を一辺、シート搬送方向を一辺とする長方形の場合には、定着ベルト1の幅方向で温度むらが発生し、定着不良が発生する可能性もある。そこで、図6のように、定着ベルト1における記録媒体(シートP)搬送方向に対し斜めに交差する矩形とすることで温度むらの発生を抑制することができる。
なお、これまで本発明を図面に示した実施形態をもって説明してきたが、本発明は図面に示した実施形態に限定されるものではなく、他の実施形態、追加、変更、削除など、当業者が想到することができる範囲内で変更することができ、いずれの態様においても本発明の作用・効果を奏する限り、本発明の範囲に含まれるものである。
従来の定着装置の構成を示す断面図である。 本発明に係る画像形成装置の構成を示す断面図である。 本発明に係る定着装置の構成を示す断面図である。 図3の定着装置で用いる熱量調整部材の構成(1)を示す概略図である。 図4の熱量調整部材の状態を変化させた構成を示す概略図である。 図3の定着装置で用いる熱量調整部材の構成(2)を示す概略図である。
符号の説明
1 定着ベルト
2 加圧ローラ
3 ヒータ
4 押圧部材
7 熱量調整部材
8,8a,8b 開口部
7a,7b 板材
10,90 定着装置
41 感光体
42 帯電装置
43 ミラー
44 現像装置
44a 現像ローラ
46 クリーニング装置
46a ブレード
47 転写部
48 転写装置
49 レジストローラ
51 プラグ
100 画像形成装置
110 給紙コロ
111 排紙センサ
120 ADF(自動原稿送り装置)
130 読取装置
140 画像形成部
150 露光部
Lb 露光光
N ニップ部
P シート(記録媒体)
T トナー

Claims (6)

  1. 円周方向に回動可能な無端状の定着ベルトと、
    前記定着ベルトと当接して、記録媒体を通過させるニップ部を形成する加圧部材と、
    前記定着ベルトの内部に配置され、前記ニップ部で定着ベルトを介して加圧部材を押圧する押圧部材と、
    前記定着ベルトの内部に配置され、定着ベルトを加熱する発熱体と、
    前記定着ベルトの内部であって発熱体と定着ベルトの間に配置され、該発熱体から定着ベルトへの輻射熱の供給量を前記記録媒体のサイズにより変更する熱量調整部材と、
    を備える定着装置。
  2. 前記熱量調整部材は、前記発熱体の輻射熱が通過する複数の開口部が設けられた熱遮蔽部材であり、前記開口部の開口面積または開口部の数を変化させて、前記発熱体から定着ベルトへの輻射熱の供給量を調整する請求項1に記載の定着装置。
  3. 前記熱量調整部材の開口部の形状は、定着ベルトにおける記録媒体搬送方向に対し斜めに交差する矩形である請求項2に記載の定着装置。
  4. 前記熱量調整部材の前記発熱体に対向する側の表面が光沢面である請求項2または3に記載の定着装置。
  5. 前記熱量調整部材の前記発熱体に対向する側の表面がアルミ系材料からなる請求項2〜4のいずれかに記載の定着装置。
  6. 請求項1〜5のいずれかに記載の定着装置を備える画像形成装置。
JP2008197745A 2008-07-31 2008-07-31 定着装置及び画像形成装置 Expired - Fee Related JP5239599B2 (ja)

Priority Applications (1)

Application Number Priority Date Filing Date Title
JP2008197745A JP5239599B2 (ja) 2008-07-31 2008-07-31 定着装置及び画像形成装置

Applications Claiming Priority (1)

Application Number Priority Date Filing Date Title
JP2008197745A JP5239599B2 (ja) 2008-07-31 2008-07-31 定着装置及び画像形成装置

Publications (2)

Publication Number Publication Date
JP2010032973A true JP2010032973A (ja) 2010-02-12
JP5239599B2 JP5239599B2 (ja) 2013-07-17

Family

ID=41737486

Family Applications (1)

Application Number Title Priority Date Filing Date
JP2008197745A Expired - Fee Related JP5239599B2 (ja) 2008-07-31 2008-07-31 定着装置及び画像形成装置

Country Status (1)

Country Link
JP (1) JP5239599B2 (ja)

Cited By (17)

* Cited by examiner, † Cited by third party
Publication number Priority date Publication date Assignee Title
JP2013097238A (ja) * 2011-11-02 2013-05-20 Ricoh Co Ltd 定着装置と画像形成装置
JP2013195555A (ja) * 2012-03-16 2013-09-30 Ricoh Co Ltd 定着装置、画像形成装置及び熱量調整方法
JP2013242383A (ja) * 2012-05-18 2013-12-05 Ricoh Co Ltd 定着装置及び画像形成装置
JP2014056204A (ja) * 2012-09-14 2014-03-27 Ricoh Co Ltd 定着装置及び画像形成装置
JP2014059332A (ja) * 2012-09-14 2014-04-03 Ricoh Co Ltd 定着装置及び画像形成装置
JP2014142406A (ja) * 2013-01-22 2014-08-07 Ricoh Co Ltd 押圧部材、定着装置及び画像形成装置
JP2014174376A (ja) * 2013-03-11 2014-09-22 Ricoh Co Ltd 定着装置及び画像形成装置
JP2014224839A (ja) * 2013-05-15 2014-12-04 株式会社リコー 定着装置およびこれを備えた画像形成装置
US9052621B2 (en) 2012-01-30 2015-06-09 Ricoh Company, Ltd. Image forming apparatus
CN104730888A (zh) * 2013-12-18 2015-06-24 柯尼卡美能达株式会社 定影装置以及图像形成装置
US9141040B2 (en) 2010-12-01 2015-09-22 Fuji Xerox Co., Ltd. Image forming apparatus and fixing device
US9229379B2 (en) 2012-09-11 2016-01-05 Ricoh Company, Limited Fixing device and image forming apparatus
JP2016090764A (ja) * 2014-11-04 2016-05-23 キヤノン株式会社 画像加熱装置
US9389550B2 (en) 2013-03-15 2016-07-12 Ricoh Company, Ltd. Fixing device, image forming apparatus, and fixing method
JP2018087844A (ja) * 2016-11-28 2018-06-07 株式会社リコー 定着装置及び画像形成装置
JP2020181093A (ja) * 2019-04-25 2020-11-05 株式会社リコー 定着装置及び画像形成装置
US10877412B2 (en) 2017-07-11 2020-12-29 Canon Kabushiki Kaisha Fixing device

Citations (2)

* Cited by examiner, † Cited by third party
Publication number Priority date Publication date Assignee Title
JP2002040850A (ja) * 2000-07-31 2002-02-06 Konica Corp 定着装置
JP2002049263A (ja) * 2000-08-02 2002-02-15 Konica Corp 画像定着装置

Patent Citations (2)

* Cited by examiner, † Cited by third party
Publication number Priority date Publication date Assignee Title
JP2002040850A (ja) * 2000-07-31 2002-02-06 Konica Corp 定着装置
JP2002049263A (ja) * 2000-08-02 2002-02-15 Konica Corp 画像定着装置

Cited By (20)

* Cited by examiner, † Cited by third party
Publication number Priority date Publication date Assignee Title
US9141040B2 (en) 2010-12-01 2015-09-22 Fuji Xerox Co., Ltd. Image forming apparatus and fixing device
JP2013097238A (ja) * 2011-11-02 2013-05-20 Ricoh Co Ltd 定着装置と画像形成装置
US9052621B2 (en) 2012-01-30 2015-06-09 Ricoh Company, Ltd. Image forming apparatus
JP2013195555A (ja) * 2012-03-16 2013-09-30 Ricoh Co Ltd 定着装置、画像形成装置及び熱量調整方法
JP2013242383A (ja) * 2012-05-18 2013-12-05 Ricoh Co Ltd 定着装置及び画像形成装置
US9229379B2 (en) 2012-09-11 2016-01-05 Ricoh Company, Limited Fixing device and image forming apparatus
JP2014056204A (ja) * 2012-09-14 2014-03-27 Ricoh Co Ltd 定着装置及び画像形成装置
JP2014059332A (ja) * 2012-09-14 2014-04-03 Ricoh Co Ltd 定着装置及び画像形成装置
JP2014142406A (ja) * 2013-01-22 2014-08-07 Ricoh Co Ltd 押圧部材、定着装置及び画像形成装置
JP2014174376A (ja) * 2013-03-11 2014-09-22 Ricoh Co Ltd 定着装置及び画像形成装置
US9389550B2 (en) 2013-03-15 2016-07-12 Ricoh Company, Ltd. Fixing device, image forming apparatus, and fixing method
JP2014224839A (ja) * 2013-05-15 2014-12-04 株式会社リコー 定着装置およびこれを備えた画像形成装置
JP2015118238A (ja) * 2013-12-18 2015-06-25 コニカミノルタ株式会社 定着装置および画像形成装置
CN104730888A (zh) * 2013-12-18 2015-06-24 柯尼卡美能达株式会社 定影装置以及图像形成装置
CN104730888B (zh) * 2013-12-18 2017-06-30 柯尼卡美能达株式会社 定影装置以及图像形成装置
JP2016090764A (ja) * 2014-11-04 2016-05-23 キヤノン株式会社 画像加熱装置
JP2018087844A (ja) * 2016-11-28 2018-06-07 株式会社リコー 定着装置及び画像形成装置
US10877412B2 (en) 2017-07-11 2020-12-29 Canon Kabushiki Kaisha Fixing device
JP2020181093A (ja) * 2019-04-25 2020-11-05 株式会社リコー 定着装置及び画像形成装置
JP7284453B2 (ja) 2019-04-25 2023-05-31 株式会社リコー 定着装置及び画像形成装置

Also Published As

Publication number Publication date
JP5239599B2 (ja) 2013-07-17

Similar Documents

Publication Publication Date Title
JP5239599B2 (ja) 定着装置及び画像形成装置
JP5445188B2 (ja) 定着装置及び画像形成装置
JP5173464B2 (ja) 画像形成装置
JP6286840B2 (ja) 定着装置及び画像形成装置
JP6361269B2 (ja) 定着装置及び画像形成装置
JP5016803B2 (ja) 画像加熱装置
JP6299462B2 (ja) 定着装置及び画像形成装置
JP2011064767A (ja) 定着装置及び画像形成装置
US20140029968A1 (en) Image heating apparatus
JP2014170137A (ja) 定着装置及び画像形成装置
JP5915093B2 (ja) 定着装置と画像形成装置
JP6462204B2 (ja) 定着装置および画像形成装置
JP2022171972A (ja) 定着装置、及び、画像形成装置
JP2017134152A (ja) 定着装置
JP6682861B2 (ja) 定着装置及びそれを用いた画像形成装置
JP5938964B2 (ja) 定着装置、画像形成装置及び熱量調整方法
JP6436723B2 (ja) 画像加熱装置
JP2014178533A (ja) 定着装置および画像形成装置
JP6578754B2 (ja) 定着装置及び画像形成装置
JP2020016769A (ja) 定着装置及び画像形成装置
JP7223320B2 (ja) 定着装置、画像形成装置
JP4612862B2 (ja) 像加熱装置
JP2017125936A (ja) 定着装置および画像形成装置
JP2015072408A (ja) 定着装置および画像形成装置
JP7552402B2 (ja) 定着装置および画像形成装置

Legal Events

Date Code Title Description
A621 Written request for application examination

Free format text: JAPANESE INTERMEDIATE CODE: A621

Effective date: 20110613

A131 Notification of reasons for refusal

Free format text: JAPANESE INTERMEDIATE CODE: A131

Effective date: 20121113

A977 Report on retrieval

Free format text: JAPANESE INTERMEDIATE CODE: A971007

Effective date: 20121114

A521 Request for written amendment filed

Free format text: JAPANESE INTERMEDIATE CODE: A523

Effective date: 20121221

A131 Notification of reasons for refusal

Free format text: JAPANESE INTERMEDIATE CODE: A131

Effective date: 20130122

A521 Request for written amendment filed

Free format text: JAPANESE INTERMEDIATE CODE: A523

Effective date: 20130213

TRDD Decision of grant or rejection written
A01 Written decision to grant a patent or to grant a registration (utility model)

Free format text: JAPANESE INTERMEDIATE CODE: A01

Effective date: 20130305

A61 First payment of annual fees (during grant procedure)

Free format text: JAPANESE INTERMEDIATE CODE: A61

Effective date: 20130318

FPAY Renewal fee payment (event date is renewal date of database)

Free format text: PAYMENT UNTIL: 20160412

Year of fee payment: 3

R151 Written notification of patent or utility model registration

Ref document number: 5239599

Country of ref document: JP

Free format text: JAPANESE INTERMEDIATE CODE: R151

FPAY Renewal fee payment (event date is renewal date of database)

Free format text: PAYMENT UNTIL: 20160412

Year of fee payment: 3

LAPS Cancellation because of no payment of annual fees