JP2010032659A - 波長選択フィルタ、フィルタ装置、光源装置、光学装置及び屈折率センサ - Google Patents

波長選択フィルタ、フィルタ装置、光源装置、光学装置及び屈折率センサ Download PDF

Info

Publication number
JP2010032659A
JP2010032659A JP2008192942A JP2008192942A JP2010032659A JP 2010032659 A JP2010032659 A JP 2010032659A JP 2008192942 A JP2008192942 A JP 2008192942A JP 2008192942 A JP2008192942 A JP 2008192942A JP 2010032659 A JP2010032659 A JP 2010032659A
Authority
JP
Japan
Prior art keywords
wavelength
light
refractive index
layer
light source
Prior art date
Legal status (The legal status is an assumption and is not a legal conclusion. Google has not performed a legal analysis and makes no representation as to the accuracy of the status listed.)
Granted
Application number
JP2008192942A
Other languages
English (en)
Other versions
JP5256906B2 (ja
Inventor
Masahiro Fujimoto
真裕 藤本
Hideaki Hirai
秀明 平井
Manabu Seo
学 瀬尾
Current Assignee (The listed assignees may be inaccurate. Google has not performed a legal analysis and makes no representation or warranty as to the accuracy of the list.)
Ricoh Co Ltd
Original Assignee
Ricoh Co Ltd
Priority date (The priority date is an assumption and is not a legal conclusion. Google has not performed a legal analysis and makes no representation as to the accuracy of the date listed.)
Filing date
Publication date
Application filed by Ricoh Co Ltd filed Critical Ricoh Co Ltd
Priority to JP2008192942A priority Critical patent/JP5256906B2/ja
Priority to EP09251885A priority patent/EP2149802B1/en
Priority to US12/510,448 priority patent/US8213083B2/en
Publication of JP2010032659A publication Critical patent/JP2010032659A/ja
Application granted granted Critical
Publication of JP5256906B2 publication Critical patent/JP5256906B2/ja
Expired - Fee Related legal-status Critical Current
Anticipated expiration legal-status Critical

Links

Images

Classifications

    • GPHYSICS
    • G02OPTICS
    • G02BOPTICAL ELEMENTS, SYSTEMS OR APPARATUS
    • G02B5/00Optical elements other than lenses
    • G02B5/18Diffraction gratings
    • G02B5/1847Manufacturing methods
    • G02B5/1857Manufacturing methods using exposure or etching means, e.g. holography, photolithography, exposure to electron or ion beams
    • GPHYSICS
    • G02OPTICS
    • G02BOPTICAL ELEMENTS, SYSTEMS OR APPARATUS
    • G02B5/00Optical elements other than lenses
    • G02B5/18Diffraction gratings
    • G02B5/1861Reflection gratings characterised by their structure, e.g. step profile, contours of substrate or grooves, pitch variations, materials
    • GPHYSICS
    • G01MEASURING; TESTING
    • G01NINVESTIGATING OR ANALYSING MATERIALS BY DETERMINING THEIR CHEMICAL OR PHYSICAL PROPERTIES
    • G01N21/00Investigating or analysing materials by the use of optical means, i.e. using sub-millimetre waves, infrared, visible or ultraviolet light
    • G01N21/75Systems in which material is subjected to a chemical reaction, the progress or the result of the reaction being investigated
    • G01N21/77Systems in which material is subjected to a chemical reaction, the progress or the result of the reaction being investigated by observing the effect on a chemical indicator
    • G01N2021/7769Measurement method of reaction-produced change in sensor
    • G01N2021/7773Reflection
    • GPHYSICS
    • G02OPTICS
    • G02BOPTICAL ELEMENTS, SYSTEMS OR APPARATUS
    • G02B7/00Mountings, adjusting means, or light-tight connections, for optical elements
    • G02B7/003Alignment of optical elements

Landscapes

  • Physics & Mathematics (AREA)
  • General Physics & Mathematics (AREA)
  • Optics & Photonics (AREA)
  • Engineering & Computer Science (AREA)
  • Manufacturing & Machinery (AREA)
  • Optical Filters (AREA)
  • Diffracting Gratings Or Hologram Optical Elements (AREA)

Abstract

【課題】波長選択性が高く、光の入射角の許容範囲が広い波長選択フィルタを提供する。
【解決手段】入射光が入射する面に形成され、X軸方向に関して矩形波形状の凹凸構造部を有する基板101aと、該凹凸構造部を覆う透明膜101bとを有し、透明膜101bの屈折率は、基板101aの屈折率よりも大きい。また、各凸部の+X側に隣接する透明膜101bと、各凸部の−X側に隣接する透明膜101bとの間に空気の層を有している。この場合には、波長選択性が高く、かつ光の入射角の許容範囲を従来よりも広くすることが可能となる。
【選択図】図7

Description

本発明は、波長選択フィルタ、フィルタ装置、光源装置、光学装置及び屈折率センサに係り、更に詳しくは、入射光に含まれる特定波長の光を選択的に共鳴反射する波長選択フィルタ、及び該波長選択フィルタを有するフィルタ装置、前記波長選択フィルタあるいは前記フィルタ装置を有する光源装置、該光源装置を備える光学装置、及び前記波長選択フィルタを有する屈折率センサに関する。
光学系や光学装置では、互いに波長の異なる複数の光が混在している光の中から特定波長の光のみを必要とする場合がある。この場合に、一般的に波長選択フィルタ(波長フィルタともいう)が利用されている。
例えば、特許文献1には、表面に微細凹凸を有する基板と、微細凹凸面を覆う誘電体層とを備え、微細凹凸及び誘電体層が凹凸面に入射した光の導波層を形成している波長フィルタが開示されている。
また、特許文献2には、入射光のうち、共鳴条件に合った特定波長の光を反射光として選択的に反射させるチューナブル波長選択フィルタが開示されている。
ところで、特許文献3には、被測定物の屈折率を検出するための屈折率センサが開示されている。
特許第3711446号公報 特開2005−275089号公報 特開2007−232456号公報
しかしながら、特許文献1に開示されている波長フィルタでは、光の入射角が設計値からずれると、波長フィルタで反射される特定波長の光の光量が低下するという不都合があった。さらに、特許文献1に開示されている波長フィルタでは、光の入射角が設計値からずれると、特定波長とは異なる複数の波長の光が反射されるおそれがあった。
また、特許文献2に開示されているチューナブル波長選択フィルタは、微細な電極を基板上に作製しなければならないため作製が難しく、また、導波層に特殊な材料を用いる必要があるため低コストでの作製が困難であるという不都合があった。
本発明は、かかる事情の下になされたもので、その第1の目的は、波長選択性が高く、光の入射角の許容範囲が広い波長選択フィルタを提供することにある。
本発明の第2の目的は、高コスト化を招くことなく、容易に所望の波長の光を反射することができるフィルタ装置を提供することにある。
本発明の第3の目的は、高コスト化を招くことなく、容易に所望の波長の光を出力することができる光源装置を提供することにある。
本発明の第4の目的は、高コスト化を招くことなく、所望の光学特性を得ることができる光学装置を提供することにある。
本発明の第5の目的は、高コスト化を招くことなく、対象物の屈折率を精度良く検出することができる屈折率センサを提供することにある。
本発明は、第1の観点からすると、入射光に含まれる特定波長の光を選択的に共鳴反射する波長選択フィルタであって、前記入射光が入射する面に形成され、一の軸方向に関して矩形波形状の凹凸構造部を有する基板と;前記一の軸方向に関して、前記凹凸構造部における各凸部の一側の面を覆う第1の層と、前記各凸部の他側の面を覆う第2の層とを含む多層構造体と;を有し、前記第1の層の屈折率及び前記第2の層の屈折率は、いずれも前記基板の屈折率よりも大きいことを特徴とする波長選択フィルタである。
なお、本明細書では、「矩形波形状」は、正方形、長方形だけでなく、台形、及び少なくとも1つの角が面取りされた形状も含むものとする。
これによれば、波長選択性が高く、かつ光の入射角の許容範囲を広くすることが可能となる。
本発明は、第2の観点からすると、本発明の波長選択フィルタと;前記波長選択フィルタを、前記基板の表面に平行で前記一の軸方向に直交する軸まわりに回動させる回動機構と;を備えるフィルタ装置である。
これによれば、本発明の波長選択フィルタを有しているため、高コスト化を招くことなく、容易に所望の波長の光を反射することが可能となる。
本発明は、第3の観点からすると、光源と;前記光源からの光束を略平行光とする光学素子と;前記光学素子を介した光束が入射される本発明の波長選択フィルタと;を備え、前記波長選択フィルタで反射された光束を出力することを特徴とする第1の光源装置である。
本発明は、第4の観点からすると、光源と;前記光源からの光束を略平行光とする光学素子と;前記光学素子を介した光束が入射される本発明のフィルタ装置と;を備え、前記フィルタ装置の波長選択フィルタで反射された光束を出力することを特徴とする第2の光源装置である。
上記各光源装置によれば、いずれも本発明の波長選択フィルタを有しているため、高コスト化を招くことなく、容易に所望の波長の光を出力することが可能となる。
本発明は、第5の観点からすると、本発明の光源装置と;前記光源装置から出力された光束が入射される光学系と;を備える光学装置である。
これによれば、本発明の光源装置を備えているため、結果として高コスト化を招くことなく、所望の光学特性を得ることが可能となる。
本発明は、第6の観点からすると、対象物の屈折率を検出するための屈折率センサであって、光源と;前記光源からの光束を略平行光とする第1の光学素子と;前記第1の光学素子を介した光束を直線偏光とする第2の光学素子と;前記第2の光学素子から射出され、対象物を透過した光束が入射される本発明の波長選択フィルタと;前記波長選択フィルタで反射された光束のピーク波長を求め、該ピーク波長に基づいて前記対象物の屈折率を検出する検出装置と;を備える屈折率センサである。
これによれば、本発明の波長選択フィルタを有しているため、高コスト化を招くことなく、対象物の屈折率を精度良く検出することが可能となる。
以下、本発明の一実施形態を図1〜図26に基づいて説明する。図1には、本発明の一実施形態に係る光源装置10が示されている。
この光源装置10は、光源11、カップリングレンズ13、光学フィルタ装置15、反射ミラー17などを備えている。
前記光源11は、互いに波長が異なる複数の光が混在する光束を出力する。
前記カップリングレンズ13は、光源11からの光束を略平行光とする。なお、本明細書では、XYZ3次元直交座標系において、カップリングレンズ13の光軸方向をZ軸方向として説明する。
前記光学フィルタ装置15は、カップリングレンズ13を介した略平行の光束が入射され、特定の波長範囲内の光束のみを反射する。この光学フィルタ装置15の詳細については後述する。
前記反射ミラー17は、光学フィルタ装置15で反射された光束の光路上に配置され、該光束を+Z方向に反射する。この反射ミラー17で反射された光束が光源装置10から出力される。すなわち、光源装置10からは、特定の波長範囲内の光束が略平行光として出力される。
そして、光源装置10から出力された光束は、上記特定の波長範囲内の光束に対して最適化されている光学系20に導かれる。なお、光源装置10及び光学系20を含む光学装置として、特定の波長範囲内の光を利用した分析装置、検査装置、計測装置などがある。
ここで、前記光学フィルタ装置15について説明する。
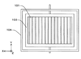
光学フィルタ装置15は、一例として図2〜図4に示されるように、波長選択フィルタ101、保持部材103、回動支持部材104、駆動機構105などを備えている。なお、図4は図2のA−A断面図である。
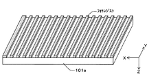
上記波長選択フィルタ101は、一例として図5に示されるように板状の部材であり、カップリングレンズ13を介した略平行の光束が入射する側の面(ここでは、−Z側の面)に、複数の直線状の溝が等間隔で形成されている。ここでは、X軸方向を溝の配列方向に平行な方向としている。
なお、本実施形態では、一例として、波長選択フィルタ101は、入射角0度でTM偏光の光が入射されたとき、波長605nmの光が選択的に反射(共鳴反射)されるように設計されている。すなわち、共鳴波長が605nmとなるように設計されている。ところで、TM偏光とは、その磁界の方向が溝に平行である光をいう(オプトロニクス社「回折光学素子入門」p67参照)。
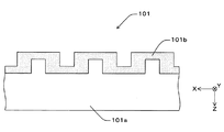
波長選択フィルタ101は、図5の一部を拡大した図6に示されるように、透明な基板101aと、透明膜101bとを有している。
基板101aは、その−Z側の面に、X軸方向に関して矩形波形状の凹凸構造部を有している(図10参照)。そして、該凹凸構造部は、透明膜101bによって被覆されている。
基板101aの材料には、一例として屈折率1.46の石英(SiO)が用いられている。また、透明膜101bの材料には、一例として屈折率2.12の五酸化タンタル(Ta)が用いられている。
ところで、図7に示されるように、基板101aの凹凸構造部における凸部(以下では、便宜上、単に「凸部」ともいう)の−X側に隣接する透明膜101bを第1の層、+X側に隣接する透明膜101bを第2の層、第1の層と第2の層との間の空気の層を第3の層とする。そして、X軸方向に関して、凸部の幅をt0、第1の層の幅をt1、第2の層の幅をt2、第3の層の幅をt3とする。また、基板101aの屈折率をn0、第1の層の屈折率をn1、第2の層の屈折率をn2、第3の層の屈折率をn3とする。さらに、基板101aの凹凸構造部の溝深さをdとする。
ここでは、t0=100nm、t1=100nm、t2=100nm、t3=100nm、d=100nmである。そこで、ピッチPは400nm、ランド幅Lは300nm、フィルタリングファクタFFは0.75(=L/P)である。
そして、n0=1.46、n1=2.12、n2=2.12、n3=1.00である。すなわち、n1=n2>n0>n3の関係が満足されている。
また、凸部の上面及び凹部の底面を覆っている透明膜101bの膜厚tzは50nmである。
次に、波長選択フィルタ101の製造方法について簡単に説明する。
(1)平板状の基板101aにおける片側(ここでは、−Z側)の面にフォトレジストを塗布し、フォトレジスト層を形成する(図8(A)参照)。
(2)フォトレジスト層に所定の格子パターンを投影し、現像する。これにより、基板101aの表面に格子状のレジストパターンが形成される(図8(B)及び図9参照)。
(3)レジストパターンが形成された基板101aを、イオンビームエッチング装置、反応性イオンエッチング装置、あるいはプラズマエッチング装置などのドライエッチング装置にセットし、レジストパターンをマスクとしてエッチングする。
(4)所望の深さまでエッチングされると、ドライエッチング装置から取り出し、アセトン等の有機溶剤による溶出または酸素プラズマ中での分解によってレジストパターンを除去する(図8(C)及び図10参照)。これによって、基板101aの表面に、X軸方向に関して矩形波形状の凹凸構造部が形成される。
(5)物理的気相成長法(PVD)あるいは化学的気相成長法(CVD)などを用いて、凹凸構造部の上に透明膜101bを形成する(図8(D)参照)。なお、スピンコートやディッピングなどによって液体の原料を凹凸構造部の上に塗布し、その後ベーク処理などの後処理をすることによって、透明膜101bを形成することも可能である。但し、凸部の側面にも透明膜101bが形成されるような等方的な成膜手段が好ましい。
上記のようにして製造された波長選択フィルタ101に、TM偏光の入射光が入射角0度で入射されたときの、入射光の波長と反射率との関係が図11に示されている。反射率が最も大きい波長(以下では、「ピーク波長」ともいう)は605nmであった。そして、ピーク波形における半値幅は7.1nmであり、ピーク波長の約1.2%と極めて狭かった。また、ピーク波長からある程度離れた波長では、反射率は0.1以下であった。このことから、波長選択フィルタ101は、605nmを中心とする狭帯域の波長選択フィルタとして機能するとともに、いわゆる非共鳴反射光の反射率が低いことが分かる。すなわち、所望の波長範囲内の光のみを反射するのに適している。
図12には、波長選択フィルタ101に波長605nmの光を入射したときの、入射角と反射率との関係が示されている。ピーク波形における半値幅は3.0度であった。
比較のため、図13に示されるように基板が三角波形状の凹凸構造部を有する従来の波長選択フィルタ(特許文献1の図5(a)参照)に、特定波長である波長623.4nmの光を入射したときの、入射角と反射率との関係が図14に示されている。この場合のピーク波形における半値幅は0.05度であった。
すなわち、波長選択フィルタ101における入射角の許容範囲は、従来の波長選択フィルタにおける入射角の許容範囲よりも約60倍広い。なお、図14は、特許文献1の図5(a)に開示されている波長フィルタと同じ構造の波長選択フィルタを想定し、いわゆるRCWA(Rigorous Coupling Wave Analysis)法を用いて計算したものである。
従って、入射光が若干発散気味の光束、あるいは若干収束気味の光束であっても、高い光量の反射光を得ることができる。このことは、光源装置10における光源11とカップリングレンズ13の位置関係に余裕を持たせることができ、それらの組み付け工程、及び調整工程を簡略化することができる。また、カップリングレンズ13として安価なレンズを用いることができる。すなわち、光源装置10の低コスト化を図ることが可能となる。
ところで、計算によると、従来の波長選択フィルタ(特許文献1の図5(a)参照)では、入射光の入射角が0度からずれると、入射光の波長と反射率との関係において、2つのピークが出現する(図15(A)及び図15(B)参照)。図15(A)には、入射角が0.1度の場合が示され、図15(B)には、入射角が0.2度の場合が示されている。いずれの場合も、各ピーク波長は特定波長である623.4nmとは異なる波長である。すなわち、特定波長とは異なる複数の波長の光が反射されることとなる。そして、入射角のずれが小さいときは、2つのピークの波長域が近く、1種類の波長域のみを分離することが難しかった(図16参照)。
一方、波長選択フィルタ101では、入射光の入射角が0度からずれても、入射光の波長と反射率との関係において出現するピークは1つだけであった。
前記保持部材103は、波長選択フィルタ101を保持する部材であり、一例として図17(A)〜図17(C)に示されるように、中央に開口部を有する枠部103aと、該枠部103aの+Y側の側面の中央及び−Y側の側面の中央に設けられ、Y軸方向に延びる丸棒状の突起部103bとを有している。保持部材103と波長選択フィルタ101は、一例として図18に示されるように、枠部103aの−Z側の面と波長選択フィルタ101の+Z側の面とを介して接着されている。
前記回動支持部材104は、保持部材103を支持する部材であり、一例として図19(A)及び図19(B)に示されるように、保持部材103の枠部103aよりも一回り大きな開口部を中央に有している。また、回動支持部材104は、保持部材103の突起部103bを支持するための貫通孔を有している。
回動支持部材104は、一例として図20に示されるように、貫通孔を有する少なくとも一方の部分を取り外すことが可能であり、保持部材103の各突起部103bを容易に貫通孔に挿入することができる(図21参照)。
駆動機構105は、保持部材103の一方の突起部103bを回動させる。これにより、一例として図22(A)及び図22(B)に示されるように、回動支持部材104に対して保持部材103を傾斜させることができる。その結果、波長選択フィルタ101に対する入射光の入射角度を変更することができる。
図23には、種々の入射角(0度、5度、10度、15度)について、波長選択フィルタ101における入射光の波長と反射率との関係が示されている。また、図24には、波長選択フィルタ101における入射光の入射角と反射光のピーク波長との関係が示されている。これらから、入射角を大きくするほどピーク波長が大きくなることがわかる。
そこで、駆動機構105を介して波長選択フィルタ101に対する入射光の入射角度を変更することにより、波長選択フィルタ101で反射される光の波長を調整することができる。すなわち、光源装置10から出力される光束の波長域及び該波長域の中心波長を可変とすることができる。なお、駆動機構105は、手動で突起部103bを回動させる機構であっても良いし、例えばモータを有し、電気的に突起部103bを回動させる機構であっても良い。
駆動機構105は、保持部材103の回動位置をロックする不図示のロック機構を備えており、波長選択フィルタ101で反射された光の波長が所望の波長になると、保持部材103の回動位置をロックすることができるようになっている。
なお、前記反射ミラー17は、光源装置10からの光束の出力方向が常に+Z方向となるように、その姿勢を調整することが可能である。
ところで、波長選択フィルタ101は、図25及び図26に示されるように、ピッチPを変更することによっても、反射光のピーク波長を変更することができる。そこで、このことを利用して、波長選択フィルタ101と同様な構造及び特性を有し、用途に応じた反射帯域の波長選択フィルタを製造することができる。なお、図25及び図26では、t0=t1=t2=t3の関係を維持したままピッチPを変更している。
以上説明したように、本実施形態に係る波長選択フィルタ101によると、入射光が入射する面に形成され、X軸方向に関して矩形波形状の凹凸構造部を有する基板101aと、該凹凸構造部を覆う透明膜101bとを有している。すなわち、凹凸構造部における各凸部の+X側の面及び−X側の面は、いずれも透明膜101bによって覆われている。そして、透明膜101bの屈折率は、基板101aの屈折率よりも大きい。
また、各凸部の+X側に隣接する透明膜101bと、各凸部の−X側に隣接する透明膜101bとの間に空気の層を有している。
この場合には、波長選択性が高く、かつ光の入射角の許容範囲を従来よりも広くすることが可能となる。
また、本実施形態に係る光学フィルタ装置15によると、波長選択性が高く、かつ光の入射角の許容範囲が広い波長選択フィルタ101を有しているため、高コスト化を招くことなく、容易に所望の波長の光のみを反射することが可能となる。
また、本実施形態に係る光源装置10によると、高コスト化を招くことなく、所望の波長の光のみを反射することができる光学フィルタ装置15を備えているため、結果として、高コスト化を招くことなく、容易に所望の波長の光を出力することが可能となる。
なお、上記実施形態において、透明膜101bの材料に、屈折率が2.35の酸化チタン(TiO)、屈折率が2.33の五酸化ニオブ(Nb)、屈折率が1.63の酸化アルミニウム(Al)を用いても良い。
また、上記実施形態では、共鳴波長が605nmの場合について説明したが、本発明がこれに限定されるものではない。一例として、共鳴波長が623nmの波長選択フィルタ201が図27に示されている。
この波長選択フィルタ201は、前記波長選択フィルタ101と同様に、板状の部材であり、光が入射する側の面に、複数の直線状の溝が等間隔で形成されている。
波長選択フィルタ201は、図27の一部を拡大した図28に示されるように、凹凸構造が形成されている基板101aと、透明膜101bとを有しているが、前記波長選択フィルタ101と異なり、透明膜101bは、各凸部の側面のみを被覆している。すなわち、凹凸構造部における各凸部の+X側の面及び−X側の面は、いずれも透明膜101bによって覆われている。
ここでは、t0=100nm、t1=100nm、t2=100nm、t3=100nm、d=200nmである(図29参照)。そこで、ピッチPは400nm、ランド幅Lは300nm、フィルタリングファクタFFは0.75(=L/P)である。
そして、n0=1.46、n1=2.12、n2=2.12、n3=1.00である。すなわち、n1=n2>n0>n3の関係が満足されている。
この波長選択フィルタ201の製造方法について簡単に説明する。
(1)平板状の基板101aにおける片側(ここでは、−Z側)の面にフォトレジストを塗布し、フォトレジスト層を形成する(図30(A)参照)。
(2)フォトレジスト層に所定の格子パターンを投影し、現像する。これにより、基板101aの表面に格子状のレジストパターンが形成される(図30(B)参照)。
(3)レジストパターンが形成された基板101aをドライエッチング装置にセットし、レジストパターンをマスクとしてエッチングする。
(4)所望の深さまでエッチングされると、ドライエッチング装置から取り出し、レジストパターンを除去する(図30(C)参照)。これによって、基板101aの表面にX軸方向に関して矩形波形状の凹凸構造部が形成される。
(5)物理的気相成長法(PVD)あるいは化学的気相成長法(CVD)などを用いて、凹凸構造部の上に透明膜101bを形成する(図30(D)参照)。
(6)透明膜101bが形成された基板101aをドライエッチングし、凸部の上面及び凹部の底面にそれぞれ形成された透明膜101bを除去する(図30(E)参照)。ドライエッチングでは条件によっては高い異方性でエッチングを行うことが可能であるため、プラズマ条件等を適切に選択することによって、凹凸構造部の側面のエッチングを抑えつつ垂直方向にエッチングを行うことが可能である。
上記のようにして製造された波長選択フィルタ201に、TM偏光の入射光が入射角0度で入射されたときの、入射光の波長と反射率との関係が図31に示されている。ピーク波長は623nmであった。また、ピーク波形における半値幅は3.7nmであり、ピーク波長の約0.6%と極めて狭かった。また、ピーク波長からある程度離れた波長では、反射率は0.1以下であった。このことから、波長選択フィルタ201は、623nmを中心とする狭帯域の波長選択フィルタとして機能するとともに、いわゆる非共鳴反射光の反射率が低いことが分かる。すなわち、所望の波長範囲内の光のみを反射するのに適している。
図32には、波長選択フィルタ201に波長623nmの光を入射したときの、入射角と反射率との関係が示されている。ピーク波形における半値幅は3.2度であった。すなわち、波長選択フィルタ201における入射角の許容範囲は、従来の波長選択フィルタにおける入射角の許容範囲よりも約64倍広い。
従って、入射光が若干発散気味の光束、あるいは若干収束気味の光束であっても、高い光量の反射光を得ることができる。
また、波長選択フィルタ201では、入射光の入射角が0度からずれても、入射光の波長と反射率との関係において出現するピークは1つだけであった。
また、波長選択フィルタ201は、図33及び図34に示されるように、ピッチPを変更することによっても、反射光のピーク波長を変更することができる。そこで、このことを利用して、波長選択フィルタ201と同様な構造及び特性を有し、用途に応じた反射帯域の波長選択フィルタを製造することができる。なお、図33及び図34では、t0=t1=t2=t3の関係を維持したままピッチPを変更している。
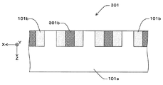
また、一例として、共鳴波長が630nmの波長選択フィルタ301が、図35に示されている。
この波長選択フィルタ301は、図35に示されるように、前記波長選択フィルタ201における第3の層を屈折率1.25の透明物質301bとしたものである。
ここでは、t0=100nm、t1=100nm、t2=100nm、t3=100nm、d=200nmである(図36参照)。そこで、ピッチPは400nm、ランド幅Lは300nm、フィルタリングファクタFFは0.75(=L/P)である。
そして、n0=1.46、n1=2.12、n2=2.12、n3=1.25、である。すなわち、n1=n2>n0>n3の関係が満足されている。
この波長選択フィルタ301の製造方法について簡単に説明する。
(1)平板状の基板101aにおける片側(ここでは、−Z側)の面にフォトレジストを塗布し、フォトレジスト層を形成する(図37(A)参照)。
(2)フォトレジスト層に所定の格子パターンを投影し、現像する。これにより、基板101aの表面に格子状のレジストパターンが形成される(図37(B)参照)。
(3)レジストパターンが形成された基板101aをドライエッチング装置にセットし、レジストパターンをマスクとしてエッチングする。
(4)所望の深さまでエッチングされると、ドライエッチング装置から取り出し、レジストパターンを除去する(図37(C)参照)。これによって、基板101aの表面にX軸方向に関して矩形波形状の凹凸構造部が形成される。
(5)物理的気相成長法(PVD)あるいは化学的気相成長法(CVD)などを用いて、凹凸構造部の上に透明膜101bを形成する(図37(D)参照)。
(6)透明膜101bが形成された基板101aをドライエッチングし、凸部の上面と凹部の底面に形成された透明膜101bを除去する(図38(A)参照)。
(7)物理的気相成長法(PVD)あるいは化学的気相成長法(CVD)などを用いて、その上に透明物質301bの層を形成する(図38(B)参照)。
(8)表面を覆っている透明物質301bをドライエッチングで除去する(図38(C)参照)。
上記のようにして製造された波長選択フィルタ301に、TM偏光の入射光が入射角0度で入射されたときの、入射光の波長と反射率との関係が図39に示されている。ピーク波長は630nmであった。また、ピーク波形における半値幅は0.7nmであり、ピーク波長の約0.1%と極めて狭かった。また、ピーク波長からある程度離れた波長では、反射率は0.1以下であった。このことから、波長選択フィルタ301は、630nmを中心とする狭帯域の波長選択フィルタとして機能するとともに、いわゆる非共鳴反射光の反射率が低いことが分かる。すなわち、所望の波長範囲内の光のみを反射するのに適している。
図40には、波長選択フィルタ301に波長630nmの光を入射したときの、入射角と反射率との関係が示されている。ピーク波形における半値幅は1.4度であった。すなわち、波長選択フィルタ301における入射角の許容範囲は、従来の波長選択フィルタにおける入射角の許容範囲よりも約28倍広い。
従って、入射光が若干発散気味の光束、あるいは若干収束気味の光束であっても、高い光量の反射光を得ることができる。
また、波長選択フィルタ301では、入射光の入射角が0度からずれても、入射光の波長と反射率との関係において出現するピークは1つだけであった。
また、波長選択フィルタ301は、図41及び図42に示されるように、ピッチPを変更することによって、反射光のピーク波長を変更することができる。そこで、このことを利用して、波長選択フィルタ301と同様な構造及び特性を有し、用途に応じた反射帯域の波長選択フィルタを製造することができる。
ところで、上記波長選択フィルタ201と同じ構造で、透明膜の屈折率が1.385の場合の入射光の波長と反射率との関係が図43に示されている。また、上記波長選択フィルタ201と同じ構造で、透明膜の屈折率が1.25の場合の入射光の波長と反射率との関係が図44に示されている。さらに、上記波長選択フィルタ101と同じ構造で、透明膜の屈折率が1.385の場合の入射光の波長と反射率との関係が図45に示されている。いずれの場合も、透明膜の屈折率は、基板の屈折率よりも小さく、波長選択フィルタとして所望の光学特性を得ることができなかった。
上記波長選択フィルタ101、201、301、及び従来の波長選択フィルタ(従来例)の構造と光学特性が図46にまとめて示されている。
なお、上記波長選択フィルタ101、201、301において、ピッチPだけでなく、ランド幅L、t0〜t3、n0〜n3を調節することにより、反射光の波長域、該波長域の中心波長及び半値幅を変更することが可能である。但し、n1>n0、n2>n0の関係を満足する必要がある。
また、上記実施形態において、前記保持部材103に代えて、図47(A)〜図47(C)に示される保持部材103´を用いても良い。この保持部材103´では、中央の開口部が円形であり、枠部(枠部103a´)はドーナツ状となっている。この場合には、波長選択フィルタを接着する際に、光軸中心から外周方向に向かって均一に張力が働くため、不要な歪を発生させることなく波長選択フィルタを接着することが可能となる。
また、上記実施形態では、凸部の幅t0と第1の層の幅t1と第2の層の幅t2と第3の層の幅t3とが互いに等しい場合について説明したが、これに限定されるものではない。要求される光学特性(反射光の波長域、該波長域の中心波長及び半値幅など)に応じて変更しても良い。
また、上記実施形態では、第1の層の材料と第2の層の材料が同じ場合について説明したが、これに限定されるものではない。n1>n0及びn2>n0の関係が満足されれば、第1の層の材料と第2の層の材料とが異なっていても良い。
また、上記実施形態では、基板101aの材料が石英(SiO)の場合について説明したが、これに限定されるものではない。n1>n0>n3及びn2>n0>n3の関係が満足されれば、基板101aの材料が石英(SiO)でなくても良い。
また、上記実施形態において、凹凸構造部のY軸方向に垂直な断面形状が台形であっても良いし、少なくとも1つの角が面取りされた形状であっても良い。
また、上記実施形態において、波長選択フィルタ101に対する入射光の入射角を変更する必要がない場合には、前記駆動機構105はなくても良い。この場合には、前記保持部材103は光源装置10の不図示の筐体に固定され、光源装置10から出力される光束の波長域及び該波長域の中心波長は一定となる。
なお、特定波長範囲内の光を必要とする光学装置に上記光源装置10を用いることにより、高コスト化を招くことなく、所望の光学特性を得ることが可能となる。
また、互いに波長が異なる複数の光が混在する光束が入力され、該入力された光束から特定波長範囲内の光を分離する光学系を備える装置において、その光学系が上記波長選択フィルタ101、201、301のいずれかを有していても良い。この場合には、高コスト化を招くことなく、従来よりも装置本来の特性を向上させることができる。
図48には、本発明の一実施形態に係る屈折率センサ500が示されている。この屈折率センサ500は、光源501、カップリングレンズ502、光学素子503、上記波長選択フィルタ101、及び検出装置505などを備えている。屈折率の検出対象である対象物600は、光学素子503と波長選択フィルタ101との間であって、波長選択フィルタ101に接する位置にセットされるようになっている。ここでは、XYZ3次元直交座標系において、カップリングレンズ502の光軸方向をZ軸方向として説明する。
光源501は、いわゆる白色光を出力する光源である。カップリングレンズ502は、光源501からの光束を略平行光とする。光学素子503は、カップリングレンズ502を介した光束を直線偏光とする。この光学素子503を介した光束が対象物600に照射される。ここでは、光学素子503を介した光束は、入射角0度で対象物600に入射するようになっている。
波長選択フィルタ101には、対象物600を透過した光束が入射される。このとき、対象物600の屈折率に応じた入射角で波長選択フィルタ101に入射する。そして、波長選択フィルタ101は、入射角に応じた波長の光束を選択的に反射する。波長選択フィルタ101で反射された光束は、反射ミラー504を介して検出装置505に入射される。
検出装置505は、分光器を有しており、該分光器で入射光束のピーク波長を求める。そして、検出装置505は、該ピーク波長に基づいて、対象物600を透過した光束の波長選択フィルタ101への入射角を求める。さらに、検出装置505は、該入射角から対象物600の屈折率を求める。
このように、屈折率センサ500は、前述した波長選択フィルタ101を備えているため、結果として高コスト化を招くことなく、対象物の屈折率を精度良く検出することが可能となる。
なお、波長選択フィルタ101に代えて、前記波長選択フィルタ201あるいは前記波長選択フィルタ301を用いても良い。
以上説明したように、本発明の波長選択フィルタによれば、光の入射角の許容範囲が広く、高い波長選択性を実現するのに適している。また、本発明のフィルタ装置によれば、高コスト化を招くことなく、容易に所望の波長の光を反射するのに適している。また、本発明の光源装置によれば、高コスト化を招くことなく、容易に所望の波長の光を出力するのに適している。また、本発明の光学装置によれば、高コスト化を招くことなく、所望の光学特性を得るのに適している。また、本発明の屈折率センサによれば、高コスト化を招くことなく、対象物の屈折率を精度良く検出するのに適している。
本発明の一実施形態に係る光源装置の概略図である。 図1におけるフィルタ装置を説明するための図(その1)である。 図1におけるフィルタ装置を説明するための図(その2)である。 図2のA−A断面図である。 図2における波長選択フィルタ101を説明するための図である。 図5の一部を拡大した図である。 波長選択フィルタ101の各層を説明するための図である。 図8(A)〜図8(D)は、それぞれ波長選択フィルタ101の製造方法を説明するための図である。 図8(B)の斜視図である。 図8(C)の斜視図である。 波長選択フィルタ101における入射光の波長と反射率との関係を説明するための図である。 波長選択フィルタ101における入射光の入射角と反射率との関係を説明するための図である。 比較例の波長選択フィルタを説明するための図である。 比較例の波長選択フィルタにおける入射光の入射角と反射率との関係を説明するための図である。 図15(A)及び図15(B)は、それぞれ比較例の波長選択フィルタにおける入射角が0度からずれたときの入射光の波長と反射率との関係を説明するための図である。 比較例の波長選択フィルタにおける入射角と反射光のピーク波長との関係を説明するための図である。 図17(A)〜図17(C)は、それぞれ図2における保持部材を説明するための図である。 波長選択フィルタと保持部材の接着を説明するための図である。 図19(A)及び図19(B)は、それぞれ図2における回動支持部材を説明するための図である。 回動支持部材による保持部材の支持を説明するための図(その1)である。 回動支持部材による保持部材の支持を説明するための図(その2)である。 図22(A)及び図22(B)は、それぞれ保持部材の回動を説明するための図である。 波長選択フィルタ101における各入射角での入射光の波長と反射率との関係を説明するための図である。 波長選択フィルタ101における入射角と反射光のピーク波長との関係を説明するための図である。 波長選択フィルタ101における各ピッチでの入射光の波長と反射率との関係を説明するための図である。 波長選択フィルタ101におけるピッチと反射光のピーク波長との関係を説明するための図である。 波長選択フィルタ201を説明するための図である。 図27の一部を拡大した図である。 波長選択フィルタ201の各層を説明するための図である。 図30(A)〜図30(E)は、それぞれ波長選択フィルタ201の製造方法を説明するための図である。 波長選択フィルタ201における入射光の波長と反射率との関係を説明するための図である。 波長選択フィルタ201における入射光の入射角と反射率との関係を説明するための図である。 波長選択フィルタ201における各ピッチでの入射光の波長と反射率との関係を説明するための図である。 波長選択フィルタ201におけるピッチと反射光のピーク波長との関係を説明するための図である。 波長選択フィルタ301を説明するための図である。 波長選択フィルタ301の各層を説明するための図である。 図37(A)〜図37(D)は、それぞれ波長選択フィルタ301の製造方法を説明するための図(その1)である。 図38(A)〜図38(C)は、それぞれ波長選択フィルタ301の製造方法を説明するための図(その2)である。 波長選択フィルタ301における入射光の波長と反射率との関係を説明するための図である。 波長選択フィルタ301における入射光の入射角と反射率との関係を説明するための図である。 波長選択フィルタ301における各ピッチでの入射光の波長と反射率との関係を説明するための図である。 波長選択フィルタ301におけるピッチと反射光のピーク波長との関係を説明するための図である。 波長選択フィルタの比較例1を説明するための図である。 波長選択フィルタの比較例2を説明するための図である。 波長選択フィルタの比較例3を説明するための図である。 各波長選択フィルタの違いを説明するための図である。 図47(A)〜図47(C)は、それぞれ保持部材の変形例を説明するための図である。 本発明の一実施形態に係る屈折率センサの概略図である。
符号の説明
10…光源装置、13…カップリングレンズ(光学素子)、15…光学フィルタ装置(フィルタ装置)、20…光学系、101…波長選択フィルタ、101a…基板、101b…透明膜(第1の層、第2の層)、103…保持部材(回動機構の一部)、104…回動支持部材(回動機構の一部)、105…駆動機構(回動機構の一部)、201…波長選択フィルタ、301…波長選択フィルタ、301b…透明物質(第3の層)、500…屈折率センサ、501…光源、502…カップリングレンズ(第1の光学素子)、503…光学素子(第2の光学素子)、505…検出装置、600…対象物。

Claims (11)

  1. 入射光に含まれる特定波長の光を選択的に共鳴反射する波長選択フィルタであって、
    前記入射光が入射する面に形成され、一の軸方向に関して矩形波形状の凹凸構造部を有する基板と;
    前記一の軸方向に関して、前記凹凸構造部における各凸部の一側の面を覆う第1の層と、前記各凸部の他側の面を覆う第2の層とを含む多層構造体と;を有し、
    前記第1の層の屈折率及び前記第2の層の屈折率は、いずれも前記基板の屈折率よりも大きいことを特徴とする波長選択フィルタ。
  2. 前記第1の層の屈折率と前記第2の層の屈折率は等しいことを特徴とする請求項1に記載の波長選択フィルタ。
  3. 前記多層構造体は、前記一の軸方向に関して、前記第1の層と前記第2の層との間に位置する第3の層を有し、
    前記第3の層の屈折率は、前記基板の屈折率よりも小さいことを特徴とする請求項1又は2に記載の波長選択フィルタ。
  4. 前記第3の層は、空気の層であることを特徴とする請求項3に記載の波長選択フィルタ。
  5. 前記一の軸方向に関して、前記凹凸構造部における凸部の幅、前記第1の層の幅、前記第2の層の幅、及び前記第3の層の幅は、いずれも互いに等しいことを特徴とする請求項3又は4に記載の波長選択フィルタ。
  6. 前記凹凸構造部における凸部の高さは、該凸部の前記一の軸方向に関する幅の2倍であることを特徴とする請求項5に記載の波長選択フィルタ。
  7. 請求項1〜6のいずれか一項に記載の波長選択フィルタと;
    前記波長選択フィルタを、前記基板の表面に平行で前記一の軸方向に直交する軸まわりに回動させる回動機構と;を備えるフィルタ装置。
  8. 光源と;
    前記光源からの光束を略平行光とする光学素子と;
    前記光学素子を介した光束が入射される請求項1〜6のいずれか一項に記載の波長選択フィルタと;を備え、
    前記波長選択フィルタで反射された光束を出力することを特徴とする光源装置。
  9. 光源と;
    前記光源からの光束を略平行光とする光学素子と;
    前記光学素子を介した光束が入射される請求項7に記載のフィルタ装置と;を備え、
    前記フィルタ装置の波長選択フィルタで反射された光束を出力することを特徴とする光源装置。
  10. 請求項8又は9に記載の光源装置と;
    前記光源装置から出力された光束が入射される光学系と;を備える光学装置。
  11. 対象物の屈折率を検出するための屈折率センサであって、
    光源と;
    前記光源からの光束を略平行光とする第1の光学素子と;
    前記第1の光学素子を介した光束を直線偏光とする第2の光学素子と;
    前記第2の光学素子から射出され、対象物を透過した光束が入射される請求項1〜6のいずれか一項に記載の波長選択フィルタと;
    前記波長選択フィルタで反射された光束のピーク波長を求め、該ピーク波長に基づいて前記対象物の屈折率を検出する検出装置と;を備える屈折率センサ。
JP2008192942A 2008-07-28 2008-07-28 波長選択フィルタ、フィルタ装置、光源装置、光学装置及び屈折率センサ Expired - Fee Related JP5256906B2 (ja)

Priority Applications (3)

Application Number Priority Date Filing Date Title
JP2008192942A JP5256906B2 (ja) 2008-07-28 2008-07-28 波長選択フィルタ、フィルタ装置、光源装置、光学装置及び屈折率センサ
EP09251885A EP2149802B1 (en) 2008-07-28 2009-07-27 Wavelength selection filter, filter unit, light source device, optical apparatus, and refractive index sensor
US12/510,448 US8213083B2 (en) 2008-07-28 2009-07-28 Wavelength selection filter, filter unit, light source device, optical apparatus, and refractive index sensor

Applications Claiming Priority (1)

Application Number Priority Date Filing Date Title
JP2008192942A JP5256906B2 (ja) 2008-07-28 2008-07-28 波長選択フィルタ、フィルタ装置、光源装置、光学装置及び屈折率センサ

Publications (2)

Publication Number Publication Date
JP2010032659A true JP2010032659A (ja) 2010-02-12
JP5256906B2 JP5256906B2 (ja) 2013-08-07

Family

ID=41078268

Family Applications (1)

Application Number Title Priority Date Filing Date
JP2008192942A Expired - Fee Related JP5256906B2 (ja) 2008-07-28 2008-07-28 波長選択フィルタ、フィルタ装置、光源装置、光学装置及び屈折率センサ

Country Status (3)

Country Link
US (1) US8213083B2 (ja)
EP (1) EP2149802B1 (ja)
JP (1) JP5256906B2 (ja)

Cited By (3)

* Cited by examiner, † Cited by third party
Publication number Priority date Publication date Assignee Title
JP2012073623A (ja) * 2010-03-02 2012-04-12 Sony Corp 光学体、窓材、建具および日射遮蔽装置
JP2015040910A (ja) * 2013-08-20 2015-03-02 株式会社アスカネット 対向する壁面への選択的蒸着方法
JP2016046290A (ja) * 2014-08-20 2016-04-04 日本板硝子株式会社 外部共振器型半導体レーザ用回折格子

Families Citing this family (7)

* Cited by examiner, † Cited by third party
Publication number Priority date Publication date Assignee Title
EP2352042B1 (en) * 2010-01-29 2017-05-17 Dexerials Corporation Optical element and method for manufacturing the same
JP2013031054A (ja) 2011-07-29 2013-02-07 Ricoh Co Ltd 撮像装置及びこれを備えた物体検出装置、並びに、光学フィルタ及びその製造方法
JP2013029451A (ja) 2011-07-29 2013-02-07 Ricoh Co Ltd 付着物検出装置及び付着物検出方法
CN105022108B (zh) * 2015-07-17 2017-07-14 中国科学院长春光学精密机械与物理研究所 双向轻量化高刚度双面分光镜
KR101811515B1 (ko) * 2016-01-22 2017-12-22 주식회사 케이씨씨 내장부품용 하이그로시 도료 조성물
JP6748150B2 (ja) * 2018-06-14 2020-08-26 ファナック株式会社 ガルバノミラー及びレーザ加工装置
KR101997862B1 (ko) * 2018-12-26 2019-07-08 제이피아이헬스케어 주식회사 격자형 x선 그리드 제조 방법

Citations (11)

* Cited by examiner, † Cited by third party
Publication number Priority date Publication date Assignee Title
JPS62269104A (ja) * 1986-05-16 1987-11-21 Nec Corp 波長板
JPH10142525A (ja) * 1996-11-11 1998-05-29 Fujikura Ltd 光出力調整器
JPH1123894A (ja) * 1997-06-30 1999-01-29 Oki Electric Ind Co Ltd 光通信端末局用光学装置
JP2001021711A (ja) * 1999-07-12 2001-01-26 Teijin Seiki Co Ltd 波長選択フィルタの選択波長調整方法、波長多重化装置、光通信システム及び屈折率検知装置
JP2002098820A (ja) * 2000-09-21 2002-04-05 Nippon Sheet Glass Co Ltd 反射型回折格子
JP2002258034A (ja) * 2001-03-05 2002-09-11 Japan Science & Technology Corp 波長フィルタ
JP2003514250A (ja) * 1999-09-17 2003-04-15 ユーティ―バテル エルエルシー 共振格子フィルタを用いた光マルチプレクサ/デマルチプレクサ
WO2005036218A1 (ja) * 2003-10-07 2005-04-21 Nalux Co., Ltd. 偏光素子および偏光素子を含む光学系
JP2006350126A (ja) * 2005-06-17 2006-12-28 Sharp Corp 波長選択素子
JP2008070867A (ja) * 2006-07-28 2008-03-27 Csem Centre Suisse D'electronique & De Microtechnique Sa ゼロ次回折フィルタ
JP2009092569A (ja) * 2007-10-10 2009-04-30 Shimadzu Corp 屈折率計

Family Cites Families (14)

* Cited by examiner, † Cited by third party
Publication number Priority date Publication date Assignee Title
JPS58198007A (ja) * 1982-05-14 1983-11-17 Ricoh Co Ltd 保護膜を有する回折格子
JPH04211202A (ja) * 1990-03-19 1992-08-03 Canon Inc 反射型回折格子および該回折格子を用いた装置
DE4303975A1 (de) * 1993-02-11 1994-08-18 Heidenhain Gmbh Dr Johannes Teilungsträger
US6002522A (en) * 1996-06-11 1999-12-14 Kabushiki Kaisha Toshiba Optical functional element comprising photonic crystal
US6035089A (en) * 1997-06-11 2000-03-07 Lockheed Martin Energy Research Corporation Integrated narrowband optical filter based on embedded subwavelength resonant grating structures
JP4359713B2 (ja) * 2000-11-24 2009-11-04 コニカミノルタホールディングス株式会社 回折光学素子
JP2005275092A (ja) 2004-03-25 2005-10-06 Nippon Zeon Co Ltd 偏光分離素子
JP2005275089A (ja) 2004-03-25 2005-10-06 Osaka Industrial Promotion Organization チューナブル波長選択フィルタ
EP1771758A2 (en) * 2004-07-26 2007-04-11 Applied Opsec, Inc. Diffraction-based optical grating structure and method of creating the same
JP2006178312A (ja) * 2004-12-24 2006-07-06 Canon Inc 表面反射型位相格子
JP2006349776A (ja) * 2005-06-13 2006-12-28 Sharp Corp 波長選択素子
JP2007232456A (ja) 2006-02-28 2007-09-13 Canon Inc 光学素子、屈折率センサ、および化学センサ
DE602007000707D1 (de) * 2006-05-31 2009-04-30 Suisse Electronique Microtech Nanostrukturierter Diffraktionsfilter nullter Ordnung
JP2008008990A (ja) 2006-06-27 2008-01-17 Ricoh Co Ltd 波長板、画像投射装置、及び光ピックアップ装置

Patent Citations (11)

* Cited by examiner, † Cited by third party
Publication number Priority date Publication date Assignee Title
JPS62269104A (ja) * 1986-05-16 1987-11-21 Nec Corp 波長板
JPH10142525A (ja) * 1996-11-11 1998-05-29 Fujikura Ltd 光出力調整器
JPH1123894A (ja) * 1997-06-30 1999-01-29 Oki Electric Ind Co Ltd 光通信端末局用光学装置
JP2001021711A (ja) * 1999-07-12 2001-01-26 Teijin Seiki Co Ltd 波長選択フィルタの選択波長調整方法、波長多重化装置、光通信システム及び屈折率検知装置
JP2003514250A (ja) * 1999-09-17 2003-04-15 ユーティ―バテル エルエルシー 共振格子フィルタを用いた光マルチプレクサ/デマルチプレクサ
JP2002098820A (ja) * 2000-09-21 2002-04-05 Nippon Sheet Glass Co Ltd 反射型回折格子
JP2002258034A (ja) * 2001-03-05 2002-09-11 Japan Science & Technology Corp 波長フィルタ
WO2005036218A1 (ja) * 2003-10-07 2005-04-21 Nalux Co., Ltd. 偏光素子および偏光素子を含む光学系
JP2006350126A (ja) * 2005-06-17 2006-12-28 Sharp Corp 波長選択素子
JP2008070867A (ja) * 2006-07-28 2008-03-27 Csem Centre Suisse D'electronique & De Microtechnique Sa ゼロ次回折フィルタ
JP2009092569A (ja) * 2007-10-10 2009-04-30 Shimadzu Corp 屈折率計

Non-Patent Citations (1)

* Cited by examiner, † Cited by third party
Title
JPN6012044067; L.Mashev and E. Popov: 'ZERO ORDER ANOMALY OF DIELECTRIC COATED GRATINGS' OPTICS COMMUNICATIONS No.6/Vol.55, 19851015, 377-380, North-Holland Pub. Co. *

Cited By (3)

* Cited by examiner, † Cited by third party
Publication number Priority date Publication date Assignee Title
JP2012073623A (ja) * 2010-03-02 2012-04-12 Sony Corp 光学体、窓材、建具および日射遮蔽装置
JP2015040910A (ja) * 2013-08-20 2015-03-02 株式会社アスカネット 対向する壁面への選択的蒸着方法
JP2016046290A (ja) * 2014-08-20 2016-04-04 日本板硝子株式会社 外部共振器型半導体レーザ用回折格子

Also Published As

Publication number Publication date
US8213083B2 (en) 2012-07-03
JP5256906B2 (ja) 2013-08-07
US20100020401A1 (en) 2010-01-28
EP2149802A1 (en) 2010-02-03
EP2149802B1 (en) 2013-02-27

Similar Documents

Publication Publication Date Title
JP5256906B2 (ja) 波長選択フィルタ、フィルタ装置、光源装置、光学装置及び屈折率センサ
CN1237355C (zh) 光学部件及其制造方法
KR102363805B1 (ko) 파장이하 해상도 촬영을 위한 메타렌즈
US7688512B2 (en) Transmissive diffraction grating, and spectral separation element and spectroscope using the same
JP5280654B2 (ja) 透過型回折格子、並びに、それを用いた分光素子及び分光器
US7408712B2 (en) Polarization-selectively blazed, diffractive optical element
JP5739224B2 (ja) 光学部品の製造方法及び光学部品
JP5876076B2 (ja) 共鳴格子を有し、入射角に従って調整可能な偏光無依存型光フィルタ
JP2006003447A (ja) 偏光分離素子及びその製造方法
US20170059777A1 (en) On-chip optical filter comprising fabri-perot resonator structure and spectrometer
WO2013085535A1 (en) Control of light wavefronts
JP2025143488A (ja) 受光素子
WO2019039371A1 (ja) 透過型導波モード共鳴格子一体型分光デバイス及びその製造方法
JP5050922B2 (ja) ファブリペロー干渉計
JP2015001412A (ja) 光電式測定器用スケール、エンコーダ及びスケールの形成方法
CN117891012A (zh) 光学元件
US20240230951A1 (en) Devices including an optical metastructure, and methods for designing metastructures
US20240201426A1 (en) Multi-layer high-efficiency dielectric grating with improved manufacturability
US8802217B2 (en) Tilt structure
Lee et al. Blazed binary diffractive gratings with antireflection coating for improved operation at 10.6 μm
JP2007279458A (ja) サブ波長格子光学素子
JP5217666B2 (ja) 波長選択フィルタおよび光学機器
KR20210056206A (ko) 다중 공진 모드를 갖는 플라즈모닉 각감응 분광 필터
JP2007101926A (ja) 透過型回折格子、ならびにそれを用いた分光素子および分光器
KR20180087477A (ko) 구조색 필터 및 이의 제조방법

Legal Events

Date Code Title Description
A621 Written request for application examination

Free format text: JAPANESE INTERMEDIATE CODE: A621

Effective date: 20110408

A977 Report on retrieval

Free format text: JAPANESE INTERMEDIATE CODE: A971007

Effective date: 20120625

A131 Notification of reasons for refusal

Free format text: JAPANESE INTERMEDIATE CODE: A131

Effective date: 20120827

A521 Request for written amendment filed

Free format text: JAPANESE INTERMEDIATE CODE: A523

Effective date: 20121004

TRDD Decision of grant or rejection written
A01 Written decision to grant a patent or to grant a registration (utility model)

Free format text: JAPANESE INTERMEDIATE CODE: A01

Effective date: 20130326

A61 First payment of annual fees (during grant procedure)

Free format text: JAPANESE INTERMEDIATE CODE: A61

Effective date: 20130408

FPAY Renewal fee payment (event date is renewal date of database)

Free format text: PAYMENT UNTIL: 20160502

Year of fee payment: 3

R151 Written notification of patent or utility model registration

Ref document number: 5256906

Country of ref document: JP

Free format text: JAPANESE INTERMEDIATE CODE: R151

LAPS Cancellation because of no payment of annual fees