JP2010032570A - 電子写真感光体 - Google Patents

電子写真感光体 Download PDF

Info

Publication number
JP2010032570A
JP2010032570A JP2008191574A JP2008191574A JP2010032570A JP 2010032570 A JP2010032570 A JP 2010032570A JP 2008191574 A JP2008191574 A JP 2008191574A JP 2008191574 A JP2008191574 A JP 2008191574A JP 2010032570 A JP2010032570 A JP 2010032570A
Authority
JP
Japan
Prior art keywords
shaft
contact
contact portion
peripheral surface
outer peripheral
Prior art date
Legal status (The legal status is an assumption and is not a legal conclusion. Google has not performed a legal analysis and makes no representation as to the accuracy of the status listed.)
Granted
Application number
JP2008191574A
Other languages
English (en)
Other versions
JP4650534B2 (ja
Inventor
Nao Itabashi
奈緒 板橋
Current Assignee (The listed assignees may be inaccurate. Google has not performed a legal analysis and makes no representation or warranty as to the accuracy of the list.)
Brother Industries Ltd
Original Assignee
Brother Industries Ltd
Priority date (The priority date is an assumption and is not a legal conclusion. Google has not performed a legal analysis and makes no representation as to the accuracy of the date listed.)
Filing date
Publication date
Application filed by Brother Industries Ltd filed Critical Brother Industries Ltd
Priority to JP2008191574A priority Critical patent/JP4650534B2/ja
Priority to US12/505,113 priority patent/US8180252B2/en
Publication of JP2010032570A publication Critical patent/JP2010032570A/ja
Application granted granted Critical
Publication of JP4650534B2 publication Critical patent/JP4650534B2/ja
Active legal-status Critical Current
Anticipated expiration legal-status Critical

Links

Images

Classifications

    • GPHYSICS
    • G03PHOTOGRAPHY; CINEMATOGRAPHY; ANALOGOUS TECHNIQUES USING WAVES OTHER THAN OPTICAL WAVES; ELECTROGRAPHY; HOLOGRAPHY
    • G03GELECTROGRAPHY; ELECTROPHOTOGRAPHY; MAGNETOGRAPHY
    • G03G15/00Apparatus for electrographic processes using a charge pattern
    • G03G15/75Details relating to xerographic drum, band or plate, e.g. replacing, testing
    • G03G15/751Details relating to xerographic drum, band or plate, e.g. replacing, testing relating to drum

Landscapes

  • Physics & Mathematics (AREA)
  • General Physics & Mathematics (AREA)
  • Discharging, Photosensitive Material Shape In Electrophotography (AREA)

Abstract

【課題】 良好な画像形成が安定的に行われ得る電子写真感光体を、より簡略な構成で提供する。
【解決手段】 導通板(6)は、シャフト(3)の円柱面状の外周面と当接する接点部材(64)を備えている。接点部材(64)は、第一接点部(64b)と、第二接点部(64c)と、を備えている。第一接点部(64b)と第二接点部(64c)とは、ギャップ(64a)を隔てて、接点部材(64)の幅方向に配列されている。第一接点部(64b)及び第二接点部(64c)は、シャフト(3)の外周面と接触するように設けられている。ギャップ(64a)は、シャフト(3)の外周面と係合するように設けられている。
【選択図】 図4

Description

本発明は、電子写真感光体に関する。
電子写真方式の画像形成装置(複写機、プリンタ、ファクシミリ、等。)に用いられる電子写真感光体において、外周に感光体層が形成された円筒状の導電性ドラム基体を回転自在に支持する導電性(具体的には金属製)のシャフトと、導電性(具体的には金属製)の導通部材(アース板)とを、接触・摺動させることで、両者の導通を形成する構造のものが知られている(例えば、特開平5−119681号公報、特開平5−119682号公報、特開平11−258951号公報、特開平11−352831号公報、特開2000−181286号公報、特開2004−77913号公報、特開2001−356638号公報、特表2007−512574号公報、等参照。)。
特開平5−119681号公報 特開平5−119682号公報 特開平11−258951号公報 特開平11−352831号公報 特開2000−181286号公報 特開2004−77913号公報 特開2001−356638号公報 特表2007−512574号公報
前記シャフトと前記導通部材との接触による導通が安定的に形成されないと、形成画像に乱れが生じる。
このような画像の乱れは、典型的には、前記画像形成装置が比較的長時間運転された場合に生じやすい。この場合に、前記電子写真感光体を分解して観察してみると、前記シャフトの外周面への酸化物皮膜の付着が認められる。したがって、この酸化物皮膜の付着により前記シャフトと前記導通部材との導通が断続的に遮断されることで、上述のような画像の乱れが発生する、と考えられる。
また、前記導通部材は、通常、舌片状に突出する接点部を備えている(例えば特開平11−258951号公報等参照)。かかる構成の場合、当該電子写真感光体の組み立て時に、前記接点部が捩れて前記シャフトとの当接状態が適切に設定されなくなることで、前記シャフトと前記導通部材との導通が不良となることがあり得る。
本発明は、このような課題に対処するためになされたものである。すなわち、本発明の目的は、良好な画像形成が安定的に行われ得る電子写真感光体を、より簡略な構成で提供することにある。
本発明の電子写真感光体は、感光体ドラムと、シャフトと、導通板と、を備えている。
前記感光体ドラムは、導電性の円筒状部材であるドラム基体と、そのドラム基体の外周に形成された感光体層と、を備えている。
前記シャフトは、丸棒状の(導電性)部材であって、前記ドラム基体の中心軸線上に設けられている。具体的には、このシャフトとしては、ステンレス鋼等の金属製のものが好適に用いられ得る。
前記導通板は、舌片状の接点部材を備えている。この接点部材は、前記中心軸線と直交する幅方向を有する部材(例えば弾性変形可能な板バネ)であって、前記シャフトに向けて突出するように設けられている。この接点部材は、前記シャフトの円柱面状の外周面と当接することで、前記ドラム基体と前記シャフトとの導通を形成するように構成されている。例えば、前記導通板は、金属板に対して打ち抜き等の加工を施すことによって、継ぎ目なく一体に形成され得る。
※本発明の特徴は、前記接点部材が、所定のギャップを隔てて前記幅方向に配列された第一接点部及び第二接点部を備えたことにある。ここで、前記第一接点部と前記ギャップと前記第二接点部とは、この順で、前記シャフトの円柱面状の前記外周面に沿って、前記幅方向に配列されている。なお、前記第一接点部及び前記第二接点部は、例えば、前記接点部材の、前記シャフトと近接する先端部に設けられ得る。
前記ギャップは、前記シャフトの前記外周面と(前記幅方向の相対移動が抑制されるように)係合可能に形成されている。具体的には、前記ギャップは、前記シャフトの円柱面状の前記外周面のうちの一部分(半周未満の部分)を内側に収容可能に形成されている。なお、前記ギャップは、前記接点部材の突出方向に沿って設けられたスリットにより形成され得る。
前記第一接点部及び前記第二接点部は、前記シャフトの前記外周面と接触(当接)するように設けられている。すなわち、前記第一接点部は、前記幅方向における一方側にて、前記シャフトの前記外周面と接触するように設けられている。また、前記第二接点部は、前記幅方向における他方側にて、前記シャフトの前記外周面と接触するように設けられている。
前記接点部材が弾性変形可能な前記板バネからなる場合、同接点部材の弾性変形により前記第一接点部と前記第二接点部とが前記シャフトの前記外周面に付勢されることで、前記第一接点部と前記第二接点部とが前記シャフトの前記外周面と接触しつつ、前記ギャップが前記シャフトの前記外周面と係合するように、同接点部材が構成されている。
かかる構成においては、前記第一接点部と前記第二接点部とが、前記ギャップ(前記スリット)を隔てて、前記シャフトの回転による同シャフトの前記外周面の移動方向に沿った前記幅方向に配列する。
これにより、前記接点部材と前記シャフトとの接触による導通が、より良好に確保され得る。すなわち、具体的には、例えば、前記第一接点部と前記シャフトの前記外周面との摺動によって同外周面上の異物(酸化皮膜等)が除去され、この外周面が前記第二接点部と接触することで同第二接点部と前記シャフトとの導通が良好に形成され得る。
また、前記電子写真感光体を組み立てる際に、前記シャフトの円柱面状の前記外周面が前記ギャップ(前記スリット)と係合することで、同シャフトが前記接点部材に対して適正な位置に案内され得る。このため、前記第一接点部と前記第二接点部とが前記シャフトの前記外周面と当接した状態が、良好に形成され得る。
・前記接点部材は、前記第一接点部及び前記第二接点部における前記ギャップ側(前記スリット側)の端縁にて、前記シャフトの前記外周面と接触するように構成され得る。
かかる構成においては、前記第一接点部及び前記第二接点部は、その端縁(エッジ)にて、前記シャフトの円柱面状の前記外周面と当接する。このため、例えば、前記第一接点部及び前記第二接点部のうちの、前記ギャップ(前記スリット)よりも前記シャフトの移動方向(正確には、前記ドラム基体に対する前記シャフトの相対的な回転による、同シャフトの前記外周面の前記接点部材に対する相対移動方向)における下流側に位置するもの(以下、これを「下流側接点部」と称するとともに、他方を「上流側接点部」と称する。)は、その端縁が、前記外周面と「カウンター」に当接する。
これにより、前記下流側接点部における上述のような異物の除去が、良好に行われ得る。そして、異物が良好に除去された前記外周面が前記上流側接点部と接触することで、同上流側接点部と前記シャフトとの導通が良好に確保され得る。
・前記第一接点部及び前記第二接点部の、前記シャフトと近接する先端部は、互いに結合され得る。
かかる構成においては、前記接点部材が前記シャフトの円柱面状の前記外周面と当接した際に、前記第一接点部及び前記第二接点部が変形して両先端部が互いに離れる方向に移動することが、可及的に抑制され得る。
これにより、前記接点部材における前記第一接点部及び前記第二接点部に対応する部分の剛性が良好に確保され得る。したがって、前記第一接点部及び前記第二接点部と、前記シャフトの前記外周面と、の当接状態が、良好に実現され得る。すなわち、具体的には、例えば、前記第一接点部と前記シャフトの前記外周面との摺動による同外周面上の異物の除去、及びこの外周面と前記第二接点部との接触による導通の形成が、良好に行われ得る。
・前記電子写真感光体は、前記ドラム基体の前記中心軸線に沿った長手方向における一端に嵌入されるように構成されたフランジを、さらに備え得る。このフランジは、内側円筒部と外側円筒部とを備えている。前記内側円筒部は、前記シャフトを収容するように形成されている。前記外側円筒部は、前記内側円筒部の外側に設けられている。
この場合、前記導通板は、導通板本体部と、フランジ係合部と、をさらに備えている。前記導通板本体部には、前記内側円筒部が挿通される貫通孔が形成されている。また、前記フランジ係合部は、前記導通板本体部から外方に突出することで前記外側円筒部の内周と係合するように設けられている。
なお、前記フランジ係合部は、前記導通板本体部と継ぎ目なく一体に形成され得る。また、前記接点部材も、前記貫通孔に向かって突出する片持ち梁状に設けられるとともに、前記導通板本体部と継ぎ目なく一体に形成され得る。
かかる構成においては、前記フランジ係合部が前記フランジにおける前記外側円筒部の前記内周と係合することで、同フランジに対して前記導通板(前記導通板本体部)が所定の態様で良好に装着され得る。
これにより、前記導通板(前記導通板本体部)が傾くことで前記接点部材と前記シャフトの前記外周面との接触(当接)状態が不良となることが、良好に抑制され得る。
このように、本発明によれば、前記接点部材と前記シャフトとの接触による導通が、簡略な装置構成で、より良好に確保され得る。したがって、良好な画像形成が、より安定的に行われ得る。
以下、本発明の実施形態(本願の出願時点において取り敢えず出願人が最良と考えている実施形態)について、図面を参照しつつ説明する。
なお、以下の実施形態に関する記載は、法令で要求されている明細書の記載要件(記述要件・実施可能要件)を満たすために、本発明の具体化の単なる一例を、可能な範囲で具体的に記述しているものにすぎない。よって、後述するように、本発明が、以下に説明する実施形態の具体的構成に何ら限定されるものではないことは、全く当然である。本実施形態に対して施され得る各種の変更(modification)は、当該実施形態の説明中に挿入されると、一貫した実施形態の説明の理解が妨げられるので、末尾にまとめて記載されている。
<実施形態の電子写真感光体の構成>
図1は、本発明の一実施形態である電子写真感光体1の全体構成を示す斜視図である。また、図2は、図1に示されている電子写真感光体1の分解斜視図である(なお、図2においては、一部の部材の図示が省略されている。)。
図1及び図2を参照すると、本実施形態の電子写真感光体1は、感光体ドラム2と、シャフト3と、第一フランジ4と、第二フランジ5と、導通板6と、を備えている。
感光体ドラム2は、ドラム基体21と感光体層22とから構成されている。ドラム基体21は、アルミニウム製の円筒管である。感光体層22は、所定の波長の光(レーザー光)が照射されたときに導電性を示す、いわゆる有機感光体(OPC:Organic Photoconductor)層であって、ドラム基体21の円筒面状の外周を覆うように形成されている。
シャフト3は、ステンレス鋼製の丸棒状の導電性部材であって、感光体ドラム2(ドラム基体21)の中心軸線上に設けられている。すなわち、感光体ドラム2は、シャフト3と同軸上に配置されている。そして、感光体ドラム2は、上述の中心軸線を中心として、シャフト3に対して相対的に回転するように設けられている。
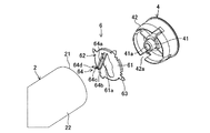
<<フランジ>>
具体的には、感光体ドラム2の上述の中心軸線に沿った長手方向における一端には、第一フランジ4が嵌入されている。また、感光体ドラム2の他端には、第二フランジ5が嵌入されている。第一フランジ4及び第二フランジ5は、合成樹脂からなる略円柱状の部材であって、感光体ドラム2に対して相対的に回転不能に固定されている。
一方、第一フランジ4及び第二フランジ5は、シャフト3に対して相対的に回転し得るように、シャフト3によって挿通されている。すなわち、感光体ドラム2は、軸受として機能する第一フランジ4及び第二フランジ5を介して、シャフト3によって回転自在に支持されている。
第一フランジ4は、内側円筒部41を備えている。内側円筒部41には、シャフト3の外径よりもわずかに大きめの貫通孔であるシャフト挿通孔41aが設けられている。すなわち、内側円筒部41は、シャフト3を収容するように形成されている。そして、この内側円筒部41の内周面と、シャフト3の外周面と、の間には、シャフト3が内側円筒部41の内側にて「がたつく」ことなくスムーズに回転し得るように、微小なクリアランスが形成されている。
また、第一フランジ4は、外側円筒部42を備えている。外側円筒部42は、内側円筒部41の外側にて、当該内側円筒部41を囲むように設けられている。この外側円筒部42は、感光体ドラム2のドラム基体21の内径とほぼ同一の(所定の嵌め合い交差の関係にある)外径を有する円筒状の部材であって、ドラム基体21の前記一端に嵌入されることで感光体ドラム2に対して固定されるように構成されている。
さらに、外側円筒部42には、複数(具体的には4つ)の切欠部42aが形成されている。この切欠部42aは、内側(感光体ドラム2の前記長手方向における中央側)に向かって開口するように設けられている。
第二フランジ5には、ギヤ部51が設けられている。ギヤ部51は、感光体ドラム2と第一フランジ4及び第二フランジ5との結合体を回転駆動するための円板状のギヤであって、感光体ドラム2の外周よりも大きな径に形成されている。
<<導通板>>
導通板6は、平面視にて略円板状の部材であって、リン青銅製の板材の打ち抜き加工によって、継ぎ目なく一体に形成されている。この導通板6は、第一フランジ4の内側に固定されている。
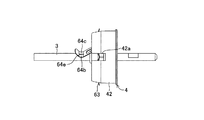
図3及び図4は、図2に示されている第一フランジ4及び導通板6の拡大斜視図である(なお、図3は図4の分解斜視図に相当する。)。図5は、図2に示されている第一フランジ4及び導通板6の拡大側面図である。
以下、図3ないし図5を参照すると、導通板6の本体を構成する導通板本体部61は、略円板状に形成されている。この導通板本体部61の中心部には、第一フランジ4における内側円筒部41が挿通される貫通孔61aが形成されている。また、導通板本体部61の外縁から外側に突出するように、複数(具体的には4つ)のフランジ係合部62及びドラム基体係合部63が設けられている。
フランジ係合部62は、第一フランジ4における外側円筒部42の内周面と係合することで、導通板6を第一フランジ4に対して固定するように形成されている。ドラム基体係合部63は、外側円筒部42に形成された切欠部42aに対応する位置にて、第一フランジ4における外側円筒部42の外径よりも外側に突出するように設けられている。このドラム基体係合部63は、感光体ドラム2におけるドラム基体21の内周面と係合することで、ドラム基体21と導通板6との導通を形成するように構成されている。
<<<接点部材>>>
導通板6は、接点部材64を備えている。接点部材64は、側面視にて貫通孔61a及びこれに挿通されたシャフト3に向かって突出する片持ち梁状に形成された、舌片状の弾性変形可能な板バネ部材であって、その幅方向が上述の中心軸線と直交するように設けられている。この接点部材64は、シャフト3の外周面と当接することで、ドラム基体21とシャフト3との導通、すなわち、導通板6を介してのドラム基体21とシャフト3との導通を形成するべく、以下のように構成されている。
接点部材64の前記幅方向における略中央部には、スリット64aが、接点部材64の突出方向に沿って形成されている。このスリット64aは、シャフト3の円柱面状の外周面の一部分を内側に収容することで、当該一部分と係合する(シャフト3とスリット64aとの前記幅方向の相対移動が抑制される)ように設けられている。
接点部材64の、シャフト3と近接する先端部には、下流側接点部64b及び上流側接点部64cが設けられている。下流側接点部64b及び上流側接点部64cは、スリット64aを隔てて前記幅方向に沿って配列されている。すなわち、下流側接点部64bとスリット64aと上流側接点部64cとが、この順で、シャフト3の円柱面状の外周面に沿って配列されている。換言すれば、下流側接点部64bと上流側接点部64cとは、前記中心軸線方向について同じ位置にて、シャフト3の外周面と当接するように配置されている。
下流側接点部64bは、接点部材64の前記幅方向における一方側の端部に設けられている。一方、上流側接点部64cは、接点部材64の前記幅方向における他方側の端部に設けられている。そして、下流側接点部64b及び上流側接点部64cは、そのスリット64a側のエッジにて、シャフト3の外周面と当接するように設けられている。
また、下流側接点部64bは、スリット64aよりも、シャフト3の回転(正確には、導通板6が固定された第一フランジ4と、シャフト3と、の相対的な回転)による当該シャフト3の外周面の移動(正確には、接点部材64に対する当該シャフト3の外周面の相対移動)方向における下流側に設けられている。すなわち、下流側接点部64bは、シャフト3の外周面と「カウンター」に当接するように設けられている。一方、上流側接点部64cは、シャフト3の外周面と比較的滑らかに摺動するように設けられている。
本実施形態においては、下流側接点部64b及び上流側接点部64cは、前記幅方向に沿って見た場合に略V字状に屈曲されている。そして、下流側接点部64b及び上流側接点部64cは、その屈曲の頂部にて、シャフト3の外周面と当接するように形成されている。また、下流側接点部64b及び上流側接点部64cの最先端部は、先端接続部64dによって互いに結合されている。
<実施形態の構成による作用・効果>
以下、本実施形態の電子写真感光体1の構成による作用・効果について、各図面を参照しつつ説明する。
<<組み立て時>>
かかる構成を有する電子写真感光体1を組み立てる際には、まず、第一フランジ4に導通板6が固定される。
このとき、導通板6の外縁には、フランジ係合部62が設けられている。よって、フランジ係合部62が第一フランジ4における外側円筒部42の内周面と弾性的に当接しつつ係合することで、第一フランジ4に対して導通板6(導通板本体部61)が所定の態様で良好に装着及び固定される。これにより、導通板6(導通板本体部61)が第一フランジ4に対して相対的に傾くことが、良好に抑制される。
次に、感光体ドラム2の両端に、第一フランジ4及び第二フランジ5が嵌入される。続いて、第一フランジ4及び第二フランジ5が装着及び固定された状態の感光体ドラム2に、シャフト3が挿入される。
このとき、接点部材64の弾性変形により下流側接点部64bと上流側接点部64cとがシャフト3の外周面に向けてほぼ同一方向に付勢されることで、下流側接点部64bと上流側接点部64cとがシャフト3の外周面と接触しつつ、スリット64aがシャフト3の外周面と係合する。
すなわち、本実施形態においては、接点部材64における下流側接点部64bと上流側接点部64cとの間には、スリット64aにより形成されたギャップが設けられている。このギャップとシャフト3の外周面とが係合することで、シャフト3が接点部材64に対して適正な位置に案内される。これにより、下流側接点部64bと上流側接点部64cとが同外周面と当接した状態が、良好に形成され得る。
以上のように、本実施形態によれば、電子写真感光体1の組み立ての際に、舌片状の接点部材64が捩れること等により接点部材64とシャフト3の外周面との接触(当接)状態が不良となることが、簡略な構成によって良好に抑制され得る。
なお、シャフト3が感光体ドラム2に挿入される際には、下流側接点部64b及び上流側接点部64cとシャフト3との間には、金属部材同士の摺動による騒音の抑制のためのグリス(潤滑油)が介在させられる(例えば下流側接点部64b及び上流側接点部64cにグリスが塗布される)。このグリスは、好適には、導電性グリスが用いられる。
<<動作時>>
画像形成動作時においては、第二フランジ5におけるギヤ部51が画像形成装置の本体(図示せず)から回転駆動力を受けることで、感光体ドラム2が回転する。これにより、感光体ドラム2は、シャフト3に対して相対的に回転する(図5において導通板6に対してシャフト3は時計回りに回転するものとする。)。すると、感光体ドラム2の内部では、シャフト3と接点部材64とが摺動する。
このとき、シャフト3の外周面は、下流側接点部64bとカウンターに当接する。すなわち、下流側接点部64bの内側(スリット64a側)のエッジが、シャフト3の外周面に対して、大き目の鋭角をもって当接する。さらに、下流側接点部64bと上流側接点部64cとは先端接続部64dによって結合されているので、下流側接点部64b及び上流側接点部64cに対応する部分の剛性が良好に確保されている。
これにより、接点部材64の弾性変形による下流側接点部64b及び上流側接点部64cの接触荷重がそれほど大きくなくても、シャフト3の外周面に付着した異物(グリスへの混入物、グリスの劣化物、酸化皮膜、等)が、下流側接点部64bの内側のエッジによって良好に除去される(掻き取られる)。このため、下流側接点部64bは、「クリーニング部」あるいは「異物除去部」とも称され得る。
このようにして異物が掻き取られたシャフト3の外周面は、その後、上流側接点部64cの内側のエッジと、小さめの鋭角をもって緩やかに当接する。これにより、上流側接点部64cは、シャフト3の外周面と比較的滑らかに摺動しつつ、シャフト3との接触による導通を良好に形成する(このため、上流側接点部64cは、「導通部」とも称され得る。なお、下流側接点部64bの内側のエッジによっても、異物の掻き取りと同時に、シャフト3との導通の形成が行われる。)。
以上のように、本実施形態によれば、シャフト3と接点部材64との接触による導通が、簡略な構成及び比較的小さな接触荷重によって、良好に確保される。したがって、良好な画像形成が、より安定的に行われる。
<変形例の例示>
なお、上述の実施形態は、上述した通り、出願人が取り敢えず本願の出願時点において最良であると考えた本発明の代表的な実施形態を単に例示したものにすぎない。よって、本発明はもとより上述の実施形態に何ら限定されるものではない。したがって、本発明の本質的部分を変更しない範囲内において、上述の実施形態に対して種々の変形が施され得ることは、当然である。
以下、代表的な変形例について、幾つか例示する。もっとも、言うまでもなく、変形例とて、以下に列挙されたものに限定されるものではない。また、複数の実施形態や変形例の、全部又は一部が、技術的に矛盾しない範囲内において、適宜、互いに複合的に適用され得る。
本発明(特に、本発明の課題を解決するための手段を構成する各構成要素における、作用的・機能的に表現されているもの)は、上述の実施形態や、下記変形例の記載に基づいて限定解釈されてはならない。このような限定解釈は、(先願主義の下で出願を急ぐ)出願人の利益を不当に害する反面、模倣者を不当に利するものであって、許されない。
例えば、各部材の具体的な材質や製造方法については、特段の限定はない。また、継ぎ目なく一体であったものは、これに代えて、別体のものが継ぎ合わされてもよい。
フランジ係合部62やドラム基体係合部63の存在の有無やその数、あるいは、接点部材64の数についても、特段の限定はない。また、フランジ係合部62に代えて、あるいはこれとともに、導通板6の内縁、すなわち、貫通孔61a側に、第一フランジ4の内側円筒部41の外周面と係合する他のフランジ係合部が設けられていてもよい。
スリット64aの幅は、例えば、シャフト3の円柱面状の外周面のうちの半周未満の部分(好ましくは四分の一以下の部分)を内側に収容可能に設定されていればよい。
下流側接点部64b及び上流側接点部64cの周辺の構成についても、上述の実施形態のものに限定されない。
図6は、図5に示されている導通板6の一変形例の構成を示す拡大側面図である。図6に示されているように、下流側接点部64bと上流側接点部64cとは、その最先端部にて結合されていなくてもよい。すなわち、図4及び図5における先端接続部64dは省略され得る。
図7Aは、図5に示されている導通板6の他の変形例の構成を示す拡大側面図である。また、図7Bは、図7Aに示されている導通板6が装着された第一フランジ4にシャフト3が挿通された状態を示す拡大側面図である。
図7A及び図7Bに示されているように、下流側接点部64bと上流側接点部64cとは、シャフト3の外周面と係合する凹部64eを隔てて、前記幅方向に配列されていてもよい(なお、この場合、スリット64a(図4参照)は、接点部材64に設けられ得るものの、下流側接点部64b及び上流側接点部64cにまで達していなくてもよい。)。
なお、下流側接点部64b及び上流側接点部64cは、接点部材64の長手方向(突出方向)における先端部よりも若干基端部(付け根)側に設けられていてもよい。
また、下流側接点部64b及び上流側接点部64cは、シャフト3の外周面に対して、内側エッジによる線接触ではなく、面接触するように設けられていてもよい。
さらに、シャフト3の感光体ドラム2に対する相対的な回転方向が上述の記載と逆の場合、各図における下流側接点部64bと上流側接点部64cとの位置関係が逆となることは、いうまでもない。
その他、特段に言及されていない変形例についても、本発明の本質的部分を変更しない範囲内において、本発明の範囲内に含まれることは当然である。
また、本発明の課題を解決するための手段を構成する各要素における、作用・機能的に表現されている要素は、上述の実施形態や変形例にて開示されている具体的構造の他、当該作用・機能を実現可能ないかなる構造をも含む。
本発明の一実施形態である電子写真感光体の全体構成を示す斜視図である。 図1に示されている電子写真感光体の分解斜視図である。 図2に示されている第一フランジ及び導通板の拡大斜視図(分解斜視図)である。 図2に示されている第一フランジ及び導通板の拡大斜視図である。 図2に示されている第一フランジ及び導通板の拡大側面図である。 図5に示されている導通板の一変形例の構成を示す拡大側面図である。 図5に示されている導通板の他の変形例の構成を示す拡大側面図である。 図7Aに示されている導通板が装着された第一フランジにシャフトが挿通された状態を示す拡大側面図である。
符号の説明
1…電子写真感光体
2…感光体ドラム
21…ドラム基体
22…感光体層
3…シャフト
4…第一フランジ
41…内側円筒部
41a…シャフト挿通孔
42…外側円筒部
42a…切欠部
5…第二フランジ
51…ギヤ部
6…導通板
61…導通板本体部
61a…貫通孔
62…フランジ係合部
63…ドラム基体係合部
64…接点部材
64a…スリット
64b…下流側接点部
64c…上流側接点部
64d…先端接続部
64e…凹部

Claims (8)

  1. 導電性の円筒状部材であるドラム基体と、そのドラム基体の外周に形成された感光体層と、を備えた感光体ドラムと、
    前記ドラム基体の中心軸線上に設けられた、丸棒状のシャフトと、
    前記シャフトに向けて突出するように設けられていて前記中心軸線と直交する幅方向を有する舌片状の弾性変形可能な板バネである接点部材を備え、その接点部材が前記シャフトの円柱面状の外周面と当接することで前記ドラム基体と前記シャフトとの導通を形成するように構成された、導通板と、
    を備えた、電子写真感光体であって、
    前記接点部材は、
    前記幅方向における一方側にて、前記シャフトの前記外周面と接触するように設けられた、第一接点部と、
    前記シャフトの前記外周面と係合可能なギャップを隔てて前記第一接点部と離隔し、且つ同第一接点部及び前記ギャップとともに前記シャフトの前記外周面に沿って前記幅方向に配列されていて、前記幅方向における他方側にて前記シャフトの前記外周面と接触するように設けられた、第二接点部と、
    を備え、弾性変形により前記第一接点部と前記第二接点部とが前記シャフトの前記外周面に付勢されることで、前記第一接点部と前記第二接点部とが前記シャフトの前記外周面と接触しつつ、前記ギャップが前記シャフトの前記外周面と係合するように構成されたことを特徴とする、電子写真感光体。
  2. 請求項1に記載の、電子写真感光体であって、
    前記接点部材は、前記第一接点部及び前記第二接点部における前記ギャップ側の端縁にて前記シャフトの前記外周面と接触するように構成されたことを特徴とする、電子写真感光体。
  3. 請求項1又は請求項2に記載の、電子写真感光体であって、
    前記ギャップは、前記接点部材の突出方向に沿って設けられたスリットにより形成されたことを特徴とする、電子写真感光体。
  4. 導電性の円筒状部材であるドラム基体と、そのドラム基体の外周に形成された感光体層と、を備えた感光体ドラムと、
    前記ドラム基体の中心軸線上に設けられた、丸棒状のシャフトと、
    前記シャフトに向けて突出するように設けられていて前記中心軸線と直交する幅方向を有する舌片状の接点部材を備え、その接点部材が前記シャフトの円柱面状の外周面と当接することで前記ドラム基体と前記シャフトとの導通を形成するように構成された、導通板と、
    を備えた、電子写真感光体であって、
    前記接点部材は、
    前記シャフトの前記外周面と係合可能に形成されたスリットを隔てて互いに離隔するように前記幅方向に配列されていて、前記シャフトの前記外周面と接触するように設けられた、第一接点部及び第二接点部を備えたことを特徴とする、電子写真感光体。
  5. 請求項4に記載の、電子写真感光体であって、
    前記接点部材は、前記第一接点部及び前記第二接点部における前記スリット側の端縁にて前記シャフトの前記外周面と接触するように構成されたことを特徴とする、電子写真感光体。
  6. 請求項1ないし請求項7のうちのいずれかに記載の、電子写真感光体であって、
    前記第一接点部及び前記第二接点部は、前記接点部材の、前記シャフトと近接する先端部に設けられたことを特徴とする、電子写真感光体。
  7. 請求項1ないし請求項6のうちのいずれか1項に記載の、電子写真感光体であって、
    前記第一接点部及び前記第二接点部の、前記シャフトと近接する先端部は、互いに結合されていることを特徴とする、電子写真感光体。
  8. 請求項1ないし請求項7のうちのいずれか1項に記載の、電子写真感光体において、
    前記ドラム基体の前記中心軸線に沿った長手方向における一端に嵌入されるように構成されたフランジをさらに備え、
    前記フランジは、
    前記シャフトを収容するように形成された内側円筒部と、
    前記内側円筒部の外側に設けられた外側円筒部と、を備え、
    前記導通板は、
    前記内側円筒部が挿通される貫通孔が形成された導通板本体部と、
    前記導通板本体部から外方に突出することで前記外側円筒部の内周と係合するように設けられたフランジ係合部と、をさらに備えたことを特徴とする、電子写真感光体。
JP2008191574A 2008-07-25 2008-07-25 電子写真感光体 Active JP4650534B2 (ja)

Priority Applications (2)

Application Number Priority Date Filing Date Title
JP2008191574A JP4650534B2 (ja) 2008-07-25 2008-07-25 電子写真感光体
US12/505,113 US8180252B2 (en) 2008-07-25 2009-07-17 Photosensitive body for electro-photography

Applications Claiming Priority (1)

Application Number Priority Date Filing Date Title
JP2008191574A JP4650534B2 (ja) 2008-07-25 2008-07-25 電子写真感光体

Publications (2)

Publication Number Publication Date
JP2010032570A true JP2010032570A (ja) 2010-02-12
JP4650534B2 JP4650534B2 (ja) 2011-03-16

Family

ID=41568776

Family Applications (1)

Application Number Title Priority Date Filing Date
JP2008191574A Active JP4650534B2 (ja) 2008-07-25 2008-07-25 電子写真感光体

Country Status (2)

Country Link
US (1) US8180252B2 (ja)
JP (1) JP4650534B2 (ja)

Families Citing this family (2)

* Cited by examiner, † Cited by third party
Publication number Priority date Publication date Assignee Title
JP5857541B2 (ja) * 2011-08-31 2016-02-10 ブラザー工業株式会社 プロセスカートリッジ
JP7469988B2 (ja) * 2020-08-07 2024-04-17 シャープ株式会社 感光体ドラム、プロセスユニットおよび画像形成装置

Citations (2)

* Cited by examiner, † Cited by third party
Publication number Priority date Publication date Assignee Title
JPH02123971U (ja) * 1989-03-22 1990-10-12
JPH0312270U (ja) * 1989-06-22 1991-02-07

Family Cites Families (18)

* Cited by examiner, † Cited by third party
Publication number Priority date Publication date Assignee Title
JPH0797745B2 (ja) 1987-07-28 1995-10-18 日立電子株式会社 位相同期回路
JPS6473292A (en) 1987-09-16 1989-03-17 Toshiba Corp Nuclear fuel assembly
JPH05119681A (ja) 1991-10-25 1993-05-18 Mita Ind Co Ltd 感光体ドラム
JPH05119682A (ja) 1991-10-25 1993-05-18 Mita Ind Co Ltd 感光体ドラム
JP3236066B2 (ja) 1992-04-27 2001-12-04 キヤノン株式会社 帯電装置及び帯電部材の軸受
JP3259985B2 (ja) * 1992-09-04 2002-02-25 キヤノン株式会社 プロセスカートリッジ及び画像形成装置
JP3285413B2 (ja) * 1993-04-28 2002-05-27 キヤノン株式会社 感光体ドラム及びプロセスカートリッジ及び画像形成装置
JPH08129285A (ja) 1994-10-31 1996-05-21 Konica Corp コロナ帯電器
JPH08305256A (ja) 1995-04-27 1996-11-22 Canon Inc プロセスカートリッジ及び画像形成装置
US5845173A (en) * 1997-12-19 1998-12-01 Mitsubishi Chemical America, Inc. Conductive assembly for a drum in an image forming apparatus
JP3519936B2 (ja) 1998-03-09 2004-04-19 富士電機デバイステクノロジー株式会社 電子写真用感光体装置
JPH11352831A (ja) 1998-06-08 1999-12-24 Fuji Electric Co Ltd 画像形成装置
JP2000181286A (ja) 1998-12-11 2000-06-30 Fuji Electric Co Ltd 電子写真感光体用アース電極
JP2001092306A (ja) 1999-09-24 2001-04-06 Fuji Denki Gazo Device Kk 感光体ドラムユニット
JP2001356638A (ja) 2000-06-14 2001-12-26 Canon Inc ドラムユニットおよび画像形成装置
JP2004077913A (ja) 2002-08-20 2004-03-11 Fuji Denki Gazo Device Kk 電子写真感光体
US7020410B2 (en) * 2003-11-21 2006-03-28 Mitsubishi Chemical America, Inc. Grounding plate assembly for a drum in an image forming apparatus
JP2007025347A (ja) 2005-07-19 2007-02-01 Canon Inc プロセスカートリッジ

Patent Citations (2)

* Cited by examiner, † Cited by third party
Publication number Priority date Publication date Assignee Title
JPH02123971U (ja) * 1989-03-22 1990-10-12
JPH0312270U (ja) * 1989-06-22 1991-02-07

Also Published As

Publication number Publication date
JP4650534B2 (ja) 2011-03-16
US20100021206A1 (en) 2010-01-28
US8180252B2 (en) 2012-05-15

Similar Documents

Publication Publication Date Title
JP5699668B2 (ja) 像担持体ユニット、プロセスカートリッジ、画像形成装置および像担持体ユニットの通電方法
US6336012B1 (en) Developing device, process cartridge and electric energy supply part to developing roller
JP2020056817A (ja) ドロワ
JP2020056818A (ja) 現像カートリッジ
JP4650534B2 (ja) 電子写真感光体
US20090022528A1 (en) Fixing device and image forming apparatus
US20080187368A1 (en) Drum unit and image forming apparatus equipped therewith
JP5132736B2 (ja) 接点部材、電子写真感光体ドラム、プロセスカートリッジ
JP2009216864A (ja) 電子写真感光体
JP2009216865A (ja) 電子写真感光体
JP5742162B2 (ja) 通電機構、像担持体ユニット、プロセスカートリッジ、ベルトユニットおよび画像形成装置
JP2009216863A (ja) 電子写真感光体
CN107526261B (zh) 感光鼓单元及图像形成装置
JP5568520B2 (ja) 感光ドラム及びこれを備えた画像形成装置
JP5278199B2 (ja) 感光体ドラム、および感光体ドラムを備えたカラー画像形成装置
JP5092856B2 (ja) 電子写真感光体
JP2001356638A (ja) ドラムユニットおよび画像形成装置
WO2018142641A1 (ja) 現像カートリッジ
JP3167180U (ja) 電子写真感光体
JP2011039409A (ja) 感光体装置、プロセスカートリッジおよび画像形成装置
JP2009175645A (ja) 画像形成装置
JP3167179U (ja) 電子写真感光体
JP3167178U (ja) 電子写真感光体
JP2008287122A (ja) 定着装置
JP7347025B2 (ja) 現像ローラ、現像装置、および画像形成装置

Legal Events

Date Code Title Description
A621 Written request for application examination

Free format text: JAPANESE INTERMEDIATE CODE: A621

Effective date: 20100323

A977 Report on retrieval

Free format text: JAPANESE INTERMEDIATE CODE: A971007

Effective date: 20100611

A131 Notification of reasons for refusal

Free format text: JAPANESE INTERMEDIATE CODE: A131

Effective date: 20100615

A521 Request for written amendment filed

Free format text: JAPANESE INTERMEDIATE CODE: A523

Effective date: 20100728

TRDD Decision of grant or rejection written
A01 Written decision to grant a patent or to grant a registration (utility model)

Free format text: JAPANESE INTERMEDIATE CODE: A01

Effective date: 20101116

A01 Written decision to grant a patent or to grant a registration (utility model)

Free format text: JAPANESE INTERMEDIATE CODE: A01

A61 First payment of annual fees (during grant procedure)

Free format text: JAPANESE INTERMEDIATE CODE: A61

Effective date: 20101129

R150 Certificate of patent or registration of utility model

Ref document number: 4650534

Country of ref document: JP

Free format text: JAPANESE INTERMEDIATE CODE: R150

Free format text: JAPANESE INTERMEDIATE CODE: R150

FPAY Renewal fee payment (event date is renewal date of database)

Free format text: PAYMENT UNTIL: 20131224

Year of fee payment: 3