JP2010031124A - 粘着シート - Google Patents

粘着シート Download PDF

Info

Publication number
JP2010031124A
JP2010031124A JP2008193865A JP2008193865A JP2010031124A JP 2010031124 A JP2010031124 A JP 2010031124A JP 2008193865 A JP2008193865 A JP 2008193865A JP 2008193865 A JP2008193865 A JP 2008193865A JP 2010031124 A JP2010031124 A JP 2010031124A
Authority
JP
Japan
Prior art keywords
pressure
sensitive adhesive
adhesive layer
adhesive sheet
peeling
Prior art date
Legal status (The legal status is an assumption and is not a legal conclusion. Google has not performed a legal analysis and makes no representation as to the accuracy of the status listed.)
Granted
Application number
JP2008193865A
Other languages
English (en)
Other versions
JP5451000B2 (ja
Inventor
Seiichi Sato
聖一 佐藤
Kazutomi Shigemi
一臣 重見
Current Assignee (The listed assignees may be inaccurate. Google has not performed a legal analysis and makes no representation or warranty as to the accuracy of the list.)
Oji Tac Co Ltd
Toppan Edge Inc
Original Assignee
Toppan Forms Co Ltd
Oji Tac Co Ltd
Priority date (The priority date is an assumption and is not a legal conclusion. Google has not performed a legal analysis and makes no representation as to the accuracy of the date listed.)
Filing date
Publication date
Application filed by Toppan Forms Co Ltd, Oji Tac Co Ltd filed Critical Toppan Forms Co Ltd
Priority to JP2008193865A priority Critical patent/JP5451000B2/ja
Publication of JP2010031124A publication Critical patent/JP2010031124A/ja
Application granted granted Critical
Publication of JP5451000B2 publication Critical patent/JP5451000B2/ja
Expired - Fee Related legal-status Critical Current
Anticipated expiration legal-status Critical

Links

Images

Landscapes

  • Laminated Bodies (AREA)
  • Adhesive Tapes (AREA)

Abstract

【課題】簡便にかつ安価に製造でき、廃棄物量が少ない粘着シートを提供する。
【解決手段】本発明の粘着シート1は、基材10と、基材10の片面に設けられた粘着剤層20と、粘着剤層20の基材10と反対側の面に積層された剥離体30とを有するであって、基材10および粘着剤層20には、基材10および粘着剤層20を、剥離体30から剥離可能なラベル部αとラベル部α以外の非ラベル部βとに分割する第1の切り込みC111113が形成されており、剥離体30には、剥離体30を、粘着剤層20から剥離可能な剥離部31と剥離部31以外の非剥離部32とに分割する第2の切り込みC211,C213が形成され、剥離部31が、剥離体30のラベル部αに重ならない部分の一部である。
【選択図】図2

Description

本発明は、紙やプラスチックシートに貼着した状態で、基材および粘着剤層を有する粘着ラベルが得られる粘着シートに関する。
近年、個人情報の保護が極めて重要になってきている。そのため、個人情報を記入する用紙に個人情報を記載して郵送する際には、個人情報が第三者に見られないように、個人情報を記入した部分に隠蔽用の粘着シートを貼付することが一般的になっている。
このような粘着シートとしては、例えば、図23に示すような、第1の剥離体210に剥離可能に貼着された第1の粘着剤層220と、第1の粘着剤層220の第1の剥離体210と反対側の面に剥離不能に貼着された第2の剥離体230と、第2の剥離体230の第1の粘着剤層220と反対側の面に設けられた隠蔽用ラベル240とを有し、隠蔽用ラベル240が、第2の剥離体230に剥離可能に貼着された第2の粘着剤層241と、第2の粘着剤層241の第2の剥離体230と反対側の面に剥離不能に貼着された基材242とを備えるものが知られている。
この粘着シート200は、以下のようにして使用される。すなわち、まず、第1の剥離体210を第1の粘着剤層220から剥離して、第1の粘着剤層210と第2の剥離体230と隠蔽用ラベル240とからなる粘着シート本体200aを得る。その粘着シート本体200aを、第1の粘着剤層220により、個人情報記入用領域を有する記入用シートの、個人情報記入用領域以外の領域に貼着し、受取人に郵送する。次いで、受取人が記入用シートに個人情報を記入した後、記入用シートに貼着された粘着シート本体200aの第2の剥離体230から隠蔽ラベル240を剥離する。そして、隠蔽ラベル240を個人情報記入用領域に貼着し、差出人に返送する。このようにして粘着シート200を使用することにより、個人情報を保護できる。
特開平7−276856号公報
しかしながら、剥離体と粘着剤層とが交互に二重になっている従来の粘着シートは、製造が複雑になる上に、コストが高くなる傾向にあった。また、近年では、環境に配慮して、廃棄物量が少ないものが求められているが、従来の粘着シートは廃棄物量が少ないとは言えなかった。
そこで、本発明は、簡便にかつ安価に製造でき、廃棄物量が少ない粘着シートを提供することを目的とする。
本発明は、以下の態様を包含する。
[1] 基材と、該基材の片面に設けられた粘着剤層と、該粘着剤層の基材と反対側の面に積層された剥離体とを有する粘着シートであって、
基材および粘着剤層には、該基材および該粘着剤層を、剥離体から剥離可能なラベル部と該ラベル部以外の非ラベル部とに分割する第1の切り込みが形成されており、
剥離体には、該剥離体を、粘着剤層から剥離可能な剥離部と該剥離部以外の非剥離部とに分割する第2の切り込みが形成され、前記剥離部が、該剥離体の前記ラベル部に重ならない部分の一部であることを特徴とする粘着シート。
[2] 第1の切り込みと第2の切り込みとは互いに重ならないように形成されている[1]に記載の粘着シート。
[3] 基材は、粘着剤層に貼着される擬似接着用支持体と、該擬似接着用支持体の粘着剤層と反対側の面に剥離可能にかつ再貼着不能に接着された擬似接着シートとを有する[1]または[2]に記載の粘着シート。
本発明の粘着シートは、簡便にかつ安価に製造でき、廃棄物量が少ないものである。
<第1の実施形態>
本発明の粘着シートの第1の実施形態について説明する。
(粘着シート)
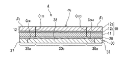
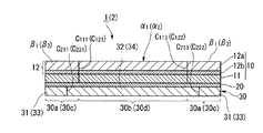
図1および図2に、本実施形態の粘着シートを示す。この粘着シート1は、基材10と、基材10の片面に設けられた粘着剤層20と、粘着剤層20の基材10と反対側の面に積層された剥離体30とを有する矩形状のシートである。
本実施形態の粘着シート1における基材10および粘着剤層20には、基材10および粘着剤層20の一部を略矩形状に輪郭付ける第1の切り込みC111,C112,C113,C114が形成されている。この第1の切り込みC111,C112,C113,C114によって、基材10および粘着剤層20は、剥離体30から剥離可能な略矩形状のラベル部αと、ラベル部α以外の非ラベル部βとに分割されている。本実施形態では、ラベル部αは粘着シート1の略中央に位置している。
また、本実施形態における剥離体30のラベル部αに重ならない部分30aには、第1の切り込みC111,C112,C113,C114に平行に、かつ、重ならず、剥離体30の一部を略矩形状に輪郭付ける第2の切り込みC211,C212,C213,C214が形成されている。この第2の切り込みC211,C212,C213,C214によって、剥離体30は、粘着剤層20から剥離可能な略矩形状の剥離部31と剥離部31以外の非剥離部32とに分割されている。また、非剥離部32が、ラベル部αに重なる部分30bを含むようになっている。
[基材]
本実施形態における基材10は、粘着剤層20に貼着される擬似接着用支持体11と、擬似接着用支持体11の粘着剤層20と反対側の面に剥離可能にかつ再貼着不能に接着された擬似接着シート12とを有する。
擬似接着用支持体11としては、例えば、透明または半透明の紙類、フィルム類等が用いられる。擬似接着用支持体11の中でも透明フィルムが好ましい。擬似接着用支持体11が透明フィルムであれば、個人情報を記載した部分にラベル部αを貼着し、擬似接着シート12を擬似接着用支持体11から剥離した際に、記入した個人情報の視認性が高くなる。
透明フィルムとしては、例えば、ポリエチレンテレフタレート(PET)、ポリエチレン(PE)、ポリプロピレン(PE)等の透明樹脂フィルムなどが挙げられる。
擬似接着用支持体11の厚さは15〜200μmであることが好ましい。擬似接着用支持体11の厚さが15μm以上であれば、擬似接着用支持体11自体の強度を確保でき、200μm以下であれば、ラベル部αを薄くして可撓性を高めることができる。
擬似接着シート12は、表面用支持体12aと、表面用支持体12aの擬似接着用支持体11側の面に設けられた擬似接着樹脂層12bとを有する。
表面用支持体12aとしては、例えば、紙類、フィルム類等を適宜使用できる。紙類としては、キャストコート紙、アート紙、コート紙、上質紙等の紙類、ポリプロピレン、ポリエチレン、ポリエチレンテレフタレートやポリブチレンテレフタレート等のポリエステル、ポリ塩化ビニル等の各種高分子フィルム、蒸着紙、合成紙、布、不織布、金属ホイル等から適宜選択される。さらに、これらの積層体を使用することもできる。
これらの中でも、表面用支持体12aとしては、表面に容易に印刷できることから、紙類、合成紙が好ましい。
また、ラベル部αを、個人情報の隠蔽用のラベルとして用いる場合には、表面用支持体12aとして不透明なものを用いることが好ましい。不透明な表面用支持体12aとしては、例えば、不透明な材質で構成された支持体、不透明なインキが少なくとも一方の面に印刷または塗工された支持体などが挙げられる。
擬似接着樹脂層12bを構成する成分としては、例えば、ポリエチレン、ポリプロピレン、ポリブテン等のポリオレフィンや、ポリ塩化ビニル、ポリ塩化ビニリデン、ポリエステルなどの軟質熱可塑性樹脂が挙げられる。
擬似接着樹脂層12bの厚さは5〜50μmであることが好ましい。擬似接着樹脂層12bの厚さが5μm以上であれば、充分に擬似接着用支持体11を剥離可能に接着でき、50μm以下であれば、容易に擬似接着樹脂層12bを形成できる。
[粘着剤層]
粘着剤層20としては、例えば、ゴム系、アクリル系、ウレタン系、ビニルエーテル系等の任意の粘着剤を使用できる。これらの中でも、耐候性、透明性等に優れ、広範な用途に使用できることから、アクリル系粘着剤が好ましく、アクリル系粘着剤としては、エマルジョン型、溶剤型、ホットメルト型等があり、本発明においては、いずれの型のものも使用できる。これらの中でも、安全面、品質面、コスト面からエマルジョン型アクリル系粘着剤が好ましい。
さらに、粘着剤層20は、必要に応じて他の任意成分を含有してもよい。他の任意成分としては、タッキファイヤー、粘着性微球体、増粘剤、pH調整剤、消泡剤、防腐防黴剤、顔料、無機充填剤、安定剤、濡れ剤、湿潤剤等が挙げられる。タッキファイヤーとしては、ロジン系樹脂、テルペン系樹脂、脂肪族系石油樹脂、芳香族系石油樹脂、水添石油樹脂、スチレン系樹脂、アルキルフェノール樹脂等が挙げられる。
粘着剤層20の厚さは10〜100μmであることが好ましい。粘着剤層20が10μm以上であれば、充分な接着強度の粘着剤層20になる。しかし、100μmより高くしても、厚さに応じた接着強度の向上は図れないため、無益になる。
[剥離体]
剥離体30としては、例えば、周知の剥離シートが使用される。周知の剥離シートとしては、例えば、キャストコート紙、アート紙、コート紙、上質紙、クラフト紙、グラシン紙等の紙の表面に、必要に応じて目止め層を形成した上で、シリコーン系等の剥離剤を塗布した剥離シートなどが挙げられる。
(使用方法)
上記粘着シート1の使用方法の一例について説明する。
本例は、上記粘着シート1を、個人情報記入用領域を有する記入用シートに貼着して使用する例である。
本例では、まず、粘着シート1の剥離部31を剥離し、図3に示すように、粘着剤層20の周縁部20aを露出させる。以下、剥離部31を剥離した、非剥離部32と粘着剤層20と基材10とからなる粘着シートのことを粘着シート本体1bという。
次いで、図4に示すように、露出させた粘着剤層20の周縁部20aにより、粘着シート本体1bを、個人情報記入用領域110を有する記入用シート100の、個人情報記入用領域110以外の非記入用領域120に貼着して、受取人に郵送する。
次いで、記入用シート100を受け取った受取人が、個人情報記入用領域110に、住所、氏名、電話番号、職業等の個人情報を記入する。次いで、図5に示すように、記入用シート100に貼着された粘着シート本体1bからラベル部αを剥離し、そのラベル部αを個人情報記入用領域110に、粘着剤層20により貼着して、個人情報を隠蔽し、差出人に返送する。
返送された記入シートを受け取った差出人は、図6に示すように、擬似接着シート12を擬似接着用支持体11から剥離して、個人情報記入用領域110に記入された個人情報を、粘着剤層20および擬似接着用支持体11を通して読み取る。
以上のようにして、粘着シート1を使用する。
(製造方法)
粘着シート1の製造方法の一例について説明する。
例えば、まず、表面用支持体12aの片面に、擬似接着樹脂層12bを形成する樹脂を溶融させた溶融樹脂を積層して擬似接着樹脂層12bを形成し、その擬似接着樹脂層12bが冷却固化する前に、擬似接着用支持体11を貼り合わせる。その後、擬似接着樹脂層12bを冷却固化して擬似接着用支持体11と擬似接着樹脂層12bとを擬似接着して、基材10を得る。
次いで、剥離体30の剥離面上に粘着剤を塗布して粘着剤層20を形成し、その粘着剤層20を介して、剥離体30に基材10を貼り合わせる。これにより、基材10と粘着剤層20と剥離体30とを有する積層体を得る。
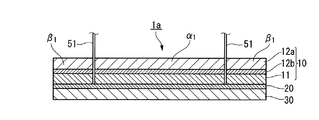
次いで、図7に示すように、基材10側から、積層体1aの基材10および粘着剤層20に、第1の切り込みC111,C112,C113,C114を形成するための切り刃51を剥離体30に達するまで進入させて、ラベル部αおよび非ラベル部βを形成する。
また、図8に示すように、剥離体30側から、剥離体30のラベル部αに重ならない部分30aに、第2の切り込みC211,C212,C213,C214を形成するための切り刃52を、粘着剤層20に達するまで進入させる。ここで、切り刃52は、第1の切り込みC111,C112,C113,C114に平行に配置する。また、切り刃52によって輪郭付けられる部分が、ラベル部αに重なる部分を含むようにする。
このように剥離体30を切り込んで、剥離部31および非剥離部32を形成して、図1に示す粘着シート1を得る。
上述した粘着シート1は、剥離部31を剥離することによって露出する粘着剤層20の周縁部20aにより、シート等の被着体に貼着可能になっており、しかも剥離部31を剥離した後に、非剥離部32からラベル部αを剥離できるようになっている。この粘着シート1では、粘着剤層と剥離体とを二重に積層しなくてよいから、簡便にかつ安価に製造できる。
また、粘着シート1を被着体に貼着する際には、剥離体30の一部(剥離部31)のみを剥離すればよいから、廃棄物量が少ない。
<第2の実施形態>
本発明の粘着シートの第2の実施形態について説明する。
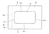
図9および図2に、本実施形態の粘着シートを示す。この粘着シート2は、基材10と、基材10の片面に設けられた粘着剤層20と、粘着剤層20の基材10と反対側の面に積層された剥離体30とを有する矩形状のシートである。本実施形態における基材10、粘着剤層20および剥離体30は、第1の実施形態における基材10、粘着剤層20および剥離体30と同様のものが使用される。
本実施形態の粘着シート2における基材10および粘着剤層20には、基材10および粘着剤層20を、一端Pから他端Qまで縦方向に(図9における上下方向に)切り込んだ第1の切り込みC121,C122が2本形成されている。この第1の切り込みC121,C1122によって、基材10および粘着剤層20は、第1の切り込みC121,C122の間に配置され、剥離体30から剥離可能な矩形状のラベル部αと、ラベル部α以外の非ラベル部βとに分割されている。
また、本実施形態における剥離体30のラベル部αに重ならない部分30cには、第1の切り込みC121,C122に平行に、かつ、重ならず、剥離体30を一端Pから他端Qまで縦方向に切り込んだ第2の切り込みC221,C222が2本形成されている。この第2の切り込みC221,C222によって、剥離体30が、粘着剤層20から剥離可能な矩形状の剥離部33と剥離部33以外の非剥離部34とに分割されている。非剥離部34は、ラベル部αに重なる部分30dを含むようになっている。
(使用方法)
上記粘着シート2の使用方法の一例について説明する。
本例では、まず、粘着シート2の剥離部33を剥離し、図3に示すように、粘着剤層20の両縁部20bを露出させる。以下、剥離部33を剥離した、非剥離部34と粘着剤層20と基材10とからなる粘着シートのことを粘着シート本体2bという。
次いで、図4に示すように、露出させた粘着剤層20の両縁部20bにより、粘着シート本体2bを記入用シート100の個人情報記入用領域110以外の非記入用領域120に貼着して、受取人に郵送する。
次いで、記入用シート100を受け取った受取人が個人情報記入用領域110に個人情報を記入する。次いで、図5に示すように、記入用シート100に貼着された粘着シート本体2bからラベル部αを剥離し、そのラベル部αを個人情報記入用領域110に、粘着剤層20により貼着し、差出人に返送する。
返送された記入シートを受け取った差出人は、図6に示すように、擬似接着シート12を擬似接着用支持体11から剥離して、個人情報記入用領域110に記入された個人情報を、粘着剤層20および擬似接着用支持体11を通して読み取る。
(製造方法)
粘着シート2の製造方法の一例について説明する。
まず、第1の実施形態と同様にして、基材10と粘着剤層20と剥離体30とを有する積層体を得る。
次いで、基材10側から、基材10および粘着剤層20に、一端Pから他端Qまで縦方向に第1の切り込みC121,C122を形成するための切り刃を剥離体30に達するまで進入させて、ラベル部αおよび非ラベル部βを形成する。
また、剥離体30側から、剥離体30のラベル部αに重ならない部分30cに、第2の切り込みC221,C222を形成するための切り刃を、粘着剤層20に達するまで進入させる。ここで、切り刃は、第1の切り込みC121,C122に平行に、剥離体30を一端Pから他端Qまで縦方向に切り込むように配置する。
このように剥離体30を切り込むことにより、剥離部33および非剥離部34を形成して、図9に示す粘着シート2を得る。
上述した粘着シート2は、剥離部33を剥離することによって露出する粘着剤層20の両縁部20bにより、シート等の被着体に貼着可能になっており、しかも剥離部33を剥離した後に、非剥離部34からラベル部αを剥離できるようになっている。この粘着シート2では、粘着剤層と剥離体とを二重に積層しなくてよいから、簡便にかつ安価に製造できる。
また、粘着シート2を被着体に貼着する際には、剥離体30の一部(剥離部33)のみを剥離すればよいから、廃棄物量が少ない。
<第3の実施形態>
本発明の粘着シートの第3の実施形態について説明する。
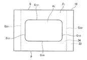
図10に、本実施形態の粘着シートを示す。この粘着シート3は、基材10と、基材10の片面に設けられた粘着剤層20と、粘着剤層20の基材10と反対側の面に積層された剥離体30とを有する矩形状のシートである。本実施形態における基材10、粘着剤層20および剥離体30は、第1の実施形態における基材10、粘着剤層20および剥離体30と同様のものが使用される。
本実施形態の粘着シート3における基材10および粘着剤層20には、基材10および粘着剤層20を、一端Pから他端Qまで縦方向に切り込んだ第1の切り込みC131が1本形成されている。この第1の切り込みC131によって、基材10および粘着剤層20は、第1の切り込みC131の片側(図10における第1の切り込みC131の右側)の、剥離体30から剥離可能な矩形状のラベル部αと、ラベル部α以外の非ラベル部βとに分割されている。
また、本実施形態における剥離体30のラベル部αに重ならない部分30eには、第1の切り込みC131に平行に、かつ、重ならず、剥離体30を一端Pから他端Qまで縦方向に切り込んだ第2の切り込みC231が1本形成されている。この第2の切り込みC231によって、剥離体30が、粘着剤層20から剥離可能な矩形状の剥離部35と剥離部35以外の非剥離部36とに分割されている。
(使用方法)
上記粘着シート3の使用方法の一例について説明する。
本例では、まず、粘着シート3の剥離部35を剥離し、図11に示すように、粘着剤層20の片縁部20cを露出させる。以下、剥離部35を剥離した、非剥離部36と粘着剤層20と基材10とからなる粘着シートのことを粘着シート本体3bという。
次いで、図12に示すように、露出させた粘着剤層20の片縁部20cにより、粘着シート本体3bを記入用シート100の個人情報記入用領域110以外の非記入用領域120に貼着して、受取人に郵送する。
次いで、記入用シート100を受け取った受取人が個人情報記入用領域110に個人情報を記入する。次いで、図13に示すように、記入用シート100に貼着された粘着シート本体3bからラベル部αを剥離し、そのラベル部αを個人情報記入用領域110に、粘着剤層20により貼着し、差出人に返送する。
返送された記入シートを受け取った差出人は、図14に示すように、擬似接着シート12を擬似接着用支持体11から剥離して、個人情報記入用領域110に記入された個人情報を、粘着剤層20および擬似接着用支持体11を通して読み取る。
(製造方法)
粘着シート3の製造方法の一例について説明する。
まず、第1の実施形態と同様にして、基材10と粘着剤層20と剥離体30とを有する積層体を得る。
次いで、基材10側から、基材10および粘着剤層20に、一端Pから他端Qまで縦方向に第1の切り込みC131を形成するための切り刃を剥離体30に達するまで進入させて、ラベル部αおよび非ラベル部βを形成する。
また、剥離体30側から、剥離体30のラベル部αに重ならない部分30eに、第2の切り込みC231を形成するための切り刃を、粘着剤層20に達するまで進入させる。ここで、切り刃は、第1の切り込みC131に平行に、剥離体30を一端Pから他端Qまで縦方向に切り込むように配置する。
このように剥離体30を切り込むことにより、剥離部35および非剥離部36を形成して、図10に示す粘着シート3を得る。
上述した粘着シート3は、剥離部35を剥離することによって露出する粘着剤層20の片縁部20cにより、シート等の被着体に貼着可能になっており、しかも剥離部35を剥離した後に、非剥離部36からラベル部αを剥離できるようになっている。この粘着シート3では、粘着剤層と剥離体とを二重に積層しなくてよいから、簡便にかつ安価に製造できる。
また、粘着シート3を被着体に貼着する際には、剥離体30の一部(剥離部35)のみを剥離すればよいから、廃棄物量が少ない。
<第4の実施形態>
本発明の粘着シートの第4の実施形態について説明する。
図15および図16に、本実施形態の粘着シートを示す。この粘着シート4は、基材10と、基材10の片面に設けられた粘着剤層20と、粘着剤層20の基材10と反対側の面に積層された剥離体30とを有する矩形状のシートである。本実施形態における基材10、粘着剤層20および剥離体30は、第1の実施形態における基材10、粘着剤層20および剥離体30と同様のものが使用される。
本実施形態の粘着シート4における基材10および粘着剤層20は、第1の実施形態の粘着シート1と同様に、第1の切り込みC111,C112,C113,C114によって、剥離体30から剥離可能な略矩形状のラベル部αと、ラベル部α以外の非ラベル部βとに分割されている。本実施形態においても、ラベル部αは粘着シート4の略中央に位置している。
また、本実施形態における剥離体30のラベル部αに重ならない部分30aには、各隅角部A,A,A,Aの近傍を、第1の切り込みC111,C112,C113,C114に重ならないように円弧状に切り込んだ第2の切り込みC241,C242,C243,C244が形成されている。この第2の切り込みC241,C242,C243,C244によって、剥離体30が、粘着剤層20から剥離可能な扇形状の4つの剥離部37と剥離部37以外の非剥離部38とに分割されている。非剥離部38は、ラベル部αに重なる部分30bを含むようになっている。
(使用方法)
上記粘着シート4の使用方法の一例について説明する。
本例では、まず、粘着シート4の各剥離部37を剥離し、図17に示すように、粘着剤層20の隅角近傍部20dを露出させる。以下、剥離部37が剥離された、非剥離部38と粘着剤層20と基材10とからなる粘着シートのことを粘着シート本体4bという。
次いで、露出させた粘着剤層20の隅角近傍部20dにより、図18に示すように、粘着シート本体4bを記入用シート100の個人情報記入用領域110以外の非記入用領域120に貼着して、受取人に郵送する。
次いで、記入用シート100を受け取った受取人が個人情報記入用領域110に個人情報を記入する。次いで、図19に示すように、記入用シート100に貼着された粘着シート本体4bからラベル部αを剥離し、そのラベル部αを個人情報記入用領域110に、粘着剤層20により貼着し、差出人に返送する。
返送された記入シートを受け取った差出人は、図20に示すように、擬似接着シート12を擬似接着用支持体11から剥離して、個人情報記入用領域110に記入された個人情報を、粘着剤層20および擬似接着用支持体11を通して読み取る。
(製造方法)
粘着シート4の製造方法の一例について説明する。
まず、第1の実施形態と同様にして、基材10と粘着剤層20と剥離体30とを有する積層体を得た後、基材10および粘着剤層20を切り刃51により切り込んでラベル部αおよび非ラベル部βを形成する。
また、剥離体30側から、剥離体30のラベル部αに重ならない部分30aに、各隅角部A,A,A,Aの近傍を円弧状に切り込む第2の切り込みC241,C242,C243,C244を形成するための切り刃を、粘着剤層20に達するまで進入させる。ここで、切り刃は、第1の切り込みC111,C112,C113,C114に重ならないように配置する。
このように剥離体30を切り込んで、剥離部37および非剥離部38を形成して、図15に示す粘着シート4を得る。
上述した粘着シート4は、剥離部37を剥離することによって露出する粘着剤層20の隅角近傍部20dにより、シート等の被着体に貼着可能になっており、しかも剥離部37を剥離した後に、非剥離部38からラベル部αを剥離できるようになっている。この粘着シート4では、粘着剤層と剥離体とを二重に積層しなくてよいから、簡便にかつ安価に製造できる。
また、粘着シート4を被着体に貼着する際には、剥離体30の一部(剥離部37)のみを剥離すればよいから、廃棄物量が少ない。
なお、本発明の粘着シートは、上記実施形態に限定されない。例えば、第1の実施形態において、ラベル部αが中央部に配置されていなくてもよく、例えば、粘着シート1のいずれかの端部側に偏って配置されていてもよい。
また、第2の実施形態におけるラベル部αを、図21に示すように、第1の実施形態におけるラベル部αと同様にしてもよい。また、第3の実施形態におけるラベル部αを、図22に示すように、第1の実施形態におけるラベル部αと同様にしてもよい。
また、上記実施形態では、粘着シートおよびラベル部が矩形状あるいは略矩形状であったが、それ以外の形状、例えば、円形状、三角形状、正方形状等であっても構わない。
ラベル部は複数設けられていても構わない。ラベル部が複数設けられている場合、各々隣接していてもよいし、離間していてもよい。
また、基材は、表面用支持体12aと同様の支持体のみからなっていてもよい。だだし、基材が表面用支持体12aと同様の支持体のみからなるものを個人情報等の隠蔽用に使用する場合には、粘着剤層を再剥離型粘着剤の層にする。
また、上記実施形態における基材は擬似接着用支持体11を有していたが、擬似接着シート12自体が支持体を兼ねる場合には、擬似接着用支持体11がなくても構わない。
本発明の粘着シートは隠蔽用以外の用途、例えば、物流ラベル、宛名ラベル、管理ラベル等にも使用できる。
また、上述した実施形態では、第1の切り込みと第2の切り込みとが互いに重なっていないが、一部が重なっていても構わない。ただし、重なっている部分は、できるだけ短いことが好ましい。
本発明の粘着シートの第1の実施形態を示す上面図である。 図1のI−I’断面図、図9のII−II’断面図である。 第1の実施形態の粘着シートの使用方法の一例を説明する図である。 第1の実施形態の粘着シートの使用方法の一例を説明する図である。 第1の実施形態の粘着シートの使用方法の一例を説明する図である。 第1の実施形態の粘着シートの使用方法の一例を説明する図である。 第1の実施形態の粘着シートの製造方法の一例を説明する図である。 第1の実施形態の粘着シートの製造方法の一例を説明する図である。 本発明の粘着シートの第2の実施形態を示す上面図である。 本発明の粘着シートの第3の実施形態を示す上面図である。 第3の実施形態の粘着シートの使用方法の一例を説明する図である。 第3の実施形態の粘着シートの使用方法の一例を説明する図である。 第3の実施形態の粘着シートの使用方法の一例を説明する図である。 第3の実施形態の粘着シートの使用方法の一例を説明する図である。 本発明の粘着シートの第4の実施形態を示す上面図である。 図15のIII−III’断面図である。 第4の実施形態の粘着シートの使用方法の一例を説明する図である。 第4の実施形態の粘着シートの使用方法の一例を説明する図である。 第4の実施形態の粘着シートの使用方法の一例を説明する図である。 第4の実施形態の粘着シートの使用方法の一例を説明する図である。 本発明の粘着シートの第2の実施形態の変形例を示す上面図である。 本発明の粘着シートの第3の実施形態の変形例を示す上面図である。 従来の粘着シートを示す断面図である。
符号の説明
1,2,3,4 粘着シート
1b,2b,3b,4b 粘着シート本体
10 基材
11 擬似接着用支持体
12 擬似接着シート
12a 表面用支持体
12b 擬似接着樹脂層
20 粘着剤層
20a 周縁部
20b 両縁部
20c 片縁部
20d 隅角近傍部
30 剥離体
30a,30c,30e ラベル部に重ならない部分
30b,30d ラベル部に重なる部分
31,33,35,37 剥離部
32,34,36,38 非剥離部
α,α,α,α ラベル部
β,β,β,β 非ラベル部
,A,A,A 隅角部
111,C112,C113,C114,C121,C122,C131 第1の切り込み
211,C212,C213,C221,C222,C231,C241,C242,C243,C244 第2の切り込み
100 記入用シート
110 個人情報記入用領域
120 非記入用領域

Claims (3)

  1. 基材と、該基材の片面に設けられた粘着剤層と、該粘着剤層の基材と反対側の面に積層された剥離体とを有する粘着シートであって、
    基材および粘着剤層には、該基材および該粘着剤層を、剥離体から剥離可能なラベル部と該ラベル部以外の非ラベル部とに分割する第1の切り込みが形成されており、
    剥離体には、該剥離体を、粘着剤層から剥離可能な剥離部と該剥離部以外の非剥離部とに分割する第2の切り込みが形成され、前記剥離部が、該剥離体の前記ラベル部に重ならない部分の一部であることを特徴とする粘着シート。
  2. 第1の切り込みと第2の切り込みとは互いに重ならないように形成されている請求項1に記載の粘着シート。
  3. 基材は、粘着剤層に貼着される擬似接着用支持体と、該擬似接着用支持体の粘着剤層と反対側の面に剥離可能にかつ再貼着不能に接着された擬似接着シートとを有する請求項1または2に記載の粘着シート。
JP2008193865A 2008-07-28 2008-07-28 粘着シート Expired - Fee Related JP5451000B2 (ja)

Priority Applications (1)

Application Number Priority Date Filing Date Title
JP2008193865A JP5451000B2 (ja) 2008-07-28 2008-07-28 粘着シート

Applications Claiming Priority (1)

Application Number Priority Date Filing Date Title
JP2008193865A JP5451000B2 (ja) 2008-07-28 2008-07-28 粘着シート

Publications (2)

Publication Number Publication Date
JP2010031124A true JP2010031124A (ja) 2010-02-12
JP5451000B2 JP5451000B2 (ja) 2014-03-26

Family

ID=41735995

Family Applications (1)

Application Number Title Priority Date Filing Date
JP2008193865A Expired - Fee Related JP5451000B2 (ja) 2008-07-28 2008-07-28 粘着シート

Country Status (1)

Country Link
JP (1) JP5451000B2 (ja)

Cited By (1)

* Cited by examiner, † Cited by third party
Publication number Priority date Publication date Assignee Title
JP2015223785A (ja) * 2014-05-29 2015-12-14 富士通テン株式会社 保護部材

Citations (4)

* Cited by examiner, † Cited by third party
Publication number Priority date Publication date Assignee Title
JPH07323680A (ja) * 1994-05-31 1995-12-12 Toppan Moore Co Ltd 隠蔽情報所持体用シート
JP2006201681A (ja) * 2005-01-24 2006-08-03 Hisago Label Kk 粘着ラベル及びラベルシート
JP2008008943A (ja) * 2006-06-27 2008-01-17 Oji Paper Co Ltd 隠蔽用粘着シートおよび剥離シート付き隠蔽用粘着シート
JP2009292978A (ja) * 2008-06-06 2009-12-17 Oji Tac Hanbai Kk 粘着シート

Patent Citations (4)

* Cited by examiner, † Cited by third party
Publication number Priority date Publication date Assignee Title
JPH07323680A (ja) * 1994-05-31 1995-12-12 Toppan Moore Co Ltd 隠蔽情報所持体用シート
JP2006201681A (ja) * 2005-01-24 2006-08-03 Hisago Label Kk 粘着ラベル及びラベルシート
JP2008008943A (ja) * 2006-06-27 2008-01-17 Oji Paper Co Ltd 隠蔽用粘着シートおよび剥離シート付き隠蔽用粘着シート
JP2009292978A (ja) * 2008-06-06 2009-12-17 Oji Tac Hanbai Kk 粘着シート

Cited By (1)

* Cited by examiner, † Cited by third party
Publication number Priority date Publication date Assignee Title
JP2015223785A (ja) * 2014-05-29 2015-12-14 富士通テン株式会社 保護部材

Also Published As

Publication number Publication date
JP5451000B2 (ja) 2014-03-26

Similar Documents

Publication Publication Date Title
JP5451000B2 (ja) 粘着シート
JP5165471B2 (ja) 粘着シート
JP2014040005A (ja) 配送伝票
US6761948B2 (en) Release foil
JP2011121362A (ja) 配送伝票
JP5810440B2 (ja) 包装体
JP2020032538A (ja) 積層シート
JP2012014135A (ja) 情報表示ラベル及び情報表示ラベルシート
JP5539655B2 (ja) 貼付シート
JP5493351B2 (ja) ラミネートカードの製造方法
JPH0516605Y2 (ja)
JP4588564B2 (ja) カード付き積層体
JP5810439B2 (ja) ラベル付き包装体
JP4505374B2 (ja) 隠蔽ラベル
JP7749996B2 (ja) 包装袋
JP2012208470A (ja) 擬似接着ラベル
JP5609359B2 (ja) 配送伝票
JP2025007914A (ja) 収容ラベルの積層体及びその製造方法
JP3178210U (ja) 配送伝票
JP3185240U (ja) 粘着体の着脱自在層を有するシール
JP5219789B2 (ja) ラミネート基材貼合用シート
JPH071871A (ja) 隠蔽用シート
JPS588749Y2 (ja) 粘着テ−プもしくはシ−ト
JP2009119679A (ja) 隠蔽葉書
JP3178208U (ja) 配送伝票

Legal Events

Date Code Title Description
A621 Written request for application examination

Free format text: JAPANESE INTERMEDIATE CODE: A621

Effective date: 20110106

A977 Report on retrieval

Free format text: JAPANESE INTERMEDIATE CODE: A971007

Effective date: 20121105

A131 Notification of reasons for refusal

Free format text: JAPANESE INTERMEDIATE CODE: A131

Effective date: 20121113

A521 Request for written amendment filed

Free format text: JAPANESE INTERMEDIATE CODE: A523

Effective date: 20121227

A131 Notification of reasons for refusal

Free format text: JAPANESE INTERMEDIATE CODE: A131

Effective date: 20130910

A521 Request for written amendment filed

Free format text: JAPANESE INTERMEDIATE CODE: A523

Effective date: 20131025

TRDD Decision of grant or rejection written
A01 Written decision to grant a patent or to grant a registration (utility model)

Free format text: JAPANESE INTERMEDIATE CODE: A01

Effective date: 20131203

A61 First payment of annual fees (during grant procedure)

Free format text: JAPANESE INTERMEDIATE CODE: A61

Effective date: 20131226

R150 Certificate of patent or registration of utility model

Ref document number: 5451000

Country of ref document: JP

Free format text: JAPANESE INTERMEDIATE CODE: R150

Free format text: JAPANESE INTERMEDIATE CODE: R150

R250 Receipt of annual fees

Free format text: JAPANESE INTERMEDIATE CODE: R250

R250 Receipt of annual fees

Free format text: JAPANESE INTERMEDIATE CODE: R250

R250 Receipt of annual fees

Free format text: JAPANESE INTERMEDIATE CODE: R250

R250 Receipt of annual fees

Free format text: JAPANESE INTERMEDIATE CODE: R250

R250 Receipt of annual fees

Free format text: JAPANESE INTERMEDIATE CODE: R250

LAPS Cancellation because of no payment of annual fees