JP2010030433A - 車両におけるシート構造 - Google Patents

車両におけるシート構造 Download PDF

Info

Publication number
JP2010030433A
JP2010030433A JP2008194798A JP2008194798A JP2010030433A JP 2010030433 A JP2010030433 A JP 2010030433A JP 2008194798 A JP2008194798 A JP 2008194798A JP 2008194798 A JP2008194798 A JP 2008194798A JP 2010030433 A JP2010030433 A JP 2010030433A
Authority
JP
Japan
Prior art keywords
seat
cabin
back panel
vehicle
occupant
Prior art date
Legal status (The legal status is an assumption and is not a legal conclusion. Google has not performed a legal analysis and makes no representation as to the accuracy of the status listed.)
Granted
Application number
JP2008194798A
Other languages
English (en)
Other versions
JP5203838B2 (ja
Inventor
Masashi Naito
正志 内藤
Current Assignee (The listed assignees may be inaccurate. Google has not performed a legal analysis and makes no representation or warranty as to the accuracy of the list.)
Honda Motor Co Ltd
Original Assignee
Honda Motor Co Ltd
Priority date (The priority date is an assumption and is not a legal conclusion. Google has not performed a legal analysis and makes no representation as to the accuracy of the date listed.)
Filing date
Publication date
Application filed by Honda Motor Co Ltd filed Critical Honda Motor Co Ltd
Priority to JP2008194798A priority Critical patent/JP5203838B2/ja
Publication of JP2010030433A publication Critical patent/JP2010030433A/ja
Application granted granted Critical
Publication of JP5203838B2 publication Critical patent/JP5203838B2/ja
Expired - Fee Related legal-status Critical Current
Anticipated expiration legal-status Critical

Links

Images

Landscapes

  • Seats For Vehicles (AREA)

Abstract

【課題】 車両の前部が衝突により変形したとき、キャビンの後方の荷台を利用して乗員を速やかに救出できるようにすることを目的とする。
【解決手段】 車両の前部の衝突時にダッシュボード34とシート16のシートクッション16aの前端との間に脚を挟まれた乗員をキャビン11の側方や前方から救出することが困難な場合、キャビン11のバックパネル15をその下端のヒンジ26を中心にして後方の荷台12側に回転すると、バックパネル15にリンク30を介して連結されたシート16が荷台12側にスライドする。その結果、ダッシュボードとシート16との間に空間が形成され、かつキャビン11の後方が開放されるので、乗員を荷台12側に引き出して救出することができる。
【選択図】 図6

Description

本発明は、シートを備えるキャビンを荷台の前方に配置した車両におけるシート構造に関する。
車両の後席シートのシートバックを後方の荷室の床面上に倒して後方にスライドさせるとともに、前記シートのシートクッションを前記シートバックの前端に連なるように後方にスライドさせることで、荷室の床面をシートクッションおよびシートバックで覆ってくつろぎ空間として利用可能にしたものが、下記特許文献1により公知である。
特開2000−71830号公報
ところで、車両の前部が衝突により変形すると、シートに着座した乗員の脚がダッシュボードとシートクッションの前端との間に挟まれてしまい、乗員の救出が困難になる場合がある。このような場合に、シートをキャビンのフロアから分離して乗員を救出することがあるが、シートをフロアから分離するには時間が掛かる問題がある。
本発明は前述の事情に鑑みてなされたもので、車両の前部が衝突により変形したとき、キャビンの後方の荷台を利用して乗員を速やかに救出できるようにすることを目的とする。
上記目的を達成するために、請求項1に記載された発明によれば、シートを備えるキャビンを荷台の前方に配置した車両において、前記キャビンのバックパネルの下端を支点を介して前記荷台側に回転可能に支持し、前記キャビンに前後スライド可能に支持した前記シートと前記バックパネルとを連結部材で連結することで、前記バックパネルの回転に伴って前記シートを後方にスライドさせることを特徴とする、車両におけるシート構造が提案される。
また請求項2に記載された発明によれば、請求項1の構成に加えて、前記シートに設けたブラケットに、キャビンフロアに締結されるボルトが貫通するボルト孔と、前記ボルトの直径よりも広い幅を有して前記ボルト孔から前方に延びて前記ブラケットの周縁に開口するスリットとを形成したことを特徴とする、車両におけるシート構造が提案される。
請求項1の構成によれば、車両の前部の衝突時に車体とシートとの間に脚を挟まれた乗員をキャビンの側方や前方から救出することが困難な場合、キャビンのバックパネルをその下端の支点を中心にして後方の荷台側に回転すると、バックパネルに連結部材を介して連結されたシートが荷台側にスライドする。その結果、車体とシートとの間に空間が形成され、かつキャビンの後方が開放されるので、乗員を荷台側に引き出して救出することができる。
また請求項2の構成によれば、通常時はブラケットをボルトでキャビンフロアに締結することでシートを固定することができ、乗員を救出するときにはボルトを完全に抜き取ることなく僅かに弛めるだけで、ボルトがブラケットのスリットを通過することで、シートが荷台側にスライドさせることができ、乗員の救出に要する時間を短縮することができる。
以下、本発明の実施の形態を添付の図面に基づいて説明する。
図1〜図6は本発明の実施の形態を示すもので、図1はトラックの斜視図、図2は図1の2−2線拡大断面図、図3は図2の3−3線断面図、図4は図2の4−4線拡大断面図、図5はバックパネルを後方に回転させた状態を示す図、図6は乗員救出時の作用説明図である。
図1に示すように、トラック型の車両Vは、車体前方に位置するキャビン11と、キャビン11の後方の荷台12とを備える。キャビン11は、側面にドア13,13が設けられ、上面にルーフ14が設けられ、後面にバックパネル15が設けられ、内部に左右のシート16,16が設けられる。荷台12は、平坦な荷台床面の左右側縁および後縁に揺動自在な3枚の煽り戸17…が設けられる。各シート16は、シートクッション16aと、シートクッション16aの後端に設けたヒンジブラケット16bに支軸16cを介してリクライニング可能に支持されたシートバック16dとを備える。
図2および図3に示すように、キャビン11の下部には左右のサイドフレーム18,18が車体前後方向に延びており、両サイドフレーム18,18は車幅方向に延びる前部クロスメンバ19および後部クロスメンバ20によって接続される。前部クロスメンバ20および後部クロスメンバ20の上面にキャビンフロア21が設けられ、また後部クロスメンバ20にキャビン11の後端に位置する門型フレーム22が立設される。
シート16を前後スライド可能に支持するシートレール23は、キャビンフロア21の上面に固定されるロアレール24と、シートクッション16aの下面に固定されるアッパーレール25とで構成される。ロアレール24に対してアッパーレール25は前後にスライド可能かつ所定位置でロック可能である。
門型フレーム22の下端の後部クロスメンバ20の上面に、キャビン11と荷台12とを仕切るバックパネル15がヒンジ26を介して枢支されており、バックパネル15の周囲は門型フレーム22の後面に複数本のボルト27…で固定される。各シート16に対応して、バックパネル15の下部前面にコ字状に形成された一対のブラケット28,28が溶接されており、両ブラケット28,28間に車幅方向に架設された支軸29に枢支された一対のリンク30,30の前端が、シートレール23,23のロアレール24,24の後端に溶接される。
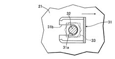
図2および図4に示すように、シートレール23のロアレール24の前部下面に溶接したブラケット31にはボルト孔31aと、そのボルト孔31aから前方に延びてブラケット31の周縁に開口するスリット31bとが形成される。シート16を固定するボルト32は、ブラケット31のボルト孔31aと、キャビンフロア21と、前部クロスメンバ19とを貫通し、前部クロスメンバ19の下面のウエルドナット33に締結される。ブラケット31のスリット31bの幅は、ボルト32の軸部の直径よりも若干大きくなっている。
次に、上記構成を備えた本発明の実施の形態の作用について説明する。
通常時にはシート16に着座した乗員の脚とダッシュボード34との間には隙間が存在するが、図6(A)に示すように、車両の前面部が衝突してダッシュボード34が後退すると、乗員の脚がダッシュボード34とシートクッション16aの前端との間に挟まれてしまい、車両の側方あるいは前方から乗員を救出することが困難になる場合がある。
このような場合に、本実施の形態では、シートレール23の前端のブラケット31を前部クロスメンバ19に固定するボルト32を弛めるとともに、バックパネル15を門型フレーム22に固定するボルト27…を分離し、下端のヒンジ26…を支点にしてバックパネル15を荷台12上に重なる位置へと倒すように回転させる(図5参照)。
バックパネル15が後方に回転すると、バックパネル15の前面に設けたブラケット28…が後方に移動し、ブラケット28…に設けた支軸29…に枢支されたリンク30…がシートレール23のロアレール24…を後方に牽引する。その結果、図5および図6(B)に示すように、ボルト32がブラケット31のスリット31bを通過することで、シートレール23がシート16を支持した状態で後方にスライドし、ダッシュボード34とシートクッション16aの前端との距離が増加するため、そこに挟まれた乗員の脚を容易に抜き取ることができる。従って、シートバック16dを後方にリクライニングすることで、乗員を荷台12側に引き出して救出することができる。
このように、本実施の形態によれば、シート11をキャビンフロア21から完全に分離する必要がなく、かつバックプレート15を後方に回転させると自動的にシート16が後方にスライドするので、ダッシュボード34とシートクッション16aの前端との間に脚を挟まれた乗員を短時間で確実に救出することができる。特に、ボルト32を完全に抜き取ることなく、弛めるだけで良いため、乗員の救出に要する時間を一層短縮することができる。
以上、本発明の実施の形態を説明したが、本発明はその要旨を逸脱しない範囲で種々の設計変更を行うことが可能である。
例えば、実施の形態ではキャビン11の門型フレーム22にバックパネル15をボルト27…で固定しているが、より容易にバックパネル15を分離できるようにボルト27…に代えて任意の固定手段を採用することができる。
トラックの斜視図 図1の2−2線拡大断面図 図2の3−3線断面図 図2の4−4線拡大断面図 バックパネルを後方に回転させた状態を示す図 乗員救出時の作用説明図
符号の説明
11 キャビン
12 荷台
15 バックパネル
16 シート
21 キャビンフロア
26 ヒンジ(支点)
30 リンク(連結部材)
31 ブラケット
31a ボルト孔
31b スリット
32 ボルト

Claims (2)

  1. シート(16)を備えるキャビン(11)を荷台(12)の前方に配置した車両において、
    前記キャビン(11)のバックパネル(15)の下端を支点(26)を介して前記荷台(12)側に回転可能に支持し、前記キャビン(11)に前後スライド可能に支持した前記シート(16)と前記バックパネル(15)とを連結部材(30)で連結することで、前記バックパネル(15)の回転に伴って前記シート(16)を後方にスライドさせることを特徴とする、車両におけるシート構造。
  2. 前記シート(16)に設けたブラケット(31)に、キャビンフロア(21)に締結されるボルト(32)が貫通するボルト孔(31a)と、前記ボルト(32)の直径よりも広い幅を有して前記ボルト孔(31a)から前方に延びて前記ブラケット(31)の周縁に開口するスリット(31b)とを形成したことを特徴とする、請求項1に記載の車両におけるシート構造。
JP2008194798A 2008-07-29 2008-07-29 車両におけるシート構造 Expired - Fee Related JP5203838B2 (ja)

Priority Applications (1)

Application Number Priority Date Filing Date Title
JP2008194798A JP5203838B2 (ja) 2008-07-29 2008-07-29 車両におけるシート構造

Applications Claiming Priority (1)

Application Number Priority Date Filing Date Title
JP2008194798A JP5203838B2 (ja) 2008-07-29 2008-07-29 車両におけるシート構造

Publications (2)

Publication Number Publication Date
JP2010030433A true JP2010030433A (ja) 2010-02-12
JP5203838B2 JP5203838B2 (ja) 2013-06-05

Family

ID=41735466

Family Applications (1)

Application Number Title Priority Date Filing Date
JP2008194798A Expired - Fee Related JP5203838B2 (ja) 2008-07-29 2008-07-29 車両におけるシート構造

Country Status (1)

Country Link
JP (1) JP5203838B2 (ja)

Cited By (1)

* Cited by examiner, † Cited by third party
Publication number Priority date Publication date Assignee Title
CN111572421A (zh) * 2020-05-20 2020-08-25 杭州职业技术学院 一种汽车正面撞击的汽车座椅紧急防护装置

Citations (2)

* Cited by examiner, † Cited by third party
Publication number Priority date Publication date Assignee Title
JP2000071830A (ja) * 1998-08-28 2000-03-07 Mazda Motor Corp 自動車の車体構造
JP2000142476A (ja) * 1998-11-05 2000-05-23 Mazda Motor Corp 車両の後部車体構造

Patent Citations (2)

* Cited by examiner, † Cited by third party
Publication number Priority date Publication date Assignee Title
JP2000071830A (ja) * 1998-08-28 2000-03-07 Mazda Motor Corp 自動車の車体構造
JP2000142476A (ja) * 1998-11-05 2000-05-23 Mazda Motor Corp 車両の後部車体構造

Cited By (2)

* Cited by examiner, † Cited by third party
Publication number Priority date Publication date Assignee Title
CN111572421A (zh) * 2020-05-20 2020-08-25 杭州职业技术学院 一种汽车正面撞击的汽车座椅紧急防护装置
CN111572421B (zh) * 2020-05-20 2021-04-06 杭州职业技术学院 一种汽车正面撞击的汽车座椅紧急防护装置

Also Published As

Publication number Publication date
JP5203838B2 (ja) 2013-06-05

Similar Documents

Publication Publication Date Title
JP4850750B2 (ja) 車両用シート
EP1582398B1 (en) Seat device for a vehicle equipped with a sub seat and vehicle provided therewith
JP2009078677A (ja) 車両用シート
JP2005297898A (ja) 車両用シート装置
JP6586024B2 (ja) 車体フロア構造
JP2008265523A (ja) 車両用シートの分割式シートバック取付構造
JP5203838B2 (ja) 車両におけるシート構造
JP4994083B2 (ja) 車両用シート装置
JP4703711B2 (ja) 自動車用フロアボード構造
JP4485858B2 (ja) 車体構造
JP6147048B2 (ja) 福祉車両
JP6077289B2 (ja) 車両のリヤシート構造
JP2008229083A (ja) キャブ
JP6207323B2 (ja) 車両用シート
JP2009201663A (ja) 車両用シートリクライニング装置
JP6068413B2 (ja) シート構造
JP2008284950A (ja) 車両用シート装置
JP5863509B2 (ja) 車両用シート装置
JP2008279893A (ja) 車両用シート装置
JP6104665B2 (ja) 車両用シート装置
JP7167895B2 (ja) 乗合自動車
JP6631402B2 (ja) 乗物用シート
JP5381077B2 (ja) 車両のシート装置
JP4570914B2 (ja) 車体構造
JP6697213B2 (ja) シート構造

Legal Events

Date Code Title Description
A621 Written request for application examination

Free format text: JAPANESE INTERMEDIATE CODE: A621

Effective date: 20101125

A977 Report on retrieval

Free format text: JAPANESE INTERMEDIATE CODE: A971007

Effective date: 20121115

A131 Notification of reasons for refusal

Free format text: JAPANESE INTERMEDIATE CODE: A131

Effective date: 20121121

A521 Written amendment

Free format text: JAPANESE INTERMEDIATE CODE: A523

Effective date: 20130117

TRDD Decision of grant or rejection written
A01 Written decision to grant a patent or to grant a registration (utility model)

Free format text: JAPANESE INTERMEDIATE CODE: A01

Effective date: 20130206

A61 First payment of annual fees (during grant procedure)

Free format text: JAPANESE INTERMEDIATE CODE: A61

Effective date: 20130214

R150 Certificate of patent or registration of utility model

Free format text: JAPANESE INTERMEDIATE CODE: R150

FPAY Renewal fee payment (event date is renewal date of database)

Free format text: PAYMENT UNTIL: 20160222

Year of fee payment: 3

LAPS Cancellation because of no payment of annual fees