JP2010027984A - 不揮発性記憶装置およびその製造方法 - Google Patents

不揮発性記憶装置およびその製造方法 Download PDF

Info

Publication number
JP2010027984A
JP2010027984A JP2008190174A JP2008190174A JP2010027984A JP 2010027984 A JP2010027984 A JP 2010027984A JP 2008190174 A JP2008190174 A JP 2008190174A JP 2008190174 A JP2008190174 A JP 2008190174A JP 2010027984 A JP2010027984 A JP 2010027984A
Authority
JP
Japan
Prior art keywords
memory device
electrode
nonvolatile memory
memory cell
access transistor
Prior art date
Legal status (The legal status is an assumption and is not a legal conclusion. Google has not performed a legal analysis and makes no representation as to the accuracy of the status listed.)
Granted
Application number
JP2008190174A
Other languages
English (en)
Other versions
JP5378722B2 (ja
Inventor
Kazuharu Yamabe
和治 山部
Seiji Yoshida
省史 吉田
Shiro Kanbara
史朗 蒲原
Takashi Takeuchi
隆 竹内
Yasuhiro Takeda
康裕 武田
Keiichi Maekawa
径一 前川
Takumi Hasegawa
拓実 長谷川
Hiroshi Yanagida
博史 柳田
Shinobu Okanishi
忍 岡西
Current Assignee (The listed assignees may be inaccurate. Google has not performed a legal analysis and makes no representation or warranty as to the accuracy of the list.)
Renesas Technology Corp
Original Assignee
Renesas Technology Corp
Priority date (The priority date is an assumption and is not a legal conclusion. Google has not performed a legal analysis and makes no representation as to the accuracy of the date listed.)
Filing date
Publication date
Application filed by Renesas Technology Corp filed Critical Renesas Technology Corp
Priority to JP2008190174A priority Critical patent/JP5378722B2/ja
Publication of JP2010027984A publication Critical patent/JP2010027984A/ja
Application granted granted Critical
Publication of JP5378722B2 publication Critical patent/JP5378722B2/ja
Expired - Fee Related legal-status Critical Current
Anticipated expiration legal-status Critical

Links

Images

Landscapes

  • Semiconductor Memories (AREA)

Abstract

【課題】多結晶シリコンをフローティング電極としたEEPROMやMONOS型不揮発性メモリに代わる、高集積で、かつ高速に動作する不揮発性記憶装置を実現することのできる技術を提供する。
【解決手段】アクセストランジスタATrと、アクセストランジスタATrの一対のソース・ドレイン領域間に電気的に接続された記憶素子MEとからなるメモリセルMCが、隣接するメモリセルMC間でソース・ドレイン領域を共有して複数個直列に接続されて構成されるメモリセルブロックMBを備えている。メモリセルブロックMBの一方の端部とソース線SLとの間に選択トランジスタSTrが接続され、メモリセルブロックMBの他方の端部にビット線BLが接続されている。また、記憶素子MEは、その一部に100nm以下の幅のスリットを有して形成されたローカル配線上に、スリットを跨いで配置されている。
【選択図】図4

Description

本発明は、不揮発性記憶装置およびその製造技術に関し、特に、金属酸化膜の絶縁体状態と金属状態とにより決まる抵抗値を不揮発に記憶し、この抵抗値の差を記憶情報とするRRAM(Resistive Random Access Memory)、または相変化膜の結晶状態と非晶質状態とにより決まる抵抗値を不揮発に記憶し、この抵抗値の差を記憶情報とするPRAM(Phase Change Random Access Memory)を備えた不揮発性記憶装置およびその製造に適用して有効な技術に関するものである。
例えば特開2004−272975号公報(特許文献1)には、半導体基板上に形成されたトランジスタのソース・ドレイン端子間に電圧印加によって抵抗値が変化する可変抵抗素子とを接続してなるメモリセルを、複数直列接続してメモリセル直列部を形成し、メモリセル直列部の少なくとも一端に選択トランジスタを設けてなるメモリセルブロックを複数配置して構成されたメモリセルアレイを有するNAND型メモリセルユニットが開示されている。
また、アイ・イー・イー・イー・ジャーナル・オブ・ソリッド・ステイト・サーキット(IEEE Journal of Solid-State Circuits),Vol.33,No.5,May,1998年,pp.787−792(非特許文献1)には、1つのトランジスタと1つの強誘電体材料からなる記憶素子(Ferroelectric Capacitor)とを並列接続してなるメモリセルを、複数個直列接続して構成されるFRAM(Chain Ferroelectric Random Access Memory)を備えた不揮発性記憶装置が記載されている。
特開2004−272975号公報 D. Takashima and I. Kunishima, "High-Density Chain Ferroelectric Random Access Memory (Chain FRAM)," IEEE J. Solid-State Circuits, vol. 33, pp. 787-792, May 1998.
電気的に書き換え可能な不揮発性メモリとしては、多結晶シリコンをフローティング電極としたEEPROM(Electrically Erasable Programmable Read Only Memory)が主に使用されている。しかし、この構造のEEPROMでは、フローティングゲート電極を取り囲む酸化膜のどこか一部にでも欠陥があると、電荷蓄積層が導体であるため、異常リークにより蓄積ノードに貯えられた電荷がすべて抜けてしまう場合がある。特に今後、微細化が進み集積度が向上すると、この問題がより顕著になってくると考えられる。
そこで、近年は、窒化膜を電荷蓄積層とするMONOS(Metal Oxide Nitride Oxide Silicon)型不揮発性メモリセルが注目されている。この場合、データ記憶に寄与する電荷は絶縁体である窒化膜の離散トラップに蓄積されるため、蓄積ノードを取り囲む酸化膜のどこか一部に欠陥が生じても電荷蓄積層の電荷が全て抜けてしまうことがないため、集積度の向上によりデータ保持が劣化するなどの問題を回避することができる。しかしながら、MONOS型不揮発性メモリセルは、書込みおよび消去にミリ秒単位の時間を要するという課題が存在する。そのため、信頼性を低下させることなく高集積化および高速化を実現することのできる構造またはアレイ構成を備える不揮発性メモリセルが望まれている。
本発明の目的は、多結晶シリコンをフローティング電極としたEEPROMやMONOS型不揮発性メモリセルに代わる、高集積で、かつ高速に動作する不揮発性記憶装置を実現することのできる技術を提供することにある。
本発明の前記ならびにその他の目的と新規な特徴は、本明細書の記述および添付図面から明らかになるであろう。
本願において開示される発明のうち、代表的なものの一実施の形態を簡単に説明すれば、次のとおりである。
この実施の形態は、ゲート電極が第1方向に沿って形成されたワード線の一部からなるアクセストランジスタと、アクセストランジスタの一対のソース・ドレイン領域間に電気的に接続され、抵抗値の差によって記憶情報を判断する記憶素子とからなるメモリセルが、隣接するメモリセル間で前記ソース・ドレイン領域を共有して複数個直列に接続されて構成されるメモリセルブロックを備えるNAND型の不揮発性記憶装置である。メモリセルブロックの一方の端部に位置するアクセストランジスタとソース線との間に選択トランジスタが接続され、選択トランジスタのソース領域はソース線と電気的に接続され、選択トランジスタのドレイン領域はメモリセルブロックの一方の端部に位置するアクセストランジスタの一方のソース・ドレイン領域と共有し、メモリセルブロックの他方の端部に位置するアクセストランジスタの一方のソース・ドレイン領域が、第1方向と直交する第2方向に沿って形成されたビット線と電気的に接続されている。また、記憶素子は、その一部に100nm以下の幅のスリットを有して第2方向に沿って形成され、アクセストランジスタの一対のソース・ドレイン領域に電気的に接続する電極上に、スリットを跨いで配置されている。
また、この実施の形態は、第1方向に沿って延在する第1ワード線および第2ワード線と、第1方向に沿って延在するソース線と、第1方向と直交する第2方向に沿って延在するビット線と、第1アクセストランジスタおよび抵抗値の差によって記憶情報を判断する第1記憶素子から構成される第1メモリセルと、第2アクセストランジスタおよび抵抗値の差によって記憶情報を判断する第2記憶素子とから構成される第2メモリセルとを含み、第1アクセストランジスタのソース領域と第2アクセストランジスタのソース領域とを共有するNOR型の不揮発性記憶装置である。第1アクセストランジスタのゲート電極は第1ワード線の一部により構成され、第2アクセストランジスタのゲート電極は第2ワード線の一部により構成され、第1アクセストランジスタと第2アクセストランジスタとが共有するソース領域はソース線の一部によって構成され、第1メモリセルのドレイン領域とビット線との間に第1記憶素子が接続され、第2メモリセルのドレイン領域とビット線との間に第2記憶素子が接続されている。また、第1記憶素子は、ビット線と第1アクセストランジスタのドレイン領域との間に形成されて、その一部に100nm以下の幅のスリットを有して第2方向に沿って形成された電極上に、スリットを跨いで配置され、第2記憶素子は、ビット線と第2アクセストランジスタのドレイン領域との間に形成されて、その一部に100nm以下の幅のスリットを有して第2方向に沿って形成された電極上に、スリットを跨いで配置されている。
また、この実施の形態は、抵抗値の差によって記憶情報を判断する記憶素子を備える不揮発性記憶装置の製造方法である。まず、半導体基板の主面上にゲート絶縁膜、ゲート電極および一対のソース・ドレイン領域からなるアクセストランジスタを形成した後、アクセストランジスタを覆う層間絶縁膜を形成し、この層間絶縁膜に一対のソース・ドレイン領域にそれぞれ達する2つの接続孔を形成する。次に、この2つの接続孔の内部にそれぞれプラグ電極を形成した後、半導体基板の主面上に導体膜を堆積し、この導体膜を加工して、一対のソース・ドレイン領域にそれぞれ電気的に接続する2つのプラグ電極に電気的に接続し、その一部に100nm以下の幅のスリットが形成された電極を形成する。次に、半導体基板の主面上にバリア層および記憶素子用材料を順次堆積し、この記憶素子用材料およびバリア層を順次加工して、スリットを跨ぐ記憶素子を形成する。
本願において開示される発明のうち、代表的なものの一実施の形態によって得られる効果を簡単に説明すれば以下のとおりである。
高集積で、かつ高速に動作することのできる不揮発性記憶装置を実現することができる。
以下の実施の形態において、便宜上その必要があるときは、複数のセクションまたは実施の形態に分割して説明するが、特に明示した場合を除き、それらはお互いに無関係なものではなく、一方は他方の一部または全部の変形例、詳細、補足説明等の関係にある。
また、以下の実施の形態において、要素の数等(個数、数値、量、範囲等を含む)に言及する場合、特に明示した場合および原理的に明らかに特定の数に限定される場合等を除き、その特定の数に限定されるものではなく、特定の数以上でも以下でも良い。さらに、本実施の形態において、その構成要素(要素ステップ等も含む)は、特に明示した場合および原理的に明らかに必須であると考えられる場合等を除き、必ずしも必須のものではないことは言うまでもない。同様に、以下の実施の形態において、構成要素等の形状、位置関係等に言及するときは、特に明示した場合および原理的に明らかにそうでないと考えられる場合等を除き、実質的にその形状等に近似または類似するもの等を含むものとする。このことは、上記数値および範囲についても同様である。
また、以下の実施の形態で用いる図面においては、平面図であっても図面を見易くするためにハッチングを付す場合もある。また、以下の実施の形態においては、電界効果トランジスタを代表するMISFET(Metal Insulator Semiconductor Field Effect Transistor)をMISと略し、nチャネル型のMISFETをnMISと略す。また、以下の実施の形態において、ウエハと言うときは、Si(Silicon)単結晶ウエハを主とするが、それのみではなく、SOI(Silicon On Insulator)ウエハ、集積回路をその上に形成するための絶縁膜基板等を指すものとする。その形も円形またはほぼ円形のみでなく、正方形、長方形等も含むものとする。
また、以下の実施の形態を説明するための全図において、同一機能を有するものは原則として同一の符号を付し、その繰り返しの説明は省略する。以下、本発明の実施の形態を図面に基づいて詳細に説明する。
(実施の形態1)
本実施の形態1による不揮発性メモリセルの互いに異なる構造を有する3つの記憶素子を図1〜図3を用いて説明する。
本実施の形態1による不揮発性メモリセルの第1の記憶素子が形成された領域の要部平面図を図1(a)に示し、図1(a)のA−A′線における要部断面図を図1(b)に示す。
図1(a)および(b)に示すように、半導体基板1上に絶縁膜ISOを介して同一層からなる2つのローカル配線LMが、例えば100nm以下の間隔(スリット)を設けて形成されており、このスリットを跨いで半導体基板1の主面に沿うように記憶素子ME1が形成されている。ローカル配線LMは、例えばNi、W、Cu、TiN、NiPt、Co、Py、FeCoなどから構成されている。また、記憶素子ME1は、RRAM(記憶素子に金属酸化膜を利用した抵抗変化型不揮発性メモリ)の場合は、例えばNiO、CuO、TiO、HfO、ZrO、Alなどにより構成され、PRAM(記憶素子に相変化膜を利用した相変化型不揮発性メモリ)の場合は、例えばGST(GeSbTe)、SbSe、GeTe、Nが添加されたGST、InがドープされたGSTなどにより構成される。あるいは、SrZrO、SrTiOなどのペロブスカイト材料、MRAM(Magnetic RAM)またはFeRAM(Ferroelectric RAM)で用いられる材料、例えばMgOなどを記憶素子ME1に用いることもできる。記憶素子ME1の厚さは、例えば10nmであり、記憶素子ME1の幅がローカル配線LMの幅よりも細く形成されている。記憶素子ME1の幅を細くして、記憶素子ME1とローカル配線LMとの接触面積を小さくすることにより、電流密度を増加させることができる。また、記憶素子ME1とローカル配線LMとの間にはバリア層5が形成されている。バリア層5は、例えばCu、TaO、CrO、MgO、Alなどにより構成される。
本実施の形態1による不揮発性メモリセルの第2の記憶素子が形成された領域の要部平面図を図2に示す。
図2に示すように、前述した記憶素子ME1と同様に、半導体基板1上に絶縁膜を介して同一層からなる2つのローカル配線LMが、例えば100nm以下の間隔(スリット)を設けて形成されており、このスリットを跨いで半導体基板1の主面に沿うように記憶素子ME2が形成されている。記憶素子ME2が前述した記憶素子ME1と相違する点は、記憶素子ME2とローカル配線LMとが接続する部分において、ローカル配線LMの幅が記憶素子ME2の幅よりも細く形成されていることである。これによっても前述した記憶素子ME1と同様に、記憶素子ME2とローカル配線LMとの接触面積を小さくできるので、電流密度を増加させることができる。
本実施の形態1による不揮発性メモリセルの第3の記憶素子が形成された領域の要部平面図を図3に示す。
図3に示すように、前述した記憶素子ME1と同様に、半導体基板1上に絶縁膜を介して同一層からなる2つのローカル配線LMが、例えば100nm以下の間隔(スリット)を設けて形成されており、このスリットを跨いで半導体基板1の主面に沿うように記憶素子ME3が形成されている。記憶素子ME3が前述した記憶素子ME1と相違する点は、記憶素子ME3がローカル配線LMに接続するプラグ電極4上に達し、さらにローカル配線LMの端部にまで延びて形成されていることである。記憶素子ME3の幅はローカル配線LMの幅よりも細く形成されているが、記憶素子ME3を長くして記憶素子ME3の面積を大きくすることにより、前述した記憶素子ME1よりも記憶素子ME3の加工を容易にすることができる。
次に、本実施の形態1による不揮発性メモリセルを構成するNAND型セルアレイの基本構造を図4および図5を用いて説明する。図4はメモリセルアレイの一部の基本等価回路図、図5はメモリセルアレイの一部の断面模式図である。
図4および図5に示すように、メモリセルMCは、記憶素子MEとnMISからなるアクセストランジスタ(データの1ビットを選択するnMIS)ATrとを並列に接続して形成されており、さらに、このメモリセルMCを複数個直列接続してメモリセルブロックMBを形成し、メモリセルブロックMBの一方の端部に選択トランジスタSTrを接続している。本実施の形態1によるメモリセルアレイでは、メモリセルブロックMBの一方の端部を選択トランジスタSTrを介してソース線SLに接続し、メモリセルブロックMBの他方の端部をデータの読み出し/書込みを行うビット線BLに接続している。
各アクセストランジスタATrのゲートGはそれぞれ異なるワード線WL0,WL1,WL2,・・・,WL(n−1)によって駆動され、ワード線WL0,WL1,WL2,・・・,WL(n−1)のレベルによって各アクセストランジスタATrのON・OFF状態が切り替わる。例えばワード線WL1,WL2,・・・,〜WL(n−1)をhighレベルにするとワード線WL1,WL2,・・・,WL(n−1)が接続された各アクセストランジスタATrに電流が流れ、ワード線WL0をlowレベルにするとワード線WL0が接続されたアクセストランジスタATrに並列に接続された記憶素子MEが選択されて、この記憶素子MEに電流が流れる。また、選択トランジスタSTrのゲートGはブロック選択線BSによって駆動され、ブロック選択線BSのレベルによって選択トランジスタSTrのON・OFF状態が切り替わり、選択トランジスタSTrがON状態のメモリセルブロックMBが選択状態となる。
前述したように、本実施の形態1によるメモリセルアレイでは、図4および図5に示したように、メモリセルブロックMB内のアクセストランジスタATrは、そのメモリセルブロックMB外の隣接する選択トランジスタSTrとソース線SLを共有している。また、図6に示すように、選択トランジスタSTrのドレイン側(選択トランジスタSTrのドレインDとビット線BLとの間)に記憶素子MEが付く構造となっている。このような構造とすることにより、選択トランジスタSTrのソース側(選択トランジスタSTrのソースSとソース線SLとの間)に記憶素子MEが付く構造よりも読み出し電流が増加するので、高速動作を可能にすることができる。
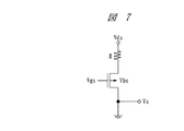
以下に、選択トランジスタのドレイン側に記憶素子を付ける理論根拠について図7および図8に示す回路図を用いて説明する。図7はnMISのドレイン側に記憶素子を接続した回路図、図8はnMISのソース側に記憶素子を接続した回路図である。
nMISの飽和の式は、式(1)で表され、
Id=β(Vgs−Vth) 式(1)
VthのVbb依存は、式(2)で表される。
Vth=Vtho+K√(|Vbs|−2φ) 式(2)
従って、図7に示すnMISのドレイン側に記憶素子を接続した回路では、ドレイン電流は式(3)で表されるので、
Id=β(Vgs−Vth) 式(3)
nMISのドレイン側に記憶素子を接続した場合のドレイン電流Idの理論式が変わるわけではない。
一方、図8に示すnMISのソース側に記憶素子を接続した回路では、式(1)において、VdがR×Id電圧分上昇して、Vgsが小さくなる。また、式(2)において、VbsはR×Id電圧分印加されることと同等となり、Vthが上昇する。上記2つの効果により、nMISのソース側に記憶素子を接続した場合のドレイン電流は、ドレイン側に記憶素子を接続した前者の場合に比べて減少し、高速動作に不利である。
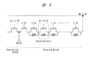
次に、本実施の形態1による不揮発性メモリセルのデータ書込み動作、データ消去動作、データ読み出し動作およびスタンバイ動作の一例を図9〜図12に示す等価回路図を用いて説明する。図9〜図12には、選択ブロック(Selected Block)のメモリセルと選択トランジスタ、およびこれに隣接する非選択ブロック(Unselected Block)の選択トランジスタを示している。ここでは、PRAMを採用した不揮発性メモリセルを例示する。
図9は、データ書込み時の電圧設定を示す等価回路図である。選択ブロック内のデータが書き込まれるメモリセル(Selected Cell)のアクセストランジスタのゲート(ワード線)に0〜−0.5Vを印加し、データが書き込まれないメモリセルのアクセストランジスタのゲート(ワード線)および選択トランジスタのゲート(ブロック選択線)に1.5Vを印加する。さらにビット線BLに1.8Vを印加することにより、メモリセル(Selected Cell)のアクセストランジスタに並列に接続された記憶素子に電流が流れて、例えば約5nsの速度でデータが書き込まれる。また、このとき、非選択ブロック内の選択トランジスタのゲート(ブロック選択線)には0〜−1.5Vが印加される。これにより、非選択ブロック内のメモリセル部の記憶素子が書き込まれることを防ぐ。
図10は、データ消去時の電圧設定を示す等価回路図である。選択ブロック内のデータが消去されるメモリセル(Selected Cell)のアクセストランジスタのゲート(ワード線)に0〜−0.5Vを印加し、データが消去されないメモリセルのアクセストランジスタのゲート(ワード線)および選択トランジスタのゲート(ブロック選択線)に1.5Vを印加する。さらにビット線BLに0.8Vを印加することにより、メモリセル(Selected Cell)のアクセストランジスタに並列に接続された記憶素子に電流が流れて、例えば約2μsの速度でデータが消去される。また、このとき、非選択ブロック内の選択トランジスタのゲート(ブロック選択線)には0〜−1.5Vが印加される。これにより、非選択ブロック内のメモリセル部の記憶素子が書き込まれることを防ぐ。
図11は、データ読み出し時の電圧設定を示す等価回路図である。選択ブロック内のデータが読み出されるメモリセル(Selected Cell)のアクセストランジスタのゲート(ワード線)に0〜−0.5Vを印加し、データが読み出されないメモリセルのアクセストランジスタのゲート(ワード線)および選択トランジスタのゲート(ブロック選択線)に1.5Vを印加する。さらにビット線BLに0.2Vを印加することにより、メモリセル(Selected Cell)のアクセストランジスタに並列に接続された記憶素子に微小電流を流して、この記憶素子の抵抗値(高抵抗または低抵抗)により“1”/“0”を、例えば約2〜3nsで判断する。記憶素子には微小電流を流しているので、記憶素子の破壊を防ぐことができる。また、このとき、非選択ブロック内の選択トランジスタのゲート(ブロック選択線)には0〜−1.5Vが印加される。これにより、非選択ブロック内のメモリセル部の記憶素子が書き込まれることを防ぐ。
図12は、メモリセルのスタンバイ時の電圧設定を示す等価回路図である。スタンバイモード時のブロック内メモリセルのアクセストランジスタのゲート(ワード線)全てに1.5Vを印加し、選択ブロック内の記憶素子に電流が流れ込み、書込みや消去が行なわれることを防いでいる。また、このゲート(ワード線)全てに1.5Vを印加している理由として、メモリセルのデータ書込み、データ消去またはデータ読み出しに備えるということがある。さらに、このスタンバイモード時のブロック内選択トランジスタのゲート(ブロック選択線)には0〜−0.5Vが印加されて、選択ブロック内の記憶素子に電流がながれることを防いでいる。
次に、本実施の形態1による不揮発性メモリセルを構成するNAND型セルアレイの詳細な構造を図13〜図16を用いて説明する。図13〜図15はメモリセルアレイの一部の要部平面図(図13は基板からプラグ電極までの各層を重ねた要部平面図、図14は図13と同じ平面領域であって、図13よりも上層のプラグ電極から第1層配線までの各層を重ねた要部平面図、図15は図14と同じ平面領域であって、図14よりも上層の第1層配線から第2層配線までの各層を重ねた要部平面図)、図16はメモリセルアレイの一部の要部断面図である。ここでは、メモリセルブロックを構成する複数のメモリセルのうち、ワード線WL0,WL1に接続されたゲートを有するアクセストランジスタから構成される2つのメモリセルとブロック選択線BSに接続されたゲートを有する1つの選択トランジスタを例に挙げて説明する。
半導体基板1は、例えばp型のシリコン単結晶からなり、この半導体基板1にはpウェルPWmが形成されている。このpウェルPWmはp型不純物、例えばBが導入されてなり、図示はしないが、ここには、上記メモリセルアレイの他、周辺回路用の素子等も形成されている。このpウェルPWmは、その下層に形成された埋め込みnウェルNWmと、pウェルPWmの側部側に形成されたnウェル(図示は省略)とに取り囲まれており、半導体基板1から電気的に分離されている。その埋め込みnウェルNWmおよびnウェルはn型不純物、例えばPまたはAsが半導体基板1に導入されて形成されてなり、半導体基板1上の他の素子からのノイズが半導体基板1を通じてpウェルPWmに侵入するのを抑制または防止したり、pウェルPWmの電位を半導体基板1とは独立して所定の値に設定したりする機能を備えている。
半導体基板1の主面には、例えば溝型の分離部(トレンチアイソレーション)SGIが形成されている。この分離部SGIは、メモリセルアレイではメモリセルブロック間を電気的に分離するように、半導体基板1に掘られた平面帯状の溝内に絶縁膜が埋め込まれて形成されている。分離部SGIの絶縁膜は、例えば酸化シリコン等からなり、その上面は半導体基板1の主面とほぼ一致するように平坦にされている。なお、図13では、分離部SGIに囲まれた領域を活性領域ARとして示している。
アクセストランジスタATrの一対のソース・ドレイン領域6は、例えば相対的に低濃度のn型の半導体領域7と、そのn型の半導体領域7よりも不純物濃度の高い相対的に高濃度のn型の半導体領域8とを有している(LDD(Lightly Doped Drain)構造)。n型の半導体領域7は、アクセストランジスタATrのチャネル領域側に配置され、n型の半導体領域8は、アクセストランジスタATrのチャネル領域側からn型の半導体領域7分だけ離れた位置に配置されている。
一対のソース・ドレイン領域6の間の半導体基板1の主面上には、ゲート絶縁膜9を介してゲート電極10が形成されており、このゲート電極10は、第1方向に延在するワード線WL0,WL1の一部で形成されている。ゲート絶縁膜9は、例えば酸化シリコン等からなり、ゲート電極10は、例えばn型の低抵抗多結晶シリコン等からなる。さらに、ゲート電極10の上面には、例えばコバルトシリサイド等のようなシリサイド層11が形成されている。シリサイド層11を形成することによりゲート電極10の低抵抗化を図ることができる。このシリサイド層11は、ソース・ドレイン領域6を構成するn型の半導体領域8の上面にも形成されている。さらに、ゲート電極10の側面には、例えば酸化シリコン等からなるサイドウォール12が形成されている。
アクセストランジスタATrは、層間絶縁膜13により覆われており、この層間絶縁膜13を介して、アクセストランジスタATrの上方に記憶素子MEが配置され、アクセストランジスタATrと記憶素子MEとが並列に接続されている。すなわち、層間絶縁膜13にはアクセストランジスタATrのソース・ドレイン領域6上にシリサイド層11に達する接続孔3が形成されている。この接続孔3の内部に埋め込まれたプラグ電極4を介して、第1方向と直交する第2方向に延在するローカル配線LMがソース・ドレイン領域6と電気的に接続されている。このローカル配線LMには、ゲート電極10の上方において100nm以下の幅のスリット14が第1方向に沿って設けられており、このスリット14を跨いで記憶素子MEが形成されている。記憶素子MEとローカル配線LMとの間にはバリア層5が形成されている。記憶素子MEには、金属酸化膜(RRAM)または相変改膜(PRAM)を採用することができるが、例えば金属酸化膜(RRAM)を採用した場合は、記憶素子MEは、例えばNiO、ローカル配線LMは、例えば厚さが100nm以下のNi、記憶素子MEとローカル配線LMとの間に形成されるバリア層5は、例えば厚さが2〜3nmのTaOを例示することができる。
メモリセルアレイのメモリセルブロックでは、複数の前述したメモリセルが隣接して直列に接続されており、隣接する2つのメモリセルにおいて、1つのソース・ドレイン領域6を共有して使用している。これにより、1ビット当たりのメモリセルサイズを小さくすることができる。図13〜図15において1点破線で囲まれた領域が1ビット(1Cell)を示している。設計ルールで決められた最小加工寸法をFとすると、ワード線の延在方向(第1方向)に沿ったピッチは2F、ビット線の延在方向(第2方向)であってソース・ドレイン領域6間のチャネル長方向に沿ったピッチは2Fとなり、単位メモリセル面積を4Fとすることができる。
メモリセルブロックの一方の端部に位置するアクセストランジスタATrには、選択トランジスタSTrが接続されている。選択トランジスタSTrは、前述したアクセストランジスタATrと同様の構造を有しており、選択トランジスタSTrのドレイン領域15Dと、メモリセルブロックの一方の端部に位置するアクセストランジスタATrのソース・ドレイン領域6とを共有している。選択トランジスタSTrは、層間絶縁膜13により覆われており、層間絶縁膜13には選択トランジスタSTrのソース領域15S上のシリサイド層11に達する接続孔3が形成されている。この接続孔3の内部に埋め込まれたプラグ電極4を介して、選択トランジスタSTrのソース領域15Sは第1層目の配線M1からなるソース線SLと電気的に接続されている。
また、メモリセルブロックの他方の端部に位置するアクセストランジスタATrには、ビット線BLが接続されている。すなわち、このアクセストランジスタATrの一方のソース・ドレイン領域6にはプラグ電極4を介してローカル配線LMが電気的に接続され、このローカル配線LMに接続する第1層目の配線M1およびプラグ電極16を介して第2方向に延在する第2層目の配線M2からなるビット線BLが接続されている。第1層目の配線M1、プラグ電極16および第2層目の配線M2は、例えばシングルダマシン法により形成される銅からなる。なお、銅膜(例えば第1層目の配線M1の主導電部を構成するCuめっき膜21b)が形成されている溝内の側壁および底面には、銅が層間膜(例えばストッパ絶縁膜19aと配線形成用絶縁膜19bとからなる層間絶縁膜および層間絶縁膜13)へ拡散することを防止するバリアメタル膜(例えば第1層目の配線M1に用いられるバリアメタル膜21a)が形成されている。
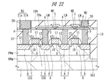
次に、本実施の形態1による不揮発性メモリセルを構成するNAND型セルアレイの製造方法を図17〜図24を用いて説明する。図17〜図24には、前述した図16と同じ箇所の要部断面図を示しており、ワード線WL0,WL1に接続されたゲートを有するアクセストランジスタから構成される2つのメモリセルとブロック選択線BSに接続されたゲートを有する1つの選択トランジスタを用いてメモリセルアレイの製造方法を説明する。
まず、図17に示すように、半導体基板(この段階では半導体ウエハと称する平面略円形状の半導体の薄板)1の主面に、例えば溝型の素子分離部SGIおよびこれに取り囲まれるように配置された活性領域等を形成する。すなわち半導体基板1の所定箇所に分離溝を形成した後、半導体基板1の主面上に、例えば酸化シリコンからなる絶縁膜を堆積し、さらにその絶縁膜が分離溝内のみに残されるように絶縁膜をCMP(Chemical Mechanical Polishing)法等によって研磨することで、素子分離部SGIを形成する。
次に、半導体基板1の所定部分に所定の不純物を所定のエネルギーで選択的にイオン注入法等によって導入することにより、埋め込みnウェルNWm、pウェルPWmおよびnウェルを形成する。続いて半導体基板1の主面にp型不純物、例えばBをイオン注入法により導入することにより、半導体基板1の主面にアクセストランジスタATrおよび選択トランジスタSTrのチャネル形成用のp型の半導体領域を形成する。
次に、半導体基板1に対して熱酸化処理を施すことにより、半導体基板1の主面上に、例えば酸化シリコンからなる厚さ1〜5nm程度のゲート絶縁膜9を形成する。続いて、半導体基板1の主面上に、例えば低抵抗多結晶シリコンからなる導体膜をCVD(Chemical Vapor Deposition)法により堆積する。導体膜の厚さは、例えば140nm程度である。その後、導体膜をリソグラフィ技術およびドライエッチング技術によりパターニングすることにより、導体膜からなるアクセストランジスタATrおよび選択トランジスタSTrのゲート電極10を形成する。ゲート電極10のゲート長は、例えば45〜180nm程度である。
次に、半導体基板1の主面にn型不純物、例えばAsをイオン注入することにより、半導体基板1の主面にn型の半導体領域7をゲート電極10に対して自己整合的に形成する。続いて、半導体基板1の主面上に、例えば酸化シリコンからなる絶縁膜をCVD法により堆積した後、この絶縁膜を異方性のドライエッチング法でエッチバックすることにより、ゲート電極10の側面にサイドウォール12を形成する。その後、半導体基板1の主面にn型不純物、例えばPまたはAsをイオン注入することにより、半導体基板1の主面にn型の半導体領域8をゲート電極10およびサイドウォール12に対して自己整合的に形成する。これにより、n型の半導体領域7およびn型の半導体領域8からなるアクセストランジスタATrのソース・ドレイン領域6と、選択トランジスタSTrのソース領域15Sおよびドレイン領域15Dとが形成される。
次に、ゲート電極10の上面およびn型の半導体領域8の表面にシリサイド層11、例えばコバルトシリサイド(CoSi)層を自己整合法、例えばサリサイド(Salicide:Self Align silicide)プロセスにより形成する。
次に、図18に示すように、半導体基板1の主面上に、例えばTEOS(Tetra Ethyl Ortho Silicate)からなる層間絶縁膜13をプラズマCVD法により形成した後、リソグラフィ技術によりレジストパターンRP1を形成し、このレジストパターンRP1をマスクとしたドライエッチング技術により層間絶縁膜13を加工して、n型の半導体領域8上のシリサイド層11に達する接続孔3を形成する。
次に、図19に示すように、レジストパターンRP1を除去した後、半導体基板1の主面上に導体膜を堆積し、さらにその導体膜が接続孔3の内部のみに残されるように導体膜をCMP法等によって研磨することで、プラグ電極4を形成する。プラグ電極4は、例えばチタンおよび窒化チタンの積層膜からなる相対的に薄いバリア層と、そのバリア層に包まれるように形成されたタングステンまたはアルミニウム等からなる相対的に厚い導体膜とを有している。
次に、図20に示すように、半導体基板1の主面上に、例えばNiからなる導体膜をスパッタリング法により堆積した後、リソグラフィ技術によりレジストパターンRP2を形成し、このレジストパターンRP2をマスクとしたドライエッチング技術により導体膜を加工して、アクセストランジスタATrのソース・ドレイン領域6(n型の半導体領域8)と電気的に接続するプラグ電極4に接続して、ローカル配線LMを形成する。
次に、図21に示すように、レジストパターンRP2を除去した後、半導体基板1の主面上に、例えばTaOからなるバリア層用材料およびNiOからなる記憶素子用材料を、例えばスパッタリング法、CVD法またはALD(Atomic Layer Deposition)法により順次堆積した後、リソグラフィ技術によりレジストパターンRP3を形成し、このレジストパターンRP3をマスクとしたドライエッチング技術により記憶素子用材料およびバリア層用材料を順次加工して、記憶素子MEおよびバリア層5を形成する。記憶素子MEおよびバリア層5は、アクセストランジスタATrのゲート電極10の上方に形成される。
次に、図22に示すように、レジストパターンRP3を除去した後、半導体基板1の主面上にストッパ絶縁膜19aおよび配線形成用絶縁膜19bを順次形成する。ストッパ絶縁膜19aは配線形成用絶縁膜19bへの溝加工の際にエッチングストッパとなる膜であり、配線形成用絶縁膜19bに対してエッチング選択比を有する材料を用いる。ストッパ絶縁膜19aは、例えばプラズマCVD法により形成される窒化シリコン膜とし、配線形成用絶縁膜19bは、例えばプラズマCVD法により形成される酸化シリコン膜とすることができる。
次に、シングルダマシン法により第1層目の配線M1を形成する。まず、リソグラフィ技術およびドライエッチング技術によりストッパ絶縁膜19aおよび配線形成用絶縁膜19bの所定の領域に配線溝20を形成する。配線溝20は、例えば選択トランジスタSTrのソース領域15S(n型の半導体領域8)と電気的に接続するプラグ電極4上、およびメモリセルブロックの端部に位置し、ビット線BLが接続されるアクセストランジスタATrに備わるローカル配線LM上に形成される。続いて、半導体基板1の主面上にバリアメタル膜21aを形成する。バリアメタル膜21aは、例えばTiN膜、Ta膜またはTaN膜等である。続いて、CVD法またはスパッタリングによりバリアメタル膜21a上にCuのシード層(図示は省略)を形成し、さらに電解めっき法によりシード層上にCuめっき膜21bを形成する。Cuめっき膜21bにより配線溝20の内部を埋め込む。続いて、配線溝20以外の領域のCuめっき膜21b、シード層およびバリアメタル膜21aをCMP法により除去して、Cuを主導電材料とする第1層目の配線M1を形成する。
次に、図23に示すように、半導体基板1の主面上にストッパ絶縁膜22aおよびビア形成用絶縁膜22bを順次形成し、これらの所定の領域にビア23を形成した後、前述した第1層目の配線M1の製造工程と同様にして、シングルダマシン法によりビア23の内部にCuを主導電材料とするプラグ電極24を形成する。
さらに、図24に示すように、半導体基板1の主面上にストッパ絶縁膜および配線溝形成用絶縁膜を順次形成し、これらの所定の領域に配線溝を形成した後、前述した第1層目の配線M1の製造工程と同様にして、シングルダマシン法によりこの配線溝の内部にバリアメタル膜25aおよびCuめっき膜25bを埋め込み、Cuを主導電材料とする第2層目の配線M2を形成する。第2層目の配線M2により、例えばビット線BLを形成することができる。これ以降は、通常の半導体装置の製造工程を経て、不揮発性メモリを有する半導体装置を製造する。
なお、本実施の形態1では、例えば前述した図1(b)に示すように、所定の間隔(スリット)を設けて2つのローカル配線LMが配置され、このスリットを跨ぎ、バリア層5を介して記憶素子ME(ME1)が形成されている。しかし、記憶素子MEとローカル配線LMとの合わせずれが生じた場合は、記憶素子MEとローカル配線LMとの接触面積が変わるため、記憶素子MEの抵抗値にばらつきが生じることが考えられる。そこで、図25に示すように、ローカル配線LMを構成する導体膜上に絶縁膜27を形成し、この絶縁膜27をハードマスクとして上記導体膜をパターニングしてローカル配線LMを形成する。これにより、記憶素子MEとローカル配線LMとの接触面積は、ローカル配線LMの膜厚のみに依存することになり、記憶素子MEとローカル配線LMとの合わせずれが生じても、記憶素子MEの抵抗値のばらつきを抑えることができる。
このように、本実施の形態1によれば、アクセストランジスタATrと記憶素子MEとを並列に接続して構成したメモリセルMCを複数個直列接続してメモリセルブロックMBを形成し、メモリセルブロックMBの一方の端部とソース線SLとの間に選択トランジスタSTrを接続し、メモリセルブロックMBの他方の端部とビット線BLとを接続することにより、メモリセルブロックMBの一方の端部とビット線BLとの間に選択トランジスタSTrを接続した場合よりも読み出し電流が増加して、高速動作が可能となる。
また、記憶素子MEに金属酸化膜または相変化膜を用いることにより、メモリセルMCのデータ書込み動作、データ読み出し動作、データ消去動作等において、メモリセルMCに印加する電圧を1.5V以下とすることができる。また、金属酸化膜または相変化膜からなる記憶素子MEを細く加工したことにより電流集中が可能となり、上記1.5V以下の印加電圧においてもナノ秒単位の動作速度を得ることができる。
また、メモリセルMCを構成する記憶素子MEを半導体基板1の主面に沿うように形成することによって、メモリセルアレイ領域の凹凸が緩和されるので平坦化プロセスが容易となり、さらに記憶素子MEに金属酸化膜または相変化膜を用いても、その微細加工が容易となるので、メモリセルアレイの高密度化を図ることができ、また製造歩留まりを向上させることができる。
(実施の形態2)
本実施の形態2によるメモリセルのアクセストランジスタの構造は、前述した実施の形態1と同様であるが、記憶素子の構造が前述した実施の形態1と相違する。すなわち、前述した実施の形態1では、記憶素子MEの両端に接続される電極にローカル配線LMを用いたのに対して、本実施の形態2では、第1層目の配線M1を用いる。
本実施の形態2による不揮発性メモリセルを構成するNAND型セルアレイの他のメモリセルを図26および図27を用いて説明する。図26および図27はメモリセルアレイの一部の要部断面図である。
図26に示す本実施の形態2によるメモリセルは、記憶素子MEの両端に接続される電極に第1層目の配線M1を用いており、さらに、記憶素子MEと第1層目の配線M1との間には、スパッタリング法、CVD法またはALD法によりバリア層5が形成されている。例えばRRAMを採用する場合、記憶素子MEは、例えばNiO、第1層目の配線M1と記憶素子MEとの間に形成されるバリア層5は、例えば厚さが2〜3nmのTaOを例示することができる。
また、図27に示す本実施の形態2による他のメモリセルは、記憶素子MEの両端に接続される電極に第1層目の配線M1を用いており、さらに、記憶素子MEと第1層目の配線M1との間には、第1層目の配線M1の構成素材を酸化させることにより得られるバリア層28が形成されている。例えばRRAMを採用する場合、記憶素子MEは、例えばNiO、第1層目の配線M1と記憶素子MEとの間に形成されるバリア層28は、例えば厚さが2〜3nmのCuOを例示することができる。
このように、本実施の形態2によれば、記憶素子MEの両端に接続される電極に第1層目の配線M1を用いることによりローカル配線LMが不要となり、ローカル配線LMの形成に係る製造工程を減らすことができるので、不揮発性メモリセルの製造TATを短縮することができる。
(実施の形態3)
本実施の形態3による不揮発性メモリセルを構成するNAND型セルアレイの構造を図28に示すメモリセルアレイの一部の基本回路図を用いて説明する。
前述した実施の形態1によるメモリセルアレイでは、メモリセルブロックMBの一方の端部とソース線SLとの間に選択トランジスタSTrを配置し、その選択トランジスタSTrのソース領域をソース線SLに接続し、メモリセルブロックMBの他方の端部をデータの読み出し/書込みを行うビット線BLに接続している。
本実施の形態3によるメモリセルアレイでは、図28に示すように、前述した実施の形態1によるメモリセルと同様に、メモリセルMCは、記憶素子MEとnMISからなるアクセストランジスタ(データの1ビットを選択するnMIS)ATrとを並列に接続して形成されており、さらに、このメモリセルMCを複数個直列接続してメモリセルブロックMBを形成しているが、メモリセルブロックMBの両方の端部に選択トランジスタSTr0,STr1を接続している。すなわち、本実施の形態3によるメモリセルアレイでは、メモリセルブロックMBの一方の端部とソース線SLとの間に選択トランジスタSTr0を接続し、メモリセルブロックMBの他方の端部とデータの読み出し/書込みを行うビット線BLとの間に選択トランジスタSTr1を接続している。
このように、本実施の形態3によれば、メモリセルブロックMBが選択されていない場合、その選択されていないメモリセルブロックMBの両端の選択トランジスタSTr0,STr1のブロック選択線BSをOFF状態とすることにより、非選択ブロック内の記憶素子に電流が流れ込み、書込み、消去されることをさらに防ぐことができる。
(実施の形態4)
本実施の形態4による不揮発性メモリセルを構成するNAND型セルアレイの構造を図29に示すメモリセルアレイの一部の要部平面図(基板からプラグ電極までの各層を重ねた要部平面図)を用いて説明する。
前述した実施の形態1によるメモリセルアレイでは、メモリセルブロックMBの一方の端部に選択トランジスタSTrを接続し、さらにその選択トランジスタSTrのドレイン領域15DをメモリセルブロックMBの一方の端部のアクセストランジスタATrのソース・ドレイン領域6と共有し、その選択トランジスタSTrのソース領域15Sを第1層目の配線M1からなるソース線SLに接続している。この例ではメモリセルブロックMBで8bit(WL0〜WL7)を実現している。
本実施の形態4によるメモリアレイでは、図29に示すように、前述した実施の形態1と同様に、メモリセルブロックMBの一方の端部に選択トランジスタSTrを接続し、さらにその選択トランジスタSTrのドレイン領域15DをメモリセルブロックMBの一方の端部のアクセストランジスタATrのソース・ドレイン領域6と共有し、その選択トランジスタSTrのソース領域15Sをソース線SLに接続しているが、ソース線SLを半導体基板1に形成された半導体領域29により構成している。
このように、本実施の形態4によれば、不揮発性メモリセルの高集積化に伴い、第1層目の配線M1によるソース線SLの配置が難しくなった場合でも、半導体領域29により構成するソース線SLを採用することができる。
(実施の形態5)
本実施の形態5による不揮発性メモリセルを構成するNAND型セルアレイの構造を図30に示すメモリセルの要部断面図を用いて説明する。
前述した実施の形態1によるメモリセルMCでは、記憶素子MEの両端は、アクセストランジスタATrのソース・ドレイン領域6の表面のシリサイド層11に接続するプラグ電極4を介してローカル配線LMに接続している。これによって記憶素子MEの両端がアクセストランジスタATrのソース・ドレイン領域6と電気的に接続している。
本実施の形態5によるメモリセルMCでは、図30に示すように、プラグ電極4を介さずに、アクセストランジスタATrのソース・ドレイン領域6の表面のシリサイド層11に接続するローカル配線LMを形成し、このローカル配線LMからなる電極に記憶素子MEの両端を接続している。すなわち、アクセストランジスタATrのゲート電極10を覆う絶縁膜31に、ソース・ドレイン領域6の表面のシリサイド層11に達する接続孔32が形成され、この接続孔32を通じて100nm以下の間隔(スリット)を有するローカル配線LMを形成することによって、記憶素子MEの両端とアクセストランジスタATrのソース・ドレイン領域6とを電気的に接続している。さらに、アクセストランジスタATrのソース・ドレイン領域6の表面のシリサイド層11に接続するローカル配線LMを介してプラグ電極4が形成されており、このプラグ電極4に接続する第1層目の配線M1によりビット線BLが形成されている。
このように、本実施の形態5によれば、第1層目の配線M1によりビット線BLを形成することができるので、前述した実施の形態1よりも配線層を1層減らすことができて、不揮発性メモリセルの製造TATを短縮することができる。
(実施の形態6)
本実施の形態6による不揮発性メモリセルを構成するNOR型セルアレイの等価回路図を図31(a)および(b)に示す。図31(a)はメモリセルアレイの全体の等価回路図、図31(b)はメモリセルアレイの部分的な等価回路図である。ここでは、ソースを共有する2つのメモリセルM00,M10を例に挙げてメモリアレイ構成の詳細を説明するが、これら以外のソースを共有する2つのメモリセルについても同様である。
本実施の形態6によるメモリアレイ構成では、ソース線SL0を共有し、対称の位置にある2つのメモリセルM00およびメモリセルM10に対して別個のワード線WL0およびワード線WL1をそれぞれ接続する。すなわち、メモリセルM00のゲートはワード線WL0に接続され、メモリセルM10のゲートはワード線WL1に接続されて、1つのメモリセルM00(またはメモリセルM10)が占有する領域(図31(b)中、点線で囲んだ1つの領域)のチャネル長方向の幅に対して1本のメタル配線(ワード線WL0またはワード線WL1)が配置される。
これに対して、2つのメモリセルM00およびメモリセルM10においてビット線BL0を共有することにより、1つのメモリセルM00(またはメモリセルM10)が占有する領域のチャネル幅方向の幅に対して1本のメタル配線(ビット線BL0)が配置されるので、チャネル幅方向の幅はメタル配線の最小ピッチとすることができる。
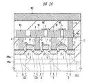
次に、本実施の形態6による不揮発性メモリセルを構成するNOR型セルアレイの詳細な構造を図32〜図34を用いて説明する。図32および図33はメモリセルアレイの一部の要部平面図(図32は基板からプラグ電極までの各層を重ねた要部平面図、図33は図32と同じ平面領域であって、図32よりも上層のプラグ電極から第2層目の配線までの各層を重ねた要部平面図)、図34はメモリセルアレイの一部の要部断面図である。
図32〜図34に示すように、前述した実施の形態1において説明したメモリセルMCと同様に、各メモリセルM00,M10は、記憶素子MEとnMISからなるアクセストランジスタNTrとにより構成されている。なお、記憶素子MEおよびアクセストランジスタNTrは、それぞれ前述した実施の形態1において説明したメモリセルMCを構成する記憶素子MEおよびアクセストランジスタATrと同様であるため、ここでの説明は省略する。
隣接する2つのアクセストランジスタNTrは、それぞれのソース領域30Sおよびドレイン領域30Dを有しているが、ソース領域30S(ソース線SL0)を共有している。アクセストランジスタNTrは、層間絶縁膜13により覆われており、この層間絶縁膜13を介して、アクセストランジスタNTrの上方に記憶素子MEが配置され、アクセストランジスタNTrと記憶素子MEとが直列に接続されている。すなわち、層間絶縁膜13にはアクセストランジスタNTrのドレイン領域30D上のシリサイド層11に達する接続孔3が形成されており、この接続孔3の内部に埋め込まれたプラグ電極4を介して、第2方向に延在するローカル配線LMがドレイン領域30Dに電気的に接続されている。このローカル配線LMには、ゲート電極10の上方において100nm以下の幅のスリット14が設けられており、このスリット14を跨いで半導体基板1の主面に沿うように記憶素子MEが形成されている。ローカル配線LMと記憶素子MEとの間にはバリア層5が形成されている。記憶素子MEには、金属酸化膜(RRAM)または相変化膜(PRAM)を採用することができるが、例えば金属酸化膜(RRAM)を採用した場合は、記憶素子MEは、例えばNiO、ローカル配線LMは、例えば厚さが100nm以下のNi、記憶素子MEとローカル配線LMとの間に形成されるバリア層5は、例えば厚さが2〜3nmのTaOを例示することができる。
隣接する2つのアクセストランジスタNTrのそれぞれの記憶素子MEに共通するローカル配線LMには、第1層目の配線M1が接続されており、さらに、この第1層目の配線M1に接続するプラグ電極16を介して第2方向に延在する第2層目の配線M2からなるビット線BLが接続されている。第1層目の配線M1、プラグ電極16および第2層目の配線M2は、例えばシングルダマシン法により形成される銅からなる。
図32および図33において1点破線で囲まれた領域が1ビット(1Cell)を示している。設計ルールで決められた最小加工寸法をFとすると、前述したように、隣接するアクセストランジスタNTrのソース領域30Sを共有とし、またチャネル幅方向の幅はメタル配線の最小ピッチとすることができることから、ワード線WLの延在方向(第1方向)であってチャネル幅方向に沿ったピッチは2F、ビット線BLの延在方向(第2方向)であってソース領域30Sとドレイン領域30Dとの間のチャネル長方向に沿ったピッチは3Fとなり、単位メモリセル面積は6Fとなる。
次に、本実施の形態6による不揮発性メモリセルのデータ消去動作、データ書込み動作およびデータ読み出し動作の一例を図35(a)、(b)および(c)に示すメモリセルの等価回路図を用いて説明する。ここでは、PRAMを採用した不揮発性メモリセルを例示する。
図35(a)は、データ消去時の電圧設定を示すメモリセルの等価回路図である。アクセストランジスタNTrのゲート(ワード線WL)に1.5Vを印加し、ビット線BLに約0.8Vを印加することにより、アクセストランジスタNTrに接続された記憶素子MEに約100μAの電流が流れて、記憶素子MEが約2〜3μsの速度で結晶化してデータが消去される。
図35(b)は、データ書込み時の電圧設定を示すメモリセルの等価回路図である。アクセストランジスタNTrのゲート(ワード線WL)に1.5Vを印加し、ビット線BLに約1.2Vを印加することにより、アクセストランジスタNTrに接続された記憶素子MEに約200μAの電流が流れて、記憶素子MEが数10nsの速度で非晶質化してデータが書き込まれる。
図35(c)は、データ読み出し時の電圧設定を示すメモリセルの等価回路図である。アクセストランジスタNTrのゲート(ワード線WL)に1.5Vを印加し、ビット線BLに0.2〜0.5Vを印加し、微少電流をこの記憶素子MEに流すことで抵抗値(高抵抗または低抵抗)により“1”/“0”を、例えば約2〜3nsで判断する。
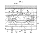
次に、アクセストランジスタの構造は前述した図34に示したアクセストランジスタの構造と同様であるが、記憶素子の構造が前述した図34に示した記憶素子の構造と異なる2つのメモリセル構造について図36および図37を用いて説明する。図36および図37はメモリセルアレイの一部の要部断面図である。
図36に示す本実施の形態6による他のメモリセルは、記憶素子MEの両端に接続される電極に第1層目の配線M1を用いており、さらに、記憶素子MEと第1層目の配線M1との間には、スパッタリング法、CVD法またはALD法によりバリア層5が形成されている。例えばRRAMを採用する場合、記憶素子MEは、例えばNiO、第1層目の配線M1と記憶素子MEとの間に形成されるバリア層5は、例えば厚さが2〜3nmのTaOを例示することができる。
また、図37に示す本実施の形態6による他のメモリセルは、記憶素子MEの両端に接続される電極に第1層目の配線M1を用いており、さらに、記憶素子MEと第1層目の配線M1との間には、第1層目の配線M1の構成素材を酸化させることにより得られるバリア層28が形成されている。例えばRRAMを採用する場合、記憶素子MEは、例えばNiO、第1層目の配線M1と記憶素子MEとの間に形成されるバリア層28は、例えば厚さが2〜3nmのCuOを例示することができる。
このように、本実施の形態6によれば、NOR型不揮発性メモリにおいて、単位メモリセル面積を6Fとすることができるので、メモリセルアレイ領域の面積を縮小することができる。
また、記憶素子MEに金属酸化膜または相変化膜を用いることにより、メモリセルのデータ書込み動作、データ読み出し動作、データ消去動作等において、メモリセルに印加する電圧を1.5V以下とすることができる。また、金属酸化膜または相変化膜からなる記憶素子MEを細く加工したことにより電流集中が可能となり、上記1.5V以下の印加電圧においてもナノ秒単位の動作速度を得ることができる。
また、メモリセルを構成する記憶素子MEを半導体基板1の主面に沿うように形成することによって、メモリセルアレイ領域の凹凸が緩和されるので平坦化プロセスが容易となり、さらに記憶素子MEに金属酸化膜または相変化膜を用いても、その微細加工が容易となるので、メモリセルアレイの高密度化を図ることができ、また製造歩留まりを向上させることができる。
また、記憶素子MEの両端に接続される電極に第1層目の配線M1を用いた場合はローカル配線LMが不要となり、ローカル配線LMの形成に係る製造工程を減らすことができるので、不揮発性メモリセルの製造TATを短縮することができる。
以上、本発明者によってなされた発明を実施の形態に基づき具体的に説明したが、本発明は前記実施の形態に限定されるものではなく、その要旨を逸脱しない範囲で種々変更可能であることはいうまでもない。
本発明は、コンピュータ、携帯端末またはデジタル家電などに用いられる不揮発性メモリに適用することができる。
本実施の形態1による不揮発性メモリセルの第1の記憶素子を説明する図であり、(a)は要部平面図、(b)は(a)のA−A′線における要部断面図である。 本実施の形態1による不揮発性メモリセルの第2の記憶素子を示す要部平面図である。 本実施の形態1による不揮発性メモリセルの第3の記憶素子を示す要部平面図である。 本実施の形態1による不揮発性メモリセルを構成するNAND型セルアレイの一部を示す基本等価回路図である。 本実施の形態1による不揮発性メモリセルを構成するNAND型セルアレイの一部を示す断面模式図である。 本実施の形態1による不揮発性メモリセルの等価回路図である。 電界効果トランジスタのドレイン側に記憶素子を接続した基本回路図である。 電界効果トランジスタのソース側に記憶素子を接続した基本回路図である。 本実施の形態1による不揮発性メモリセルのデータ書込み動作を説明するメモリセルアレイの等価回路図である。 本実施の形態1による不揮発性メモリセルのデータ消去動作を説明するメモリセルアレイの等価回路図である。 本実施の形態1による不揮発性メモリセルのデータ読み出し動作を説明するメモリセルアレイの等価回路図である。 本実施の形態1による不揮発性メモリセルのスタンバイ動作を説明するメモリセルアレイの等価回路図である。 本実施の形態1による不揮発性メモリセルを構成するNAND型セルアレイの一部を示す要部平面図(基板からプラグ電極までの各層を重ねた要部平面図)である。 本実施の形態1による不揮発性メモリセルを構成するNAND型セルアレイの一部を示す要部平面図(プラグ電極から第1層配線までの各層を重ねた要部平面図)である。 本実施の形態1による不揮発性メモリセルを構成するNAND型セルアレイの一部を示す要部平面図(第1層配線から第2層配線までの各層を重ねた要部平面図)である。 本実施の形態1による不揮発性メモリセルを構成するNAND型セルアレイの一部を示す要部断面図である。 本実施の形態1による不揮発性メモリセルを構成するNAND型セルアレイの製造方法を説明するアクセストランジスタおよび選択トランジスタの要部断面図である。 図17に続く、メモリセルアレイの製造工程中の図17と同じ箇所の要部断面図である。 図18に続く、メモリセルアレイの製造工程中の図17と同じ箇所の要部断面図である。 図19に続く、メモリセルアレイの製造工程中の図17と同じ箇所の要部断面図である。 図20に続く、メモリセルアレイの製造工程中の図17と同じ箇所の要部断面図である。 図21に続く、メモリセルアレイの製造工程中の図17と同じ箇所の要部断面図である。 図22に続く、メモリセルアレイの製造工程中の図17と同じ箇所の要部断面図である。 図23に続く、メモリセルアレイの製造工程中の図17と同じ箇所の要部断面図である。 本実施の形態1による不揮発性メモリセルを構成するNAND型セルアレイの他の記憶素子を示す断面模式図である。 本実施の形態2による不揮発性メモリセルを構成するNAND型セルアレイの一部を示す要部断面図である。 本実施の形態2による不揮発性メモリセルを構成する他のNAND型セルアレイの一部を示す要部断面図である。 本実施の形態3による不揮発性メモリセルを構成するNAND型セルアレイの一部を示す基本回路図である。 本実施の形態4による不揮発性メモリセルを構成するNAND型セルアレイの一部を示す要部平面図(基板からプラグ電極までの各層を重ねた要部平面図)である。 本実施の形態5による不揮発性メモリセルを構成するNAND型セルアレイのメモリセルを示す要部断面図である。 本実施の形態6による不揮発性メモリセルを構成するNOR型セルアレイを説明する図であり、(a)はメモリセルアレイの全体の等価回路図、(b)はメモリセルアレイの部分的な等価回路図である。 本実施の形態6による不揮発性メモリセルを構成するNOR型セルアレイの一部を示す要部平面図(基板からプラグ電極までの各層を重ねた要部平面図)である。 本実施の形態6による不揮発性メモリセルを構成するNOR型セルアレイの一部を示す要部平面図(プラグ電極から第2層目の配線までの各層を重ねた要部平面図)である。 本実施の形態6による不揮発性メモリセルを構成するNOR型セルアレイの一部を示す要部断面図である。 本実施の形態6による不揮発性メモリセルを構成するNOR型セルアレイの各動作を説明する図であり、(a)はデータ消去動作を説明するメモリセルの等価回路図、(b)はデータ書込み動作を説明するメモリセルの等価回路図および(c)はデータ読み出し動作を説明するメモリセルの等価回路図である。 本実施の形態6による不揮発性メモリセルを構成する他のNOR型セルアレイの一部を示す要部断面図である。 本実施の形態6による不揮発性メモリセルを構成する他のNOR型セルアレイの一部を示す要部断面図である。
符号の説明
1 半導体基板
3 接続孔
4 プラグ電極
5 バリア層
6 ソース・ドレイン領域
7,8 半導体領域
9 ゲート絶縁膜
10 ゲート電極
11 シリサイド層
12 サイドウォール
13 層間絶縁膜
14 スリット
15D ドレイン領域
15S ソース領域
16 プラグ電極
19a ストッパ絶縁膜
19b 配線形成用絶縁膜
20 配線溝
21a バリアメタル膜
21b Cuめっき膜
22a ストッパ絶縁膜
22b ビア形成用絶縁膜
23 ビア
24 プラグ電極
25a バリアメタル膜
25b Cuめっき膜
27 絶縁膜
28 バリア層
29 半導体領域
30D ドレイン領域
30S ソース領域
31 絶縁膜
32 接続孔
ATr アクセストランジスタ
AR 活性領域
BL,BL0,BL1,BL(j−1) ビット線
BS ブロック選択線
D ドレイン
G ゲート
ISO 絶縁膜
LM ローカル配線
M1,M2 配線
M00,M10 メモリセル
MB メモリセルブロック
MC メモリセル
ME,ME1,ME2,ME3 記憶素子
NTr アクセストランジスタ
NWm nウェル
PWm pウェル
RP1,RP2,RP3 レジストパターン
S ソース
SGI 素子分離部
SL,SL0,SL(k−1) ソース線
STr,STr0,STr1 選択トランジスタ
WL0,WL1,WL2,WL3,WL4,WL5,WL6,WL7 ワード線
WL(i−1),WL(n−1) ワード線

Claims (34)

  1. 半導体基板上に、ゲート電極が第1方向に沿って形成されたワード線の一部からなるアクセストランジスタと、前記アクセストランジスタの一対のソース・ドレイン領域間に電気的に接続され、抵抗値の差によって記憶情報を判断する記憶素子とからなるメモリセルが、隣接する前記メモリセル間で前記ソース・ドレイン領域を共有して複数個直列に接続されて構成されるメモリセルブロックを備える不揮発性記憶装置であって、
    前記メモリセルブロックの一方の端部に位置する前記アクセストランジスタとソース線との間に選択トランジスタが接続され、前記選択トランジスタのソース領域は前記ソース線と電気的に接続され、前記選択トランジスタのドレイン領域は前記メモリセルブロックの一方の端部に位置する前記アクセストランジスタの一方のソース・ドレイン領域と共有し、
    前記メモリセルブロックの他方の端部に位置する前記アクセストランジスタの一方のソース・ドレイン領域が、前記第1方向と直交する第2方向に沿って形成されたビット線と電気的に接続されていることを特徴とする不揮発性記憶装置。
  2. 請求項1記載の不揮発性記憶装置において、前記アクセストランジスタを覆う層間絶縁膜と、前記アクセストランジスタの一対のソース・ドレイン領域にそれぞれ達して前記層間絶縁膜に形成された2つの接続孔と、2つの前記接続孔の内部にそれぞれ埋め込まれた2つのプラグ電極と、2つの前記プラグ電極間に電気的に接続され、前記第2方向に沿って形成された電極とをさらに含み、
    前記電極に前記第1方向に沿ってスリットが形成され、前記スリットを跨いで前記記憶素子が配置されていることを特徴とする不揮発性記憶装置。
  3. 請求項2記載の不揮発性記憶装置において、前記スリットの幅は100nm以下であることを特徴とする不揮発性記憶装置。
  4. 請求項2記載の不揮発性記憶装置において、前記記憶素子と前記電極との間にバリア層が形成されていることを特徴とする不揮発性記憶装置。
  5. 請求項2記載の不揮発性記憶装置において、前記記憶素子は、NiO、CuO、TiO、HfO、ZrO、Al、GeSbTe、SbSe、GeTe、Nが添加されたGeSbTe、InがドープされたGeSbTe、SrZrO、SrTiOまたはMgOにより構成されることを特徴とする不揮発性記憶装置。
  6. 請求項2記載の不揮発性記憶装置において、前記電極は、Ni、W、Cu、TiN、NiPt、Co、PyまたはFeCoにより構成されることを特徴とする不揮発性記憶装置。
  7. 請求項4記載の不揮発性記憶装置において、前記バリア層は、Cu、CuO、TaO、CrO、MgOまたはAlにより構成されることを特徴とする不揮発性記憶装置。
  8. 請求項2記載の不揮発性記憶装置において、前記電極はローカル配線であることを特徴とする不揮発性記憶装置。
  9. 請求項8記載の不揮発性記憶装置において、前記ローカル配線に第1層目の配線が電気的に接続され、前記第1層目の配線にプラグ電極を介して第2層目の配線が接続され、前記ソース線は前記第1層目の配線により構成され、前記ビット線は前記第2層目の配線により構成されることを特徴とする不揮発性記憶装置。
  10. 請求項8記載の不揮発性記憶装置において、前記ローカル配線に第1層目の配線が電気的に接続され、前記第1層目の配線にプラグ電極を介して第2層目の配線が接続され、前記ソース線は前記半導体基板に形成された半導体領域により構成され、前記ビット線は前記第2層目の配線により構成されることを特徴とする不揮発性記憶装置。
  11. 請求項2記載の不揮発性記憶装置において、前記電極は第1層目の配線により構成されることを特徴とする不揮発性記憶装置。
  12. 請求項11記載の不揮発性記憶装置において、前記第1層目の配線にプラグ電極を介して第2層目の配線が接続され、前記ソース線は前記第1層目の配線により構成され、前記ビット線は前記第2層目の配線により構成されることを特徴とする不揮発性記憶装置。
  13. 請求項11記載の不揮発性記憶装置において、前記第1層目の配線にプラグ電極を介して第2層目の配線が接続され、前記ソース線は前記半導体基板に形成された半導体領域により構成され、前記ビット線は前記第2層目の配線により構成されることを特徴とする不揮発性記憶装置。
  14. 請求項1記載の不揮発性記憶装置において、さらに、前記メモリセルブロックの他方の端部に位置する前記アクセストランジスタと前記ビット線との間に第2の選択トランジスタが接続され、
    前記第2の選択トランジスタのドレイン領域は前記ビット線と電気的に接続され、前記第2の選択トランジスタのソース領域は前記メモリセルブロックの他方の端部に位置する前記アクセストランジスタの一方のソース・ドレイン領域と共有することを特徴とする不揮発性記憶装置。
  15. 請求項1記載の不揮発性記憶装置において、前記アクセストランジスタを覆う絶縁膜と、前記アクセストランジスタの一対のソース・ドレイン領域にそれぞれ達して前記絶縁膜に形成された2つの接続孔と、2つの前記接続孔を通じて前記一対のソース・ドレイン領域間に電気的に接続され、前記第2方向に沿って形成された電極とをさらに含み、
    前記電極に前記第1方向に沿ってスリットが形成され、前記スリットを跨いで前記記憶素子が配置されていることを特徴とする不揮発性記憶装置。
  16. 請求項15記載の不揮発性記憶装置において、前記スリットの幅は100nm以下であることを特徴とする不揮発性記憶装置。
  17. 請求項15記載の不揮発性記憶装置において、前記記憶素子と前記電極との間にバリア層が形成されていることを特徴とする不揮発性記憶装置。
  18. 半導体基板上に、第1方向に沿って延在する第1ワード線および第2ワード線と、前記第1方向に沿って延在するソース線と、前記第1方向と直交する第2方向に沿って延在するビット線と、第1アクセストランジスタおよび抵抗値の差によって記憶情報を判断する第1記憶素子から構成される第1メモリセルと、第2アクセストランジスタおよび抵抗値の差によって記憶情報を判断する第2記憶素子とから構成される第2メモリセルとを含み、
    前記第1アクセストランジスタのソース領域と前記第2アクセストランジスタのソース領域とは共有され、
    前記第1アクセストランジスタのゲート電極は前記第1ワード線の一部により構成され、前記第2アクセストランジスタのゲート電極は前記第2ワード線の一部により構成され、前記第1アクセストランジスタと前記第2アクセストランジスタとが共有するソース領域は前記ソース線の一部によって構成され、前記第1メモリセルのドレイン領域と前記ビット線との間に前記第1記憶素子が接続され、前記第2メモリセルのドレイン領域と前記ビット線との間に前記第2記憶素子が接続されていることを特徴とする不揮発性記憶装置。
  19. 請求項18記載の不揮発性記憶装置において、前記第1および第2アクセストランジスタを覆う層間絶縁膜と、前記第1アクセストランジスタのドレイン領域に達して前記層間絶縁膜に形成された第1接続孔と、前記第1接続孔の内部に埋め込まれた第1プラグ電極と、前記第2アクセストランジスタのドレイン領域に達して前記層間絶縁膜に形成された第2接続孔と、前記第2接続孔の内部に埋め込まれた第2プラグ電極と、前記第1プラグ電極と前記第2プラグ電極とに電気的に接続し、前記第2方向に沿って形成された第1電極と、前記第1電極に電気的に接続する第2電極と、前記第1プラグ電極と前記第2電極との間に位置する前記第1電極に前記第1方向に沿って形成された第1スリットと、前記第2プラグ電極と前記第2電極との間に位置する前記第1電極に前記第1方向に沿って形成された第2スリットと、前記第1スリットを跨いで形成された前記第1記憶素子と、前記第2スリットを跨いで形成された前記第2記憶素子とを有することを特徴とする不揮発性記憶装置。
  20. 請求項19記載の不揮発性記憶装置において、前記第1および第2スリットの幅は100nm以下であることを特徴とする不揮発性記憶装置。
  21. 請求項19記載の不揮発性記憶装置において、前記第1記憶素子と前記第1電極との間および前記第2記憶素子と前記第1電極との間にバリア層が形成されていることを特徴とする不揮発性記憶装置。
  22. 請求項19記載の不揮発性記憶装置において、前記第1および第2記憶素子は、NiO、CuO、TiO、HfO、ZrO、Al、GeSbTe、SbSe、GeTe、Nが添加されたGeSbTe、InがドープされたGeSbTe、SrZrO、SrTiOまたはMgOにより構成されることを特徴とする不揮発性記憶装置。
  23. 請求項19記載の不揮発性記憶装置において、前記第1電極は、Ni、W、Cu、TiN、NiPt、Co、PyまたはFeCoにより構成されることを特徴とする不揮発性記憶装置。
  24. 請求項21記載の不揮発性記憶装置において、前記バリア層は、Cu、CuO、TaO、CrO、MgOまたはAlにより構成されることを特徴とする不揮発性記憶装置。
  25. 請求項19記載の不揮発性記憶装置において、前記第1電極はローカル配線により構成され、前記第2電極は第1層目の配線により構成され、前記第1層目の配線にプラグ電極を介して第2層目の配線が接続され、前記第2層目の配線により前記ビット線は構成されることを特徴とする不揮発性記憶装置。
  26. 請求項19記載の不揮発性記憶装置において、前記第1電極は第1層目の配線により構成され、前記第1層目の配線にプラグ電極を介して第2層目の配線が接続され、前記第2層目の配線により前記ビット線は構成されることを特徴とする不揮発性記憶装置。
  27. 以下の製造工程を含むことを特徴とする不揮発性記憶装置の製造方法:
    (a)半導体基板の主面上にゲート絶縁膜、ゲート電極および一対のソース・ドレイン領域からなるアクセストランジスタを形成する工程、
    (b)前記アクセストランジスタを覆う層間絶縁膜を形成し、前記一対のソース・ドレイン領域にそれぞれ達する2つの接続孔を前記層間絶縁膜に形成する工程、
    (c)2つの前記接続孔の内部にそれぞれ導体膜を埋め込み、2つのプラグ電極を形成する工程、
    (d)前記半導体基板の主面上に導体膜を堆積し、前記導体膜を加工して、2つの前記プラグ電極に接続し、第1方向に沿ってスリットが形成された電極を形成する工程、
    (e)前記半導体基板の主面上にバリア層および記憶素子用材料を順次堆積し、前記記憶素子用材料および前記バリア層を順次加工して、前記スリットを跨ぐ記憶素子を形成する工程。
  28. 以下の製造工程を含むことを特徴とする不揮発性記憶装置の製造方法:
    (a)半導体基板の主面上にゲート絶縁膜、ゲート電極および一対のソース・ドレイン領域からなるアクセストランジスタを形成する工程、
    (b)前記アクセストランジスタを覆う層間絶縁膜を形成し、前記一対のソース・ドレイン領域にそれぞれ達する2つの接続孔を前記層間絶縁膜に形成する工程、
    (c)2つの前記接続孔の内部にそれぞれ導体膜を埋め込み、2つのプラグ電極を形成する工程、
    (d)前記半導体基板の主面上に導体膜を堆積し、前記導体膜を加工して、2つの前記プラグ電極に接続し、第1方向に沿ってスリットが形成された第1層目の配線を形成する工程、
    (e)前記第1層目の配線の表面を酸化処理した後、前記半導体基板の主面上に記憶素子用材料を順次堆積し、前記記憶素子用材料を加工して、前記スリットを跨ぐ記憶素子を形成する工程。
  29. 請求項27または28記載の不揮発性記憶装置の製造方法において、前記スリットの幅は100nm以下であることを特徴とする不揮発性記憶装置の製造方法。
  30. 請求項27または28記載の不揮発性記憶装置の製造方法において、前記記憶素子は、NiO、CuO、TiO、HfO、ZrO、Al、GeSbTe、SbSe、GeTe、Nが添加されたGeSbTe、InがドープされたGeSbTe、SrZrO、SrTiOまたはMgOにより構成されることを特徴とする不揮発性記憶装置の製造方法。
  31. 請求項27記載の不揮発性記憶装置の製造方法において、前記バリア層は、Cu、CuO、TaO、CrO、MgOまたはAlにより構成されることを特徴とする不揮発性記憶装置の製造方法。
  32. 請求項27記載の不揮発性記憶装置の製造方法において、前記電極はローカル配線または第1層目の配線により構成されることを特徴とする不揮発性記憶装置の製造方法。
  33. 請求項32記載の不揮発性記憶装置の製造方法において、前記ローカル配線は、Ni、W、Cu、TiN、NiPt、Co、PyまたはFeCoにより構成されることを特徴とする不揮発性記憶装置の製造方法。
  34. 請求項28または32記載の不揮発性記憶装置の製造方法において、前記第1層目の配線は、Cuにより構成されることを特徴とする不揮発性記憶装置の製造方法。
JP2008190174A 2008-07-23 2008-07-23 不揮発性記憶装置およびその製造方法 Expired - Fee Related JP5378722B2 (ja)

Priority Applications (1)

Application Number Priority Date Filing Date Title
JP2008190174A JP5378722B2 (ja) 2008-07-23 2008-07-23 不揮発性記憶装置およびその製造方法

Applications Claiming Priority (1)

Application Number Priority Date Filing Date Title
JP2008190174A JP5378722B2 (ja) 2008-07-23 2008-07-23 不揮発性記憶装置およびその製造方法

Publications (2)

Publication Number Publication Date
JP2010027984A true JP2010027984A (ja) 2010-02-04
JP5378722B2 JP5378722B2 (ja) 2013-12-25

Family

ID=41733498

Family Applications (1)

Application Number Title Priority Date Filing Date
JP2008190174A Expired - Fee Related JP5378722B2 (ja) 2008-07-23 2008-07-23 不揮発性記憶装置およびその製造方法

Country Status (1)

Country Link
JP (1) JP5378722B2 (ja)

Cited By (5)

* Cited by examiner, † Cited by third party
Publication number Priority date Publication date Assignee Title
WO2010090128A1 (ja) * 2009-02-09 2010-08-12 独立行政法人産業技術総合研究所 固体メモリ
JP2011204296A (ja) * 2010-03-24 2011-10-13 Toshiba Corp 半導体記憶装置
JP2012204404A (ja) * 2011-03-23 2012-10-22 Toshiba Corp 抵抗変化型不揮発性半導体記憶装置
JP2013161978A (ja) * 2012-02-06 2013-08-19 National Institute Of Advanced Industrial & Technology 半導体記憶装置およびその製造方法
US9947685B2 (en) 2016-03-16 2018-04-17 Toshiba Memory Corporation 3D non-volatile memory array utilizing metal ion source

Citations (10)

* Cited by examiner, † Cited by third party
Publication number Priority date Publication date Assignee Title
JP2004213744A (ja) * 2002-12-27 2004-07-29 Tdk Corp メモリ装置
JP2004272975A (ja) * 2003-03-06 2004-09-30 Sharp Corp 不揮発性半導体記憶装置
JP2006019687A (ja) * 2004-06-30 2006-01-19 Hynix Semiconductor Inc 相変化記憶素子及びその製造方法
WO2006079952A1 (en) * 2005-01-25 2006-08-03 Nxp B.V. Fabrication of phase-change resistor using a backend process
WO2007046144A1 (ja) * 2005-10-19 2007-04-26 Fujitsu Limited 抵抗記憶素子及びその製造方法、並びに不揮発性半導体記憶装置
JP2008021750A (ja) * 2006-07-11 2008-01-31 Matsushita Electric Ind Co Ltd 抵抗変化素子およびその製造方法、ならびにそれを用いた抵抗変化型メモリ
JP2008060569A (ja) * 2006-08-29 2008-03-13 Internatl Business Mach Corp <Ibm> シリコン・オン・インシュレータ基板上に形成された薄膜相変化メモリ・セル、その形成方法、および1つ以上のメモリ・セルを含む集積回路
JP2008091682A (ja) * 2006-10-03 2008-04-17 Gunma Univ 多値記録相変化メモリ素子、多値記録相変化チャンネルトランジスタおよびメモリセルアレイ
WO2008068867A1 (ja) * 2006-12-07 2008-06-12 Renesas Technology Corp. 半導体記憶装置
JP2008251059A (ja) * 2007-03-29 2008-10-16 Toshiba Corp 不揮発性半導体記憶装置およびそのデータ消去方法

Patent Citations (11)

* Cited by examiner, † Cited by third party
Publication number Priority date Publication date Assignee Title
JP2004213744A (ja) * 2002-12-27 2004-07-29 Tdk Corp メモリ装置
JP2004272975A (ja) * 2003-03-06 2004-09-30 Sharp Corp 不揮発性半導体記憶装置
JP2006019687A (ja) * 2004-06-30 2006-01-19 Hynix Semiconductor Inc 相変化記憶素子及びその製造方法
WO2006079952A1 (en) * 2005-01-25 2006-08-03 Nxp B.V. Fabrication of phase-change resistor using a backend process
JP2008529269A (ja) * 2005-01-25 2008-07-31 エヌエックスピー ビー ヴィ バックエンドプロセスを使用する相変化抵抗体の製造
WO2007046144A1 (ja) * 2005-10-19 2007-04-26 Fujitsu Limited 抵抗記憶素子及びその製造方法、並びに不揮発性半導体記憶装置
JP2008021750A (ja) * 2006-07-11 2008-01-31 Matsushita Electric Ind Co Ltd 抵抗変化素子およびその製造方法、ならびにそれを用いた抵抗変化型メモリ
JP2008060569A (ja) * 2006-08-29 2008-03-13 Internatl Business Mach Corp <Ibm> シリコン・オン・インシュレータ基板上に形成された薄膜相変化メモリ・セル、その形成方法、および1つ以上のメモリ・セルを含む集積回路
JP2008091682A (ja) * 2006-10-03 2008-04-17 Gunma Univ 多値記録相変化メモリ素子、多値記録相変化チャンネルトランジスタおよびメモリセルアレイ
WO2008068867A1 (ja) * 2006-12-07 2008-06-12 Renesas Technology Corp. 半導体記憶装置
JP2008251059A (ja) * 2007-03-29 2008-10-16 Toshiba Corp 不揮発性半導体記憶装置およびそのデータ消去方法

Cited By (7)

* Cited by examiner, † Cited by third party
Publication number Priority date Publication date Assignee Title
WO2010090128A1 (ja) * 2009-02-09 2010-08-12 独立行政法人産業技術総合研究所 固体メモリ
JP2010183017A (ja) * 2009-02-09 2010-08-19 National Institute Of Advanced Industrial Science & Technology 固体メモリ
JP2011204296A (ja) * 2010-03-24 2011-10-13 Toshiba Corp 半導体記憶装置
JP2012204404A (ja) * 2011-03-23 2012-10-22 Toshiba Corp 抵抗変化型不揮発性半導体記憶装置
US9025369B2 (en) 2011-03-23 2015-05-05 Kabushiki Kaisha Toshiba Resistance change nonvolatile semiconductor memory device
JP2013161978A (ja) * 2012-02-06 2013-08-19 National Institute Of Advanced Industrial & Technology 半導体記憶装置およびその製造方法
US9947685B2 (en) 2016-03-16 2018-04-17 Toshiba Memory Corporation 3D non-volatile memory array utilizing metal ion source

Also Published As

Publication number Publication date
JP5378722B2 (ja) 2013-12-25

Similar Documents

Publication Publication Date Title
US11825653B2 (en) Semiconductor device and array layout thereof and package structure comprising the same
TWI639162B (zh) 包括多個選擇閘及不同偏壓條件的記憶體裝置
KR102551350B1 (ko) 수직형 메모리 소자를 구비한 집적회로 소자 및 그 제조 방법
JP5661992B2 (ja) 積層されたnand型抵抗性メモリセルストリングを含む不揮発性メモリ素子及びその製造方法
JP6645940B2 (ja) 不揮発性半導体記憶装置
JP2010027835A (ja) 不揮発性記憶装置およびその製造方法
JP4345676B2 (ja) 半導体記憶装置
US20080149913A1 (en) Semiconductor memory device and method of manufacturing the same
JP5284044B2 (ja) 不揮発性半導体記憶装置
KR102902380B1 (ko) 반도체 메모리 장치
US9087715B2 (en) Nonvolatile semiconductor memory device and method of manufacturing the same
US10141321B2 (en) Method of forming flash memory with separate wordline and erase gates
WO2000070683A1 (en) Semiconductor memory
KR20090120414A (ko) 불휘발성 기억 장치 및 그 제조 방법
JP2002124585A (ja) 不揮発性半導体記憶装置およびその製造方法
JP2010067645A (ja) 半導体装置およびその製造方法
JP2006216957A (ja) 垂直なゲート電極のトランジスタを備える半導体装置及びその製造方法
US20230187548A1 (en) Semiconductor memory device
JP5378722B2 (ja) 不揮発性記憶装置およびその製造方法
JP3941517B2 (ja) 半導体装置およびその製造方法
US9741768B1 (en) Controlling memory cell size in three dimensional nonvolatile memory
JP2007305710A (ja) 半導体記憶装置およびその製造方法
JP5801341B2 (ja) 半導体メモリ
US20230115434A1 (en) Semiconductor memory device
JP2008294111A (ja) 半導体装置の製造方法

Legal Events

Date Code Title Description
A711 Notification of change in applicant

Free format text: JAPANESE INTERMEDIATE CODE: A712

Effective date: 20100528

A621 Written request for application examination

Free format text: JAPANESE INTERMEDIATE CODE: A621

Effective date: 20110622

A977 Report on retrieval

Free format text: JAPANESE INTERMEDIATE CODE: A971007

Effective date: 20130426

A131 Notification of reasons for refusal

Free format text: JAPANESE INTERMEDIATE CODE: A131

Effective date: 20130521

A521 Request for written amendment filed

Free format text: JAPANESE INTERMEDIATE CODE: A523

Effective date: 20130710

TRDD Decision of grant or rejection written
A01 Written decision to grant a patent or to grant a registration (utility model)

Free format text: JAPANESE INTERMEDIATE CODE: A01

Effective date: 20130903

A61 First payment of annual fees (during grant procedure)

Free format text: JAPANESE INTERMEDIATE CODE: A61

Effective date: 20130926

R150 Certificate of patent or registration of utility model

Free format text: JAPANESE INTERMEDIATE CODE: R150

S531 Written request for registration of change of domicile

Free format text: JAPANESE INTERMEDIATE CODE: R313531

R350 Written notification of registration of transfer

Free format text: JAPANESE INTERMEDIATE CODE: R350

LAPS Cancellation because of no payment of annual fees