JP2010026302A - 光波長合分波回路 - Google Patents

光波長合分波回路 Download PDF

Info

Publication number
JP2010026302A
JP2010026302A JP2008188571A JP2008188571A JP2010026302A JP 2010026302 A JP2010026302 A JP 2010026302A JP 2008188571 A JP2008188571 A JP 2008188571A JP 2008188571 A JP2008188571 A JP 2008188571A JP 2010026302 A JP2010026302 A JP 2010026302A
Authority
JP
Japan
Prior art keywords
waveguide
demultiplexing circuit
temperature
wavelength multiplexing
mode light
Prior art date
Legal status (The legal status is an assumption and is not a legal conclusion. Google has not performed a legal analysis and makes no representation as to the accuracy of the status listed.)
Granted
Application number
JP2008188571A
Other languages
English (en)
Other versions
JP5086196B2 (ja
Inventor
Arata Kamei
新 亀井
Yasuyuki Inoue
靖之 井上
Masataka Ito
幹隆 井藤
Current Assignee (The listed assignees may be inaccurate. Google has not performed a legal analysis and makes no representation or warranty as to the accuracy of the list.)
NTT Inc
Original Assignee
Nippon Telegraph and Telephone Corp
Priority date (The priority date is an assumption and is not a legal conclusion. Google has not performed a legal analysis and makes no representation as to the accuracy of the date listed.)
Filing date
Publication date
Application filed by Nippon Telegraph and Telephone Corp filed Critical Nippon Telegraph and Telephone Corp
Priority to JP2008188571A priority Critical patent/JP5086196B2/ja
Publication of JP2010026302A publication Critical patent/JP2010026302A/ja
Application granted granted Critical
Publication of JP5086196B2 publication Critical patent/JP5086196B2/ja
Expired - Fee Related legal-status Critical Current
Anticipated expiration legal-status Critical

Links

Images

Landscapes

  • Optical Integrated Circuits (AREA)

Abstract

【課題】アサーマルAWGにおいて残留する透過中心波長の微小な温度変化を補償し、全使用温度領域において透過中心波長精度に優れたあるいは使用可能温度領域が比較的広い光波長合分波回路を提供する。
【解決手段】アレイ導波路回折格子を備える光波長合分波回路であって、1次モード光励起機構と、1次モード光励起機構に接続され少なくとも基本および1次モード光が伝播可能であり、直接あるいはテーパ導波路を介して第1のスラブ導波路に接続されるマルチモード導波路とを備え、マルチモード導波路あるいはテーパ導波路の第1のスラブ導波路への接続部における基本モード光と1次モード光との合成光フィールドの温度変位により、アレイ導波路回析格子の透過波長の残留する温度依存性の一部または全部が補償されることを特徴とする。
【選択図】図1

Description

本発明は、アレイ導波路回折格子型の光波長合分波回路に係り、詳しくは透過波長の温度依存性が補償されたアレイ導波路回折格子型の光波長合分波回路に関する。
シリコン基板上に形成された石英系ガラス導波路により構成されるプレーナ光波回路(PLC)の研究開発が盛んに行われている。このPLC技術を利用したアレイ導波路回折格子(AWG)は、光波長合分波を実現する回路であり、光通信用の部品として重要な役割を果たしている。
AWGは、合分波される光の透過波長に温度依存性を有する。これは、AWGを構成する石英系ガラス導波路の実効屈折率が温度依存性を有するためである。このため、通常のAWGにおいては、波長透過特性を一定に保持するために、温度調節装置を付加する必要があった。
AWGに付加的に必要とされる温度調節装置を省略するため、AWGの透過波長の温度依存性を低減する方法が開発されている。この方法について詳しくは、特許文献1および2に開示されている。透過波長の温度依存性を低減したAWGは、温度無依存AWG、あるいはアサーマルAWGと呼ばれる。特許文献1および2に開示されたアサーマルAWGは、AWG内の各光経路(アレイ導波路あるいはスラブ導波路)において、光波の進行軸に交差するように溝を形成し、その溝に導波路の実効屈折率の温度係数とは異なる屈折率温度係数を有する材料(以下「温度補償材料」と記載)を挿入することにより、実現される。
図34は、この従来技術におけるスラブ導波路に溝を形成するアサーマルAWGタイプの光波長合分波回路の一例である構成3400を示す平面図である。アサーマルAWGタイプの光波長合分波回路3400は、第1の入出力導波路3401と、第1のスラブ導波路3402と、アレイ導波路3403と、第2のスラブ導波路3404と、第2の入出力導波路3405と、第1のスラブ導波路3402に形成され、温度補償材料が充填されている溝3406とを備える。
また、図35は、図34に示したアサーマルAWGタイプの光波長合分波回路3400において、線AA’部分の断面構造を示した図である。線AA′部分の断面構造には、溝3406と、シリコン基板3407と、導波路コア3408と、クラッド3409とが含まれる。溝3406は、導波路コア3408およびクラッド3409の1部を取り除いて形成されており、導波路コア3408を分断している。
アサーマルAWG3400は、第1の入出力導波路3401に入力された波長多重信号光を第2の入出力導波路3405の各導波路へ分波し、波長チャネルごとの信号光として出力する機能と、第2の入出力導波路3405の各導波路に入力された波長チャネルごとの信号光を第1の入出力導波路3401へ合波し、波長多重信号光として出力する機能を有し、光波長合分波回路として動作する。
また図34において、溝3406は複数の溝に分割されているが。これは、単一の溝よりも、放射損失を低減することができるためである。図34において、i番目のアレイ導波路の長さLは、L=L+(i−1)・ΔLと表され、一定量ΔLずつ順次長くなるよう設計されている。これに応じて、各アレイ導波路に入力する光波が、第1のスラブ導波路3402において、溝3406により分断される長さの和L′は、L′=L′+(i−l)・ΔL′と表され、ΔLに比例した量ΔL′ずつ順次長くなるような形状をしている。このときAWGの第1の入出力導波路3401から第2の入出力導波路3402の中央の導波路への透過中心波長λ
[数1] λ={nΔL−nΔL′+n′ΔL′}/M
と表される。ここで、nはアレイ導波路の実効屈折率、nはスラブ導波路の実効屈折率、n′は温度補償材料の屈折率であり、MはAWGの回折次数であって、nΔL−nΔL′+n′ΔL′はAWGにおける隣接する光経路の距離の差、すなわち光路長差を示している。このとき、n′はnに近く、溝における光波の屈折角は十分小さいと仮定している。ここで光路長とは、光波が感じる距離であり、材料の屈折率と物理的な経路距離の積で求められる。また、ここでαはアレイ導波路およびスラブ導波路の実効屈折率温度係数(α=dn/dT=dn/dT、Tは温度)、α′は温度補償材料の屈折率温度係数(α′=dn′/dT)であるとすると、アサーマルAWGでは、ΔL′/(ΔL−ΔL′)=−α/α′すなわちΔL′=ΔL/(1−α′/α)と設計されている。これにより、アレイ導波路およびスラブ導波路での光路長差の温度変化が、溝に充填された温度補償材料の光路長差の温度変化により相殺され、透過中心波長の温度依存性が補償されている。温度補償材料としては、導波路のαに対して前述の条件を満たすα′を有する材料であれば構わないが、特にα′がαと異符号であり、かつ|α′|が|α|に比較して十分大きいような材料が好ましい。これはΔL′を小さく設計することができ、溝による過剰損失を抑制できるからである。このような条件の材料としては、例えば光学樹脂であるシリコーン樹脂があり、α′はおよそ−35×αである。また、光学樹脂は光部品材料として長期信頼性に優れるという点でも好ましい。
AWGの透過波長の温度依存性を低減する別の方法としては、AWGのチップを回路に沿い弧状に切断し、そのチップの両端をつなぐ金属棒を接合し、金属棒の熱伸縮によりAWGチップを変形させて、隣接するアレイ導波路の光路長差の温度変化と相殺させる方法がある。この方法について詳しくは、非特許文献1に開示されている。
また、AWGの透過波長の温度依存性を低減する更に別の方法としては、AWGチップの入力側または出力側のスラブ導波路を分断し、分断したチップを金属板で接合して、金属板の熱伸縮により分断したスラブ導波路の相対位置を変化させることにより、アレイ導波路の光路長差の温度変化と相殺させる方法がある。
このようなAWGにおいて、第1の入出力導波路3401の第1のスラブ導波路3402との接続界面に励起されている光電界と、第2の入出力導波路3405の第2のスラブ導波路3404との接続界面に励起される光電界のパワーオーバーラップ積分が透過スペクトルとなる。通常、これらの光電界は基底モードのみが励起されており、透過スペクトル波形はガウス関数形状となる。しかし、第1の入出力導波路3401あるいは第2の入出力導波路3405の、第1のスラブ導波路3402あるいは第2のスラブ導波路3404への接続部分にパラボラテーパ導波路を設けることにより、透過波形を平坦化し帯域を拡大する方法が開発されている。この方法について詳しくは、特許文献3に開示されている。
国際公開特許WO98/36299号パンフレット 特許第3498650号明細書 特許第3112246号明細書 J.B.D.Soole, et, al., "Athermalisation of silica arrayed waveguide grating multiplexers", ELECTRONICS LETTERS, Vol.39, pp.1182-1184, 2003. Z. Zhang, et, al., "Planar waveguide-based silica-polymer hybrid variable optical attenuator and its associated polymers", APPLIED OPTICS, Vol.44, pp.2402-2408, 2005.
上述の設計によるアサーマルAWGは、透過中心波長の温度依存性を完全に補償できるわけではない。これは、石英ガラス導波路や温度補償材料の実効屈折率温度係数、あるいは金属の熱膨張係数には、1次のみならず2次の成分が存在し、1次と2次の成分比は、一般には材料により異なるためである。石英ガラス導波路の場合、α=α+αT、α=1.0×10−5、α=1.9×10−8程度(Tの単位は℃)である。シリコーン樹脂の場合、α′=α′+α′T、α′=−3.5×10−4、α′=1.5×10−7程度である。従来のアサーマルAWGにおいては、使用温度領域の中央の温度において、主要な成分である、この1次の温度依存性が補償されるよう設計がなされている。2次の係数は1次の係数に比較して微小ではあるが、使用温度領域全体では僅かな温度依存性が在留する。
ここで、図34のアサーマルAWGを例として、導波路の比屈折率差(Δ)1.5%、コア厚4.5μm、第1の入出力導波路3401、アレイ導波路3403、および第2入出力導波路3405のコア幅は4.5μmであり、波長チャネル数32、チャネル波長間隔0.8nm(100GHz)、温度補償材料はシリコーン樹脂とする。このときアレイ導波路の本数は130本、ΔLは42.4μmである。ここで溝3406に充填された温度補償材料により与えられるべき経路長差ΔL′は、ΔL′=ΔL/(1−α′/α)=ΔL/(1−(α′+α′T)/(α+αT))となる。ここで使用温度領域はT=−40〜80℃であるとし、中央のT=20℃での条件を考えると、ΔL′=1.18μmとなる。このアサーマルAWGの中央波長チャネルにおける、透過中心波長の相対的な温度依存性を図36に示す。図からわかるように、T=20℃を最小として、2次関数的な微小波長変動が残留している。使用温度領域T=−40〜80℃においては、この波長変動幅は0.07nmとなり、波長チャネル間隔の9%にも達する。
このように、従来技術によるアサーマルAWGにおいては、透過中心波長の温度依存性が僅かながら残留していた。このため、透過中心波長の精度を求められ狭波長チャネル間隔、あるいは使用温度領域の広い光波長合分波回路においては、場合によっては伝送システムの要求性能を満足できないという課題があった。
本発明は、かかる問題を鑑みてなされたものであり、その目的は、アサーマルAWGにおいて残留する透過中心波長の微小な温度変化を補償し、全使用温度領域において透過中心波長精度に優れた、あるいは使用可能温度領域が比較的広い、光波長合分波回路を提供することにある。
上記の課題を解消するために、本発明による光波長合分波回路は、コアおよびクラッドからなる導波路により構成されるアレイ導波路回折格子を備える光波長合分波回路であって、上記アレイ導波路回折格子が、所定の光路長差で順次長くなる導波路からなるアレイ導波路と、上記アレイ導波路の両端部に接続された第1および第2のスラブ導波路と、透過波長における主要な温度依存性を補償する温度補償手段とを備える光波長合分波回路において、第1の入出力導波路と、上記第1の入出力導波路に接続され、上記第1の入出力導波路から入力される基本モード光の一部を1次モード光に変換する1次モード光励起機構と、上記1次モード光励起機構に接続され、少なくとも基本および1次モード光が伝播可能であり、直接あるいはテーパ導波路を介して上記第1のスラブ導波路に接続されるマルチモード導波路であって、上記マルチモード導波路の少なくとも一部分のコア側面または上面またはその両方のクラッドが上記マルチモード導波路と異なる屈折率温度係数を有する材料に置き換えられるマルチモード導波路とを備え、上記マルチモード導あ波路あるいは上記テーパ導波路の上記第1のスラブ導波路への接続部における基本モード光と1次モード光との合成光フィールドの温度変位により、上記アレイ導波路回析格子の透過波長の残留する温度依存性の一部または全部が補償されていることを特徴とする。
また、本発明による光波長合分波回路は、上記マルチモード導波路は、上記マルチモード導波路の少なくとも一部分のコア側面に接する溝が形成され、当該溝に上記マルチモード導波路のコア材料の屈折率温度係数と異なる屈折率温度係数を有する材料を挿入することにより生成されるものとしてもよい。
また、本発明による光波長合分波回路は、上記1次モード光励起機構は、導波路の中心軸をずらして接続する導波路オフセットであるものとしてもよい。
また、本発明による光波長合分波回路は、上記マルチモード導波路と上記第1のスラブ導波路が、直線テーパ導波路により接続されるものとしてもよい。
また、本発明による光波長合分波回路は、上記マルチモード導波路と上記第1のスラブ導波路が、パラボラ形状等の2次モード光を励起するテーパ導波路により接続されるものとしてもよい。
また、本発明による光波長合分波回路は、上記第2のスラブ導波路に接続される第2の入出力導波路を備え、上記第2の入出力導波路と上記第2のスラブ導波路が、パラボラ形状等の2次モード光を励起するテーパ導波路により接続されるものとしてもよい。
また、本発明による光波長合分波回路は、上記導波路は、石英系ガラスから構成され、上記溝に挿入する材料は、シリコーン樹脂、エポキシ樹脂、フッ素樹脂等の光学樹脂であるものとしてもよい。
また、本発明による光波長合分波回路は、上記温度補償手段は、上記アレイ導波路および上記第1および第2のスラブ導波路の少なくともいずれか1つに、光波の進行方向に交差して導波路を分断する溝を形成し、上記溝に上記導波路の実効屈折率の温度係数と異なる屈折率温度係数を有する材料を挿入することにより形成される手段であるものとしてもよい。
また、本発明による光波長合分波回路は、上記アレイ導波路および上記第1および第2のスラブ導波路の少なくともいずれか1つに形成された溝に挿入する材料と、上記マルチモード導波路の少なくとも一部分のコアに接する溝に挿入する材料とが同一であるものとしてもよい。
また、本発明による光波長合分波回路は、上記温度補償手段は、回路に沿って弧状に切断したチップの両端をつなぐ金属棒を接合し、金属棒の熱伸縮によりチップを変形させ、上記アレイ導波路の光路長差の温度変化と相殺させる手段であるものとしてもよい。
また、本発明による光波長合分波回路は、上記温度補償手段は、上記第1あるいは第2のスラブ導波路を分断し、分断したチップを金属板で接合して、金属板の熱伸縮により分断されたスラブ導波路の相対位置を変化させることによりアレイ導波路の光路長差の温度変化による光路の変化と相殺させる手段であるものとしてもよい。
以上のように、本発明によれば、アサーマルAWGタイプの光波長合分波回路において、残留する透過中心波長の高次の温度依存性を補償することができ、全使用温度領域において透過中心波長精度に優れた、あるいは使用可能温度領域が広い光波長合分波回路を提供することができる。
従来技術によるアサーマルAWGにおいては、通常、第1の入出力導波路には基底モード光のみが伝播し、第1のスラブ導波路の接続部に励起される光フィールドの光強度ピーク位置は、温度によっても波長によっても変化しない。ここで、上述の光フィールドに特定の強度比で1次モード光が混在している場合、基底モード光と1次モード光の位相差により光フィールドの光強度ピーク位置は振動的に移動し、また、その振動振幅は両モード光の強度比により変化する。一方、第1の入出力導波路と第1のスラブ導波路との接続部における光フィールドの光強度ピーク位置移動は、AWGにおいて透過中心波長の変化となる。従って、第1の入出力導波路において、適当な機構により所定の強度比の1次モード光を励起し、該1次モード光と基底モード光の位相差を温度により変化させることができれば、従来技術によるアサーマルAWGにおいて、更に透過中心波長の温度による変化を生じさせることが可能である。
以上の考察を踏まえ、以下、本発明の実施形態について、具体的に説明する。
まず、本発明の実施形態にかかる光波長合分波回路の構成概念図を図1に示す。
図1において、光波長合分波回路100は、第1のスラブ導波路102と、アレイ導波路103と、第2のスラブ導波路104と、第2の入出力導波路105とを備える。第1のスラブ導波路102から第2の入出力導波路105までの構成は、従来技術によるアサーマルAWGと同様であり、従来の温度補償手段により透過中心波長の1次の温度依存性が補償されている。本発明の実施形態において、光波長合分波回路100は、第1の入出力導波路101と、1次モード光励起機構106と、マルチモード導波路107とをさらに備える。
図2は、図1の構成概念図において、第1の入出力導波路101から第1のスラブ導波路102の部分を拡大した図である。各符号の説明は図1と同様である。ここで、1次モード光励起機構106は、第1の入出力導波路101から入力する基底モード光のうち、ある一定割合のパワーを1次モード光に変換する機構を有する。基底モード光および励起された1次モード光は、マルチモード導波路107に入力され、それぞれのモードの実効屈折率に従い伝播するので、合成光フィールドは蛇行しながら伝播する。第1のスラブ導波路102との接続部に達したときの基底モード光と1次モード光の位相差は、マルチモード導波路107の全長と、それぞれのモードの実効屈折率の差分と、伝播する光波の波長により決定される。
本発明の光波長合分波回路では、マルチモード導波路107において、基底モード光と1次モード光に対する実効屈折率の差分が温度により変動する機構を有する。ここで光波長合分波回路の使用温度TをT−ΔTからT+ΔTとする。Tは使用温度領域の中央温度、領域の全幅は2ΔTである。また、温度Tにおける上記実効屈折率の差分をΔn(T)とし、マルチモード導波路107の全長をLとする。1次モード光励起機構106において励起された1次モード光と基底モード光の位相差をφとすると、両モード光がマルチモード導波路107を伝播して第1のスラブ導波路102との接続部に達したときの位相差φは、
[数2] φ=φ+2πΔn(T)L/λ
と表される。
図3は、温度Tに対するΔn(T)の温度変化の例を示している。ここでΔn(T)は、使用温度領域において、Δn(T)−0.5λ/LからΔn(T)+0.5λ/Lに至る直線的な変化が与えられる。ここでλは、[数1]にあるAWGの透過中心波長である。このときマルチモード導波路107の長さLは、温度T=Tにおいて、蛇行しながら伝播する波長λ光フィールドの光強度ピークが第1のスラブ導波路102との接続点において、光波の進行方向に向かい最も右側になるよう設定されている。温度T=Tにおける該光フィールドの光強度ピークの軌跡を図2上の曲線Sに示し、第1のスラブ導波路102への入射位置を点Qに示す。温度がTから変化すると、実効屈折率差Δn(T)は、図3のように変化する。[数2]から、T=T−ΔTにおける1次モード光と基底モード光の位相差φは、T=Tのときに比較してπラジアン(180度)小さい。従って、マルチモード導波路107を蛇行しながら伝播する光フィールドの光強度ピークの軌跡は、図2上の線Rに示すように、T=Tのときより周期が長く逆相となり、第1のスラブ導波路102との接続点においては、光波の進行方向に向かい最も左側にピークが位置することになる。これは図2上点Pで示されている。
また、T=T+ΔTにおいて位相差φは、T=Tのときと比較してπラジアン(180)度大きい。従って、マルチモード導波路107を蛇行しながら伝播する光フィールドの光強度ピークの軌跡は、図2上の線Tに示すように、T=Tのときより周期が短く逆相となり、第1のスラブ導波路102との接続点においては、やはり光波の進行方向に向かい最も左側にピークが位置することになる。このような、第1のスラブ導波路102に入射する光フィールドの光強度ピーク位置の温度変動は、AWGにおいては透過中心波長の温度変動となる。上述の変動の場合、T=Tすなわちピークが点Qにあるときに透過中心波長は、最も長波長となり、T=T−ΔTおよびT+ΔTすなわちピークが点Pにあるときに最も短波長となる。
図4は、このAWGにおける透過中心波長の温度変動を、温度を横軸として表した図である。線Xは図2、3で説明した光フィールドのピーク位置変動による透過中心波長変動を示しており、その挙動は正弦関数的である。また線Yには、従来技術によるアサーマルAWGにおいて僅かに残留する透過中心波長の高次の温度依存性を示している。これらにおいては、温度T=Tでの値をゼロとした相対的な透過中心波長を示している。本発明の光波長合分波回路において、AWG回路全体の透過中心波長の温度依存性は、上述の2種類の温度依存性を足し合わせたものとなる。合成された透過中心波長の温度依存性については、線Zに示す。図4より、本発明の波長合分波回路においては、従来技術によるアサーマルAWGにおいて残留していた透過中心波長の高次の温度依存性を補償し、使用温度領域での透過中心波長変動がより小さいことが分かる。ここで、光フィールドの光強度ピーク位置変動による透過波長変動の幅(振幅)δλは、1次モード光励起機構106において生成される1次モード光の基底モード光との強度比により決定される。上記δλを、従来技術によるアサーマルAWGにおける透過中心波長の高次の温度変動の幅に等しくなるようにすれば、本発明の波長合分波回路における透過中心波長の温度依存性は、最も抑制される。
ここで、マルチモード導波路107の幅は、少なくとも1次モード光までは伝播可能である程度までは広く、2次モード光は伝播できない、すなわち2次モードの実効屈折率が存在しない程度の幅であることが好ましい。これは、2次以上の高次モード光の発生が、本発明の波長合分波回路において、透過波形の劣化、クロストークの劣化、損失の増大を招く可能性があるからである。
基底モード光と1次モード光の実効屈折率差が温度により変動する機構を有するマルチモード導波路を実現する構成としては、マルチモード導波路のクラッドの一部または全部を導波路コアとは屈折率温度係数の異なる材料で置き換える構成が考えられる。ただし導波路に光波を伝播させるために、クラッドを置き換える材料は、使用温度範囲でコアよりも屈折率が低い材料であることが必要である。この構成により導波路への光の閉じ込めが温度により変化するため、基底モード光と1次モード光の実効屈折率差も温度変動する。さらに具体的な構成としては、導波路コア両側面に接するように溝を形成し、光学樹脂等を挿入する構成が考えられる。このような構成は、[非特許文献2]において開示されており、従来のアサーマルAWGから工程を何ら変えることなく、同時に作製できるという点で優れている。また温度補償材料として、AWGの温度補償手段に使用されているものと同材料を使用するならば、新規の材料を付加することなく作製できるという点でも好ましい。
また、1次モード光励起機構を実現する具体的な構成としては、各導波路コアの中心軸をずらして接続した導波路オフセットが、最も簡易な構成として挙げられる。コアが不連続に接続する部位において1次モード光が励起され、その強度は、中心軸をずらす量により調整することができる。この構成は、従来のアサーマルAWGからほとんど回路サイズ増大なく実現できる点で好ましい。また従来のアサーマルAWGから工程を何ら変えることなく作製できるという点でも好ましい。
[第1の実施形態]
本発明の第1の実施形態に係る光波長合分波回路について説明する。図5は、本実施形態におけるアサーマルAWG500の構成を示す平面図である。光波長合分波回路500は、第1の入出力導波路501と、第1のスラブ導波路502と、アレイ導波路503と、第2のスラブ導波路504と、第2の入出力導波路505と、1次モード光励起機構である導波路オフセット506と、マルチモード導波路507と、直線テーパ導波路509と、マルチモード導波路507の導波路コア側面に接するように形成された溝508と、第2のスラブ導波路504に形成された溝510とを備え、溝508、510には温度補償材料が充填されている。
図5において、i番目のアレイ導波路の長さLは、L=L+(i−1)・ΔLと表され、一定量ΔLずつ順次長くなるよう設計されている。これに応じて、各アレイ導波路を通過し、中央の波長チャネルを通過する光波が、第2のスラブ導波路504において溝510により分断される長さL′は、L′=L′+(i−1)ΔL′と表され、ΔLに比例した量ΔL′ずつ順次長くなるような形状をしている。このアサーマルAWGは、導波路のΔが1.5%、コア厚4.5μm、実効屈折率温度係数α=1.0×10−5+1.9×10−8×T、第1の入出力導波路501、アレイ導波路503、および第2の入出力導波路505のコア幅は4.5μmであり、波長チャネル数32、中央の波長チャネルの透過波長1544.53μm(194.1THz)、波長チャネル間隔0.8nm(100GHz)、温度補償材料はシリコーン樹脂(屈折率温度係数α′=−3.5×10−4+1.5×10−7×T)である。このときアレイ導波路の本数は130本、ΔLは42.4μmである。ここで溝510に充填された温度補償材料により与えられる経路長差ΔL′は、T=20℃として、ΔL′=ΔL/(1−α′/α)=1.18μmと設計されており、透過中心波長の1次の温度依存性が補償されている。また、第1のスラブ導波路502、および第2のスラブ導波路504の長さは6100μmであり、第2の入出力導波路505は、第2のスラブ導波路504に接続する部分において15μm間隔で波長チャネル数すなわち32本配置されている。
図6は、図5のアサーマルAWGにおける導波路オフセット506からマルチモード導波路507近傍を拡大した図である。各符号の説明は図5と同様である。本実施形態においてマルチモード導波路507は、直線テーパ導波路509を介して第1のスラブ導波路502に接続されている。マルチモード導波路507の導波路幅は8μmであり、直線テーパ導波路509の導波路幅は、第1のスラブ導波路502に接続する部分で11.5μmである。ただし、この直線テーパ導波路の開口幅を変えることで、本光波長合分波回路の透過帯域幅を調整することも可能である。ここで、導波路オフセット506においては、直線テーパによりマルチモード導波路507と同等までコア幅を拡大し、導波路コアの中心軸を0.6μmずらしてマルチモード導波路507に接続しており、この不連続なコアの接続において、基底モード光の4%程度の強度の1次モード光が励起される。
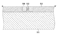
また、図7は図6における線分BB′における断面構造を示す図である。線分BB′における断面構造には、シリコン基板511、導波路コア512、クラッド513、および溝508が含まれる。溝508は、マルチモード導波路507における導波路コア側面に接するように、コア下面より深いところまでクラッドを除去することにより形成され、温度補償材料が挿入されている。また、マルチモード導波路507における、導波路側面に溝が形成された部分の長さは2500μmとしている。
図8は、本実施形態におけるマルチモード導波路507の側面に温度補償材料が接した部分での基底モード光と1次モード光の実効屈折率差Δn(T)の温度変化を示すグラフである。ここで、本実施形態の光波長合分波回路の使用温度領域は−40〜80℃としている。使用温度領域において、Δn(T)は、0.0053から0.0057まで変化する。これにより、マルチモード導波路507を伝播する基底モード光と1次モード光の位相差は、およそ2π変化する。
図9は、図8の実効屈折率差の温度変化がある場合の直線テーパ509の第1のスラブ導波路502との接続部分において、光フィールド分布の温度変化を示すグラフである。ここでグラフの横軸pは、図6に示すように、直線テーパ509の中心を原点とした相対位置である。図9には、温度−40、20、80℃での光フィールド分布が示されている。使用温度領域において、基底モード光と1次モード光の位相差変化に伴い、光波フィールドのピーク位置が負から正に変化し更に負に変化する様子が確認できる。
図10は、本実施形態の光波長合分波回路における透過中心波長の温度変動を説明するグラフである。線Xは、直線テーパ509の第1のスラブ導波路502との接続部分において光フィールドのピーク位置が変動することによる、透過中心波長の変動を示している。また、線Yは、第1のスラブ導波路502から第2の入出力導波路505に至る1次の温度依存性が補償されたAWGにおいて残留している透過中心波長の高次の温度依存性を示している。本実施形態の光波長合分波回路において、AWG回路全体の透過中心波長の温度依存性は、上述の2種類の温度依存性を足し合わせたものとなる。合成された透過中心波長の温度依存性については、線Zに示す。図10によれば、本実施形態の波長合分波回路においては、従来技術によるアサーマルAWGにおいて−40〜80℃の範囲で0.072nm残留していた透過中心波長の高次の温度変動を補償し、その変動量を0.038nmまで低減できることが分かる。
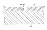
本実施形態においては、図6に示すように、マルチモード導波路507の側面に溝508を形成し、温度補償材料を充填したが、溝の構造はこの構成に限定されない。図11は、別構成におけるマルチモード導波路507近傍を拡大した図であり、図12は、図11における線分CC′の断面構造を示した図である。各符号の説明は図6、7と同様である。図11、12の構成において、溝508は、マルチモード導波路507の導波路コア上面に接するようにコア上面の位置までクラッドを除去することにより形成され、温度補償材料が挿入されている。ここで、マルチモード導波路507における、導波路上面に溝508が形成された部分の長さは5700μmとしている。図11、12の構成は、図6、7の構成に比較して加工する溝508が浅いので、より加工精度に優れるという利点を有する。
また、図13は、更に別構成におけるマルチモード導波路507近傍を拡大した図であり、図14は、図13における線分DD′の断面構造を示した図である。各符号の説明は図6、7と同様である。図13、14の構成において、溝508は、マルチモード導波路507の導波路コア上面および側面に接するように、コア上部のクラッドを除去するとともに、コア下面より深い位置までコア側面のクラッドを除去することにより形成され、温度補償材料が挿入されている。ここで、マルチモード導波路507における導波路上面および側面に溝508が形成された部分の長さは1300μmとしている。図13、14の構成は、図6、7の構成に比較してマルチモード導波路の長さを短く設計できるので、より回路サイズを小さくできるという利点を有する。
[第2の実施形態]
本発明の第2の実施形態に係る光波長合分波回路について説明する。図17は、本実施形態におけるアサーマルAWG1500の構成を示す平面図である。図17において、アサーマルAWG1500は、第1の入出力導波路1501と、第1のスラブ導波路1502と、アレイ導波路1503と、第2のスラブ導波路1504と、第2の入出力導波路1505と、1次モード光励起機構である導波路オフセット1506と、マルチモード導波路1507と、直線テーパ導波路1509と、マルチモード導波路1507の導波路コア側面に接するように形成された溝1508と、金属棒1510とを備える。溝1508には温度補償材料が充填されている。本実施形態のアサーマルAWGのチップは、AWGの回路に沿い弧状に切断されている。また、金属棒1510の両端は、弧状のAWGチップの両端付近に接合されている。また、金属の材質は本実施形態においてはアルミである。
図15において、アレイ導波路1503は、一定量ΔLずつ順次長くなるよう設計されている。このアサーマルAWGは、導波路のΔが1.5%、コア厚4.5μm、実効屈折率温度係数α=1.0×10−5+1.9×10−8×T、第1の入出力導波路1501、アレイ導波路1503、および第2の入出力導波路1505のコア幅は4.5μmであり、波長チャネル数32、中央の波長チャネルの透過波長1544.53μm(194.1THz)、波長チャネル間隔0.8nm(100GHz)である。このときアレイ導波路の本数は130本、ΔLは42.4μmである。また、第1のスラブ導波路1502、および第2のスラブ導波路1504の長さは、6100μmであり、第2の入出力導波路1505は、第2のスラブ導波路1504に接続する部分において15μm間隔で波長チャネル数すなわち32本配置されている。ここで金属棒1510は、材質の熱膨張係数に従い温度により伸縮する。このとき接合されたAWGチップも形状が変化するが、高温では伸張する金属棒によりΔLが小さくなるように変形し、低温では収縮する金属棒によりΔLが大きくなるように変形する。従って、金属棒の長さを適切に設定することにより、隣接するアレイ導波路の光路長差(導波路の実効屈折率とΔLの積)における温度変動を抑制し、透過中心波長の1次の温度依存性が補償されている。
図16は、図15のアサーマルAWGにおける導波路オフセット1506からマルチモード導波路1507近傍を拡大した図である。各符号の説明は図15と同様である。本実施形態において、マルチモード導波路1507は、直線テーパ導波路1509を介して第1のスラブ導波路1502に接続されている。マルチモード導波路1507の導波路幅は8μmであり、直線テーパ導波路1509の導波路幅は、第1のスラブ導波路1502に接続する部分で11.5μmである。ここで、導波路オフセット1506においては、直線テーパによりマルチモード導波路1507と同等までコア幅を拡大し、導波路コアの中心軸を0.5μmずらしてマルチモード導波路1507に接続しており、この不連続なコアの接続において、基底モード光の3%程度の強度の1次モード光が励起される。また溝1508は、マルチモード導波路1507における導波路コア側面に接するように、コア下面より深いところまでクラッドを除去することにより形成され、温度補償材料であるシリコーン樹脂(屈折率温度係数α′=−3.5×10−4+1.5×10−7×T)が挿入されている。ここで、マルチモード導波路1507における導波路側面に溝が形成された部分の長さは、2200μmとしている。
本実施形態におけるマルチモード導波路1507の側面に温度補償材料が接した部分での基底モード光と1次モード光の実効屈折率差の温度変化は、図8と同様となる。ここで本実施形態の光波長合分波回路の使用温度領域は−40〜80℃としている。使用温度領域において、実効屈折率差は0.0053から0.0057まで変化する。これにより、マルチモード導波路1507を伝播する基底モード光と1次モード光の位相差はおよそ2π変化することになる。この位相変化に伴い、直線テーパ1509と第1のスラブ導波路1502の接続部において、図9と同様な光フィールドの温度変化が生じる。
図17は、本実施形態のアサーマルAWGにおける透過中心波長の温度変動を説明するグラフである。線Xは、光フィールドのピーク位置変動による透過中心波長の温度変動を示している。また、線Yは、金属棒1510の熱伸縮により1次の温度依存性が補償されたAWGにおいて残留している透過中心波長の高次の温度依存性を示している。AWG回路全体の透過中心波長の温度依存性は、線Zに示す。本実施形態の波長合分波回路においては、−40〜80℃の範囲で透過中心波長の温度変動量は0.026nmであり、従来技術によるアサーマルAWGにおいて残留していた透過中心波長の高次の温度変動が補償され、低減されていることが分かる。
[第3の実施形態]
本発明の第3の実施形態に係る光波長合分波回路について説明する。図18は、本実施形態におけるアサーマルAWG1800の構成を示す平面図である。アサーマルAWG1800は、第1の入出力導波路1801と、第1のスラブ導波路1802と、アレイ導波路1803と、第2のスラブ導波路1804と、第2の入出力導波路1805と、1次モード光励起機構である導波路オフセット1806と、マルチモード導波路1807と、直線テーパ導波路1809と、マルチモード導波路1807の導波路コア側面に接するように形成された溝1808と、金属板1810とを備える。溝1508には、温度補償材料が充填されている。本実施形態のアサーマルAWGは、第1のスラブ導波路1802を分断するように2つのチップに切断されている。金属板1810は、切断された2つのチップのそれぞれに接合されている。また金属の材質は本実施形態においてはアルミである。
図18において、アレイ導波路1803は一定量ΔLずつ順次長くなるよう設計されている。このアサーマルAWGは、導波路のΔが1.5%、コア厚4.5μm、実効屈折率温度係数α=1.0×10−5+1.9×10−8×T、第1の入出力導波路1801、アレイ導波路1803、および第2の入出力導波路1805のコア幅は4.5μmであり、波長チャネル数32、中央の波長チャネルの透過波長1544.53μm(194.1THz)、波長チャネル間隔0.8nm(100GHz)である。このときアレイ導波路の本数は130本、ΔLは42.4μmである。また、第1のスラブ導波路1802、および第2のスラブ導波路1804の長さは6100μmであり、第2の入出力導波路1805は、第2のスラブ導波路1804に接続する部分において15μm間隔で波長チャネル数すなわち32本配置されている。ここで、金属板1810は、材質の熱膨張係数に従い温度により伸縮する。このとき接合された2つのチップの相対位置が変化するが、アレイ導波路1803のあるチップを基準として第1の入出力導波路1801側のチップは、高温では伸張する金属板1810により図面上方に移動し、低温では収縮する金属板1810により図面下方に移動する。従って、金属板の長さを適切に設定することによりアレイ導波路1803における光路長差の温度変動を補償するように、この第1の入出力導波路1801側のチップの位置変化を生じさせることが可能であり、この構造によりAWGにおける透過中心波長の1次の温度依存性が補償されている。
図19は、図18のアサーマルAWGにおける導波路オフセット1806からマルチモード導波路1807近傍を拡大した図である。各符号の説明は図18と同様である。本実施形態において、マルチモード導波路1807は、直線テーパ導波路1809を介して第1のスラブ導波路1802に接続されている。マルチモード導波路1807の導波路幅は8μmであり、直線テーパ導波路1809の導波路幅は、第1のスラブ導波路1802に接続する部分で11.5μmである。ここで、導波路オフセット1806においては、直線テーパによりマルチモード導波路1807と同等までコア幅を拡大し、導波路コアの中心軸を0.5μmずらしてマルチモード導波路1807に接続しており、この不連続なコアの接続において、基底モード光の3%程度の強度の1次モード光が励起される。また、溝1808は、マルチモード導波路1807における導波路コア側面に接するように、コア下面より深いところまでクラッドを除去することにより形成され、温度補償材料であるシリコーン樹脂(屈折率温度係数α′=−3.5×10−4+1.5×10−7×T)が挿入されている。ここで、マルチモード導波路1807における導波路側面に溝1808が形成された部分の長さは2200μmとしている。
本実施形態におけるマルチモード導波路1807の側面に温度補償材料が接した部分での基底モード光と1次モード光の実効屈折率差の温度変化は、図8と同様となる。ここで本実施形態の光波長合分波回路の使用温度領域は、−40〜80℃としている。使用温度領域において、実効屈折率差は0.0053から0.0057まで変化する。これにより、マルチモード導波路1807を伝播する基底モード光と1次モード光の位相差は、およそ2π変化することになる。この位相変化に伴い、直線テーパ1809と第1のスラブ導波路1802の接続部において、図9と同様な光フィールドの温度変化が生じる。
図20は、本実施形態のアサーマルAWGにおける透過中心波長の温度変動を説明するグラフである。線Xは、光フィールドのピーク位置変動による透過中心波長の温度変動を示している。また、線Yは、金属棒1810の熱伸縮により1次の温度依存性が補償されたAWGにおいて残留している透過中心波長の高次の温度依存性を示している。AWG回路全体の透過中心波長の温度依存性は、線Zに示す。本実施形態の波長合分波回路において、−40〜80℃の範囲で透過中心波長の温度変動量は0.026nmであり、従来技術によるアサーマルAWGにおいて残留していた透過中心波長の高次の温度変動が補償され、低減されていることが分かる。
[第4の実施形態]
本発明の第4の実施形態に係る光波長合分波回路について説明する。図21は、本実施形態におけるアサーマルAWG2100の構成を示す平面図である。アサーマルAWG2100は、第1の入出力導波路2101と、第1のスラブ導波路2102と、アレイ導波路2103と、第2のスラブ導波路2104と、第2の入出力導波路2105と、1次モード光励起機構である導波路オフセット2106と、マルチモード導波路2107と、パラボラ形状のテーパ導波路2109と、マルチモード導波路2107の導波路コア側面に接するように形成された溝2108と、第2のスラブ導波路2104に形成された溝2110とを備え、溝2108、2110には温度補償材料が充填されている。
アレイ導波路2103の長さは、一定量ΔLずつ順次長くなるよう設計されている。これに応じて、各アレイ導波路を通過し、中央の波長チャネルを通過する光波が、第2のスラブ導波路2104において溝2110により分断される長さは、ΔLに比例した量ΔL′ずつ順次長くなるような形状をしている。このアサーマルAWGは、導波路のΔが1.5%、コア厚4.5μm、実効屈折率温度係数α=1.0×10−5+1.9×10−8×T、第1の入出力導波路2101、アレイ導波路2103、および第2の入出力導波路2105のコア幅は4.5μmであり、波長チャネル数32、中央の波長チャネルの透過波長1544.53μm(194.1THz)、波長チャネル間隔0.8nm(100GHz)、温度補償材料はシリコーン樹脂(屈折率温度係数α′=−3.5×10−4+1.5×10−7×T)である。このときアレイ導波路の本数は150本、ΔLは42.4μmである。ここで、溝2112に充填された温度補償材料により与えられる経路長差ΔL′は、T=20℃として、ΔL′=ΔL/(1−α′/α)=1.18μmと設計されており、透過中心波長の1次の温度依存性が補償されている。また、第1のスラブ導波路2102、および第2のスラブ導波路2104の長さは、7300μmであり、第2の入出力導波路2105は、第2のスラブ導波路2104に接続する部分において18μm間隔で波長チャネル数すなわち32本配置されている。
図22は、図21のアサーマルAWGにおける導波路オフセット2106からマルチモード導波路2107近傍を拡大した図である。各符号の説明は、図21と同様である。本実施形態において、マルチモード導波路2107は、パラボラ形状のテーパ導波路2109を介して第1のスラブ導波路2102に接続されている。マルチモード導波路2107の導波路幅は8μmであり、パラボラ形状テーパ導波路2109の導波路幅は、第1のスラブ導波路2102に接続する部分で16μmである。ここで、導波路オフセット2106においては、直線テーパによりマルチモード導波路2107と同等までコア幅を拡大し、導波路コアの中心軸を0.6μmずらしてマルチモード導波路2107に接続しており、この不連続なコアの接続において、基底モード光の4%程度の強度の1次モード光が励起される。また、溝2108は、マルチモード導波路2107における導波路コア側面に接するように、コア下面より深いところまでクラッドを除去することにより形成され、温度補償材料が挿入されている。ここで、マルチモード導波路2107における導波路側面に溝2108が形成された部分の長さは2500μmとしている。
本実施形態におけるマルチモード導波路2107の側面に温度補償材料が接した部分での基底モード光と1次モード光の実効屈折率差の温度変化は、図8と同様となる。ここで本実施形態の光波長合分波回路の使用温度領域は、−40〜80℃としている。使用温度領域において、実効屈折率差は0.0053から0.0057まで変化する。これにより、マルチモード導波路1507を伝播する基底モード光と1次モード光の位相差は、およそ2π変化することになる。図23は、図8と同様の実効屈折率差変化がある場合の、パラボラテーパ導波路2109の第1のスラブ導波路2102との接続部分における光フィールド分布の温度変化を示したグラフである。ここでグラフの横軸pは、図22に示すように、パラボラテーパ導波路2109の中心を原点とした相対位置である。図23には、温度−40、20、80℃での光フィールド分布が示されている。マルチモード導波路2107からパラボラテーパ導波路2109に入力した基底モード光の一部は、2次モード光に変換され、パラボラテーパ導波路2109の終端では双峰状のフィールドとなる。このとき基底モード光と2次モード光のパワー比と位相差は、パラボラテーパ導波路2109の形状により決定され、その温度変化はほとんどない。一方、マルチモード導波路2107からパラボラテーパ導波路2109に入力した1次モード光は、そのまま1次モードとしてパラボラテーパ導波路2109の終端に達する。この1次モード光の影響により、パラボラテーパ導波路2109の終端での双峰状のフィールドは、非対称なフィールドとなり、その非対称性は、基底および2次モード光と、1次モード光との位相差により決定される。図23によれば、光フィールド分布は、使用温度領域において、基底および2次モード光と1次モード光の位相差変化に伴い、光波フィールド非対称性が変化し、光パワーの重心位置が負から正に変化し更に負に至るまで変化している。
図24は、本実施形態のアサーマルAWGにおける透過中心波長の温度変動を説明するグラフである。線Xは、光フィールドの重心変動による透過中心波長の温度変動を示している。また、線Yは、第1のスラブ導波路2102から第2の入出力導波路2105に至る1次の温度依存性が補償されたAWGにおいて残留している透過中心波長の高次の温度依存性を示している。AWG回路全体の透過中心波長の温度依存性は線Zに示す。
図25は、本実施形態のアサーマルAWGにおける温度−40、20、80℃での透過波形を示すグラフである。パラボラテーパ導波路2109において、双峰状のフィールドが励起されることにより、透過帯域の広い波形が実現される。図25によれば、透過波形の非対称性が変化しながら、透過中心波長の温度変動が抑制されている様子が確認できる。図24、25から、本実施形態の波長合分波回路においては、−40〜80℃の範囲で透過中心波長の温度変動量は0.048nmに抑制されており、透過帯域が広く、かつ従来技術によるアサーマルAWGにおいて残留していた透過中心波長の高次の温度変動が補償されていることが分かる。
[第5の実施形態]
本発明の第5の実施形態に係る光波長合分波回路について説明する。図26は、本実施形態におけるアサーマルAWG2600の構成を示す平面図である。アサーマルAWG2600は、第1の入出力導波路2601と、第1のスラブ導波路2602と、アレイ導波路2603と、第2のスラブ導波路2604と、第2の入出力導波路2605と、1次モード光励起機構である導波路オフセット2606と、マルチモード導波路2607と、直線テーパ導波路2609と、マルチモード導波路2607の導波路コア側面に接するように形成された溝2608と、第2のスラブ導波路2604に形成された溝2610とを備え、溝2608、2610には温度補償材料が充填されている。
アレイ導波路2603の長さは、一定量ΔLずつ順次長くなるよう設計されている。これに応じて、各アレイ導波路を通過し、中央の波長チャネルを通過する光波が、第2のスラブ導波路2604において溝2610により分断される長さは、ΔLに比例した量ΔL′ずつ順次長くなるような形状をしている。このアサーマルAWGは、導波路のΔが1.5%、コア厚4.5μm、実効屈折率温度係数α=1.0×10−5+1.9×10−8×T、第1の入出力導波路2601、アレイ導波路2603、および第2の入出力導波路2605のコア幅は4.5μmであり、波長チャネル数32、中央の波長チャネルの透過波長1544.53μm(194.1THz)、波長チャネル間隔0.8nm(100GHz)、温度補償材料はシリコーン樹脂(屈折率温度係数α′=−3.5×10−4+1.5×10−7×T)である。このときアレイ導波路の本数は150本、ΔLは42.4μmである。ここで溝2612に充填された温度補償材料により与えられる経路長差ΔL′は、T=20℃として、ΔL′=ΔL/(1−α′/α)=1.18μmと設計されており、透過中心波長の1次の温度依存性が補償されている。また、第1のスラブ導波路2602、および第2のスラブ導波路2604の長さは、7300μmであり、第2の入出力導波路2605は、第2のスラブ導波路2604に接続する部分において、18μm間隔で波長チャネル数すなわち32本配置されている。
図27は、図26のアサーマルAWGにおける導波路オフセットからマルチモード導波路2607近傍を拡大した図である。各符号の説明は図26と同様である。本実施形態においてマルチモード導波路2607は、直線テーパ導波路2609を介して第1のスラブ導波路2602に接続されている。マルチモード導波路2607の導波路幅は8μmであり、直線テーパ導波路2609の導波路幅は、第1のスラブ導波路2602に接続する部分で11.5μmである。ここで、導波路オフセット2606においては、直線テーパによりマルチモード導波路2607と同等までコア幅を拡大し、導波路コアの中心軸を0.6μmずらしてマルチモード導波路2607に接続しており、この不連続なコアの接続において、基底モード光の4%程度の強度の1次モード光が励起される。また溝2608は、マルチモード導波路2607における導波路コア側面に接するように、コア下面より深いところまでクラッドを除去することにより形成され、温度補償材料が挿入されている。ここで、マルチモード導波路2607における導波路側面に溝が形成された部分の長さは、2500μmとしている。
図28は、図26のアサーマルAWGにおける第2のスラブ導波路2604と第2の入出力導波路2605の接続部近傍を拡大した図である。各符号の説明は図26と同様である。ただし本実施形態において第2の入出力導波路2605は全て、パラボラ形状のテーパ導波路2614を介して第2のスラブ導波路2604に接続されている。パラボラテーパ導波路2614の導波路幅は、第2のスラブ導波路2604に接続する部分で16μmである。パラボラテーパ導波路2614の終端において、基底モード光の一部は、2次モード光に変換され、双峰状のフィールドとなる。このとき基底モード光と2次モード光のパワー比と位相差は、パラボラテーパ導波路2614の形状により決定され、その温度変化はほとんどない。また、パラボラテーパ導波路2614の形状が中心軸に対して対称であるので、一次モード光は励起されない。
本実施形態におけるマルチモード導波路2607の側面に温度補償材料が接した部分での基底モード光と1次モード光の実効屈折率差の温度変化は、図8と同様となる。ここで本実施形態の光波長合分波回路の使用温度領域は−40〜80℃としている。使用温度領域において、実効屈折率差は0.0053から0.0057まで変化する。これにより、マルチモード導波路2607を伝播する基底モード光と1次モード光の位相差は、およそ2π変化することになる。この位相変化に伴い、直線テーパ2609と第1のスラブ導波路2602の接続部において、図9と同様な光フィールドの温度変化が生じる。
図29は、本実施形態のアサーマルAWGにおける透過中心波長の温度変動を説明するグラフである。線Xは、直線テーパ2609終端での光フィールドのピーク位置変動による透過中心波長の温度変動を示している。また、線Yは、第1のスラブ導波路2602から第2の入出力導波路2605に至る1次の温度依存性が補償されたAWGにおいて残留している透過中心波長の高次の温度依存性を示している。AWG回路全体の透過中心波長の温度依存性は線Zに示す。
図30は、本実施形態のアサーマルAWGにおける温度−40、20、80℃での透過波形を示すグラフである。パラボラテーパ導波路2614において、双峰状のフィールドが励起されることにより、透過帯域の広い波形が実現される。また、パラボラテーパ導波路2614において、1次モード光は励起されないため、使用温度領域で透過波形はほぼ対称性を保持しながらも、透過中心波長の温度変動が抑制されている。図29、30から、本実施形態の波長合分波回路においては、−40〜80℃の範囲で透過中心波長の温度変動量は、0.038nmに抑制されており、透過帯域が広く、透過波形の変動がほとんどなく、かつ従来技術によるアサーマルAWGにおいて残留していた透過中心波長の高次の温度変動が補償されていることが分かる。
[第6の実施形態]
本発明の第6の実施形態に係る光波長合分波回路について説明する。図31は、本実施形態におけるアサーマルAWG3100の構成を示す平面図である。アサーマルAWG3100は、第1の入出力導波路3101と、第1のスラブ導波路3102と、アレイ導波路3103と、第2のスラブ導波路3104と、第2の入出力導波路3105と、1次モード光励起機構である導波路オフセット3106と、マルチモード導波路3107と、直線テーパ導波路3109と、マルチモード導波路3107の導波路コア側面に接するように形成された溝3108と、第2のスラブ導波路3104に形成された溝3110とを備え、溝3108、3110には温度補償材料が充填されている。
アレイ導波路3103の長さは、一定量ΔLずつ順次長くなるよう設計されている。これに応じて、各アレイ導波路を通過し、中央の波長チャネルを通過する光波が、第2のスラブ導波路3104において溝3110により分断される長さは、ΔLに比例した量ΔL′ずつ順次長くなるような形状をしている。このアサーマルAWGは、導波路のΔが1.5%、コア厚4.5μm、実効屈折率温度係数α=1.0×10−5+1.9×10−8×T、第1の入出力導波路3101、アレイ導波路3103、および第2の入出力導波路3105のコア幅は4.5μmであり、波長チャネル数32、中央の波長チャネルの透過波長1544.53μm(194.1THz)、波長チャネル間隔0.8nm(100GHz)、温度補償材料はシリコーン樹脂(屈折率温度係数α′=−3.5×10−4+1.5×10−7×T)である。このときアレイ導波路の本数は150本、ΔLは42.4μmである。ここで、溝3108に充填された温度補償材料により与えられる経路長差ΔL′は、T=20℃として、ΔL′=ΔL/(1−α′/α)=1.18μmと設計されており、透過中心波長の1次の温度依存性が補償されている。また、第1のスラブ導波路3102、および第2のスラブ導波路3104の長さは、7300μmであり、マルチモード導波路3107から第2の入出力導波路3105に至る入出力導波路は、第2のスラブ導波路3104に接続する部分において18μm間隔で波長チャネル数すなわち32本配置されている。
図32は、図31のアサーマルAWGにおける第1の入出力導波路3101と第1のスラブ導波路3102との接続部近傍を拡大した図である。各符号の説明は、図31と同様である。ただし本実施形態において、第1の入出力導波路3101は、パラボラ形状のテーパ導波路3114を介して第1のスラブ導波路3102に接続されている。パラボラテーパ導波路3114の導波路幅は、第1のスラブ導波路3102に接続する部分で16μmである。基底モード光の一部は、パラボラテーパ導波路3114の終端において2次モード光に変換され、双峰状のフィールドとなる。このとき基底モード光と2次モード光のパワー比と位相差は、パラボラテーパ導波路3114の形状により決定され、その温度変化はほとんどない。また、パラボラテーパ導波路3114の形状が中心軸に対して対称であるので、一次モード光は励起されない。
図33は、図31のアサーマルAWGにおける導波路オフセット3106からマルチモード導波路3107近傍を拡大し、1チャネル分の構造を示す図である。各符号の説明は図31と同様である。本実施形態のアサーマルAWGでは、図33と同構造の入出力導波路が32並んでいる。ここで本実施形態において、マルチモード導波路3107は、直線テーパ導波路3109を介して第2のスラブ導波路3104に接続されている。マルチモード導波路3107の導波路幅は8μmであり、直線テーパ導波路3109の導波路幅は、第2のスラブ導波路3104に接続する部分で10μmである。ここで、導波路オフセット3106においては、直線テーパによってマルチモード導波路3107と同等までコア幅を拡大し、導波路コアの中心軸を0.6μmずらしてマルチモード導波路3107に接続しており、この不連続なコアの接続において、基底モード光の4%程度の強度の1次モード光が励起される。また溝3108は、マルチモード導波路3107における導波路コア側面に接するように、コア下面より深いところまでクラッドを除去することにより形成され、温度補償材料が挿入されている。ここで、マルチモード導波路3107における、導波路側面に溝3108が形成された部分の長さは2500μmとしている。
本実施形態における、マルチモード導波路3107の側面に温度補償材料が接した部分での基底モード光と1次モード光の実効屈折率差の温度変化は、図8と同様となる。ここで本実施形態の光波長合分波回路の使用温度領域は、−40〜80℃としている。使用温度領域において、実効屈折率差は0.0053から0.0057まで変化する。これにより、マルチモード導波路3107を伝播する基底モード光と1次モード光の位相差は、およそ2π変化することになる。この位相変化に伴い、直線テーパ3109と第2のスラブ導波路3104の接続部において、図9と同様な光フィールドの温度変化が生じる。
本実施形態のアサーマルAWGにおける、透過中心波長の温度変動は、図29と同様である。本実施形態において、線Xは直線テーパ3109終端での光フィールドのピーク位置変動による透過中心波長の温度変動を示している。また、線Yは、第1の入出力導波路3101から第2のスラブ導波路3104に至る1次の温度依存性が補償されたAWGにおいて残留している透過中心波長の高次の温度依存性を示している。線Zは、AWG回路全体の透過中心波長の温度依存性を示す。本実施形態のアサーマルAWGにおける温度−40、20、80℃での透過波形を示したグラフは、図30と同様である。第5の実施形態と同様に、パラボラテーパ導波路3114において双峰状のフィールドが励起されることにより、透過帯域の広い波形が実現される。またパラボラテーパ導波路3114において、1次モード光は励起されないため、使用温度領域で透過波形はほぼ対称性を保持しながらも、透過中心波長の温度変動が抑制されている。以上より、本実施形態の波長合分波回路においては、−40〜80℃の範囲で透過中心波長の温度変動量は、0.038nmに抑制されており、透過帯域が広く、透過波形の変動がほとんどなく、かつ従来技術によるアサーマルAWGにおいて残留していた透過中心波長の高次の温度変動が補償されていることが分かる。
以上のように本発明の6つの実施形態によるアサーマルAWGタイプの光波長合分波回路によれば、従来技術のアサーマルAWGにおいて残留していた透過中心波長の高次の温度変動が補償され、従来に比較して透過中心波長精度に優れた、光波長合分波回路を得ることができる。
なお、上記全ての実施形態では、導波路の比屈折率差、コア幅及びコア厚を特定の値に限定して説明したが、本発明の適用範囲はこの値に限定されるものではない。
また、上記全ての実施形態では、AWGの設計パラメーターを特定の値に限定して説明したが、本発明の適用範囲はこのパラメーターに限定されるものではない。
また、上記全ての実施形態では、使用温度領域を特定の値に限定して説明したが、本発明の適用範囲はこの値に限定されるものではない。
また、上記全ての実施の形態では、温度補償材料としてシリコーン樹脂を使用して説明したが、本発明の適用範囲は、この材料に限定されるものではなく、シリコーン樹脂、エポキシ樹脂、フッ素樹脂等の光学樹脂である導波路の実効屈折率温度係数と異なる屈折率温度係数を有し、かつ使用温度範囲において、導波路コアの屈折率よりも小さい屈折率を有するいかなる材料にも適用することができる。
また、第1、第4、第5および第6の実施形態では、一次の温度依存性を補償する構成として、第2のスラブ導波路に溝を形成し温度補償材料を挿入したが、本発明の適用範囲はこの位置に限定されるものではなく、溝は第1のスラブ導波路からアレイ導波路を経て第2のスラブ導波路に至る光経路上のいかなる位置に設置し、また異なる複数の位置に分散して設置しても、一次の温度依存性を補償することができる。また、分割する溝の個数を特定の値に限定したが、本発明の適用範囲は、この数に限定されるものではない。
また、第4、第5および第6の実施形態では、第1あるいは第2の入出力導波路とスラブ導波路との接続部にパラボラテーパ導波路を適用して説明したが、本発明の適用範囲はこの構成に限定されるものではなく、基底モード光の一部を2次モード光に変換するいかなるテーパ導波路、例えばY分岐導波路、楕円形状導波路、MMI等を適用することができる。
本発明の一実施形態に係る光波長合分波回路の構成概念図である。 図1において、第1の入出力導波路101から第1のスラブ導波路102の部分を拡大した図である。 本発明の一実施形態において、光波長合分波回路のマルチモード導波路107における、基底モード光と1次モード光に対する実効屈折率の差分Δn(T)の、温度Tに対する変化の例を示す図である。 本発明の一実施形態において、光波長合分波回路の透過中心波長の温度変動を表す図である。 本発明の第1の実施形態に係る光波長合分波回路の構成図である。 図5において、1次モード励起機構506からマルチモード導波路507の部分を拡大した図である。 図6において、線BB’部分の断面構造を示す図である。 本発明の第1の実施形態において、光波長合分波回路のマルチモード導波路507における基底モード光と1次モード光の実効屈折率差Δn(T)の温度に対する変化を示す図である。 本発明の第1の実施形態において、直線テーパ509の第1のスラブ導波路502との接続部分での光フィールド分布の温度変化を示す図である。 本発明の第1の実施形態において、光波長合分波回路の透過中心波長の温度変動を示す図である。 本発明の第1の実施形態に係る光波長合分波回路の別構成における、マルチモード導波路507近傍を拡大した図である。 図11において、線CC′部分の断面構造を示す図である。 本発明の第1の実施形態に係る光波長合分波回路の別構成における、マルチモード導波路507近傍を拡大した図である。 図13において、線DD′部分の断面構造を示す図である。 本発明の第2の実施形態に係る光波長合分波回路の構成図である。 図15において、1次モード励起機構1506からマルチモード導波路1507の部分を拡大した図である。 本発明の第2の実施形態において、光波長合分波回路の透過中心波長の温度変動を表す図である。 本発明の第3の実施形態に係る光波長合分波回路の構成図である。 図18において、1次モード励起機構1806からマルチモード導波路1807の部分を拡大した図である。 本発明の第3の実施形態において、光波長合分波回路の透過中心波長の温度変動を表す図である。 本発明の第4の実施形態に係る光波長合分波回路の構成図である。 図21において、1次モード励起機構2106からマルチモード導波路2107の部分を拡大した図である。 本発明の第4の実施形態において、パラボラテーパ2109の第1のスラブ導波路2102との接続部分での光フィールド分布の温度変化を示す図である。 本発明の第4の実施形態において、光波長合分波回路の透過中心波長の温度変動を表す図である。 本発明の第4の実施形態において、温度−40、20、80℃での光波長合分波回路の透過波形を示す図である。 本発明の第5の実施形態に係る光波長合分波回路の構成図である。 図26において、1次モード励起機構2606からマルチモード導波路2607の部分を拡大した図である。 図26において、第2のスラブ導波路2604と第2の入出力導波路2605の接続部近傍を拡大した図である。 本発明の第5の実施形態において、光波長合分波回路の透過中心波長の温度変動を示す図である。 本発明の第5の実施形態において、温度−40、20、80℃での光波長合分波回路の透過波形を示す図である。 本発明の第6の実施形態に係る光波長合分波回路の構成図である。 図31において、第1の入出力導波路3101と第1のスラブ導波路3102の接続部近傍を拡大した図である。 図31において、光スプリッタ3106からマルチモード導波路3110部分の1チャネルを拡大した図である。 従来技術における、スラブ導波路に溝を形成するタイプのアサーマルAWGの構成を示す平面図である。 図34のアサーマルAWGにおいて、線AA′部分の断面構造を示す図である。 従来技術によるアサーマルAWGにおいて、透過中心波長の温度変動を表す図である。
符号の説明
100、500、1500、1800、2100、2600、3100、3400 光波長合分波回路
101、501、1501、1801、2101、2601、3101、3401 第1の入出力導波路
102、502、1502、1802、2102、2602、3102、3402 第1のスラブ導波路
103、503、1503、1803、2103、2603、3103、3403 アレイ導波路
104、504、1504、1804、2104、2604、3104、3404 第2のスラブ導波路
105、505、1505、1805、2105、2605、3105、3405 第2の入出力導波路
106、506、1506、1806、2106、2606、3106、3406 1次モード光励起機構
107、507、1507、1807、2107、2607、3107、3407 マルチモード導波路
508、510、1508、1808、2108、2110、2608、2610、3108、3110、3406 温度補償材料挿入溝
509、1509、1809、2609、3109 直線テーパ導波路
511、3407 シリコン基板
512、3408 導波路コア
513、3409 クラッド
1510 金属棒
1810 金属板
2109、2614、3114 パラボラテーパ導波路

Claims (11)

  1. コアおよびクラッドからなる導波路により構成されるアレイ導波路回折格子を備える光波長合分波回路であって、
    前記アレイ導波路回折格子が、
    所定の光路長差で順次長くなる導波路からなるアレイ導波路と、
    前記アレイ導波路の両端部に接続された第1および第2のスラブ導波路と、
    透過波長における主要な温度依存性を補償する温度補償手段とを備える光波長合分波回路において、
    第1の入出力導波路と、
    前記第1の入出力導波路に接続され、前記第1の入出力導波路から入力される基本モード光の一部を1次モード光に変換する1次モード光励起機構と、
    前記1次モード光励起機構に接続され、少なくとも基本および1次モード光が伝播可能であり、直接あるいはテーパ導波路を介して前記第1のスラブ導波路に接続されるマルチモード導波路であって、前記マルチモード導波路の少なくとも一部分のコア側面または上面またはその両方のクラッドが前記マルチモード導波路と異なる屈折率温度係数を有する材料に置き換えられるマルチモード導波路とを備え、
    前記マルチモード導波路あるいは前記テーパ導波路の前記第1のスラブ導波路への接続部における基本モード光と1次モード光との合成光フィールドの温度変位により、前記アレイ導波路回析格子の透過波長の残留する温度依存性の一部または全部が補償されていることを特徴とする光波長合分波回路。
  2. 前記マルチモード導波路は、前記マルチモード導波路の少なくとも一部分のコア側面に接する溝が形成され、当該溝に前記マルチモード導波路のコア材料の屈折率温度係数と異なる屈折率温度係数を有する材料を挿入することにより生成されることを特徴とする請求項1に記載の光波長合分波回路。
  3. 前記1次モード光励起機構は、導波路の中心軸をずらして接続する導波路オフセットであることを特徴とする請求項1または請求項2に記載の光波長合分波回路。
  4. 前記マルチモード導波路と前記第1のスラブ導波路が、直線テーパ導波路により接続されることを特徴とする請求項1乃至3のいずれか1項に記載の光波長合分波回路。
  5. 前記マルチモード導波路と前記第1のスラブ導波路が、パラボラ形状等の2次モード光を励起するテーパ導波路により接続されることを特徴とする請求項1乃至3のいずれか1項に記載の光波長合分波回路。
  6. 前記第2のスラブ導波路に接続される第2の入出力導波路を備え、前記第2の入出力導波路と前記第2のスラブ導波路が、パラボラ形状等の2次モード光を励起するテーパ導波路により接続されることを特徴とする請求項4に記載の光波長合分波回路。
  7. 前記導波路は、石英系ガラスから構成され、前記溝に挿入する材料は、シリコーン樹脂、エポキシ樹脂、フッ素樹脂等の光学樹脂であることを特徴とする請求項1乃至6のいずれか1項に記載の光波長合分波回路。
  8. 前記温度補償手段は、前記アレイ導波路および前記第1および第2のスラブ導波路の少なくともいずれか1つに、光波の進行方向に交差して導波路を分断する溝を形成し、前記溝に前記導波路の実効屈折率の温度係数と異なる屈折率温度係数を有する材料を挿入することにより形成される手段であることを特徴とする請求項7に記載の光波長合分波回路。
  9. 前記アレイ導波路および前記第1および第2のスラブ導波路の少なくともいずれか1つに形成された溝に挿入する材料と、前記マルチモード導波路の少なくとも一部分のコアに接する溝に挿入する材料とが同一であることを特徴とする請求項8に記載の光波長合分波回路。
  10. 前記温度補償手段は、回路に沿って弧状に切断したチップの両端をつなぐ金属棒を接合し、金属棒の熱伸縮によりチップを変形させ、前記アレイ導波路の光路長差の温度変化と相殺させる手段であることを特徴とする請求項7に記載の光波長合分波回路。
  11. 前記温度補償手段は、前記第1あるいは第2のスラブ導波路を分断し、分断したチップを金属板で接合して、金属板の熱伸縮により分断されたスラブ導波路の相対位置を変化させることによりアレイ導波路の光路長差の温度変化による光路の変化と相殺させる手段であることを特徴とする請求項7に記載の光波長合分波回路。
JP2008188571A 2008-07-22 2008-07-22 光波長合分波回路 Expired - Fee Related JP5086196B2 (ja)

Priority Applications (1)

Application Number Priority Date Filing Date Title
JP2008188571A JP5086196B2 (ja) 2008-07-22 2008-07-22 光波長合分波回路

Applications Claiming Priority (1)

Application Number Priority Date Filing Date Title
JP2008188571A JP5086196B2 (ja) 2008-07-22 2008-07-22 光波長合分波回路

Publications (2)

Publication Number Publication Date
JP2010026302A true JP2010026302A (ja) 2010-02-04
JP5086196B2 JP5086196B2 (ja) 2012-11-28

Family

ID=41732183

Family Applications (1)

Application Number Title Priority Date Filing Date
JP2008188571A Expired - Fee Related JP5086196B2 (ja) 2008-07-22 2008-07-22 光波長合分波回路

Country Status (1)

Country Link
JP (1) JP5086196B2 (ja)

Cited By (2)

* Cited by examiner, † Cited by third party
Publication number Priority date Publication date Assignee Title
JP2012048049A (ja) * 2010-08-27 2012-03-08 Oki Electric Ind Co Ltd 光波長フィルタ
JP2015114378A (ja) * 2013-12-09 2015-06-22 日本電信電話株式会社 光波長合分波回路

Citations (9)

* Cited by examiner, † Cited by third party
Publication number Priority date Publication date Assignee Title
JPH10206911A (ja) * 1997-01-17 1998-08-07 Nippon Telegr & Teleph Corp <Ntt> 光モニター回路およびその製造方法
JPH10227930A (ja) * 1997-02-13 1998-08-25 Nippon Telegr & Teleph Corp <Ntt> 温度無依存光導波路およびその製造方法
JP2001194542A (ja) * 2000-01-12 2001-07-19 Nippon Telegr & Teleph Corp <Ntt> 光フィルタ
JP2001350041A (ja) * 1999-12-27 2001-12-21 Furukawa Electric Co Ltd:The アレイ導波路回折格子型光合分波器および光導波回路
JP2002014243A (ja) * 2000-06-29 2002-01-18 Nec Corp アレイ導波路格子およびアレイ導波路格子を使用した光通信システム
WO2006096602A2 (en) * 2005-03-04 2006-09-14 Gemfire Corporation Optical device with reduced temperature dependence
JP2006284632A (ja) * 2005-03-31 2006-10-19 Furukawa Electric Co Ltd:The アレイ導波路回折格子型光合分波器
JP2007286077A (ja) * 2004-05-20 2007-11-01 Nec Corp 光合分波器
JP2007536567A (ja) * 2004-05-05 2007-12-13 ライトウェイブ マイクロシステムズ コーポレーション アサーマルawgおよび可変幅の溝を用いる低消費電力awg

Patent Citations (9)

* Cited by examiner, † Cited by third party
Publication number Priority date Publication date Assignee Title
JPH10206911A (ja) * 1997-01-17 1998-08-07 Nippon Telegr & Teleph Corp <Ntt> 光モニター回路およびその製造方法
JPH10227930A (ja) * 1997-02-13 1998-08-25 Nippon Telegr & Teleph Corp <Ntt> 温度無依存光導波路およびその製造方法
JP2001350041A (ja) * 1999-12-27 2001-12-21 Furukawa Electric Co Ltd:The アレイ導波路回折格子型光合分波器および光導波回路
JP2001194542A (ja) * 2000-01-12 2001-07-19 Nippon Telegr & Teleph Corp <Ntt> 光フィルタ
JP2002014243A (ja) * 2000-06-29 2002-01-18 Nec Corp アレイ導波路格子およびアレイ導波路格子を使用した光通信システム
JP2007536567A (ja) * 2004-05-05 2007-12-13 ライトウェイブ マイクロシステムズ コーポレーション アサーマルawgおよび可変幅の溝を用いる低消費電力awg
JP2007286077A (ja) * 2004-05-20 2007-11-01 Nec Corp 光合分波器
WO2006096602A2 (en) * 2005-03-04 2006-09-14 Gemfire Corporation Optical device with reduced temperature dependence
JP2006284632A (ja) * 2005-03-31 2006-10-19 Furukawa Electric Co Ltd:The アレイ導波路回折格子型光合分波器

Cited By (2)

* Cited by examiner, † Cited by third party
Publication number Priority date Publication date Assignee Title
JP2012048049A (ja) * 2010-08-27 2012-03-08 Oki Electric Ind Co Ltd 光波長フィルタ
JP2015114378A (ja) * 2013-12-09 2015-06-22 日本電信電話株式会社 光波長合分波回路

Also Published As

Publication number Publication date
JP5086196B2 (ja) 2012-11-28

Similar Documents

Publication Publication Date Title
JP5399693B2 (ja) 光波長合分波回路
JP5457661B2 (ja) 光波長合分波回路
CA2315458C (en) Optical wavelength multiplexer/demultiplexer
US8873910B2 (en) Optical device with athermal slots for temperature dependence curvature reduction
CN1488079A (zh) 平坦化光相位阵列通带的分段波导
JP5086196B2 (ja) 光波長合分波回路
JP6126522B2 (ja) 光波長合分波回路
Blau et al. Wavelength demultiplexer designs operating over multiple spatial modes of a rectangular waveguide
JP2011158730A (ja) 温度無依存光回路
JP4667927B2 (ja) アレイ導波路回折格子型光合分波器
JP2005055882A (ja) 可変分散補償器および可変分散補償方法
JP2007286077A (ja) 光合分波器
JP2010250238A (ja) 光波長合分波回路およびその偏波依存性調整方法
JP4184931B2 (ja) 光波長合分波回路
JP4960202B2 (ja) 光波長合分波回路
JP4960201B2 (ja) 光波長合分波回路
JP4569440B2 (ja) 温度無依存光合分波器
JP2013210474A (ja) 光素子
JP4375256B2 (ja) 導波路型温度無依存光合分波器
JP3797483B2 (ja) アレイ型導波路格子
JP2009265418A (ja) 光波長合分波回路
WO2012039142A1 (ja) 光導波回路
JP2015001626A (ja) 光波長合分波回路
JP2005301301A (ja) 光結合器
JP2003075662A (ja) 光波長合分波器

Legal Events

Date Code Title Description
RD02 Notification of acceptance of power of attorney

Free format text: JAPANESE INTERMEDIATE CODE: A7422

Effective date: 20100525

RD04 Notification of resignation of power of attorney

Free format text: JAPANESE INTERMEDIATE CODE: A7424

Effective date: 20100525

A621 Written request for application examination

Free format text: JAPANESE INTERMEDIATE CODE: A621

Effective date: 20100716

RD02 Notification of acceptance of power of attorney

Free format text: JAPANESE INTERMEDIATE CODE: A7422

Effective date: 20100914

A977 Report on retrieval

Free format text: JAPANESE INTERMEDIATE CODE: A971007

Effective date: 20120118

A131 Notification of reasons for refusal

Free format text: JAPANESE INTERMEDIATE CODE: A131

Effective date: 20120120

A521 Written amendment

Free format text: JAPANESE INTERMEDIATE CODE: A523

Effective date: 20120316

TRDD Decision of grant or rejection written
A01 Written decision to grant a patent or to grant a registration (utility model)

Free format text: JAPANESE INTERMEDIATE CODE: A01

Effective date: 20120904

A01 Written decision to grant a patent or to grant a registration (utility model)

Free format text: JAPANESE INTERMEDIATE CODE: A01

A61 First payment of annual fees (during grant procedure)

Free format text: JAPANESE INTERMEDIATE CODE: A61

Effective date: 20120906

R150 Certificate of patent or registration of utility model

Free format text: JAPANESE INTERMEDIATE CODE: R150

FPAY Renewal fee payment (event date is renewal date of database)

Free format text: PAYMENT UNTIL: 20150914

Year of fee payment: 3

S531 Written request for registration of change of domicile

Free format text: JAPANESE INTERMEDIATE CODE: R313531

R350 Written notification of registration of transfer

Free format text: JAPANESE INTERMEDIATE CODE: R350

LAPS Cancellation because of no payment of annual fees