JP2010025688A - マイクロチップの製造方法 - Google Patents

マイクロチップの製造方法 Download PDF

Info

Publication number
JP2010025688A
JP2010025688A JP2008185972A JP2008185972A JP2010025688A JP 2010025688 A JP2010025688 A JP 2010025688A JP 2008185972 A JP2008185972 A JP 2008185972A JP 2008185972 A JP2008185972 A JP 2008185972A JP 2010025688 A JP2010025688 A JP 2010025688A
Authority
JP
Japan
Prior art keywords
silicon
glass substrate
substrate
base material
flow path
Prior art date
Legal status (The legal status is an assumption and is not a legal conclusion. Google has not performed a legal analysis and makes no representation as to the accuracy of the status listed.)
Granted
Application number
JP2008185972A
Other languages
English (en)
Other versions
JP5354324B2 (ja
Inventor
Yu Ozawa
澤 裕 小
Ryoichi Daito
東 良 一 大
Koji Fujimoto
本 興 治 藤
Masataka Yamaguchi
口 政 隆 山
Current Assignee (The listed assignees may be inaccurate. Google has not performed a legal analysis and makes no representation or warranty as to the accuracy of the list.)
Dai Nippon Printing Co Ltd
Original Assignee
Dai Nippon Printing Co Ltd
Priority date (The priority date is an assumption and is not a legal conclusion. Google has not performed a legal analysis and makes no representation as to the accuracy of the date listed.)
Filing date
Publication date
Application filed by Dai Nippon Printing Co Ltd filed Critical Dai Nippon Printing Co Ltd
Priority to JP2008185972A priority Critical patent/JP5354324B2/ja
Publication of JP2010025688A publication Critical patent/JP2010025688A/ja
Application granted granted Critical
Publication of JP5354324B2 publication Critical patent/JP5354324B2/ja
Expired - Fee Related legal-status Critical Current
Anticipated expiration legal-status Critical

Links

Images

Landscapes

  • Automatic Analysis And Handling Materials Therefor (AREA)
  • Micromachines (AREA)
  • Apparatus Associated With Microorganisms And Enzymes (AREA)
  • Joining Of Glass To Other Materials (AREA)
  • Physical Or Chemical Processes And Apparatus (AREA)

Abstract

【課題】透過光による観察が可能であるとともに加工不良を抑えることが可能な、電極を有するマイクロチップの製造方法を提供する。
【解決手段】貫通孔用ガラス基材11と、主ガラス基材12と、流路21を含むマイクロチップ10を製造する方法において、まず主ガラス基材12およびシリコン含有基材20を準備し、このうちシリコン含有基材20に電極24を設けるとともに、主ガラス基材12に凹部25を形成する。次に主ガラス基材12にシリコン含有基材20を接合し、シリコン含有基材20に設けられた電極24を主ガラス基材12の凹部25内に収容する。次に主ガラス基材12上のシリコン含有基材20に対して研磨を行って、シリコン含有基材20を所定厚に形成し、シリコン含有基材20にエッチングにより流路21を形成する。その後、シリコン含有基材20に貫通孔用ガラス基材11を接合する。
【選択図】図3

Description

本発明は、第1ガラス基材と、第2ガラス基材と、第1ガラス基材および第2ガラス基材の間に介在され、流路を含むシリコン含有基材とを備えるとともに、シリコン含有基材の流路内に電極を設けたマイクロチップの製造方法に関する。
近年、μ−TAS(Micro Total Analysis System)やLab−on−a−chip、MEMS(Micro Electro Mechanical Systems)と呼ばれるマイクロチップを用いた細胞分析、化学反応、生化学反応、分離、分析等の研究が行われている。このようなマイクロチップは、数cm角の大きさのプレートを有し、このプレートに、合流や分岐のあるμmオーダーの流路および数種類の試料導入孔が形成されている。
このようなマイクロチップは、その流路内に溶液を流すことにより、溶液の反応や分離、分析を行うシステムである。このようなシステムを用いることにより、試料の微量化、反応の効率化を図ることができるという利点を有することが知られており、注目を集めている。
マイクロチップの材料としてはシリコン、ガラス、樹脂などが用いられている。このうち樹脂を材料として用いるマイクロチップは、母型を転写することにより複製型を作製し、該複製型に樹脂を塗布して硬化させた後、硬化させた樹脂を複製型から剥離することにより得ることができる。このような樹脂製のマイクロチップは、大量生産が容易であるという利点はあるが、耐熱性が低く、有機溶剤によって膨潤や腐食が生じ、あるいは流体圧や外圧によってマイクロチップの変形が起こってしまうという問題がある。
一方、シリコン製のマイクロチップは、無機材料から構成されているので耐熱性が高く、有機溶剤による膨潤や腐食がなく、かつ流体圧や外圧によってマイクロチップが変形することがほとんどない。近年、MEMS技術を用いてウエハ内に複数のマイクロチップを製造することが可能となったため、シリコン製のマイクロチップは、生産性の面でも優れている。
ところでマイクロチップには、透過光によって対象物を観察可能なものと、反射光によって対象物を観察可能なものとが存在する。このうち透過光によって対象物を観察可能なマイクロチップは、細胞のイメージと分光情報(細胞または分子からの蛍光)などの分子情報とに基づき、詳細に細胞やたんぱく質分子を解析できる点で有利である。
透過光によって対象物を観察可能なマイクロチップとしては、例えば非特許文献1に記載されたものが挙げられる。この非特許文献1には、数μm〜数百μmサイズの細胞または微小粒子を単一個レベルで流路内の所定位置にトラップし、個々の細胞または微小粒子の薬品耐性またはたんぱく質発現性等の挙動をスクリーニングするためのPDMS(ポリジメチルシロキサン)製マイクロチップが開示されている。このようなマイクロチップにおいて、流路は、流路内で細胞またはたんぱく質の詰まりが起こらないような高さを有する必要がある。
また、透過光によって対象物を観察可能なマイクロチップとしては、一方のガラス基材(蓋材)と、シリコン基材(流路)と、他方のガラス(蓋材)とにより構成されたものが挙げられる。このような構成により、耐熱性が高く、有機溶剤による膨潤や腐食がなく、あるいは流体圧や外圧によって変形することがほとんどないマイクロチップを提供することができる。
特許第3402635号公報 Proceedings of the National Academy of Sciences, vol. 104, no.4, pp.1146-1151, 2007.
しかしながら、細胞およびたんぱく質は、上述したように数μm〜数百μm程度の大きさを有し、非常に小さいため、このような厚みに対応する薄いシリコン基材を加工することは非常に困難である。すなわち300μm未満のシリコン基材は、薄すぎるため、加工時にシリコン基材が破損しないようにハンドリングすることが困難である。
これに対して特許文献1には、ガラス基材/シリコン基材/ガラス基材という構造を有する微小流路素子の製造方法が開示されている。すなわち特許文献1において、まずシリコン基材の一面をエッチングすることにより有底の流路を形成し、次いでシリコン基材のエッチングした一面とガラス基材とを接合する。次に、シリコン基材のうちエッチングしていない側の他面を、流路が開孔するまでグラインダ等により研磨し、これによりシリコン基材に上下方向に連通する流路を形成する。その後シリコン基材の研磨面とガラス基材とを接合することにより、上述した構造を有する微小流路素子を得るようになっている。
しかしながら、特許文献1において、シリコン基材に上下方向に連通する流路を形成する際、上述したように、シリコン基材の一面に有底の流路を形成し、その後シリコン基材の他面側を研磨してシリコン基材を薄くしている。このため、シリコン基材の他面のうち流路の開孔部分の周囲にバリや欠けが発生しやすい。例えば、シリコン基材の他面にバリが形成されている場合、シリコン基材とガラス基材とを陽極接合することができないため、シリコン基材の流路をガラス基材によって封止できないおそれがある。
本発明は、このような点を考慮してなされたものであり、透過光による観察が可能であるとともに、シリコン含有基材の流路周囲にバリまたは欠けが発生することがなく、加工不良を抑えることが可能なマイクロチップの製造方法を提供することを目的とする。
本発明は、第1ガラス基材と、第2ガラス基材と、第1ガラス基材および第2ガラス基材の間に介在され、流路を含むシリコン含有基材とを含むマイクロチップの製造方法において、第1ガラス基材およびシリコン含有基材を準備する工程と、シリコン含有基材および第1ガラス基材の一方に電極を設けるとともに、他方に前記電極に対応する凹部を形成する工程と、第1ガラス基材にシリコン含有基材を接合して、電極をこの電極に対応する凹部内に収容する工程と、第1ガラス基材上のシリコン含有基材に対して研磨を行って、シリコン含有基材を所定厚に形成する工程と、所定厚のシリコン含有基材に対してエッチングにより流路を形成する工程と、流路が形成されたシリコン含有基材に第2ガラス基材を接合する工程とを備えたことを特徴とするマイクロチップの製造方法である。
本発明は、第1ガラス基材と、第2ガラス基材と、第1ガラス基材および第2ガラス基材の間に介在され、流路を含むシリコン含有基材とを含むマイクロチップの製造方法において、第1ガラス基材およびシリコン含有基材を準備する工程と、シリコン含有基材および第1ガラス基材の一方に凹部を設けるとともに、当該凹部内に電極を収容する工程と、第1ガラス基材にシリコン含有基材を接合する工程と、第1ガラス基材上のシリコン含有基材に対して研磨を行って、シリコン含有基材を所定厚に形成する工程と、所定厚のシリコン含有基材に対してエッチングにより流路を形成する工程と、流路が形成されたシリコン含有基材に第2ガラス基材を接合する工程とを備えたことを特徴とするマイクロチップの製造方法である。
本発明は、第2ガラス基材は貫通孔用ガラス基材となっており、流路が形成されたシリコン含有基材に第2ガラス基材を接合する工程の前に、第2ガラス基材に予めシリコン含有基材の流路に連通する流入孔および流出孔となる貫通孔を設けておくことを特徴とするマイクロチップの製造方法である。
本発明は、第1ガラス基材は貫通孔用ガラス基材となっており、第1ガラス基材にシリコン含有基材を接合する工程の前に、第1ガラス基材に予めシリコン含有基材の流路に連通する流入孔および流出孔となる貫通孔を設けておくことを特徴とするマイクロチップの製造方法である。
本発明は、エッチングにより流路を形成する工程の前に、第1ガラス基材のうちシリコン含有基材が設けられた面と反対側の面に、少なくとも第1ガラス基材に設けられた貫通孔を覆う保護層を形成する工程が設けられ、エッチングにより流路を形成する工程の後に、第1ガラス基材を覆う保護層を剥離する工程が設けられていることを特徴とするマイクロチップの製造方法である。
本発明は、シリコン含有基材は、第1のシリコン層と、前記所定厚を有する第2のシリコン層と、第1のシリコン層および第2のシリコン層の間に介在された酸化シリコン層とからなり、第1ガラス基材にシリコン含有基材を接合する工程において、シリコン含有基材のうち第2のシリコン層が第1ガラス基材に接合され、シリコン含有基材を所定厚に形成する工程は、シリコン含有基材のうち、第1のシリコン層を除去する工程と、シリコン含有基材のうち、酸化シリコン層を除去するとともに、前記所定厚を有する第2のシリコン層を残す工程とを有することを特徴とするマイクロチップの製造方法である。
以上のように本発明によれば、第1ガラス基材上のシリコン含有基材に対して研磨を行って、シリコン含有基材を所定厚に形成した後、シリコン含有基材に対してエッチングにより流路を形成するようになっている。したがって、流路が形成される前にシリコン含有基材を予め研磨しておくので、シリコン含有基材の流路が研磨されることがなく、流路の開孔部分周囲にバリや欠けが発生することがない。このことにより、マイクロチップの製造時における加工不良を減少することができる。
第1の実施の形態
以下、図面を参照して本発明の第1の実施の形態について説明する。
図1は、本実施の形態によるマイクロチップの製造方法により製造されたマイクロチップを示す平面図であり、図2は、本実施の形態によるマイクロチップの製造方法により製造されたマイクロチップを示す断面図(図1のII−II線断面図)である。図3(a)〜(g)は、本実施の形態によるマイクロチップの製造方法を示す概略図であり、図10は、ドライエッチング方法を用いてシリコン含有基材に流路を形成する工程の比較例を示す図である。
マイクロチップの構成
まず、図1および図2により本実施の形態によるマイクロチップの概要について説明する。
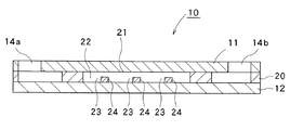
図1および図2に示すマイクロチップ(流路デバイス)10は、内部に溶液を流すことにより、溶液中に含まれる細胞または粒子等の対象物に対して、反応、分離、および/または分析を行うシステムであり、マイクロチップ10を厚さ方向に透過する透過光によって、溶液中の細胞または粒子等を観察できるように構成されている。図2に示すように、このマイクロチップ10は、貫通孔用ガラス基材11と、主ガラス基材12と、貫通孔用ガラス基材11および主ガラス基材12の間に介在され、流路21を含むシリコン含有基材20とを含んでいる。
このうち貫通孔用ガラス基材11は、貫通孔用ガラス基材11の厚さ方向に貫通する貫通孔からなる流入孔14aと、貫通孔用ガラス基材11の厚さ方向に貫通する貫通孔からなる流出孔14bとを有している。このうち流入孔14aは、細胞または粒子等の観察対象物を含む溶液をマイクロチップ10外方から流入させるものであり、後述するシリコン含有基材20の流路21の入口側に連通している。他方、流出孔14bは、溶液を流路21からマイクロチップ10外方へ流出させるものであり、シリコン含有基材20の流路21の出口側に連通している。このような貫通孔用ガラス基材11としては、後述するように、例えばパイレックス(コーニング社の登録商標)ガラス等が挙げられる。
また主ガラス基材12は、全体として平坦な板形状を有しており、上述した流入孔14aおよび流出孔14bを有していない点を除き、貫通孔用ガラス基材11と略同様に構成されている。主ガラス基材12は、貫通孔用ガラス基材11と同様に、例えばパイレックス(コーニング社の登録商標)ガラス等からなっている。
他方、シリコン含有基材20は、シリコン(Si)から構成されるとともに、図1および図2に示すように流路21を有している。この流路21は、両端がそれぞれ貫通孔用ガラス基材11の流入孔14aおよび流出孔14bに連通するとともに、シリコン含有基材20の厚さ方向に貫通して形成されている。また流路21は、図1に示すように、蛇行する平面形状を有する主流路22と、主流路22から流出孔14b方向に向けて突出するとともに、マイクロチップ10を使用する際、内部に細胞または粒子等が収容される複数のトラップ23とを有している。なお主流路22の平面形状は、蛇行した形状に限らず、直線状、曲線状、螺旋状等の任意の形状を有していてよい。
さらに、流路21のうち各トラップ23内に、それぞれ例えばアルミニウム(Al)、白金(Pt)等の金属からなるとともに、例えば、0.01μm〜1μm程度の厚みを有する電極24が配置されている。具体的には、各電極24は主ガラス基材12に形成された凹部25内にそれぞれ埋設されており、各電極24の表面と主ガラス基材12の上面とが互いに略同一面上に位置するとともに、各電極24の表面が流路21の各トラップ23内に露出している。この電極24は、各電極24に対してレーザー光を照射することにより、電極24を振動させて周囲にバブルを発生させ、これにより各トラップ23内に収容された細胞または粒子等を押し出して流出孔14b側へ排出させる役割を果たす。あるいは、電極24は、各トラップ23内に収容された粒子を電気抵抗法により計測するために用いられても良い。
なお、貫通孔用ガラス基材11とシリコン含有基材20との間、および主ガラス基材12とシリコン含有基材20との間のうち一方または両方に、例えば、二酸化珪素(SiO2)、窒化珪素(Si34)などの膜からなる層を0.1μm〜1μm程度の厚さに設けてもよい。
マイクロチップの製造方法
次に、図3(a)〜(g)により本実施の形態によるマイクロチップの製造方法について説明する。
まず主ガラス基材12およびシリコン含有基材20を準備する(図3(a))。このうち主ガラス基材12は、厚みが300μm〜700μm程度の平坦な板状基材からなり、後述するようにシリコン含有基材20と陽極接合により接合するため、Naイオンなどの可動イオンを含むガラスからなっている。このような材料としては、上述したように、例えばパイレックス(コーニング社の登録商標)等が挙げられる。なお、主ガラス基材12のうちシリコン含有基材20に接する側の表面を予めプラズマ処理しておくことにより、親水性あるいは疎水性処理を行ってもよい。他方、シリコン含有基材20は、厚みが600μm程度の平坦な板状基材からなり、少なくとも主ガラス基材12と陽極接合する面は、鏡面研磨されている。
次に、シリコン含有基材20の所定位置に複数の電極24を設ける(図3(b))。この場合、まずシリコン含有基材20の表面全体に、真空蒸着法またはスパッタリング法等により、例えばアルミニウム(Al)、白金(Pt)等の金属膜を形成する。次いで、このようにして形成された金属膜のうち、電極24として残す箇所以外の部分をエッチング等によって除去することにより、シリコン含有基材20上に電極24を形成する。
他方、主ガラス基材12表面のうち電極24に対応する位置に、それぞれ凹部25を形成する。この場合、例えばサンドブラスト、炭酸ガスレーザー、ドリル等の方法により主ガラス基材12に凹部25を穿設する。
次に、主ガラス基材12にシリコン含有基材20を陽極接合により接合する(図3(c))。この際、シリコン含有基材20に設けられた各電極24が、対応する主ガラス基材12の凹部25内にそれぞれ収容される。陽極接合とは、ガラスとシリコンとを重ねあわせ、ガラスおよびシリコンに対して熱と電圧を加えることにより密着接合する方法である。その原理は、加熱すると同時に、ガラス側を陰極、シリコン側を陽極として電圧を加えることによって、ガラス中の陽イオンを陰極側に強制的に拡散させ、ガラスとシリコンとの間に静電引力を発生させて密着を促すとともに、ガラスとシリコンを化学反応させて接合するものである。この場合、例えば300℃〜500℃の温度条件下で、300V〜500V程度の電圧を主ガラス基材12とシリコン含有基材20との間に印加することにより、主ガラス基材12とシリコン含有基材20とが陽極接合される。
なお、主ガラス基材12にシリコン含有基材20を接合する場合、陽極接合のほか、接着性樹脂を用いて主ガラス基材12とシリコン含有基材20とを接着してもよい。このような接着性樹脂としては、例えばベンゾシクロブテン樹脂を用いることができる。この場合、真空下において加重3.5kN、温度250℃で30分間加熱圧着することにより主ガラス基材12とシリコン含有基材20とを接合することができる。このように接着性樹脂としてベンゾシクロブテン樹脂等の感光性樹脂を用いた場合、接着性樹脂による接着領域をフォトリソグラフィ法によりパターニングすることができる。このため、パターニングにより流路21底面あるいは電極24に接着剤が存在しないようにした状態で、主ガラス基材12とシリコン含有基材20とを接着することができる。したがって、接着性樹脂が測定に及ぼす影響を抑えることができる。
あるいは、主ガラス基材12にシリコン含有基材20を接合する場合、共晶接合(例えば、ガラス基材、シリコン基材にそれぞれ予め金属膜(Au、Au−Sn)を設けておき、この金属膜同士を接触させて400℃程度の熱をかけて、合金化させて接合する方法)を用いることも可能である。
次に、主ガラス基材12上のシリコン含有基材20に対して研磨を行って、シリコン含有基材20を所定厚に形成する(図3(d))。この場合、例えばグラインダ(研磨装置)を用いて、主ガラス基材12上のシリコン含有基材20を10μm〜200μmの厚さ(所定厚)まで研磨する。なお、このようにして研磨されたシリコン含有基材20の研磨面は、後で貫通孔用ガラス基材11と陽極接合するために鏡面研磨しておくことが好ましい。
次に、所定厚に研磨されたシリコン含有基材20に対して、エッチングにより流路21を形成する(図3(e))。この際、まずシリコン含有基材20上に、流路21に対応する開口を有するエッチングマスクを形成する。エッチングマスクは、レジスト、シリコン酸化膜、シリコン窒化膜、金属材料などの材料から適宜選択して用いることができる。次に、このエッチングマスクに覆われていない部分に対してエッチングを行い、流路21を形成する。この場合、エッチング方法としてはドライエッチング法を用いることが好ましい。このようなドライエッチング法として、例えば、RIE(Reactive Ion Etching)法を用いることができ、シリコン基板の厚みが数十μm以上である場合には、DRIE(Deep Reactive Ion Etching)法を用いることもできる。
続いて、貫通孔用ガラス基材11を準備する。貫通孔用ガラス基材11は、上述した主ガラス基材12と同様に、厚みが300μm〜700μm程度の平坦な板状基材からなっている。また貫通孔用ガラス基材11は、シリコン含有基材20と陽極接合により接合するため、Naイオンなどの可動イオンを含むガラスからなっている。このような材料としては、上述したように、例えばパイレックス(コーニング社の登録商標)等が挙げられる。次に、貫通孔用ガラス基材11に対して、サンドブラスト、炭酸ガスレーザー、ドリル等の方法により穿孔を行う。これにより、貫通孔用ガラス基材11に、シリコン含有基材20の流路21に連通する流入孔14aおよび流出孔14bとなる貫通孔をそれぞれ形成する(図3(f))。
その後、流路21が形成されたシリコン含有基材20と貫通孔用ガラス基材11とを陽極接合することにより、シリコン含有基材20に貫通孔用ガラス基材11を接合する(図3(g))。例えば、300℃〜500℃の温度条件下で、300V〜500V程度の電圧をシリコン含有基材20および貫通孔用ガラス基材11に印加することにより、シリコン含有基材20と貫通孔用ガラス基材11とを互いに接合する。なお、この場合、貫通孔用ガラス基材11のうちシリコン含有基材20と接する側の表面を予めプラズマ処理しておくことにより、親水性あるいは疎水性処理しておいてもよい。なお、シリコン含有基材20と貫通孔用ガラス基材11とを互いに接合する場合、陽極接合のほか、接着性樹脂による接着または共晶接合による接合方法を用いてシリコン含有基材20と貫通孔用ガラス基材11とを接着してもよい。このような接着性樹脂としては、例えばベンゾシクロブテン樹脂を用いることができる。このようにして、図1および図2に示すマイクロチップ10が作製される。
このように本実施の形態によれば、主ガラス基材12上のシリコン含有基材20に対して研磨を行って、シリコン含有基材20を所定厚に形成した後(図3(d))、シリコン含有基材20に対してエッチングにより流路21を形成するようになっている(図3(e))。すなわちシリコン含有基材20は、流路21が形成される前に予め研磨されているので、流路21が形成された後のシリコン含有基材20が研磨されることがなく、流路21の開孔部分周囲にバリや欠けが発生することがない。このことにより、マイクロチップ10の製造時における加工不良を減少することができる。
また本実施の形態によれば、シリコン含有基材20は、300μm〜700μm程度の比較的厚い状態で搬送され、その後主ガラス基材12に接合されて、10μm〜200μmの所定厚まで研磨により薄く加工される。したがって、シリコン含有基材20は、10μm〜200μm程度の薄い状態で搬送されることがなく、シリコン含有基材20に割れなどの欠陥が生じることがない。さらに、シリコン含有基材20を研磨することによりシリコン含有基材20を薄くした後で、シリコン含有基材20をエッチングして流路21を形成するので、エッチングに要する時間を短縮することができ、マイクロチップ10の生産性を向上させることができる。
さらに本実施の形態によれば、シリコン含有基材20に電極24を設けるとともに、主ガラス基材12に前記電極24に対応する凹部25を形成し、主ガラス基材12にシリコン含有基材20を接合して、シリコン含有基材20に設けられた電極24を主ガラス基材12の凹部25内に収容する。これにより、所定厚のシリコン含有基材20に対してエッチングにより流路21を形成する際、電極24周辺において、主ガラス基材12とシリコン含有基材20との間に隙間が形成されることがない。
他方、図10に示す比較例において、主ガラス基材12に凹部25が形成されていない状態で主ガラス基材12とシリコン含有基材20とを接合した場合を想定する。この場合、電極24がシリコン含有基材20表面から突出していることにより、電極24の周辺において、主ガラス基材12とシリコン含有基材20との間にわずかな隙間Sが形成される。仮に、この状態で、図3(e)に示す工程と同様にシリコン含有基材20に対してエッチングにより流路21を形成する場合、図10に示すように隙間S内にエッチング用ガスGが進入してしまう。この結果、電極24周辺のシリコン含有基材20が必要以上にエッチングされ、隙間Sに加え、電極24周辺に不必要な隙間Aが更に形成されてしまう。このような隙間Sおよび隙間Aが形成されることにより、マイクロチップ10の完成後、シリコン含有基材20の流路21が広がる。このように流路21が広がった場合、流路21の広がった部分に溶液が入り込んでしまい、溶液の測定等が正確に実行できないおそれがある。
これに対して本実施の形態によれば、電極24周辺において、主ガラス基材12とシリコン含有基材20との間に上述したような隙間Sが形成されることがないので、隙間S内にエッチング用ガスが進入することにより、電極24周辺のシリコン含有基材20が必要以上にエッチングされることがない。またこのような隙間Sが形成されることにより、マイクロチップ10の完成後、シリコン含有基材20の流路21が広がってしまい、この広がった部分に溶液が入ってしまうこともない。
なお、本実施の形態において、主ガラス基材12が第1ガラス基材となり、かつ貫通孔用ガラス基材11が第2ガラス基材となっている。
第2の実施の形態
次に、本発明によるマイクロチップの製造方法の第2の実施の形態について図1、図4、および図5(a)〜(g)を参照して説明する。このうち図4は、本実施の形態によるマイクロチップの製造方法により製造されたマイクロチップを示す断面図であり、図5(a)〜(g)は、本実施の形態によるマイクロチップの製造方法を示す概略図である。図1、図4、および図5(a)〜(g)に示す第2の実施の形態は、シリコン含有基材20に凹部26を設けるとともに、シリコン含有基材20の凹部26内に電極24を収容した点が異なるものであり、他の構成は上述した第1の実施の形態と略同一である。図1、図4、および図5(a)〜(g)において、上述した第1の実施の形態と同一部分には同一の符号を付して詳細な説明は省略する。
マイクロチップの構成
図1および図4に示すように、本実施の形態によるマイクロチップ(流路デバイス)10は、貫通孔用ガラス基材11と、主ガラス基材12と、貫通孔用ガラス基材11および主ガラス基材12の間に介在され、流路21を含むシリコン含有基材20とを含んでいる。
図4に示すように、流路21のうち各トラップ23内に、それぞれ例えばアルミニウム(Al)、白金(Pt)等の金属からなるとともに、例えば、0.01μm〜1μm程度の厚みを有する電極24が配置されている。具体的には、各電極24は主ガラス基材12上面にそれぞれ配置されている。電極24が主ガラス基材12上に設けられている点を除き、本実施の形態によるマイクロチップ10の構成は、上述した第1の実施の形態によるマイクロチップ10の構成と同一であるので、詳細な説明は省略する。
マイクロチップの製造方法
次に、図5(a)〜(g)により本実施の形態によるマイクロチップの製造方法の概略について説明する。
まず主ガラス基材12およびシリコン含有基材20を準備する(図5(a))。主ガラス基材12は、上述した図3(a)に示す工程と同様、厚みが300μm〜700μm程度の平坦な板状基材からなり、Naイオンなどの可動イオンを含むガラスからなっている。他方、シリコン含有基材20は、厚みが600μm程度の平坦な板状基材からなっている。
次に、シリコン含有基材20の所定位置に複数の凹部26を設けるとともに、シリコン含有基材20の各凹部26内にそれぞれ電極24を収容する(図5(b))。この場合、まずシリコン含有基材20にエッチング等により凹部26を形成し、次いで真空蒸着法またはスパッタリング法等により、例えばアルミニウム(Al)、白金(Pt)等の金属膜を成膜する。その後、ダマシンプロセス(化学機械研磨法)等によって金属膜表面を平坦にすることにより、シリコン含有基材20の凹部26に埋設された電極24が得られる。
次に、主ガラス基材12にシリコン含有基材20を陽極接合により接合する(図5(c))。この場合、上述した図3(c)に示す工程と同様に、例えば300℃〜500℃の温度条件下で、300V〜500V程度の電圧を主ガラス基材12とシリコン含有基材20との間に印加することにより、主ガラス基材12とシリコン含有基材20とを陽極接合する。なお、主ガラス基材12にシリコン含有基材20を接合する場合、陽極接合のほか、接着性樹脂による接着または共晶接合による接合方法を用いてもよい。
次に、主ガラス基材12上のシリコン含有基材20に対して研磨を行って、シリコン含有基材20を所定厚に形成する(図5(d))。この場合、上述した図3(d)に示す工程と同様に、例えばグラインダ(研磨装置)を用いて、主ガラス基材12上のシリコン含有基材20を10μm〜200μmの厚さ(所定厚)まで研磨する。
次に、所定厚に研磨されたシリコン含有基材20に対して、エッチングにより流路21を形成する(図5(e))。この場合、上述した図3(e)に示す工程と同様に、まずシリコン含有基材20上に流路21に対応した開口を有するエッチングマスクを形成し、次に、このエッチングマスクに覆われていない部分に対してドライエッチングを行い、流路21を形成する。このようなドライエッチング法として、例えば、RIE(Reactive Ion Etching)法を用いることができ、シリコン基板の厚みが数十μm以上である場合には、DRIE(Deep Reactive Ion Etching)法を用いることもできる。
続いて、貫通孔用ガラス基材11を準備する。貫通孔用ガラス基材11は、上述した図3(f)に示す工程と同様、厚みが300μm〜700μm程度の平坦な板状基材からなり、Naイオンなどの可動イオンを含むガラスからなっている。次に、サンドブラスト、炭酸ガスレーザー、ドリル等の方法により、貫通孔用ガラス基材11に対して、シリコン含有基材20の流路21に連通する流入孔14aおよび流出孔14bとなる貫通孔をそれぞれ形成する(図5(f))。
その後、流路21が形成されたシリコン含有基材20と貫通孔用ガラス基材11とを陽極接合することにより、シリコン含有基材20に貫通孔用ガラス基材11を接合する(図5(g))。この場合、上述した図3(g)に示す工程と同様に、例えば、300℃〜500℃の温度条件下で、300V〜500V程度の電圧をシリコン含有基材20および貫通孔用ガラス基材11に印加することにより、シリコン含有基材20と貫通孔用ガラス基材11とを互いに接合する。なお、シリコン含有基材20と貫通孔用ガラス基材11とを互いに接合する場合、陽極接合のほか、接着性樹脂による接着または共晶接合による接合方法を用いてシリコン含有基材20と貫通孔用ガラス基材11とを接着してもよい。このようにして、図1および図4に示すマイクロチップ10が作製される。
このように本実施の形態によれば、主ガラス基材12上のシリコン含有基材20に対して研磨を行って、シリコン含有基材20を所定厚に形成した後(図5(d))、シリコン含有基材20に対してエッチングにより流路21を形成するようになっている(図5(e))。すなわちシリコン含有基材20は、流路21が形成される前に予め研磨されているので、流路21が形成された後のシリコン含有基材20が研磨されることがなく、流路21の開孔部分周囲にバリや欠けが発生することがない。このことにより、マイクロチップ10の製造時における加工不良を減少することができる。
また本実施の形態によれば、シリコン含有基材20に凹部26を設けるとともに、シリコン含有基材20の凹部26内に電極24を収容し、その後主ガラス基材12にシリコン含有基材20を接合する。これにより、所定厚のシリコン含有基材20に対してエッチングにより流路21を形成する際、電極24周辺において、主ガラス基材12とシリコン含有基材20との間に隙間が形成されることがない。したがって、上述したようにシリコン含有基材20の流路21が必要以上に広がるおそれがない。
なお、本実施の形態において、主ガラス基材12が第1ガラス基材となり、かつ貫通孔用ガラス基材11が第2ガラス基材となっている。
第3の実施の形態
次に、本発明によるマイクロチップの製造方法の第3の実施の形態について図1、図2、図6(a)〜(g)、および図7を参照して説明する。このうち図6(a)〜(g)は、本実施の形態によるマイクロチップの製造方法を示す概略図であり、図7は、ドライエッチング方法を用いてシリコン含有基材に流路を形成する工程を説明する図である。図1、図2、図6(a)〜(g)、および図7に示す第3の実施の形態は、貫通孔用ガラス基材11および主ガラス基材12をシリコン含有基材20に接合する順番などが異なるものであり、他の構成は上述した第1の実施の形態と略同一である。図1、図2、図6(a)〜(g)、および図7において、上述した第1の実施の形態および第2の実施の形態と同一部分には同一の符号を付して詳細な説明は省略する。
マイクロチップの構成
図1および図2に示すように、本実施の形態によるマイクロチップ(流路デバイス)10は、貫通孔用ガラス基材11と、主ガラス基材12と、貫通孔用ガラス基材11および主ガラス基材12の間に介在され、流路21を含むシリコン含有基材20とを含んでいる。このマイクロチップ10の構成は、上述した第1の実施の形態によるマイクロチップ10の構成と同一であるので、詳細な説明は省略する。
マイクロチップの製造方法
次に、図6(a)〜(g)および図7により本実施の形態によるマイクロチップの製造方法の概略について説明する。
まず貫通孔用ガラス基材11を準備する。貫通孔用ガラス基材11は、上述した図3(f)に示す工程と同様、厚みが300μm〜700μm程度の平坦な板状基材からなり、Naイオンなどの可動イオンを含むガラスからなっている。次に、サンドブラスト、炭酸ガスレーザー、ドリル等の方法により、貫通孔用ガラス基材11に対して、シリコン含有基材20の流路21に連通する流入孔14aおよび流出孔14bとなる貫通孔をそれぞれ形成する(図6(a))。
また上述した図3(a)に示す工程と同様に、厚みが600μm程度の平坦な板状基材からなるシリコン含有基材20を準備する(図6(a))。
次に、シリコン含有基材20の所定位置に複数の電極24を設ける(図6(b))。この場合、まずシリコン含有基材20の表面全体に、真空蒸着法またはスパッタリング法等により、例えばアルミニウム(Al)、白金(Pt)等の金属膜を形成する。次いで、このようにして形成された金属膜のうち、電極24として残す箇所以外の部分をエッチング等によって除去することにより、シリコン含有基材20上に電極24を形成する。
他方、主ガラス基材12表面のうち電極24に対応する位置に、それぞれ凹部25を形成する。この場合、例えばサンドブラスト、炭酸ガスレーザー、ドリル等の方法により主ガラス基材12に凹部25を穿設する。
次に、このシリコン含有基材20を貫通孔用ガラス基材11に陽極接合により接合する(図6(c))。この場合、上述した図3(g)に示す工程と同様に、例えば300℃〜500℃の温度条件下で、300V〜500V程度の電圧を貫通孔用ガラス基材11とシリコン含有基材20との間に印加することにより、貫通孔用ガラス基材11とシリコン含有基材20とを陽極接合する。なお、貫通孔用ガラス基材11にシリコン含有基材20を接合する場合、陽極接合のほか、接着性樹脂による接着または共晶接合による接合方法による接着を用いてもよい。
次に、貫通孔用ガラス基材11上のシリコン含有基材20に対して研磨を行って、シリコン含有基材20を所定厚に形成する(図6(d))。この場合、上述した図3(d)に示す工程と同様に、例えばグラインダ(研磨装置)を用いて、貫通孔用ガラス基材11上のシリコン含有基材20を10μm〜200μmの厚さ(所定厚)まで研磨する。
次に、貫通孔用ガラス基材11のうちシリコン含有基材20が設けられた面と反対側の面11aに、この面11a全体を覆う保護層15を形成する(図6(e))。この場合、図6(e)の左側の図に示すように、保護層15が、貫通孔用ガラス基材11の流入孔14aおよび流出孔14b内に充填されていなくても良く、図6(e)の右側の図に示すように、保護層15が、貫通孔用ガラス基材11の流入孔14aおよび流出孔14b内に充填されていても良い。また保護層15は、例えばUV剥離テープ、熱剥離テープ、有機レジスト等、後の工程で貫通孔用ガラス基材11から容易に除去できる材料が用いられる。なお、この保護層15の役割については後述する。
続いて、所定厚に研磨されたシリコン含有基材20に対して、エッチングにより流路21を形成する(図6(f))。この場合、上述した図3(e)に示す工程と同様に、まずシリコン含有基材20上に流路21に対応した開口を有するエッチングマスクを形成し、次に、このエッチングマスクに覆われていない部分に対してドライエッチングを行い、流路21を形成する。このようなドライエッチング法として、例えば、RIE(Reactive Ion Etching)法を用いることができ、シリコン基板の厚みが数十μm以上である場合には、DRIE(Deep Reactive Ion Etching)法を用いることもできる。
次に、貫通孔用ガラス基材11を覆う保護層15を剥離する。保護層15がUV剥離テープからなる場合、UV剥離テープに対して紫外線を照射することによりUV剥離テープからなる保護層15を剥離する。また保護層15が熱剥離テープからなる場合、熱剥離テープに対して熱を加えることにより熱剥離テープからなる保護層15を剥離する。あるいは、保護層15が有機レジストからなる場合、溶剤等により有機レジストからなる保護層15を溶解除去する。
次いで、上述した図3(a)に示す工程と同様に、厚みが300μm〜700μm程度の平坦な板状基材からなるとともに、Naイオンなどの可動イオンを含むガラスからなる主ガラス基材12を準備する。その後、上述した図3(c)に示す工程と同様に、流路21が形成されたシリコン含有基材20と主ガラス基材12とを陽極接合することにより、シリコン含有基材20に主ガラス基材12を接合する(図6(g))。なお、シリコン含有基材20と主ガラス基材12とを互いに接合する場合、陽極接合のほか、接着性樹脂による接着または共晶接合による接合方法を用いてシリコン含有基材20と主ガラス基材12とを接着してもよい。このようにして、図1および図2に示すマイクロチップ10が作製される。
このように本実施の形態によれば、貫通孔用ガラス基材11上のシリコン含有基材20に対して研磨を行って、シリコン含有基材20を所定厚に形成した後(図6(d))、シリコン含有基材20に対してエッチングにより流路21を形成するようになっている(図6(f))。すなわちシリコン含有基材20は、流路21が形成される前に予め研磨されているので、流路21が形成された後のシリコン含有基材20が研磨されることがなく、流路21の開孔部分周囲にバリや欠けが発生することがない。このことにより、マイクロチップ10の製造時における加工不良を減少することができる。
また本実施の形態によれば、シリコン含有基材20に電極24を設けるとともに、貫通孔用ガラス基材11に前記電極24に対応する凹部25を形成し、貫通孔用ガラス基材11にシリコン含有基材20を接合して、シリコン含有基材20に設けられた電極24を貫通孔用ガラス基材11の凹部25内に収容するので、所定厚のシリコン含有基材20に対してエッチングにより流路21を形成する際、電極24周辺において、貫通孔用ガラス基材11とシリコン含有基材20との間に隙間が形成されることがない。したがって、上述したようにシリコン含有基材20の流路21が必要以上に広がるおそれがない。
次に、ドライエッチング法を用いてシリコン含有基材20に流路21を形成する工程(図6(f)参照)における、上述した保護層15の役割について、図7を用いて説明する。
図7は、ドライエッチング法によりシリコン含有基材20に流路21を形成する工程を示している。図7において、ドライエッチング装置30のチャックプレート31上に、互いに接合された貫通孔用ガラス基材11、シリコン含有基材20、および保護層15が載置され、このうち保護層15がチャックプレート31側に位置するように配置されている。
チャックプレート31には供給管32が連結され、図示しないチラーから、冷却されたヘリウム(He)が、供給管32を介してチャックプレート31表面に供給される。この冷却ヘリウムは、エッチングを行なう際のプラズマ熱の入射やエッチングに伴う反応熱の発生により、シリコン含有基材20表面に形成されたレジストの温度が耐熱温度以上に上昇し、劣化することを防止するためのものである。なおチャックプレート31表面には冷却ヘリウム供給用の溝が刻設されており、この溝内に冷却ヘリウムを供給することにより、貫通孔用ガラス基材11、シリコン含有基材20、および保護層15を冷却してシリコン含有基材20表面のレジストの温度が上昇することを防止している。
ところで図7において、仮に保護層15が設けられていないことを想定する。この場合、供給管32から供給され、チャックプレート31表面の溝内を伝達する冷却ヘリウムは、貫通孔用ガラス基材11の流入孔14aおよび流出孔14bと、シリコン含有基材20の流路21とを順次介してシリコン含有基材20上方へと流出してしまう(図7の点線矢印参照)。この場合、シリコン含有基材20の冷却効率が悪化し、シリコン含有基材20表面に形成されたレジストの温度が上昇して劣化するおそれがある。
これに対して本実施の形態によれば、エッチングにより流路21を形成する工程の前に、貫通孔用ガラス基材11のうちシリコン含有基材20が設けられた面と反対側の面11aに、貫通孔用ガラス基材11の面11a全体を覆う保護層15を形成している。このことにより、図7に示すドライエッチング工程において、貫通孔用ガラス基材11に供給された冷却ヘリウムが、貫通孔用ガラス基材11の流入孔14aおよび流出孔14bおよびシリコン含有基材20のエッチングされた流路21を通じて外方へ逃げることがない。これにより、保護層15下面に沿って冷却ヘリウムを貫通孔用ガラス基材11の全体に均一に行き渡らせることができ(図7の実線矢印参照)、貫通孔用ガラス基材11およびシリコン含有基材20を効果的に冷却することができる。
なお、本実施の形態において、貫通孔用ガラス基材11が第1ガラス基材となり、かつ主ガラス基材12が第2ガラス基材となっている。
第4の実施の形態
次に、本発明によるマイクロチップの製造方法の第4の実施の形態について図1、図4、および図8(a)〜(g)を参照して説明する。このうち図8(a)〜(g)は、本実施の形態によるマイクロチップの製造方法を示す概略図である。図1、図4、および図8(a)〜(g)に示す第4の実施の形態は、シリコン含有基材20に凹部26を設けるとともに、シリコン含有基材20の凹部26内に電極24を収容した点が異なるものであり、他の構成は上述した第3の実施の形態と略同一である。図1、図4、および図8(a)〜(g)において、上述した第1の実施の形態乃至第3の実施の形態と同一部分には同一の符号を付して詳細な説明は省略する。
マイクロチップの構成
図1および図4に示すように、本実施の形態によるマイクロチップ(流路デバイス)10は、貫通孔用ガラス基材11と、主ガラス基材12と、貫通孔用ガラス基材11および主ガラス基材12の間に介在され、流路21を含むシリコン含有基材20とを含んでいる。このマイクロチップ10の構成は、上述した第2の実施の形態によるマイクロチップ10の構成と同一であるので、詳細な説明は省略する。
マイクロチップの製造方法
次に、図8(a)〜(g)により本実施の形態によるマイクロチップの製造方法の概略について説明する。
まず貫通孔用ガラス基材11を準備する。貫通孔用ガラス基材11は、上述した図6(a)に示す工程と同様、厚みが300μm〜700μm程度の平坦な板状基材からなり、Naイオンなどの可動イオンを含むガラスからなっている。次に、サンドブラスト、炭酸ガスレーザー、ドリル等の方法により、貫通孔用ガラス基材11に対して、シリコン含有基材20の流路21に連通する流入孔14aおよび流出孔14bとなる貫通孔をそれぞれ形成する(図8(a))。
また上述した図6(a)に示す工程と同様に、厚みが600μm程度の平坦な板状基材からなるシリコン含有基材20を準備する(図8(a))。
次に、シリコン含有基材20の所定位置に複数の凹部26を設けるとともに、シリコン含有基材20の各凹部26内にそれぞれ電極24を収容する(図8(b))。この場合、まずシリコン含有基材20にエッチング等により凹部26を形成し、次いで真空蒸着法またはスパッタリング法等により、例えばアルミニウム(Al)、白金(Pt)等の金属膜を成膜する。その後、ダマシンプロセス(化学機械研磨法)等によって金属膜表面を平坦にすることにより、シリコン含有基材20の凹部26に埋設された電極24が得られる。
次に、このシリコン含有基材20を貫通孔用ガラス基材11に陽極接合により接合する(図8(c))。この場合、上述した図6(c)に示す工程と同様に、例えば300℃〜500℃の温度条件下で、300V〜500V程度の電圧を貫通孔用ガラス基材11とシリコン含有基材20との間に印加することにより、貫通孔用ガラス基材11とシリコン含有基材20とを陽極接合する。なお、貫通孔用ガラス基材11にシリコン含有基材20を接合する場合、陽極接合のほか、接着性樹脂による接着または共晶接合による接合方法を用いてもよい。
次に、貫通孔用ガラス基材11上のシリコン含有基材20に対して研磨を行って、シリコン含有基材20を所定厚に形成する(図8(d))。この場合、上述した図6(d)に示す工程と同様に、例えばグラインダ(研磨装置)を用いて、貫通孔用ガラス基材11上のシリコン含有基材20を10μm〜200μmの厚さ(所定厚)まで研磨する。
次に、貫通孔用ガラス基材11のうちシリコン含有基材20が設けられた面と反対側の面11aに、この面11a全体を覆う保護層15を形成する(図8(e))。この場合、図8(e)の左側の図に示すように、保護層15が、貫通孔用ガラス基材11の流入孔14aおよび流出孔14b内に充填されていなくても良く、図8(e)の右側の図に示すように、保護層15が、貫通孔用ガラス基材11の流入孔14aおよび流出孔14b内に充填されていても良い。また保護層15は、例えばUV剥離テープ、熱剥離テープ、有機レジスト等、後の工程で貫通孔用ガラス基材11から容易に除去できる材料が用いられる。なお、この保護層15の役割については上述した。
続いて、所定厚に研磨されたシリコン含有基材20に対して、エッチングにより流路21を形成する(図8(f))。この場合、上述した図6(f)に示す工程と同様に、まずシリコン含有基材20上に流路21に対応した開口を有するエッチングマスクを形成し、次に、このエッチングマスクに覆われていない部分に対してドライエッチングを行い、流路21を形成する。このようなドライエッチング法として、例えば、RIE(Reactive Ion Etching)法を用いることができ、シリコン基板の厚みが数十μm以上である場合には、DRIE(Deep Reactive Ion Etching)法を用いることもできる。
次に、貫通孔用ガラス基材11を覆う保護層15を剥離する。保護層15がUV剥離テープからなる場合、UV剥離テープに対して紫外線を照射することによりUV剥離テープからなる保護層15を剥離する。また保護層15が熱剥離テープからなる場合、熱剥離テープに対して熱を加えることにより熱剥離テープからなる保護層15を剥離する。あるいは、保護層15が有機レジストからなる場合、溶剤等により有機レジストからなる保護層15を溶解除去する。
次いで、上述した図6(g)に示す工程と同様に、厚みが300μm〜700μm程度の平坦な板状基材からなるとともに、Naイオンなどの可動イオンを含むガラスからなる主ガラス基材12を準備する。その後、上述した図6(g)に示す工程と同様に、流路21が形成されたシリコン含有基材20と主ガラス基材12とを陽極接合することにより、シリコン含有基材20に主ガラス基材12を接合する(図8(g))。なお、シリコン含有基材20と主ガラス基材12とを互いに接合する場合、陽極接合のほか、接着性樹脂による接着または共晶接合による接合方法を用いてシリコン含有基材20と主ガラス基材12とを接着してもよい。このようにして、図1および図4に示すマイクロチップ10が作製される。
このように本実施の形態によれば、貫通孔用ガラス基材11上のシリコン含有基材20に対して研磨を行って、シリコン含有基材20を所定厚に形成した後(図8(d))、シリコン含有基材20に対してエッチングにより流路21を形成するようになっている(図8(f))。すなわちシリコン含有基材20は、流路21が形成される前に予め研磨されているので、流路21が形成された後のシリコン含有基材20が研磨されることがなく、流路21の開孔部分周囲にバリや欠けが発生することがない。このことにより、マイクロチップ10の製造時における加工不良を減少することができる。
また本実施の形態によれば、シリコン含有基材20に凹部26を設けるとともに、シリコン含有基材20の凹部26内に電極24を収容し、その後貫通孔用ガラス基材11にシリコン含有基材20を接合する。これにより、所定厚のシリコン含有基材20に対してエッチングにより流路21を形成する際、電極24周辺において、貫通孔用ガラス基材11とシリコン含有基材20との間に隙間が形成されることがない。したがって、上述したようにシリコン含有基材20の流路21が必要以上に広がるおそれがない。
なお、本実施の形態において、貫通孔用ガラス基材11が第1ガラス基材となり、かつ主ガラス基材12が第2ガラス基材となっている。
第5の実施の形態
次に、本発明によるマイクロチップの製造方法の第5の実施の形態について図9(a)〜(c)を参照して説明する。図9(a)〜(c)は、本実施の形態によるマイクロチップの製造方法を示す概略図である。図9(a)〜(c)に示す第5の実施の形態は、シリコン含有基材20の構成、およびシリコン含有基材20を所定厚に形成する工程が異なるものであり、他の構成は上述した第1の実施の形態乃至第4の実施の形態と同一である。図9(a)〜(c)において、上述した第1の実施の形態乃至第4の実施の形態と同一部分には同一の符号を付して詳細な説明は省略する。
本実施の形態によるシリコン含有基材20は、SOI基板(Silicon On Insulator基板:シリコン/酸化シリコン/シリコンの多層基板)からなっている。すなわち図9(a)に示すように、シリコン含有基材20は、第1のシリコン層20A(支持層:シリコンの厚い層、補強板との見方もできる)と、第2のシリコン層20C(活性層:シリコンの薄い層)と、第1のシリコン層20Aおよび第2のシリコン層20Cの間に介在された酸化シリコン層20B(BOX層:シリコン酸化膜層、エッチングストッパ層)とからなっている。
このうち第2のシリコン層20Cは相対的に薄く構成され、マイクロチップ10として完成させたときのシリコン含有基材20の最終的な厚み(すなわち流路21の厚み)に相当する所定厚(例えば2μm〜10μm)を有している。これに対して、第1のシリコン層20Aは相対的に厚く構成されており、シリコン含有基材20を容易に搬送できる程度の厚み、例えば300μm〜600μmの厚みを有している。他方、酸化シリコン層20Bは、例えば0.1μm〜1μmの厚みを有している。
本実施の形態において、シリコン含有基材20を所定厚に形成する工程(図3(d)、図5(d)、図6(d)、および図8(d)参照)において、まずシリコン含有基材20のうち、第1のシリコン層20Aをグラインダによる研磨またはエッチングにより除去する(図9(b))。この際、酸化シリコン層20Bの一部を併せて除去しても良い。次に、シリコン含有基材20のうち、(残りの)酸化シリコン層20Bをエッチング除去し、これにより所定厚を有する第2のシリコン層20Cのみを残す。なお酸化シリコン層20Bをエッチングにより除去する方法としては、例えばCF4ガス、CHF3ガス等を用いるドライエッチング法、または弗酸等を用いるウエットエッチング法が挙げられる。
これにより、とりわけシリコン含有基材20の所定厚が非常に薄く、グラインダによってその厚みをコントロールすることが難しい場合であっても、シリコン含有基材20を、第2のシリコン層20Cの厚さに対応する薄い厚さに形成することができ、シリコン含有基材20の厚さ精度を向上させることができる。他方、シリコン含有基材20を所定厚に形成する前、第1のシリコン層20Aによってシリコン含有基材20が厚く構成されているので、シリコン含有基材20に変形や歪みを生じさせることなく容易にハンドリングすることができる。
なお図9(a)〜(c)に示す本実施の形態による研磨方法は、図3(a)〜(g)、図5(a)〜(g)、図6(a)〜(g)、および図8(a)〜(g)に示すマイクロチップの製造方法のいずれにも用いることができる。
このうち図3(a)〜(g)および図5(a)〜(g)に示すマイクロチップの製造方法に用いる場合、主ガラス基材12にシリコン含有基材20を接合する工程(図3(c)、図5(c))において、シリコン含有基材20のうち第2のシリコン層20Cを主ガラス基材12に接合しておき、その後、シリコン含有基材20のうち第1のシリコン層20Aおよび酸化シリコン層20Bを除去する(図9(b)(c))。また図5(a)〜(g)に示すマイクロチップの製造方法において、凹部26は、シリコン含有基材20のうち第2のシリコン層20Cに形成する(図5(b))。
他方、本実施の形態による研磨方法を図6(a)〜(g)および図8(a)〜(g)に示すマイクロチップの製造方法に用いる場合には、貫通孔用ガラス基材11にシリコン含有基材20を接合する工程(図6(c)、図8(c))において、シリコン含有基材20のうち第2のシリコン層20Cを貫通孔用ガラス基材11に接合しておき、その後、シリコン含有基材20のうち第1のシリコン層20Aおよび酸化シリコン層20Bを除去する(図9(b)(c))。また図8(a)〜(g)に示すマイクロチップの製造方法において、凹部26は、シリコン含有基材20のうち第2のシリコン層20Cに形成する(図8(b))。
変形例
なお、上述した第1の実施の形態乃至第5の実施の形態の各々において、シリコン含有基材20に電極24を設ける例を示してきた。しかしながら、これに限らず、電極24は、第1ガラス基材となる貫通孔用ガラス基材11または主ガラス基材12に設けられてもよい。例えば貫通孔用ガラス基材11(または主ガラス基材12)に電極24を設けるとともに、シリコン含有基材20に前記電極24に対応する凹部25を形成し、電極24が設けられた貫通孔用ガラス基材11(主ガラス基材12)とシリコン含有基材20とを接合して、電極24を凹部25内に収容しても良い。あるいは、貫通孔用ガラス基材11(または主ガラス基材12)に凹部26を設けるとともに、この凹部26に電極24を収容し、電極24が設けられた貫通孔用ガラス基材11(主ガラス基材12)とシリコン含有基材20とを接合しても良い。
本発明によるマイクロチップの製造方法により製造されたマイクロチップを示す平面図。 本発明の第1の実施の形態および第3の実施の形態によるマイクロチップの製造方法により製造されたマイクロチップを示す断面図。 本発明の第1の実施の形態によるマイクロチップの製造方法を示す概略図。 本発明の第2の実施の形態および第4の実施の形態によるマイクロチップの製造方法により製造されたマイクロチップを示す断面図。 本発明の第2の実施の形態によるマイクロチップの製造方法を示す概略図。 本発明の第3の実施の形態によるマイクロチップの製造方法を示す概略図。 本発明の第3の実施の形態によるマイクロチップの製造方法において、ドライエッチング方法を用いてシリコン含有基材に流路を形成する工程を説明する図。 本発明の第4の実施の形態によるマイクロチップの製造方法を示す概略図。 本発明の第5の実施の形態によるマイクロチップの製造方法を示す概略図。 ドライエッチング方法を用いてシリコン含有基材に流路を形成する工程の比較例を示す図。
符号の説明
10 マイクロチップ
11 貫通孔用ガラス基材
12 主ガラス基材
14a 流入孔
14b 流出孔
15 保護層
20 シリコン含有基材
20A 第1のシリコン層
20B 酸化シリコン層
20C 第2のシリコン層
21 流路
22 主流路
23 トラップ
24 電極
25 凹部
26 凹部

Claims (6)

  1. 第1ガラス基材と、第2ガラス基材と、第1ガラス基材および第2ガラス基材の間に介在され、流路を含むシリコン含有基材とを含むマイクロチップの製造方法において、
    第1ガラス基材およびシリコン含有基材を準備する工程と、
    シリコン含有基材および第1ガラス基材の一方に電極を設けるとともに、他方に前記電極に対応する凹部を形成する工程と、
    第1ガラス基材にシリコン含有基材を接合して、電極をこの電極に対応する凹部内に収容する工程と、
    第1ガラス基材上のシリコン含有基材に対して研磨を行って、シリコン含有基材を所定厚に形成する工程と、
    所定厚のシリコン含有基材に対してエッチングにより流路を形成する工程と、
    流路が形成されたシリコン含有基材に第2ガラス基材を接合する工程とを備えたことを特徴とするマイクロチップの製造方法。
  2. 第1ガラス基材と、第2ガラス基材と、第1ガラス基材および第2ガラス基材の間に介在され、流路を含むシリコン含有基材とを含むマイクロチップの製造方法において、
    第1ガラス基材およびシリコン含有基材を準備する工程と、
    シリコン含有基材および第1ガラス基材の一方に凹部を設けるとともに、当該凹部内に電極を収容する工程と、
    第1ガラス基材にシリコン含有基材を接合する工程と、
    第1ガラス基材上のシリコン含有基材に対して研磨を行って、シリコン含有基材を所定厚に形成する工程と、
    所定厚のシリコン含有基材に対してエッチングにより流路を形成する工程と、
    流路が形成されたシリコン含有基材に第2ガラス基材を接合する工程とを備えたことを特徴とするマイクロチップの製造方法。
  3. 第2ガラス基材は貫通孔用ガラス基材となっており、流路が形成されたシリコン含有基材に第2ガラス基材を接合する工程の前に、第2ガラス基材に予めシリコン含有基材の流路に連通する流入孔および流出孔となる貫通孔を設けておくことを特徴とする請求項1または2記載のマイクロチップの製造方法。
  4. 第1ガラス基材は貫通孔用ガラス基材となっており、第1ガラス基材にシリコン含有基材を接合する工程の前に、第1ガラス基材に予めシリコン含有基材の流路に連通する流入孔および流出孔となる貫通孔を設けておくことを特徴とする請求項1または2記載のマイクロチップの製造方法。
  5. エッチングにより流路を形成する工程の前に、第1ガラス基材のうちシリコン含有基材が設けられた面と反対側の面に、少なくとも第1ガラス基材に設けられた貫通孔を覆う保護層を形成する工程が設けられ、
    エッチングにより流路を形成する工程の後に、第1ガラス基材を覆う保護層を剥離する工程が設けられていることを特徴とする請求項4記載のマイクロチップの製造方法。
  6. シリコン含有基材は、第1のシリコン層と、前記所定厚を有する第2のシリコン層と、第1のシリコン層および第2のシリコン層の間に介在された酸化シリコン層とからなり、
    第1ガラス基材にシリコン含有基材を接合する工程において、シリコン含有基材のうち第2のシリコン層が第1ガラス基材に接合され、
    シリコン含有基材を所定厚に形成する工程は、
    シリコン含有基材のうち、第1のシリコン層を除去する工程と、
    シリコン含有基材のうち、酸化シリコン層を除去するとともに、前記所定厚を有する第2のシリコン層を残す工程とを有することを特徴とする請求項1乃至5のいずれか一項記載のマイクロチップの製造方法。
JP2008185972A 2008-07-17 2008-07-17 マイクロチップの製造方法 Expired - Fee Related JP5354324B2 (ja)

Priority Applications (1)

Application Number Priority Date Filing Date Title
JP2008185972A JP5354324B2 (ja) 2008-07-17 2008-07-17 マイクロチップの製造方法

Applications Claiming Priority (1)

Application Number Priority Date Filing Date Title
JP2008185972A JP5354324B2 (ja) 2008-07-17 2008-07-17 マイクロチップの製造方法

Publications (2)

Publication Number Publication Date
JP2010025688A true JP2010025688A (ja) 2010-02-04
JP5354324B2 JP5354324B2 (ja) 2013-11-27

Family

ID=41731672

Family Applications (1)

Application Number Title Priority Date Filing Date
JP2008185972A Expired - Fee Related JP5354324B2 (ja) 2008-07-17 2008-07-17 マイクロチップの製造方法

Country Status (1)

Country Link
JP (1) JP5354324B2 (ja)

Cited By (2)

* Cited by examiner, † Cited by third party
Publication number Priority date Publication date Assignee Title
JP2011242240A (ja) * 2010-05-18 2011-12-01 Dainippon Printing Co Ltd マイクロチップ及びその製造方法
KR20200043846A (ko) * 2018-10-18 2020-04-28 연세대학교 산학협력단 Mems 기반의 응축 입자 계수기

Citations (6)

* Cited by examiner, † Cited by third party
Publication number Priority date Publication date Assignee Title
JPH0369228U (ja) * 1989-11-09 1991-07-09
JPH10318982A (ja) * 1997-05-22 1998-12-04 Olympus Optical Co Ltd 電気泳動装置
JP2001208672A (ja) * 1999-11-16 2001-08-03 Kanagawa Acad Of Sci & Technol プローブ及びプローブの製造方法、プローブアレイ及びプローブアレイの製造方法
JP2004003950A (ja) * 2002-03-25 2004-01-08 Seiko Epson Corp インクジェットヘッド及びプローブアレイの製造方法
JP2007238379A (ja) * 2006-03-09 2007-09-20 Casio Comput Co Ltd 接合基板及び接合方法
WO2007107901A2 (en) * 2006-03-20 2007-09-27 Koninklijke Philips Electronics N.V. A system-in-package platform for electronic-microfluidic devices

Patent Citations (6)

* Cited by examiner, † Cited by third party
Publication number Priority date Publication date Assignee Title
JPH0369228U (ja) * 1989-11-09 1991-07-09
JPH10318982A (ja) * 1997-05-22 1998-12-04 Olympus Optical Co Ltd 電気泳動装置
JP2001208672A (ja) * 1999-11-16 2001-08-03 Kanagawa Acad Of Sci & Technol プローブ及びプローブの製造方法、プローブアレイ及びプローブアレイの製造方法
JP2004003950A (ja) * 2002-03-25 2004-01-08 Seiko Epson Corp インクジェットヘッド及びプローブアレイの製造方法
JP2007238379A (ja) * 2006-03-09 2007-09-20 Casio Comput Co Ltd 接合基板及び接合方法
WO2007107901A2 (en) * 2006-03-20 2007-09-27 Koninklijke Philips Electronics N.V. A system-in-package platform for electronic-microfluidic devices

Non-Patent Citations (1)

* Cited by examiner, † Cited by third party
Title
JPN6012060599; Wei-Heong Tan,Shoji Takeuchi: 'A Trap-and-release integrated microfluidic system for dynamic microarray applications' Proceedings of the National Academy of Sciences of the United States of America vol.104,no.4, 20070123, pp.1146-1151 *

Cited By (3)

* Cited by examiner, † Cited by third party
Publication number Priority date Publication date Assignee Title
JP2011242240A (ja) * 2010-05-18 2011-12-01 Dainippon Printing Co Ltd マイクロチップ及びその製造方法
KR20200043846A (ko) * 2018-10-18 2020-04-28 연세대학교 산학협력단 Mems 기반의 응축 입자 계수기
KR102111715B1 (ko) 2018-10-18 2020-05-15 연세대학교 산학협력단 Mems 기반의 응축 입자 계수기

Also Published As

Publication number Publication date
JP5354324B2 (ja) 2013-11-27

Similar Documents

Publication Publication Date Title
US20230375501A1 (en) Method of making biochip having a channel
US10145847B2 (en) Method for forming biochips and biochips with non-organic landings for improved thermal budget
US9616617B2 (en) Scalable biochip and method for making
Schlautmann et al. Fabrication of a microfluidic chip by UV bonding at room temperature for integration of temperature-sensitive layers
JP4480939B2 (ja) ガラス系材料からなるフラット基板を構造化する方法
CN107118938B (zh) 流体增强介电泳单细胞排列与控制芯片及其制作方法
Vulto et al. A full-wafer fabrication process for glass microfluidic chips with integrated electroplated electrodes by direct bonding of dry film resist
US10538731B2 (en) Device for manipulating biological cells using a vibrating support
JP4383446B2 (ja) 微細構造化基板を接着する方法
Thompson et al. Polymeric microbead arrays for microfluidic applications
JP4432778B2 (ja) マイクロチップおよび質量分析システム
JP2004180594A (ja) 細胞培養装置
KR100763907B1 (ko) 미세유동 장치의 제조방법 및 그에 의하여 제조되는미세유동 장치
JP5354324B2 (ja) マイクロチップの製造方法
CN108080043B (zh) 真空负压进样的多通道微流控芯片装置及制备方法与应用
JP5272552B2 (ja) マイクロチップの製造方法
CN101516513A (zh) 双面流体构件
US8696881B2 (en) Patch-clamp providing on-chip thermal gradient
US11607683B2 (en) Microfluidic device and method for manufacturing a microfluidic device
CN101855018A (zh) 用于热隔离检定卡的腔室的设备及方法
WO2006085604A1 (ja) 分析用の蓋付きマイクロチップ、該蓋付きマイクロチップのサンプル処理方法、該蓋付きマイクロチップの自動サンプル処理方法、該処理方法に基づく、自動サンプル処理装置、ならびに、該自動サンプル処理方法を応用する物質の分析装置
CN102600917B (zh) 具有散热能力的集成磁泳分离芯片及其制备方法
US20180236444A1 (en) Process for producing a buried microfluidic channel with integrated heater
KR20070067442A (ko) 기판으로부터 포토레지스트 막을 분리하는 방법 및 상기포토레지스트 막을 이차 기판과 접합하는 방법
US20090107844A1 (en) Glass electrophoresis microchip and method of manufacturing the same by mems fabrication

Legal Events

Date Code Title Description
A621 Written request for application examination

Free format text: JAPANESE INTERMEDIATE CODE: A621

Effective date: 20110517

A977 Report on retrieval

Free format text: JAPANESE INTERMEDIATE CODE: A971007

Effective date: 20120823

A131 Notification of reasons for refusal

Free format text: JAPANESE INTERMEDIATE CODE: A131

Effective date: 20120828

A521 Request for written amendment filed

Free format text: JAPANESE INTERMEDIATE CODE: A523

Effective date: 20121025

A02 Decision of refusal

Free format text: JAPANESE INTERMEDIATE CODE: A02

Effective date: 20130412

A521 Request for written amendment filed

Free format text: JAPANESE INTERMEDIATE CODE: A523

Effective date: 20130703

A911 Transfer to examiner for re-examination before appeal (zenchi)

Free format text: JAPANESE INTERMEDIATE CODE: A911

Effective date: 20130710

TRDD Decision of grant or rejection written
A01 Written decision to grant a patent or to grant a registration (utility model)

Free format text: JAPANESE INTERMEDIATE CODE: A01

Effective date: 20130802

A61 First payment of annual fees (during grant procedure)

Free format text: JAPANESE INTERMEDIATE CODE: A61

Effective date: 20130815

R150 Certificate of patent or registration of utility model

Ref document number: 5354324

Country of ref document: JP

Free format text: JAPANESE INTERMEDIATE CODE: R150

Free format text: JAPANESE INTERMEDIATE CODE: R150

RD02 Notification of acceptance of power of attorney

Free format text: JAPANESE INTERMEDIATE CODE: R3D02

LAPS Cancellation because of no payment of annual fees