JP2010023901A - 流動体収容容器に取り付ける着脱式注出口および流動体収容容器 - Google Patents

流動体収容容器に取り付ける着脱式注出口および流動体収容容器 Download PDF

Info

Publication number
JP2010023901A
JP2010023901A JP2008189613A JP2008189613A JP2010023901A JP 2010023901 A JP2010023901 A JP 2010023901A JP 2008189613 A JP2008189613 A JP 2008189613A JP 2008189613 A JP2008189613 A JP 2008189613A JP 2010023901 A JP2010023901 A JP 2010023901A
Authority
JP
Japan
Prior art keywords
spout
fluid container
fluid
mounting portion
main body
Prior art date
Legal status (The legal status is an assumption and is not a legal conclusion. Google has not performed a legal analysis and makes no representation as to the accuracy of the status listed.)
Granted
Application number
JP2008189613A
Other languages
English (en)
Other versions
JP5248942B2 (ja
Inventor
Toshiyuki Kawashima
利行 川島
Current Assignee (The listed assignees may be inaccurate. Google has not performed a legal analysis and makes no representation or warranty as to the accuracy of the list.)
Otsuka Pharmaceutical Co Ltd
Original Assignee
Otsuka Pharmaceutical Co Ltd
Priority date (The priority date is an assumption and is not a legal conclusion. Google has not performed a legal analysis and makes no representation as to the accuracy of the date listed.)
Filing date
Publication date
Application filed by Otsuka Pharmaceutical Co Ltd filed Critical Otsuka Pharmaceutical Co Ltd
Priority to JP2008189613A priority Critical patent/JP5248942B2/ja
Publication of JP2010023901A publication Critical patent/JP2010023901A/ja
Application granted granted Critical
Publication of JP5248942B2 publication Critical patent/JP5248942B2/ja
Active legal-status Critical Current
Anticipated expiration legal-status Critical

Links

Images

Landscapes

  • Bag Frames (AREA)

Abstract

【課題】良好な液密性及び着脱性を確保しながら、注出口を流動体パウチに着脱可能に設ける。
【解決手段】本願発明に係る流動体収容容器に取り付ける着脱式注出口11は、流動体が収容される流動体収容容器(例えば流動体パウチ1)の出口部分となる注出口装着部5に挿入される注出口本体12と、この注出口本体12に形成されて流動体収容容器の収容室4内部を外部に連通させる注出通路14と、注出口本体12の周囲に環装され、注出口装着部5の内側で拡径して注出口本体12と注出口装着部5との間を液密にシールすると共に注出口本体12を注出口装着部5に固定する拡径シール手段(26,28)とを備えてなることを特徴とする。
【選択図】 図10

Description

本発明は、液状医薬品類及び流動性食品ならびに飲料等の流動体を収容するパウチ等の流動体収容容器に着脱可能に取り付けられる、流動体収容容器に取り付ける着脱式注出口および流動体収容容器に関する。
従来、流動体を包装するための、注出口を備えたパウチ状の容器としては、特許文献1に示されるように、軟質な樹脂シート片を熱溶着して袋状の収容室を形成し、この収容室の縁部に、樹脂シート片の内面と熱溶着性を有する樹脂材料から形成された注出口(スパウト)が熱溶着されて取り付けられたものが知られている。
特開2001−245633号公報
しかしながら、上述のように、注出口が予めパウチ状容器に熱溶着されているため、注出口の形状が一種類に限られてしまい、例えば医療現場で用いられている胃瘻用カテーテルのような専用形状のチューブ器具を接続することができない。かといって、カテーテル等に接続できる専用形状の注出口をパウチ状容器に熱溶着してしまったのでは、他の用途に転用が効かなくなる上に、高い寸法精度を要求される医療用の注出口をパウチ状容器に一体化させることにより、パウチ状容器の製造コストが著しく高くなるという難点がある。
好ましいのは、各専門分野での用途に適合した専用形状の注出口をパウチ状容器に着脱可能に取り付けることであるが、液密性や着脱性の面で困難である上に、パウチ状容器の形状が複雑化してしまうことが予想され、未だ実用化に達した例は無い。
本発明は、上記問題点を解消すべくなされたもので、良好な液密性及び着脱性を確保しながら、パウチ状を始めとする各種の形状の容器に着脱可能に設けることのできる、流動体収容容器に取り付ける着脱式注出口および流動体収容容器を提供することを目的とする。
上記課題を解決するため、請求項1に係る流動体収容容器に取り付ける着脱式注出口は、流動体が収容される流動体収容容器の出口部分となる注出口装着部に挿入される注出口本体と、前記注出口本体に形成されて前記流動体収容容器の収容室内部を外部に連通させる注出通路と、前記注出口本体の周囲に環装され、前記注出口装着部の内側で拡径して前記注出口本体と前記注出口装着部との間を液密にシールすると共に前記注出口本体を前記注出口装着部に固定する拡径シール手段とを備えてなることを特徴とする。
請求項2に係る流動体収容容器に取り付ける着脱式注出口は、請求項1の構成に加え、前記拡径シール手段が、前記注出口本体の外周に環装された弾性材料でなる密閉部材と、前記密閉部材を前記注出口本体の軸方向に圧縮変形させてその外径を拡径させ、前記密閉部材の外周面を前記注出口装着部の内周面に圧接させる拡径機構部とを備えてなることを特徴とする。
請求項3に係る流動体収容容器に取り付ける着脱式注出口は、請求項2の構成に加え、前記拡径機構部に、所定角度の回動により前記密閉部材を軸方向に押圧可能なカムレバーを設けたことを特徴とする。
請求項4に係る流動体収容容器に取り付ける着脱式注出口は、請求項1乃至3の何れかの構成に加え、前記流動体収容容器が、樹脂シート状素材を重ね合わせてその周囲を接合したパウチ状である場合に、前記注出口本体の先端に、前記注出口装着部を形成する二枚のシート状素材の間へ挿入されるガイド部を設けたことを特徴とする。
請求項5に係る流動体収容容器に取り付ける着脱式注出口は、請求項1乃至4の何れかの構成に加え、前記注出通路の外端を密閉するキャップを設けたことを特徴とする。
請求項6に係る流動体収容容器に取り付ける着脱式注出口および流動体収容容器は、請求項1乃至5に記載の着脱式注出口と、この着脱式注出口が装着される流動体収容容器の出口部分となる注出口装着部との少なくとも一方に、前記着脱式注出口の注出口本体を前記注出口装着部に適正な深さで挿入させる挿入深さ決定手段を設けたことを特徴とする。
請求項7に係る流動体収容容器に取り付ける着脱式注出口および流動体収容容器は、請求項6の構成に加え、前記挿入深さ決定手段が、前記注出口本体に設けた、前記注出口装着部の内部側に向かって縮径する雄テーパー部と、前記注出口装着部に設けた、前記注出口装着部の内部側に向かって縮径する雌テーパー部とを備えて構成され、前記雄テーパー部の最大外径を前記雌テーパー部の最小内径よりも大きく設定し、前記雄テーパー部が前記雌テーパー部の中で行き詰まった位置が前記注出口本体の適正な挿入深さとなるようにしたことを特徴とする。
請求項8に係る流動体収容容器に取り付ける着脱式注出口および流動体収容容器は、請求項6の構成に加え、前記挿入深さ決定手段が、前記注出口本体が前記注出口装着部に適正な深さで挿入された時点で前記注出口装着部の先端に当接するよう、前記注出口本体に設けられた突起状ストッパーであることを特徴とする。
請求項9に係る流動体収容容器は、請求項1乃至8に記載の流動体収容容器が、樹脂シート状素材を重ね合わせてその周囲を接合したパウチ状であり、前記樹脂シート状素材は、一方向にのみ引き裂き可能な直線カット性を持ち、前記流動体収容容器の製造時において、その出口部分となる注出口装着部の先端は閉塞されており、この注出口装着部を開封する方向と前記シート状素材の引き裂き方向とを合致させた上、前記流動体収容容器の一側辺に、前記注出口装着部の先端をカットするカットラインの起点となるカットポイントを設けたことを特徴とする。
請求項1に記載の流動体収容容器に取り付ける着脱式注出口によれば、流動体収容容器の注出口装着部に注出口を着脱可能に設け、且つこの注出口に良好な液密性及び着脱性を付与することができる。
請求項2に記載の流動体収容容器に取り付ける着脱式注出口によれば、請求項1の構成による効果に加え、簡素な構造によって注出口本体と注出口装着部との間を液密にシールするとともに、注出口と注出口装着部との間を確実に固定することができる。
請求項3、4に記載の流動体収容容器に取り付ける着脱式注出口によれば、注出口装着部に対する注出口の着脱性を向上させることができる。
請求項5に記載の流動体収容容器に取り付ける着脱式注出口によれば、注出口装着部に注出口を装着した状態で注出通路を密閉できるため、注出口の液密性と衛生性を確保することができる。
請求項6、7、8に記載の流動体収容容器に取り付ける着脱式注出口および流動体収容容器によれば、注出口装着部に対する注出口の着脱性を向上させることができる。
請求項9に記載の流動体収容容器によれば、注出口装着部に対する注出口の着脱性を向上させることができる。
以下、この発明の実施の形態を、図面を参照しながら詳細に説明する。
[発明の実施の形態1]
図1は、この発明の実施の形態1に係る流動体収容容器の一例を示す流動体パウチの正面図である。この流動体パウチ1は、二枚の樹脂シート状素材が重ね合わせられ、その周囲に設けた接合代3の部分が熱溶着等により剥離不能に接合され、接合代3の内周側の範囲が袋状の収容室4とされている。また、収容室4に連通する筒状の注出口装着部5も形成されている。注出口装着部5の形状は収容室4に向かって縮径する円錐筒状である。
この流動体パウチ1の製造時において、注出口装着部5の先端は接合代3によって閉塞されている。接合代3の四辺のうち、例えば下側の辺を除く他の三辺は先に接合され、次に液状医薬品類及び流動性食品、飲料等の流動体が収容室4に充填され、最後に接合代3の下側の辺が接合される。
流動体パウチ1を形成する樹脂シート状素材は、一方向にのみ引き裂き可能な直線カット性を持ち、その引き裂き方向Tと、注出口装着部5を開封する方向とが合致している。即ち、注出口装着部5を開封する方向は、図1に向かって左右方向であり、流動体パウチ1の引き裂き方向Tも同じ方向とされている。そして、流動体パウチ1の上縁に平行して注出口装着部5の先端をカットするカットライン7が表示され、流動体パウチ1の一側辺には、カットライン7の起点となるカットポイント8が例えばスリット状に設けられている。
このため、カットポイント8から流動体パウチ1を引き裂くことにより、流動体パウチ1がカットライン7沿いに切断されて図2に示すように注出口装着部5の先端が開封される。なお、流動体パウチ1の下縁部付近には、流動体パウチ1を吊り下げるための吊り下げ孔9が穿設されている。
図3〜図9は、流動体パウチ1の注出口装着部5に着脱可能に装着される注出口11の構成を示している。
この注出口11は、注出口装着部5に挿入される略円筒状の注出口本体12を主体にしている。この注出口本体12は、例えば透明で強靭なポリカーボネート樹脂を素材にしており、その軸心に沿って注出通路14が形成されている。この注出通路14は流動体パウチ1の収容室4を外部に連通させる直線管路である。
注出口本体12の中間部には外径が拡大されたレバー取付ボス16が形成され、それよりも上部がノズル部17、下部が挿入部18となっている。ノズル部17は例えば先細の円錐筒形状であり、挿入部18は外径が一定の円筒形状である。
ノズル部17の根元部分と、挿入部18の下端部分とには、それぞれ雄ネジ19,20が形成されている。雄ネジ19にはキャップ22が螺合されることにより注出通路14の外端が密閉される。雄ネジ20は、その基本外径が挿入部18に対して小さくされ、これにより段差部23が形成されている(図5参照)。
また、レバー取付ボス16の側面には、径方向に対向する2つのビス孔24が形成されている。これらのビス孔24は貫通孔ではなく、注出通路14に連通していない。
さらに、注出口本体12には拡径シール手段を構成する密閉部材としてのシールブッシュ26と拡径機構部28とが設けられる。拡径機構部28は、例えばワッシャー30と、押圧ブッシュ31と、インサートヘッド32と、カムレバー33と、補強クランプ34と、2個のビス35とを備えて構成されている。
密閉部材であるシールブッシュ26は、例えばシリコンゴム等の柔軟な弾性材料により円筒形状に形成されている。また、ワッシャー30は金属製であり、押圧ブッシュ31とインサートヘッド32は注出口本体12と同じくポリカーボネート樹脂等の硬質樹脂で形成されている。シールブッシュ26とワッシャー30と押圧ブッシュ31は、その内径寸法が注出口本体12の挿入部18に対してスムーズかつ密に装着可能な寸法に設定され、外径寸法は三部材26,30,31とも同一寸法に設定されている。
図5、図8、図9に示すように、インサートヘッド32は、その基部37が下方に向かって縮径される円錐形状であり、この基部37上端の外径がシールブッシュ26、ワッシャー30、押圧ブッシュ31の外径に等しい。基部37には雌ネジ38と開口部39と舌片状のガイドプレート40とが設けられている。ガイドプレート40は開口部39を跨ぐ略U字形状に形成されているために開口部39を閉塞しない。また、ガイドプレート40の先端には楔状に肉厚が薄くなるエッジ部41が形成されている。
注出口本体12の挿入部18には、ワッシャー30、押圧ブッシュ31、シールブッシュ26が順に環装され、最後に雄ネジ20にインサートヘッド32の雌ネジ38が螺合され、インサートヘッド32が段差部23に突き当たるまで締め込まれる。インサートヘッド32が雄ネジ20に螺合されても、インサートヘッド32の開口部39を経て注出口本体12の注出通路14が下方に開通する。
注出口本体12にインサートヘッド32が締め付けられると、ワッシャー30、押圧ブッシュ31、シールブッシュ26が注出口本体12の軸方向に移動することができなくなる。なお、シールブッシュ26を間に挟んで押圧ブッシュ31が可動側押圧部材となり、インサートヘッド32が固定側押圧部材となる。
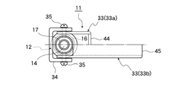
一方、図5に示すように、カムレバー33は、基部44と、この基部44から略L字状に延びるレバー部45とを備え、基部44にはビス孔46が穿設されるとともに、このビス孔46の中心から寸法X離れた開放カム面47aと、ビス孔46の中心から寸法Y離れた閉塞カム面47bとが90度の相対角度をなして形成されている。寸法Xと寸法Yの関係はX<Yである。また、補強クランプ34は略コの字形状であり両側面にビス孔49を有する。
図6に示すように、注出口本体12のレバー取付ボス16にカムレバー33の基部44があてがわれ、それを外側から挟むように補強クランプ34が設けられ、さらにその外側からビス35が締め込まれる。ビス35は、補強クランプ34のビス孔49とカムレバー33のビス孔46とを貫通してレバー取付ボス16のビス孔24に締結される。なお、ビス35が締結される雌ネジは、レバー取付ボス16のビス孔24に形成しても、補強クランプ34のビス孔49に形成してもよい。金属部品である補強クランプ34のビス孔49に雌ネジを形成すれば、樹脂部品であるレバー取付ボス16(注出口本体12)のビス孔24に雌ネジを形成するよりも、雌ネジの強度を向上させることができる。
カムレバー33は、ビス35を支軸にして、図3に示す開放位置33aと、図4に示す閉塞位置33bとの間で90度回動し、開放位置33aではカムレバー33の開放カム面47aがワッシャー30に当接し、閉塞位置33bでは閉塞カム面47bがワッシャー30に当接する。
カムレバー33が開放位置33aにある時は、開放カム面47aからワッシャー30へは押圧力が作用しないが、カムレバー33が開放位置33aから閉塞位置33bに回動すると、ビス35の軸心から開放カム面47aまでの寸法Xよりも閉塞カム面47bまでの寸法Yの方が大きいことから、寸法Yから寸法Xを差し引いた分だけワッシャー30が押圧され、ワッシャー30と押圧ブッシュ31とがインサートヘッド32側に移動する。
一方、インサートヘッド32は注出口本体12に固定されているため、押圧ブッシュ31とインサートヘッド32との間に挟まれたシールブッシュ26が軸方向に圧縮変形し、シールブッシュ26の外径が拡径される。この時、閉塞位置33bに回動したカムレバー33のレバー部45は、注出口本体12の軸方向に対して平行になり、注出口本体12の近傍に位置する。
図10に示すように、注出口11は、カムレバー33が開放位置33aに置かれた状態で流動体パウチ1の注出口装着部5に挿入される。この挿入時、インサートヘッド32の先端に設けられたガイドプレート40(エッジ部41)を、流動体パウチ1を形成する二枚の樹脂シート状素材の間に挿し込むことにより、注出口11を非常に容易に注出口装着部5に挿入することができる。このように、ガイドプレート40は、注出口11を注出口装着部5に挿入し易くするガイド部として機能する。
前述のように、インサートヘッド32の基部37は流動体パウチ1の収容室4側に向かって縮径される円錐形状であり、注出口装着部5の形状は同じく収容室4に向かって縮径する円錐筒状である。図10に示すように、インサートヘッド32の基部37の外周面をなす雄テーパー部51と、注出口装着部5の内周面をなす雌テーパー部52とにより、注出口11を注出口装着部5に適正な深さで挿入させる挿入深さ決定手段が構成されている。
即ち、雄テーパー部51の最大外径D1が、雌テーパー部52の最小内径D2よりも大きく設定されており、雄テーパー部51が雌テーパー部52の中で行き詰まった位置が注出口11の適正な挿入深さとなるように最大外径D1と最小内径D2の寸法が予め設定されている。これにより、注出口装着部5に対して注出口11を深く挿入し過ぎたり、挿入し足りなくなることが防止され、注出口11の着脱性を良好にすることができる。
しかも、注出口11を注出口装着部5に挿入した際に、雄テーパー部51と雌テーパー部52とをやや強めに嵌合させることにより、注出口11を注出口装着部5に楔結合させて仮止めすることができるため、後述するカムレバー33の回動操作をする時に注出口11と注出口装着部5とが離脱することを防止でき、これにより注出口11の装着作業性を非常に良くすることができる。
そして次に、図11に示すように、注出口11のカムレバー33を閉塞位置33bに回動させると、先述したようにカムレバー33の閉塞カム面47bからワッシャー30に押圧力が働き、この押圧力が押圧ブッシュ31を経てシールブッシュ26に加わり、シールブッシュ26が注出口装着部5の内側で軸方向に弾性変形してその外径が拡径する。このため、シールブッシュ26の外周面が注出口装着部5の内周面に圧接され、これによって注出口11と注出口装着部5との間が液密にシールされると共に、注出口11が注出口装着部5に固定される。
注出口装着部5の強度およびシールブッシュ26の拡径量は、シールブッシュ26が拡径した時に注出口装着部5が裂けたり、注出口装着部5の両側にて接合代3が剥離するといったことがないように適宜設定する必要がある。なお、図11ではカムレバー33の回動軸(ビス35)の軸方向が流動体パウチ1の面方向に対して直交しているが、これは図を見やすくするためであり、実際にはカムレバー33の開同軸方向を流動体パウチ1の面方向に対して平行にし、閉塞位置33bに回動させたカムレバー33が流動体パウチ1に干渉しないようにした方がよい。
このように注出口11が取り付けられた流動体パウチ1の収容室4に貯留された流動体状の内容物は、注出口11の注出通路14からノズル部17を経て外部に注出される。また、ノズル部17にキャップ22を装着することにより、内容物の流出を止めると共に、流動体パウチ1の内部を外部に対して密閉し、衛生性を保つことができる。
使用を終えて流動体パウチ1から取り外した注出口11は、その注出口本体12からインサートヘッド32を緩めて取り外し、シールブッシュ26と押圧ブッシュ31とワッシャー30とを抜き取ると共に、ビスを緩めてカムレバー33と補強クランプ34を取り外すことにより、簡単に分解して洗浄することができ、衛生状態を良好に保つことができる。
以上のように、この流動体パウチ1および注出口11によれば、非常に簡素な構造によって、良好な液密性及び着脱性を確保しながら、注出口11を流動体パウチ1に着脱可能に設けることができ、これにより、流動体パウチ1の製造コストを上昇させることなく、注出口11のノズル部17に専用形状を付与し、医療現場等での専門分野に適合させることができる。つまり、ノズル部17の形状は本実施形態の形状に限定されず、他の形状としても構わない。
また、拡径機構部28をカムレバー33で操作するようにしたことや、注出口11を注出口装着部5に適正な深さで挿入させる挿入深さ決定手段(雄テーパー部51及び雌テーパー部52)を設けたこと、さらに注出口装着部5への挿入を容易にするガイドプレート40を注出口11(インサートヘッド32)に設けたこと、そして流動体パウチ1を形成する樹脂シート状素材に一方向にのみ引き裂き可能な直線カット性を持たせ、注出口装着部5を開封する方向と樹脂シート状素材の引き裂き方向Tとを合致させて注出口装着部5の開封を容易にしたこと等から、注出口装着部5に対する注出口11の着脱性をより向上させることができる。
[発明の実施の形態2]
図12は、この発明の実施の形態2に係る流動体パウチと注出口とを示す正面図である。ここで、流動体パウチ1の構成は実施の形態1のものと同様であり、注出口61は、その注出口本体62と拡径機構部63の構成以外は実施の形態1と同様であるため、それらの部分には同じ符号を付して説明を省略する。
注出口61の拡径機構部63は、樹脂製の注出口本体62の外周面に形成された雄ネジ64と、この雄ネジ64に螺合される樹脂製の押圧ブッシュ65と、金属製のワッシャー30と、注出口本体62の下端に螺合される樹脂製のインサートヘッド32とを備えて構成されている。密閉部材であるシールブッシュ26と、ワッシャー30及びインサートヘッド32は実施の形態1に示す同符号の部材と同じものである。
押圧ブッシュ65には外径の大きなダイヤル部66が一体に設けられ、このダイヤル部66を手で回転させることにより、押圧ブッシュ65を注出口本体62の軸方向に移動させることができる。ここではシールブッシュ26を間に挟んで押圧ブッシュ65が可動側押圧部材となり、インサートヘッド32が固定側押圧部材となる。
図12に示すように、この注出口61を流動体パウチ1の注出口装着部5に適正な深さまで挿入し、一方の手で注出口装着部5の上からシールブッシュ26を保持しながら、他方の手でダイヤル部66を回転させ、押圧ブッシュ65をシールブッシュ26側に移動させると、実施の形態1の場合と同様にシールブッシュ26が軸方向に圧縮変形して外径が拡径し、シールブッシュ26の外周面が注出口装着部5の内周面に圧接されて注出口61と注出口装着部5との間が液密にシールされると共に、注出口61が注出口装着部5に固定される(図13参照)。
樹脂製の押圧ブッシュ65とシリコンゴム等の弾性材料でなるシールブッシュ26との間に金属製のワッシャー30を介装したことにより、押圧ブッシュ65にシールブッシュ26の粘性による摩擦力がブレーキとして作用することがなくなり、押圧ブッシュ65の回転をスムーズにすることができる。なお、雄ネジ64の上端部は押圧ブッシュ65の上面から十分に突出する長さに形成されており、この雄ネジ64の突出した部分に、図3、図4に示すキャップ22をそのまま螺合して注出通路14の外端を密閉することができる。
このような拡径機構部63を構成することにより、ワッシャー30以外の部品を全て非金属製にして注出口61全体の製造コストを実施の形態1の注出口11よりも大幅に安くすると共に、注出口61の分解、組立作業性及び洗浄性等を大きく向上させることができる。
[発明の実施の形態3]
図14は、この発明の実施の形態3に係る流動体パウチと注出口とを示す正面図である。ここで、注出口71は、その押圧ブッシュ72以外の部分の構成は実施の形態1と同様であり、流動体パウチ73は、その注出口装着部74以外の部分の構成は実施の形態1と同様であるため、それらの部分には同じ符号を付して説明を省略する。
注出口71の押圧ブッシュ72には、実施の形態1とは異なる形態の挿入深さ決定手段となる突起状ストッパー75が設けられている。この突起状ストッパー75は、例えば薄い円板形のフランジ(鍔)状に形成されている。一方、流動体パウチ73の注出口装着部74は、実施の形態1における注出口装着部5のように収容室4に向かって縮径する円錐筒状ではなく、内径が一定な円筒状となっている。
注出口71の突起状ストッパー75の位置は、注出口71が注出口装着部74に適正な深さで挿入された時点で注出口装着部74の先端に当接するように位置付けられている。突起状ストッパー75の形状は、円板形でなくても良く、例えば突起状、舌片状等、他の形状も考えれらる。
突起状ストッパー75が注出口装着部74の先端に当接するまで注出口71を注出口装着部74に挿入し、この位置でカムレバー33を閉塞位置33bに回動させると、実施の形態1の場合と同様に、押圧ブッシュ72がシールブッシュ26を軸方向に押圧して圧縮変形させ、これによりシールブッシュ26の外径が拡径してその外周面が注出口装着部74の内周面に圧接され、注出口71と注出口装着部74との間が液密にシールされると共に、注出口71が注出口装着部74に固定される。
これにより、注出口71を適正な深さで注出口装着部74に挿入することができ、注出口71の着脱性を良好にすることができる。
[発明の実施の形態4]
図15は、この発明の実施の形態4に係る流動体パウチを示す正面図である。この流動体パウチ81では、注出口装着部82又は83を流動体パウチ81の中心線81aに対して左又は右に偏倚させて設けている。注出口装着部82では、その中心線82aが中心線81aに平行になっているが、注出口装着部83では、その中心線83aが中心線81aに対して斜めにされ、中心線83aが流動体パウチ81の対角線にほぼ沿っている。このように、注出口装着部82,83の位置及び方向は、流動体パウチ81の使用状況によって適宜設定することができる。
[発明の実施の形態5]
図16は、この発明の実施の形態5に係る流動体パウチを示す正面図である。この流動体パウチ91では、前出の流動体パウチ1,73,81のように、二枚の樹脂シート状素材を重ね合わせて接合するのではなく、一枚の樹脂シート状素材を二つ折りにして、その折曲部92を除いた残り三片を接合代93とすることによって収容室94を形成している。そして、折曲部92の上端に注出口装着部95が設けられている。
このように形成した流動体パウチ91によれば、樹脂シート状素材の接合代93が注出口装着部95の片側にしか存在しないため、前述の注出口11,61,71を取り付けた際に、シールブッシュ26の拡径により接合代93が剥離する可能性を低くし、流動体パウチ91の強度的な信頼性を高めることができる。
なお、上記実施の形態1〜5では、流動体収容容器の例として流動体パウチ1,73,81,91を示したが、パウチ状に限らず、瓶状や缶状といった他の形態の流動体収容容器に、先述の注出口11,61,71を装着してもよい。
また、瓶状や缶状といった他形状の流動体収容容器の場合でも、その注出口装着部に雌テーパー部を設け、注出口11,61側に設けた雄テーパー部51と共に挿入深さ決定手段を構成することができる。
本発明の実施の形態1に係る流動体収容容器の一例を示す流動体パウチの正面図である。 同実施の形態1に係る流動体パウチの注出口装着部の先端が開封された状態を示す正面図である。 同実施の形態1に係る注出口のカムレバーが開放位置に置かれた状態を示す正面図である。 同実施の形態1に係る注出口のカムレバーが閉塞位置に置かれた状態を示す正面図である。 同実施の形態1に係る注出口の分解図である。 同実施の形態1に係る図3のVI矢視による注出口の平面図である。 同実施の形態1に係る補強クランプとカムレバーを示す平面図である。 同実施の形態1に係る図3のVIII矢視によるインサートヘッドの側面図である。 同実施の形態1に係る図8のIX矢視によるインサートヘッドの下面図である。 同実施の形態1に係る流動体パウチと注出口の正面図であり、カムレバーが開放位置に置かれた注出口が注出口装着部に挿入された状態を示す図である。 同実施の形態1に係る流動体パウチと注出口の正面図であり、カムレバーが閉塞位置に置かれた状態を示す図である。 本発明の実施の形態2に係る流動体パウチと注出口の正面図であり、注出口が注出口装着部に挿入された状態を示す図である。 同実施の形態2に係る流動体パウチと注出口の正面図であり、シールブッシュの外径が拡径して注出口が注出口装着部に固定された状態を示す図である。 本発明の実施の形態3に係る流動体パウチと注出口の正面図であり、注出口が注出口装着部に挿入された状態を示す図である。 本発明の実施の形態4に係る流動体パウチを示す正面図である。 本発明の実施の形態5に係る流動体パウチを示す正面図である。
符号の説明
1 流動体収容容器の一例である流動体パウチ
3 接合代
4 収容室
5 注出口装着部
7 カットライン
8 カットポイント
11 注出口
14 注出通路
22 キャップ
26 拡径シール手段を構成する密閉部材としてのシールブッシュ
28 拡径シール手段を構成する拡径機構部
30 ワッシャー
31 押圧ブッシュ
32 インサートヘッド
33 カムレバー
34 補強クランプ
35 ビス
40 ガイドプレート
51 挿入深さ決定手段を構成する雄テーパー部
52 挿入深さ決定手段を構成する雌テーパー部
75 挿入深さ決定手段を構成する突起状ストッパー
D1 雄テーパー部の最大外径
D2 雌テーパー部の最小内径
T シート状素材の引き裂き方向

Claims (9)

  1. 流動体が収容される流動体収容容器の出口部分となる注出口装着部に挿入される注出口本体と、
    前記注出口本体に形成されて前記流動体収容容器の収容室内部を外部に連通させる注出通路と、
    前記注出口本体の周囲に環装され、前記注出口装着部の内側で拡径して前記注出口本体と前記注出口装着部との間を液密にシールすると共に前記注出口本体を前記注出口装着部に固定する拡径シール手段と、
    を備えてなることを特徴とする流動体収容容器に取り付ける着脱式注出口。
  2. 前記拡径シール手段は、
    前記注出口本体の外周に環装された弾性材料でなる密閉部材と、
    前記密閉部材を前記注出口本体の軸方向に圧縮変形させてその外径を拡径させ、前記密閉部材の外周面を前記注出口装着部の内周面に圧接させる拡径機構部と、
    を備えてなることを特徴とする請求項1に記載の流動体収容容器に取り付ける着脱式注出口。
  3. 前記拡径機構部に、所定角度の回動により前記密閉部材を軸方向に押圧可能なカムレバーを設けたことを特徴とする請求項2に記載の流動体収容容器に取り付ける着脱式注出口。
  4. 前記流動体収容容器が、樹脂シート状素材を重ね合わせてその周囲を接合したパウチ状である場合に、前記注出口本体の先端に、前記注出口装着部を形成する二枚のシート状素材の間へ挿入されるガイド部を設けたことを特徴とする請求項1乃至3の何れかに記載の流動体収容容器に取り付ける着脱式注出口。
  5. 前記注出通路の外端を密閉するキャップを設けたことを特徴とする請求項1乃至4の何れかに記載の流動体収容容器に取り付ける着脱式注出口。
  6. 請求項1乃至5に記載の着脱式注出口と、この着脱式注出口が装着される流動体収容容器の出口部分となる注出口装着部との少なくとも一方に、前記着脱式注出口の注出口本体を前記注出口装着部に適正な深さで挿入させる挿入深さ決定手段を設けたことを特徴とする流動体収容容器に取り付ける着脱式注出口および流動体収容容器。
  7. 前記挿入深さ決定手段は、前記注出口本体に設けた、前記注出口装着部の内部側に向かって縮径する雄テーパー部と、前記注出口装着部に設けた、前記注出口装着部の内部側に向かって縮径する雌テーパー部とを備えて構成され、前記雄テーパー部の最大外径を前記雌テーパー部の最小内径よりも大きく設定し、前記雄テーパー部が前記雌テーパー部の中で行き詰まった位置が前記注出口本体の適正な挿入深さとなるようにしたことを特徴とする請求項6に記載の流動体収容容器に取り付ける着脱式注出口および流動体収容容器。
  8. 前記挿入深さ決定手段は、前記注出口本体が前記注出口装着部に適正な深さで挿入された時点で前記注出口装着部の先端に当接するよう、前記注出口本体に設けられた突起状ストッパーであることを特徴とする請求項6に記載の流動体収容容器に取り付ける着脱式注出口および流動体収容容器。
  9. 請求項1乃至8に記載の流動体収容容器は、樹脂シート状素材を重ね合わせてその周囲を接合したパウチ状であり、前記樹脂シート状素材は、一方向にのみ引き裂き可能な直線カット性を持ち、前記流動体収容容器の製造時において、その出口部分となる注出口装着部の先端は閉塞されており、この注出口装着部を開封する方向と前記シート状素材の引き裂き方向とを合致させた上、前記流動体収容容器の一側辺に、前記注出口装着部の先端をカットするカットラインの起点となるカットポイントを設けたことを特徴とする流動体収容容器。
JP2008189613A 2008-07-23 2008-07-23 流動体収容容器に取り付ける着脱式注出口および流動体収容容器 Active JP5248942B2 (ja)

Priority Applications (1)

Application Number Priority Date Filing Date Title
JP2008189613A JP5248942B2 (ja) 2008-07-23 2008-07-23 流動体収容容器に取り付ける着脱式注出口および流動体収容容器

Applications Claiming Priority (1)

Application Number Priority Date Filing Date Title
JP2008189613A JP5248942B2 (ja) 2008-07-23 2008-07-23 流動体収容容器に取り付ける着脱式注出口および流動体収容容器

Related Child Applications (1)

Application Number Title Priority Date Filing Date
JP2013082691A Division JP2013136420A (ja) 2013-04-11 2013-04-11 流動体収容容器に取り付ける着脱式注出口および流動体収容容器

Publications (2)

Publication Number Publication Date
JP2010023901A true JP2010023901A (ja) 2010-02-04
JP5248942B2 JP5248942B2 (ja) 2013-07-31

Family

ID=41730089

Family Applications (1)

Application Number Title Priority Date Filing Date
JP2008189613A Active JP5248942B2 (ja) 2008-07-23 2008-07-23 流動体収容容器に取り付ける着脱式注出口および流動体収容容器

Country Status (1)

Country Link
JP (1) JP5248942B2 (ja)

Cited By (1)

* Cited by examiner, † Cited by third party
Publication number Priority date Publication date Assignee Title
JP2022057898A (ja) * 2020-09-30 2022-04-11 天龍化学工業株式会社 パウチ容器

Citations (10)

* Cited by examiner, † Cited by third party
Publication number Priority date Publication date Assignee Title
JPH03126822U (ja) * 1990-04-03 1991-12-20
JPH10157747A (ja) * 1996-11-29 1998-06-16 Taketomo:Kk 袋状容器
JPH10236488A (ja) * 1997-02-20 1998-09-08 Daiwa Gravure Co Ltd 液体取り出し装置
JPH11504605A (ja) * 1996-03-04 1999-04-27 ロックタイト(アイルランド)リミテッド 流体流コネクタ、流体圧力機構および流体、例えば接着剤のための製品タンクの蓋
JP2002160780A (ja) * 2000-11-27 2002-06-04 Taisei Kako Co Ltd スプレーノズルの取付構造並びに取付方法
JP2004238047A (ja) * 2003-02-07 2004-08-26 Kyodo Printing Co Ltd 包装袋
JP2006500131A (ja) * 2002-09-25 2006-01-05 メデックス 柔軟性嚢状容器および関連する注入装置
JP2008007153A (ja) * 2006-06-28 2008-01-17 Tokyo Ohka Kogyo Co Ltd 流体用容器及びそれを用いた流体入り容器
JP3139517U (ja) * 2007-11-28 2008-02-21 株式会社 汎用 コック取付具
JP2008063006A (ja) * 2006-08-10 2008-03-21 Haruo Minegishi ゲル状流体の充填容器とその搾り出し装置

Patent Citations (10)

* Cited by examiner, † Cited by third party
Publication number Priority date Publication date Assignee Title
JPH03126822U (ja) * 1990-04-03 1991-12-20
JPH11504605A (ja) * 1996-03-04 1999-04-27 ロックタイト(アイルランド)リミテッド 流体流コネクタ、流体圧力機構および流体、例えば接着剤のための製品タンクの蓋
JPH10157747A (ja) * 1996-11-29 1998-06-16 Taketomo:Kk 袋状容器
JPH10236488A (ja) * 1997-02-20 1998-09-08 Daiwa Gravure Co Ltd 液体取り出し装置
JP2002160780A (ja) * 2000-11-27 2002-06-04 Taisei Kako Co Ltd スプレーノズルの取付構造並びに取付方法
JP2006500131A (ja) * 2002-09-25 2006-01-05 メデックス 柔軟性嚢状容器および関連する注入装置
JP2004238047A (ja) * 2003-02-07 2004-08-26 Kyodo Printing Co Ltd 包装袋
JP2008007153A (ja) * 2006-06-28 2008-01-17 Tokyo Ohka Kogyo Co Ltd 流体用容器及びそれを用いた流体入り容器
JP2008063006A (ja) * 2006-08-10 2008-03-21 Haruo Minegishi ゲル状流体の充填容器とその搾り出し装置
JP3139517U (ja) * 2007-11-28 2008-02-21 株式会社 汎用 コック取付具

Cited By (2)

* Cited by examiner, † Cited by third party
Publication number Priority date Publication date Assignee Title
JP2022057898A (ja) * 2020-09-30 2022-04-11 天龍化学工業株式会社 パウチ容器
JP7553087B2 (ja) 2020-09-30 2024-09-18 天龍化学工業株式会社 パウチ容器

Also Published As

Publication number Publication date
JP5248942B2 (ja) 2013-07-31

Similar Documents

Publication Publication Date Title
CN103492276B (zh) 具有适配器的密封装置
JP4533887B2 (ja) 医療用液体を収容するパック用のコネクタおよび医療用液体のパック
EP1201598B1 (en) Quick-locking device for effecting hygienic transfer of flowable material from a container by piercing
EP2346746B1 (en) Valve
EP2385919B1 (en) Poppet seal fitment for a collapsible bag
KR20010071244A (ko) 끼움부속 관 및 밸브를 가진 유체분배장치
PL216609B1 (pl) Urządzenie stosowane w składanej torebce do dozowania cieczy i substancji półstałych
US9609969B1 (en) Deformable elastomeric valve and valve assembly
CN103765073A (zh) 用于可塌缩容器的无菌鸭嘴翻盖装配体
JP2007517604A (ja) 漏出防止装置及びその方法
CN109803715B (zh) 用于含有液体的医疗包装的连接器
JP5248942B2 (ja) 流動体収容容器に取り付ける着脱式注出口および流動体収容容器
AU718270B2 (en) Plastic stop-cock for liquid containers
JP3795404B2 (ja) ホース状袋を空にするための装置
JP2013136420A (ja) 流動体収容容器に取り付ける着脱式注出口および流動体収容容器
JP4502194B2 (ja) 可撓性容器のスパウト
WO1991005190A1 (en) Dispensing valve
JP4999348B2 (ja) 詰替え用パウチ
JP2020050412A (ja) カバー部材付きスパウト
JP7473415B2 (ja) 注出用スパウト及び注出用スパウト付き容器
MX2008001202A (es) Recipiente para un liquido y un gas propulsor que comprende una valvula.
AU632177B2 (en) Dispensing valve
JP6182444B2 (ja) スパウトおよびスパウト付き収容体
HK1143122B (en) Pouring member
HK1143122A1 (en) Pouring member

Legal Events

Date Code Title Description
A621 Written request for application examination

Free format text: JAPANESE INTERMEDIATE CODE: A621

Effective date: 20110419

A131 Notification of reasons for refusal

Free format text: JAPANESE INTERMEDIATE CODE: A131

Effective date: 20121204

A521 Request for written amendment filed

Free format text: JAPANESE INTERMEDIATE CODE: A523

Effective date: 20130124

TRDD Decision of grant or rejection written
A01 Written decision to grant a patent or to grant a registration (utility model)

Free format text: JAPANESE INTERMEDIATE CODE: A01

Effective date: 20130326

A61 First payment of annual fees (during grant procedure)

Free format text: JAPANESE INTERMEDIATE CODE: A61

Effective date: 20130411

R150 Certificate of patent or registration of utility model

Ref document number: 5248942

Country of ref document: JP

Free format text: JAPANESE INTERMEDIATE CODE: R150

Free format text: JAPANESE INTERMEDIATE CODE: R150

FPAY Renewal fee payment (event date is renewal date of database)

Free format text: PAYMENT UNTIL: 20160419

Year of fee payment: 3

R250 Receipt of annual fees

Free format text: JAPANESE INTERMEDIATE CODE: R250

R250 Receipt of annual fees

Free format text: JAPANESE INTERMEDIATE CODE: R250

R250 Receipt of annual fees

Free format text: JAPANESE INTERMEDIATE CODE: R250

R250 Receipt of annual fees

Free format text: JAPANESE INTERMEDIATE CODE: R250