JP2010023189A - 往復動式作業工具 - Google Patents

往復動式作業工具

Info

Publication number
JP2010023189A
JP2010023189A JP2008187846A JP2008187846A JP2010023189A JP 2010023189 A JP2010023189 A JP 2010023189A JP 2008187846 A JP2008187846 A JP 2008187846A JP 2008187846 A JP2008187846 A JP 2008187846A JP 2010023189 A JP2010023189 A JP 2010023189A
Authority
JP
Japan
Prior art keywords
bevel gear
counterweight
work tool
crank
reciprocating
Prior art date
Legal status (The legal status is an assumption and is not a legal conclusion. Google has not performed a legal analysis and makes no representation as to the accuracy of the status listed.)
Granted
Application number
JP2008187846A
Other languages
English (en)
Other versions
JP5214357B2 (ja
Inventor
Yonosuke Aoki
陽之介 青木
Shinji Hirabayashi
伸治 平林
Current Assignee (The listed assignees may be inaccurate. Google has not performed a legal analysis and makes no representation or warranty as to the accuracy of the list.)
Makita Corp
Original Assignee
Makita Corp
Priority date (The priority date is an assumption and is not a legal conclusion. Google has not performed a legal analysis and makes no representation as to the accuracy of the date listed.)
Filing date
Publication date
Family has litigation
First worldwide family litigation filed litigation Critical https://patents.darts-ip.com/?family=41729507&utm_source=google_patent&utm_medium=platform_link&utm_campaign=public_patent_search&patent=JP2010023189(A) "Global patent litigation dataset” by Darts-ip is licensed under a Creative Commons Attribution 4.0 International License.
Application filed by Makita Corp filed Critical Makita Corp
Priority to JP2008187846A priority Critical patent/JP5214357B2/ja
Publication of JP2010023189A publication Critical patent/JP2010023189A/ja
Application granted granted Critical
Publication of JP5214357B2 publication Critical patent/JP5214357B2/ja
Active legal-status Critical Current
Anticipated expiration legal-status Critical

Links

Images

Landscapes

  • Sawing (AREA)

Abstract

【課題】往復動式作業工具において、直線往復運動を伴わず円滑に作動するカウンタウェイトによる振動低減技術を提供する。
【解決手段】ピニオン119を挟んで対向状に配置され、当該ピニオン119によって反対方向に同一減速比で回転駆動される第1及び第2ベベルギア123,147、クランク129によって先端工具の長軸方向に直線状に往復駆動されるスライダ107を有する。第1及び第2ベベルギア123,147には、回転軸線から偏心した位置に第1及び第2カウンタウェイト143,145を備、第1カウンタウェイト143及び第2カウンタウェイト145は、公転運動する際、先端工具の長軸方向成分がスライダ107の直線運動に対して対向動作するとともに、先端工具の長軸方向に関しては互いに同位相となり、先端工具の長軸方向と交差する方向に関しては長軸線を挟んで互いに等距離で対向するように構成する。
【選択図】図4

Description

本発明は、例えばレシプロソーやジグソー等のように先端工具が往復運動して被加工材の切断作業を行なう往復動式作業工具の防振技術に関する。
特開2005−14111号公報(特許文献1)には、レシプロソーの構成が記載されている。この先行技術に係るレシプロソーは、先端工具が取付けられたスライダをモータによりクランクを介して往復運動させることで先端工具による切断作業を行なう際、スライダと対向して直線往復運動を行なうカウンタウェイトを備えている。すなわち、カウンタウェイトをスライドと逆向きに直線動作させ、これによりスライダが往復運動する際に発生する振動の低減を図っている。
スライダの直線往復運動と逆位相でカウンタウェイトを往復運動させるレシプロソーの振動低減方式によれば、スライダの長軸方向に関し、スライダとカウンタウェイトとの間で慣性力を主体とする運動量を相殺できるため、合理的な振動の低減が可能となる。しかしながら、カウンタウェイトが運動方向を転換する際の衝突による振動が発生し、また運動方向転換によるエネルギーロスが生ずるという点で、なお改良の余地がある。
特開2005−14111号公報
本発明は、かかる点に鑑みてなされたものであり、往復動式作業工具において、直線往復運動を伴わず円滑に作動するカウンタウェイトによる振動低減技術を提供することを目的とする。
上記課題を達成するため、本発明に係る往復動式作業工具の好ましい形態は、先端工具を長軸方向に往復動させて被加工材に所定の加工作業を遂行する往復動式作業工具において、先端工具の長軸方向と平行に配置されたモータの出力軸と、出力軸に設けられたピニオンと、ピニオンと噛み合い係合され、先端工具の長軸方向と交差する軸線回りに回転駆動される第1ベベルギアと、第1ベベルギアが固定され、当該第1ベベルギアの回転運動を直線運動に変換するクランクと、先端工具を保持するとともにクランクの直線運動を介して先端工具の長軸方向に直線状に往復駆動されるスライダとを有する。本発明における「往復動式作業工具」としては、木工、金工、石工等といった各種被加工材の加工作業に用いられる作業工具が包含され、さらに被加工材の切断作業に用いられるレシプロソー、あるいはジグソー等の各種作業工具が広く包含される。また、本発明における「クランク」は、典型的には、第1ベベルギアが固定される回転軸、当該回転軸の回転軸線から所定距離だけ偏心した位置に配置される偏心ピン、回転軸と偏心ピンとを互いに接合するクランク板を有して構成される。
本発明に係る往復動式作業工具の好ましい形態によれば、特徴的構成として、第1ベベルギアの回転軸線と同軸上で第1ベベルギアに対向状に配置されてピニオンと噛み合い係合され、第1ベベルギアとは反対方向に回転駆動される第2ベベルギアと、第1ベベルギアの回転軸線から所定距離だけ偏心した位置に配置されるとともに、当該第1ベベルギアと一体に回転する第1カウンタウェイトと、第2ベベルギアの回転軸線から所定距離だけ偏心した位置に配置されるとともに、当該第2ベベルギアと一体に回転する第2カウンタウェイトとを更に有する。そして、第1カウンタウェイト及び第2カウンタウェイトは、第1ベベルギアの回転軸線回りを公転運動する際、先端工具の長軸方向成分がスライダの直線運動に対して対向動作するように設定されるとともに、更には先端工具の長軸方向に関しては互いに同位相となり、先端工具の長軸方向と交差する方向に関しては当該長軸線を挟んで互いに等距離で対向するように構成された第1カウンタウェイト及び第2カウンタウェイトである。
なお、本発明における「第1ベベルギアと一体に回転する第1カウンタウェイト」としては、当該第1カウンタウェイトが第1ベベルギアに設けられる態様、あるいは第1ベベルギアと一体に回転するクランクに設けられる態様のいずれも好適に包含する。また、本発明における「第1カウンタウェイト」は、別部材として形成したものを第1ベベルギアまたはクランクに取付ける態様、あるいは第1ベベルギアまたはクランクに対して一体に形成する態様のいずれも好適に包含する。同様に本発明における「第2カウンタウェイト」は、別部材として形成したものを第2ベベルギアに取付ける態様、あるいは第2ベベルギアに対して一体に形成する態様のいずれも好適に包含する。
本発明によれば、第1カウンタウェイトと第2カウンタウェイトがクランクの回転軸線回りの公転運動(円運動)を行う際の先端工具長軸方向成分(先端工具の長軸方向を水平とした場合の前後方向成分)の運動量が、スライダの直線運動量に対向し、これにより当該スライダの直線往復運動で生ずる振動を低減することができる。一方、先端工具長軸方向と交差する方向(先端工具の長軸方向を水平とした場合の左右方向)については、互いに反対方向に回転する第1カウンタウェイトと第2カウンタウェイトの運動量が互いに相殺され、無用な振動が発生しない。
このように、本発明によれば、第1及び第2カウンタウェイトの回転運動を利用した円滑な作動による振動の低減が可能とされる。これによりカウンタウェイトが直線往復運動することで振動の低減を行なう従来方式とは異なり、カウンタウェイトが運動方向を転換する際の衝突による振動の発生、あるいは運動方向転換によるエネルギーロスの発生等の問題が解消される。
本発明に係る往復動式作業工具の更なる形態によれば、第1ベベルギアの歯と第2ベベルギアの歯は、歯数が同一である。このような構成とすることで、第1ベベルギア及び第2ベベルギアを介して第1及び第2カウンタウェイトにクランクの回転軸線回りの公転運動(円運動)を行なわせる場合において、当該第1及び第2カウンタウェイト相互間の動作タイミングにずれのない簡素な構成のカウンタウェイト機構を合理的に構築することができる。
本発明に係る往復動式作業工具の更なる形態によれば、第1ベベルギアと第2ベベルギアは、それぞれ異なる成形方法によって形成されている。スライダの駆動に用いられる第1ベベルギアは、第2カウンタウェイトの駆動に用いられる第2ベベルギアよりも大きい負荷を受けることになる。このため、第1ベベルギアについては、強度の高い材料を用いて製造する、例えば削り出しによって形成し、他方、第1ベベルギアに比べて負荷の小さい第2ベベルギアについては、安価で簡易に製造することが可能な、例えば焼結成形方法等で成形することが好適であり、これにより、両ベベルギアの耐久性を同程度となるように設定することができる。
本発明に係る往復動式作業工具の更なる形態によれば、クランクは、第1ベベルギアと一体に回転する回転軸と、当該回転軸の回転軸線から所定距離だけ偏心した位置に配置された偏心ピンと、回転軸の長軸方向一端部に設けられ、当該回転軸と偏心ピンとを互いに接合するクランク板を有する。そして、クランク板には、第1カウンタウェイトが取付けられ、また回転軸のクランク板側には、第2ベベルギアが配置されるとともに、当該第2ベベルギアの第1カウンタウェイトとの対向面側に第2カウンタウェイトが配置された構成とされる。かかる構成によれば、第1カウンタウェイトと第2カウンタウェイトをクランクの回転軸線方向に関して互いに近接した配置が可能とされる。これにより、クランクの長軸線方向と交差する方向に関する偶アンバランスが低減し、不要な振動発生を抑制する上で有効となる。
本発明に係る往復動式作業工具の更なる形態によれば、第1カウンタウェイトは、偏心ピンに嵌合されるとともに、当該嵌合部から離れた位置でクランク板に止着されている。このような構成を採用することで、偏心ピンをカウンタウェイトのクランク板に対する回り止め部材として合理的に利用できる。
本発明に係る往復動式作業工具の更なる形態によれば、クランクは、第1ベベルギアと一体に回転する回転軸と、当該回転軸の回転軸線から所定距離だけ偏心した位置に配置された偏心ピンと、回転軸の長軸方向一端部に設けられ、当該回転軸と偏心ピンとを互いに接合するクランク板を有する。そして、第1ベベルギアが回転軸に固定され、当該回転軸は、第1ベベルギアを挟んで両側が軸受によって回転自在に支持されている。このような構成とすることで、加工作業時に負荷トルクが作用する第1ベベルギアにつき、これを安定的に支持し、円滑な回転運動を得ることができる。
本発明によれば、往復動式作業工具において、直線往復運動を伴わず円滑に作動するカウンタウェイトによる振動低減技術が提供されることとなった。
(本発明の第1の実施形態)
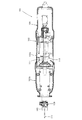
以下、本発明の実施形態につき、図1〜図5を参照しつつ詳細に説明する。本発明の実施形態は、往復動式作業工具の一例としてレシプロソーを用いて説明する。図1は本実施形態に係るレシプロソー101の全体構成を示す平断面図である。図2及び図3はレシプロソー101の全体構成を示す縦断面図であり、図2はスライダ107が前進端(図示左側)へ移動された状態が示され、図3はスライダ107が後退端(図示右側)へ移動された状態が示される。図4は本発明の主要部構成を示す拡大断面図であり、図5はカウンタウェイト143,145の動作説明図である。
本実施の形態に係るレシプロソー101は、図1〜図3に示すように、概括的に見てレシプロソー101の外郭を構成する作業工具本体としての本体部103、当該本体部103から突出するスライダ107先端のチャック109に着脱自在に取り付けられて被加工材(便宜上特に図示しない)を切断作業するブレード111、本体部103におけるブレード111と反対側の後端部に一体状に形成されたハンドグリップ105を主体として構成されている。ブレード111は本発明における「先端工具」に対応する。
本体部103は、駆動モータ113を収容するモータハウジング103aと、駆動モータ113の回転出力を直線運動に変換してスライダ107に伝達する運動変換機構121を収容するギアハウジング103bによって構成されている。なお、説明の便宜上、ブレード111側(図1〜図3において左側)を前側、ハンドグリップ105側(図1〜図3において右側)を後側という。
モータハウジング103a内には、駆動モータ113が配設されている。駆動モータ113は、ハンドグリップ105に配置されたトリガ115が作業者により引き操作されて電気スイッチ115aがオン状態へと動作されることによって通電駆動される。駆動モータ113の通電駆動によりブレード111がスライダ107及びチャック109とともに長軸方向(前後方向)に直線状に往復運動し、被加工材を切断可能に構成される。
スライダ107は、ギアハウジング103bの内部空間における、ブレード111の長軸方向を水平方向としたときの上方領域に配置され、前後の軸受108a,108bを介して長軸方向(ブレード111の長軸方向)に往復動可能に支持されるとともに、ギアハウジング103b内の運動変換機構121を介してモータ軸117と接続されている。駆動モータ113は、ブレード111の長軸線の延長線の概ね真下において、モータ軸117の長軸方向がブレード111の長軸方向と平行となるように配置されている。駆動モータ113は、本発明における「モータ」に対応し、モータ軸117は、本発明における「出力軸」に対応する。
運動変換機構121は、モータ軸117の回転運動をスライダ107の長軸方向への直線往復運動に変換する作動機構であり、ギアハウジング103bの内部空間における、ブレード111の長軸方向を水平方向としたときの下方領域、すなわちスライダ107の概ね真下に配置されている。運動変換機構121は、水平面内で回転する駆動ベベルギア123、クランク129、スライダブロック131を主体として構成されている。駆動ベベルギア123は、本発明における「第1ベベルギア」に対応する。
クランク129は、ブレード111の長軸方向と交差する上下方向に延在するクランク軸129a、当該クランク軸129aの長軸方向の一端(上端)に一体に形成されたクランク板129b、及び当該クランク板129bの上面にその回転中心から所定距離だけ偏心した位置に設けられた偏心ピン129cによって構成されている。クランク軸129aは、本発明における「回転軸」に対応する。クランク軸129aは、スライダ107の概ね真下に配置されるとともに、ギアハウジング103bに上下の軸受127a,127bを介して回転自在に支持された両持ち構造として構成されている。
駆動ベベルギア123は、クランク軸129aの上部側(スライダ107側)に固定されるとともに、下側面部に形成された歯がモータ軸117の先端に形成されたピニオン119と噛み合い係合され、これによりクランク軸129aと共に水平面内での回転が可能とされる。偏心ピン129cは、下端側が駆動ベベルギア123に形成されたピン取付孔に上方から圧入固定されており、上端側がスライダ107の下面側に形成されたスライダブロック131のガイド溝131aに軸受133を介して下方から上向きに嵌入されている。スライダブロック131のガイド溝131aは、スライダ107の長軸方向と交差する水平方向、すなわち左右方向に延びており、当該ガイド溝131aに沿って軸受133と共に偏心ピン129cが相対的に移動可能とされている。
従って、駆動モータ113が通電駆動されると、モータ軸117の回転出力は、ピニオン119と噛み合い係合する駆動ベベルギア123を介してクランク軸129aへと伝達される。そして、当該クランク軸129aが回転駆動されると、偏心ピン129cがクランク軸129aの回転軸線回りに公転運動(円運動)し、当該公転運動のうち、スライダ107の長軸方向と水平面内で交差する左右方向の動作成分については、ガイド溝131aに逃がされ、スライダ107の長軸方向への動作成分のみが当該スライダ107に伝達される。これによりスライダ107は、前後方向にのみ直線状に往復運動される。なお、本体部103の先端部には切断作業時において、作業者がハンドグリップ105を把持した状態で被加工材に向って押し付けるシュー106が設けられている。
レシプロソー101には、スライダ107が直線往復運動することで発生する長軸方向の振動を低減するべくカウンタウェイト機構141が搭載される。次に当該カウンタウェイト機構141につき説明する。本実施の形態に係るカウンタウェイト機構141は、水平面内において、クランク軸129aの回転軸線回りを互いに反対方向に公転運動(円運動)を行なう2つのカウンタウェイト143,145を主体として構成される。1つのカウンタウェイト143は、駆動ベベルギア123の上側面部に取付けられ、他の1つのカウンタウェイト145は、駆動ベベルギア123と対向して配置される逆転ベベルギア147の下側面部に取付けられている。逆転ベベルギア147は、本発明における「第2ベベルギア」に対応する。駆動ベベルギア123に取付けられた駆動側カウンタウェイト143は、本発明における「第1カウンタウェイト」に対応し、逆転ベベルギア147に取付けられた逆転側カウンタウェイト145は、本発明における「第2カウンタウェイト」に対応する。すなわち、カウンタウェイト機構141は、2つのカウンタウェイト143,145と、それを駆動する2つのベベルギア123,147によって構成される。
ピニオン119(モータ軸117)を挟んで駆動ベベルギア123と対向して配置される逆転ベベルギア147は、クランク軸129aの下部側に軸受149を介して相対回転自在に取付けられるとともに、上側面部に形成された歯がモータ軸117のピニオン119に噛み合い係合されている。駆動ベベルギア123の上側面部には、当該駆動ベベルギア123の回転軸線から所定距離だけ偏心した位置に駆動側カウンタウェイト143が固定され、逆転ベベルギア147の下側面部には、当該逆転ベベルギア147の回転軸線から所定距離だけ偏心した位置に逆転側カウンタウェイト145が固定されており、これら駆動側及び逆転側カウンタウェイト143,145は、重量及び形状が同一に形成されるとともに、その重心から両ベベルギア123,147の回転軸線、すなわちクランク軸129aの回転軸線までの離間距離が互いに同一に設定されている。
本実施の形態においては、対向状に配置される駆動ベベルギア123と逆転ベベルギア147が、ピニオン119を共通部品として使用する構成であり、このため、歯に関する仕様が同一に設定されている。駆動ベベルギア123と逆転ベベルギア147の歯数につき、これを同数とすることで、両ベベルギア123,147の減速比が同一に定められている。これにより駆動ベベルギア123と逆転ベベルギア147は、同軸上で互いに反対方向に同一速度で回転される構成とされる。このため、駆動側カウンタウェイト143と逆転側カウンタウェイト145が公転運動する場合における、両カウンタウェイト143,145相互間の動作タイミングにずれが生じない。更には駆動ベベルギア123と逆転ベベルギア147に関する仕様としての、モジュール、ピッチ円直径についても相互に同一に設定し、これによりピニオン119に対する噛み合い係合が共に同一条件となり、駆動ベベルギア123と逆転ベベルギア147の耐久性を同程度にすることが可能となる。
本実施の形態に係るカウンタウェイト機構141は、上記のように構成されている。従って、駆動ベベルギア123に取付けられた駆動側カウンタウェイト143と逆転ベベルギア147に取付けられた逆転側のカウンタウェイト145は、駆動モータ113が通電駆動され、ピニオン119を介して駆動ベベルギア123及び逆転ベベルギア147が回転駆動されるとき、クランク軸129aの回転軸線回りを互いに反対方向に公転運動(円運動)する。
スライダ107の往復運動と、駆動側及び逆転側のカウンタウェイト143,145の公転運動に関し、レシプロソー101の前方側(先端側)へ最も移動した位置を下死点、レシプロソー101の後方(奥側)へ最も移動した位置を上死点と定義する。本実施の形態においては、スライダ107が下死点に移動されたとき、駆動側カウンタウェイト143と逆転側カウンタウェイト145が共に上死点に移動され(図2及び図4参照)、スライダ107が上死点に移動されたとき、駆動側カウンタウェイト143と逆転側カウンタウェイト145が共に下死点に移動されるように設定されている(図3参照)。
従って、スライダ107が、例えば下死点から上死点へと移動するとき、駆動側カウンタウェイト143と逆転側カウンタウェイト145は、図5に矢印で示すように、共に上死点から下死点へと公転運動する。そして、駆動側及び逆転側のカウンタウェイト143,145の公転運動のうち、ブレード111の長軸方向成分の運動量がスライダ107の運動量に対しこれを相殺するように作用する。これにより、スライダ107が直線往復運動することで生ずる長軸方向、すなわち前後方向の振動を低減化することができる。このとき、駆動側及び逆転側のカウンタウェイト143,145のブレード長軸方向成分の各運動量は、互いに併合してスライダ107の運動量に対向することになる。なお、図5では駆動側カウンタウェイト143と逆転側第2カウンタウェイト145が共に上死点に置かれた状態を実線で示している。
また、駆動側カウンタウェイト143と逆転側カウンタウェイト145は、図5に示すように、互いに反対方向に公転運動する。従って、公転運動する駆動側カウンタウェイト143と逆転側第2カウンタウェイト145の左右方向成分の運動量は、大きさが同じで反対向きとなる。このため、左右方向については、駆動側カウンタウェイト143と逆転側第2カウンタウェイト145の運動量が互いに相殺され、無用な振動の発生を抑えることが可能となる。
(本発明の第2の実施形態)
次に本発明の第2の実施形態につき、図6〜図9を参照して説明する。図6は第2の実施形態に係るレシプロソー101の全体構成を示す縦断面図であり、図7はレシプロソー101の主要部の構成を示す断面図である。図8は駆動側カウンタウェイト143の取付構造を示す平面図であり、図9は図8のA−A線断面図である。この実施の形態は、振動低減のために備えられるカウンタウェイト機構141に関する変形例であり、カウンタウェイト機構141以外については、前述した第1の実施形態と同様に構成されている。従って、第1の実施形態と同一の構成部材については、同一符号を付してその説明を省略あるいは簡略する。
この実施の形態では、駆動ベベルギア123がクランク軸129aの下部側に一体に回転するように取付けられ、当該駆動ベベルギア123の上側面部に形成された歯がモータ軸117のピニオン119に噛み合い係合されている。一方、逆転ベベルギア147は、クランク軸129aの上部側に軸受149を介して相対回転可能に取付けられ、その下側面部に形成された歯がモータ軸117のピニオン119に噛み合い係合されている。このように、駆動ベベルギア123と逆転ベベルギア147は、ピニオン119(モータ軸117)を挟んで対向して配置される。従って、逆転ベベルギア147は、駆動ベベルギア123に対して同軸上で反対方向に回転される。なお、駆動ベベルギア123と逆転ベベルギア147は、実施の形態と同様に、その歯数、モジュール等の歯に関する仕様が同一に設定されている。
カウンタウェイト機構141は、駆動側カウンタウェイト143と逆転側カウンタウェイト145を有する。本実施の形態では、駆動側カウンタウェイト143は、駆動ベベルギア123と一体に回転するクランク129に取付けられている。
駆動側カウンタウェイト143の取付構造につき更に詳しく説明すると、図8及び図9に示すように、平板状のウェイト支持部材151の上面一端側に駆動側カウンタウェイト143がリベットやネジカシメ等の止着手段153により固定されている。ウェイト支持部材151は、クランク板129bの長軸方向一端面である上面に重ねられ、ネジ155により当該クランク板129bの概ね軸中心部に固定されるとともに、駆動側カウンタウェイト143の反対側に設けたピン孔151aがクランク板129b上の偏心ピン129cに対して上方から嵌合されている。かくして、駆動側カウンタウェイト143は、クランク軸129aの長軸方向上端側に対してその回転軸線から所定距離だけ偏心した位置に配置されている。
一方、逆転側カウンタウェイト145は、逆転ベベルギア147の上面側に、当該逆転ベベルギア147の回転軸線から所定距離だけ偏心した位置に取付けられている。このように、本実施の形態では、駆動側カウンタウェイト143と逆転側カウンタウェイト145は、ピニオン119(モータ出力軸117)とスライダ107との間に配置されるとともに、ウェイト支持部材151を挟んで互いに対向する近接配置構成とされる。なお、逆転側カウンタウェイト145は、少なくともウェイト支持部材151を含めた重量と回転半径の関係によって駆動側カウンタウェイト143に対して左右方向成分の運動量が互いに相殺されるように設定される。
本実施の形態に係るカウンタウェイト機構141は、上記のように構成したものであり、従って、駆動モータ113が通電駆動され、駆動ベベルギア123、クランク129を介してスライダ107が上死点と下死点との間で直線往復運動するとき、駆動側カウンタウェイト143と逆転側カウンタウェイト145は、クランク軸129aの回転軸線回りを互いに反対方向に同一速度で公転運動(円運動)する。そして、駆動側及び逆転側のカウンタウェイト143,145の公転運動のうち、ブレード111の長軸方向成分の運動量がスライダ107の運動量に対しこれを相殺するように作用し、これによりスライダ107が直線往復運動することで生ずる長軸方向、すなわち前後方向の振動を低減化することができる。
また、駆動側カウンタウェイト143と逆転側カウンタウェイト145は、互いに反対方向に公転運動するので、駆動側カウンタウェイト143と逆転側第2カウンタウェイト145の左右方向成分の運動量は、大きさが同じで反対向きとなる。このため、左右方向については、駆動側カウンタウェイト143と逆転側第2カウンタウェイト145の運動量が互いに相殺され、無用な振動の発生を抑えることが可能となる。このように、第2の実施形態によれば、前述した第1の実施の形態と同様の作用効果を奏する。
特に、この実施形態では、駆動側カウンタウェイト143と逆転側カウンタウェイト145がピニオン119とスライダ107との間において、ウェイト支持部材151を挟んで配置される構成であり、両カウンタウェイト143,145を回転軸線方向に関して互いに干渉が回避可能な僅かな距離を置いて近接して配置することが可能となる。これにより、偶アンバランスが低減される。すなわち、駆動側カウンタウェイト143と逆転側カウンタウェイト145が回転運動する際に、クランク軸129aに対して作用する当該クランク軸129aの長軸方向と交差する方向(径方向)の互いに反対向きで平行な力、すなわち偶力によるモーメントが低減されることになり、これにより不要な振動発生を抑制する上で有効となる。
また、本実施の形態では、クランク軸129aは、駆動力の伝達に用いられる駆動ベベルギア123を挟んで両側が軸受127a,127bによって支持する構成としている。このような構成とすることで、加工作業時に負荷トルクが作用する駆動ベベルギア123につき、これを安定的に支持し、円滑な回転運動を得ることができる。
また、本実施の形態では、ウェイト支持部材151が、ネジ155によりクランク板129bの概ね軸中心部に固定され、かつピン孔151aがクランク板129b上の偏心ピン129cに嵌合されている。すなわち、ウェイト支持部材151の取付構造につき、クランク板129b上の偏心ピン129cを回り止め部材として利用する構成としている。このため、たとえネジ155が緩んだ場合であっても駆動側カウンタウェイト143がクランク板129bと共に確実に一体となって回転される。
次に駆動側及び逆転側カウンタウェイト143,145の駆動タイミングに関する変形例につき説明する。上述した実施の形態によれば、駆動側及び逆転側カウンタウェイト143,145は、ブレード111が取付けられたスライダ107の往復運動に対して逆位相の公転運動を行なうことで、運動量を減殺して振動を低減することができる。しかしながら、レシプロソー101にあっては、実際にブレード111を用いて被加工材を切断作業する負荷駆動状態と、切断作業に供せずにブレード111を空転状態で駆動する無負荷駆動状態とでは、ブレード111に作用する外部抵抗の有無により駆動側及び逆転側カウンタウェイト143,145による振動相殺の最適タイミングが相違することになる。負荷駆動状態では、ブレード111に切断抵抗が作用し、この切断抵抗によりブレード111を駆動するスライダ107の位相は、無負荷状態の場合に比べて遅れ側にシフトし易いからである。従って、このようなブレード111の駆動形態を考慮して駆動側及び逆転側カウンタウェイト143,145の駆動タイミングを設定することが好ましい。
そこで、上記に鑑み、ブレード111を駆動するスライダ107の往復動作と、駆動側及び逆転側カウンタウェイト143,145の公転動作の位相差が、上死点と下死点への到達タイミングが異なるように設定される。具体的には、駆動側及び逆転側カウンタウェイト143,145の公転動作の位相が、スライダ107の往復動作の位相に対して相対的に180度よりも遅れた状態となるように設定される。すなわち、スライダ107の往復動作と、駆動側及び逆転側カウンタウェイト143,145の公転動作の位相とが180度異なる逆位相の状態から見て、駆動側及び逆転側カウンタウェイト143,145の公転動作の方が遅れるように設定される。
このことが図10の模式図に示される。図10の(A)がスライダ107を往復駆動するクランク129における偏心ピン129cの公転動作を示しており、図10の(B)が駆動側及び逆転側カウンタウェイト143,145の公転動作を示している。図示のように、偏心ピン129cが下死点P1にあるとき、互いに反対方向に公転動作する駆動側及び逆転側カウンタウェイト143,145は、それぞれが逆位相の状態である上死点P2に対して所定角度αだけ遅れるように設定される。そして、この遅れ角αについては、被加工材の切断作業時に頻繁に顕現する切断抵抗値を措定し、当該措定した切断抵抗値に対応する角度として定められ、例えば15度に設定される。
駆動側及び逆転側カウンタウェイト143,145の動作タイミングにつき、上記のように設定することで、切断抵抗を加味した合理的な振動低減対策が講じられる。
なお、本実施の形態では、駆動側及び逆転側のカウンタウェイト143,145を、それぞれ別部材として形成し、それを対応する部材としての駆動ベベルギア123、逆転ベベルギア147あるいはクランク129に取付ける構成としたが、駆動ベベルギア123、逆転ベベルギア147あるいはクランク129に一体に形成してもよい。
また、本実施の形態では、逆転側カウンタウェイト145を逆転ベベルギア147に直接に取付ける構成としたが、当該逆転ベベルギア147によって回転駆動される回転部材、あるいは逆転ベベルギア147と一体に回転する回転部材に逆転側カウンタウェイト145を設ける構成に変更してもよい。
また、本実施の形態は、往復動式作業工具の一例としてレシプロソー101を用いて説明したが、先端工具が往復動して被加工材を加工作業する形態、例えばジグソー等にも広く適用することが可能である。
本実施形態に係るレシプロソーの全体構成を示す平断面図である。 レシプロソーの全体構成を示す縦断面図であり、スライダが前進端(図示左側)へ移動された状態が示される。 レシプロソーの全体構成を示す縦断面図であり、スライダが後退端(図示右側)へ移動された状態が示される。 レシプロソーの主要部の構成を示す断面図である。 カウンタウェイトの動作説明図である。 第2の実施形態に係るレシプロソーの全体構成を示す縦断面図である。 レシプロソーの主要部の構成を示す断面図である。 駆動側カウンタウェイトの取付構造を示す平面図である。 図8のA−A線断面図である。 スライダの往復動作の位相と、駆動側及び逆転側カウンタウェイトの公転動作の位相に関する説明図である。
符号の説明
101 レシプロソー(往復作動式作業工具)
103 本体部
103a モータハウジング
103b ギアハウジング
105 ハンドグリップ
106 シュー
107 スライダ
108a 前の軸受
108b 後の軸受
109 チャック
111 ブレード
113 駆動モータ
115 トリガ
115a 電気スイッチ
117 モータ軸(出力軸)
119 ピニオン
121 運動変換機構
123 駆動ベベルギア(第1ベベルギア)
127a 上の軸受
127b 下の軸受
129 クランク
129a クランク軸(回転軸)
129b クランク板
129c 偏心ピン
131 スライダブロック
131a ガイド溝
133 軸受
141 カウンタウェイト機構
143 駆動側カウンタウェイト(第1カウンタウェイト)
145 逆転側カウンタウェイト(第2カウンタウェイト)
147 逆転ベベルギア(第2ベベルギア)
149 軸受
151 ウェイト支持部
151a ピン孔
153 リベット
155 ネジ

Claims (6)

  1. 先端工具を長軸方向に往復動させて被加工材に所定の加工作業を遂行する往復動式作業工具であって、
    前記先端工具の長軸方向と平行に配置されたモータの出力軸と、
    前記出力軸に設けられたピニオンと、
    前記ピニオンと噛み合い係合され、前記先端工具の長軸方向と交差する軸線回りに回転駆動される第1ベベルギアと、
    前記第1ベベルギアが固定され、当該第1ベベルギアの回転運動を直線運動に変換するクランクと、
    前記先端工具を保持するとともに、前記クランクの直線運動を介して当該先端工具の長軸方向に直線状に往復駆動されるスライダと、を有し、
    前記第1ベベルギアの回転軸線と同軸上で当該第1ベベルギアに対向状に配置されて前記ピニオンと噛み合い係合され、前記第1ベベルギアとは反対方向に回転駆動される第2ベベルギアと、
    前記第1ベベルギアの回転軸線から所定距離だけ偏心した位置に配置されるとともに、当該第1ベベルギアと一体に回転する第1カウンタウェイトと、
    前記第2ベベルギアの回転軸線から所定距離だけ偏心した位置に配置されるとともに、当該第2ベベルギアと一体に回転する第2カウンタウェイトと、を更に有し、
    前記第1カウンタウェイト及び前記第2カウンタウェイトは、前記第1ベベルギアの回転軸線回りを公転運動する際、前記先端工具の長軸方向成分が前記スライダの直線運動に対して対向動作するように設定されるとともに、前記先端工具の長軸方向に関しては互いに同位相となり、前記先端工具の長軸方向と交差する方向に関しては当該長軸線を挟んで互いに等距離で対向するように構成された第1カウンタウェイト及び第2カウンタウェイトである、ことを特徴とする往復動式作業工具。
  2. 請求項1に記載の往復動式作業工具であって、
    前記第1ベベルギアの歯と第2ベベルギアの歯は、歯数が同一であることを特徴とする往復動式作業工具。
  3. 請求項1または2に記載の往復動式作業工具であって、
    前記第1ベベルギアと前記第2ベベルギアは、それぞれ異なる成形方法によって形成されていることを特徴とする往復動式作業工具。
  4. 請求項1〜3のいずれか1つに記載の往復動式作業工具であって、
    前記クランクは、前記第1ベベルギアと一体に回転する回転軸と、当該回転軸の回転軸線から所定距離だけ偏心した位置に配置された偏心ピンと、前記回転軸の長軸方向一端部に設けられ、当該回転軸と偏心ピンとを互いに接合するクランク板を有し、
    前記クランク板には、前記第1カウンタウェイトが取付けられ、前記回転軸の前記クランク板側には前記第2ベベルギアが配置されるとともに、当該第2ベベルギアの前記第1カウンタウェイトとの対向面側に前記第2カウンタウェイトが配置されていることを特徴とする往復動式作業工具。
  5. 請求項4に記載の往復動式作業工具であって、
    前記第1カウンタウェイトは、前記偏心ピンに嵌合されるとともに、当該嵌合部から離れた位置で前記クランク板に止着されていることを特徴とする往復動式作業工具。
  6. 請求項1〜5のいずれか1つに記載の往復動式作業工具であって、
    前記クランクは、前記第1ベベルギアと一体に回転する回転軸と、当該回転軸の回転軸線から所定距離だけ偏心した位置に配置された偏心ピンと、前記回転軸の長軸方向一端部に設けられ、当該回転軸と偏心ピンとを互いに接合するクランク板を有し、
    前記第1ベベルギアが前記回転軸に固定され、前記回転軸は、前記第1ベベルギアを挟んで両側が軸受によって回転自在に支持されていることを特徴とする往復動式作業工具。
JP2008187846A 2008-07-18 2008-07-18 往復動式作業工具 Active JP5214357B2 (ja)

Priority Applications (1)

Application Number Priority Date Filing Date Title
JP2008187846A JP5214357B2 (ja) 2008-07-18 2008-07-18 往復動式作業工具

Applications Claiming Priority (1)

Application Number Priority Date Filing Date Title
JP2008187846A JP5214357B2 (ja) 2008-07-18 2008-07-18 往復動式作業工具

Publications (2)

Publication Number Publication Date
JP2010023189A true JP2010023189A (ja) 2010-02-04
JP5214357B2 JP5214357B2 (ja) 2013-06-19

Family

ID=41729507

Family Applications (1)

Application Number Title Priority Date Filing Date
JP2008187846A Active JP5214357B2 (ja) 2008-07-18 2008-07-18 往復動式作業工具

Country Status (1)

Country Link
JP (1) JP5214357B2 (ja)

Cited By (5)

* Cited by examiner, † Cited by third party
Publication number Priority date Publication date Assignee Title
JP2012245585A (ja) * 2011-05-27 2012-12-13 Makita Corp 切断工具
WO2018221105A1 (ja) * 2017-05-31 2018-12-06 工機ホールディングス株式会社 往復動工具
WO2019134682A1 (en) * 2018-01-05 2019-07-11 Tti (Macao Commercial Offshore) Limited Reciprocating saw
JP2019198961A (ja) * 2015-04-17 2019-11-21 株式会社マキタ 往復動工具
CN110756898A (zh) * 2019-11-08 2020-02-07 浙江皇冠电动工具制造有限公司 一种往复式动力工具

Citations (2)

* Cited by examiner, † Cited by third party
Publication number Priority date Publication date Assignee Title
JPS62144116U (ja) * 1986-03-07 1987-09-11
JP2000225517A (ja) * 1998-12-04 2000-08-15 Hitachi Koki Co Ltd 往復動工具

Patent Citations (2)

* Cited by examiner, † Cited by third party
Publication number Priority date Publication date Assignee Title
JPS62144116U (ja) * 1986-03-07 1987-09-11
JP2000225517A (ja) * 1998-12-04 2000-08-15 Hitachi Koki Co Ltd 往復動工具

Cited By (9)

* Cited by examiner, † Cited by third party
Publication number Priority date Publication date Assignee Title
JP2012245585A (ja) * 2011-05-27 2012-12-13 Makita Corp 切断工具
JP2019198961A (ja) * 2015-04-17 2019-11-21 株式会社マキタ 往復動工具
WO2018221105A1 (ja) * 2017-05-31 2018-12-06 工機ホールディングス株式会社 往復動工具
CN110709202A (zh) * 2017-05-31 2020-01-17 工机控股株式会社 往复运动工具
JPWO2018221105A1 (ja) * 2017-05-31 2020-03-26 工機ホールディングス株式会社 往復動工具
JP7151706B2 (ja) 2017-05-31 2022-10-12 工機ホールディングス株式会社 往復動工具
US11701722B2 (en) 2017-05-31 2023-07-18 Koki Holdings Co., Ltd. Reciprocating tool
WO2019134682A1 (en) * 2018-01-05 2019-07-11 Tti (Macao Commercial Offshore) Limited Reciprocating saw
CN110756898A (zh) * 2019-11-08 2020-02-07 浙江皇冠电动工具制造有限公司 一种往复式动力工具

Also Published As

Publication number Publication date
JP5214357B2 (ja) 2013-06-19

Similar Documents

Publication Publication Date Title
CN100355522C (zh) 往复运动式电动工具
US9724771B2 (en) Reciprocating power tool
JP7151706B2 (ja) 往復動工具
CN205289932U (zh) 往复式作业工具
JP4270887B2 (ja) 電動往復動式工具
JP5214357B2 (ja) 往復動式作業工具
WO2015155912A1 (ja) 電動工具
EP3757427B1 (en) Reciprocating tool having planetary gear assembly and counterweighting assembly
CN112296946B (zh) 电锤
JP6510250B2 (ja) 作業工具
WO2015050248A1 (ja) 往復動工具
JP2012125898A (ja) 動力工具
US20070214660A1 (en) Reciprocating saw, timing fork and gearbox for use therewith
JP3897653B2 (ja) 往復動式電動工具
JP2015188952A (ja) 電動工具
CN110756898A (zh) 一种往复式动力工具
JP4004999B2 (ja) 往復動式電動工具
JP5019101B2 (ja) 電動工具
JP4743666B2 (ja) 電動工具
CN218364545U (zh) 电动工具
JP2002079416A (ja) 携帯用電動切断機
JP2005028486A (ja) 往復動式電動工具
JP2007118181A (ja) セーバソー
JP3163540U (ja) ジグソーユニット
CN102672267B (zh) 锯切刀具

Legal Events

Date Code Title Description
A621 Written request for application examination

Free format text: JAPANESE INTERMEDIATE CODE: A621

Effective date: 20110121

A977 Report on retrieval

Free format text: JAPANESE INTERMEDIATE CODE: A971007

Effective date: 20121011

A131 Notification of reasons for refusal

Free format text: JAPANESE INTERMEDIATE CODE: A131

Effective date: 20121012

A521 Request for written amendment filed

Free format text: JAPANESE INTERMEDIATE CODE: A523

Effective date: 20121204

TRDD Decision of grant or rejection written
A01 Written decision to grant a patent or to grant a registration (utility model)

Free format text: JAPANESE INTERMEDIATE CODE: A01

Effective date: 20130204

A61 First payment of annual fees (during grant procedure)

Free format text: JAPANESE INTERMEDIATE CODE: A61

Effective date: 20130227

R150 Certificate of patent or registration of utility model

Free format text: JAPANESE INTERMEDIATE CODE: R150

Ref document number: 5214357

Country of ref document: JP

Free format text: JAPANESE INTERMEDIATE CODE: R150

FPAY Renewal fee payment (event date is renewal date of database)

Free format text: PAYMENT UNTIL: 20160308

Year of fee payment: 3

R250 Receipt of annual fees

Free format text: JAPANESE INTERMEDIATE CODE: R250

R250 Receipt of annual fees

Free format text: JAPANESE INTERMEDIATE CODE: R250

R250 Receipt of annual fees

Free format text: JAPANESE INTERMEDIATE CODE: R250

R250 Receipt of annual fees

Free format text: JAPANESE INTERMEDIATE CODE: R250

R157 Certificate of patent or utility model (correction)

Free format text: JAPANESE INTERMEDIATE CODE: R157

R250 Receipt of annual fees

Free format text: JAPANESE INTERMEDIATE CODE: R250

R250 Receipt of annual fees

Free format text: JAPANESE INTERMEDIATE CODE: R250

R250 Receipt of annual fees

Free format text: JAPANESE INTERMEDIATE CODE: R250

R250 Receipt of annual fees

Free format text: JAPANESE INTERMEDIATE CODE: R250

R250 Receipt of annual fees

Free format text: JAPANESE INTERMEDIATE CODE: R250

R250 Receipt of annual fees

Free format text: JAPANESE INTERMEDIATE CODE: R250