JP2010021837A - メアンダラインアンテナ - Google Patents

メアンダラインアンテナ Download PDF

Info

Publication number
JP2010021837A
JP2010021837A JP2008181268A JP2008181268A JP2010021837A JP 2010021837 A JP2010021837 A JP 2010021837A JP 2008181268 A JP2008181268 A JP 2008181268A JP 2008181268 A JP2008181268 A JP 2008181268A JP 2010021837 A JP2010021837 A JP 2010021837A
Authority
JP
Japan
Prior art keywords
meander line
pair
antenna
line antenna
bent portion
Prior art date
Legal status (The legal status is an assumption and is not a legal conclusion. Google has not performed a legal analysis and makes no representation as to the accuracy of the status listed.)
Granted
Application number
JP2008181268A
Other languages
English (en)
Other versions
JP5528686B2 (ja
Inventor
Shusuke Narieda
秀介 成枝
Shingo Tanaka
信吾 田中
Current Assignee (The listed assignees may be inaccurate. Google has not performed a legal analysis and makes no representation or warranty as to the accuracy of the list.)
Yazaki Corp
Original Assignee
Yazaki Corp
Priority date (The priority date is an assumption and is not a legal conclusion. Google has not performed a legal analysis and makes no representation as to the accuracy of the date listed.)
Filing date
Publication date
Application filed by Yazaki Corp filed Critical Yazaki Corp
Priority to JP2008181268A priority Critical patent/JP5528686B2/ja
Publication of JP2010021837A publication Critical patent/JP2010021837A/ja
Application granted granted Critical
Publication of JP5528686B2 publication Critical patent/JP5528686B2/ja
Expired - Fee Related legal-status Critical Current
Anticipated expiration legal-status Critical

Links

Images

Landscapes

  • Details Of Aerials (AREA)

Abstract

【課題】構造物の角部に設置可能にすることによって、設置箇所に自由度を持たせることができるメアンダラインアンテナを提供する。
【解決手段】高さ方向Y1に沿って設けた折曲部4が誘電体6の角部Cに沿って配置される。そして、メアンダラインアンテナ1の折曲部4を境とした一方側が誘電体6の角部Cを構成する互いに交わる一対の平面61、62の一方上に配置され、かつ、メアンダラインアンテナ1の折曲部4を境とした他方側が一対の平面61、62の他方上に配置されるように、折曲部4が設けられている。
【選択図】図3

Description

本発明は、メアンダラインアンテナに係り、特に、平面上にメアンダライン状に形成されたメアンダライン導体部が設けられたメアンダラインアンテナに関するものである。
平面上に形成した薄型のアンテナとしてメアンダラインアンテナが知られている。メアンダラインアンテナは、平面上にメアンダライン状(クランク状に蛇行させた形状)に形成されたメアンダライン導体部から構成されている。このように、メアンダラインアンテナは、導体をクランク状に蛇行させて線路長を長くすることにより、同じ高さのモノポールアンテナに比べて低い共振を得ることができる。
上述したメアンダラインアンテナは、メアンダライン導体部を蛇行して形成している分、上記モノポールアンテナに比べて幅方向が大きくなる。ところで、例えば、誘電体(=構造物)上にメアンダラインアンテナを設けたい場合がある。この場合、誘電体の幅をメアンダラインアンテナの幅よりも大きくする必要があり、このため、従来のメアンダラインアンテナではその幅よりも狭いスペースには配置することができない。
また、上述した従来のメアンダラインアンテナとして、例えば図11に示すような折り返しメアンダラインアンテナ1が知られている(例えば特許文献1)。同図に示すように、折り返しメアンダラインアンテナ1は、平面上に並べて設けられた一対のメアンダライン導体部21及び22と、一対のメアンダライン導体部21及び22の一端同士を接続する折返部3の位置で電気的に接続する導体(もしくは空隙)と、が設けられている。このように一対のメアンダライン導体部21及び22を電気的に結合させることにより、折り返しのないメアンダラインアンテナ(例えば特許文献2)に比べて放射抵抗を4倍に増大することができ、インピーダンスを整合させる整合回路が不要となる。
しかしながら、図11に示す折り返しメアンダラインアンテナ1は、2つのメアンダライン導体部21及び22を備えているため、幅方向が大きくなる。このため、折り返しメアンダラインアンテナ1は、折り返しのないメアンダラインアンテナに比べてより一層、設置箇所が限定されてしまう。そこで、このような問題を解決するため、例えば図12に示すように、上述した折り返しメアンダラインアンテナ1の折返部3を180度折り曲げて幅方向の小型化を図ったものが提案されている。しかしながら、図12に示す折り返しメアンダラインアンテナ1は、幅方向の小型化は図れるものの厚さ方向が大きくなる。このため、図11に示す折り返しメアンダラインアンテナ1と同様に、設置箇所が限定される、という問題は依然解決されていない。
特開2006−217000号公報 特開2002−319813号公報
そこで、本発明は、上記のような問題点に着目し、構造物の角部に設置可能にすることによって、設置箇所に自由度を持たせることができるメアンダラインアンテナを提供することを課題とする。
本発明者は、構造物の角部に配置可能なメアンダラインアンテナを得るべく検討を重ねた結果、一平面上に設けたメアンダラインアンテナを折り曲げたとき、その折曲部が高さ方向に沿っていればVSWR特性、インピーダンス特性が変わらないことを見出し、本発明を完成するに至った。
即ち、請求項1記載の発明は、平面上にメアンダライン状に形成されたメアンダライン導体部が設けられたメアンダラインアンテナにおいて、前記メアンダラインアンテナの高さ方向に沿って折り曲げた、構造物の角部に沿って配置された、折曲部が設けられ、そして、前記メアンダラインアンテナの前記折曲部を境とした一方側が前記構造物の角部を構成する互いに交わる一対の平面の一方上に配置され、かつ、前記メアンダラインアンテナの前記折曲部を境とした他方側が前記一対の平面の他方上に配置されるように、前記折曲部が設けられていることを特徴とするメアンダラインアンテナに存する。
請求項2記載の発明は、前記メアンダライン導体部が、前記高さ方向が互いに平行になるように一対並べて設けられ、そして、前記一対のメアンダライン導体部の一端同士を接続する折返部が設けられていることを特徴とする請求項1に記載のメアンダラインアンテナに存する。
請求項3記載の発明は、前記折曲部が、前記折返部に設けられていることを特徴とする請求項2記載のメアンダラインアンテナに存する。
請求項4記載の発明は、平面上にメアンダライン状に形成されたメアンダライン導体部が高さ方向に互いに平行になるように一対並べて設けられると共に、前記一対のメアンダライン導体部の一端同士が電気的に接続される範囲で互いに離間して設けられたメアンダラインアンテナにおいて、前記一対のメアンダライン導体部の一方が構造物の角部を構成する互いに交わる一対の平面の一方上に配置され、かつ、前記一対のメアンダライン導体部の他方が前記一対の平面の他方上に配置されるように設けられていることを特徴とするメアンダラインアンテナに存する。
以上説明したように請求項1及び2記載の発明によれば、高さ方向に沿って設けた折曲部が構造物の角部に沿って配置される。そして、メアンダラインアンテナの折曲部を境とした一方側が構造物の角部を構成する互いに交わる一対の平面の一方上に配置され、かつ、メアンダラインアンテナの折曲部を境とした他方側が一対の平面の他方上に配置されるように、折曲部が設けられている。従って、折曲部を設けていない平面上のメアンダラインアンテナの特性を保ちつつ構造物の角部に配置することが可能となり、メアンダラインアンテナの幅よりも大きい空きスペースが無くても設置することができ、設置場所に自由度を持たせることができる。
請求項3記載の発明によれば、折曲部が、折返部に設けられているので、簡単に折曲部を設けることができ、コストダウンを図ることができる。
請求項4記載の発明によれば、一端同士が互いに離間された一対のメアンダライン導体部の一方が構造物の角部を構成する互いに交わる一対の平面の一方上に配置され、かつ、一対のメアンダライン導体部の他方が一対の平面の他方上に配置されるように設けられている。従って、一平面上に一対のメアンダライン導体部を並べたメアンダラインアンテナの特性を保ちつつ構造物の角部に配置することが可能となり、メアンダラインアンテナの幅よりも大きい空きスペースが無くても設置することができ、設置場所に自由度を持たせることができる。しかも、折曲部を設ける必要がないので設置が簡単となる。
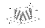
以下、本発明の実施形態を図面に基づいて説明する。図1〜図3に示すように、折り返しメアンダラインアンテナ1は、一対のメアンダライン導体部21及び22と、折返部3と、折曲部4と、が設けられている。一対のメアンダライン導体部21及び22は各々、平面上にメアンダライン状(クランク状の蛇行)に形成されている。一対のメアンダライン導体部21及び22は、高さ方向Y1が平行になるように並べて設けられている。一対のメアンダライン導体部21及び22は、高さ方向Y1と平行な回転軸Lに対して回転対称になるように設けられている。
上記折返部3は、図3に示すように、一対のメアンダライン導体部21及び22の一端同士を接続するように設けられている。なお、一対のメアンダライン導体部21及び22の他端は各々、図1に示すように、グランド板5に接続されている。上記メアンダラインアンテナ1は、一枚の導体板または導体で作られたワイヤを切断して設けられている。
上記折り返しメアンダラインアンテナ1は、角柱状の誘電体6(構造物)の角部Cに沿って配置される。誘電体6の角部Cは、互いに直交する一対の平面61、62によって構成されている。上記折曲部4は、図3に示すように、上記折返部3を高さ方向Y1に沿って折り曲げて設けられている。折曲部4は、誘電体6の角部Cに沿って配置されている。そして、折曲部4を境とした一方側であるメアンダライン導体部21が平面61上に設けられ、かつ、折曲部4を境とした他方側であるメアンダライン導体部22が平面62上に設けられるように、折曲部4が設けられている。即ち、角部Cの角度θ1(図3)と、折曲部4の折り曲げ角度θ2(図2)と、が同じになるように、折曲部4が設けられている。
なお、図1に示す実施形態では、折曲部4を折返部3に設けていたが、本発明はこれに限ったものではない。折曲部4としては高さ方向Y1に沿っていればよく、例えば、図4に示すように、メアンダライン導体部22(又は21)に高さ方向Y1に沿った折曲部4を設けてもよい。この場合も同様に、折曲部4を境とした一方側であるメアンダライン導体部21、折返部3及びメアンダライン導体部22の折曲部4よりも折返部3側が平面61上に設けられ、折曲部4を境とした他方側であるメアンダライン導体部22の折曲部4よりも折返部3から離れた側が平面62上に設けられるように、折曲部4が設けられている。
次に、本発明者らは、図11に示す従来品Aと、図12に示す従来品Bと、図1に示す本発明品Aと、図4に示す本発明品Bと、図5に示す比較品と、についてそれぞれ、VSWR特性及びインピーダンス特性をシミュレーションした。結果を図6及び図7に示す。なお、比較品は、図5に示すように、高さ方向Y1と直交する幅方向Y2に沿って折曲部4が形成されていいて、誘電体6の角部Cに沿って配置することはできる。しかしながら、図6及び図7に示すように、従来品A及びBに比べてVSWR特性が劣化し、インピーダンスも低下することが分かった。また、本発明品A及びBは、折曲部4を設けても従来品A及び従来品Bとほぼ同じVSRW特性、インピーダンス特性を保てることが分かった。また、従来品A及び従来品Bと本発明品A及び本発明品Bとのアンテナ指向性を確認したところ、アンテナ指向性もほぼ同じに保てることが分かった。
このように、比較品が従来品A及び従来品Bに比べて特性が劣化する理由について以下説明する。図4に示すメアンダラインアンテナ1と類似のアンテナとして、図8に示す逆Lアンテナ10がある。この逆Lアンテナ10は、モノポールアンテナを途中で曲げて小型化したもので低姿勢化が可能となるアンテナである。図8中、点線は逆Lアンテナ10の虚像を示す。一点鎖線は、逆Lアンテナ10及び逆Lアンテナ10の虚像に流れる電流の位相を示す。図8に示すように、逆Lアンテナ10は、グランド板5に平行な部分に流れる電流がその虚像と逆位相になるため、この箇所が放射にあまり寄与しないことからモノポールアンテナより放射抵抗が小さくなることが知られている。
よって、比較品も同様に、グランド板5に平行な部分に流れる電流がその虚像と逆位相になることが原因で、VSRW特性、インピーダンス特性が劣化するのではないかと考えられる。以上の結果から、メアンダラインアンテナ1は、高さ方向Y1に沿って折り曲げれば、従来品A及びBのVSRW特性、インピーダンス特性が変わらないことが分かった。
上述した図1及び図4に示すメアンダラインアンテナ1によれば、高さ方向Y1に沿って設けた折曲部4が誘電体の角部Cに沿って配置される。そして、メアンダラインアンテナ1の折曲部4を境とした一方側が誘電体4の角部Cを構成する互いに交わる一対の平面61、62の一方上に配置され、かつ、メアンダラインアンテナ1の折曲部4を境とした他方側が一対の平面61、62の他方上に配置されるように、折曲部4が設けられている。従って、折曲部4を設けていないメアンダラインアンテナ1のVSWR特性、インピーダンス特性を保ちつつ誘電体6の角部Cに配置可能となる。これにより、メアンダラインアンテナ1の幅よりも大きい空きスペースが無くても設置することができ、設置場所に自由度を持たせることができる。
特に、図1に示すメアンダラインアンテナ1によれば、折曲部4が、折返部3に設けられているので、簡単に折曲部4を設けることができ、コストダウンを図ることができる。
なお、上述した実施形態では、折り返しのあるメアンダラインアンテナ1を用いていたが、例えば図9に示すように、折り返しのないメアンダラインアンテナ1に対しても適用することができる。本発明者らは、折り返しのないメアンダラインアンテナ1に関しても高さ方向Y1に沿って折曲部4を設ければ、折曲部4がないメアンダラインアンテナ1の特性を保てることを確認した。
また、上述した実施形態では、構造物としての誘電体6の角部Cが互いに直交する一対の平面61、62から設けられていたが、本発明はこれに限ったものではない。角部Cとしては一対の平面61、62が交わっていればよく、直交に交わっている必要はない。
また、上述した実施形態では、構造物として誘電体6を用いていたが、本発明はこれに限ったものではない。構造物としては金属体以外のものであればよく、例えば樹脂モールドされた電子部品などであってもよい。
また、上述した実施形態では、折返部3は、一対のメアンダライン導体部21及び22の一端同士を導体によって直接接続していたが、本発明はこれに限ったものではない。折返部3は、一対のメアンダライン導体部21及び22の一端同士を電気的に接続していればよく、メアンダライン導体部21及び22の一端同士を電気的に接続できる範囲内で離間して設けても上記実施形態と同様の効果を得ることができる。このようなメアンダラインアンテナ1の折返部3を誘電体6の角部Cに沿って設けたときの一例を図10に示す。同図に示すように、メアンダライン導体部21が誘電体6の角部Cを構成する互いに交わる一対の平面61、62の一方である平面61上に配置され、かつ、一方のメアンダライン導体部22が上記一対の平面61、62の他方である平面26上に配置される。このようにメアンダライン導体部21及び22の一端を互いに離間して設ければ角部Cに沿って折曲部を設ける必要がなく、設置が簡単となる。
また、前述した実施形態は本発明の代表的な形態を示したに過ぎず、本発明は、実施形態に限定されるものではない。即ち、本発明の骨子を逸脱しない範囲で種々変形して実施することができる。
本発明のメアンダラインアンテナとしての折り返しメアンダラインアンテナの一実施形態を示す斜視図である。 図1に示す折り返しメアンダラインアンテナを示す斜視図である。 図1に示す折り返しメアンダラインアンテナの部分拡大斜視図である。 他の実施形態における本発明のメアンダラインアンテナとしての折り返しメアンダラインアンテナの一実施形態を示す斜視図である。 メアンダラインアンテナの比較品を示す斜視図である。 図11に示す従来品A、図12に示す従来品B、図1に示す本発明品A、図4に示す本発明品B、及び、図5に示す比較品についてそれぞれVSWR特性をシミュレーションした結果を示すグラフである。 図11に示す従来品A、図12に示す従来品B、図1に示す本発明品A、図4に示す本発明品B、及び、図5に示す比較品についてそれぞれインピーダンス特性をシミュレーションした結果を示すスミスチャートである。 図5に示すメアンダラインアンテナの問題点を説明するための説明図である。 他の実施形態における本発明のメアンダラインアンテナの一実施形態を示す斜視図である。 他の実施形態における本発明のメアンダラインアンテナの一実施形態を示す斜視図である。 従来の折り返しメアンダラインアンテナの一例を示す斜視図である。 従来の折り返しメアンダラインアンテナの一例を示す斜視図である。
符号の説明
1 メアンダラインアンテナ
21 メアンダライアン導体部
22 メアンダライン導体部
3 折返部
4 折曲部
6 誘電体(構造物)
61、62 一対の平面
C 角部
Y1 高さ方向

Claims (4)

  1. 平面上にメアンダライン状に形成されたメアンダライン導体部が設けられたメアンダラインアンテナにおいて、
    前記メアンダラインアンテナの高さ方向に沿って折り曲げた、構造物の角部に沿って配置された、折曲部が設けられ、そして、
    前記メアンダラインアンテナの前記折曲部を境とした一方側が前記構造物の角部を構成する互いに交わる一対の平面の一方上に配置され、かつ、前記メアンダラインアンテナの前記折曲部を境とした他方側が前記一対の平面の他方上に配置されるように、前記折曲部が設けられている
    ことを特徴とするメアンダラインアンテナ。
  2. 前記メアンダライン導体部が、前記高さ方向が互いに平行になるように一対並べて設けられ、そして、
    前記一対のメアンダライン導体部の一端同士を接続する折返部が設けられている
    ことを特徴とする請求項1に記載のメアンダラインアンテナ。
  3. 前記折曲部が、前記折返部に設けられていることを特徴とする請求項2記載のメアンダラインアンテナ。
  4. 平面上にメアンダライン状に形成されたメアンダライン導体部が高さ方向に互いに平行になるように一対並べて設けられると共に、前記一対のメアンダライン導体部の一端同士が電気的に接続される範囲で互いに離間して設けられたメアンダラインアンテナにおいて、
    前記一対のメアンダライン導体部の一方が構造物の角部を構成する互いに交わる一対の平面の一方上に配置され、かつ、前記一対のメアンダライン導体部の他方が前記一対の平面の他方上に配置されるように設けられている
    ことを特徴とするメアンダラインアンテナ。
JP2008181268A 2008-07-11 2008-07-11 メアンダラインアンテナ Expired - Fee Related JP5528686B2 (ja)

Priority Applications (1)

Application Number Priority Date Filing Date Title
JP2008181268A JP5528686B2 (ja) 2008-07-11 2008-07-11 メアンダラインアンテナ

Applications Claiming Priority (1)

Application Number Priority Date Filing Date Title
JP2008181268A JP5528686B2 (ja) 2008-07-11 2008-07-11 メアンダラインアンテナ

Publications (2)

Publication Number Publication Date
JP2010021837A true JP2010021837A (ja) 2010-01-28
JP5528686B2 JP5528686B2 (ja) 2014-06-25

Family

ID=41706296

Family Applications (1)

Application Number Title Priority Date Filing Date
JP2008181268A Expired - Fee Related JP5528686B2 (ja) 2008-07-11 2008-07-11 メアンダラインアンテナ

Country Status (1)

Country Link
JP (1) JP5528686B2 (ja)

Citations (3)

* Cited by examiner, † Cited by third party
Publication number Priority date Publication date Assignee Title
JPH0846419A (ja) * 1994-07-29 1996-02-16 Oki Densen Kk 可撓性を有する平面アンテナ
JP2004242297A (ja) * 2003-01-16 2004-08-26 Matsushita Electric Ind Co Ltd アンテナ
JP2006033814A (ja) * 2004-06-18 2006-02-02 Matsushita Electric Ind Co Ltd アンテナ及びその製造方法

Patent Citations (3)

* Cited by examiner, † Cited by third party
Publication number Priority date Publication date Assignee Title
JPH0846419A (ja) * 1994-07-29 1996-02-16 Oki Densen Kk 可撓性を有する平面アンテナ
JP2004242297A (ja) * 2003-01-16 2004-08-26 Matsushita Electric Ind Co Ltd アンテナ
JP2006033814A (ja) * 2004-06-18 2006-02-02 Matsushita Electric Ind Co Ltd アンテナ及びその製造方法

Also Published As

Publication number Publication date
JP5528686B2 (ja) 2014-06-25

Similar Documents

Publication Publication Date Title
JP5502200B2 (ja) クロスダイポールアンテナ
JP6614237B2 (ja) ガラスアンテナ及びガラスアンテナを備える車両用窓ガラス
JP2003037431A (ja) 平板アンテナおよびそれを備えた電気機器
JP2007221774A (ja) 平面型アンテナ
JP2008124617A (ja) アンテナ
US8354963B2 (en) Low-profile three-dimensional antenna
TWI374576B (en) Multi-band antenna
JP4590595B2 (ja) 広帯域複数周波共用アンテナ
JP5029559B2 (ja) アンテナ及びそれを備えた電気機器
CN101689707A (zh) 天线装置
US8358252B2 (en) Antenna
JP2009225068A (ja) 円偏波複合モノポールアンテナ
JP5495015B2 (ja) 多周波共用アンテナ
US9660329B2 (en) Directional antenna
JP5136131B2 (ja) 構造、プリント基板
JP5528686B2 (ja) メアンダラインアンテナ
JP6289077B2 (ja) アンテナ装置
JP6474069B2 (ja) アンテナ装置
CN110767980B (zh) 天线结构及具有该天线结构的无线通信装置
JP6772024B2 (ja) アンテナ
WO2015052883A1 (ja) 変形折り返しダイポールアンテナ
KR101003946B1 (ko) 이동통신 단말기용 안테나 어셈블리
JP2009194794A (ja) アンテナ素子
JP7741553B2 (ja) Mimoアンテナ装置
TWI727885B (zh) 天線結構

Legal Events

Date Code Title Description
A621 Written request for application examination

Free format text: JAPANESE INTERMEDIATE CODE: A621

Effective date: 20110527

A977 Report on retrieval

Free format text: JAPANESE INTERMEDIATE CODE: A971007

Effective date: 20120530

A131 Notification of reasons for refusal

Free format text: JAPANESE INTERMEDIATE CODE: A131

Effective date: 20120605

A521 Request for written amendment filed

Free format text: JAPANESE INTERMEDIATE CODE: A523

Effective date: 20120730

A131 Notification of reasons for refusal

Free format text: JAPANESE INTERMEDIATE CODE: A131

Effective date: 20121218

A521 Request for written amendment filed

Free format text: JAPANESE INTERMEDIATE CODE: A523

Effective date: 20130215

A131 Notification of reasons for refusal

Free format text: JAPANESE INTERMEDIATE CODE: A131

Effective date: 20130312

A521 Request for written amendment filed

Free format text: JAPANESE INTERMEDIATE CODE: A523

Effective date: 20130510

A02 Decision of refusal

Free format text: JAPANESE INTERMEDIATE CODE: A02

Effective date: 20131105

A521 Request for written amendment filed

Free format text: JAPANESE INTERMEDIATE CODE: A523

Effective date: 20140127

A911 Transfer to examiner for re-examination before appeal (zenchi)

Free format text: JAPANESE INTERMEDIATE CODE: A911

Effective date: 20140205

TRDD Decision of grant or rejection written
A01 Written decision to grant a patent or to grant a registration (utility model)

Free format text: JAPANESE INTERMEDIATE CODE: A01

Effective date: 20140325

A61 First payment of annual fees (during grant procedure)

Free format text: JAPANESE INTERMEDIATE CODE: A61

Effective date: 20140416

R150 Certificate of patent or registration of utility model

Ref document number: 5528686

Country of ref document: JP

Free format text: JAPANESE INTERMEDIATE CODE: R150

R250 Receipt of annual fees

Free format text: JAPANESE INTERMEDIATE CODE: R250

R250 Receipt of annual fees

Free format text: JAPANESE INTERMEDIATE CODE: R250

R250 Receipt of annual fees

Free format text: JAPANESE INTERMEDIATE CODE: R250

R250 Receipt of annual fees

Free format text: JAPANESE INTERMEDIATE CODE: R250

R250 Receipt of annual fees

Free format text: JAPANESE INTERMEDIATE CODE: R250

R250 Receipt of annual fees

Free format text: JAPANESE INTERMEDIATE CODE: R250

R250 Receipt of annual fees

Free format text: JAPANESE INTERMEDIATE CODE: R250

S531 Written request for registration of change of domicile

Free format text: JAPANESE INTERMEDIATE CODE: R313531

R350 Written notification of registration of transfer

Free format text: JAPANESE INTERMEDIATE CODE: R350

R250 Receipt of annual fees

Free format text: JAPANESE INTERMEDIATE CODE: R250

LAPS Cancellation because of no payment of annual fees